JP2010069810A - 封筒部付き帳票 - Google Patents

封筒部付き帳票 Download PDF

Info

Publication number
JP2010069810A
JP2010069810A JP2008241945A JP2008241945A JP2010069810A JP 2010069810 A JP2010069810 A JP 2010069810A JP 2008241945 A JP2008241945 A JP 2008241945A JP 2008241945 A JP2008241945 A JP 2008241945A JP 2010069810 A JP2010069810 A JP 2010069810A
Authority
JP
Japan
Prior art keywords
envelope
paper
opening
adhesive layer
perforation
Prior art date
Legal status (The legal status is an assumption and is not a legal conclusion. Google has not performed a legal analysis and makes no representation as to the accuracy of the status listed.)
Granted
Application number
JP2008241945A
Other languages
English (en)
Other versions
JP5195217B2 (ja
Inventor
Susumu Morita
進 森田
Yuji Eto
雄二 江藤
Takayuki Ubusawa
孝之 生澤
Current Assignee (The listed assignees may be inaccurate. Google has not performed a legal analysis and makes no representation or warranty as to the accuracy of the list.)
Dai Nippon Printing Co Ltd
Original Assignee
Dai Nippon Printing Co Ltd
Priority date (The priority date is an assumption and is not a legal conclusion. Google has not performed a legal analysis and makes no representation as to the accuracy of the date listed.)
Filing date
Publication date
Application filed by Dai Nippon Printing Co Ltd filed Critical Dai Nippon Printing Co Ltd
Priority to JP2008241945A priority Critical patent/JP5195217B2/ja
Publication of JP2010069810A publication Critical patent/JP2010069810A/ja
Application granted granted Critical
Publication of JP5195217B2 publication Critical patent/JP5195217B2/ja
Active legal-status Critical Current
Anticipated expiration legal-status Critical

Links

Images

Landscapes

  • Credit Cards Or The Like (AREA)

Abstract

【課題】封筒を効率的に開封でき、開封の際に封入されている申込書を切り取ることがないようにして開封できるようにした封筒部付き帳票を提供する。
【解決手段】矩形状の用紙の一部に封筒上紙が重ねられ、一辺開口型の封筒部を有する封筒部付き帳票であり、前記用紙は、切り取り用ミシン目により情報表示部と封筒部とが並んで配置され、前記封筒部には、前記切り取り用ミシン目に沿って塗布された粘着剤層と、前記粘着剤層に貼付された剥離テープと、封筒上紙と、を有し、前記封筒上紙には、下側方向に対して山型形状となる開封用の切り取り用ミシン目を有し、前記開封用の切り取り用ミシン目は、前記用紙の粘着剤層の部分を折り返し、前記封筒上紙上に貼付させた際に用紙の一部で隠れることがない位置に形成され、前記封筒上紙と前記用紙とを上辺縁で接着する接着剤は、前記開封用の切り取り用ミシン目の2本のミシン目間の途中の位置までに設けられている。
【選択図】 図1

Description

本発明は、矩形状の用紙の表面領域の一部に封筒上紙が重ねられ、前記封筒上紙の裏面側の三周縁部で接着されて設けられた一辺開口型の封筒部を有する封筒部付き帳票に関する。
従来、販売促進用のダイレクトメールや広告宣伝用の印刷物などとして、複数の用紙を重ね合わせ一辺側で綴じて一体化させた冊子など、種々の構成の冊子が提案されている。(例えば、特許文献1〜3参照)
また、データベースに登録されている個人情報を使用して、プリンタで個人情報を印字するとともに、予め印刷した共通の販売促進情報や、個々の顧客のニーズに応じて選択した販売促進情報をプリンタで印字するなどした用紙と、一辺開口型の封筒部を有する用紙と、を重ね合わせた封筒部付き帳票も使用されている。
特開平5−42784号公報 特開2004−82581号公報 特開2007−283559号公報
これらの封筒部付き帳票は、例えば、銀行、クレジット会社等の金融機関で新サービスを開始する際に、顧客の申し込み用媒体として使用されている。
また、それらの新サービスが顧客のニーズと合致した場合には、多数の申込希望者が申し込みを行なうことになるために、申込書が封緘された封筒が銀行、クレジット会社等の金融機関宛に多数送られてくることになる。
このために、金融機関側では受信した多数の封筒の中から申込書を取り出す開封作業に手間や時間が取られることになる。
通常、受信した封筒の開封作業では、ハサミやカッターなどを使用して封筒の一端側を切り取るなどして開封を行なう場合に、効率的に開封作業が行なえるようにするために、複数の封筒を重ねた状態でまとめて封筒の一端側を切り取るなどしている。
しかしながら、申込希望者が封筒内に申込書を折り畳むなどして封入する際に、申込者毎に様々な方法で封入するために、これらの封筒を受信した金融機関側において、これらの封筒をハサミやカッターなどを使用して封筒の一端側を切り取る場合に、うっかり封入されている申込書の一部まで切り取ってしまうという事故が生じる危険性があるという問題がある。
このために、金融機関側では、申込者から送信されてきた封筒を効率的に開封でき、更に、開封の際に、封入されている内部の申込書をうっかり切り取ることがないようにして開封できるようにした封筒部付き帳票に対するニーズがある。
そこで、本発明は、申込者から送信されてきた封筒を効率的に開封でき、更に、開封の際に、封入されている内部の申込書をうっかり切り取ることがないようにして開封できるようにした封筒部付き帳票を提供する。
本発明の封筒部付き帳票は、矩形状の用紙の表面領域の一部に封筒上紙が重ねられ、前記封筒上紙の裏面側の三周縁部で接着されて設けられた一辺開口型の封筒部を有する封筒部付き帳票であって、前記用紙は、縦方向に形成された切り取り用ミシン目により、情報表示部と封筒部とが横方向に並んで配置され、前記封筒部には、前記用紙の切り取り用ミシン目に沿って塗布された粘着剤層と、前記粘着剤層の上面に剥離可能に貼付された剥離テープと、前記用紙の前記粘着剤層が設けられていない右側の領域上に重ねられ、三周縁において塗布された接着剤により接着された封筒上紙と、を有し、更に、前記封筒上紙には、該封筒上紙の上辺側の2箇所から、下側方向に対して山型形状となるように形成された開封用の切り取り用ミシン目を有し、また、前記開封用の切り取り用ミシン目は、前記用紙の粘着剤層が設けられた部分を折り返して、前記封筒上紙の上面に貼付させた際に、前記折り返した用紙の一部で隠れることがない位置に形成され、また、前記封筒上紙と前記用紙とを上辺縁で接着する接着剤は、前記下側方向に対して山型形状となるように形成された開封用の切り取り用ミシン目の2本のミシン目間の途中の位置までに設けられていることで、前記開封用の切り取り用ミシン目のミシン目間の途中までの位置に、接着剤が設けられていない領域を有していることを特徴とする。
また、本発明の封筒部付き帳票は、前記矩形状の用紙及び前記封筒上紙の上側には、申込書を有する複数の用紙が重ね合わされ、前記矩形状の用紙と、前記申込書を有する複数の用紙と、が左側の端辺縁部でライン状またはスポット状に接着されていることを特徴とする。
したがって、本発明の封筒部付き帳票は、封筒部内に申込用紙を封入封緘した封筒が送信されて、その封筒を受信した後に開封作業を行なう際に、封筒上紙の上辺縁において接着剤が設けられていない領域に指を入れながら、封筒上紙に山型形状で形成されている開封用の切り取り用ミシン目に基づいて封筒上紙を引っ張ることで、簡単に封筒上紙の一部分を切り取ることができ、申込用紙を取り出せるので、申込者から送信されてきた封筒を効率的に開封でき、更に、開封の際に、封入されている内部の申込書をうっかり切り取ることを防止することができるという効果がある。
以下、本発明の実施形態に係る封筒部付き帳票を図面に基づいて詳細に説明する。
図1は、本発明の実施形態に係る封筒部付き帳票の斜視図、図2は、図1のA−A線断面図、図3は、本発明の実施形態に係る封筒部付き帳票を分解状態にした平面図である。
実施形態に係る封筒部付き帳票1は、商品情報が記載された2枚の広告用紙2a,2bと、商品やサービスに対する申し込み情報を記入するための4枚の申込用紙3a,3b,3c,3dと、それらの申込用紙3a,3b,3c,3dから所定の申込用紙を封入して郵送するための一辺開口型の封筒部4aを有する矩形状の用紙4と、が重ねられ、それらの用紙の左側の端辺縁部でライン状またはスポット状に設けられた接着剤10により、冊子状に接着一体化されている。
また、4枚の申込用紙3a,3b,3c,3dは、ノーカーボン複写用紙などが使用されて、記入内容が複写可能に構成されており、接着剤10が設けられた部分から切り取れるように切り取り用ミシン11が形成されている。
尚、これらの広告用紙及び申込用紙の枚数は、必要に応じて適宜変更することができる。
また、この実施形態に説明では、4枚の申込用紙3a,3b,3c,3dのうち、1枚の申込用紙3dを封筒に入れて郵送することとして説明してあるが、必要に応じて複数の申込用紙を封筒に入れて郵送するようにしてもよい。
4枚の申込用紙3a,3b,3c,3dは、縦方向の幅寸法が封筒用紙4の寸法よりも狭い寸法で形成されており、申込用紙を横方向に折り畳んで封筒部4aの袋部に封入可能な寸法を有している。
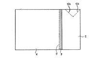
図4には、封筒部付き帳票1の最下位にある一辺開口型の封筒部4aを有する矩形状の用紙4の平面図が示され、図5には、一辺開口型の封筒部4aを有する矩形状の用紙4から、封筒上紙5を上方側に分離させた状態を示す平面図が示されている。
次に、この一辺開口型の封筒部4aを有する矩形状の用紙4の構成について、図4及び図5に基づいて説明する。
矩形状の用紙4は、縦方向に形成された切り取り用ミシン目9により、情報表示部4bと封筒部4aとが横方向に並んで配置されている。
そして、封筒部4aには、矩形状の用紙4に形成された切り取り用ミシン目9に沿って塗布された粘着剤層7が設けられ、更に、その粘着剤層7の上面に剥離可能に貼付された剥離テープ8を有している。
したがって、剥離テープ8を剥離させることで粘着剤層7が表出し、この粘着剤層7が設けられた用紙4の部分を封筒上紙5の上面側に折り返し接着させることで、一辺開口型の封筒部4aを封緘させることができる。
また、封筒部4aにおいて、用紙4の粘着剤層7から右側の領域上には、上辺側と、右辺側と、下辺側、の三周縁において塗布された接着剤4により用紙4上に接着された封筒上紙が設けられ、一辺開口型の封筒部4aが形成されている。
そして、封筒上紙5には、該封筒上紙5の上辺側の2箇所から、下側方向に対して山型形状となるように形成された開封用の切り取り用ミシン目12a,12bを有している。
図4において、開封用の切り取り用ミシン目12a,12bは、封筒上紙5の上辺側の2箇所からそれぞれ封筒上紙5の上辺に対して45度の傾斜角度により下方向で交わるように形成されている。
また、開封用の切り取り用ミシン目12a,12bのうち、左側の切り取り用ミシン目12aの封筒上紙5の上辺側の始点の位置は、少なくとも、用紙4の粘着剤層7が設けられた部分を折り返して、封筒上紙5の上面に貼付させた際に、その折り返した用紙の一部で切り取り用ミシン目12aが覆い隠れることがない位置に形成されている。
つまり、矩形状の用紙4を切り取り用ミシン目9から切り取って、封筒部4aに申込用紙を封入させて、用紙4の粘着剤層7が設けられた部分を折り返して封緘させた場合でも、切り取り用ミシン目12a,12bが表側から見ることができるようにすることで、開封の際に切り取り用ミシン目12a,12bから切り取れるように構成されている。
そして、接着剤6が塗布されている部分において、封筒上紙5と用紙4とを上辺縁で接着する接着剤6については、下側方向に対して山型形状となるように形成された開封用の切り取り用ミシン目12a,12bの2本のミシン目間の途中の位置までに設けられている。
つまり、封筒上紙5と用紙4とを上辺縁で接着する接着剤6については、開封用の切り取り用ミシン目12a,12bのミシン目間の途中までの位置に、接着剤6が設けられていない領域を有している。
これにより、封筒上紙の上辺縁において接着剤が設けられていない領域に指を入れながら、封筒上紙に山型形状で形成されている開封用の切り取り用ミシン目12a,12bに基づいて封筒上紙を摘んで引っ張り上げることで、簡単に封筒上紙の一部分を切り取ることができるように工夫されている。
次に、本発明の実施形態に係る封筒部付き帳票1の使用方法について説明する。
まず、封筒部付き帳票1を用いて申し込みの手続きを行なう申込者である顧客は、商品情報が記載された2枚の広告用紙2a,2bに記載された内容を見て、申し込む商品やサービスの内容を確認する。
そして、それらの商品やサービスの申し込みを行なう場合には、申込用紙3aの表面に申し込みに必要な事項を記入する。
4枚の申込用紙3a,3b,3c,3dは、ノーカーボン複写用紙などの複写可能な用紙となっているために、記入事項は最上位の申込用紙3aからその下位に重ねられている3枚の申込用紙3b,3c,3dに複写される。
また、4枚の申込用紙3a,3b,3c,3dのうち、少なくとも1枚は、申込者の控え用の用紙となっており、申込者は、その控え用の用紙を切り取り用ミシン11から切り離して保管する。
尚、ここでは、申込用紙3dを申込者の控え用の用紙として説明する。
次に、申込者は、最下位の用紙4を切り取り用ミシン目9から切り取って、封筒部4aを切り離す。
そして、封筒部4aの開口部から折り畳んだ申込用紙3a,3b,3cを封入させる。
更に、申込用紙3a,3b,3cを封入させた後に、剥離テープ8を粘着剤層7の上から剥離させる。
次に、図6に示すように、この粘着剤層7が設けられた用紙4の部分を封筒上紙5の上面側に折り返して、粘着剤層7により接着させることで、一辺開口型の封筒部4aを封緘させて封筒を作成する。
これにより作成された封筒では、粘着剤層7が設けられた用紙4の部分が封筒上紙5の上面側に折り返した場合でも、下側方向に対して山型形状となるように形成された開封用の切り取り用ミシン目12a,12bが隠されない状態で外部から見える状態となるように構成されている。
そして、この封筒の受取人が、封筒の開封を行なう場合には、封筒上紙5と用紙4とを上辺縁で接着する接着剤6が、下側方向に対して山型形状となるように形成された開封用の切り取り用ミシン目12a,12bの2本のミシン目間の途中の位置までに設けられていることで、開封用の切り取り用ミシン目12a,12bのミシン目間の途中までの位置に、接着剤が設けられていない領域を有していることから、封筒上紙5と用紙4との上辺縁の接着剤が設けられていない領域に対して、指を差し込んで封筒上紙5の開封用の切り取り用ミシン目12a,12bが形成されている間の部分を摘んで引き上げることで、図7に示すように、封筒上紙5の一部分が三角形状で切り取ることで開封させる。
これにより、開封部から、封入されていた申込用紙3a,3b,3cを引き抜くことで受取人が申込用紙3a,3b,3cの記載事項を確認することができる。
以上のように、本発明の実施形態に係る封筒部付き帳票1は、封筒の受取人が開封作業を行なう際にも、封筒上紙の上辺縁において接着剤が設けられていない領域に指を入れながら、封筒上紙に山型形状で形成されている開封用の切り取り用ミシン目に基づいて封筒上紙を引っ張ることで、簡単に封筒上紙の一部分を切り取ることができ、申込用紙を取り出せるので、申込者から送信されてきた封筒を効率的に開封でき、更に、開封の際に、封入されている内部の申込書をうっかり切り取ることを防止することができる。
本発明の実施形態に係る封筒部付き帳票の斜視図である。 図1のA−A線断面図である。 本発明の実施形態に係る封筒部付き帳票を分解状態にした平面図である。 本発明の実施形態に係る封筒部付き帳票の最下位にある一辺開口型の封筒部を有する矩形状の用紙の平面図である。 本発明の実施形態に係る封筒部付き帳票の一辺開口型の封筒部を有する矩形状の用紙から、封筒上紙を上方側に分離させた状態を示す平面図である。 本発明の実施形態に係る封筒部付き帳票を用いて作成した封筒の斜視図である。 本発明の実施形態に係る封筒部付き帳票を用いて作成した封筒を開封させた状態を示す斜視図である。
符号の説明
1 封筒部付き帳票
2a,2b 広告用紙
3a,3b,3c,3d 申込用紙
4 用紙
4a 封筒部
5 封筒上紙
6,10 接着剤
7 粘着剤層
8 剥離テープ
9,11 切り取り用ミシン
12 接着部
12a,12b 開封用の切り取り用ミシン目

Claims (2)

  1. 矩形状の用紙の表面領域の一部に封筒上紙が重ねられ、前記封筒上紙の裏面側の三周縁部で接着されて設けられた一辺開口型の封筒部を有する封筒部付き帳票であって、
    前記用紙は、縦方向に形成された切り取り用ミシン目により、情報表示部と封筒部とが横方向に並んで配置され、
    前記封筒部には、前記用紙の切り取り用ミシン目に沿って塗布された粘着剤層と、前記粘着剤層の上面に剥離可能に貼付された剥離テープと、前記用紙の前記粘着剤層が設けられていない右側の領域上に重ねられ、三周縁において塗布された接着剤により接着された封筒上紙と、を有し、
    更に、前記封筒上紙には、該封筒上紙の上辺側の2箇所から、下側方向に対して山型形状となるように形成された開封用の切り取り用ミシン目を有し、
    また、前記開封用の切り取り用ミシン目は、前記用紙の粘着剤層が設けられた部分を折り返して、前記封筒上紙の上面に貼付させた際に、前記折り返した用紙の一部で隠れることがない位置に形成され、
    また、前記封筒上紙と前記用紙とを上辺縁で接着する接着剤は、前記下側方向に対して山型形状となるように形成された開封用の切り取り用ミシン目の2本のミシン目間の途中の位置までに設けられていることで、前記開封用の切り取り用ミシン目のミシン目間の途中までの位置に、接着剤が設けられていない領域を有していることを特徴とする封筒部付き帳票。
  2. 前記矩形状の用紙及び前記封筒上紙の上側には、申込書を有する複数の用紙が重ね合わされ、前記矩形状の用紙と、前記申込書を有する複数の用紙と、が左側の端辺縁部でライン状またはスポット状に接着されていることを特徴とする請求項1記載の封筒部付き帳票。
JP2008241945A 2008-09-22 2008-09-22 封筒部付き帳票 Active JP5195217B2 (ja)

Priority Applications (1)

Application Number Priority Date Filing Date Title
JP2008241945A JP5195217B2 (ja) 2008-09-22 2008-09-22 封筒部付き帳票

Applications Claiming Priority (1)

Application Number Priority Date Filing Date Title
JP2008241945A JP5195217B2 (ja) 2008-09-22 2008-09-22 封筒部付き帳票

Publications (2)

Publication Number Publication Date
JP2010069810A true JP2010069810A (ja) 2010-04-02
JP5195217B2 JP5195217B2 (ja) 2013-05-08

Family

ID=42202037

Family Applications (1)

Application Number Title Priority Date Filing Date
JP2008241945A Active JP5195217B2 (ja) 2008-09-22 2008-09-22 封筒部付き帳票

Country Status (1)

Country Link
JP (1) JP5195217B2 (ja)

Citations (6)

* Cited by examiner, † Cited by third party
Publication number Priority date Publication date Assignee Title
JPS57186333U (ja) * 1981-05-20 1982-11-26
JPH04142254A (ja) * 1990-09-29 1992-05-15 Emi Suzuki 封筒
JPH07237373A (ja) * 1994-02-28 1995-09-12 Toppan Moore Co Ltd 申込案内冊子
JPH10218196A (ja) * 1997-02-13 1998-08-18 Toppan Forms Co Ltd 封 書
JP2001114292A (ja) * 1999-10-15 2001-04-24 Shohei Mori 封 筒
JP2007196573A (ja) * 2006-01-27 2007-08-09 Dainippon Printing Co Ltd 伝票送付用封筒

Patent Citations (6)

* Cited by examiner, † Cited by third party
Publication number Priority date Publication date Assignee Title
JPS57186333U (ja) * 1981-05-20 1982-11-26
JPH04142254A (ja) * 1990-09-29 1992-05-15 Emi Suzuki 封筒
JPH07237373A (ja) * 1994-02-28 1995-09-12 Toppan Moore Co Ltd 申込案内冊子
JPH10218196A (ja) * 1997-02-13 1998-08-18 Toppan Forms Co Ltd 封 書
JP2001114292A (ja) * 1999-10-15 2001-04-24 Shohei Mori 封 筒
JP2007196573A (ja) * 2006-01-27 2007-08-09 Dainippon Printing Co Ltd 伝票送付用封筒

Also Published As

Publication number Publication date
JP5195217B2 (ja) 2013-05-08

Similar Documents

Publication Publication Date Title
JP2010269448A (ja) 冊子状印刷物
JP5146094B2 (ja) 冊子状フォーム
JP4516360B2 (ja) 封筒一体型申込書及び冊子状媒体
JP2010012702A (ja) 封書用紙付き帳票
JP5195217B2 (ja) 封筒部付き帳票
JP5838667B2 (ja) 送付物
JP4839874B2 (ja) 送付物
JP4803481B2 (ja) 送付用情報記録冊子
JP5176858B2 (ja) 封筒部付き帳票
JP2012071430A (ja) 冊子状物および冊子状送付物
JP5176859B2 (ja) 封筒部付き帳票
JP5796658B2 (ja) 冊子状印刷物
JP5146120B2 (ja) 冊子状フォーム
JP4839875B2 (ja) 送付物
JP7492735B2 (ja) 帳票印刷用シート及び配送用伝票
US20090152153A1 (en) Bound Envelopes
JP2010099906A (ja) 封筒部付き帳票
JP2011183665A (ja) 冊子状封書
JP5104566B2 (ja) 冊子状フォーム
JP5245382B2 (ja) 宛名紙片付きクーポン冊子及び宛名紙片付きクーポン冊子の使用方法
JP5835407B2 (ja) 封書用紙付き帳票
JP5418309B2 (ja) 冊子状封書
JP2012071429A (ja) 冊子状物および冊子状送付物
JP4357697B2 (ja) 冊子入り封書
JPH047990Y2 (ja)

Legal Events

Date Code Title Description
A621 Written request for application examination

Free format text: JAPANESE INTERMEDIATE CODE: A621

Effective date: 20110616

A977 Report on retrieval

Free format text: JAPANESE INTERMEDIATE CODE: A971007

Effective date: 20121022

A131 Notification of reasons for refusal

Free format text: JAPANESE INTERMEDIATE CODE: A131

Effective date: 20121030

A521 Written amendment

Free format text: JAPANESE INTERMEDIATE CODE: A523

Effective date: 20121214

TRDD Decision of grant or rejection written
A01 Written decision to grant a patent or to grant a registration (utility model)

Free format text: JAPANESE INTERMEDIATE CODE: A01

Effective date: 20130108

A61 First payment of annual fees (during grant procedure)

Free format text: JAPANESE INTERMEDIATE CODE: A61

Effective date: 20130121

FPAY Renewal fee payment (event date is renewal date of database)

Free format text: PAYMENT UNTIL: 20160215

Year of fee payment: 3

R150 Certificate of patent or registration of utility model

Ref document number: 5195217

Country of ref document: JP

Free format text: JAPANESE INTERMEDIATE CODE: R150

Free format text: JAPANESE INTERMEDIATE CODE: R150