JP2010066536A - コロナ帯電装置、プロセスカートリッジ及び画像形成装置 - Google Patents
コロナ帯電装置、プロセスカートリッジ及び画像形成装置 Download PDFInfo
- Publication number
- JP2010066536A JP2010066536A JP2008232940A JP2008232940A JP2010066536A JP 2010066536 A JP2010066536 A JP 2010066536A JP 2008232940 A JP2008232940 A JP 2008232940A JP 2008232940 A JP2008232940 A JP 2008232940A JP 2010066536 A JP2010066536 A JP 2010066536A
- Authority
- JP
- Japan
- Prior art keywords
- charging device
- corona charging
- corona
- image
- grid
- Prior art date
- Legal status (The legal status is an assumption and is not a legal conclusion. Google has not performed a legal analysis and makes no representation as to the accuracy of the status listed.)
- Granted
Links
Images
Landscapes
- Electrostatic Charge, Transfer And Separation In Electrography (AREA)
Abstract
【解決手段】一辺に開口部2cを有する断面長方形状の金属製のシールドケース2bの中央部に、コロナ放電電極2aがシールドケース2bの両端に配設された保持部2e、2fに係止、引張されている。開口部2c上には、バイアス電圧が印加されてコロナ放電電極2aからの放電電位を制御する格子状の帯電グリッド2dが開口部2cを被覆するように係止されている。帯電グリッド2dの表面は、ゼオライト粉体と導電剤を含む導電性の多孔質の架橋性樹脂被膜で被覆されている。
【選択図】図5
Description
(1)コロトロン型コロナ帯電装置
コロトロン型コロナ帯電装置2Aの概略構成とそれを用いた場合の帯電状態について図9に示す。図9(a)は、コロトロン型コロナ帯電装置の概略構成を示し、帯電装置2Aは直径50〜100umのタングステンワイヤ(コロナワイヤ)2aを1cm程度離して金属シールドケース2bでシールドした構成である。シールドケース2bの開口面2cを感光体1に対向して配置した状態で、コロナワイヤ2aに5〜10kVの高電圧を印加し、これによって発生した正または負イオンを感光体1の表面1aに移動させて帯電する。図9(b)は、帯電装置2Aの帯電時間と感光体1の表面電位との関係を示すグラフで、図9(b)に示すようにコロトロン型コロナ帯電装置2Aは一定量の電荷発生を行うので、感光体1の表面1aを均一に一定電位に帯電するまでに比較的長時間を要する。従って、感光体1の表面を短時間で一定電位にする帯電装置としては必ずしも得意ではない。しかし、構造が簡単であり、安価であるという利点がある。そのため、一定電荷を転写紙に与えることを目的とする転写用の帯電装置としては特に有効である。
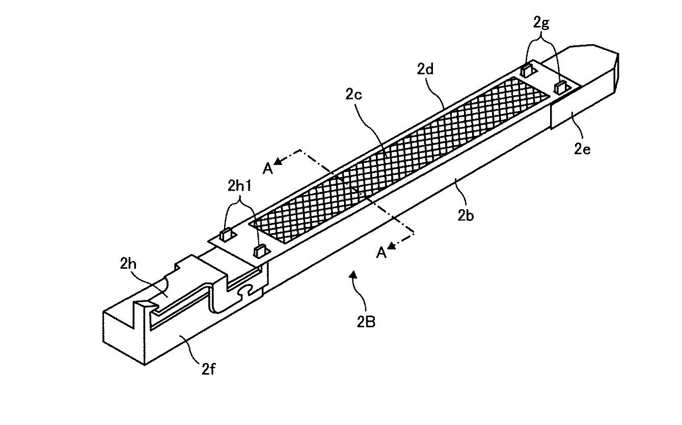
スコロトロン型コロナ帯電装置2Bは、感光体表面1aの帯電電位のムラを少なくするために考案されたものである。図10(a)は、コロトロン型コロナ帯電装置の概略構成を示し、帯電装置2Bは直径50〜100umのタングステンワイヤ2aを1cm程度離して金属シールドケース2bでシールドしている。さらに、図10(a)に示すように、コロトロンの開口面2cに数本のワイヤ或いはメッシュをグリッド電極2dとして配置した構成である。このスコロトロン型帯電装置の開口面2cを感光体1に対向させ、グリッド電極2dにバイアス電圧を印加する。
<環境への影響>
負のコロナ放電を行うコロナ帯電装置を用いた場合、放電により空気中の物質が反応し、放電生成物と呼ばれる物質が生成されることが知られている。その中には酸素が酸化されたオゾン(O3)や、オゾンによって窒素が酸化された一酸化窒素(NO)および二酸化窒素(NO2)等の窒素酸化物(NOx)が含まれている。オゾンは0.1ppm程度で臭気を感じ、呼吸器系に悪影響を与える物質である。窒素酸化物は、その中でも二酸化窒素(NO2)は、人の呼吸器に悪影響を与えるため、環境基準で一時間値の一日平均値が0.04〜0.06ppm以下と定められている。その上、窒素酸化物は、紫外線による光化学反応で光化学オキシダント(Ox)という物質に変化し、この物質も0.06ppm以下と環境基準が定められている。放電によるそれぞれの発生量は、オゾンが数10ppm、窒素酸化物が数ppmであり、現状の電子写真方式の画像形成装置においては活性炭等のフィルターを用いて装置外への排出量を削減している。
(雨だれ状ムラ)
コロナ放電を行うスコロトロン帯電装置を用いた画像形成装置では、出力画像に雨だれ状のムラが発生することがある。これは、帯電装置による感光体の帯電において、小さな範囲で帯電量に大きなムラが存在することによるものである。このムラが生じるのは例えば帯電ワイヤに付着したトナーやその添加剤であるシリカや放電生成物の局部的な付着による放電不良や、帯電グリッドに同様の電気抵抗の高い物質が付着し、放電され発生した電荷がグリッドを流れず感光体への移動量が増加した、または静電容量が高くなった帯電グリッド自体が帯電し、帯電グリッドに印加した電圧以上に感光体表面電位が局所的に上がってしまうことが考えられる。
コロナ帯電装置から発生する放電生成物により起こる課題としてはまず長時間放電後の放置によるコロナ帯電装置直下濃度ムラがある。これは作像動作中の放電時に発生し、コロナ帯電装置の内壁に付着した放電生成物が、画像形成装置が停止している間に徐々に被帯電体である感光体を汚染し、コロナ帯電装置直下部とそれ以外の部分での表面電位に差が生じ、結果として画像濃度ムラが発生するという現象である。この現象は20%RH程度の低湿環境下でより顕著に発生し、常温常湿環境下に置かれることで次第に回復する。感光体表面が放電生成物と可逆的に反応し、静電容量が増大または抵抗が低下しているために電位差が生じることが確認されている。いずれの感光体においても発生が確認されているが、特に保護層として表面に架橋性の硬化膜を設けた感光体での発生が顕著である。
複写機などの電子写真法を使用した画像形成装置では、放電を伴う帯電方式を使用している限り大なり小なり画像流れ(又は像流れ、画像ボケなど)による解像度低下が生じる。画像流れは、紙粉付着や使用環境にも依存するが、主たる要因は放電生成物であり、画像流れから解放されるためには、オゾン、NOx等を排出しない帯電方法(注入帯電法でも画像流れ有り)を行わない限り現在では不可能に近い。前記要因で起こる画像流れは、感光体表面を必要最小限に研磨して感光体表面に付着した画像流れの原因物質である放電生成物を除去したり、研磨できない場合には感光体を加熱することによって改善する事が出来るが、感光体の寿命の低下、電力やスペース、制御手段などが課題となる。感光体表面を積極的に削ることで画像ボケの発生を抑制されることから、像流れの抑制には表面に付着した放電生成物を除去する必要があるが、近年開発が進められている高耐久感光体では磨耗量が少ないため、原因物質の除去が困難である。画像流れを改善するためには状況に応じた手を打つ必要が有るが、それには画像流れの状況を把握して、適切な手段を行う事によって解決を図る事が重要である。
機外に排出する放電生成物を削減するには排出までの経路にフィルター等に担持させた形態で効果を発揮するが、放電生成物により最も汚染されるのはコロナ帯電装置直下にある被帯電体(感光体)であり、コロナ帯電装置と被帯電体間は安定した帯電が行われるために1〜2mm程度の一定間隔を設けて固定されていることが多い。そのため放電生成物による被帯電体の汚染を抑制するためには、放電後コロナ帯電装置と被帯電体間に遮蔽物を入れる、またはコロナ帯電装置および被帯電体を移動させるといった複雑な機構が必要である。本発明ではゼオライト粉体を帯電グリッドに保持することで上記機構の必要無しに被帯電体汚染の抑制を目的としている。
前述のように、コロナ帯電装置はコロナ放電時に、放電生成物を発生し、そのうちO3やNOx等の反応性ガスは、経時での使用において、帯電グリッドにゼオライト粉体を含む樹脂材料が塗工してあるものでは、樹脂材料の劣化を進行させる。それにより、帯電グリッド上のゼオライト粉体の剥離が発生し、放電生成物の除去ができなくなる問題を有していた。
<帯電グリッド基材>
コロナ帯電装置2Bの制御電極である帯電グリッド2dの基材としては、従来使用されているものを用いることができる。帯電グリッド2dの材質としては、電極として機能するため導電体である金属が用いられる。電極としての機能としては、金属であるアルミニウム、ニッケル、鉄、ニクロム、銅、亜鉛、銀などの金属のほとんどが使用できる。しかし、帯電装置2Bは、コロナ放電により発生するオゾンやNOx等に曝露されるため、耐蝕性の高い金属が好ましく、クロムやニッケルを含んだステンレス等が用いられている。形状としてはコロナ放電で発生した電荷を感光体1上へ移動させ、かつ制御電極としての機能を有する必要性から金属薄板にパンチング、エッチング等により開口部を設けたもの、または金属ワイヤを並べたものが通常用いられる。今回用いた制御電極用の基材としては、厚さ0.1mm、長さ285mm、幅40mmのSUS304製板を用い、開口部2cの長さ250mm、幅36mm部分に0.1mmの格子を45度の角度で0.5mm間隔で配したものを用いた。
(ゼオライト粉体)
本発明では放電生成物除去にゼオライト粉体を利用している。ゼオライト粉体は水晶のような結晶で、主にアルミニウムとケイ素から構成されている。結晶は非常に小さく、目視では形や大きさを見ることはできない。拡大して見ると、細孔と呼ばれる孔が多く存在することが確認できる。この独自の構造を持つゼオライト粉体は、今まで自然界に40種類以上発見されている。下記のような吸着・分解機能に代表されるゼオライト粉体の特徴をさらに活かすため、工業的に作られたものを合成ゼオライト粉体と呼ぶ。合成ゼオライト粉体は、能力が高く天然ゼオライト粉体にはない種類のものが多数存在するが、コストが高いことが欠点である。第3のゼオライト粉体として登場したのが人工ゼオライト粉体である。石炭灰などの廃棄物と考えられていた物質を処理することで、地球と人類に有益なゼオライト粉体に変える。しかも低コストであるため、現在、大きな注目を集めている材料である。
ゼオライト粉体は様々なものを吸着する働きがあり、そのメカニズムは脱臭剤や乾燥剤と類似している。この機能を活かすことで、有害物質の吸着や悪臭の除去が可能である。
・陽イオン交換機能
ゼオライト粉体は天然ゼオライト粉体の約2〜3倍という高い陽イオン交換機能を持っており、この機能を活かすことで、酸性を中和する土壌改良や汚水・排水中のアンモニウムイオンの除去などが可能である。
・触媒機能
ゼオライト粉体には触媒としての機能があり、この機能を利用して、窒素酸化物(NOx)の分解等が研究されている。
ゼオライト粉体および導電剤を帯電グリッド2d上に保持するためにはバインダ樹脂が必要となる。本発明ではバインダ樹脂が、多孔質の樹脂被膜であることを特徴としている。バインダ樹脂被膜を多孔質膜とすることで、樹脂被膜中に分散するゼオライト粉体の表面積が増大し、吸着サイトが多くなるため、放電生成物の除却能力が向上する。多孔質のバインダ樹脂被膜は架橋性の重合性モノマーと相分離剤を混合し、重合性モノマーを架橋させて樹脂被膜を形成後、樹脂被膜から相分離剤を除去することにより形成することができる。重合性モノマーと相分離剤を混合し架橋した樹脂被膜は、ミクロ的な相分離が生じるため、重合性モノマーが重合した樹脂被膜中に相分離剤が点在した被膜となる。このような状態の架橋樹脂被膜から相分離剤を取り除くことにより多孔質の架橋性樹脂被膜が形成される。相分離剤は重合性モノマーに非相溶のポリマーや重合性モノマーの貧溶媒などが使用される。重合性モノマーの架橋手段としては、熱もしくは紫外線照射による架橋方法が挙げられるが、紫外線照射による硬化反応は硬化速度が速く、より細かな細孔を形成できるため好ましい。
ワイヤ又は金属板の加工品からなる帯電グリッド2dの基材は本来導電性を有するが、ゼオライト粉体とバインダ樹脂に覆われるため電気抵抗が大きくなり、表面電位制御の役割を果たさない。そのため導電性を付与させる目的で、導電剤をバインダ樹脂中に分散させている。ここで導電剤には、グラファイト、ニッケル、銅、銀等の金属微粒子の類やアンチモンドープ酸化スズ(ATO)、酸化インジウムスズ(ITO)、酸化スズ、アンチモン酸亜鉛等の金属酸化物の類や活性炭といった導電性の粒子を用いることができる。導電剤の含有量としては、樹脂被膜の全重量に対して10〜50質量%、より好ましくは、20〜40質量%の範囲で良好に用いることができる。導電剤の含有量が10質量%未満の場合は、帯電グリッド2dの抵抗値を充分に低く制御することが困難となり、表面電位の制御を充分に行うことが困難となる。一方、導電剤の含有量が50質量%を越える場合には、含有するゼオライト粉体の量が不足し、放電生成物の除去能力が不十分となる場合がある。
塗工液は、まずバインダ樹脂を溶媒に対して比率5〜10wt%程度となるように作成し、攪拌している中にゼオライト粉体粒子および導電剤を加えることにより作成した。スプレー塗工の際には塗工液固形分濃度は30wt%以下とした。作成した液を帯電グリッドへ塗工する方法としては、ディッピング方式、ローラ塗工、電気泳動電着法等があるが、今回最も塗工ムラの少ないスプレー方式を用いた。帯電グリッドを長軸方向両端からテンションを張り直径30mmの円筒状の基材の長手方向に設置し、円筒を周方向に170rpmの速度で回転させているところを水平方向にスプレーを10mm/sec.の速度で走査させることにより塗工を行った。両面を塗工するために3mm程度基材から浮かせて帯電グリッドを設置した。塗布膜は最終的な膜厚が10〜100μm、好ましくは30〜70μmとなるように、表裏面に塗工するのが好ましい。
スプレー塗工後は塗布膜を熱または紫外線照射により架橋させる。熱により架橋を行う場合、スプレー塗工により塗布した帯電グリッドを80〜200℃で10分〜60分程度加熱することにより架橋させる。紫外線照射により架橋を行う場合、スプレー塗工により塗布した帯電グリッドに紫外線を照射させることによって架橋を行う。紫外線ランプとしては高圧水銀灯やメタルハライドランプなどが利用できるが、重合性モノマーや光重合開始剤の吸収波長に合わせ可視光光源の選択も可能である。照射光量は500mW/cm2以上、好ましくは1000mW/cm2以上である。1000mW/cm2より強い照度の照射光を用いることで、重合反応の進行速度が大幅に大きくなり、良好な多孔質膜を形成することが可能となる。照射時間は10秒から5分が好ましく、10秒から60秒がより好ましい。
次に、本発明による一実施形態に係る画像形成装置で使用される電子写真感光体の部分について図面に基づいて説明する。図7は、本発明で用いる一実施形態に係る電子写真感光体を表わす断面図である。図7は、導電性支持体31上に、中間層33、電荷発生機能を有する電荷発生層35と、電荷輸送物機能を有する電荷輸送層37が積層された積層構造の感光体の断面構造を示している。図8は、本発明で用いる他の実施形態に係る電子写真感光体を表わす断面図である。図8は図7で示す感光体の電荷輸送層37上に保護層39が積層された感光体の断面構造を示している。
導電性支持体31としては、体積抵抗1010Ω・cm以下の導電性を示すもの、例えば、アルミニウム、ニッケル、クロム、ニクロム、銅、金、銀、白金などの金属、酸化スズ、酸化インジウムなどの金属酸化物を蒸着またはスパッタリングにより、フィルム状もしくは円筒状のプラスチック、紙に被覆したもの、あるいはアルミニウム、アルミニウム合金、ニッケル、ステンレスなどの板およびそれらを押し出し、引き抜きなどの工法で素管化後、切削、超仕上げ、研摩などの表面処理を施した管などを使用することができる。また、特開昭58−86547号公報に開示されたエンドレスニッケルベルト、エンドレスステンレスベルトも導電性支持体31として用いることができる。この他、上記支持体上に導電性粉体を適当な結着樹脂に分散して塗工したものについても、導電性支持体31として用いることができる。
導電性支持体31上から感光層への電荷注入の防止や、干渉縞防止の目的のために設けることができる中間層33の構成は、結着樹脂や結着樹脂中に粒子を分散したものが用いられ、結着樹脂としてはポリビニルアルコール、ニトロセルロース、ポリアミド、ポリ塩化ビニル等の熱可塑性樹脂、ポリウレタン、アルキッド−メラミン樹脂などの熱硬化性樹脂などを利用することができる。中間層に分散させる粒子としては酸化チタン、酸化アルミニウム、酸化錫、酸化亜鉛、酸化ジルコニウム、酸化マグネシウム、シリカ及びそれらの表面処理品が用いられ、酸化チタンが分散性、電気的特性においてより好ましく、ルチル型とアナターゼ型いずれのものも用いることが可能である。中間層を形成するには、例えば上述の結着樹脂を有機溶剤中に溶解し、その溶液中に上述の粒子をボールミル、サンドミル等の手段で分散し、支持体上に塗布、乾燥すれば良い。中間層33の厚みは10μm以下、好ましくは0.1〜6μmである。
(電荷発生層)
電荷発生層35は、電荷発生機能を有する電荷発生物質を主成分とする層で、必要に応じてバインダ樹脂を併用することもできる。電荷発生物質としては、無機系材料と有機系材料を用いることができる。
電子輸送物質としては、たとえばクロルアニル、ブロムアニル、テトラシアノエチレン、テトラシアノキノジメタン、2,4,7−トリニトロ−9−フルオレノン、2,4,5,7−テトラニトロ−9−フルオレノン、2,4,5,7−テトラニトロキサントン、2,4,8−トリニトロチオキサントン、2,6,8−トリニトロ−4H−インデノ〔1,2−b〕チオフェン−4−オン、1,3,7−トリニトロジベンゾチオフェン−5,5−ジオキサイド、ジフェノキノン誘導体などの電子受容性物質が挙げられる。これらの電子輸送物質は、単独または2種以上の混合物として用いることができる。
電荷輸送層37は電荷輸送機能を有する層で、電荷輸送機能を有する電荷輸送物質および結着樹脂を適当な溶剤に溶解ないし分散し、これを電荷発生層35上に塗布、乾燥することにより形成させる。電荷輸送物質としては、前記電荷発生層35で記載した電子輸送物質、正孔輸送物質及び高分子電荷輸送物質を用いることができる。
電荷輸送層に併用できる可塑剤としては、ジブチルフタレート、ジオクチルフタレート等の一般の樹脂の可塑剤として使用されているものがそのまま使用でき、その使用量は、結着樹脂100重量部に対して0〜30重量部程度が適当である。電荷輸送層に併用できるレベリング剤としては、ジメチルシリコーンオイル、メチルフェニルシリコーンオイル等のシリコーンオイル類や、側鎖にパーフルオロアルキル基を有するポリマーあるいはオリゴマーが使用され、その使用量は、結着樹脂100重量部に対して0〜1重量部程度が適当である。電荷輸送層の膜厚は、5〜40μm程度が適当であり、好ましくは10〜30μm程度が適当である。
電荷輸送層上に保護層39を設けることで耐磨耗性や傷に対する耐久性を向上させることができる。保護層は導電性微粒子を分散させたものや、フッ素含有樹脂、アクリル樹脂等の潤滑性微粒子を分散させたものや、機械的強度に優れた架橋膜によるものがある。この樹脂の例としてはフェノール樹脂、ウレタン樹脂、メラミン樹脂、硬化性アクリル樹脂、シロキサン系樹脂等が好ましい。更に保護層にはその電気特性を向上させるために、電荷輸送材料を含有させることが好ましい。尚、電荷輸送材料としては、例えば上記電荷輸送層の構成材料として挙げられたものを使用できる。
直径100mmのアルミニウムシリンダー上に、下記組成の下引き層用塗工液、電荷発生層用塗工液、電荷輸送層用塗工液を順次、塗布、乾燥することにより、3.5μmの下引き層、0.2μmの電荷発生層、22μmの電荷輸送層を形成した。
アルキド樹脂 6部
(ベッコゾール1307−60−EL、大日本インキ化学工業社製)
メラミン樹脂 4部
(スーパーベッカミン G−821−60、大日本インキ化学工業社製)
酸化チタン 40部
(CR−EL、石原産業社製)
メチルエチルケトン 50部
Y型チタニルフタニルフタロシアニン 4部
ポリビニルブチラール 2部
(エスレックBM−S、積水化学工業社製)
メチルエチルケトン 150部
電荷輸送物質(下記構造式A) 10部
ビスフェノールZ型ポリカーボネート 10部
(パンライトTS−2050、帝人化成社製)
テトラヒドロフラン 80部
1%シリコーンオイルのテトラヒドロフラン溶液 0.2部
(KF50、信越化学工業社製)
電荷輸送性構造を有さない3官能以上のラジカル重合性モノマー 10部
トリメチロールプロパントリアクリレート
(KAYARAD TMPTA、日本化薬社製)
分子量:296、官能基数:3官能、分子量/官能基数=99
電荷輸送性構造を有するラジカル重合性化合物(下記構造式B) 10部
光重合開始剤 1部
1−ヒドロキシ−シクロヘキシル−フェニル−ケトン
(イルガキュア184、チバ・スペシャルティ・ケミカルズ社製)
テトラヒドロフラン 100部
以下に示す材料を用いて塗工液を調製し、コロナ帯電装置の帯電グリッド上にスプレーにより塗工した。最終的な膜厚が50μmとなるように塗工した。
導電剤・・アンチモン酸亜鉛(セルナックス CX−Z210IP日産化学工業製) 8部
重合性モノマー・・・トリメチロールプロパントリアクリレート
(KAYARAD TMPTA 日本化薬社製) 6部
相分離剤・・・ポリスチレン 4部
光重合開始剤・・・イルガキュア184(チバスペシャリティケミカルズ) 0.05部
溶媒・・・テトラヒドロフラン 140部
実施例1において使用した帯電グリッドの塗工液のうち、重合性モノマー6部及び相分離剤4部を以下のように変更した以外は全て実施例1と同様にしてコロナ帯電装置を作製し、評価を行った。
相分離剤・・・ポリスチレン 5部
実施例1において使用した帯電グリッドの塗工液のうち、重合性モノマー6部及び相分離剤4部を以下のように変更した以外は全て実施例1と同様にしてコロナ帯電装置を作製し、評価を行った。
(日本化薬、KAYARAD DPHA) 8部
相分離剤・・・ポリスチレン 2部
実施例1において使用した帯電グリッドの塗工液のうち、重合性モノマー6部及び相分離剤4部を以下のように変更した以外は全て実施例1と同様にしてコロナ帯電装置を作製し、評価を行った。
(日本化薬社製、KAYARAD DPCA−120) 5部
相分離剤・・・ポリカーボネート 3部
実施例1において使用した帯電グリッドの塗工液のうち、相分離剤4部を以下のように変更した以外は全て実施例1と同様にしてコロナ帯電装置を作製し、評価を行った。
実施例1において使用した帯電グリッドの塗工液のうち、重合性モノマー6部及び相分離剤4部を以下のように変更した以外は全て実施例1と同様にしてコロナ帯電装置を作製し、評価を行った。
(日本化薬社製、KAYARAD DPCA−120) 6部
相分離剤・・・ポリカーボネート 4部
実施例1において使用した帯電グリッドの塗工液のうち、重合性モノマー6部及び相分離剤4部を以下のように変更した。紫外線照射後は、テトラヒドロフランへの浸漬は行わずに130℃、30分の乾燥を行った。それ以外は全て実施例1と同様にしてコロナ帯電装置を作製し、評価を行った。
相分離剤・・・水 3部
実施例1において使用した帯電グリッドの塗工液のうち、光重合開始剤0.05部を以下のように変更し、加熱による架橋を行った。スプレー塗工後は、150℃で30分加熱し架橋を行った。架橋後はテトラヒドロフランに24時間浸し、130℃、30分の乾燥を行った。それ以外は全て実施例1と同様にしてコロナ帯電装置を作製し、評価を行った。
実施例1において使用した帯電グリッドの塗工液に重合性モノマー、相分離剤、光重合開始剤を入れず、重合性モノマー6部の替わりにバインダ樹脂であるポリビニルブチラール樹脂10部、溶媒であるテトラヒドロフラン140部の替わりにメタノール140部を使用して塗工液を調整し、スプレーにより帯電グリッド上に塗工した。塗工後は130℃、30分の乾燥を行い、帯電グリッドを得た。この帯電グリッドを用いてコロナ帯電装置を作製し、実施例1と同様に評価を行った。
実施例1において使用した帯電グリッドの塗工液に重合性モノマー、相分離剤、光重合開始剤を入れず、重合性モノマー6部の替わりにバインダ樹脂であるバインダ樹脂としてポリカーボネート10部を使用して塗工液を調整し、スプレーにより帯電グリッド上に塗工した。塗工後は130℃、30分の乾燥を行い帯電グリッドを得た。この帯電グリッドを用いてコロナ帯電装置を作製し、実施例1と同様に評価を行った。
実施例1において使用した帯電グリッドの塗工液に重合性モノマー、分離剤、光重合開始剤を入れず、重合性モノマー6部の替わりにバインダ樹脂であるポリスチレン8部を使用して塗工液を調整し、スプレーにより帯電グリッド上に塗工した。塗工後は130℃30分の乾燥を行って帯電グリッドを得た。この帯電グリッドを用いてコロナ帯電装置を作製し、それ以外は実施例1と同様に評価を行った。
実施例1において触媒であるゼオライトを入れずに、重合性モノマーおよび相分離剤を下記の配合比にして塗工液を調整し、スプレーにより帯電グリッド上に塗工した。それ以外は実施例1と同様に評価を行った。
導電剤・・アンチモン酸亜鉛(セルナックス CX−Z210IP日産化学工業製)8部
重合性モノマー・・・トリメチロールプロパントリアクリレート 28部
相分離剤・・・ポリスチレン 10部
光重合開始剤・・・イルガキュア184(チバスペシャリティケミカルズ)0.05部
溶媒・・・テトラヒドロフラン 140部
実施例1において導電剤を入れずに、触媒、重合性モノマーおよび相分離剤を下記の配合比にして塗工液を調整し、スプレーにより帯電グリッド上に塗工した。それ以外は実施例1と同様に評価を行った。
導電剤・・・なし
重合性モノマー・・・トリメチロールプロパントリアクリレート(日本化薬社製) 5部
相分離剤・・・ポリスチレン 3部
光重合開始剤・・・イルガキュア184(チバスペシャリティケミカルズ) 0.01部
溶媒・・・テトラヒドロフラン 140部
帯電グリッドに塗膜を形成せず、そのまま使用して実施例1と同様に評価を行った。
帯電グリッドに塗工された膜の密着度合いが実使用に耐えられるかを、力を入れて強く擦ったときと指を乗せる程度の負荷で塗工面をウエスで10回拭いたときの剥がれの程度で評価した。また耐久性評価として200時間コロナ帯電装置を放電させた後にも同様に評価を行った。以下にそれぞれの記号の程度を示す。
○ ・・・強く擦ると微量にウエスに付着するが実使用に耐えられる。
○△・・・普通に擦ると微量にウエスに付着するが実使用に耐えられる。
× ・・・普通に擦ると多量にウエスに付着し、実使用に耐えられない。
帯電グリッドを10℃、15%RH環境下に置いたプロセスカートリッジを有するリコー社製の画像形成装置(imagio Neo 1050pro)に取り付けた。帯電ワイヤに一定電流が流れるように電圧を印加することでコロナ放電を行い、帯電グリッドに−900Vを印加した際の被帯電体である感光体の表面電位を測定した。その後中間調(ハーフトーン)画像を出力し、局所的な帯電不良時に発生する雨だれ状のムラの有無を確認した。また耐久性評価として200時間および300時間コロナ帯電装置を放電させた後にも、雨だれ状のムラの有無を確認した。
○・・・雨だれ状ムラは若干発生するが、許容レベル。
×・・・雨だれ状ムラ発生。
帯電グリッドを10℃、15%RH環境下に置いたプロセスカートリッジを有するimagio Neo 1050proに取り付けた。作像動作を行うことでコロナ帯電装置を3時間放電後機械の電源を切り15時間放置した。その後、再度機械の電源を入れ、中間調(ハーフトーン)画像出力、及び全面文字画像の出力によりコロナ帯電装置直下の濃度ムラ、像流れの発生有無を確認した。また耐久性評価として200時間および300時間コロナ帯電装置を放電させた後にも、濃度ムラ、像流れの有無を確認した。
○・・・コロナ帯電装置直下濃度ムラが発生するが、許容レベル。
×・・・コロナ帯電装置直下濃度ムラがくっきり発生し、許容できないレベル。
1a 表面
2 コロナ帯電装置
2a コロナワイヤ(帯電ワイヤ)
2b シールドケース
2c 開口部
2d 帯電グリッド
2d1 グリッド電極
2e、2f 保持部
2i 導電性多孔質架橋性樹脂被膜
2B スコロトロン型コロナ帯電装置
3 露光装置
4 現像装置
6 クリーニング装置
9 定着装置
31 導電性支持体
33 中間層(下引き層)
35 電荷発生層
37 電荷輸送層
39 保護層
Claims (8)
- 開口部を有するシールドケースと、当該シールドケース内に配設されたコロナ放電電極と、当該コロナ放電電極と前記開口部との間に配設される帯電グリッドとを有するコロナ帯電装置において、
前記帯電グリッドの表面に、少なくともゼオライト粉体と導電剤とを含む導電性の多孔質の架橋性樹脂被膜を被着させたことを特徴とするコロナ帯電装置。 - 請求項1記載のコロナ帯電装置において、
前記多孔質の架橋性樹脂被膜は、架橋性の重合性モノマーバインダと相分離剤を混合し、前記重合性モノマーバインダを架橋させて樹脂被膜を形成後、当該樹脂被膜から相分離剤を除去させることによって形成された多孔質の架橋性樹脂膜であることを特徴とするコロナ帯電装置。 - 請求項2記載のコロナ帯電装置において、
前記重合性モノマーバインダが多官能のラジカル重合性化合物であることを特徴とするコロナ帯電装置。 - 請求項2又3記載のコロナ帯電装置において、
前記相分離剤が前記重合性モノマーに非相溶性のポリマーであることを特徴とするコロナ帯電装置。 - 請求項2乃至4のいずれか1項記載のコロナ帯電装置において、
前記重合性モノマーバインダの架橋手段が紫外線照射であることを特徴とするコロナ帯電装置。 - 請求項1乃至5のいずれか1項記載のコロナ帯電装置において、
前記樹脂被膜中の樹脂の含有比率が、樹脂被膜100重量部に対して、10〜60重量部であることを特徴とするコロナ帯電装置。 - 表面に静電潜像が形成される像担持体と、少なくとも当該像担持体の表面を一様に帯電させるコロナ帯電装置とを一体に連結して画像形成装置本体に脱着可能に設置されるプロセスカートリッジにおいて、
前記コロナ帯電装置は、請求項1乃至6のいずれか1項記載のコロナ帯電装置であることを特徴とするプロセスカートリッジ。 - 表面に静電潜像が形成される像担持体と、少なくとも当該像担持体の表面を一様に帯電させるコロナ帯電装置とを備えた画像形成装置において、
前記コロナ帯電装置は、請求項1乃至6のいずれか1項記載のコロナ帯電装置であることを特徴とする画像形成装置。
Priority Applications (1)
| Application Number | Priority Date | Filing Date | Title |
|---|---|---|---|
| JP2008232940A JP5386896B2 (ja) | 2008-09-11 | 2008-09-11 | コロナ帯電装置、プロセスカートリッジ及び画像形成装置 |
Applications Claiming Priority (1)
| Application Number | Priority Date | Filing Date | Title |
|---|---|---|---|
| JP2008232940A JP5386896B2 (ja) | 2008-09-11 | 2008-09-11 | コロナ帯電装置、プロセスカートリッジ及び画像形成装置 |
Publications (2)
| Publication Number | Publication Date |
|---|---|
| JP2010066536A true JP2010066536A (ja) | 2010-03-25 |
| JP5386896B2 JP5386896B2 (ja) | 2014-01-15 |
Family
ID=42192172
Family Applications (1)
| Application Number | Title | Priority Date | Filing Date |
|---|---|---|---|
| JP2008232940A Expired - Fee Related JP5386896B2 (ja) | 2008-09-11 | 2008-09-11 | コロナ帯電装置、プロセスカートリッジ及び画像形成装置 |
Country Status (1)
| Country | Link |
|---|---|
| JP (1) | JP5386896B2 (ja) |
Cited By (1)
| Publication number | Priority date | Publication date | Assignee | Title |
|---|---|---|---|---|
| WO2015045395A1 (ja) * | 2013-09-27 | 2015-04-02 | キヤノン株式会社 | 電子写真用の導電性部材、プロセスカートリッジ、及び、電子写真装置 |
Citations (3)
| Publication number | Priority date | Publication date | Assignee | Title |
|---|---|---|---|---|
| JPS6289660U (ja) * | 1985-11-26 | 1987-06-08 | ||
| JPH01319062A (ja) * | 1988-06-20 | 1989-12-25 | Canon Inc | コロナ放電器 |
| JP2006220794A (ja) * | 2005-02-09 | 2006-08-24 | Canon Inc | 排気ファン装置、フィルタ装置及び画像形成装置 |
-
2008
- 2008-09-11 JP JP2008232940A patent/JP5386896B2/ja not_active Expired - Fee Related
Patent Citations (3)
| Publication number | Priority date | Publication date | Assignee | Title |
|---|---|---|---|---|
| JPS6289660U (ja) * | 1985-11-26 | 1987-06-08 | ||
| JPH01319062A (ja) * | 1988-06-20 | 1989-12-25 | Canon Inc | コロナ放電器 |
| JP2006220794A (ja) * | 2005-02-09 | 2006-08-24 | Canon Inc | 排気ファン装置、フィルタ装置及び画像形成装置 |
Cited By (3)
| Publication number | Priority date | Publication date | Assignee | Title |
|---|---|---|---|---|
| WO2015045395A1 (ja) * | 2013-09-27 | 2015-04-02 | キヤノン株式会社 | 電子写真用の導電性部材、プロセスカートリッジ、及び、電子写真装置 |
| JP2015087772A (ja) * | 2013-09-27 | 2015-05-07 | キヤノン株式会社 | 電子写真用の導電性部材、プロセスカートリッジ、及び、電子写真装置 |
| US9146482B2 (en) | 2013-09-27 | 2015-09-29 | Canon Kabushiki Kaisha | Electroconductive member for electrophotography, process cartridge, and electrophotographic apparatus |
Also Published As
| Publication number | Publication date |
|---|---|
| JP5386896B2 (ja) | 2014-01-15 |
Similar Documents
| Publication | Publication Date | Title |
|---|---|---|
| JP5288250B2 (ja) | スコロトロン型コロナ帯電器、プロセスカートリッジおよび画像形成装置 | |
| JP6040596B2 (ja) | 電子写真感光体、画像形成方法、画像形成装置及びプロセスカートリッジ | |
| JP5887768B2 (ja) | 感光体及びその製造方法、プロセスカートリッジ並びに画像形成装置 | |
| EP2071411B1 (en) | Corona charger, and process cartridge and image forming apparatus using same | |
| JP5515247B2 (ja) | コロナ帯電器および画像形成装置 | |
| JP5545427B2 (ja) | コロナ帯電器および画像形成装置 | |
| JP5386896B2 (ja) | コロナ帯電装置、プロセスカートリッジ及び画像形成装置 | |
| JP5278787B2 (ja) | コロナ帯電器及び画像形成装置 | |
| JP5354261B2 (ja) | コロナ帯電装置、プロセスカートリッジ及び画像形成装置 | |
| JP5196229B2 (ja) | コロナ帯電器および画像形成装置 | |
| JP5170826B2 (ja) | コロナ帯電器および画像形成装置 | |
| JP5190757B2 (ja) | コロナ帯電器および画像形成装置 | |
| JP2009139813A (ja) | コロナ帯電器および画像形成装置 | |
| JP5299759B2 (ja) | 画像形成装置 | |
| JP5157097B2 (ja) | 画像形成装置の帯電工程評価方法 | |
| JP5267170B2 (ja) | 画像形成方法および画像形成装置 | |
| JP5170827B2 (ja) | コロナ帯電器および画像形成装置 | |
| JP5472577B2 (ja) | 画像形成装置 | |
| JP2013097009A (ja) | 感光体、画像形成装置およびプロセスカートリッジ | |
| JP5454159B2 (ja) | コロナ帯電器、画像形成装置およびプロセスカートリッジ | |
| JP5326466B2 (ja) | コロナ帯電装置、プロセスカートリッジ及び画像形成装置 | |
| JP2010139582A (ja) | スコロトロン型コロナ帯電器、プロセスカートリッジおよび画像形成装置 | |
| JP2010266593A (ja) | コロナ帯電器および画像形成装置、プロセスカートリッジ | |
| JP2010191212A (ja) | 画像形成装置および画像形成装置用プロセスカートリッジ | |
| JP2010079129A (ja) | 画像形成装置及びプロセスカートリッジ |
Legal Events
| Date | Code | Title | Description |
|---|---|---|---|
| A621 | Written request for application examination |
Free format text: JAPANESE INTERMEDIATE CODE: A621 Effective date: 20110803 |
|
| RD02 | Notification of acceptance of power of attorney |
Free format text: JAPANESE INTERMEDIATE CODE: A7422 Effective date: 20110805 |
|
| A977 | Report on retrieval |
Free format text: JAPANESE INTERMEDIATE CODE: A971007 Effective date: 20130131 |
|
| A131 | Notification of reasons for refusal |
Free format text: JAPANESE INTERMEDIATE CODE: A131 Effective date: 20130205 |
|
| A521 | Written amendment |
Free format text: JAPANESE INTERMEDIATE CODE: A523 Effective date: 20130401 |
|
| TRDD | Decision of grant or rejection written | ||
| A01 | Written decision to grant a patent or to grant a registration (utility model) |
Free format text: JAPANESE INTERMEDIATE CODE: A01 Effective date: 20130910 |
|
| A61 | First payment of annual fees (during grant procedure) |
Free format text: JAPANESE INTERMEDIATE CODE: A61 Effective date: 20130923 |
|
| R151 | Written notification of patent or utility model registration |
Ref document number: 5386896 Country of ref document: JP Free format text: JAPANESE INTERMEDIATE CODE: R151 |
|
| LAPS | Cancellation because of no payment of annual fees |
