JP2010065435A - ボーダー支柱 - Google Patents

ボーダー支柱 Download PDF

Info

Publication number
JP2010065435A
JP2010065435A JP2008232142A JP2008232142A JP2010065435A JP 2010065435 A JP2010065435 A JP 2010065435A JP 2008232142 A JP2008232142 A JP 2008232142A JP 2008232142 A JP2008232142 A JP 2008232142A JP 2010065435 A JP2010065435 A JP 2010065435A
Authority
JP
Japan
Prior art keywords
border
support
rotation
floor
claw
Prior art date
Legal status (The legal status is an assumption and is not a legal conclusion. Google has not performed a legal analysis and makes no representation as to the accuracy of the status listed.)
Granted
Application number
JP2008232142A
Other languages
English (en)
Other versions
JP5216493B2 (ja
Inventor
Seiji Yuasa
誠二 湯浅
Junichi Kitayama
淳一 北山
Haruki Sadakuni
晴紀 貞國
Michitoyo Kawano
道豊 川野
Current Assignee (The listed assignees may be inaccurate. Google has not performed a legal analysis and makes no representation or warranty as to the accuracy of the list.)
OM Kiki Co Ltd
Original Assignee
OM Kiki Co Ltd
Priority date (The priority date is an assumption and is not a legal conclusion. Google has not performed a legal analysis and makes no representation as to the accuracy of the date listed.)
Filing date
Publication date
Application filed by OM Kiki Co Ltd filed Critical OM Kiki Co Ltd
Priority to JP2008232142A priority Critical patent/JP5216493B2/ja
Publication of JP2010065435A publication Critical patent/JP2010065435A/ja
Application granted granted Critical
Publication of JP5216493B2 publication Critical patent/JP5216493B2/ja
Active legal-status Critical Current
Anticipated expiration legal-status Critical

Links

Images

Landscapes

  • Floor Finish (AREA)

Abstract

【課題】壁際へのボーダー床板の設置に際し、ボーダー支柱の高さ調整が自在でありながら、常に、押さえ爪と係止隙間との向きを合わせることができるボーダー床板の固定構造を提供する。
【解決手段】壁際に沿って基礎床9に設置するベース部材11と、ベース部材11に螺合してボーダー床板5の壁際の辺部を高さ調整可能に支持する支持部材12とを備え、ボーダー床板5の壁際の辺部に設けた係止隙間57に差し込んでボーダー床板5の浮き上がりを防止する押さえ爪41を支持部材12に設けた二重床用のボーダー支柱1において、支持部材12の上面に、押さえ爪41を一体に設けた回動部材2を水平回動可能に装着した二重床用のボーダー支柱である。
【選択図】図1

Description

本発明は、二重床を構築するため基礎床面上に標準支柱を介して敷き詰める標準床板の端部と部屋を仕切る間仕切壁等との間に生じる標準床板の寸法よりも小さい隙間(以下、ボーダー隙間という)を埋めるボーダー床板の壁際の辺部を支持するボーダー支柱のうち、特にボーダー床板の浮き上がり防止構造を備えた二重床用のボーダー支柱に関する。
二重床の構築に際して発生するボーダー隙間を埋める場合、ボーダー隙間の寸法に合わせて切断が容易な木質系の専用床パネルを切断して用いる場合がある。しかし、木質系の専用床パネルを用いる場合、通常の床パネルに比べると強度が低く、反り易い問題がある。このため、強度性能の高い通常の床パネルを切断してボーダー床板として用いる場合がある。ボーダー床板をボーダー支柱に固定して浮き上がりを防止する方法として、ボーダー床板の上方からボーダー支柱に向けてビスを打ち込む方法が用いられている。この方法は、下孔を開ける必要があるため施工性が悪く、ボーダー床板の着脱が面倒であるためメンテナンス性も悪い。
そこで、従来のボーダー支柱は、例えば特許文献1のボーダーパネルの支持具(ボーダー支柱)に見られるように、床面(基礎床)上に固定される脚部(ベース部材)と、脚部上に高さ調節が可能に取り付けられてボーダーパネル(ボーダー床板)の端部を支持する台板(支持部材)とから構成され、台板には、壁際の辺に沿って打起こし片を起立させるとともに、ボーダーパネルの底板を差し込むことができる隙間を設けた押さえ爪を打起こし片から内方に屈曲させて形成するようにし、この押さえ爪でボーダーパネルの底板を押さえ込むようにすることで、施工性及びメンテナンス性が改善している。
特開2001-173212号公報(第3頁〜第5頁、図2参照)
しかしながら、台板の下面に直接取り付けたナットを台板と共に脚部のボルト支柱にねじ込むタイプの支持具(特許文献1図4及び図6参照)では、台板の回転(高さ調整)に伴って押さえ爪の向きが変わるため、支持具の高さによっては、押さえ爪がボーダーパネルに対向せず底板を差し込むことができない。また、台板を回転させて押さえ爪の向きを一致させると支柱の高さが変わり、ボーダーパネルにガタツキを発生させてしまう問題点を有している。更に、ボーダーパネルの底板を押さえ爪の隙間に差し込んだままの状態では台板を回転させることができず、高さ調整できない問題点もある。これらの問題点は、図4及び図6に示されたタイプの支持具以外に、例えば台板の下面にボルトを下向きに設け、同ボルトを脚部側に設けたナットへねじ込むタイプの支持具にも当てはまる。
これらの問題点を解消するには、台板の下面に取り付けた筒状支持体を脚部に設けたボルト支柱にはめ込み、これをボルト支柱に螺合したナットにより支持した状態で、筒状支持体を押しネジ方式の止めネジでボルト支柱に固定するタイプの支持具を採用することが考えられる(特許文献1図1〜図3参照)。しかし、このタイプの支持具の場合、ボルト支柱と筒状支持体との隙間により台板にぐらつきや傾きが発生しやすい。また、これらの問題点は、筒状支持体の長さが短くなる程顕著になるから、前記タイプの支持具は、高さの低い支持具に対応できない問題点をなお有している。そこで、台板を脚部に直接ねじ込んで高さ調整するタイプのボーダー支柱であっても、高さ調整と無関係に押さえ爪の向きを変えることができるボーダー支柱を開発するため、検討した。
検討の結果開発したものが、壁際に沿って基礎床に設置するベース部材と、ベース部材に螺合してボーダー床板の壁際の辺部を高さ調整可能に支持する支持部材とを備え、ボーダー床板の壁際の辺部に設けた係止隙間に差し込んでボーダー床板の浮き上がりを防止する押さえ爪を支持部材に設けた二重床用のボーダー支柱において、支持部材の上面に、押さえ爪を設けた回動部材を水平回動自在に装着した二重床用のボーダー支柱である。本発明のボーダー支柱は、支持部材に対して独立して水平回動自在な回動部材に押さえ爪を設けたことにより、高さ調整と無関係に押さえ爪の向きを変えることができる。
具体的には、支持部材には、回動部材の回動を案内する回動ガイド凸条が円周状に形成され、回動部材には、回動ガイド凸条に摺接する回動当て部が形成された構成を挙げることができる。より具体的には、支持部材には、回動部材を載せる水平な支持テーブルが円周状に形成され、支持テーブルの周縁を回動ガイド凸条とする一方、回動部材には、回動ガイド凸条に隣接する全周又は複数位置に回動当て部が形成され、回動部材の押さえ爪の下方位置には、支持テーブルの回動ガイド凸条を差し込んで上下に挟み込む掛止溝が設けられた構成を挙げることができる。
上記ボーダー支柱は、回動部材が押さえ爪を一体に設けた構成であったが、回動部材から押さえ爪を分離し、押さえ爪を設けた別部材を回動部材に取り付けるようにしてもよい。具体的には、回動部材は、支持部材に水平面内で回動自在に装着される樹脂製のボーダー載置体と、押さえ爪が一体成形されたボーダー載置体に共回り自在に取り付けられる金属製の固定具とから構成される二重床用のボーダー支柱でもよい。これにより、回動部材の各部それぞれに求められる要求を満たす構成、すなわちボーダー載置体を成形容易な樹脂製としながら、剛性が求められる押さえ爪を金属製とすることができる。
この場合、上記ボーダー支柱同様、支持部材には、回動部材の回動を案内する回動ガイド凸条が円周状に形成され、ボーダー載置体には、回動ガイド凸条に摺接する回動当て部が形成された構成にするとよい。より具体的には、支持部材には、ボーダー載置体を載せる水平な支持テーブルが円周状に形成され、支持テーブルの周縁を回動ガイド凸条とする一方、ボーダー載置体には、回動ガイド凸条に隣接する全周又は複数位置に回動当て部が形成され、回動部材の押さえ爪の下方位置には、支持テーブルの回動ガイド凸条を差し込んで上下に挟み込む掛止溝が設けられた構成にするとよい。更に、ボーダー載置体には、掛止溝と回動ガイド凸条との間に介在する緩衝部が設けられた構成にするとよい。
本発明によれば、高さ調整と無関係に押さえ爪の向きを変えることができ、ボーダー床板の壁側の辺部に設けた係止隙間に押さえ爪を差し込んで係合させることによるボーダー床板の固定作業が容易になる。具体的には、回動部材を支持部材に対して回転自在にすることにより、支持部材の高さに関係なく押さえ爪の向きを自由に変えることができるようになり、ボーダー床板のガタツキの発生を抑止又は防止できる効果が得られる。更に、ボーダー床板を載置固定した状態であっても、回動部材と無関係に支持部材のみを回転させて高さを調整できる効果が得られる。このほか、樹脂製のボーダー載置体と金属製の固定具とから回動部材を構成することにより、回動部材の各部それぞれに求められる要求を容易に満たす構成にすることができ、ボーダー床板を安定して支持できるボーダー支柱を提供できるようになる。
以下、本発明を実施するための最良の形態について図を参照しながら説明する。図1は本発明のボーダー支柱1を用いた二重床システムの斜視図、図2は標準支柱7と標準床板6の関係を表す一部分解斜視図、図3はボーダー支柱1とボーダー床板5との関係を表す一部分解斜視図、図4はボーダー支柱1の一部分解斜視図、図5は二重床システムのボーダー部分拡大平面図、図6は図5中A−A拡大断面図、図7は図5中B−B拡大断面図、図8はボーダー床板5の施工の様子を表す図5中B−B相当拡大断面図、図9は図8の左側面図、図10はボーダー床板5の施工の様子を表す図5中B−B相当拡大断面図、図11は図5中C−C拡大断面図、図12は回動部材を構成するボーダー載置体3の平面図であり、図13は図5中D−D断面図である。
図1に見られるように、本発明のボーダー支柱1は、ボーダー隙間を埋めるボーダー床板5の壁8に近接する隅部を支持するため、ボーダー隙間内の基礎床9上に、壁8に沿って一定間隔で接着固定して設置される。ボーダー床板5は、ボーダー隙間の幅に合わせて標準床板6の一辺を切断して小さくしたものであり、切断した側の辺(以下、カット辺という)を壁8側に沿わせる向きで配置される。したがって、ボーダー床板5の反対側の隅部は、標準床板6と全く同じ形状をしており、標準床板6を支持する標準支柱7によって支持される。標準支柱7は、ボーダー隙間以外の基礎床9上に縦横に一定間隔で接着固定して設置され、標準床板6が四隅を載置して敷き並べられる。
図2に見られるように、標準支柱7は標準床板6の一隅を高さ調整可能に支持し、基礎床9上に接着固定されるベース部材71と、ベース部材71に螺合して標準床板6の四隅を高さ調整可能に載置する支持部材72と、支持部材72の上面に被せて標準床板6を位置規制する樹脂製の標準載置体75と、ベース部材71にねじ込んで標準床板6を標準載置体75に押圧固定するパネル押え74とから構成される。支持部材72の中央には、ベース部材71の中央に立設したネジ棒711に螺合する支持ナット721が固着されており、ネジ棒711に対する支持ナット721の螺合位置を加減して高さ調整自在に構成される。パネル押え74は、支持部材72の高さ調整後に支持ナット721の上面側に締め付けて位置固定する機能も備えている。
標準床板6は、一辺が約500mmの平面視略正方形をした規格部材である。鋼板製の表面板61と裏面板62とは、図2に見られるように、裏面板62の外周壁63上縁を水平に折り曲げた周縁フランジ64でカシメ結合により一体化している。表面板61と裏面板62とに囲まれた内部には、パーティクルボード等の木質系ボードからなる芯材65を備え、前記芯材65と表面板61及び裏面板62とを接着固定することで、構造強度を高めている。標準床板6の隅部は平面視四分円形に切り欠かれ、前記切欠の周縁に沿って低段部66が設けられている。これにより、4枚の標準床板6の四隅を突き合わせ、各低段部66に囲まれて形成された孔にパネル押え74を差し込み、標準支柱7のネジ棒711先端に螺合させることにより、パネル押え74の鍔で各低段部66を押さえつけ、標準支柱7に対して4枚の標準床板6を固定する。
ボーダー床板5は、ボーダー隙間の寸法に合わせて標準床板6の一辺を切断した構造であり、ボーダー支柱1と標準支柱7との間に架け渡すことで、標準床板6と壁8との間の隙間を塞ぐ(図1及び図5参照)。図3に見られるように、ボーダー床板5のカット辺の両端には、ボーダー支柱1の押さえ爪41が差し込まれる係止隙間57が設けられている。本例の係止隙間57は、芯材55と外周壁53との間に押さえ爪41を挿入する空間部として形成したものであり、図6に見られるように、前記押さえ爪41でボーダー床板5の裏面板52を下方へ押さえ付けることにより、ボーダー床板5が上方向に変位することを規制している。
本例の標準床板6は、芯材65の外形寸法を外周壁63の位置に対して小さく設定しておくことで、予め4辺全長(全周)に係止隙間57となる空間が必ず形成される構造にしている。したがって、ボーダー隙間の幅に合わせて標準床板6をどの位置で切断しても、ボーダー床板5のカット辺の両端に、係止隙間57が形成できる。確かに、外周壁63まで芯材65を充填した構造を採用した床板であっても、切断後にドリル等で芯材にザグリ加工を施すことで係止隙間57を形成することができるが、施工現場において騒音や切削屑が発生するので、作業環境上好ましくない。本例の標準床板6は、こうした施工現場での作業が必要ない点で優れている。
標準床板6としては、例えば表面板61と裏面板62との間の内部空間に芯材65を充填しない中空構造も一般的である。よって、標準床板6は中空構造としながら、ボーダー床板5は本例のように芯材55を備えた中実構造としてもよい。中空構造の標準床板6を切断してボーダー床板5とした場合、本例同様に係止隙間を出現させることができるが、カット辺の強度低下が著しいため、ボーダー床板5として好ましくない。本例の標準床板6は、内部空間に芯材65が存在するため、カット辺の強度低下が極めて小さく、好適なボーダー床板5とすることができる。このほか、係止隙間を出現させる構造として、係止隙間となる断面形状を備えた押出形材等を床板外周に固着する構造を例示できる。
ボーダー支柱1は、図4に見られるように、壁際に沿ってボーダー隙間内の基礎床9上に接着固定されるベース部材11に、高さ調整自在に支持部材12を螺合し、押さえ爪41,41を設けた回動部材2を前記支持部材12の上面に水平回動自在に取り付けた構成である。ボーダー支柱1におけるベース部材11及び支持部材12は、標準支柱1のベース部材11及び支持部材12と同じであり、部材共通化によるコスト低減を図っている。本例の回動部材2は、樹脂製のボーダー載置体3に、押さえ爪41を一体に形成した金属製の固定具4を取り付けた構成である。ボーダー載置体3は、支持部材12に対して水平回動可能に被せて取り付けてあり、高さ調整に伴う支持部材12の回転と無関係に、固定具4に形成した押さえ爪41の向きを自由に変えられるようにしている。
ベース部材11は、平面視正方形をした金属製板状体の中央にカシメボルトからなるネジ棒111を立設した部材であり、支持部材12は、平面視円形をした金属製の鍔付きカップ状体の底面中央にカシメナットからなる支持ナット121を固着した部材であるが、ネジ棒111に対する支持ナット121のねじ込み位置を変えることにより、支持部材12の高さを調整可能にしている。
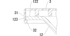
支持部材12は、外周縁に水平な鍔状の支持テーブル122が形成され、その外周端面を固定具4の水平回動を案内する回動ガイド凸条123としている。支持テーブル122に囲まれた内側部分には凹部124が形成され、その底面に支持ナット121が固着されている。凹部124内には支持ナット121から上方へ突出したネジ棒111の先端部分が収容される。ネジ棒111と支持ナット121とは、所定のねじ込み量(高さ調整代)が確保できれば上下の関係を逆転させてもよく、例えば、ベース部材11に高ナットを立設し、支持部材12からカシメボルトを垂下させる等の構造でもよい。ネジ棒111には、緩み止めナット13が螺合されていて、支持部材12の高さ調整後に支持ナット121の下面側に締め付けて位置固定する。
ボーダー載置体3は、平面視円形をした樹脂製の部材であり、支持部材12の支持テーブル122に対して水平回動自在に装着している。ボーダー載置体3は、図11に見られるように、外周全周にわたって垂下形成された回動当て部31の内周面を回動ガイド凸条123に摺接させ、固定具4を水平回動させる際のガイドとして機能する。ボーダー載置体3を介して支持されるボーダー床板5は、金属製の支持部材12に直接触れないため、僅かなガタツキがあっても音鳴りが防止される。更に、回動当て部31の内周面には、支持テーブル122周縁の裏面側に係止する係止突起32が形成されており、ボーダー載置体3が支持テーブル122から容易に外れないようにしている。回動当て部31も、ボーダー載置体3が支持テーブル122から外れにくくする働きも有し、本例のように全周にわたって設けることが好ましい。係止突起32は、90度間隔で4箇所程度(図12参照)に設けておけば十分である。
回動ガイド凸条123は、本例のように支持テーブル122の外周に設けるほか、支持テーブル122の内周に設けてもよい。具体的には、支持テーブル122を内向きに折り返したり、別体のリング状の板材を凹部124の縁に固着したりして、支持テーブル122の内周縁を凹部124内に突出させ、回動ガイド凸条123とする構造を例示できる。この場合、回動当て部31は、回動ガイド凸条123の内側に設け、外周面を回動ガイド凸条123に摺接させて、回動部材2を水平回動させる際のガイドとして働かせることができる。また、回動当て部31は、回動ガイド凸条123の裏面側に係止する係止突起32を外周面に形成し、ボーダー載置体3が支持テーブル122から容易に外れないように働かせることもできる。
ボーダー載置体3の上面には、固定具4を横方向から差し込んで装着するための取付部33が外縁から直径方向に延設されている。取付部33は、固定具4の左右位置を規制する側壁331と、上位置を規制する上壁332とを備えている。側壁331には、固定具4の側面に設けた係止孔421に係止する抜け止め突起333が形成されている。取付部33は、ボーダー載置体3の外縁付近に、固定具4を横方向から差し込むための差込口34を開口している。差込口34付近の側壁331底部には、外側から順に、側壁331,331間を連結する断面L字状の第1緩衝部35と帯状の第2緩衝部36とが形成され、更に奥側に、舌片状の第3緩衝部37,37が左右の側壁331,331から対向して第2緩衝部36と同じ高さで突設されている(図6及び図12参照)。
第1緩衝部35は、図13に見られるように、断面L字状の縦壁部分が支持テーブル122先端の回動ガイド凸条123に当接し、横壁部分が支持テーブル122の裏面に当接する。第2緩衝部36は、支持テーブル122に載る位置にあり、第3緩衝部37は凹部124の上方に配設されている。ボーダー載置体3の上面は、差込口34を設けた側の半分側が取付部33を挟んでフラットな低面部38,38に形成され、残る半分側が取付部33を挟んで低面部38から一段上がったフラットな高面部39,39に形成されている。ボーダー床板5は、押さえ爪41,41から離れた側にある前記高面部39に載置される。
固定具4は、図4に見られるように、平面視長方形の上面から両側の長辺部分を下方へ直角に折り曲げて側面を形成した本体部42と、本体部42の上面先端部分を下方へ直角に折り曲げて形成した壁当部43と、壁当部43の左右両端を本体部42側へ直角に折り曲げて形成した左右の押さえ爪41,41とから構成される。この固定具4は、本体部42の後側(押さえ爪41,41を形成していない側)をボーダー載置体3の差込口34に対して水平に挿入し、取付部33に取り付ける。このとき、ボーダー載置体3は先に支持部材12に単独で装着しておいてもよいし、固定具4をボーダー載置体3に予め取り付けて構成した回動部材2を、支持部材12に装着してもよい。
固定具4の本体部42には、本体部42の側面下端からL字形の鉤部45を下向きに突設することにより、両側面の押さえ爪41下方に、先端(外側)に向かって延びる掛止溝44,44が水平に形成されている。掛止溝44,44は、ボーダー載置体3の第1緩衝部35及び第2緩衝部36と支持テーブル122とを一体に挿入させ、支持部材12に対して固定具4(押さえ爪41,41)が浮き上がらないようにする。更に、本体部42の両側面に設けた係止孔421,421には、係止突起32,32が入り込んで、固定具4が取付部33から抜け出さないようにしている。押さえ爪41は、ボーダー床板5の外周壁53と芯材55との間に設けた係止隙間57に挿入するが、この挿入を容易にするため、先端下側の角部を面取りして逃がし411を設けている。
固定具4は、ガタツキやグラツキがなく、支持部材12に装着できることが望ましい。このため、本例は、図13に見られるように、支持テーブル122の上面と固定具4の本体部42側面下端との間に第2緩衝部36を介在させ、更に回動ガイド凸条123の側面及び下面と掛止溝44,44との間に第1緩衝部35を介在させている。これによって、支持テーブル122と固定具4との接触(メタルタッチ)が防止できる。また、固定具4は、掛止溝44の溝幅(上下幅)に対して第1緩衝部35を圧入させることにより、支持部材12に対する装着状態を安定させている。このほか、固定具4は、本体部42側面の後ろ寄りの下端を第3緩衝部37に支持させて、支持部材12に対する装着状態の安定を高めている。
隙間部材58は、図3に見られるように、ボーダー床板5のカット辺に貼着する発泡樹脂テープであり、カット辺を覆うことで芯材55や表裏面板14,15の切削屑が舞い落ちることを防止すると共に、図5に見られるように、壁8とボーダー床板5との間に生じる隙間を塞ぐ役割を有している。本例のボーダー床板5と固定具4との関係においては、ボーダー床板5の係止隙間57に押さえ爪41を完全に挿入しても、ボーダー床板5のカット辺と壁8との間に、固定具4に設けた壁当部43の板厚(2mm前後)に相当する隙間が発生する。加えて、音鳴り防止の目的で壁当部43と壁8との間に1mm前後の隙間を確保して施工するため、合計3mm前後の隙間が隣接するボーダー支柱1,1間の全域にわたって発生する。隙間部材58は、前記隙間を塞ぐ機能も備えており、ボーダー部の仕上がりを高める効果を有する。
ここで、壁当部43の板厚分がボーダー床板5より外側に飛び出さないように、外周壁53の部分を切り欠いておけば、ボーダー床板5のカット辺と壁8との間に発生する隙間を小さくすることができる。しかしながら、このような切欠加工は、施工現場での作業工数を増やすことになるし、壁8の直線度やボーダー床板5におけるカット辺の直線度はかなりバラツキがあるため、壁8とボーダー床板5との間にはどうしても隙間が発生する。このため、本例では、あえて隙間を積極的に設け、相応の厚みの隙間部材58で塞ぐようにしている。
以下、予め基礎床9に接着固定したボーダー支柱1と標準支柱7との間に、ボーダー床板5を敷き込む手順について説明する。まず、ボーダー床板5のカット辺を壁8側に向けて下方に傾け、押さえ爪41に対して係止隙間57の位置を合わせて接近させていく(図8参照)。このとき、作業者から係止隙間57が隠れて見えないため、押さえ爪41と係止隙間57の位置が合わない虞がある。そこで、係止隙間57と押さえ爪41の左右位置を合わせるため、本例では、ボーダー載置体3の取付部33の側壁331を挿入位置決め部とし、前記側壁331にボーダー床板5の外周壁53を当ててスライドさせながら接近させていくようにしている(図9参照)。このほか、図8に見られるように、低面部38上にボーダー床板5のカット辺の下端を載せてスライドさせると、上下位置も合わせることができるほか、ボーダー床板5の重量が軽減され作業が楽になる利点もある。
こうして、ボーダー床板5を固定具4に近づけていくと、押さえ爪41に逃がし411を設けているから、側壁331にボーダー床板5の外周壁53を当ててスライドさせることによる位置合わせ機能と相俟って、容易に押さえ爪41を係止隙間57内へと差し込むことができる。押さえ爪41は、一旦挿入された係止隙間57から外れることが考えにくいことから、後はカット辺の端面が壁当部43の裏面に当接させ、それ以上押し込めなくなるまでスライドさせればよい(図10参照)。押さえ爪41の挿入が完了すれば、ボーダー床板5のカット辺と反対側の辺を下ろしていけば、隅部を標準支柱7(標準載置体75)の上に載置できる。
このとき、図7に見られるように、ボーダー床板5を載せる高面部39の高さに対し、押さえ爪41の下端位置をほぼ同じ高さに設定しているため、ボーダー床板5は、裏面板52の厚み分だけカット辺側が下げられるようになる。部材同士には多少のクリアランスが存在し、部材個々にも僅かな変形が生じるので、ボーダー床板5は自重によってほぼ水平な状態となる。これにより、各部材の製作誤差に起因するガタツキを吸収した状態でボーダー床板5と押さえ爪41とを係合できる。
本例のボーダー床板5は、標準床板6を切断して構成するから、当然、カット辺と反対側の隅部には低段部56が備わっている。よって、2枚のボーダー床板5の各隅部と2枚の標準床板6の各隅部とを突き合わせて形成される孔にパネル押え74を挿入し、ネジ棒711に締め込んで固定してやれば、一連の敷き込み操作が完了する。こうしてボーダー床板5は、ガタツキがほぼ完全に吸収された状態で、四隅が標準支柱7又はボーダー支柱1にそれぞれ固定され、浮き上がりが強力に防止されることになる。
高面部39は、押さえ爪41から離れた位置に設けるのが好ましい。低面部38は、高面部39を設けた結果、必然的に形成される相対的に高さの低い面であるが、押さえ爪41の差し込み操作に際して傾けるボーダー床板5の押さえ爪41に対する上下位置を自由にできるようにして、係止隙間57への押さえ爪41の差し込み操作を容易にする効果をもたらしている。
図14は別例の回動部材2を用いたボーダー支柱1の一部分解斜視図、図15は同ボーダー支柱1とボーダー床板5との関係を示す部分拡大平面図、図16は図15中E−E断面図である。本例のボーダー支柱1は、上記例示(図1〜図13参照)と回動部材2の構造が異なるのみで、ベース部材11及び支持部材12は同じ構造であるため、これらの説明は省略する。別例の回動部材2は、ボーダー載置体3及び固定具4の2部品から構成するのではなく、樹脂の一体成形により構成する。具体的には、別例の回動部材2全体は、ボーダー載置体3に相当する円盤を基本とし、前記円盤の上面側の中心線上に位置決めブロック22を突設させ、その先端から左右両側に押さえ爪21,21を内向きに折り返して一体に設けた構造としている。
位置決めブロック22の先端面は壁当部27に形成し、前記壁当部27の両側から内方へ折り返して径方向内向きに延びる一対の押さえ爪21,21を形成している。この押さえ爪21の先端には、上記例示同様に逃がし211が形成されている。押さえ爪21,21の下方には、側壁221下端からL字形の鉤部29を下向きに突設することにより、先端(外側)に向かって延びる掛止溝28,28が水平に形成されている。位置決めブロック22の左右両側壁221は、ボーダー床板5の外周壁53を当接させれば係止隙間57と押さえ爪21との左右位置が合わせられるようになっており、挿入位置決め機能を有している。これら押さえ爪21や位置決めブロック22の側壁221等は、ボーダー床板5の浮き上がりに対抗する際に比較的大きな力が加わるので、リブを設けたり、厚みを大きくしたりすることにより、剛性を高めておくことが好ましい。
位置決めブロック22を挟んだ両側における円盤の上面には、上記例示同様、押さえ爪21寄り半分が相対的に低いフラットな低面部25,25として形成され、残りの半分が相対的に高いフラットな高面部26として形成されている。円盤の外周縁には、回動当て部23が等間隔で4箇所に垂下形成され、回動当て部23それぞれの先端内向きに係止突起24が突設されている。このように、一体成形された回動部材2によれば、2部材からなる上記例示に比べ、固定具4の装着に必要であったボーダー載置体3の取付部33に関係する抜け止め突起333、差込口34、第1緩衝部35、第2緩衝部36及び第3緩衝部37が不要となるほか、固定具4にあっては本体部42や係止孔421といった構成が不要となり、組み付け作業をも不要にできる利点がある。
本発明のボーダー支柱を用いた二重床システムの斜視図である。 標準支柱と標準床板の関係を表す一部分解斜視図である。 ボーダー支柱とボーダー床板との関係を表す一部分解斜視図である。 ボーダー支柱の一部分解斜視図である。 二重床システムのボーダー部分拡大平面図である。 図5中A−A拡大断面図である。 図5中B−B拡大断面図である。 ボーダー床板の施工の様子を表す図5中B−B相当拡大断面図である。 図8の左側面図である。 ボーダー床板の施工の様子を表す図5中B−B相当拡大断面図である。 図5中C−C拡大断面図である。 ボーダー載置体の平面図である。 図5中D−D拡大断面図である。 別例のボーダー支柱の一部分解斜視図である。 別例のボーダー支柱とボーダー床パネルの関係を示す部分拡大平面図である。 図15中E−E断面図である。
符号の説明
1 ボーダー支柱
11 ベース部材
12 支持部材
13 緩み止めナット
2 回動部材
21 押さえ爪
22 位置決めブロック
23 回動当て部
24 係止突起
25 低面部
26 高面部
27 壁当部
28 掛止溝
29 鉤部
3 ボーダー載置体
31 回動当て部
32 係止突起
33 取付部
34 差込口
35 第1緩衝部
36 第2緩衝部
37 第3緩衝部
38 低面部
39 高面部
4 固定具
41 押さえ爪
42 本体部
43 壁当部
44 掛止溝
45 鉤部
5 ボーダー床板
6 標準床板
7 標準支柱
8 壁
9 基礎床

Claims (7)

  1. 壁際に沿って基礎床に設置するベース部材と、ベース部材に螺合してボーダー床板の壁際の辺部を高さ調整可能に支持する支持部材とを備え、ボーダー床板の壁際の辺部に設けた係止隙間に差し込んでボーダー床板の浮き上がりを防止する押さえ爪を支持部材に設けた二重床用のボーダー支柱において、支持部材の上面に、押さえ爪を設けた回動部材を水平回動自在に装着したことを特徴とする二重床用のボーダー支柱。
  2. 支持部材には、回動部材の回動を案内する回動ガイド凸条が円周状に形成され、回動部材には、回動ガイド凸条に摺接する回動当て部が形成された請求項1記載の二重床用のボーダー支柱。
  3. 支持部材には、回動部材を載せる水平な支持テーブルが円周状に形成され、支持テーブルの周縁を回動ガイド凸条とする一方、回動部材には、回動ガイド凸条に隣接する全周又は複数位置に回動当て部が形成され、回動部材の押さえ爪の下方位置には、支持テーブルの回動ガイド凸条を差し込んで上下に挟み込む掛止溝が設けられた請求項1又は2のいずれかに記載の二重床用のボーダー支柱。
  4. 回動部材は、支持部材に水平面内で回動自在に装着される樹脂製のボーダー載置体と、押さえ爪が一体成形されボーダー載置体に共回り自在に取り付けられる金属製の固定具とから構成される請求項1記載の二重床用のボーダー支柱。
  5. 支持部材には、回動部材の回動を案内する回動ガイド凸条が円周状に形成され、ボーダー載置体には、回動ガイド凸条に摺接する回動当て部が形成された請求項4記載の二重床用のボーダー支柱。
  6. 支持部材には、ボーダー載置体を載せる水平な支持テーブルが円周状に形成され、支持テーブルの周縁を回動ガイド凸条とする一方、ボーダー載置体には、回動ガイド凸条に隣接する全周又は複数位置に回動当て部が形成され、固定具の押さえ爪の下方位置には、支持テーブルの回動ガイド凸条を差し込んで上下に挟み込む掛止溝が設けられた請求項5記載の二重床用のボーダー支柱。
  7. ボーダー載置体には、掛止溝と回動ガイド凸条との間に介在する緩衝部が設けられた請求項6記載の二重床用のボーダー支柱。
JP2008232142A 2008-09-10 2008-09-10 ボーダー支柱 Active JP5216493B2 (ja)

Priority Applications (1)

Application Number Priority Date Filing Date Title
JP2008232142A JP5216493B2 (ja) 2008-09-10 2008-09-10 ボーダー支柱

Applications Claiming Priority (1)

Application Number Priority Date Filing Date Title
JP2008232142A JP5216493B2 (ja) 2008-09-10 2008-09-10 ボーダー支柱

Publications (2)

Publication Number Publication Date
JP2010065435A true JP2010065435A (ja) 2010-03-25
JP5216493B2 JP5216493B2 (ja) 2013-06-19

Family

ID=42191239

Family Applications (1)

Application Number Title Priority Date Filing Date
JP2008232142A Active JP5216493B2 (ja) 2008-09-10 2008-09-10 ボーダー支柱

Country Status (1)

Country Link
JP (1) JP5216493B2 (ja)

Cited By (2)

* Cited by examiner, † Cited by third party
Publication number Priority date Publication date Assignee Title
JP2015175126A (ja) * 2014-03-13 2015-10-05 フクビ化学工業株式会社 床支持具及びその設置構造
KR20230159109A (ko) * 2022-05-13 2023-11-21 삼성물산 주식회사 플로어 패널 및 이를 포함하는 플로어 패널 조립체

Citations (3)

* Cited by examiner, † Cited by third party
Publication number Priority date Publication date Assignee Title
JPH0510020A (ja) * 1991-06-28 1993-01-19 Matsushita Electric Works Ltd 床材の支持脚
JPH0657924A (ja) * 1992-08-11 1994-03-01 Sekisui Chem Co Ltd 床パネル構造
JP2001173212A (ja) * 1999-12-21 2001-06-26 Nippon Steel Metal Prod Co Ltd ボーダーパネルの支持具及びパネル支持構造

Patent Citations (3)

* Cited by examiner, † Cited by third party
Publication number Priority date Publication date Assignee Title
JPH0510020A (ja) * 1991-06-28 1993-01-19 Matsushita Electric Works Ltd 床材の支持脚
JPH0657924A (ja) * 1992-08-11 1994-03-01 Sekisui Chem Co Ltd 床パネル構造
JP2001173212A (ja) * 1999-12-21 2001-06-26 Nippon Steel Metal Prod Co Ltd ボーダーパネルの支持具及びパネル支持構造

Cited By (3)

* Cited by examiner, † Cited by third party
Publication number Priority date Publication date Assignee Title
JP2015175126A (ja) * 2014-03-13 2015-10-05 フクビ化学工業株式会社 床支持具及びその設置構造
KR20230159109A (ko) * 2022-05-13 2023-11-21 삼성물산 주식회사 플로어 패널 및 이를 포함하는 플로어 패널 조립체
KR102662450B1 (ko) * 2022-05-13 2024-05-03 삼성물산 주식회사 플로어 패널 및 이를 포함하는 플로어 패널 조립체

Also Published As

Publication number Publication date
JP5216493B2 (ja) 2013-06-19

Similar Documents

Publication Publication Date Title
KR101324726B1 (ko) 건축 내외장재 설치용 고정구
JP4709941B2 (ja) 建物躯体に外装板を取り付けるためのアンカー金物
JP5216493B2 (ja) ボーダー支柱
JP5862122B2 (ja) ガラスパネルの取付構造
JP2006308243A (ja) 空気調和機用室外機の壁面置台及びこれを用いた空気調和機用室外機の据付方法
JP2008228933A (ja) ベース及び家具
JP2020101223A (ja) ねじ取付部材支持構造
KR20190003051U (ko) 테이블 파티션
JP4805898B2 (ja) 二重床システム
JP4990328B2 (ja) フリーアクセスフロアの支持構造
JPS63194063A (ja) フロアパネルの支持装置
JP4768515B2 (ja) パネル支持装置
JP2020041292A (ja) 間仕切パネル装置
JPH0431364Y2 (ja)
KR20250154781A (ko) 자동 조정 가능한 통합형 엘리베이터 홀 재료 분리대 및 안전 프론트 커버
CN213344716U (zh) 一种具有屏风组件的办公桌
KR200459616Y1 (ko) 책상용 칸막이 승강시스템
JP2005188190A (ja) フリーアクセスフロア用支持脚
JP2006104891A (ja) フリーアクセスフロア用支持脚
JP2001173212A (ja) ボーダーパネルの支持具及びパネル支持構造
KR102149856B1 (ko) 선반 지지장치
JP3091660B2 (ja) 出窓の下枠構造
TWI639756B (zh) Modular wall fixture
JPH0539142Y2 (ja)
JP4312567B2 (ja) 二重床用支柱

Legal Events

Date Code Title Description
A621 Written request for application examination

Free format text: JAPANESE INTERMEDIATE CODE: A621

Effective date: 20110905

A977 Report on retrieval

Free format text: JAPANESE INTERMEDIATE CODE: A971007

Effective date: 20121109

A131 Notification of reasons for refusal

Free format text: JAPANESE INTERMEDIATE CODE: A131

Effective date: 20121127

A521 Request for written amendment filed

Free format text: JAPANESE INTERMEDIATE CODE: A523

Effective date: 20121227

TRDD Decision of grant or rejection written
A01 Written decision to grant a patent or to grant a registration (utility model)

Free format text: JAPANESE INTERMEDIATE CODE: A01

Effective date: 20130205

A61 First payment of annual fees (during grant procedure)

Free format text: JAPANESE INTERMEDIATE CODE: A61

Effective date: 20130304

R150 Certificate of patent or registration of utility model

Ref document number: 5216493

Country of ref document: JP

Free format text: JAPANESE INTERMEDIATE CODE: R150

Free format text: JAPANESE INTERMEDIATE CODE: R150

FPAY Renewal fee payment (event date is renewal date of database)

Free format text: PAYMENT UNTIL: 20160308

Year of fee payment: 3

S531 Written request for registration of change of domicile

Free format text: JAPANESE INTERMEDIATE CODE: R313531

R350 Written notification of registration of transfer

Free format text: JAPANESE INTERMEDIATE CODE: R350

R250 Receipt of annual fees

Free format text: JAPANESE INTERMEDIATE CODE: R250

R250 Receipt of annual fees

Free format text: JAPANESE INTERMEDIATE CODE: R250

R250 Receipt of annual fees

Free format text: JAPANESE INTERMEDIATE CODE: R250

R250 Receipt of annual fees

Free format text: JAPANESE INTERMEDIATE CODE: R250

R250 Receipt of annual fees

Free format text: JAPANESE INTERMEDIATE CODE: R250