JP2010064827A - ロール状積載物のコンテナ内積載固定方法及びコンテナ - Google Patents

ロール状積載物のコンテナ内積載固定方法及びコンテナ Download PDF

Info

Publication number
JP2010064827A
JP2010064827A JP2008231372A JP2008231372A JP2010064827A JP 2010064827 A JP2010064827 A JP 2010064827A JP 2008231372 A JP2008231372 A JP 2008231372A JP 2008231372 A JP2008231372 A JP 2008231372A JP 2010064827 A JP2010064827 A JP 2010064827A
Authority
JP
Japan
Prior art keywords
roll
container
load
shaped
loaded
Prior art date
Legal status (The legal status is an assumption and is not a legal conclusion. Google has not performed a legal analysis and makes no representation as to the accuracy of the status listed.)
Granted
Application number
JP2008231372A
Other languages
English (en)
Other versions
JP5326448B2 (ja
Inventor
Yoshiharu Morita
義治 森田
Norimasa Nishiie
教将 西家
Current Assignee (The listed assignees may be inaccurate. Google has not performed a legal analysis and makes no representation or warranty as to the accuracy of the list.)
Ricoh Co Ltd
Original Assignee
Ricoh Co Ltd
Priority date (The priority date is an assumption and is not a legal conclusion. Google has not performed a legal analysis and makes no representation as to the accuracy of the date listed.)
Filing date
Publication date
Application filed by Ricoh Co Ltd filed Critical Ricoh Co Ltd
Priority to JP2008231372A priority Critical patent/JP5326448B2/ja
Publication of JP2010064827A publication Critical patent/JP2010064827A/ja
Application granted granted Critical
Publication of JP5326448B2 publication Critical patent/JP5326448B2/ja
Active legal-status Critical Current
Anticipated expiration legal-status Critical

Links

Images

Landscapes

  • Loading Or Unloading Of Vehicles (AREA)

Abstract

【課題】コンテナ積み込み作業を遂行しながらその都度対応できる形状部材を備える、輸出梱包を行わずにロール状積載物をコンテナ内に固定するロール状積載物のコンテナ内固定方法及びこの固定方法に使用するコンテナを提供すること。
【解決手段】ロール状積載物2をパレットの使用なしで、コンテナ1内に積み込み、前記ロール状積載物2の外周面を挟み込むことが可能な構造機能を持ったリフト(クランプリフト)で、前記ロール状積載物2の円形端面を前記コンテナ1の床面に接し、積み込まれたロール状積載物2同士が外周面で接するように積み込み、既に積み込まれたロール状積載物2とコンテナ壁1a、1bとの間に、前記クランプリフトの挟み込み機能部の動きを阻害しないための隙間を必要に応じて確保し、前記コンテナ壁1a、1bとの隙間確保においては、専用固定部材6を配置するロール状積載物のコンテナ内積載固定方法。
【選択図】図1

Description

本発明は、輸出梱包を行わずに感熱紙のロール状積載物であるロール原反品をコンテナ内に固定するロール状積載物のコンテナ内固定方法及びこの固定方法に使用するコンテナに関するものである。
ロール形状をした貨物の輸送は、荷扱い作業性の面から、積載する事前準備としてパレットに積載し、輸送途中の衝撃、及び荷役作業等において荷崩れしないように、安定性を確保するためパレットと貨物をストレッチフィルム等で巻き付け処理を行って輸送される(例えば、特許文献1参照)。
貨物の大きさは、直径寸法850mm〜1200mm、高さ寸法(直径面を底に縦方向寸法)1000mm〜2000mmの範囲で、重量は600kg/本〜2000kg/本と、人手作業で扱えるものではない。
図17は従来使用されている横方向積載のパレット梱包形態を示す概略図である。図18は従来使用されている縦方向積載のパレット梱包形態を示す概略図である。図19はコンテナ内のパレット梱包形態の積載方法を示す概略図である。図20はコンテナ内のパレット梱包形態の最後部の積み込み状態を示す概略図である。
図17乃至図20を参照して説明すると、図17に示す、横方向積載のパレット梱包形態100の、例えば、感熱紙のロール原反品であるロール状積載物100aは、パレット101上に載置されてストレッチフィルム102を巻き付けて荷崩れを防いでいる。
同様に、図18の縦方向積載のパレット梱包形態200の、例えば、感熱紙のロール原反品であるロール状積載物200aは、パレット201上に載置されてストレッチフィルム202を巻き付けて荷崩れを防いでいる。この場合に、ロール状積載物200aの上部には天板203が配置され、ロール状積載物200aとともにストレッチフィルム202で巻かれている。
これらの横方向積載のパレット梱包形態100及び縦方向積載のパレット梱包形態200は、図19に示すように、コンテナ300内に2段積みされ、左右方向を固定するために合板からなる横板301でパレット101、201の桁を釘止めしている。同様に、図20に示すように、コンテナ300内のパレット梱包形態の最後部の積み込み状態では、横板303で左右方向を固定している。
このように、輸送時、海外向けコンテナを使用しての出荷においては、積載効率の面から、パレットに縦方向積載、及び横方向積載のパレット梱包形態を作り上げ、コンテナ内に積み込む。この際、積み込まれた貨物が輸送中に移動、荷崩れを発生しないように固定部材である横板303(木材、クッション材等)を使用して固定する。
本パレット梱包形態出荷の場合、パレット梱包作業の発生、出荷先における開梱作業の発生等があり、また、パレット部材等の梱包材料が廃棄物となり廃棄物の削減が望まれている。
特開2003−545508公報
しかしながら、最近では、パレット梱包を行わず、直接ロール状積載物を、コンテナ内に積み込み出荷する技術が望まれている。その際、クランプリフト装置を備えたフォークリフトを使用して積み込まれたロール状積載物の固定は、コンテナ内への置き動作におけるクランプリフトのクランプ爪の開放時、積み込まれた他のロール状積載物へのぶつかり、これによる破損の発生を回避するように求められている。
この要望により、パレット梱包を行わず、直接ロール状積載物を、コンテナ内に積み込み出荷する。このため、コンテナ内への積み込み作業には、クランプ装置を備えたフォークリフトを使用し、積み込まれたロール貨物の固定の際は、コンテナ内への置き動作におけるクランプリフトのクランプ爪の開放時の他のロール貨物へのぶつかり、これによる破損発生を回避するために、決められた規則にてコンテナ内に配置積載しなければならない。
また、コンテナ壁とロール状積載物との隙間発生個所、最後部のずれ防止策の最小限の固定部材を使用し、止めることにより輸送中のコンテナ内の積載物の破損を防止しなければならない。
そこで、本発明の目的は、上述した実情を考慮して、軽く取り扱いが容易な上、強度的にも充分な荷崩れ防止確保する強度を有し、コンテナ積み込み作業を遂行しながらその都度対応できる形状部材を備える、輸出梱包を行わずにロール状積載物をコンテナ内に固定するロール状積載物のコンテナ内固定方法及びこの固定方法に使用するコンテナを提供することにある。
上記の課題を解決するために、請求項1に記載の発明は、ロール状積載物をコンテナ内に固定するロール状積載物のコンテナ内積載固定方法において、前記ロール状積載物の外周面を挟み込む挟み込み機能部を有するクランプリフトを用いて、前記ロール状積載物を前記コンテナ内に積み込む作業で、前記ロール状積載物の円形端面を前記コンテナの床面に接触させる工程と、積み込まれたロール状積載物同士が外周面で接するように積み込む工程と、既に積み込まれたロール状積載物と前記コンテナの側壁との間に、前記クランプリフトの前記挟み込み機能部の動きを阻害しないための隙間を必要に応じて確保する工程と、を含み、前記コンテナの前記側壁との前記隙間の確保においては、専用固定部材を配置するロール状積載物のコンテナ内積載固定方法を特徴とする。
また、請求項2に記載の発明は、前記コンテナの長手方向奥側から、前記ロール状積載物のうちの2本を前記コンテナの左右壁側に配置し、3本目のロール状積載物を、既に積載された左右のロール状積載物間にできた、中央凹み部に接するように詰めて積載し、次に中央に積み込まれた前記3本目のロール状積載物の左右に次のロール状積載物を配置する積載を前記コンテナの長手方向後部まで繰り返しを行う請求項1記載のロール状積載物のコンテナ内積載固定方法を特徴とする。
また、請求項3に記載の発明は、前記積載されたロール状積載物の上部と前記コンテナの天井までの間に、直径が同じロール状積載物を2段積に積載した請求項2記載のロール状積載物のコンテナ内積載固定方法を特徴とする。
また、請求項4に記載の発明は、前記コンテナの前記奥側から1本のロール状積載物を、前記コンテナの前記奥壁及び前記側壁の一方に接するように配置し、2本目ロール状積載物を前記1本目のロール状積載物に接するように、なおかつ該1本目のロール状積載物とは逆の前記コンテナの側壁に接するように、繰り返し積載を行う請求項1記載のロール状積載物のコンテナ内積載固定方法を特徴とする。
また、請求項5に記載の発明は、積載されたロール状積載物の上部と前記コンテナの前記天井までの間に、直径が同じロール状積載物を2段積に積載した請求項4記載のロール状積載物のコンテナ内積載固定方法を特徴とする。
また、請求項6に記載の発明は、前記コンテナの前記側壁との隙間を確保するための専用固定部材は、積み込まれたロール状積載物と接するように、前記コンテナの前記側壁の凹部位置にセットする請求項1記載のロール状積載物のコンテナ内積載固定方法を特徴とする。
また、請求項7に記載の発明は、前記専用固定部材は、前記ロール状積載物と接する面が作業時の強い圧力を受けた際には、曲がる可撓性を有する部材である請求項6記載のロール状積載物のコンテナ内積載固定方法を特徴とする。
また、請求項8に記載の発明は、前記専用固定部材のセット形態として、上部のロール状積載物に対して下部にセットされた専用固定部材を支柱により連結した請求項3乃至6のいずれか1項記載のロール状積載物のコンテナ内積載固定方法を特徴とする。
また、請求項9に記載の発明は、全てのロール状積載物が2段積みとならない場合、1段積載と2段積載との個所における上段のロール状積載物の固定を、2面の壁構造を形成する専用固定部材によって、中央部が必要に応じた角度を形成した専用固定部材をセットする請求項3記載のロール状積載物のコンテナ内積載固定方法を特徴とする。
また、請求項10に記載の発明は、ロール状積載物を内部に積載し固定するコンテナにおいて、前記ロール状積載物は、最初に側壁に対してパレットの使用なしで積み込まれ、該積み込みが前記積み込まれたロール状積載物同士が外周面で接するように行われ、前記側壁と前記ロール状積載物の外周面との間には積み込み用作業機械の動きを阻害しないための隙間を確保する専用固定部材を配置するコンテナを特徴とする。
本発明によれば、ロール状積載物はコンテナ壁の凹部分にセットされて前後への移動防止を確保し、左右への移動は他のロール状積載物との接触によりセット位置を移動することなく積載された貨物を損傷することは殆どない。
また、ロール状積載物の貨物がずれようとする外圧発生時には壁際に配置した固定部材の側面が圧力を和らげる効果を持ち、ロール状積載物への部分的な圧迫を回避する。
さらに、専用の固定材を必要な個所に配置するだけのため、コンテナ積み込み作業性の向上、また、出荷先における荷降ろし時の開梱作業性向上、開梱後の部材類の削減効果を発生することが可能になる。
以下では、ロール状積載物である感熱紙のロール原反品における、荷役用のパレット材料を使用して輸出梱包を行わず、直接出荷用のコンテナに積載し、輸送途中の振動、コンテナ船への積み込み等で発生する衝撃からロール状積載物の品質を守り、荷崩れを防止する積載固定方法を説明する。また、補助的にあてがう専用固定部材の使用を説明する。
以下、図面を参照して、本発明の実施の形態を詳細に説明する。図1は本発明によるロール状積載物のコンテナ内への積載及び固定の第1の実施の形態を示す平面図である。図2は図1のコンテナの外壁を除去して示す側面図である。
図1及び図2において、横方向に長い矩形のコンテナ1内には、円形で示す、例えば、感熱紙のロール原反品からなるロール状貨物であるロール状積載物2がコンテナ1の奥側(図1では左側)から順次21個(円形内の番号)積載された形で示されている。これらのロール状積載物2のうち、コンテナ1の最奥側(図1では左側)の2つはこのコンテナ1の側壁(図1では上下壁)1a、1bに接するように中央を空けて積載されている。
この場合に、ロール状積載物2と接するコンテナ1の内壁にはダンボール板3が貼り付けてあり、ロール状積載物2はコンテナ1内でこのダンボール板3と接触している。ここでは、コンテナ1及びロール状積載物2の寸法、重量等はとくに必要ないので説明しない。
3つ目のロール状積載物2は側壁1a、1b側に配置した最初の2つのロール状積載物2間の空間に入り込んで図示のごとく接触する。この3つ目のロール状積載物2の手前側(図1の右側)にはこれに接して次の2つのロール状積載物2が専用固定部材4を介して側壁側に配置される。
同様な積載を繰り返し、21個目のロール状積載物2がコンテナ1の右側端部に配置される。21個目のロール状積載物2は上部に合板角材5を使用してこの合板角材5をコンテナ1の側壁に支柱6で留めている。合板角材5とロール状積載物2との間には必要に応じてダンボール板を詰める。
図3はコンテナの内面形状と専用固定部材を示す概略図である。図4はロール状積載物のコンテナへの積み込みに使用するクランプリフトの概略図である。図3には、図1に示したコンテナ1の側壁1a、1bのうちの下壁1bの内面形状を部分的に示しており、この内面形状は波形になっている。
図3には、また、積載物を固定する専用固定部材4を示している。この専用固定部材4はロール状積載物2の縦方向2箇所でコンテナ1の内壁に接触するようにコンテナ1の波形内面の谷部1cと同一寸法の幅を有する脚部4aとこの脚部4aに載せるベニヤ板からなる固定材本体4bとから構成されている。
コンテナ1内にロール状積載物2を積載し、荷崩れしないように固定するには、積載するロール状積載物2に合わせた種々の積載補助材を使用して、コンテナ1内にロール状積載物2を積載し、固定する。
積載補助材の1つとして、図1及び図2に関連して説明したように、コンテナ1内に積載されたロール状積載物2とコンテナ1の内面との接触面にダンボール板3が使用されている。かかるダンボール板は、この他にも、ロール状積載物2が置かれるコンテナ1の床面、2段積みの場合の下段のロール状積載物2上面等に使用される。
ロール状積載物2を構成するサーマル紙製品は、強い圧力、衝撃を受けると、受けた部分が発色してしまう性質があり、積載作業においては、コンテナ1の壁との接触、ロール状積載物2とロール状積載物2の接触、専用固定部材4との接触が発生する個所に、強い力が加わらないように、隙間がない状態に軽い接触で積載していく。このため、専用固定部材4の割れ又は破損は殆どなく、多少の圧力はその構造上の屈曲性質により吸収する。
図4に示すクランプリフト車両20は、操縦席を有する車両部21とロール状積載物2の外周面を挟み込むことが可能な構造を有する挟み込み機能部22とからなっている。この挟み込み機能部22は、詳述はしないが、クランプ23を上下左右に移動する構成を有している。
このように、ロール状積載物2をコンテナ1内に固定するために、ロール状積載物2を、パレットを使用しないで、コンテナ1内に積み込み、ロール状積載物2の外周面を挟み込むことが可能な構造機能を持ったリフト(クランプリフト)で、ロール状積載物2の円形端面をコンテナ1の床面に接触させる。
積み込まれたロール状積載物2同士が外周面で接するように積み込み、既に積み込まれたロール状積載物2とコンテナ1の側壁1a、1bとの間に、クランプリフトの挟み込み機能部の動きを阻害しないための隙間を必要に応じて確保する。
積み込まれたロール状積載物2とコンテナ1の側壁1a、1bとの隙間確保においては、多少の圧力を、構造上曲がって吸収する専用固定部材4を配置することによってクランプリフトの挟み込み機能部が動く隙間を確保してロール状積載物2をコンテナ1内に積載・固定する。
このように、専用固定部材4は積み込まれたロール状積載物2とコンテナ1の側壁1a、1bとの間にあってロール状積載物2の固定を行う役割を持つと同時に、ロール状積載物2のコンテナ1への積み込み時にクランプリフトの挟み込み機能部の動きを阻害しないための隙間を確保する役割を有している。
この場合、ロール積載物2とロール積載物2の隙間確保において、クランプリフトの挟み込み機構部22が、ロール積載物2から離れる際に必要な隙間も確保するために専用固定部材4はコンテナ1の側壁1a、1bとロール積載物2の間にセットし、専用固定部材4の可撓性を有する構造上の屈曲性質とともにその脚部4aの長さで調整する。
図5は本発明によるロール状積載物のコンテナ内への積載及び固定の第2の実施の形態を示す平面図である。図6は図5のコンテナの外壁を除去して示す側面図である。図7はL型固定部材を示す斜視図である。
この第2の実施の形態において、積載順序は第1の実施の形態と同じで、円形の最初の2つのロール状積載物2のコンテナ1の側壁に接触する部分にはダンボール板3が貼り付けられている(円形内に番号が2つ付されているのはロール状積載物2が2段積みされていることを示す)。固定部材8は2段積みのロール状積載物2の両方に接触するように2つの固定部材8をベニヤ板9で繋いでいる。
2段積みのロール状積載物2の最後の列はその後の1段積みのロール状積載物2との接触部分にベニヤ板10を配置してダンボール板(図示せず)を用いてテープ止めする。最後列の1段積みのロール状積載物2はL型固定部材11をダンボール板3と直径的に対向する位置に配置する。下段のロール状積載物2の上面にはダンボール板3が配置される。
このL型固定部材11は、図7に示すように、床材11aとこの床材11aから垂直に延びる合板板、例えば、ベニヤ板11bとから構成される(図7(a))。L型固定部材11はロール状積載物2に接触させた後にコンテナ1の床面に釘で止められる。この場合に、ベニヤ板11bのロール状積載物2との接触面にはダンボール板3が貼り付けられる(図7(b))。
図8は本発明によるロール状積載物のコンテナ内への積載及び固定の第3の実施の形態を示す平面図である。図9は図8のコンテナの外壁を除去して示す側面図である。
この第3の実施の形態においては、横方向に長い矩形のコンテナ1内には、円形で示す、例えば、感熱紙のロール原反品であるロール状積載物2がコンテナ1の奥側(図1では左側)から順次14個積載された形で示されている。これらのロール状積載物2のコンテナ1の最奥側(図8では左側)の1つはこのコンテナ1の図では上壁1aに接するように積載されている。
この場合に、ロール状積載物2と接するコンテナ1の内壁にはダンボール板3が貼り付けてあり、ロール状積載物2はコンテナ1内でこのダンボール板3と接触している。ここでは、コンテナ1及びロール状積載物2の寸法、重量等はとくに必要ないので説明しない。
2つ目のロール状積載物2は図では下壁1b側に最初の1つのロール状積載物2と図示のごとく接触し、この2つ目のロール状積載物2はその手前側(図8の下側)で専用固定部材4を介して下壁1b側に接触して配置される。全体としてこの積載は千鳥配置の形態である。専用固定部材4はロール状積載物2の上下2箇所に配置され、ベニヤ板7で繋がれている。
同様な積載を繰り返し、14個目のロール状積載物2がコンテナ1の右側端部に配置される。14個目のロール状積載物2は上部に合板角材5を使用してこの合板角材5をコンテナ1の側壁に支柱6で留めている。
14個のロール状積載物2のコンテナ1の床面との接触位置にはダンボール板3(ここでは円形のダンボール板)が敷かれている。合板角材5とロール状積載物2との間には必要に応じてダンボール板を詰める。
図10は本発明によるロール状積載物のコンテナ内への積載及び固定の第4の実施の形態を示す平面図である。図11は図10のコンテナの外壁を除去して示す側面図である。図12は2面を有する第1固定部材を示す概略斜視図である。図13は2面を有する第2固定部材を示す概略斜視図である。
この第4の実施の形態において、ロール状積載物2のコンテナ1への積載順序は8つ目までは第1の実施の形態と同様に1段積みで、最初の2つのロール状積載物2のコンテナ1の内壁に接触する部分にはダンボール板3が貼り付けられている。続いてコンテナ1の内壁と接触して積載されるロール状積載物2との間には固定部材6が配置されている。
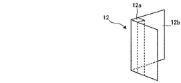
コンテナ1内に積載されるロール状積載物2の9個目から28個目までは2段積みになっている。7個目と8個目との間の中央空間部に2段積みで積載された9個目及び10個目のロール状積載物2、及び同様に23個目と25個目との間の中央空間部に2段積みで積載された27個目及び28個目のロール状積載物2は、図12及び13に示すように、これらを2面で囲むように角材12aに釘止めされたベニヤ板12bから構成される固定部材12、13で支持されている。
これらの固定部材12、13は7個目と8個目のロール状積載物2側と27個目及び28個目のロール状積載物2側で鏡面対称の形状になっている。2段積みで積載されたロール状積載物2に使用する固定部材6は2段積みのロール状積載物2の両方に接触するように2つの固定部材6をベニヤ板7で繋いでいる。
29個目及び30個目のロール状積載物2は左側の最初の積載形態に戻って積載されるが、最後列、図右側の2つロール状積載物状2はコンテナ1の内壁との接触部分にダンボール板3を配置している。最後列の1段積みのロール状積載物2はL型固定部材11をダンボール板3と直径的に対向する位置及びロール状積載物2の後端に配置する。上述した2段積み部分の下段のロール状積載物2の上面にはダンボール板(図示せず)が配置される。
このL型固定部材11は、図7に関連して上述したように、床材11aとこの床材11aから垂直に延びる合板板、例えば、ベニヤ板11bとから構成される。L型固定部材11はロール状積載物2に接触させた後にコンテナ1の床に釘で止められる。この場合に、ベニヤ板11bのロール状積載物2との接触面にはダンボール板が貼り付けられる。
図14は本発明によるロール状積載物のコンテナ内への積載及び固定の第5の実施の形態を示す平面図である。図15は図14のコンテナの外壁を除去して示す側面図である。
この第5の実施の形態において、コンテナ1へのロール状積載物2の積載は第2の実施の形態におけると同様であるので、同一部分には同一符号を付してここで必要以外の説明は省略する。
2段積みのロール状積載物2は最後の1つだけが1段積みでコンテナ1内に積載されており、このロール状積載物2(図中右端の23個目のロール状積載物2)は第1固定部材12で支持され、ロール状積載物2のコンテナ1の床に近い部分がL型材11で固定され、さらに、上部は合板角材5を使用して支柱6で止めている。
図16はコンテナ内最後部のロール状積載物の固定の一例を説明する概略図である。さらに、コンテナ1内最後部のロール状積載物2の固定について一例を説明する。コンテナ1内の最後部のロール状積載物2は上部で合板角材5を使用して支柱6で止めている。また、L型材11をロール状積載物2の最後部と両側に用いて固定している。
この合板角材5は、ロール状積載物2の後方への倒れ防止固定のため、ロール状積載物2の上端面よりコンテナ1の床に、支柱6で釘止めしている。また、床部にはL型固定材11を3個所にて使用しロール状積載物2を固定している。
本発明において、種々のダンボール板3の役目は、輸送中にコンテナ1の壁が熱くなってしまい、サーマル紙に直接熱があたらないように防止するため使用している。接触個所はロール状積載物2の外接円の一線上のみであり、この部分が破損してなければ、機能は確保されることとなる。
クランプリフトの作業においては、コンテナ1の側壁とロール状積載物2の接触点の手前側で挟み込みの位置となるので、ダンボール板3の破損発生は殆どない。ダンボール板3として円形形状のダンボール板を使用することが記載されているが、その理由は購入原紙の梱包に使用されている材料を、リサイクル使用しているからである。
本発明によるロール状積載物のコンテナ内への積載及び固定の第1の実施の形態を示す平面図である。 図1のコンテナの外壁を除去して示す側面図である。 コンテナの内面形状と専用固定部材を示す概略図である。 ロール状積載物のコンテナへの積み込みに使用するクランプリフトの概略図である。 本発明によるロール状積載物のコンテナ内への積載及び固定の第2の実施の形態を示す平面図である。 図5のコンテナの外壁を除去して示す側面図である。 L型固定部材を示す斜視図である。 本発明によるロール状積載物のコンテナ内への積載及び固定の第3の実施の形態を示す平面図である。 図8のコンテナの外壁を除去して示す側面図である。 本発明によるロール状積載物のコンテナ内への積載及び固定の第4の実施の形態を示す平面図である。 図10のコンテナの外壁を除去して示す側面図である。 2面を有する第1固定部材を示す概略斜視図である。 2面を有する第2固定部材を示す概略斜視図である。 本発明によるロール状積載物のコンテナ内への積載及び固定の第5の実施の形態を示す平面図である。 図13のコンテナの外壁を除去して示す側面図である。 コンテナ内最後部のロール状積載物の固定の1例を説明する概略図である。 従来使用されている横方向積載のパレット梱包形態を示す概略図である。 従来使用されている縦方向積載のパレット梱包形態を示す概略図である。 コンテナ内のパレット梱包形態の積載方法を示す概略図である。 コンテナ内のパレット梱包形態の最後部の積み込み状態を示す概略図である。
符号の説明
1 コンテナ、1a コンテナ内壁(上壁)、1b コンテナ内壁(下壁)、2 ロール状積載物、3 ダンボール板、4 専用固定部材、4a 専用固定部材の脚部、6 固定部材、7 ベニヤ板、11 L型材(L型固定部材)、11a 床材、11b ベニヤ板、12 2面付き第1固定部材、12a 角材、12b ベニヤ板、13 2面付き第2固定部材、13a 角材、13b ベニヤ板

Claims (10)

  1. ロール状積載物をコンテナ内に固定するロール状積載物のコンテナ内積載固定方法において、前記ロール状積載物の外周面を挟み込む挟み込み機能部を有するクランプリフトを用いて、前記ロール状積載物を前記コンテナ内に積み込む作業で、前記ロール状積載物の円形端面を前記コンテナの床面に接触させる工程と、積み込まれたロール状積載物同士が外周面で接するように積み込む工程と、既に積み込まれたロール状積載物と前記コンテナの側壁との間に、前記クランプリフトの前記挟み込み機能部の動きを阻害しないための隙間を必要に応じて確保する工程と、を含み、前記コンテナの前記側壁との前記隙間の確保においては、専用固定部材を配置することを特徴とするロール状積載物のコンテナ内積載固定方法。
  2. 前記コンテナの長手方向奥側から、前記ロール状積載物のうちの2本を前記コンテナの左右壁側に配置し、3本目のロール状積載物を、既に積載された左右のロール状積載物間にできた、中央凹み部に接するように詰めて積載し、次に中央に積み込まれた前記3本目のロール状積載物の左右に次のロール状積載物を配置する積載を前記コンテナの長手方向後部まで繰り返しを行うことを特徴とする請求項1記載のロール状積載物のコンテナ内積載固定方法。
  3. 前記積載されたロール状積載物の上部と前記コンテナの天井までの間に、直径が同じロール状積載物を2段積に積載したことを特徴とする請求項2記載のロール状積載物のコンテナ内積載固定方法。
  4. 前記コンテナの前記奥側から1本のロール状積載物を、前記コンテナの前記奥壁及び前記側壁の一方に接するように配置し、2本目ロール状積載物を前記1本目のロール状積載物に接するように、なおかつ該1本目のロール状積載物とは逆の前記コンテナの側壁に接するように、繰り返し積載を行うことを特徴とする請求項1記載のロール状積載物のコンテナ内積載固定方法。
  5. 積載されたロール状積載物の上部と前記コンテナの前記天井までの間に、直径が同じロール状積載物を2段積に積載したことを特徴とする請求項4記載のロール状積載物のコンテナ内積載固定方法。
  6. 前記コンテナの前記側壁との隙間を確保するための専用固定部材は、積み込まれたロール状積載物と接するように、前記コンテナの前記側壁の凹部位置にセットすることを特徴する請求項1記載のロール状積載物のコンテナ内積載固定方法。
  7. 前記専用固定部材は、前記ロール状積載物と接する面が作業時の強い圧力を受けた際には、曲がる可撓性を有する部材であることを特徴する請求項6記載のロール状積載物のコンテナ内積載固定方法。
  8. 前記専用固定部材のセット形態として、上部のロール状積載物に対して下部にセットされた専用固定部材を支柱により連結したことを特徴する請求項3乃至6のいずれか1項記載のロール状積載物のコンテナ内積載固定方法。
  9. 全てのロール状積載物が2段積みとならない場合、1段積載と2段積載との個所における上段のロール状積載物の固定を、2面の壁構造を形成する専用固定部材によって、中央部が必要に応じた角度を形成した専用固定部材をセットすることを特徴する請求項3記載のロール状積載物のコンテナ内積載固定方法。
  10. ロール状積載物を内部に積載し固定するコンテナにおいて、前記ロール状積載物は、最初に側壁に対してパレットの使用なしで積み込まれ、該積み込みが前記積み込まれたロール状積載物同士が外周面で接するように行われ、前記側壁と前記ロール状積載物の外周面との間には積み込み用作業機械の動きを阻害しないための隙間を確保する専用固定部材を配置することを特徴とするコンテナ。
JP2008231372A 2008-09-09 2008-09-09 ロール状積載物のコンテナ内積載固定方法及びコンテナ Active JP5326448B2 (ja)

Priority Applications (1)

Application Number Priority Date Filing Date Title
JP2008231372A JP5326448B2 (ja) 2008-09-09 2008-09-09 ロール状積載物のコンテナ内積載固定方法及びコンテナ

Applications Claiming Priority (1)

Application Number Priority Date Filing Date Title
JP2008231372A JP5326448B2 (ja) 2008-09-09 2008-09-09 ロール状積載物のコンテナ内積載固定方法及びコンテナ

Publications (2)

Publication Number Publication Date
JP2010064827A true JP2010064827A (ja) 2010-03-25
JP5326448B2 JP5326448B2 (ja) 2013-10-30

Family

ID=42190752

Family Applications (1)

Application Number Title Priority Date Filing Date
JP2008231372A Active JP5326448B2 (ja) 2008-09-09 2008-09-09 ロール状積載物のコンテナ内積載固定方法及びコンテナ

Country Status (1)

Country Link
JP (1) JP5326448B2 (ja)

Cited By (1)

* Cited by examiner, † Cited by third party
Publication number Priority date Publication date Assignee Title
JP2019189261A (ja) * 2018-04-23 2019-10-31 郵船ロジスティクス株式会社 積荷の固定装置および固定方法

Citations (7)

* Cited by examiner, † Cited by third party
Publication number Priority date Publication date Assignee Title
JPH05319477A (ja) * 1992-05-18 1993-12-03 Mitsubishi Electric Corp 輸送装置
JPH06135564A (ja) * 1992-10-23 1994-05-17 Ishikawajima Harima Heavy Ind Co Ltd コンテナの荷積装置
JPH07101554A (ja) * 1993-10-08 1995-04-18 Murata Mach Ltd トラックの荷積降システム
JPH0840567A (ja) * 1994-07-30 1996-02-13 Nippon Cement Co Ltd 車輛への荷物の自動積込み装置
JP3057928U (ja) * 1998-09-22 1999-06-08 株式会社ユアサロジテック タイヤ輸送台および輸送システム
JP2003312774A (ja) * 2002-04-26 2003-11-06 Nippon Sharyo Seizo Kaisha Ltd 廃棄物用コンテナ
JP2004262517A (ja) * 2003-03-03 2004-09-24 Dainippon Shigyo Co Ltd 積載貨物の移動防止具,この移動防止具を有するコンテナおよびコンテナ積載貨物の移動防止方法

Patent Citations (7)

* Cited by examiner, † Cited by third party
Publication number Priority date Publication date Assignee Title
JPH05319477A (ja) * 1992-05-18 1993-12-03 Mitsubishi Electric Corp 輸送装置
JPH06135564A (ja) * 1992-10-23 1994-05-17 Ishikawajima Harima Heavy Ind Co Ltd コンテナの荷積装置
JPH07101554A (ja) * 1993-10-08 1995-04-18 Murata Mach Ltd トラックの荷積降システム
JPH0840567A (ja) * 1994-07-30 1996-02-13 Nippon Cement Co Ltd 車輛への荷物の自動積込み装置
JP3057928U (ja) * 1998-09-22 1999-06-08 株式会社ユアサロジテック タイヤ輸送台および輸送システム
JP2003312774A (ja) * 2002-04-26 2003-11-06 Nippon Sharyo Seizo Kaisha Ltd 廃棄物用コンテナ
JP2004262517A (ja) * 2003-03-03 2004-09-24 Dainippon Shigyo Co Ltd 積載貨物の移動防止具,この移動防止具を有するコンテナおよびコンテナ積載貨物の移動防止方法

Cited By (1)

* Cited by examiner, † Cited by third party
Publication number Priority date Publication date Assignee Title
JP2019189261A (ja) * 2018-04-23 2019-10-31 郵船ロジスティクス株式会社 積荷の固定装置および固定方法

Also Published As

Publication number Publication date
JP5326448B2 (ja) 2013-10-30

Similar Documents

Publication Publication Date Title
TW201242857A (en) Packaging container of roll-shaped article
JP5492014B2 (ja) 搬送用パレットおよびその集合体
CN110902087A (zh) 一种在瓦楞纸板上使用纸作为加固筋的包装箱
JP5326448B2 (ja) ロール状積載物のコンテナ内積載固定方法及びコンテナ
JP6772929B2 (ja) 梱包材
JP2022018234A (ja) ダンボール搬送箱及びその組立方法
JP6252552B2 (ja) 紙製パレット、及び紙製パレットを備える包装ケース
JP2014184980A (ja) パレット、梱包ユニット
EP3590867B1 (en) Method for packing a pre-assembled product for use at a roof and packaging unit for such a product comprising a first and second packing
WO2018123218A1 (ja) 収納棚構造
KR102743301B1 (ko) 포장 용기, 포장 방법 및 금속박의 수송 방법
JP2010208672A (ja) ダンボール梱包箱
JP2009249003A (ja) 大型重量物の梱包装置
JP6842349B2 (ja) 載置パレット
JP2004115081A (ja) 重量物梱包ケース
JP2009040436A (ja) パレット
JP2004051153A (ja) 包装部材
JP3203329U (ja) 梱包材及びその組合せ
JP2008222284A (ja) 平版印刷版の搬送構造体
CN219097294U (zh) 托盘组件
JP2011084314A (ja) 木製パレット
JP3233887U (ja) 梱包体
JP7521913B2 (ja) 梱包体及び梱包方法
JP3249880B2 (ja) 積み荷の積載補助装置
TW202136143A (zh) 包裝容器、包裝方法及金屬箔之運送方法

Legal Events

Date Code Title Description
A621 Written request for application examination

Free format text: JAPANESE INTERMEDIATE CODE: A621

Effective date: 20110701

RD02 Notification of acceptance of power of attorney

Free format text: JAPANESE INTERMEDIATE CODE: A7422

Effective date: 20110712

A977 Report on retrieval

Free format text: JAPANESE INTERMEDIATE CODE: A971007

Effective date: 20130108

A131 Notification of reasons for refusal

Free format text: JAPANESE INTERMEDIATE CODE: A131

Effective date: 20130115

A521 Written amendment

Free format text: JAPANESE INTERMEDIATE CODE: A523

Effective date: 20130314

TRDD Decision of grant or rejection written
A01 Written decision to grant a patent or to grant a registration (utility model)

Free format text: JAPANESE INTERMEDIATE CODE: A01

Effective date: 20130625

A61 First payment of annual fees (during grant procedure)

Free format text: JAPANESE INTERMEDIATE CODE: A61

Effective date: 20130708

R151 Written notification of patent or utility model registration

Ref document number: 5326448

Country of ref document: JP

Free format text: JAPANESE INTERMEDIATE CODE: R151