JP2010064296A - 遮熱シート - Google Patents
遮熱シート Download PDFInfo
- Publication number
- JP2010064296A JP2010064296A JP2008230727A JP2008230727A JP2010064296A JP 2010064296 A JP2010064296 A JP 2010064296A JP 2008230727 A JP2008230727 A JP 2008230727A JP 2008230727 A JP2008230727 A JP 2008230727A JP 2010064296 A JP2010064296 A JP 2010064296A
- Authority
- JP
- Japan
- Prior art keywords
- film
- thickness
- less
- oxide film
- aluminum
- Prior art date
- Legal status (The legal status is an assumption and is not a legal conclusion. Google has not performed a legal analysis and makes no representation as to the accuracy of the status listed.)
- Granted
Links
- 230000004888 barrier function Effects 0.000 title abstract 4
- XAGFODPZIPBFFR-UHFFFAOYSA-N aluminium Chemical compound [Al] XAGFODPZIPBFFR-UHFFFAOYSA-N 0.000 claims abstract description 43
- 229910052782 aluminium Inorganic materials 0.000 claims abstract description 43
- 230000003746 surface roughness Effects 0.000 claims abstract description 13
- 239000004925 Acrylic resin Substances 0.000 claims abstract description 5
- 229920000178 Acrylic resin Polymers 0.000 claims abstract description 5
- 239000000758 substrate Substances 0.000 claims description 24
- 239000010407 anodic oxide Substances 0.000 claims description 21
- 230000001681 protective effect Effects 0.000 claims description 21
- 239000000463 material Substances 0.000 abstract description 8
- 230000003647 oxidation Effects 0.000 abstract 2
- 238000007254 oxidation reaction Methods 0.000 abstract 2
- 238000005868 electrolysis reaction Methods 0.000 description 12
- 229910045601 alloy Inorganic materials 0.000 description 11
- 239000000956 alloy Substances 0.000 description 11
- 239000002585 base Substances 0.000 description 9
- 238000009413 insulation Methods 0.000 description 7
- 230000005855 radiation Effects 0.000 description 7
- 230000000694 effects Effects 0.000 description 6
- 229920001296 polysiloxane Polymers 0.000 description 6
- 230000007423 decrease Effects 0.000 description 5
- 239000003792 electrolyte Substances 0.000 description 5
- 239000007864 aqueous solution Substances 0.000 description 4
- 239000011248 coating agent Substances 0.000 description 4
- 238000000576 coating method Methods 0.000 description 4
- 238000005238 degreasing Methods 0.000 description 4
- 238000000034 method Methods 0.000 description 4
- BPQQTUXANYXVAA-UHFFFAOYSA-N Orthosilicate Chemical compound [O-][Si]([O-])([O-])[O-] BPQQTUXANYXVAA-UHFFFAOYSA-N 0.000 description 3
- HEMHJVSKTPXQMS-UHFFFAOYSA-M Sodium hydroxide Chemical compound [OH-].[Na+] HEMHJVSKTPXQMS-UHFFFAOYSA-M 0.000 description 3
- 238000010521 absorption reaction Methods 0.000 description 3
- KGBXLFKZBHKPEV-UHFFFAOYSA-N boric acid Chemical compound OB(O)O KGBXLFKZBHKPEV-UHFFFAOYSA-N 0.000 description 3
- 239000004327 boric acid Substances 0.000 description 3
- 230000007797 corrosion Effects 0.000 description 3
- 238000005260 corrosion Methods 0.000 description 3
- 239000011253 protective coating Substances 0.000 description 3
- XLYOFNOQVPJJNP-UHFFFAOYSA-N water Substances O XLYOFNOQVPJJNP-UHFFFAOYSA-N 0.000 description 3
- 241001163841 Albugo ipomoeae-panduratae Species 0.000 description 2
- XEEYBQQBJWHFJM-UHFFFAOYSA-N Iron Chemical compound [Fe] XEEYBQQBJWHFJM-UHFFFAOYSA-N 0.000 description 2
- GRYLNZFGIOXLOG-UHFFFAOYSA-N Nitric acid Chemical compound O[N+]([O-])=O GRYLNZFGIOXLOG-UHFFFAOYSA-N 0.000 description 2
- 230000005856 abnormality Effects 0.000 description 2
- WNLRTRBMVRJNCN-UHFFFAOYSA-L adipate(2-) Chemical compound [O-]C(=O)CCCCC([O-])=O WNLRTRBMVRJNCN-UHFFFAOYSA-L 0.000 description 2
- 238000004140 cleaning Methods 0.000 description 2
- 238000002845 discoloration Methods 0.000 description 2
- 239000000428 dust Substances 0.000 description 2
- 238000011156 evaluation Methods 0.000 description 2
- 239000006260 foam Substances 0.000 description 2
- 230000001788 irregular Effects 0.000 description 2
- 229910017604 nitric acid Inorganic materials 0.000 description 2
- 239000003973 paint Substances 0.000 description 2
- XNGIFLGASWRNHJ-UHFFFAOYSA-L phthalate(2-) Chemical compound [O-]C(=O)C1=CC=CC=C1C([O-])=O XNGIFLGASWRNHJ-UHFFFAOYSA-L 0.000 description 2
- 239000000049 pigment Substances 0.000 description 2
- 239000011148 porous material Substances 0.000 description 2
- 239000000243 solution Substances 0.000 description 2
- 239000000126 substance Substances 0.000 description 2
- 229910000838 Al alloy Inorganic materials 0.000 description 1
- 229910018134 Al-Mg Inorganic materials 0.000 description 1
- 229910018131 Al-Mn Inorganic materials 0.000 description 1
- 229910018125 Al-Si Inorganic materials 0.000 description 1
- 229910018182 Al—Cu Inorganic materials 0.000 description 1
- 229910018467 Al—Mg Inorganic materials 0.000 description 1
- 229910018464 Al—Mg—Si Inorganic materials 0.000 description 1
- 229910018461 Al—Mn Inorganic materials 0.000 description 1
- 229910018520 Al—Si Inorganic materials 0.000 description 1
- 229910018571 Al—Zn—Mg Inorganic materials 0.000 description 1
- 229910018569 Al—Zn—Mg—Cu Inorganic materials 0.000 description 1
- BTBUEUYNUDRHOZ-UHFFFAOYSA-N Borate Chemical compound [O-]B([O-])[O-] BTBUEUYNUDRHOZ-UHFFFAOYSA-N 0.000 description 1
- KRKNYBCHXYNGOX-UHFFFAOYSA-K Citrate Chemical compound [O-]C(=O)CC(O)(CC([O-])=O)C([O-])=O KRKNYBCHXYNGOX-UHFFFAOYSA-K 0.000 description 1
- 229910017818 Cu—Mg Inorganic materials 0.000 description 1
- FEWJPZIEWOKRBE-JCYAYHJZSA-N Dextrotartaric acid Chemical compound OC(=O)[C@H](O)[C@@H](O)C(O)=O FEWJPZIEWOKRBE-JCYAYHJZSA-N 0.000 description 1
- 229910002551 Fe-Mn Inorganic materials 0.000 description 1
- 229910019142 PO4 Inorganic materials 0.000 description 1
- 239000004698 Polyethylene Substances 0.000 description 1
- 239000006087 Silane Coupling Agent Substances 0.000 description 1
- 229910000831 Steel Inorganic materials 0.000 description 1
- 239000002253 acid Substances 0.000 description 1
- 239000000853 adhesive Substances 0.000 description 1
- 230000001070 adhesive effect Effects 0.000 description 1
- 239000003513 alkali Substances 0.000 description 1
- 150000001450 anions Chemical class 0.000 description 1
- WPYMKLBDIGXBTP-UHFFFAOYSA-N benzoic acid Chemical compound OC(=O)C1=CC=CC=C1 WPYMKLBDIGXBTP-UHFFFAOYSA-N 0.000 description 1
- 235000013869 carnauba wax Nutrition 0.000 description 1
- 239000004203 carnauba wax Substances 0.000 description 1
- 238000006243 chemical reaction Methods 0.000 description 1
- 239000004020 conductor Substances 0.000 description 1
- 238000010276 construction Methods 0.000 description 1
- 239000003599 detergent Substances 0.000 description 1
- 238000010586 diagram Methods 0.000 description 1
- 238000005530 etching Methods 0.000 description 1
- 230000002349 favourable effect Effects 0.000 description 1
- 239000011810 insulating material Substances 0.000 description 1
- 229910052742 iron Inorganic materials 0.000 description 1
- 230000001678 irradiating effect Effects 0.000 description 1
- 239000000314 lubricant Substances 0.000 description 1
- 230000001050 lubricating effect Effects 0.000 description 1
- 238000004519 manufacturing process Methods 0.000 description 1
- 239000012528 membrane Substances 0.000 description 1
- NBIIXXVUZAFLBC-UHFFFAOYSA-K phosphate Chemical compound [O-]P([O-])([O-])=O NBIIXXVUZAFLBC-UHFFFAOYSA-K 0.000 description 1
- 239000010452 phosphate Substances 0.000 description 1
- -1 polyethylene Polymers 0.000 description 1
- 229920000573 polyethylene Polymers 0.000 description 1
- 238000005096 rolling process Methods 0.000 description 1
- 229920006395 saturated elastomer Polymers 0.000 description 1
- 239000010959 steel Substances 0.000 description 1
- 229940095064 tartrate Drugs 0.000 description 1
- 238000002834 transmittance Methods 0.000 description 1
- 238000007740 vapor deposition Methods 0.000 description 1
- 239000001993 wax Substances 0.000 description 1
- 239000002759 woven fabric Substances 0.000 description 1
Images
Landscapes
- Laminated Bodies (AREA)
Abstract
【解決手段】少なくとも一方の面の表面粗さがRaで0.2μm以下のアルミニウム基材1と、アルミニウム基材の表面粗さがRaで0.2μm以下の面上に形成され、厚さが50〜150nm、厚さのバラツキが±5nm以下である無孔質陽極酸化皮膜2と、無孔質陽極酸化皮膜2上に形成され、厚さが0.5〜3μm、動摩擦係数が0.15以下のアクリル樹脂からなる保護皮膜3と、を備えたことを特徴とする遮熱シート10。
【選択図】図1
Description
遮熱シートとしては、アルミの蒸着膜の表側をフィルムで補強し、裏側には織布や発泡シート等の断熱材を接着剤で貼り合せて積層させたものが提案されている(例えば、特許文献1、特許文献2)。
特許文献1、特許文献2に開示された遮熱シートでは、遮熱効果は高いものの表面のフィルムやアルミの蒸着膜の耐久性が十分とは言えず、トラック荷台などでは頻繁に洗車機ブラシによって洗浄されるとフィルムや蒸着膜が剥がれてしまう問題があった。また、コスト的に高価であった。
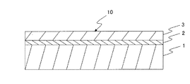
図1は、本実施の形態における遮熱シート10の断面構造を示す図である。図1に示すように、遮熱シート10は、アルミニウム基材1と、アルミニウム基材1の一方の面に形成された無孔質陽極酸化皮膜2と、陽極酸化皮膜2上に形成された保護皮膜3とから構成される。アルミニウム基材1は日射を反射する機能を有する遮熱シート10の基本的な構成部分である。無孔質陽極酸化皮膜2は、アルミニウム基材1に対する保護皮膜3の密着性を向上するために形成される。保護皮膜3は、アルミニウム基材1のみでは、白錆の発生、あるいは接触物によるキズなどによる反射率の低下を防止するために設けられる。以下、各要素について順に説明する。なお、図1は、アルミニウム基材1の一方の面に無孔質陽極酸化皮膜2、保護皮膜3を順次形成しているが、無孔質陽極酸化皮膜2、保護皮膜3をアルミニウム基材1の他方の面に順次形成してもよい。また、本発明における無孔質とは、酸化皮膜の断面を電子顕微鏡を用いて10万倍で観察した際に実質的に孔が観察されないことをいう。
アルミニウム基材1は、厚さが0.05mm〜0.3mmの薄板が好ましい。
アルミニウム基材1の厚さが0.05mm以上あれば遮熱シート10としての剛性を確保でき、施工時に遮熱シート10が破れることを防止できる。
一方、アルミニウム基材1の厚さが0.3mmを超えると重量が重くなり施工性が悪くなる。また、厚さが0.3mmを超えると剛性が強くなり、遮熱シート10を被着する面が平坦でない場合には、遮熱シート10を被着面の凹凸に沿わせて施工するのが難しくなる。また、使用されるアルミニウムの量が増えコスト高となる。アルミニウム基材1の好ましい厚さは0.06〜0.2mm、より好ましい厚さは0.08〜0.15mmである。
アルミニウム基材1の材質は問わず、純アルミ系の1000系合金、Al−Cu系、Al−Cu−Mg系の2000系合金、Al−Mn系の3000系合金、Al−Si系の4000系合金、Al−Mg系の5000系合金、Al−Mg−Si系の6000系合金、Al−Zn−Mg−Cu系、Al−Zn−Mg系の7000系合金、Al−Fe−Mn系の8000系合金のいずれを用いることができるが、耐食性の観点から1000系が好ましい。
アルミニウム基材1に対する保護皮膜3の密着力を高めるために下地処理が必要であり、本発明では、アルミニウム基材1の表面を電解処理することによって形成され、膜厚均一性の高い無孔質陽極酸化皮膜2を下地処理とする。そうすることにより、反射率の低下を抑えつつ、保護皮膜3との良好な密着性が得られる。
無孔質陽極酸化皮膜2の平均膜厚は50〜150nmとする。
平均膜厚が50nm未満では、保護皮膜3が薄すぎて局部的な水和酸化皮膜を形成してアルミニウム基材1の表面凹凸が大きくなり、日射の乱反射が生じて反射率が低下する。一方、平均膜厚が150nmを超えると、無孔質陽極酸化皮膜2自体による日射吸収が無視できないレベルとなり、反射率の低下に繋がる。無孔質陽極酸化皮膜2の好ましい平均膜厚は60〜130nm、より好ましい平均膜厚は70〜120nmである。
本発明は、無孔質陽極酸化皮膜2の平均膜厚を上記の範囲にしても、厚さのバラツキが大きいと反射率が低下する。そこで本発明では、無孔質陽極酸化皮膜2の平均膜厚に対するバラツキを±5nm以下にする。厚さのバラツキは、好ましくは、±4nm以下、より好ましくは±3nm以下である。なお、本発明において±5nm以下のバラツキとは、アルミニウム基材1の縦・横10cmの正方形の領域内で任意の20点の膜厚を測定し、測定された20点の膜厚が平均値の±5nm以内に全て含まれることをいう。
一般的に無孔質陽極酸化皮膜は定電圧電解によって得られ、理論上、1V=1.4nmの膜厚となる。上記の膜厚均一性に優れる無孔質陽極酸化皮膜2は、電解を3回以上に分け、初回電解時の電圧を膜厚から逆算される電圧の1/2以下、電流密度を1.5A/dm2以下として得ることが好ましい。
例えば、膜厚が140nm(=100V)の陽極酸化皮膜を得ようとする場合には、初回電解時の電圧を50Vとする。次いで、2回目の電解の電圧を75V、3回目の電解の電圧を100Vとして、3回の電解処理をすることにより、140nmの無孔質陽極酸化皮膜を得ることができる。
無孔質陽極酸化皮膜2は、保護皮膜3との密着性を更に高めるためにシランカップリング剤や下塗り等を施すこともできる。
保護皮膜3には樹脂自体の日射の透過率が高く耐候性にも優れるアクリル樹脂を用いる。また、砂埃やブラシ洗浄での傷つき防止のために、保護皮膜3を滑り易くする、つまり動摩擦係数を下げることが有効であり、潤滑物質として水に溶けにくいシリコーンやポリエチレンワックス、カルナバワックスなどを混ぜるとよい。その中でも水系洗剤で落ちにくいシリコーンを含有させるのが好ましい。潤滑物質を含有し、保護皮膜3の動摩擦係数を0.15以下にすると傷つき防止に優れた効果が得られる。
保護皮膜3の厚さが0.5μm未満であると十分な保護効果が得られず、3μmを超えると皮膜自体の日射吸収が大きくなり反射率の低下に繋がる。また、コスト的にも好ましくない。したがって、本発明の保護皮膜3の厚さを0.5〜3μmとする。保護皮膜3の好ましい厚さは0.7〜2.0μm、より好ましい厚さは0.8〜1.5μmである。
高い反射率を維持するために保護皮膜3はクリア皮膜が適当であるが、反射率を著しく低下させない範囲であれば顔料等を用いて保護皮膜3を着色することもできる。
まず、上記のアルミニウムまたはアルミニウム合金からなるアルミニウム基材1を用意する。
アルミニウム基材1は、予め前処理を施しておくことが望ましい。この前処理の手段は特に限定されず、要はアルミニウム基材1の表面に付着した油脂分を除去し、表面の不均質な酸化物皮膜が除去できるものであればよい。例えば、弱アルカリ性の脱脂液による脱脂処理を施したのち、水酸化ナトリウム水溶液でアルカリエッチングをしたのち、硝酸水溶液中でデスマット処理を行う方法や脱脂処理後に酸洗浄を行う方法などが適宜選択して用いられる。
次に、ケイ酸塩水溶液中で電解処理し、表2に示す無孔質陽極酸化皮膜を前記合金板の表裏両面に形成した。なお、実施例の電解処理の代表例を表1に示す。
(1)耐候性
大気暴露試験6ヶ月経過後の表面状態を目視により観察し、下記基準で評価した。なお、大気暴露試験前(初期状態)は、全ての試料の評価が○である。
○…異常なし
△…細かいキズや腐食・変色が若干見られる
×…キズや腐食・変色が激しい
(2)遮熱性
厚さ2mmの鉄板に、保護皮膜を形成した面を表側にして試料(遮熱シート)を貼り付け、200mm離れたところから100Wの白熱灯で30分間照らした後の鉄板の温度を測定し、試料(遮熱シート)を貼り付けない場合の温度との温度差を求めた。なお、初期状態の試料と大気暴露試験6ヶ月経過後の試料の2種類の試料で評価した。
○…10℃以上の差
△…5〜10℃未満の差
×…0〜5℃未満の差
(3)耐傷つき性
中性洗剤を付けた樹脂製ブラシで、試料の保護皮膜形成面を100回擦った後の表面状態を目視で観察し、下記基準で評価した。
○…異常なし
△…細かいキズが若干見られる
×…キズが激しい
Claims (1)
- 少なくとも一方の面の表面粗さがRaで0.2μm以下のアルミニウム基材と、
表面粗さがRaで0.2μm以下の前記アルミニウム基材の面上に形成され、厚さが50〜150nm、厚さのバラツキが±5nm以下である無孔質陽極酸化皮膜と、
前記無孔質陽極酸化皮膜上に形成され、厚さが0.5〜3μm、動摩擦係数が0.15以下のアクリル樹脂からなる保護皮膜と、
を備えたことを特徴とする遮熱シート。
Priority Applications (1)
| Application Number | Priority Date | Filing Date | Title |
|---|---|---|---|
| JP2008230727A JP5180748B2 (ja) | 2008-09-09 | 2008-09-09 | 遮熱シート |
Applications Claiming Priority (1)
| Application Number | Priority Date | Filing Date | Title |
|---|---|---|---|
| JP2008230727A JP5180748B2 (ja) | 2008-09-09 | 2008-09-09 | 遮熱シート |
Publications (2)
| Publication Number | Publication Date |
|---|---|
| JP2010064296A true JP2010064296A (ja) | 2010-03-25 |
| JP5180748B2 JP5180748B2 (ja) | 2013-04-10 |
Family
ID=42190315
Family Applications (1)
| Application Number | Title | Priority Date | Filing Date |
|---|---|---|---|
| JP2008230727A Expired - Fee Related JP5180748B2 (ja) | 2008-09-09 | 2008-09-09 | 遮熱シート |
Country Status (1)
| Country | Link |
|---|---|
| JP (1) | JP5180748B2 (ja) |
Cited By (6)
| Publication number | Priority date | Publication date | Assignee | Title |
|---|---|---|---|---|
| JP2012228729A (ja) * | 2011-04-27 | 2012-11-22 | Sumitomo Metal Mining Co Ltd | Znを主成分とするPbフリーはんだ合金およびその製造方法 |
| JPWO2013118870A1 (ja) * | 2012-02-12 | 2015-05-11 | 株式会社Uacj | 表面処理アルミニウム材及びその製造方法、ならびに、樹脂被覆表面処理アルミニウム材 |
| JP2017081161A (ja) * | 2015-10-27 | 2017-05-18 | 日本遮熱株式会社 | 地表用遮熱材、遮熱方法及び地球温暖化防止工法 |
| JP2018144345A (ja) * | 2017-03-06 | 2018-09-20 | 東洋アルミニウム株式会社 | 透湿防水シート |
| JP7347574B1 (ja) | 2022-04-13 | 2023-09-20 | いすゞ自動車株式会社 | エンジン遮熱構造 |
| WO2024005050A1 (ja) * | 2022-06-30 | 2024-01-04 | Dic株式会社 | 紫外線硬化型ニス組成物 |
Citations (12)
| Publication number | Priority date | Publication date | Assignee | Title |
|---|---|---|---|---|
| JPH1161490A (ja) * | 1997-08-27 | 1999-03-05 | Fujikura Ltd | 太陽熱吸収板 |
| JPH1191034A (ja) * | 1997-09-22 | 1999-04-06 | Mitsubishi Alum Co Ltd | バリアー性に優れた表面処理アルミニウム積層板 |
| JP2000279881A (ja) * | 1998-09-16 | 2000-10-10 | Sumitomo Metal Ind Ltd | 太陽熱反射性表面処理金属板 |
| JP2000313996A (ja) * | 1999-04-26 | 2000-11-14 | Sumitomo Electric Ind Ltd | アルミニウム複合部材 |
| JP2003342790A (ja) * | 2002-05-27 | 2003-12-03 | Mitsubishi Alum Co Ltd | 表面処理アルミニウム材及び熱可塑性樹脂被覆アルミニウム材 |
| JP2004338397A (ja) * | 2003-04-25 | 2004-12-02 | Nippon Steel Corp | 加工性に優れた非脱膜型潤滑めっき鋼板 |
| JP2006026913A (ja) * | 2004-07-12 | 2006-02-02 | Mitsubishi Alum Co Ltd | 耐熱性アルミニウム材 |
| JP2007008496A (ja) * | 2005-06-29 | 2007-01-18 | Kikuchi Sheet Kogyo Kk | 遮熱シート |
| JP2007007907A (ja) * | 2005-06-29 | 2007-01-18 | Kikuchi Sheet Kogyo Kk | 遮熱シート |
| JP2008068402A (ja) * | 2006-09-12 | 2008-03-27 | Furukawa Sky Kk | 耐久性に優れた正反射性樹脂被覆アルミニウム材 |
| JP2008174764A (ja) * | 2007-01-16 | 2008-07-31 | Furukawa Sky Kk | 鏡面アルミニウム材 |
| JP2008202133A (ja) * | 2007-02-22 | 2008-09-04 | Mitsubishi Alum Co Ltd | アルミニウム塗装板および熱交換器 |
-
2008
- 2008-09-09 JP JP2008230727A patent/JP5180748B2/ja not_active Expired - Fee Related
Patent Citations (12)
| Publication number | Priority date | Publication date | Assignee | Title |
|---|---|---|---|---|
| JPH1161490A (ja) * | 1997-08-27 | 1999-03-05 | Fujikura Ltd | 太陽熱吸収板 |
| JPH1191034A (ja) * | 1997-09-22 | 1999-04-06 | Mitsubishi Alum Co Ltd | バリアー性に優れた表面処理アルミニウム積層板 |
| JP2000279881A (ja) * | 1998-09-16 | 2000-10-10 | Sumitomo Metal Ind Ltd | 太陽熱反射性表面処理金属板 |
| JP2000313996A (ja) * | 1999-04-26 | 2000-11-14 | Sumitomo Electric Ind Ltd | アルミニウム複合部材 |
| JP2003342790A (ja) * | 2002-05-27 | 2003-12-03 | Mitsubishi Alum Co Ltd | 表面処理アルミニウム材及び熱可塑性樹脂被覆アルミニウム材 |
| JP2004338397A (ja) * | 2003-04-25 | 2004-12-02 | Nippon Steel Corp | 加工性に優れた非脱膜型潤滑めっき鋼板 |
| JP2006026913A (ja) * | 2004-07-12 | 2006-02-02 | Mitsubishi Alum Co Ltd | 耐熱性アルミニウム材 |
| JP2007008496A (ja) * | 2005-06-29 | 2007-01-18 | Kikuchi Sheet Kogyo Kk | 遮熱シート |
| JP2007007907A (ja) * | 2005-06-29 | 2007-01-18 | Kikuchi Sheet Kogyo Kk | 遮熱シート |
| JP2008068402A (ja) * | 2006-09-12 | 2008-03-27 | Furukawa Sky Kk | 耐久性に優れた正反射性樹脂被覆アルミニウム材 |
| JP2008174764A (ja) * | 2007-01-16 | 2008-07-31 | Furukawa Sky Kk | 鏡面アルミニウム材 |
| JP2008202133A (ja) * | 2007-02-22 | 2008-09-04 | Mitsubishi Alum Co Ltd | アルミニウム塗装板および熱交換器 |
Cited By (8)
| Publication number | Priority date | Publication date | Assignee | Title |
|---|---|---|---|---|
| JP2012228729A (ja) * | 2011-04-27 | 2012-11-22 | Sumitomo Metal Mining Co Ltd | Znを主成分とするPbフリーはんだ合金およびその製造方法 |
| JPWO2013118870A1 (ja) * | 2012-02-12 | 2015-05-11 | 株式会社Uacj | 表面処理アルミニウム材及びその製造方法、ならびに、樹脂被覆表面処理アルミニウム材 |
| JP2017081161A (ja) * | 2015-10-27 | 2017-05-18 | 日本遮熱株式会社 | 地表用遮熱材、遮熱方法及び地球温暖化防止工法 |
| JP2018144345A (ja) * | 2017-03-06 | 2018-09-20 | 東洋アルミニウム株式会社 | 透湿防水シート |
| JP7347574B1 (ja) | 2022-04-13 | 2023-09-20 | いすゞ自動車株式会社 | エンジン遮熱構造 |
| JP2023156809A (ja) * | 2022-04-13 | 2023-10-25 | いすゞ自動車株式会社 | エンジン遮熱構造 |
| WO2024005050A1 (ja) * | 2022-06-30 | 2024-01-04 | Dic株式会社 | 紫外線硬化型ニス組成物 |
| JP7480924B1 (ja) * | 2022-06-30 | 2024-05-10 | Dic株式会社 | 紫外線硬化型ニス組成物 |
Also Published As
| Publication number | Publication date |
|---|---|
| JP5180748B2 (ja) | 2013-04-10 |
Similar Documents
| Publication | Publication Date | Title |
|---|---|---|
| JP5180748B2 (ja) | 遮熱シート | |
| JP3279958B2 (ja) | 反射率向上複合層を有するリフレクタ及びその製造方法 | |
| US7851025B2 (en) | Silicate treatment of sealed anodized aluminum | |
| IL45401A (en) | A panel for the selective absorption of solar energy and a method for producing the above panel | |
| US5779871A (en) | Process of manufacturing aluminum surfaces for technical lighting purposes | |
| CN102194977A (zh) | 金属复合基板及其制造方法 | |
| CN101994148A (zh) | 一种钛及钛合金抛光液及抛光方法 | |
| US4104134A (en) | Method for making an aluminum or copper substrate panel for selective absorption of solar energy | |
| WO2004063405A2 (en) | Magnesium containing aluminum alloys and anodizing process | |
| ES2828473T3 (es) | Uso de una solución que contiene iones sulfato para reducir el ennegrecimiento o el deslustre de una chapa durante su almacenamiento y chapa tratada por dicha solución | |
| JP2003342790A (ja) | 表面処理アルミニウム材及び熱可塑性樹脂被覆アルミニウム材 | |
| JP2005082848A (ja) | 耐食性、親水持続性、成形性に優れた表面処理アルミニウム材 | |
| JP3853702B2 (ja) | 表面処理アルミニウム材の製造方法 | |
| Arrowsmith et al. | Morphology of anodic oxide for adhesive bonding of aluminum | |
| US20020129484A1 (en) | Prefinished deformable metal reflector sheet | |
| JP3816363B2 (ja) | 耐食性に優れる表面処理アルミニウム材及びその製造方法 | |
| JP4722422B2 (ja) | 表面処理アルミニウム材および熱交換器 | |
| JP6352087B2 (ja) | 表面処理アルミニウム材及びその製造方法 | |
| US20130236712A1 (en) | Metal laminates and methods thereof | |
| JP5143416B2 (ja) | 表面処理アルミニウム材料の製造方法 | |
| JP2007314840A (ja) | 親水性に優れたアルミニウム合金の表面処理方法 | |
| JP2005023411A (ja) | 表面処理アルミニウム材及びアルミニウム成形体 | |
| Terryn et al. | Influence of aluminium pretreatment on the growth of porous oxide films | |
| JPH1081997A (ja) | 耐食性および光輝性に優れた車両用ホイール | |
| JPS58190651A (ja) | 太陽熱集熱板 |
Legal Events
| Date | Code | Title | Description |
|---|---|---|---|
| A621 | Written request for application examination |
Free format text: JAPANESE INTERMEDIATE CODE: A621 Effective date: 20110824 |
|
| A977 | Report on retrieval |
Free format text: JAPANESE INTERMEDIATE CODE: A971007 Effective date: 20120629 |
|
| A131 | Notification of reasons for refusal |
Free format text: JAPANESE INTERMEDIATE CODE: A131 Effective date: 20120711 |
|
| A521 | Request for written amendment filed |
Free format text: JAPANESE INTERMEDIATE CODE: A523 Effective date: 20120831 |
|
| TRDD | Decision of grant or rejection written | ||
| A01 | Written decision to grant a patent or to grant a registration (utility model) |
Free format text: JAPANESE INTERMEDIATE CODE: A01 Effective date: 20121225 |
|
| A61 | First payment of annual fees (during grant procedure) |
Free format text: JAPANESE INTERMEDIATE CODE: A61 Effective date: 20130111 |
|
| R150 | Certificate of patent or registration of utility model |
Ref document number: 5180748 Country of ref document: JP Free format text: JAPANESE INTERMEDIATE CODE: R150 |
|
| R250 | Receipt of annual fees |
Free format text: JAPANESE INTERMEDIATE CODE: R250 |
|
| R250 | Receipt of annual fees |
Free format text: JAPANESE INTERMEDIATE CODE: R250 |
|
| R250 | Receipt of annual fees |
Free format text: JAPANESE INTERMEDIATE CODE: R250 |
|
| R250 | Receipt of annual fees |
Free format text: JAPANESE INTERMEDIATE CODE: R250 |
|
| R250 | Receipt of annual fees |
Free format text: JAPANESE INTERMEDIATE CODE: R250 |
|
| R250 | Receipt of annual fees |
Free format text: JAPANESE INTERMEDIATE CODE: R250 |
|
| LAPS | Cancellation because of no payment of annual fees |
