JP2010060669A - 光導波路 - Google Patents
光導波路 Download PDFInfo
- Publication number
- JP2010060669A JP2010060669A JP2008224149A JP2008224149A JP2010060669A JP 2010060669 A JP2010060669 A JP 2010060669A JP 2008224149 A JP2008224149 A JP 2008224149A JP 2008224149 A JP2008224149 A JP 2008224149A JP 2010060669 A JP2010060669 A JP 2010060669A
- Authority
- JP
- Japan
- Prior art keywords
- refractive index
- optical waveguide
- index region
- high refractive
- core
- Prior art date
- Legal status (The legal status is an assumption and is not a legal conclusion. Google has not performed a legal analysis and makes no representation as to the accuracy of the status listed.)
- Granted
Links
- 230000003287 optical effect Effects 0.000 title claims abstract description 229
- 238000005253 cladding Methods 0.000 claims description 95
- 239000000463 material Substances 0.000 claims description 69
- 229920000642 polymer Polymers 0.000 claims description 49
- JFNLZVQOOSMTJK-KNVOCYPGSA-N norbornene Chemical compound C1[C@@H]2CC[C@H]1C=C2 JFNLZVQOOSMTJK-KNVOCYPGSA-N 0.000 claims description 32
- 238000004519 manufacturing process Methods 0.000 claims description 20
- 238000010030 laminating Methods 0.000 claims description 4
- 230000003247 decreasing effect Effects 0.000 claims 1
- 239000010410 layer Substances 0.000 abstract description 108
- 239000012792 core layer Substances 0.000 abstract description 66
- 230000001902 propagating effect Effects 0.000 abstract description 20
- 238000004891 communication Methods 0.000 abstract description 10
- 239000000178 monomer Substances 0.000 description 54
- 238000000034 method Methods 0.000 description 38
- 239000000758 substrate Substances 0.000 description 24
- 230000005855 radiation Effects 0.000 description 21
- 239000013307 optical fiber Substances 0.000 description 16
- 239000012018 catalyst precursor Substances 0.000 description 15
- 239000000126 substance Substances 0.000 description 15
- 229920001577 copolymer Polymers 0.000 description 13
- KDLHZDBZIXYQEI-UHFFFAOYSA-N Palladium Chemical compound [Pd] KDLHZDBZIXYQEI-UHFFFAOYSA-N 0.000 description 12
- 239000000470 constituent Substances 0.000 description 12
- 230000007423 decrease Effects 0.000 description 11
- 238000010438 heat treatment Methods 0.000 description 11
- 239000011347 resin Substances 0.000 description 11
- 229920005989 resin Polymers 0.000 description 11
- 238000006243 chemical reaction Methods 0.000 description 10
- 238000006116 polymerization reaction Methods 0.000 description 9
- 150000001875 compounds Chemical class 0.000 description 8
- 239000000654 additive Substances 0.000 description 7
- 230000000996 additive effect Effects 0.000 description 7
- 150000001450 anions Chemical class 0.000 description 6
- 150000001768 cations Chemical class 0.000 description 6
- 238000000576 coating method Methods 0.000 description 6
- 230000000052 comparative effect Effects 0.000 description 6
- 239000007788 liquid Substances 0.000 description 6
- 229920000548 poly(silane) polymer Polymers 0.000 description 6
- 230000008569 process Effects 0.000 description 6
- 230000004913 activation Effects 0.000 description 5
- 239000004593 Epoxy Substances 0.000 description 4
- VYPSYNLAJGMNEJ-UHFFFAOYSA-N Silicium dioxide Chemical compound O=[Si]=O VYPSYNLAJGMNEJ-UHFFFAOYSA-N 0.000 description 4
- 230000005540 biological transmission Effects 0.000 description 4
- 230000008859 change Effects 0.000 description 4
- 239000007795 chemical reaction product Substances 0.000 description 4
- 238000004132 cross linking Methods 0.000 description 4
- 238000009792 diffusion process Methods 0.000 description 4
- 230000000694 effects Effects 0.000 description 4
- -1 polyethylene terephthalate Polymers 0.000 description 4
- 239000002966 varnish Substances 0.000 description 4
- 230000009471 action Effects 0.000 description 3
- 230000007547 defect Effects 0.000 description 3
- 239000011521 glass Substances 0.000 description 3
- NFHFRUOZVGFOOS-UHFFFAOYSA-N palladium;triphenylphosphane Chemical compound [Pd].C1=CC=CC=C1P(C=1C=CC=CC=1)C1=CC=CC=C1.C1=CC=CC=C1P(C=1C=CC=CC=1)C1=CC=CC=C1.C1=CC=CC=C1P(C=1C=CC=CC=1)C1=CC=CC=C1.C1=CC=CC=C1P(C=1C=CC=CC=1)C1=CC=CC=C1 NFHFRUOZVGFOOS-UHFFFAOYSA-N 0.000 description 3
- 238000000206 photolithography Methods 0.000 description 3
- 239000003505 polymerization initiator Substances 0.000 description 3
- 238000007152 ring opening metathesis polymerisation reaction Methods 0.000 description 3
- 238000007142 ring opening reaction Methods 0.000 description 3
- 238000000926 separation method Methods 0.000 description 3
- LWNGJAHMBMVCJR-UHFFFAOYSA-N (2,3,4,5,6-pentafluorophenoxy)boronic acid Chemical compound OB(O)OC1=C(F)C(F)=C(F)C(F)=C1F LWNGJAHMBMVCJR-UHFFFAOYSA-N 0.000 description 2
- KMRASZKMNHTING-UHFFFAOYSA-N 4-hexylbicyclo[2.2.1]hept-2-ene Chemical compound C1CC2C=CC1(CCCCCC)C2 KMRASZKMNHTING-UHFFFAOYSA-N 0.000 description 2
- 239000004925 Acrylic resin Substances 0.000 description 2
- 229920000178 Acrylic resin Polymers 0.000 description 2
- VGGSQFUCUMXWEO-UHFFFAOYSA-N Ethene Chemical compound C=C VGGSQFUCUMXWEO-UHFFFAOYSA-N 0.000 description 2
- 239000005977 Ethylene Substances 0.000 description 2
- PXHVJJICTQNCMI-UHFFFAOYSA-N Nickel Chemical compound [Ni] PXHVJJICTQNCMI-UHFFFAOYSA-N 0.000 description 2
- PPBRXRYQALVLMV-UHFFFAOYSA-N Styrene Chemical compound C=CC1=CC=CC=C1 PPBRXRYQALVLMV-UHFFFAOYSA-N 0.000 description 2
- 125000000217 alkyl group Chemical group 0.000 description 2
- 239000003054 catalyst Substances 0.000 description 2
- 239000003795 chemical substances by application Substances 0.000 description 2
- 238000007766 curtain coating Methods 0.000 description 2
- 125000000113 cyclohexyl group Chemical group [H]C1([H])C([H])([H])C([H])([H])C([H])(*)C([H])([H])C1([H])[H] 0.000 description 2
- 238000000354 decomposition reaction Methods 0.000 description 2
- 230000032798 delamination Effects 0.000 description 2
- 238000010586 diagram Methods 0.000 description 2
- 238000007607 die coating method Methods 0.000 description 2
- 150000001993 dienes Chemical class 0.000 description 2
- 238000007598 dipping method Methods 0.000 description 2
- 238000009429 electrical wiring Methods 0.000 description 2
- 238000010894 electron beam technology Methods 0.000 description 2
- 239000003822 epoxy resin Substances 0.000 description 2
- 125000000524 functional group Chemical group 0.000 description 2
- 125000004051 hexyl group Chemical group [H]C([H])([H])C([H])([H])C([H])([H])C([H])([H])C([H])([H])C([H])([H])* 0.000 description 2
- 239000003446 ligand Substances 0.000 description 2
- 239000011159 matrix material Substances 0.000 description 2
- 239000000203 mixture Substances 0.000 description 2
- 125000003518 norbornenyl group Chemical group C12(C=CC(CC1)C2)* 0.000 description 2
- 229910052763 palladium Inorganic materials 0.000 description 2
- 239000002245 particle Substances 0.000 description 2
- 229920000647 polyepoxide Polymers 0.000 description 2
- 229920000139 polyethylene terephthalate Polymers 0.000 description 2
- 239000005020 polyethylene terephthalate Substances 0.000 description 2
- 230000000379 polymerizing effect Effects 0.000 description 2
- 229920001709 polysilazane Polymers 0.000 description 2
- 230000000644 propagated effect Effects 0.000 description 2
- 235000012239 silicon dioxide Nutrition 0.000 description 2
- 238000004528 spin coating Methods 0.000 description 2
- 239000007921 spray Substances 0.000 description 2
- 239000004711 α-olefin Substances 0.000 description 2
- SMZOUWXMTYCWNB-UHFFFAOYSA-N 2-(2-methoxy-5-methylphenyl)ethanamine Chemical compound COC1=CC=C(C)C=C1CCN SMZOUWXMTYCWNB-UHFFFAOYSA-N 0.000 description 1
- NIXOWILDQLNWCW-UHFFFAOYSA-N 2-Propenoic acid Natural products OC(=O)C=C NIXOWILDQLNWCW-UHFFFAOYSA-N 0.000 description 1
- MUZDXNQOSGWMJJ-UHFFFAOYSA-N 2-methylprop-2-enoic acid;prop-2-enoic acid Chemical compound OC(=O)C=C.CC(=C)C(O)=O MUZDXNQOSGWMJJ-UHFFFAOYSA-N 0.000 description 1
- 239000002879 Lewis base Substances 0.000 description 1
- 239000004952 Polyamide Substances 0.000 description 1
- 239000004642 Polyimide Substances 0.000 description 1
- 239000004793 Polystyrene Substances 0.000 description 1
- 229910018286 SbF 6 Inorganic materials 0.000 description 1
- BLRPTPMANUNPDV-UHFFFAOYSA-N Silane Chemical compound [SiH4] BLRPTPMANUNPDV-UHFFFAOYSA-N 0.000 description 1
- XUIMIQQOPSSXEZ-UHFFFAOYSA-N Silicon Chemical compound [Si] XUIMIQQOPSSXEZ-UHFFFAOYSA-N 0.000 description 1
- 238000010521 absorption reaction Methods 0.000 description 1
- 125000002777 acetyl group Chemical group [H]C([H])([H])C(*)=O 0.000 description 1
- 239000002253 acid Substances 0.000 description 1
- 230000001154 acute effect Effects 0.000 description 1
- 238000012644 addition polymerization Methods 0.000 description 1
- 150000004645 aluminates Chemical class 0.000 description 1
- 125000000129 anionic group Chemical group 0.000 description 1
- 239000003963 antioxidant agent Substances 0.000 description 1
- 230000003078 antioxidant effect Effects 0.000 description 1
- 230000002238 attenuated effect Effects 0.000 description 1
- 239000002585 base Substances 0.000 description 1
- UMIVXZPTRXBADB-UHFFFAOYSA-N benzocyclobutene Chemical compound C1=CC=C2CCC2=C1 UMIVXZPTRXBADB-UHFFFAOYSA-N 0.000 description 1
- 230000015572 biosynthetic process Effects 0.000 description 1
- 230000004397 blinking Effects 0.000 description 1
- 229940063013 borate ion Drugs 0.000 description 1
- 150000001642 boronic acid derivatives Chemical class 0.000 description 1
- 125000000484 butyl group Chemical group [H]C([*])([H])C([H])([H])C([H])([H])C([H])([H])[H] 0.000 description 1
- 150000007942 carboxylates Chemical class 0.000 description 1
- 239000000969 carrier Substances 0.000 description 1
- 125000002091 cationic group Chemical group 0.000 description 1
- 238000002788 crimping Methods 0.000 description 1
- 238000001723 curing Methods 0.000 description 1
- 125000004122 cyclic group Chemical group 0.000 description 1
- 125000001511 cyclopentyl group Chemical group [H]C1([H])C([H])([H])C([H])([H])C([H])(*)C1([H])[H] 0.000 description 1
- 125000002704 decyl group Chemical group [H]C([H])([H])C([H])([H])C([H])([H])C([H])([H])C([H])([H])C([H])([H])C([H])([H])C([H])([H])C([H])([H])C([H])([H])* 0.000 description 1
- 238000007606 doctor blade method Methods 0.000 description 1
- 238000011156 evaluation Methods 0.000 description 1
- 238000001704 evaporation Methods 0.000 description 1
- 239000000835 fiber Substances 0.000 description 1
- LNTHITQWFMADLM-UHFFFAOYSA-N gallic acid Chemical compound OC(=O)C1=CC(O)=C(O)C(O)=C1 LNTHITQWFMADLM-UHFFFAOYSA-N 0.000 description 1
- 125000003187 heptyl group Chemical group [H]C([*])([H])C([H])([H])C([H])([H])C([H])([H])C([H])([H])C([H])([H])C([H])([H])[H] 0.000 description 1
- 229920001519 homopolymer Polymers 0.000 description 1
- 150000002430 hydrocarbons Chemical group 0.000 description 1
- 125000004435 hydrogen atom Chemical group [H]* 0.000 description 1
- 238000005984 hydrogenation reaction Methods 0.000 description 1
- 230000000977 initiatory effect Effects 0.000 description 1
- 230000002452 interceptive effect Effects 0.000 description 1
- 230000001788 irregular Effects 0.000 description 1
- 125000001449 isopropyl group Chemical group [H]C([H])([H])C([H])(*)C([H])([H])[H] 0.000 description 1
- 150000007527 lewis bases Chemical group 0.000 description 1
- 230000000873 masking effect Effects 0.000 description 1
- 238000005259 measurement Methods 0.000 description 1
- 239000000113 methacrylic resin Substances 0.000 description 1
- ACCDBHBOYZJSDT-UHFFFAOYSA-N n-(4-bromophenyl)-2-fluoroacetamide Chemical compound FCC(=O)NC1=CC=C(Br)C=C1 ACCDBHBOYZJSDT-UHFFFAOYSA-N 0.000 description 1
- 230000007935 neutral effect Effects 0.000 description 1
- 229910052759 nickel Inorganic materials 0.000 description 1
- 125000001400 nonyl group Chemical group [H]C([*])([H])C([H])([H])C([H])([H])C([H])([H])C([H])([H])C([H])([H])C([H])([H])C([H])([H])C([H])([H])[H] 0.000 description 1
- 125000002347 octyl group Chemical group [H]C([*])([H])C([H])([H])C([H])([H])C([H])([H])C([H])([H])C([H])([H])C([H])([H])C([H])([H])[H] 0.000 description 1
- 150000001451 organic peroxides Chemical class 0.000 description 1
- 230000003647 oxidation Effects 0.000 description 1
- 238000007254 oxidation reaction Methods 0.000 description 1
- 125000000538 pentafluorophenyl group Chemical group FC1=C(F)C(F)=C(*)C(F)=C1F 0.000 description 1
- 125000001147 pentyl group Chemical group C(CCCC)* 0.000 description 1
- 230000000737 periodic effect Effects 0.000 description 1
- 238000005191 phase separation Methods 0.000 description 1
- 238000000016 photochemical curing Methods 0.000 description 1
- 238000006552 photochemical reaction Methods 0.000 description 1
- 229920002647 polyamide Polymers 0.000 description 1
- 229920002577 polybenzoxazole Polymers 0.000 description 1
- 239000004417 polycarbonate Substances 0.000 description 1
- 229920000515 polycarbonate Polymers 0.000 description 1
- 229920001721 polyimide Polymers 0.000 description 1
- 229920005672 polyolefin resin Polymers 0.000 description 1
- 229920002223 polystyrene Polymers 0.000 description 1
- 125000001436 propyl group Chemical group [H]C([*])([H])C([H])([H])C([H])([H])[H] 0.000 description 1
- 239000010453 quartz Substances 0.000 description 1
- 239000000376 reactant Substances 0.000 description 1
- 230000009467 reduction Effects 0.000 description 1
- 239000004065 semiconductor Substances 0.000 description 1
- 229910000077 silane Inorganic materials 0.000 description 1
- 229910052710 silicon Inorganic materials 0.000 description 1
- 239000010703 silicon Substances 0.000 description 1
- 239000000377 silicon dioxide Substances 0.000 description 1
- 239000002904 solvent Substances 0.000 description 1
- 230000006641 stabilisation Effects 0.000 description 1
- 238000011105 stabilization Methods 0.000 description 1
- 238000003860 storage Methods 0.000 description 1
- 125000001424 substituent group Chemical group 0.000 description 1
- 229910052723 transition metal Inorganic materials 0.000 description 1
- 150000003624 transition metals Chemical class 0.000 description 1
- 238000002834 transmittance Methods 0.000 description 1
- 238000007740 vapor deposition Methods 0.000 description 1
- XLYOFNOQVPJJNP-UHFFFAOYSA-N water Substances O XLYOFNOQVPJJNP-UHFFFAOYSA-N 0.000 description 1
Images
Landscapes
- Optical Integrated Circuits (AREA)
Abstract
【解決手段】本発明の光導波路は、コア部14と、該コア部14を介して両側に設けられた側面クラッド部15とを含むコア層13(第2の層)を介して、クラッド層11(第1の層)とクラッド層12(第3の層)とを積層してなる光導波路10であって、側面クラッド部15中に、コア部14よりも屈折率が低く、コア部14に接した低屈折率領域152と、低屈折率領域152よりも屈折率が高く、低屈折率領域152を介してコア部14から離間した高屈折率領域151とを有している。そして、高屈折率領域151は、コア部14を通過する光の進行方向の前方に向かうにつれて、コア部14との距離が徐々に大きくなる形状をなしていることを特徴とする。
【選択図】図1
Description
(1) コア部と、該コア部に隣接して設けられたクラッド部とを備える光導波路であって、
前記クラッド部中に、前記コア部よりも屈折率が低く、前記コア部に接した低屈折率領域と、該低屈折率領域よりも屈折率が高く、該低屈折率領域を介して前記コア部から離間した高屈折率領域とを有しており、
該高屈折率領域は、前記コア部を通過する光の進行方向の前方に向かうにつれて、前記コア部との距離が徐々に大きくなる形状をなす部分を有していることを特徴とする光導波路。
前記第2の層の一部が、前記コア部をなしており、
前記第2の層の残部、前記第1の層および前記第3の層が、前記クラッド部を構成している上記(1)ないし(6)のいずれかに記載の光導波路。
前記高屈折率領域は、前記コア部を通過する光の進行方向の前方に向かうにつれて、隣接する2つの前記コア部間の中間部に収束するような形状をなしている上記(1)ないし(9)のいずれかに記載の光導波路。
該第2の高屈折率領域は、長尺状をなしており、かつ前記コア部と平行に設けられている上記(1)ないし(11)のいずれかに記載の光導波路。
該複数の第3の高屈折率領域は、前記低屈折率領域中に点在または整列している上記(1)ないし(13)のいずれかに記載の光導波路。
まず、本発明の光導波路の第1実施形態について説明する。
屈折率差(%)=|A/B−1|×100
低屈折率領域152は、各側面クラッド部15のうち、図2に示すように、各コア部14に接するように設けられている。一方、高屈折率領域151は、図2に示すように、各コア部14に直接接触しないように設けられている。すなわち、高屈折率領域151と各コア部14との間に、低屈折率領域152が介挿された状態になっている。
図16は、従来の光導波路90のコア層93のみを示す平面図である。
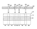
光導波路10は、クラッド層11(第1の層)と、コア層13(第2の層)と、クラッド層12(第3の層)とをそれぞれ作製し、これらを積層することにより製造される。
層110は、コア層形成用材料(ワニス)100を塗布し硬化(固化)させる方法により形成される。
このようなポリマー115としては、前述したコア層13の構成材料が挙げられる。
[(E(R)3)aPd(Q)(LB)b]p[WCA]r ・・・(Ib)
[式Ia、Ib中、それぞれ、E(R)3は、第15族の中性電子ドナー配位子を表し、Eは、周期律表の第15族から選択される元素を表し、Rは、水素原子(またはその同位体の1つ)または炭化水素基を含む部位を表し、Qは、カルボキシレート、チオカルボキシレートおよびジチオカルボキシレートから選択されるアニオン配位子を表す。また、式Ib中、LBは、ルイス塩基を表し、WCAは、弱配位アニオンを表し、aは、1〜3の整数を表し、bは、0〜2の整数を表し、aとbとの合計は、1〜3であり、pおよびrは、パラジウムカチオンと弱配位アニオンとの電荷のバランスをとる数を表す。]
このとき、層110は、第1の屈折率を有している。この第1の屈折率は、層110中に一様に分散(分布)するポリマー115およびモノマーの作用による。
これにより、照射領域125内では、活性潜在状態の触媒前駆体が活性化して(活性状態となって)、モノマーの反応(重合反応や架橋反応)が生じる。
これにより、未照射領域140および/または照射領域125に残存する触媒前駆体を、直接または助触媒の活性化を伴って、活性化させる(活性状態とする)ことにより、各領域125、140に残存するモノマーを反応させる。
これにより、得られるコア層13に生じる内部応力の低減や、コア部14、高屈折率領域151および低屈折率領域152の更なる安定化を図ることができる。
なお、例えば、第2の加熱処理や第3の加熱処理を施す前の状態で、コア部14および高屈折率領域151と低屈折率領域152との間に十分な屈折率差が得られている場合等には、本工程[5]や前記工程[4]を省略してもよい。
以上のようにして、支持基板162上に、クラッド層11(12)が形成される。
次に、本発明の光導波路の第2実施形態について説明する。
図9は、本発明の光導波路の第2実施形態のコア層のみを示す平面図である。
図16に示す従来の光導波路90では、不本意にも側面クラッド部95を光が伝搬することが問題となっており、側面クラッド部95に光が入射してしまう原因の1つとして、前記第1実施形態では、コア部94の光軸と発光素子97の光軸とのずれ、および光導波路90と発光素子97の相互の開口数の不適合を挙げた。
次に、本発明の光導波路の第3実施形態について説明する。
図10は、本発明の光導波路の第3実施形態のコア層のみを示す平面図である。
図11に示す光導波路10は、短冊状をなす高屈折率領域の平面視の形状が異なること以外は、図10と同様である。すなわち、図11に示す側面クラッド部15は、前記第1実施形態と同様のくさび状をなす高屈折率領域151と、この高屈折率領域151よりコア部14側に設けられ、平面視で短冊状をなす複数の高屈折率領域154’(第3の高屈折率領域)とを有するものであるが、この複数の高屈折率領域154’は、平面視で細長い三角形をなしている。
図12に示す光導波路10は、短冊状をなす高屈折率領域の平面視の形状が異なること以外は、図10と同様である。すなわち、図12に示す側面クラッド部15は、前記第1実施形態と同様のくさび状をなす高屈折率領域151と、この高屈折率領域151よりコア部14側に設けられ、平面視で短冊状をなす複数の高屈折率領域154”(第3の高屈折率領域)とを有するものであるが、この複数の高屈折率領域154”は、平面視で細長い長方形をなしており、かつ、その軸線がコア部14の軸線に対してほぼ垂直になるよう配置されている。
次に、本発明の光導波路の第4実施形態について説明する。
図13は、本発明の光導波路の第4実施形態のコア層のみを示す平面図である。
(実施例1)
まず、下記式(2)で表わされる繰り返し単位を有するノルボルネン系ポリマーを含むコア層形成用材料を調製した。
コア部、高屈折率領域および低屈折率領域の各形状を、それぞれ図9に示す形状とした以外は、前記実施例1と同様にして光導波路を得た。
コア部、高屈折率領域および低屈折率領域の各形状を、それぞれ図10に示す形状とした以外は、前記実施例1と同様にして光導波路を得た。ただし、高屈折率領域の傾斜角は、45°とした。
コア部、高屈折率領域および低屈折率領域の各形状を、それぞれ図11に示す形状とした以外は、前記実施例1と同様にして光導波路を得た。ただし、高屈折率領域の傾斜角は、実施例3と同様である。
コア部、高屈折率領域および低屈折率領域の各形状を、それぞれ図12に示す形状とした以外は、前記実施例1と同様にして光導波路を得た。
コア部、高屈折率領域および低屈折率領域の各形状を、それぞれ図13に示す形状とした以外は、前記実施例1と同様にして光導波路を得た。
高屈折率領域および低屈折率領域の形成を省略し、図16に示すように、コア層中にコア部とその両側のクラッド部とを形成するようにした以外は、前記実施例1と同様にして光導波路を得た。
各実施例で得られた光導波路および比較例で得られた光導波路について、それぞれ以下に示す方法で出射側端面における光強度を測定した。
10a 入射側端面
10b 出射側端面
11、12 クラッド層
13 コア層
14 コア部
14L 信号光の出射位置
15 側面クラッド部
151、153、154、154’、154”、155 高屈折率領域
1510 コア部側の面
152 低屈折率領域
151L ノイズ光の出射位置
17 発光素子
18 受光素子
100 コア層形成用材料(ワニス)
110 層
115 ポリマー
120 添加剤
125 照射領域
130 活性放射線(活性エネルギー光線)
135 マスク
1351 開口(窓)
140 非照射領域
161、162 支持基板
21 入射側光ファイバ
22 出射側光ファイバ
90 光導波路
90a 入射側端面
90b 出射側端面
93 コア層
94 コア部
95 側面クラッド部
97 発光素子
98 受光素子
Claims (15)
- コア部と、該コア部に隣接して設けられたクラッド部とを備える光導波路であって、
前記クラッド部中に、前記コア部よりも屈折率が低く、前記コア部に接した低屈折率領域と、該低屈折率領域よりも屈折率が高く、該低屈折率領域を介して前記コア部から離間した高屈折率領域とを有しており、
該高屈折率領域は、前記コア部を通過する光の進行方向の前方に向かうにつれて、前記コア部との距離が徐々に大きくなる形状をなす部分を有していることを特徴とする光導波路。 - 前記高屈折率領域は、前記コア部と同種の材料で構成されている請求項1に記載の光導波路。
- 前記高屈折率領域の屈折率と前記低屈折率領域の屈折率との差は、0.5%以上である請求項1または2に記載の光導波路。
- 前記高屈折率領域は、当該光導波路の光入射側の端面に露出している請求項1ないし3のいずれかに記載の光導波路。
- 当該光導波路の光入射側の端面のうち、前記クラッド部が露出した面のほぼ全体を前記高屈折率領域が占めている請求項4に記載の光導波路。
- 前記高屈折率領域は、前記コア部と同一の製造工程で形成されたものである請求項1ないし5のいずれかに記載の光導波路。
- 当該光導波路は、第1の層、第2の層および第3の層をこの順で積層してなる積層体を有し、
前記第2の層の一部が、前記コア部をなしており、
前記第2の層の残部、前記第1の層および前記第3の層が、前記クラッド部を構成している請求項1ないし6のいずれかに記載の光導波路。 - 前記高屈折率領域は、前記第2の層中に設けられている請求項7に記載の光導波路。
- 前記高屈折率領域の横断面積は、前記コア部を通過する光の進行方向の前方に向かうにつれて、徐々に減少している請求項7または8に記載の光導波路。
- 当該光導波路は、前記第2の層中に、複数の前記コア部と、該各コア部間に設けられた前記高屈折率領域とを有しており、
前記高屈折率領域は、前記コア部を通過する光の進行方向の前方に向かうにつれて、隣接する2つの前記コア部間の中間部に収束するような形状をなしている請求項1ないし9のいずれかに記載の光導波路。 - 当該光導波路の前記コア部と、前記クラッド部の少なくとも一部とは、それぞれノルボルネン系ポリマーを主材料として構成されている請求項1ないし10のいずれかに記載の光導波路。
- 当該光導波路は、さらに、前記低屈折率領域中に前記コア部および前記高屈折率領域から離間して設けられ、前記低屈折率領域よりも屈折率が高い第2の高屈折率領域を有しており、
該第2の高屈折率領域は、長尺状をなしており、かつ前記コア部と平行に設けられている請求項1ないし11のいずれかに記載の光導波路。 - 前記第2の高屈折率領域は、前記コア部から前記低屈折率領域に漏れ出た光を反射して、前記コア部側に閉じ込めるものである請求項12に記載の光導波路。
- 当該光導波路は、さらに、前記低屈折率領域中に前記コア部および前記高屈折率領域から離間して設けられ、前記低屈折率領域よりも屈折率が高い複数の第3の高屈折率領域を有しており、
該複数の第3の高屈折率領域は、前記低屈折率領域中に点在または整列している請求項1ないし13のいずれかに記載の光導波路。 - 前記各第3の高屈折率領域は、それぞれ前記クラッド部を通過する光を、前記コア部から遠ざかる方向に屈折させるもの、または不規則に散乱させるものである請求項14に記載の光導波路。
Priority Applications (1)
| Application Number | Priority Date | Filing Date | Title |
|---|---|---|---|
| JP2008224149A JP5169639B2 (ja) | 2008-09-01 | 2008-09-01 | 光導波路 |
Applications Claiming Priority (1)
| Application Number | Priority Date | Filing Date | Title |
|---|---|---|---|
| JP2008224149A JP5169639B2 (ja) | 2008-09-01 | 2008-09-01 | 光導波路 |
Publications (2)
| Publication Number | Publication Date |
|---|---|
| JP2010060669A true JP2010060669A (ja) | 2010-03-18 |
| JP5169639B2 JP5169639B2 (ja) | 2013-03-27 |
Family
ID=42187559
Family Applications (1)
| Application Number | Title | Priority Date | Filing Date |
|---|---|---|---|
| JP2008224149A Expired - Fee Related JP5169639B2 (ja) | 2008-09-01 | 2008-09-01 | 光導波路 |
Country Status (1)
| Country | Link |
|---|---|
| JP (1) | JP5169639B2 (ja) |
Cited By (7)
| Publication number | Priority date | Publication date | Assignee | Title |
|---|---|---|---|---|
| WO2012039443A1 (ja) * | 2010-09-22 | 2012-03-29 | 住友ベークライト株式会社 | 光導波路形成用フィルムおよびその製造方法、光導波路およびその製造方法、電子機器 |
| JP2014002218A (ja) * | 2012-06-15 | 2014-01-09 | Sumitomo Bakelite Co Ltd | 光導波路および電子機器 |
| WO2019039325A1 (ja) * | 2017-08-22 | 2019-02-28 | 日東電工株式会社 | 光導波路、光電気混載基板および光電気混載モジュール |
| CN111344615A (zh) * | 2017-11-09 | 2020-06-26 | 松下知识产权经营株式会社 | 光波导及其制造方法 |
| CN112180506A (zh) * | 2020-10-10 | 2021-01-05 | 上海理工大学 | 一种基于微纳隔离结构的高密度低串扰波导阵列 |
| CN112305678A (zh) * | 2019-08-02 | 2021-02-02 | 住友电气工业株式会社 | 光学连接器 |
| JP2022012346A (ja) * | 2020-07-01 | 2022-01-17 | 住友ベークライト株式会社 | 光導波路および電子機器 |
Citations (6)
| Publication number | Priority date | Publication date | Assignee | Title |
|---|---|---|---|---|
| JPH09329720A (ja) * | 1996-06-10 | 1997-12-22 | Mitsubishi Gas Chem Co Inc | 集積型光導波路およびその製造法 |
| JP2000241645A (ja) * | 1998-12-25 | 2000-09-08 | Furukawa Electric Co Ltd:The | 光導波路回路とその製造方法 |
| JP2001249242A (ja) * | 1999-12-23 | 2001-09-14 | Litton Syst Inc | 表面波伝播を減少した一体化光学チップ |
| JP2004012930A (ja) * | 2002-06-07 | 2004-01-15 | Sumitomo Electric Ind Ltd | 平面導波路型光回路 |
| JP2004046021A (ja) * | 2002-07-15 | 2004-02-12 | Omron Corp | 光導波路装置、光合波分波装置及び光波長多重伝送装置 |
| JP2006323319A (ja) * | 2005-05-20 | 2006-11-30 | Sumitomo Bakelite Co Ltd | 光導波路構造体 |
-
2008
- 2008-09-01 JP JP2008224149A patent/JP5169639B2/ja not_active Expired - Fee Related
Patent Citations (6)
| Publication number | Priority date | Publication date | Assignee | Title |
|---|---|---|---|---|
| JPH09329720A (ja) * | 1996-06-10 | 1997-12-22 | Mitsubishi Gas Chem Co Inc | 集積型光導波路およびその製造法 |
| JP2000241645A (ja) * | 1998-12-25 | 2000-09-08 | Furukawa Electric Co Ltd:The | 光導波路回路とその製造方法 |
| JP2001249242A (ja) * | 1999-12-23 | 2001-09-14 | Litton Syst Inc | 表面波伝播を減少した一体化光学チップ |
| JP2004012930A (ja) * | 2002-06-07 | 2004-01-15 | Sumitomo Electric Ind Ltd | 平面導波路型光回路 |
| JP2004046021A (ja) * | 2002-07-15 | 2004-02-12 | Omron Corp | 光導波路装置、光合波分波装置及び光波長多重伝送装置 |
| JP2006323319A (ja) * | 2005-05-20 | 2006-11-30 | Sumitomo Bakelite Co Ltd | 光導波路構造体 |
Cited By (16)
| Publication number | Priority date | Publication date | Assignee | Title |
|---|---|---|---|---|
| WO2012039443A1 (ja) * | 2010-09-22 | 2012-03-29 | 住友ベークライト株式会社 | 光導波路形成用フィルムおよびその製造方法、光導波路およびその製造方法、電子機器 |
| JPWO2012039443A1 (ja) * | 2010-09-22 | 2014-02-03 | 住友ベークライト株式会社 | 光導波路形成用フィルムおよびその製造方法、光導波路およびその製造方法、電子機器 |
| TWI560480B (en) * | 2010-09-22 | 2016-12-01 | Sumitomo Bakelite Co | Film for forming an optical waveguide, method for manufacturing the same, optical waveguide, method for manufacturing the same, and electronic device |
| JP2014002218A (ja) * | 2012-06-15 | 2014-01-09 | Sumitomo Bakelite Co Ltd | 光導波路および電子機器 |
| US11347002B2 (en) | 2017-08-22 | 2022-05-31 | Nitto Denko Corporation | Optical waveguide, opto-electric hybrid board, and opto-electric hybrid module |
| JP2019039948A (ja) * | 2017-08-22 | 2019-03-14 | 日東電工株式会社 | 光導波路、光電気混載基板および光電気混載モジュール |
| CN110998387A (zh) * | 2017-08-22 | 2020-04-10 | 日东电工株式会社 | 光波导、光电混载基板以及光电混载模块 |
| JP7076968B2 (ja) | 2017-08-22 | 2022-05-30 | 日東電工株式会社 | 光導波路、光電気混載基板および光電気混載モジュール |
| WO2019039325A1 (ja) * | 2017-08-22 | 2019-02-28 | 日東電工株式会社 | 光導波路、光電気混載基板および光電気混載モジュール |
| CN111344615A (zh) * | 2017-11-09 | 2020-06-26 | 松下知识产权经营株式会社 | 光波导及其制造方法 |
| US11378740B2 (en) | 2017-11-09 | 2022-07-05 | Panasonic Intellectual Property Management Co., Ltd. | Optical waveguide and method for manufacturing same |
| CN112305678A (zh) * | 2019-08-02 | 2021-02-02 | 住友电气工业株式会社 | 光学连接器 |
| CN112305678B (zh) * | 2019-08-02 | 2024-02-23 | 住友电气工业株式会社 | 光学连接器 |
| JP2022012346A (ja) * | 2020-07-01 | 2022-01-17 | 住友ベークライト株式会社 | 光導波路および電子機器 |
| CN112180506A (zh) * | 2020-10-10 | 2021-01-05 | 上海理工大学 | 一种基于微纳隔离结构的高密度低串扰波导阵列 |
| CN112180506B (zh) * | 2020-10-10 | 2022-09-06 | 上海理工大学 | 一种基于微纳隔离结构的高密度低串扰波导阵列 |
Also Published As
| Publication number | Publication date |
|---|---|
| JP5169639B2 (ja) | 2013-03-27 |
Similar Documents
| Publication | Publication Date | Title |
|---|---|---|
| JP5293742B2 (ja) | 光導波路、光配線、光電気混載基板および電子機器 | |
| JP5199060B2 (ja) | 交差導波路 | |
| JP5353896B2 (ja) | 光導波路 | |
| TWI490573B (zh) | 光導波路及電子機器 | |
| JP6020169B2 (ja) | 光導波路および電子機器 | |
| JP5169639B2 (ja) | 光導波路 | |
| WO2009154206A1 (ja) | 光導波路用フィルム、積層型光導波路用フィルム、光導波路、光導波路集合体、光配線、光電気混載基板および電子機器 | |
| JP5251502B2 (ja) | 光導波路 | |
| JP5212139B2 (ja) | 光導波路の製造方法および光電気混載基板の製造方法 | |
| TWI514019B (zh) | 光導波路及電子機器 | |
| JP6065589B2 (ja) | 光導波路形成用フィルムおよびその製造方法、光導波路およびその製造方法、電子機器 | |
| JP2010197505A (ja) | 光導波路、光配線、光電気混載基板および電子機器 | |
| JP5321077B2 (ja) | 光導波路および光導波路モジュール | |
| TWI502232B (zh) | 光導波管以及電子機器 | |
| JP6020170B2 (ja) | 光導波路および電子機器 | |
| JP2012123255A (ja) | 光導波路および電子機器 | |
| JP2012123253A (ja) | 光導波路および電子機器 | |
| JP2012123256A (ja) | 光導波路および電子機器 | |
| JP2012123254A (ja) | 光導波路および電子機器 | |
| JP2010164894A (ja) | 光導波路フィルム、光導波路フィルムを用いた光導波路モジュール、および光導波路フィルムの製造方法 |
Legal Events
| Date | Code | Title | Description |
|---|---|---|---|
| A621 | Written request for application examination |
Free format text: JAPANESE INTERMEDIATE CODE: A621 Effective date: 20110826 |
|
| A977 | Report on retrieval |
Free format text: JAPANESE INTERMEDIATE CODE: A971007 Effective date: 20120723 |
|
| A131 | Notification of reasons for refusal |
Free format text: JAPANESE INTERMEDIATE CODE: A131 Effective date: 20120731 |
|
| A521 | Request for written amendment filed |
Free format text: JAPANESE INTERMEDIATE CODE: A523 Effective date: 20120926 |
|
| TRDD | Decision of grant or rejection written | ||
| A01 | Written decision to grant a patent or to grant a registration (utility model) |
Free format text: JAPANESE INTERMEDIATE CODE: A01 Effective date: 20121204 |
|
| A61 | First payment of annual fees (during grant procedure) |
Free format text: JAPANESE INTERMEDIATE CODE: A61 Effective date: 20121217 |
|
| R150 | Certificate of patent or registration of utility model |
Ref document number: 5169639 Country of ref document: JP Free format text: JAPANESE INTERMEDIATE CODE: R150 |
|
| S802 | Written request for registration of partial abandonment of right |
Free format text: JAPANESE INTERMEDIATE CODE: R311802 |
|
| R350 | Written notification of registration of transfer |
Free format text: JAPANESE INTERMEDIATE CODE: R350 |
|
| LAPS | Cancellation because of no payment of annual fees |
