JP2010054770A - マゼンタトナー - Google Patents
マゼンタトナー Download PDFInfo
- Publication number
- JP2010054770A JP2010054770A JP2008219201A JP2008219201A JP2010054770A JP 2010054770 A JP2010054770 A JP 2010054770A JP 2008219201 A JP2008219201 A JP 2008219201A JP 2008219201 A JP2008219201 A JP 2008219201A JP 2010054770 A JP2010054770 A JP 2010054770A
- Authority
- JP
- Japan
- Prior art keywords
- toner
- magenta toner
- displacement amount
- mass
- colorant
- Prior art date
- Legal status (The legal status is an assumption and is not a legal conclusion. Google has not performed a legal analysis and makes no representation as to the accuracy of the status listed.)
- Granted
Links
Images
Landscapes
- Developing Agents For Electrophotography (AREA)
Abstract
【解決手段】結着樹脂と、離型剤と、キナクリドン骨格を有する着色剤と、中心金属が[Cr、Fe、Co、Zn、及びMn]からなる群から選ばれるいずれかである金属フタロシアニン及び/又は金属フタロシアニン誘導体を少なくとも含有するマゼンタトナー粒子を有するマゼンタトナーであって、測定温度25℃で、トナーに対する微小圧縮試験において、トナー粒子の変位量と除荷条件により得られる復元率が、60≦復元率≦90、を満足することを特徴とするマゼンタトナー。
【選択図】なし
Description
フルカラーで画像形成を行うためには、マゼンタトナー、シアントナー、イエロートナー及びブラックトナーが必要であるが、これらのトナーは一般にトナー粒子中に添加する着色剤を変更して製造されている。
そのため添加する着色剤によってはトナーの特性が大きく変化することがある。特にトナーの耐久性に関しては、マゼンタトナーは着色剤の影響で耐久性が悪化する傾向が見られる。その理由について本発明者らが検討した結果、着色剤としてキナクリドン骨格を有する着色剤を用いるとトナー粒子の硬さが大きく変化する傾向があることが明らかになった。キナクリドン骨格を有する着色剤をトナー粒子中に添加すると、トナーバインダー中で着色剤がフィラーとして働くためトナー粒子が硬くなる傾向がある。その結果、トナー粒子の脆性が悪化し、耐久性が低下しているものだと考えられている。特にトナーを懸濁重合などの水系媒体中で製造すると、キナクリドン骨格を有する着色剤はトナー粒子表面近傍に偏在する傾向があり、耐久性の低下は著しい傾向が見られる。
一般にトナーの耐久性を良好にするという観点では、トナーの粘弾性や溶融粘度で議論されることが多い。トナーは、現像装置内で機械的な摩擦力を受け劣化するので、トナーの粘弾性や溶融粘度を高くする方が有利である。また50℃前後の環境下におけるトナーの保存性も悪化する。一方で定着工程においては、低温定着や画像光沢性を実現するために、トナーの粘弾性や溶融粘度を下げなければならない。また、定着工程においてトナー粒子中のワックス成分が瞬時に染み出し易い(ブリード性)方が定着ローラとの離型性が良好になり好ましい。このように耐久性と定着性は相反する性能であるが、この両者を満足させる手法について、これまで数多く検討されている。
、該結着樹脂のガラス転移点付近に少なくとも1つの発熱ピークが存在することを特徴とする画像形成用トナーが提案されている(特許文献1)。
この手法で定着性を向上させることはできる。しかし一般に室温近辺での現像特性に関する耐久性を考慮した場合、十分な能力を発揮することはできない。
例えば、低ガラス転移点を有する熱可塑性樹脂から成る熱溶融性芯材(コア)と非晶質ポリエステルを主成分とする外殻(シェル)から構成される(コアシェル構造)カプセルトナーに関しての提案も行われている。それらの提案の中でトナー一粒子に荷重を負荷した際に圧縮される変位量と荷重の関係を特定の範囲に規定することで、耐久性を良好にすることが開示されている(特許文献2、特許文献3)。
このカプセルトナーは、低ガラス転移点の芯材を比較的厚いシェル層で覆っている構造であるため加熱加圧定着工程には有効である。しかしコア材料とシェル材料との相溶性が低いため耐久においてシェル部がトナー粒子から脱離して、トナーの帯電性が低くなる傾向がある。
この会合法トナーでは非磁性一成分現像方式において、トナー担持体及びトナー層規制部材による摩擦帯電作用によって弊害を伴うことなく耐久安定性に優れたものとなる。この会合法トナーは、樹脂粒子と着色剤粒子とを塩析/融着させる工程を経ることによって得られる。しかしこの会合法トナーでは、その樹脂粒子の構造が中心部から表層に向かうに従って各層を構成する樹脂の分子量が小さくなるように制御されており、保存性や耐高温オフセット性が懸念される。
この方法により定着工程ではトナーは簡単に圧裂するものの、現像器内の耐久性に優れ安定した帯電特性が得られる。しかしながら、このトナーは、定着工程では定着性を満足し得るが、定着工程の軽負荷化あるいは高速化に対応する場合は、低温定着性を満足できず、更には高い画像光沢性を得ることができない。
トナーの透明性は顔料と樹脂、そして樹脂への分散方法とその程度によって決まるものであって、必ずしも透明性の高いマゼンタトナーは得られていなかった。またトナーの耐久性についても十分な効果は得られなかった。
とりわけフルカラー複写においては、3色又は4色のトナーが層状に積層されたものを定着するため、耐高温オフセットのラチチュードは白黒トナーの場合よりははるかにきびしく、高分子中のわずかな分子切断が容易に高温オフセットを生ずる原因となる。また懸濁重合のような水系媒体中でトナーを製造する場合には上記方法を用いることが困難である。
該方法はなるほど顔料の分散には好ましいが、トナーの色味及び色再現性をも考慮した顔料については一切ふれていない。またトナーの耐久性についても十分なものとはいえない。
粒子中に特定の金属フタロシアニン及び/又は金属フタロシアニン誘導体を少なくとも含有させ、トナー粒子が微小圧縮試験において特定の変位曲線を有することで耐久性と定着性が良好なマゼンタトナーを提供することができる。
即ち、本発明で用いられる中心金属が[Cr、Fe、Co、Zn、Mn]からなる群から選ばれるいずれかである金属フタロシアニン及び/又は金属フタロシアニン誘導体(以下、これらを「金属フタロシアニン類」と称す)は、化合物であるフタロシアニン環に対し、axial方向に配位子を配位することが可能な5配位構造又は6配位構造をとることが可能である。
本発明で用いられる金属フタロシアニン類はキナクリドン骨格部分と良好な親和性を呈すると共に、重合体部位は結着樹脂や他のトナー構成材料との親和性を呈するだけでなく、立体障害により再凝集も防止することができる。また、懸濁重合法といった水系媒体中でトナーを製造した場合にはトナー粒子中でキナクリドン骨格を有する着色剤がトナー粒
子表面近傍に偏在しにくくなる。その結果、トナー粒子表面の脆性も良好な状態にすることができ、トナーの耐久性も向上する。
くい傾向にある。一方、3.000質量部を超えると、金属フタロシアニン類の影響によ
る帯電性の低下が発生し易い傾向にある。
が特徴である。そのため復元率は良好な値を示し、トナー表層近傍の脆性も大幅に改善され、トナーの耐久性が向上している。
本発明における微小圧縮の測定方法は、従来の測定法と比較してトナーに対して2.94×10−4Nといった小さな荷重をかけて評価を行うことでトナー表面近傍の硬さ及び復元率を測定するものである。
本発明のトナーにおける復元率Z(25)の値は、温度25℃において、トナー1粒子に荷重をかけた後、除荷してどの程度トナー表層がもとの状態に戻ろうとするのかを表す指標である。
なお、上記復元率Z(25)の値、復元率Z(50)の値は、キナクリドン骨格を有する着色剤及び金属フタロシアニン及び/又は金属フタロシアニン誘導体の添加量やそれらの添加量の比率を調整することで、上記範囲に調整することが可能である。
図1は、本発明のトナーに対する微小圧縮試験で得られたプロファイル(変位曲線)である。図において、横軸はトナーが変形した変位量、縦軸はトナーにかけている荷重量を表している。
本発明における微小圧縮試験は、(株)エリオニクス製 超微小硬度計ENT1100を用い、当該計測機器添付の操作マニュアルに従い、実施する。本試験において、使用した圧子は20μm×20μm四方の平圧子である。図中(1−1)は試験を始める前の最初の状態である。この状態から、最大荷重2.94×10−4Nに対し、9.8×10−5N/secのスピードで荷重を掛ける。最大荷重に到達直後は(1−2)の状態であり、このときの変位量をX2(μm)とする。(1−2)の状態で0.1secの間その荷
重で放置する。放置終了直後の状態が(1−3)を示しており、このときの最大変位量をX3(μm)とし、さらに最大荷重を経て9.8×10−5N/secのスピードで除荷し、荷重が0になったときが(1−4)の状態である。このときの変位量をX4(μm)
とする。
復元率Z(25)は100×(X3−X4)/X3として求める。更に復元率Z(50)
の値は測定温度50℃で測定することを除いて、上記Z(25)の測定方法と同様にして測定した値である。
また、測定の際にはセルを温度制御が可能な状態にし、このセルの温度を測定温度とする。すなわちZ(25)はセルの温度を25℃として測定し、Z(50)はセルの温度を
50℃として測定する。本発明における微小圧縮試験においては、セルの上にトナーを分散させた後、セルを本体に設置する。その後、セルが測定温度に到達してから10分以上放置した後、測定を開始する。
測定は装置付帯の顕微鏡を覗きながら測定用画面(横幅:160μm 縦幅:120μm)にトナーが1粒で存在しているもの選択する。変位量の誤差を極力無くすため、トナーの個数平均粒径(D1)の±0.2μmのものを選択して測定する。なお、測定用画面から任意のトナーを選択するが、測定画面上でのトナー粒子径の測定手段は超微小硬度計ENT1100付帯のソフトを用いてトナー粒子の長径と短径を測定する。それらから求められるアスペクト比[(長径+短径)/2]の値がD1の±0.2μmとなるトナーを選択して測定する。
測定データに関しては、任意の粒子100個を選んで測定し、測定結果として得られたZ(25)及びZ(50)について、最大値、最小値からそれぞれ10個を除いた残り80個をデータとして使用し、その80個の相加平均値としてZ(25)及びZ(50)を求める。
コールターマルチサイザー(ベックマンコールター製)に、個数分布、体積分布を出力するインターフェイス(日科機製)及びPC9801パーソナルコンピューター(NEC製)を接続し、測定に用いる。
1級塩化ナトリウムを用いて1%NaCl水溶液(電解水溶液)を調整する(ISOTON R−II(コールターサイエンティフィックジャパン製)を用いてもよい)。前記電解水溶液150mlに、測定試料(トナー)を20mg加える。試料が懸濁された電解水溶液を超音波分散器で3分間分散処理し、測定用試料を調製する。当該測定用試料を、100μmアパーチャーを備えた前記コールターマルチサイザーにより測定し、2.0μm以上のトナー粒子の体積、個数を計測して個数平均粒径(D1)を求める。
これらは、単独、または、一般的には出版物ポリマーハンドブック第2版III−p139乃至192(John Wiley&Sons製)に記載の理論ガラス転移温度(Tg)を参考にして単量体を適宜混合して用いられる。
砕法でトナーを製造する場合には、結着樹脂等と溶融混練する際に添加することができ、また懸濁重合法によってトナーを製造する場合には、重合性単量体組成物中に添加することができる。
該低分子量ポリマーとしては、ゲルパーミエーションクロマトグラフィー(GPC)により測定される重量平均分子量(Mw)が2,000乃至5,000の範囲で、且つ、Mw/Mnが4.5未満、好ましくは3.0未満のものが好ましい。
低分子量ポリマーの例としては、低分子量ポリスチレン、低分子量スチレン−アクリル酸エステル共重合体、低分子量スチレン−アクリル共重合体が挙げられる。
本発明に用いられる架橋剤としては、2官能の架橋剤として、以下のものが挙げられる。
ジビニルベンゼン、ビス(4−アクリロキシポリエトキシフェニル)プロパン、エチレングリコールジアクリレート、1,3−ブチレングリコールジアクリレート、1,4−ブタンジオールジアクリレート、1,5−ペンタンジオールジアクリレート、1,6−ヘキサンジオールジアクリレート、ネオペンチルグリコールジアクリレート、ジエチレングリコールジアクリレート、トリエチレングリコールジアクリレート、テトラエチレングリコールジアクリレート、ポリエチレングリコール#200、#400、#600の各ジアクリレート、ジプロピレングリコールジアクリレート、ポリプロピレングリコールジアクリレート、ポリエステル型ジアクリレート(MANDA日本化薬)、及び上記のジアクリレートをジメタクリレートに代えたもの。
多官能の架橋剤としては、以下のものが挙げられる。ペンタエリスリトールトリアクリレート、トリメチロールエタントリアクリレート、トリメチロールプロパントリアクリレート、テトラメチロールメタンテトラアクリレート、オリゴエステルアクリレート及びそのメタクリレート、2,2−ビス(4−メタクリロキシポリエトキシフェニル)プロパン、ジアリルフタレート、トリアリルシアヌレート、トリアリルイソシアヌレート及びトリアリルトリメリテート。これらの架橋剤の添加量は、前記単量体100質量部に対して、好ましくは0.05乃至10質量部、より好ましくは0.1乃至5質量部である。
示差走査熱量計でのガラス転移温度(Tg)を80乃至120℃とすることで耐久性と低温定着性の両立を更に高めることができる。本発明のトナーにおいて、Tgの値が80℃未満の場合、トナーの耐久性が低下する傾向にあり、Tgの値が120℃を超える場合、低温定着性が低下する傾向にある。
本発明に用いられる極性樹脂としては、具体的には、ポリエステル樹脂、エポキシ樹脂、スチレン−アクリル酸共重合体、スチレン−メタクリル酸共重合体、スチレン−マレイン酸共重合体が挙げられる。特に極性樹脂として、3,000乃至50,000のピーク分子量を有するスチレン−メタクリル酸共重合体、スチレン−アクリル酸共重合体がトナー製造時の添加量を自由に制御できるので好ましい。また、極性樹脂として、スチレン−メタクリル酸共重合体、又はスチレン−アクリル共重合体を用いた場合、トナーの結着樹脂との相溶性が良好になる。その結果、トナー粒子表面では極性樹脂の存在割合が多く、トナー粒子の中心部に行くにしたがい極性樹脂の存在割合が少なくなるように極性樹脂の存在状態を制御することができ、コア層とシェル層との密着性が高まり、トナーの耐久性が向上する。
<測定条件>
・温度20℃で5分間平衡を保つ。
・1.0℃/minのモジュレーションをかけ、温度140℃まで1℃/minで昇温。・温度140℃で5分間平衡を保つ。
・温度20℃まで降温。
その後、サンプル処理フィルター(マイショリディスクH−25−2 東ソー社製、エキクロディスク25CR ゲルマン サイエンスジャパン社製)を通過させたものをGPCの試料として調製する。
調製された試料の分子量分布及びメインピークの分子量(Mp)は、GPC測定装置(HLC−8120G PC 東ソー社製)を用い、該装置の操作マニュアルに従い、下記の測定条件で測定する。
<測定条件>
装置 :高速GPC「HLC8120 GPC」(東ソー社製)
カラム :Shodex KF−801、802、803、804、805、806、807の7連(昭和電工社製)
溶離液 :THF
流速 :1.0ml/min
オーブン温度:40.0℃
試料注入量 :0.10ml
また、試料の分子量の算出にあたっては、検量線は、標準ポリスチレン樹脂(東ソー社製TSK スタンダード ポリスチレン F−850、F−450、F−288、F−128、F−80、F−40、F−20、F−10、F−4、F−2、F−1、A−5000、A−2500、A−1000、A−500)により作成した分子量較正曲線を使用する。
(1)測定試料を精秤する。このときの試料の質量をW(g)とする。
(2)300(ml)のビーカーに試料を入れ、トルエン/エタノール(トルエンの質量/エタノールの質量=4/1)の混合液150(ml)を加え溶解する。
(3)0.1(mol/l)のKOHのエタノール溶液を用いて、電位差滴定測定装置を用いて測定する。この滴定には、例えば、京都電子株式会社の電位差滴定測定装置AT−400(winworkstation)とABP−410電動ビュレットとを用いての自動滴定が利用できる。
(4)この時のKOHのエタノール溶液の使用量をS(ml)とする。同時にブランクを測定して、この時のKOHのエタノール溶液の使用量をB(ml)とする。
(5)下記式により酸価を計算する。なお下記式中のfはKOHのファクターである。
酸価(mgKOH/g)={(S−B)×f×5.61}/W
荷電制御剤としては、公知のものを公知の添加量で利用できる。特に摩擦帯電スピードが速く、かつ、一定の摩擦帯電量を安定して維持できる荷電制御剤が好ましい。さらに、トナーを直接重合法により製造する場合には、重合阻害性が低く、水系分散媒体への可溶化物が実質的にない荷電制御剤が特に好ましい。
荷電制御剤の例として、トナーを負荷電性に制御するものとしては、有機金属化合物、キレート化合物が挙げられる。具体的には、モノアゾ金属化合物、アセチルアセトン金属化合物、芳香族オキシカルボン酸、芳香族ダイカルボン酸、オキシカルボン酸及びダイカルボン酸系の金属化合物が挙げられる。他には、芳香族オキシカルボン酸、芳香族モノ及びポリカルボン酸及びその金属塩、無水物、エステル類、ビスフェノールの如きフェノール誘導体類が挙げられる。さらに、尿素誘導体、含金属サリチル酸系化合物、含金属ナフトエ酸系化合物、ホウ素化合物、4級アンモニウム塩、カリックスアレーン、樹脂系帯電制御剤が挙げられる。
また、荷電制御剤の例として、トナーを正荷電性に制御するものとしては、以下のもの
が挙げられる。ニグロシン及び脂肪酸金属塩によるニグロシン変性物;グアニジン化合物;イミダゾール化合物;トリブチルベンジルアンモニウム−1−ヒドロキシ−4−ナフトスルフォン酸塩、テトラブチルアンモニウムテトラフルオロボレートの如き4級アンモニウム塩、及びこれらの類似体であるホスホニウム塩等のオニウム塩及びこれらのレーキ顔料;トリフェニルメタン染料及びこれらのレーキ顔料(レーキ化剤としては、りんタングステン酸、りんモリブデン酸、りんタングステンモリブデン酸、タンニン酸、ラウリン酸、没食子酸、フェリシアン化物、フェロシアン化物);高級脂肪酸の金属塩;樹脂系荷電制御剤。
本発明のトナーは、これら荷電制御剤を単独で或いは2種類以上組み合わせて含有することができる。
これら荷電制御剤の中でも、本発明の効果を十分に発揮するためには、含金属サリチル酸系化合物が好ましく、特にその金属がアルミニウムもしくはジルコニウムが好ましい。
最も好ましい荷電制御剤としては、3,5−ジ−tert−ブチルサリチル酸アルミニウム化合物である。
上記荷電制御剤の好ましい配合量は、結着樹脂100質量部に対して0.01乃至20質量部、より好ましくは0.3乃至10質量部である。しかしながら、本発明のトナーには、荷電制御剤の添加は必須ではない。
上記重合体又は共重合体を製造するためのスルホン酸基、スルホン酸基塩又はスルホン酸エステル基を有する単量体としては、スチレンスルホン酸、2−アクリルアミド−2−メチルプロパンスルホン酸、2−メタクリルアミド−2−メチルプロパンスルホン酸、ビニルスルホン酸、メタクリルスルホン酸やそれらのアルキルエステルが挙げられる。
本発明に用いられるスルホン酸基、スルホン酸基塩又はスルホン酸エステル基を含有する重合体は、上記単量体の単重合体であっても構わないが、上記単量体と他の単量体との共重合体であっても構わない。上記単量体と共重合体をなす単量体としては、ビニル系重合性単量体が挙げられ、単官能性重合性単量体或いは多官能性重合性単量体を使用することができる。
上記スルホン酸基、スルホン酸基塩又はスルホン酸エステル基を有する重合体又は共重合体の好ましい配合量は、結着樹脂100質量部に対して0.1乃至5質量部、より好ましくは0.1乃至1質量部である。
本発明のトナー粒子に添加される無機微粉体としては、シリカが好ましく、個数平均一次粒径が4乃至80nmのシリカ微粉体が好ましい。本発明において個数平均一次粒径が上記範囲にあることで、トナーの流動性が向上すると共に、トナーの保存安定性も良好になる。
製作所製)を用いて行う。撮影倍率は10万倍とし、さらに撮影された写真を2倍に引き
伸ばした後、この写真像から無機微粉体を無作為に300サンプル抽出する。そして、最大粒径を長径とし、最小粒径を短径とし、長径を基準に個数平均粒径を求める。
上記シリカには、ケイ素ハロゲン化物の蒸気相酸化により生成された乾式シリカ又はヒュームドシリカと称される乾式シリカ、及び水ガラスから製造される湿式シリカの両者が含まれる。本発明に用いられる無機微粉体としては、表面及びシリカ微粉体の内部にあるシラノール基が少なく、Na2O、SO3 2−の製造残滓の少ない乾式シリカの方が好まし
い。また、乾式シリカは、製造工程において、例えば、塩化アルミニウム、塩化チタンの如き他の金属ハロゲン化合物をケイ素ハロゲン化合物と共に用いることによって、シリカと他の金属酸化物の複合微粉体を得ることも可能である。上記シリカはそれらも包含する。
無機微粉体の疎水化処理用の処理剤としては、以下のものが挙げられる。未変性のシリコーンワニス、各種変性シリコーンワニス、未変性のシリコーンオイル、各種変性シリコーンオイル、シラン化合物、シランカップリング剤、その他有機ケイ素化合物、有機チタン化合物。これらの如き処理剤は単独で或いは併用して用いられても良い。
その中でも、シリコーンオイルにより処理された無機微粉体が好ましい。より好ましくは、無機微粉体をカップリング剤で疎水化処理すると同時或いは処理した後に、シリコーンオイルにより処理した疎水化処理無機微粉体が高湿環境下でもトナー粒子の摩擦帯電量を高く維持し、選択現像性を低減する上でよい。
一方、本発明においては重合法を用いてトナーを得る場合には、着色剤の持つ重合阻害性や水相移行性に注意を払う必要があり、好ましくは、表面改質、例えば、重合阻害のない物質による疎水化処理を着色剤に施しておいたほうが良い。
具体的には、無機系の分散剤としては、以下のものが挙げられる。リン酸三カルシウム
、リン酸マグネシウム、リン酸アルミニウム、リン酸亜鉛、炭酸マグネシウム、炭酸カルシウム、水酸化カルシウム、水酸化マグネシウム、水酸化アルミニウム、メタケイ酸カルシウム、硫酸カルシウム、硫酸バリウム、ベントナイト、シリカ、アルミナが挙げられる。また、有機系の分散剤としては、例えば、ポリビニルアルコール、ゼラチン、メチルセルロース、メチルヒドロキシプロピルセルロース、エチルセルロース、カルボキシメチルセルロースのナトリウム塩、デンプン。
また、市販のノニオン、アニオン、カチオン型の界面活性剤の利用も可能である。この様な界面活性剤としては、以下のものが挙げられる。ドデシル硫酸ナトリウム、テトラデシル硫酸ナトリウム、ペンタデシル硫酸ナトリウム、オクチル硫酸ナトリウム、オレイン酸ナトリウム、ラウリル酸ナトリウム、ステアリン酸カリウム、オレイン酸カルシウム。
上記分散剤としては、無機系の難水溶性の分散剤が好ましく、しかも酸に可溶性である難水溶性無機分散剤を用いることがより好ましい。
本発明において、上記のような難水溶性無機分散剤が分散された水系分散媒体を調製する場合には、市販の分散剤をそのまま用いて分散させてもよい。また、細かい均一な粒度を有する分散剤粒子を得るために、水の如き液媒体中で、高速撹拌下、上記したような難水溶性無機分散剤を生成させて水系分散媒体を調製してもよい。例えば、リン酸三カルシウムを分散剤として使用する場合、高速撹拌下でリン酸ナトリウム水溶液と塩化カルシウム水溶液を混合してリン酸三カルシウムの微粒子を形成することで、好ましい分散剤を得ることができる。
これらの重合開始剤の使用量は、目的とする重合度により変化するが、一般的には、重合性単量体100質量部に対して3乃至20質量部である。重合開始剤の種類は、重合法により若干異なるが、10時間半減期温度を参考に、単独又は混合して使用される。
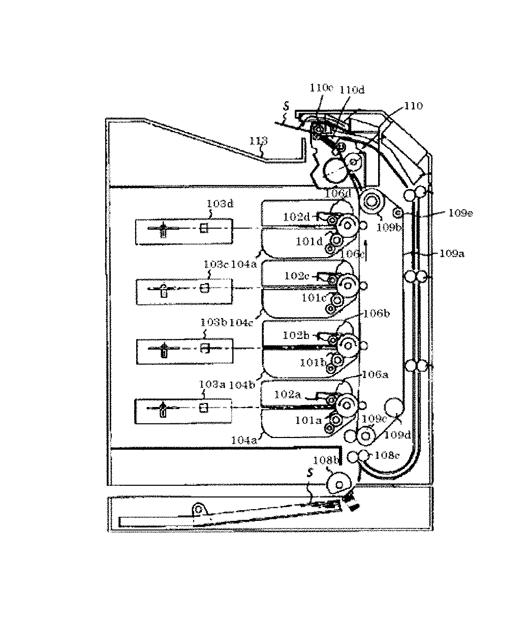
該画像形成装置の構成を図3に示す。図3は本発明に係る画像形成方法に用いられる画像形成装置の一例としてタンデム型のカラーLBP(カラーレーザープリンタ)の断面図を示す。又、図2は、当該装置の現像部の拡大図である。
図3において、101(101a〜101d)は図示矢印方向(反時計方向)に所定のプロセススピードで回転する潜像担持体としてのドラム型の電子写真感光体(以下、感光ドラムと称する)である。感光ドラム101a、101b、101c、101dは順にカラー画像のイエロー(Y)成分、マゼンタ(M)成分、シアン(C)成分、ブラック(Bk)成分のそれぞれを分担するものである。
以下Y、M、C、Bkの各画像形成装置をそれぞれユニットa、ユニットb、ユニットc、ユニットdと呼ぶ。
これらの感光ドラム101a〜101dは、不図示のドラムモータ(直流サーボモータ)によって回転駆動されるが、各感光ドラム101a〜101dにそれぞれ独立した駆動源を設けても良い。尚、ドラムモータの回転駆動は不図示のDSP(デジタルシグナルプロセッサ)によって制御され、その他の制御は不図示のCPUによって行われる。
また、静電吸着搬送ベルト109aは、駆動ローラ109bと固定ローラ109c、109e及びテンションローラ109dに張架されており、駆動ローラ109bによって図示矢印方向に回転駆動され、記録媒体Sを吸着して搬送する。
感光ドラム101aはその回転過程で1次帯電手段102aにより所定の極性及び電位に一様に1次帯電処理される。そして、感光ドラム101aに対してレーザービーム露光手段(以下、スキャナーと称する)103aにより光像露光がなされ、該感光ドラム101a上に画像情報の静電潜像が形成される。
次に、現像部104aによってトナー像が感光ドラム101a上に形成され、静電潜像が可視化される。同様な工程が他の3色(マゼンタ(B)、シアン(C)及びブラック(Bk))についてもそれぞれ実施される。
而して、4色のトナー像は、所定のタイミングで給紙ローラ108bにより搬送されてきた記録媒体Sを停止、再搬送するレジストローラ108cにより同期される。そして、感光ドラム101a〜101dと静電吸着搬送ベルト109aとのニップ部において記録媒体Sにトナー像が順次転写される。また、これと同時に記録媒体Sへのトナー像転写後の感光ドラム101a〜101dはクリーニング手段106a、106b、106c、106dによって転写残トナー等の残存付着物が除去され、繰り返し作像に供される。
4つの感光ドラム101a〜101dからトナー像が転写された記録媒体Sは、駆動ローラ109b部において静電吸着搬送ベルト109a面から分離されて定着器110に送り込まれる。そして定着器110においてトナー像が定着された後、排出ローラ110cによって排出トレー113に排出される。
トナー担持体14は、上記開口部にて図に示す右略半周面を現像剤容器23内に突入し、左略半周面を現像剤容器23外に露出して横設されている。この現像剤容器23外へ露出した面は、図2のように現像ユニット13の図中左方に位置する潜像担持体10に当接している。
トナー担持体14は矢印B方向に回転駆動され、潜像担持体10の周速は50〜170mm/s、トナー担持体14の周速は潜像担持体10の周速に対して1〜2倍の周速で回転させている。
トナー担持体14の上方位置には、SUS等の金属板や、ウレタン、シリコーン等のゴム材料、バネ弾性を有するSUS又はリン青銅の金属薄板を基体とし、トナー担持体14への当接面側にゴム材料を接着したもの等からなる規制部材16がある。この規制部材16は規制部材支持板金24に支持され、自由端側の先端近傍をトナー担持体14の外周面に面接触にて当接するように設けられている。そしてその当接方向としては、当接部に対して先端側がトナー担持体14の回転方向上流側に位置するいわゆるカウンター方向になっている。規制部材16の一例としては、厚さ1.0mmの板状のウレタンゴムを規制部材支持板金24に接着した構成で、トナー担持体14に対する当接圧(線圧)を、適宜設定したものである。当接圧は、好ましくは、20〜300N/mである。なお、当接圧の
測定は、摩擦係数が既知の金属薄板を3枚当接部に挿入し、中央の1枚をばねばかりで引き抜いた値から換算する。なお、規制部材16は当接面側にゴム材料などを接着したものの方がトナーとの付着性の面で、長期使用において規制部材へのトナーの融着、固着を抑制できるため望ましい。また規制部材16は、トナー担持体14に対する当接状態を、先端を当接させるエッジ当接とすることも可能である。なお、エッジ当接とする場合は、トナー担持体との接点におけるトナー担持体の接線に対する規制部材の当接角を40度以下になるよう設定するとトナーの層規制の点で更に望ましい。
トナー供給ローラ15は、規制部材16のトナー担持体14表面との当接部に対しトナー担持体14の回転方向上流側に当接され、かつ回転可能に支持されている。このトナー供給ローラ15のトナー担持体14に対する当接幅としては、1〜8mmが有効で、またトナー担持体14に対してその当接部において相対速度を持たせることが好ましい。
帯電ローラ29は本発明の画像形成方法に必須のものではないが、設置されているとより好ましい。帯電ローラ29はNBR、シリコーンゴム等の弾性体であり、抑圧部材30に取り付けられている。そしてこの抑圧部材30による帯電ローラ29のトナー担持体14への当接荷重は0.49〜4.9Nに設定する。帯電ローラ29の当接により、トナー担持体14上のトナー層は細密充填され均一コートされる。規制部材16と帯電ローラ29の長手位置関係は、帯電ローラ29がトナー担持体14上の規制部材16当接全域を確実に覆うことができるように配置されるのが好ましい。
また、帯電ローラ29の駆動については、トナー担持体14との間は従動又は同周速が必須であり、帯電ローラ29とトナー担持体14間に周速差が生じるとトナーコートが不均一になり、画像上にムラが発生するため好ましくない。
帯電ローラ29のバイアスは、電源27によってトナー担持体14と潜像担持体10の両者間に直流で(図2の27)印加されており、トナー担持体14上の非磁性トナー17は帯電ローラ29より、放電によって電荷付与を受ける。
帯電ローラ29のバイアスは、非磁性トナーと同極性の放電開始電圧以上のバイアスであり、トナー担持体14に対して1000〜2000Vの電位差が生じるように設定される。
帯電ローラ29による帯電付与を受けた後、トナー担持体14上に薄層形成されたトナー層は、一様に潜像担持体10との対向部である現像部へ搬送される。
この現像部において、トナー担持体14上に薄層形成されたトナー層は、図2に示す電源27によってトナー担持体14と潜像担持体10の両者間に印加された直流バイアスによって、潜像担持体10上の静電潜像にトナー像として現像される。
下記の手順によって重合法トナーを製造した。
温度60℃に加温したイオン交換水1300質量部に、リン酸三カルシウム9質量部を添加し、TK式ホモミキサー(特殊機化工業製)を用いて、10,000r/minにて撹拌した。その後10%塩酸11質量部を添加しpHを調整して水系媒体を調製した。
また、下記の材料をプロペラ式攪拌装置にて100r/minで溶解して溶解液を調製した。
・スチレン 69.0質量部
・n−ブチルアクリレート 31.0質量部
・ スルホン酸基含有樹脂(アクリベースFCA−1001−NS、藤倉化成製)
0.7質量部
・スチレン-メタクリル酸-メチルメタクリレート
(スチレン/メタクリル酸/メチルメタクリレート=95.85/1.65/2.50、Mp
=15,000、Mw=7,900、Tg=89℃、酸価=10.9
mgKOH/g、Mw/Mn=2.17)
20.0質量部
次に上記溶解液に下記の材料を添加した。
・C.I.ピグメントレッド122(PR122) 7.0質量部
・Znフタロシアニン 0.0375質量部
・負荷電制御剤(ボントロンE-88,オリエント化学製) 1.0質量部
・融点が77℃の炭化水素系ワックス(HNP−51、日本精蝋社製) 8.0質量部
その後、混合液を温度60℃に加温した後にTK式ホモミキサー(特殊機化工業製)にて、9,000r/minにて5時間攪拌し、溶解、分散した。
これに重合開始剤2,2’−アゾビス(2,4−ジメチルバレロニトリル)8.0質量部を溶解し、重合性単量体組成物を調製した。上記水系媒体中に上記重合性単量体組成物を投入し、温度60℃にてTK式ホモミキサーを用いて12,000r/minで10分間攪拌し、造粒した。
その後、プロペラ式攪拌装置に移して100r/minで攪拌しつつ、温度70℃で5時間反応させた後、温度80℃まで昇温し、更に5時間反応を行い、トナー粒子を製造した。重合反応終了後、該粒子を含むスラリーを冷却し、スラリーの10倍の水量で洗浄し、ろ過、乾燥の後、分級によって粒子径を調整してトナー粒子を得た。上記トナー粒子100質量部に対して、流動性向上剤として、ジメチルシリコーンオイル(20質量%)で処理され、トナー粒子と同極性(負極性)に摩擦帯電する疎水性シリカ微粉体(個数平均1次粒子径:10nm、BET比表面積:170m2/g)2.0質量部をヘンシェルミ
キサー(三井三池製)で3,000r/minで15分間混合してトナー(A)を得た。トナー(A)の物性を表1に示す。
実施例1において、PR122を5質量部に変更し、更に着色剤としてPR150を3質量部添加することを除いて、実施例1と同様にして製造し、トナー(B)を得た。トナー(B)の物性を表1に示す。
実施例1において、PR122をPR192に変更することを除いて、実施例1と同様にして製造し、トナー(C)を得た。トナー(C)の物性を表1に示す。
実施例1において、PR122をPR202に変更することを除いて、実施例1と同様にして製造し、トナー(D)を得た。トナー(D)の物性を表1に示す。
実施例1において、PR122をPR122とPV19の混昌体(質量比でPR122:PV19=75:25)に変更することを除いて、実施例1と同様にして製造し、トナー(E)を得た。トナー(E)の物性を表1に示す。
実施例1において、ZnフタロシアニンをCrフタロシアニンに変更することを除いて、実施例1と同様にして製造し、トナー(F)を得た。トナー(F)の物性を表1に示す。
実施例1において、ZnフタロシアニンをFeフタロシアニンに変更することを除いて
、実施例1と同様にして製造し、トナー(G)を得た。トナー(G)の物性を表1に示す。
実施例1において、ZnフタロシアニンをCoフタロシアニンに変更することを除いて、実施例1と同様にして製造し、トナー(H)を得た。トナー(H)の物性を表1に示す。
実施例1において、ZnフタロシアニンをMnフタロシアニンに変更することを除いて、実施例1と同様にして製造し、トナー(I)を得た。トナー(I)の物性を表1に示す。
実施例1において、PR122の添加量を3質量部、Znフタロシアニンの添加量を0.0015質量部に変更することを除いて、実施例1と同様にして製造し、トナー(J)を得た。トナー(J)の物性を表1に示す。
実施例1において、Znフタロシアニンの添加量を2.8質量部に変更することを除い
て、実施例1と同様にして製造し、トナー(K)を得た。トナー(K)の物性を表1に示す。
実施例1において、PR122の添加量を33質量部、Znフタロシアニンの添加量を3.05質量部に変更することを除いて、実施例1と同様にして製造し、トナー(L)を
得た。トナー(L)の物性を表1に示す。
実施例1において、PR122の添加量を0.4質量部、Znフタロシアニンの添加量
を0.0009質量部に変更することを除いて、実施例1と同様にして製造し、トナー(
M)を得た。トナー(M)の物性を表1に示す。
実施例1において、極性樹脂をTgが74℃のスチレン−ブチルアクリレート−メチルメタクリレート−マレイン酸モノブチル(スチレン/ブチルアクリレート/メチルメタク
リレート/マレイン酸モノブチル=82.35/13.50/2.50/1.65、Mp=15
,000、Mw=112,000、Tg=74℃、Mw/Mn=2.87)に変更するこ
とを除いて、実施例1と同様にして製造し、トナー(N)を得た。トナー(N)の物性を表1に示す。
実施例1において、極性樹脂をTgが128℃のスチレン−メチルメタクリレート−アクリロイルモルホリン(スチレン/メチルメタクリレート/アクリロイルモルホリン=3.
00/30.00/67.00、Mp=18,000、Mw=102,000、Tg=128℃、Mw/Mn=5.66)に変更することを除いて、実施例1と同様にして製造し、ト
ナー(O)を得た。トナー(O)の物性を表1に示す。
実施例1において、温度70℃で5時間反応させるところを温度85℃で5時間反応さ
せることを除いて、実施例1と同様にして製造し、トナー(P)を得た。トナー(P)の物性を表1に示す。
実施例1において、温度70℃で5時間反応させるところを温度45℃で5時間反応させることを除いて、実施例1と同様にして製造し、トナー(Q)を得た。トナー(Q)の物性を表1に示す。
実施例1において、スルホン酸基含樹脂を添加しないことを除いて、実施例1と同様にして製造し、トナー(R)を得た。トナー(R)の物性を表1に示す。
実施例19では以下に記した乳化凝集法によってトナーを製造した。
〔樹脂微粒子分散液の調製〕
・スチレン 69.0質量部
・n−ブチルアクリレート 31.0質量部
・スルホン酸基含有樹脂(アクリベースFCA−1001−NS、藤倉化成製))
0.7質量部
上記の成分を混合溶解し、他方、非イオン性界面活性剤(ノニポール400、花王製)
6質量部、アニオン性界面活性剤(ネオゲンSC、第一工業製薬製)10質量部をイオ
ン交換水 500質量部に溶解したものをフラスコ中に収容した。そして上記の混合溶液
を添加して分散し乳化して、10分間ゆっくりと攪拌・混合しながら、過硫酸アンモニウム4質量部を溶解したイオン交換水溶液50質量部を投入した。次いで、系内を十分に窒素で置換した後、フラスコを攪拌しながらオイルバスで系内が温度70℃になるまで加熱し、5時間そのまま乳化重合を継続した。これによりアニオン性樹脂微粒子分散液を得た。
〔着色剤粒子分散液の調製〕
・PR122 7.0質量部
・Znフタロシアニン 0.0375質量部
・非イオン性界面活性剤(ノニポール400、花王製) 1.0質量部
・イオン交換水 100.0質量部
上記成分を混合溶解し、ホモジナイザー(IKA 製ウルトラタラックス)により10分間分散し、着色剤粒子分散液を得た。
〔離型剤粒子分散液の調製〕
・融点が77℃の炭化水素系ワックス(HNP−51、日本精蝋社製)8.0質量部
・カチオン性界面活性剤(サニゾールB50、花王製) 5.0質量部
・ イオン交換水 200.0質量部
上記成分を温度95℃に加熱して、IKA製ウルトラタラックスT50 で十分に分散
した後、圧力吐出型ホモジナイザーで分散処理し、離型剤粒子分散液を得た。
〔シェル形成用微粒子分散液の調整〕
実施例1で用いた極性樹脂20.0質量部を酢酸エチル50.0質量部に溶解させた。その溶解液をIKA製ウルトラタラックスT50で乳化させながら、温度80℃で加熱して6時間保持することで脱溶剤を行い、シェル形成用微粒子分散液を得た。
〔トナー粒子の作成〕
上記樹脂微粒子分散液、上記着色剤粒子分散液、上記離型剤粒子分散液、及びポリ塩化アルミニウム1.2質量部を混合して、丸型ステンレス製フラスコ中でIKA製のウルトラタラックスT50を用い十分に混合・分散した後、加熱用オイルバスでフラスコを攪拌しながら温度51℃まで加熱した。温度51℃で60分保持した後、ここに上記シェル形成用微粒子分散液を添加した。その後、濃度0.5mol/Lの水酸化ナトリウム水溶液
を用いて系内のpHを6.5 に調整した後、ステンレス製フラスコを密閉し、攪拌軸の
シールを磁力シールして攪拌を継続しながら温度97℃まで加熱して3時間保持した。反応終了後、冷却し、濾過、イオン交換水で十分に洗浄した後、ヌッチェ式吸引濾過により固液分離を行った。これをさらに温度40℃のイオン交換水3Lを用いて再分散し、15分間300rpmで攪拌・洗浄した。この洗浄操作をさらに5回繰り返した後、ヌッチェ式吸引濾過によりNo.5A ろ紙を用いて固液分離を行った。次いで真空乾燥を12時間継続してトナー粒子を得た。以下のトナー粒子の処理方法は実施例1と同様にして製造し、トナー(R)を得た。トナー(R)の物性を表1に示す。
実施例1において、Znフタロシアニンを添加しないことを除いて、実施例1と同様にして製造し、トナー(a)を得た。トナー(a)の物性を表1に示す。
実施例1において、Znフタロシアニンの添加量を4質量部にし、極性樹脂を添加しないことを除いて、実施例1と同様にして製造し、トナー(b)を得た。トナー(b)の物性を表1に示す。
実施例1において、ZnフタロシアニンをMgフタロシアニンに変更することを除いて、実施例1と同様にして製造し、トナー(c)を得た。トナー(c)の物性を表1に示す。
<現像性に関する評価>
(1)カブリ/画像濃度について
図2に示す接触1成分現像システムの画像形成装置において、現像器に実施例及び比較例記載のトナーを250g充填したものを作り、常温常湿(温度23℃、湿度60%RH)環境下にて24時間放置する。この際、転写紙も同様に放置する。なお、現像性に関す
る評価では転写紙としてはXerox4200(75g/m2紙)を用いた。その後、常
温常湿(温度23℃、湿度60%RH)環境下にて図2に示す接触1成分現像システムの画像形成装置を図3のユニットb部に装着し、マゼンタ単色モードにてプロセススピードを250mm/sとして実施した。この条件下で、印字比率2%のチャートにて連続出力を実施する。現像性に関する評価は初期/10,000枚/20,000枚の時点で実施し、以下の方法で画像濃度/カブリの確認をする。
カブリの評価方法は白地部分を有する画像を出力し、「REFLECTMETER MODEL TC−6DS」(東京電色製)により測定した。プリントアウト画像の白地部分の白色度(反射率Ds(%))と転写紙の白色度(平均反射率Dr(%))の差から、カブリ濃度(%)(=Dr(%)−Ds(%))を算出し、耐久評価終了時の画像カブリを評価した。フィルターは、アンバーライトフィルターを用いた。A、BおよびCは使用上問題とならないレベルであるが、Dは使用上問題となるレベルである。
A:0.5%未満
B:0.5%以上1.0%未満
C:1.0%以上1.5%未満
D:1.5%以上5.0%未満
画像濃度は「マクベス反射濃度計 RD918」(マクベス製)を用いて、原稿濃度が0.00の白地部分の画像に対する相対濃度を測定した。A、BおよびCは使用上問題とならないレベルであるが、Dは使用上問題となるレベルである。
A:1.40以上
B:1.30以上、1.40未満
C:1.20以上、1.30未満
D:1.10以上、1.20未満
(2)転写効率/転写均一性について
現像性に関する評価と同様に、図2に示す接触1成分現像システムの画像形成装置において、実施例及び比較例記載のトナーを250g充填したものを作り、高温高湿(温度30℃/湿度85%RH)環境下にて24時間放置する。この際、転写紙も同様に放置する。その後、図2に示す接触1成分現像システムの画像形成装置を図3のユニットb部に装着し、マゼンタ単色モードにて高温高湿(温度30℃/湿度85%RH)環境下、プロセススピードを200mm/sとして実施した。印字比率2%のチャートにて連続出力を実施する。転写効率/転写均一性の評価は初期/10,000枚/20,000枚の時点で実施した。
転写紙としてXerox4200(75g/cm2紙)を用い、ベタ全域画像(トナー
のり量0.55mg/cm2)を1枚出力中(転写工程中)に強制的に本体電源を切る。
そして感光ドラム上の転写前トナーと、転写材に転写されたトナーの単位面積当たりの重量を測定し、以下式にて転写効率を測定する。A、BおよびCは使用上問題とならないレベルであるが、Dは使用上問題となるレベルである。
転写効率=100×(転写材に転写されたトナー/感光ドラム上の転写前トナー)
A:90%以上
B:82%以上90%未満
C:75%以上82%未満
D:75%未満
トナー載り量0.20mg/cm2のハーフトーン全域画像を、転写紙としてXero
x4200(75g/cm2紙)及びFox River Bond(90/cm2紙)を用いて評価した。以下に判定基準を示す。
A:Xerox4200及びFox River Bondともに良好な転写均一性を示しており、使用上全く問題ないレベル。
B:Fox River Bondにて転写均一性の若干劣るものが認められるものの、使用上問題ないレベル。
C:Fox River Bondにて転写均一性の若干劣るものが認められるものの、使用上問題となる可能性が低いレベル。
D:Fox River Bondにて転写均一性の劣るものが認められるため、使用上問題となる可能性が高いレベル。
(3)低温定着性/画像光沢性について
図2に示す接触1成分現像システムの画像形成装置において、現像器に実施例及び比較例記載のトナーを250g充填したものを作り、常温常湿(温度23℃、湿度60%RH)環境下にて24時間放置する。この際、転写紙も同様に放置する。その後、常温常湿(温度23℃、湿度60%RH)環境下にて図2に示す接触1成分現像システムの画像形成装置を図3のユニットb部に装着し、マゼンタ単色モードにてプロセススピードを200mm/sとして未定着画像を出力した。
転写材として、複写機用普通紙(64g/m2紙)を用い、トナー載り量が0.6mg/cm2のベタ画像をのせた未定着画像を得た。これを、IRC3200(キヤノン株式
会社製)の定着機を用いてプロセススピードを250mm/sにて定着させた。定着温度は温度130乃至200℃の範囲を5℃間隔で実施した。その画像を4.9kPaの荷重をかけたシルボン紙で5回往復し、濃度低下率が20%以上となる温度を定着下限温度として評価した。A、BおよびCは使用上問題とならないレベルであるが、Dは使用上問題となるレベルである。
A:定着下限温度が、145℃未満
B:定着下限温度が、145℃以上、155℃未満
C:定着下限温度が、155℃以上、165℃未満
D:定着下限温度が、165℃以上、175℃未満
転写材として、Xerox4200(75g/m2紙)を用い、トナー載り量が0.5mg/cm2のベタ画像をのせた未定着画像を得た。これを、IRC3200(キヤノン
株式会社製)の定着機を用いて、プロセススピードを100mm/s、定着温度を温度180℃にて定着させた。「PG−3D」(日本電色工業株式会製)を用いて、測定光学部角度75°における画像光沢度を測定した。A、BおよびCは使用上問題とならないレベルであるが、Dは使用上問題となるレベルである。
A:25以上
B:20以上、25未満
C:18以上、20未満
D:15以上、18未満
トナー(A)について上記評価を実施した結果、各項目において良好な結果が得られた
。評価結果を表2に示す。
トナー(B)について上記評価を実施した結果、各項目において良好な結果が得られた。評価結果を表2に示す。
トナー(C)について上記評価を実施した結果、各項目において良好な結果が得られた。評価結果を表2に示す。
トナー(D)について上記評価を実施した結果、各項目において良好な結果が得られた。評価結果を表2に示す。
トナー(E)について上記評価を実施した結果、各項目において良好な結果が得られた。評価結果を表2に示す。
トナー(F)について上記評価を実施した結果、各項目において概ね良好な結果が得られた。評価結果を表2に示す。
トナー(G)について上記評価を実施した結果、各項目において概ね良好な結果が得られた。評価結果を表2に示す。
トナー(H)について上記評価を実施した結果、各項目において概ね良好な結果が得られた。評価結果を表2に示す。
トナー(I)について上記評価を実施した結果、各項目において概ね良好な結果が得られた。評価結果を表2に示す。
トナー(J)について上記評価を実施した結果、定着性が悪化した。この理由は、キナクリドン骨格を有する着色剤と金属フタロシアニンの添加量比が大きすぎるためであると考えられる。評価結果を表2に示す。
トナー(K)について上記評価を実施した結果、現像性が悪化した。この理由は、キナクリドン骨格を有する着色剤と金属フタロシアニン類の添加量比が小さすぎるためであると考えられる。評価結果を表2に示す。
トナー(L)について上記評価を実施した結果、現像性及び転写性が悪化した。この理由はZnフタロシアニンの添加量が多すぎるためであると考えられる。評価結果を表2に示す。
トナー(M)について上記評価を実施した結果、現像性が悪化した。この理由は、金属フタロシアニン類の添加量が少なすぎるためであると考えられる。評価結果を表2に示す。
トナー(N)について上記評価を実施した結果、定着性が悪化した。この理由は、極性樹脂のTgが低すぎるためであると考えられる。評価結果を表2に示す。
トナー(O)について上記評価を実施した結果、現像性及び定着性が悪化した。この理由は、極性樹脂のTgが高すぎるためであると考えられる。評価結果を表2に示す。
トナー(P)について上記評価を実施した結果、定着性(画像光沢性)が悪化した。この理由は、トナーのZ(50)の値が低すぎるために高温オフセットが発生し画像光沢性が悪化したものと考えられる。評価結果を表2に示す。
トナー(Q)について上記評価を実施した結果、定着性が悪化した。この理由は、トナーのZ(50)の値が高すぎるためであると考えられる。評価結果を表2に示す。
トナー(R)について上記評価を実施した結果、現像性と転写性が悪化した。この理由は、スルホン酸基含有樹脂を添加しないためにトナーの帯電不良が発生したためであると考えられる。評価結果を表2に示す。
トナー(S)について上記評価を実施した結果、乳化凝集法でトナーを製造しても、各項目において概ね良好な結果が得られた。評価結果を表2に示す。
トナー(a)について上記評価を実施した結果、特に現像性が著しく悪化した。これはZnフタロシアニンを添加しなかったためであると考えられる。評価結果を表2に示す。
トナー(b)について上記評価を実施した結果、初期において定着性が著しく悪化していたので、2万枚のプリントアウト評価を実施しなかった。評価結果を表2に示す。
トナー(c)について上記評価を実施した結果、現像性及び転写性が著しく悪化した。これはMgフタロシアニンを使用しためであると考えられる。評価結果を表2に示す。
11 潜像担持体接触帯電部材
12 電源
13 現像ユニット
14 トナー担持体
15 トナー供給ローラ
16 規制部材
17 非磁性トナー
23 現像剤容器
24 規制部材支持板金
29 帯電ローラ
30 抑圧部材
101a〜d 感光ドラム
102a〜d 一次帯電手段
103a〜d レーザービーム露光手段
104a〜d 現像部
106a〜d クリーニング手段
108b 給紙ローラ
108c レジストローラ
109a 静電吸着搬送ベルト
109b 駆動ローラ
109c、e 固定ローラ
109d テンションローラ
110 定着器
110c 排出ローラ
113 排出トレー
S 記録媒体
Claims (10)
- 結着樹脂と、離型剤と、キナクリドン骨格を有する着色剤と、中心金属が[Cr、Fe、Co、Zn、及びMn]からなる群から選ばれるいずれかである金属フタロシアニン及び/又は金属フタロシアニン誘導体を少なくとも含有するマゼンタトナー粒子を有するマゼンタトナーであって、
前記トナーに対する微小圧縮試験において、測定温度25℃で、前記トナー1粒子に負荷速度9.8×10−5N/secで2.94×10−4Nの最大荷重をかけ終えたときに得られる変位量(μm)を変位量X2、前記最大荷重をかけ終えた後、前記最大荷重で0.1秒間放置して得られる変位量(μm)を最大変位量X3、前記0.1秒間放置後、除荷速度9.8×10−5N/secで除荷し、荷重が0となったときに得られる変位量(μm)を変位量X4、前記最大変位量X3と変位量X4との差を弾性変位量(X3−X4)とし、前記弾性変位量(X3−X4)の前記最大変位量X3に対する百分率[(X3−X4)/X3×100:復元率]をZ(25)(%)としたときに、Z(25)が、60≦Z(25)≦90、を満足することを特徴とするマゼンタトナー。 - 前記トナーに対する微小圧縮試験において、測定温度50℃で、前記トナー1粒子に負荷速度9.8×10−5N/secで2.94×10−4Nの最大荷重をかけ終えたときに得られる変位量(μm)を変位量X2、前記最大荷重をかけ終えた後、前記最大荷重で0.1秒間放置して得られる変位量(μm)を最大変位量X3、前記0.1秒間放置後、除荷速度9.8×10−5N/secで除荷し、荷重が0となったときに得られる変位量(μm)を変位量X4、前記最大変位量X3と変位量X4との差を弾性変位量(X3−X4)とし、前記弾性変位量(X3−X4)の前記最大変位量X3に対する百分率[(X3−X4)/X3×100:復元率]をZ(50)(%)としたときに、Z(50)が、10≦Z(50)≦50、を満足することを特徴とする請求項1に記載のマゼンタトナー。
- 前記キナクリドン骨格を有する着色剤は、C.I.Pigment Red 122、192、202、又はC.I.Pigment Violet 19であることを特徴とする請求項1又は2に記載のマゼンタトナー。
- 前記マゼンタトナー粒子は、スルホン酸基、スルホン酸塩基又はスルホン酸エステル基を有する重合体または共重合体を含有することを特徴とする請求項1乃至3のいずれか1項に記載のマゼンタトナー。
- 前記マゼンタトナー粒子は、極性樹脂を含有しており、前記極性樹脂のガラス転移温度が80乃至120℃であることを特徴とする請求項1乃至4のいずれか1項に記載のマゼンタトナー。
- 前記金属フタロシアニン及び/又は金属フタロシアニン誘導体が、マゼンタトナー粒子中において、結着樹脂100質量部に対して0.001乃至3.000質量部含有されていることを特徴とする請求項1乃至5のいずれか1項に記載のマゼンタトナー。
- 前記金属フタロシアニン及び/又は金属フタロシアニン誘導体の中心金属が、Znであることを特徴とする請求項1乃至6のいずれか1項に記載のマゼンタトナー。
- 前記マゼンタトナーに含有されるキナクリドン骨格を有する着色剤と金属フタロシアニン及び/又は金属フタロシアニン誘導体との含有量の質量比が、10乃至500であることを特徴とする請求項1乃至7のいずれか1項に記載のマゼンタトナー。
- 前記マゼンタトナー粒子は、水系媒体中で製造することにより得られたものであること
を特徴とする請求項1乃至8のいずれか1項に記載のマゼンタトナー。 - 前記マゼンタトナー粒子は、少なくとも重合性単量体、着色剤、及び離型剤を含有する重合性単量体組成物を水系媒体中に分散、造粒し、重合性単量体を重合することにより得られたトナー粒子であることを特徴とする請求項1乃至9のいずれか1項に記載のマゼンタトナー。
Priority Applications (1)
| Application Number | Priority Date | Filing Date | Title |
|---|---|---|---|
| JP2008219201A JP5344551B2 (ja) | 2008-08-28 | 2008-08-28 | マゼンタトナー |
Applications Claiming Priority (1)
| Application Number | Priority Date | Filing Date | Title |
|---|---|---|---|
| JP2008219201A JP5344551B2 (ja) | 2008-08-28 | 2008-08-28 | マゼンタトナー |
Publications (3)
| Publication Number | Publication Date |
|---|---|
| JP2010054770A true JP2010054770A (ja) | 2010-03-11 |
| JP2010054770A5 JP2010054770A5 (ja) | 2011-09-29 |
| JP5344551B2 JP5344551B2 (ja) | 2013-11-20 |
Family
ID=42070768
Family Applications (1)
| Application Number | Title | Priority Date | Filing Date |
|---|---|---|---|
| JP2008219201A Expired - Fee Related JP5344551B2 (ja) | 2008-08-28 | 2008-08-28 | マゼンタトナー |
Country Status (1)
| Country | Link |
|---|---|
| JP (1) | JP5344551B2 (ja) |
Cited By (2)
| Publication number | Priority date | Publication date | Assignee | Title |
|---|---|---|---|---|
| JP2011215311A (ja) * | 2010-03-31 | 2011-10-27 | Mitsubishi Chemicals Corp | 静電荷像現像用トナーの製造方法 |
| JP2012212132A (ja) * | 2011-03-22 | 2012-11-01 | Mitsubishi Chemicals Corp | 静電荷像現像用トナー |
Citations (5)
| Publication number | Priority date | Publication date | Assignee | Title |
|---|---|---|---|---|
| JP2003277643A (ja) * | 2002-01-17 | 2003-10-02 | Canon Inc | 顔料分散剤、顔料分散組成物、トナー及びトナーの製造方法 |
| JP2006178329A (ja) * | 2004-12-24 | 2006-07-06 | Canon Inc | 非磁性トナー |
| JP2006184698A (ja) * | 2004-12-28 | 2006-07-13 | Canon Inc | 非磁性一成分補給トナーを用いた画像形成装置 |
| JP2006184687A (ja) * | 2004-12-28 | 2006-07-13 | Canon Inc | トナー、画像形成方法、画像形成装置 |
| JP2008145490A (ja) * | 2006-12-06 | 2008-06-26 | Canon Inc | トナー及び画像形成方法 |
-
2008
- 2008-08-28 JP JP2008219201A patent/JP5344551B2/ja not_active Expired - Fee Related
Patent Citations (5)
| Publication number | Priority date | Publication date | Assignee | Title |
|---|---|---|---|---|
| JP2003277643A (ja) * | 2002-01-17 | 2003-10-02 | Canon Inc | 顔料分散剤、顔料分散組成物、トナー及びトナーの製造方法 |
| JP2006178329A (ja) * | 2004-12-24 | 2006-07-06 | Canon Inc | 非磁性トナー |
| JP2006184698A (ja) * | 2004-12-28 | 2006-07-13 | Canon Inc | 非磁性一成分補給トナーを用いた画像形成装置 |
| JP2006184687A (ja) * | 2004-12-28 | 2006-07-13 | Canon Inc | トナー、画像形成方法、画像形成装置 |
| JP2008145490A (ja) * | 2006-12-06 | 2008-06-26 | Canon Inc | トナー及び画像形成方法 |
Cited By (2)
| Publication number | Priority date | Publication date | Assignee | Title |
|---|---|---|---|---|
| JP2011215311A (ja) * | 2010-03-31 | 2011-10-27 | Mitsubishi Chemicals Corp | 静電荷像現像用トナーの製造方法 |
| JP2012212132A (ja) * | 2011-03-22 | 2012-11-01 | Mitsubishi Chemicals Corp | 静電荷像現像用トナー |
Also Published As
| Publication number | Publication date |
|---|---|
| JP5344551B2 (ja) | 2013-11-20 |
Similar Documents
| Publication | Publication Date | Title |
|---|---|---|
| JP5306217B2 (ja) | トナー | |
| JP5079020B2 (ja) | イエロートナー | |
| CN1614520B (zh) | 彩色调色剂及二组分显影剂 | |
| JP5742820B2 (ja) | 静電潜像現像用トナー | |
| JP5742819B2 (ja) | 静電潜像現像用トナー | |
| JP3745173B2 (ja) | イエロートナー、イエロートナーの製造方法及び画像形成方法 | |
| JP5074755B2 (ja) | トナー | |
| JP5142839B2 (ja) | トナー及び画像形成方法 | |
| JP2675950B2 (ja) | 静電荷像現像用トナー | |
| JP2002214821A (ja) | 静電荷像現像用トナーおよび画像形成方法 | |
| JP6021476B2 (ja) | トナーの製造方法 | |
| JP2002123036A (ja) | 乾式トナー | |
| JP5645580B2 (ja) | トナー | |
| JP5637798B2 (ja) | マゼンタトナー | |
| JP3984757B2 (ja) | イエロートナー、該トナーの製造方法及び画像形成方法 | |
| JP5344551B2 (ja) | マゼンタトナー | |
| JP2003302792A (ja) | シアントナーおよびトナーセット | |
| JP5455748B2 (ja) | トナー及びトナー粒子の製造方法 | |
| JP3862490B2 (ja) | 乾式トナー及び画像形成方法 | |
| JP5517754B2 (ja) | トナー | |
| JP5836766B2 (ja) | イエロートナー | |
| JP5999137B2 (ja) | 静電潜像用現像剤 | |
| JP5274157B2 (ja) | マゼンタトナー | |
| JP2009204774A (ja) | 静電荷像現像用トナーとそれを用いた画像形成方法 | |
| JP2002123041A (ja) | イエロートナー及びイエロー用現像剤 |
Legal Events
| Date | Code | Title | Description |
|---|---|---|---|
| A521 | Request for written amendment filed |
Free format text: JAPANESE INTERMEDIATE CODE: A523 Effective date: 20110817 |
|
| A621 | Written request for application examination |
Free format text: JAPANESE INTERMEDIATE CODE: A621 Effective date: 20110817 |
|
| A977 | Report on retrieval |
Free format text: JAPANESE INTERMEDIATE CODE: A971007 Effective date: 20130328 |
|
| A131 | Notification of reasons for refusal |
Free format text: JAPANESE INTERMEDIATE CODE: A131 Effective date: 20130416 |
|
| A521 | Request for written amendment filed |
Free format text: JAPANESE INTERMEDIATE CODE: A523 Effective date: 20130617 |
|
| TRDD | Decision of grant or rejection written | ||
| A01 | Written decision to grant a patent or to grant a registration (utility model) |
Free format text: JAPANESE INTERMEDIATE CODE: A01 Effective date: 20130716 |
|
| A61 | First payment of annual fees (during grant procedure) |
Free format text: JAPANESE INTERMEDIATE CODE: A61 Effective date: 20130808 |
|
| R151 | Written notification of patent or utility model registration |
Ref document number: 5344551 Country of ref document: JP Free format text: JAPANESE INTERMEDIATE CODE: R151 |
|
| LAPS | Cancellation because of no payment of annual fees |
