JP2010054649A - 液晶表示装置 - Google Patents

液晶表示装置 Download PDF

Info

Publication number
JP2010054649A
JP2010054649A JP2008217637A JP2008217637A JP2010054649A JP 2010054649 A JP2010054649 A JP 2010054649A JP 2008217637 A JP2008217637 A JP 2008217637A JP 2008217637 A JP2008217637 A JP 2008217637A JP 2010054649 A JP2010054649 A JP 2010054649A
Authority
JP
Japan
Prior art keywords
electrode film
pixel
liquid crystal
film
common electrode
Prior art date
Legal status (The legal status is an assumption and is not a legal conclusion. Google has not performed a legal analysis and makes no representation as to the accuracy of the status listed.)
Granted
Application number
JP2008217637A
Other languages
English (en)
Other versions
JP4600547B2 (ja
Inventor
Yasuhiro Kanetani
康弘 金谷
Keiichi Yagi
圭一 八木
Current Assignee (The listed assignees may be inaccurate. Google has not performed a legal analysis and makes no representation or warranty as to the accuracy of the list.)
Sony Corp
Original Assignee
Sony Corp
Priority date (The priority date is an assumption and is not a legal conclusion. Google has not performed a legal analysis and makes no representation as to the accuracy of the date listed.)
Filing date
Publication date
Application filed by Sony Corp filed Critical Sony Corp
Priority to JP2008217637A priority Critical patent/JP4600547B2/ja
Priority to TW098127300A priority patent/TWI422904B/zh
Priority to US12/545,920 priority patent/US8102498B2/en
Priority to CN2009101675766A priority patent/CN101661178B/zh
Publication of JP2010054649A publication Critical patent/JP2010054649A/ja
Application granted granted Critical
Publication of JP4600547B2 publication Critical patent/JP4600547B2/ja
Active legal-status Critical Current
Anticipated expiration legal-status Critical

Links

Images

Classifications

    • GPHYSICS
    • G02OPTICS
    • G02FOPTICAL DEVICES OR ARRANGEMENTS FOR THE CONTROL OF LIGHT BY MODIFICATION OF THE OPTICAL PROPERTIES OF THE MEDIA OF THE ELEMENTS INVOLVED THEREIN; NON-LINEAR OPTICS; FREQUENCY-CHANGING OF LIGHT; OPTICAL LOGIC ELEMENTS; OPTICAL ANALOGUE/DIGITAL CONVERTERS
    • G02F1/00Devices or arrangements for the control of the intensity, colour, phase, polarisation or direction of light arriving from an independent light source, e.g. switching, gating or modulating; Non-linear optics
    • G02F1/01Devices or arrangements for the control of the intensity, colour, phase, polarisation or direction of light arriving from an independent light source, e.g. switching, gating or modulating; Non-linear optics for the control of the intensity, phase, polarisation or colour 
    • G02F1/13Devices or arrangements for the control of the intensity, colour, phase, polarisation or direction of light arriving from an independent light source, e.g. switching, gating or modulating; Non-linear optics for the control of the intensity, phase, polarisation or colour  based on liquid crystals, e.g. single liquid crystal display cells
    • G02F1/133Constructional arrangements; Operation of liquid crystal cells; Circuit arrangements
    • G02F1/1333Constructional arrangements; Manufacturing methods
    • G02F1/1339Gaskets; Spacers; Sealing of cells
    • G02F1/13394Gaskets; Spacers; Sealing of cells spacers regularly patterned on the cell subtrate, e.g. walls, pillars
    • GPHYSICS
    • G02OPTICS
    • G02FOPTICAL DEVICES OR ARRANGEMENTS FOR THE CONTROL OF LIGHT BY MODIFICATION OF THE OPTICAL PROPERTIES OF THE MEDIA OF THE ELEMENTS INVOLVED THEREIN; NON-LINEAR OPTICS; FREQUENCY-CHANGING OF LIGHT; OPTICAL LOGIC ELEMENTS; OPTICAL ANALOGUE/DIGITAL CONVERTERS
    • G02F1/00Devices or arrangements for the control of the intensity, colour, phase, polarisation or direction of light arriving from an independent light source, e.g. switching, gating or modulating; Non-linear optics
    • G02F1/01Devices or arrangements for the control of the intensity, colour, phase, polarisation or direction of light arriving from an independent light source, e.g. switching, gating or modulating; Non-linear optics for the control of the intensity, phase, polarisation or colour 
    • G02F1/13Devices or arrangements for the control of the intensity, colour, phase, polarisation or direction of light arriving from an independent light source, e.g. switching, gating or modulating; Non-linear optics for the control of the intensity, phase, polarisation or colour  based on liquid crystals, e.g. single liquid crystal display cells
    • G02F1/133Constructional arrangements; Operation of liquid crystal cells; Circuit arrangements
    • G02F1/13306Circuit arrangements or driving methods for the control of single liquid crystal cells
    • G02F1/13312Circuits comprising photodetectors for purposes other than feedback
    • GPHYSICS
    • G02OPTICS
    • G02FOPTICAL DEVICES OR ARRANGEMENTS FOR THE CONTROL OF LIGHT BY MODIFICATION OF THE OPTICAL PROPERTIES OF THE MEDIA OF THE ELEMENTS INVOLVED THEREIN; NON-LINEAR OPTICS; FREQUENCY-CHANGING OF LIGHT; OPTICAL LOGIC ELEMENTS; OPTICAL ANALOGUE/DIGITAL CONVERTERS
    • G02F1/00Devices or arrangements for the control of the intensity, colour, phase, polarisation or direction of light arriving from an independent light source, e.g. switching, gating or modulating; Non-linear optics
    • G02F1/01Devices or arrangements for the control of the intensity, colour, phase, polarisation or direction of light arriving from an independent light source, e.g. switching, gating or modulating; Non-linear optics for the control of the intensity, phase, polarisation or colour 
    • G02F1/13Devices or arrangements for the control of the intensity, colour, phase, polarisation or direction of light arriving from an independent light source, e.g. switching, gating or modulating; Non-linear optics for the control of the intensity, phase, polarisation or colour  based on liquid crystals, e.g. single liquid crystal display cells
    • G02F1/133Constructional arrangements; Operation of liquid crystal cells; Circuit arrangements
    • G02F1/1333Constructional arrangements; Manufacturing methods
    • G02F1/13338Input devices, e.g. touch panels
    • GPHYSICS
    • G02OPTICS
    • G02FOPTICAL DEVICES OR ARRANGEMENTS FOR THE CONTROL OF LIGHT BY MODIFICATION OF THE OPTICAL PROPERTIES OF THE MEDIA OF THE ELEMENTS INVOLVED THEREIN; NON-LINEAR OPTICS; FREQUENCY-CHANGING OF LIGHT; OPTICAL LOGIC ELEMENTS; OPTICAL ANALOGUE/DIGITAL CONVERTERS
    • G02F1/00Devices or arrangements for the control of the intensity, colour, phase, polarisation or direction of light arriving from an independent light source, e.g. switching, gating or modulating; Non-linear optics
    • G02F1/01Devices or arrangements for the control of the intensity, colour, phase, polarisation or direction of light arriving from an independent light source, e.g. switching, gating or modulating; Non-linear optics for the control of the intensity, phase, polarisation or colour 
    • G02F1/13Devices or arrangements for the control of the intensity, colour, phase, polarisation or direction of light arriving from an independent light source, e.g. switching, gating or modulating; Non-linear optics for the control of the intensity, phase, polarisation or colour  based on liquid crystals, e.g. single liquid crystal display cells
    • G02F1/133Constructional arrangements; Operation of liquid crystal cells; Circuit arrangements
    • G02F1/1333Constructional arrangements; Manufacturing methods
    • G02F1/1339Gaskets; Spacers; Sealing of cells
    • G02F1/13398Spacer materials; Spacer properties
    • GPHYSICS
    • G02OPTICS
    • G02FOPTICAL DEVICES OR ARRANGEMENTS FOR THE CONTROL OF LIGHT BY MODIFICATION OF THE OPTICAL PROPERTIES OF THE MEDIA OF THE ELEMENTS INVOLVED THEREIN; NON-LINEAR OPTICS; FREQUENCY-CHANGING OF LIGHT; OPTICAL LOGIC ELEMENTS; OPTICAL ANALOGUE/DIGITAL CONVERTERS
    • G02F1/00Devices or arrangements for the control of the intensity, colour, phase, polarisation or direction of light arriving from an independent light source, e.g. switching, gating or modulating; Non-linear optics
    • G02F1/01Devices or arrangements for the control of the intensity, colour, phase, polarisation or direction of light arriving from an independent light source, e.g. switching, gating or modulating; Non-linear optics for the control of the intensity, phase, polarisation or colour 
    • G02F1/13Devices or arrangements for the control of the intensity, colour, phase, polarisation or direction of light arriving from an independent light source, e.g. switching, gating or modulating; Non-linear optics for the control of the intensity, phase, polarisation or colour  based on liquid crystals, e.g. single liquid crystal display cells
    • G02F1/133Constructional arrangements; Operation of liquid crystal cells; Circuit arrangements
    • G02F1/1333Constructional arrangements; Manufacturing methods
    • G02F1/1343Electrodes
    • G02F1/134309Electrodes characterised by their geometrical arrangement
    • G02F1/134372Electrodes characterised by their geometrical arrangement for fringe field switching [FFS] where the common electrode is not patterned
    • GPHYSICS
    • G02OPTICS
    • G02FOPTICAL DEVICES OR ARRANGEMENTS FOR THE CONTROL OF LIGHT BY MODIFICATION OF THE OPTICAL PROPERTIES OF THE MEDIA OF THE ELEMENTS INVOLVED THEREIN; NON-LINEAR OPTICS; FREQUENCY-CHANGING OF LIGHT; OPTICAL LOGIC ELEMENTS; OPTICAL ANALOGUE/DIGITAL CONVERTERS
    • G02F2201/00Constructional arrangements not provided for in groups G02F1/00 - G02F7/00
    • G02F2201/50Protective arrangements
    • GPHYSICS
    • G02OPTICS
    • G02FOPTICAL DEVICES OR ARRANGEMENTS FOR THE CONTROL OF LIGHT BY MODIFICATION OF THE OPTICAL PROPERTIES OF THE MEDIA OF THE ELEMENTS INVOLVED THEREIN; NON-LINEAR OPTICS; FREQUENCY-CHANGING OF LIGHT; OPTICAL LOGIC ELEMENTS; OPTICAL ANALOGUE/DIGITAL CONVERTERS
    • G02F2201/00Constructional arrangements not provided for in groups G02F1/00 - G02F7/00
    • G02F2201/50Protective arrangements
    • G02F2201/503Arrangements improving the resistance to shock

Landscapes

  • Physics & Mathematics (AREA)
  • Nonlinear Science (AREA)
  • Liquid Crystal (AREA)
  • Mathematical Physics (AREA)
  • Chemical & Material Sciences (AREA)
  • Crystallography & Structural Chemistry (AREA)
  • General Physics & Mathematics (AREA)
  • Optics & Photonics (AREA)

Abstract

【課題】画素欠陥が発生するのを防止して、信頼性を向上することのできる液晶表示装置を提供する。
【解決手段】液晶表示装置1には、第1のガラス基板10と第2のガラス基板35とが設けられ、第1のガラス基板10と第2のガラス基板35との間隔を保つスペーサ31が配置されている。第1のガラス基板10と第2のガラス基板35との間には、液晶層36が設けられている。第1のガラス基板10側には、画素絶縁膜26を挟み込むように形成された画素電極膜29と共通電極膜23とが設けられている。画素電極膜29および共通電極膜23のうち少なくともいずれか、ならびに画素絶縁膜26は、スペーサ31に対向する領域が除去されている。このため、スペーサ31への押圧に伴う軟材料からなる層間絶縁膜22の変形によって膜構造が破損し画素電極膜29と共通電極膜23とが短絡することが回避される。
【選択図】図1

Description

本発明は、横電界モードの液晶によって表示が行われる液晶表示装置に関する。
液晶表示装置の一タイプとして、FFS(フリンジフィールドスイッチング)モード等の横電界モード液晶を用いたものがある。図11は、FFSモードの液晶表示装置100の一部を拡大した断面部分を表すものである。FFSモードの液晶表示装置100には、液晶表示パネルを構成する2枚のガラス基板101a、101bが備えられている。一方のガラス基板101aと他方のガラス基板101bとの間には、ガラス基板101a、101b間の距離を決めるスペーサ102が配置されている。一方のガラス基板101a側には、薄膜トランジスタ103が形成されている。薄膜トランジスタ103の上には、凹凸を平坦化するための層間絶縁膜104が有機膜等によって形成されている。層間絶縁膜104の上方には、共通電極膜105と画素絶縁膜106とが順次積層され、さらに、その上には、スリット状の隙間が設けられた画素電極膜107が積層配置されている。画素電極膜107と他方のガラス基板101bとの間には、液晶層108が配置されている。このような液晶表示装置100が開示されたものには、特許文献1がある。
特開2008−20753号公報
上記したように、液晶表示装置にはスペーサが画素内または画素外に配設される。しかしながら、例えばスペーサを画素内に配置する場合に、その画素内の何処に配設するのが適切であるか、あるいはどのような構造にするのがよいか等について具体的な検討はあまりなされていない。
上記した図11はスペーサを画素内に配置した場合の一例を示しているが、このような構造の液晶表示装置の画面を押す力が加わると、この力がスペーサ102に伝達され、さらに、スペーサの下方の画素電極膜107、画素絶縁膜106および共通電極膜105へと伝わる。ここで、画素電極膜107および共通電極膜105は酸化インジウム等の硬い材料で形成され、画素絶縁膜106はSiN(窒化シリコン)等の硬い材料で形成されることが多い。これに対し、共通電極膜105の下の層間絶縁膜104は、例えばアクリル樹脂等の有機材料で形成されることが多く、軟らかく、変形し易くなっている。このため、スペーサ102に比較的大きな力が加わった場合には、例えば図12に示したように、スペーサ102の下側部分で層間絶縁膜104が変形すると同時に、画素電極膜107、画素絶縁膜106および共通電極膜105にはクラックが生じ、場合によっては完全に破断する。この場合には、割れた画素電極膜107または共通電極膜105の一部によって、画素電極膜107と共通電極膜105とが短絡し、液晶表示装置100に画素欠陥が発生する。特に、このような問題は、画素の電界を強くするために、画素絶縁膜106の膜厚を薄くしたときに顕著になる。
さらに、最近、液晶表示装置として、表示機能のみならず撮像機能をも有するものが提案されているが、特にこの種の撮像機能付き液晶表示装置では、画面が指等で頻繁にタッチされることから、上記のような画面への加圧による画素欠陥の発生という問題が生じる可能性が高い。
本発明はかかる問題点に鑑みてなされたもので、その目的は、画面押圧による画素欠陥の発生を防止して、信頼性を向上することのできる液晶表示装置を提供することを目的とする。
本発明の液晶表示装置は、下地絶縁層の上に形成された共通電極膜と、この共通電極膜の上に画素絶縁膜を介して形成された画素電極膜とを有する第1の基板と、第1の基板と対向して、画素電極膜側に配置された第2の基板と、第1の基板と第2の基板との間に設けられた液晶層と、第1の基板と第2の基板との間の間隔を画定するスペーサとを備え、共通電極膜および画素電極膜のうち少なくとも一方、ならびに画素絶縁膜を、スペーサに対応する領域において除去するようにしたものである。
本発明の液晶表示装置では、第2の基板に力が加わると、その力によってスペーサが第1の基板側へ押される。スペーサに対応する領域においては、共通電極膜および画素電極膜のうち少なくとも一方と、画素絶縁膜とが除去されているので、スペーサによって押されることによりクラックが発生しにくくなり、また、仮に発生したとしても共通電極膜と画素電極膜との間が短絡することがない。
本発明の液晶表示装置によれば、共通電極膜および画素電極膜のうち少なくとも一方の電極膜と、画素絶縁膜とを、スペーサに対応する領域において除去するようにしたので、クラック発生による電極間の短絡を回避できる。したがって、画面押圧による画素欠陥の発生を防止することができ、信頼性を確保することができる。
以下、本発明の実施の形態について、図面を参照して詳細に説明する。
<第1の実施の形態>
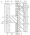
図1は、本発明の第1の実施の形態に係る液晶表示装置1の要部の平面構成を表すものである。図2は、図1のスペーサ部分を拡大したものである。図3は、図1のA−A線における矢視断面構造を表すものである。なお、図1および図2では、液晶層36よりも上側の構成要素を取り除いた状態を表している。
図3に示したように、液晶表示装置1は、本発明の「第1の基板」の一具体例としての第1のガラス基板10と、本発明の「第2の基板」の一具体例としての第2のガラス基板35とを備えている。第1のガラス基板10と第2のガラス基板35との間には、両者の間隔を保つスペーサ31が配置されている。第1のガラス基板10側には、画素絶縁膜26を挟み込むように形成された画素電極膜29と共通電極膜23とが設けられている。第1のガラス基板10と第2のガラス基板35との間には、液晶層36が配置されている。
液晶表示装置1の詳細な構成は、以下のようになっている。
図3に示したように、第1のガラス基板10の上面には、選択線としてのゲート線11が行方向(図1では左右方向)に複数延設されている。1つの画素12を構成する領域内において、ゲート線11からは、画素12を駆動するための薄膜トランジスタ(TFT)13のゲート13aが列方向(図1では上下方向)に延びている。図示の例では、2本のゲート13aが互いに平行に延びており、いわゆるダブルゲート構造になっている。第1のガラス基板10の上面には、ゲート線11およびゲート13aを覆うようにしてゲート絶縁膜14が設けられている。
ゲート絶縁膜14の上面には、図3に示したように、TFT13のアクティブ層となる半導体層15が設けられている。本実施の形態の場合、半導体層15は行方向に長く延びている(図1)。半導体層15のうち、ゲート13aとの交差領域がTFT13のチャネルを構成する。ゲート絶縁膜14の上には、TFT13を保護するための絶縁性のトランジスタ保護膜16が、半導体層15を覆うように設けられている。トランジスタ保護膜16は、例えばSiN等によって形成されているので硬い膜となっている。このため、トランジスタ保護膜16は、力が加わっても変形することがない。
トランジスタ保護膜16には、半導体層15の一端(ソース13c)側に第1コンタクトホール17が設けられ、半導体層15の他端(ドレイン13d)側に第2コンタクトホール18が設けられている(図1)。第1コンタクトホール17の内部には、導電体が充填されることにより、半導体層15に導通する第1コンタクト19が形成されている。また、第2コンタクトホール18の内部には、導電体が充填されることにより、半導体層15に導通する第2コンタクト20(図1)が形成されている。第1コンタクト19は、TFT13のソース13cと画素電極膜29とを電気的に接続するものである。第2コンタクト20は、トランジスタ保護膜16の上に列方向に延設されたデータ線21とTFT13のドレイン13dとの間を電気的に接続するものである。この第2コンタクト20を介してデータ線21からTFT13にデータ信号(画素電圧)が供給されるようになっている。このデータ信号は、TFT13がオン状態のときに、TFT13のソース13cからドレイン13dおよび第1コンタクト19を介して画素電極膜29に供給されるようになっている。
トランジスタ保護膜16、第1コンタクト19および第2コンタクト20の上には、これらを覆うようにして層間絶縁膜22が設けられている。層間絶縁膜22は、例えば、アクリル樹脂等の有機材料によって形成されているので、変形し易くなっている。層間絶縁膜22には、第1コンタクト19の形成位置に、第1コンタクト19の上面に達する層間絶縁膜コンタクトホール22aが形成されている。なお、層間絶縁膜22が、本発明の「下地絶縁層」の一具体例に対応する。
層間絶縁膜22の上面には、共通電極膜23が設けられている。この共通電極膜23には、矩形状の共通電極膜ホール24と、共通電極膜コンタクトホール25とが形成されている。共通電極膜ホール24は、スペーサ31の平面サイズよりも大きくなっている。また、共通電極膜コンタクトホール25は、第1コンタクト19と平面視して重なる位置に設けられ、且つ、共通電極膜23と画素電極膜29とが短絡するのを防止するために、層間絶縁膜コンタクトホール22aよりも平面サイズが大きくなっている。
共通電極膜23の上面には、画素絶縁膜26が設けられている。画素絶縁膜26には、スペーサ31に対応する位置に画素絶縁膜ホール27が形成されると共に、第1コンタクト19に対応する位置に画素絶縁膜コンタクトホール28が形成されている。画素絶縁膜ホール27は、スペーサ31の平面サイズよりも大きく、且つ、共通電極膜ホール24の平面サイズよりも小さくなっている。画素絶縁膜ホール27は、共通電極膜ホール24に対応する位置に設けられている。
画素絶縁膜26の上には、画素電極膜29が画素12ごとに形成されている。画素電極膜29は、図1に示したように、隣接する2本のゲート線11の間にかけ渡されるようにして、各ゲート線11とオーバーラップして配置されている。画素電極膜29には、画素絶縁膜ホール27および共通電極膜ホール24に対応する位置に画素電極膜ホール30(図3)が形成されている。この画素電極膜ホール30は、共通電極膜ホール24と同等の大きさであり、したがって、スペーサ31の平面サイズよりも大きくなっている。画素電極膜29は、画素絶縁膜コンタクトホール28の内面を覆うように形成され、ホール底部で第1コンタクト19と接触している。これにより、TFT13のドレイン13dと画素電極膜29との間が第1コンタクト19を介して電気的に接続されるようになっている。画素電極膜29にはまた、列方向に沿って延びる複数の細長い開口(スリット29a)が形成されている。
ここで、画素絶縁膜ホール27の縁部から共通電極膜ホール24および画素電極膜ホール30の縁部までの距離をd1とし、画素絶縁膜26の膜厚をtとすると、d1>tの関係を満たすようになっている。このような関係に設定することにより、共通電極膜23と画素電極膜29との間で形成される電界がスペーサ31の周囲でのみ強くなるのを防いでいる。
一方、第2のガラス基板35の下面側には、カラーフィルタ33およびブラックマトリクス34からなる層と、平坦化層32とが順次積層されて形成されている。ブラックマトリクス34の下方には、例えばレジストからなるスペーサ31が設けられている。このスペーサ31の下端面は、第1ガラス基板10の側における、共通電極膜ホール24、画素絶縁膜ホール27および画素電極膜ホール30に対応した領域に露出した層間絶縁膜22の上面に当接している。図2および図3に示したように、ブラックマトリクス34は画素電極膜ホール30よりも一回り大きく形成されている。ブラックマトリクス34は、隣り合うカラーフィルタ33間を分離するように設けられ、混色を防止するようになっている。第2のガラス基板35側の積層構造物と、第1ガラス基板10側の積層構造物との間には、液晶層36が設けられている。スペーサ31は、液晶層36の中を貫き、第1ガラス基板10側の積層構造と第2のガラス基板35側の積層構造との間を所定の距離に保つように機能する。なお、スペーサ31は、すべての画素にそれぞれ設けるようにしてもよいが、一部の画素にのみ設けるようにしてもよい。この場合には、例えば青色用画素に設けることが好ましい。青色用画素では、視感度特性上、スペーサの配置に伴って透過光量が低下しても、影響が少ないからである。
図4は、液晶表示装置の斜視構造を模式的に表すものである。この図に示したように、画素電極膜29の上面側(光出射側)には、第1配向膜38a、液晶層36、第2配向膜38bおよび第2偏光板37bが配置されている。また、ガラス基板(共通電極膜23)の下面側(光入射側)には、第1偏光板37aが配置されている。
[製法]
このような構成の液晶表示装置1は、例えば、次のようにして製造することができる。まず、ゲート線11と、液晶表示装置1の各画素12を駆動するためのTFT13のゲート13aとを形成するために、第1のガラス基板10の上に金属膜を形成する。この金属膜は、例えば、スパッタ等の成膜法を用いて、モリブデン等の金属材料を成膜することにより形成すればよい。この後、フォトリソグラフィ技術を用いて金属膜の上面にマスクを形成し、このマスクの開口部分に露出した金属膜をエッチングした後、マスクを除去する。このようにして、ゲート線11とTFT13のゲート13aとを形成する。
次に、第1のガラス基板10、ゲート線11およびTFT13のゲート13aを覆うゲート絶縁膜14を形成する。ゲート絶縁膜14は、例えば、プラズマ化学気相成長法(プラズマCVD)等の成膜法を用いて、SiN等の絶縁材料を成膜することにより形成する。
次に、半導体層15を形成する。この半導体層15を形成するには、まず、半導体層15となるアモルファスシリコン等の半導体材料を、ゲート絶縁膜14の上面にプラズマCVD等の成膜法を用いて成膜する。この後、フォトリソグラフィ技術を用いて半導体材料の上面にマスクを形成し、このマスクの開口部分に露出した半導体材料をエッチングした後、マスクを除去する。このようにして、半導体層15を形成する。
次に、TFT13を保護するトランジスタ保護膜16を、半導体層15およびゲート絶縁膜14の上面に形成する。このトランジスタ保護膜16を形成するには、まず、プラズマCVD等の成膜法を用いてSiN等の絶縁材料をゲート絶縁膜14の上面に成膜して、半導体層15を覆う。この後、第1コンタクトホール17および第2コンタクトホール18が積層方向に沿って配置されるように、ゲート絶縁膜14の上面にフォトリソグラフィ技術を用いてマスクを形成し、このマスクの開口部分に露出した絶縁材料をエッチングした後、マスクを除去する。このようにして、第1コンタクトホール17および第2コンタクトホール18をトランジスタ保護膜16に形成する。
次に、第1コンタクトホール17および第2コンタクトホール18に導電体を充填することにより、第1コンタクト19および第2コンタクト20を形成する。次に、データ線21を形成する。データ線21は、ゲート線11と同様な方法により形成すればよい。
次に、トランジスタ保護膜16、第1コンタクト19およびデータ線21の上面に、層間絶縁膜22を、例えば1.5μm〜2μm程度の膜厚となるように形成する。この層間絶縁膜22は、絶縁性の材料で形成することができ、例えば、アクリル樹脂等により形成することができる。この場合、アクリル樹脂が感光性のものであれば、フォトリソグラフィ技術を利用することにより、層間絶縁膜コンタクトホール22aを容易に形成することができる。このようにして、第1コンタクト19およびデータ線21と、共通電極膜23とを絶縁させる層間絶縁膜22を形成する。
次に、層間絶縁膜22の上に、透明電極である共通電極膜23を、例えば0.05μm〜0.1μm程度の膜厚となるように形成する。この共通電極膜23を形成するには、まず、スパッタ等の成膜法を用いて、例えば、酸化インジウム等の電極材料を層間絶縁膜22の上面に成膜する。この後、共通電極膜ホール24および共通電極膜コンタクトホール25を形成するために、フォトリソグラフィ技術を用いて共通電極膜23の上面にマスクを形成し、このマスクの開口部分に露出した電極材料をエッチングした後、マスクを除去する。このようにして、スペーサ31に対応する領域が除去された共通電極膜ホール24と、第1コンタクト19に対向する領域が除去された共通電極膜コンタクトホール25とを備えた共通電極膜23を形成する。
次に、共通電極膜23の上に、例えば0.1μm〜0.2μm程度の膜厚の画素絶縁膜26を形成する。画素絶縁膜26は、プラズマCVD等の成膜法を用いて、例えば、SiN等の誘電体を共通電極膜23の上面に成膜した後、この誘電体層の上面にフォトリソグラフィ技術を用いてマスクを形成し、このマスクで覆われていない部分をエッチングした後、マスクを除去することにより得る。このようにして、スペーサ31に対応する領域が除去された画素絶縁膜ホール27と、第1コンタクト19に対向する領域が除去された画素絶縁膜コンタクトホール28とを備えた画素絶縁膜26を形成する。
次に、画素絶縁膜26の上に、画素電極膜29を、例えば0.05μm〜0.1μm程度の膜厚となるように形成する。画素電極膜29は、スパッタ等の成膜法を用いて、例えば、酸化インジウム等の電極材料を成膜した後、この電極材料の上面にフォトリソグラフィ技術を用いてマスクを形成し、このマスクで覆われていない部分をエッチングした後、マスクを除去することにより得る。このようにして、画素絶縁膜26を介して画素電極膜29と共通電極膜23との間に電界が加わるようにするためのスリット29aと、スペーサ31に対応する領域が除去された画素電極膜ホール30とを備えた画素電極膜29を形成する。
一方、第2のガラス基板35には、カラーフィルタ33、ブラックマトリクス34、平坦化層32およびスペーサ31を形成する。まず、ブラックマトリクス34を第2のガラス基板35の上面に形成する。ブラックマトリクス34は、スペーサ31に対応する領域、すなわちスペーサ31と平面視して重なる部分と、光が透過してコントラストが低下する部分と、カラーフィルタ33の色の境目部分とに形成する。このとき、ブラックマトリクス34は、画素電極膜ホール30または共通電極膜ホール24よりも平面方向に片側で4μm以上大きく形成するのが好ましい。ブラックマトリクス34は、第2のガラス基板35の上面にブラックのネガ型レジストを塗布し、フォトリソグラフィ技術を用いて露光し、現像することにより得る。これにより、露光した部分のレジストがブラックマトリクス34として第2のガラス基板35の上面に残る。なお、ブラックのレジストには、ポジ型を用いても良い。
次に、カラーフィルタ33を第2のガラス基板35の上面に形成する。カラーフィルタ33は、赤、緑および青の色毎に形成する。具体的には、赤色のカラーフィルタ33は、第2のガラス基板35の上面に赤色のネガ型カラーレジストを塗布し、フォトリソグラフィ技術を用いて露光し、現像することにより得る。この後、緑色および青色のカラーフィルタ33を形成する。緑色および青色のカラーフィルタ33は、赤色のカラーフィルタ33と同様な方法により形成すればよい。なお、赤色のカラーフィルタ33、緑色のカラーフィルタ33および青色のカラーフィルタ33を形成する順番は任意である。なお、カラーレジストには、ポジ型を用いても良い。
次に、平坦化層32を、ブラックマトリクス34およびカラーフィルタ33の上面に形成する。この平坦化層32により、ブラックマトリクス34およびカラーフィルタ33を形成することにより、表面に生じた凹凸を平坦にしている。
次に、スペーサ31を平坦化層32の上面に形成する。スペーサ31は、平坦化層32の上面にネガ型レジストを塗布し、フォトリソグラフィ技術を用いて露光し、現像することにより得る。このようにして、ブラックマトリクス34と平面視して重なったスペーサ31を形成する。なお、レジストには、ポジ型を用いても良い。
この後、第1のガラス基板10側に配設された画素電極膜29と、第2のガラス基板35側に配設されたスペーサ31とを対面させ、第1のガラス基板10側と第2のガラス基板35側とを張り合わせる。このとき、画素電極膜ホール30、画素絶縁膜ホール27および共通電極膜ホール24の内側をスペーサ31が通過して、スペーサ31の一方の端部が層間絶縁膜22に当接するように位置合わせを行う。
次に、画素電極膜29と平坦化層32との間に液晶を注入して液晶層36を形成する。これにより、液晶表示装置1の主要な製作工程が完了する。
[動作および作用]
まず、液晶表示装置1の基本動作を説明する。図4は、液晶表示装置1の斜視構成を表し、図5は、液晶表示装置1の一断面(図1におけるB−B矢視断面)を表すものである。ここで図4(A)および図5(A)は電圧無印加状態を表し、図4(B)および図5(B)は電圧印加状態を表している。
液晶表示装置1には、ガラス基板の裏面側(図1では下側)に配置されたバックライト(図示せず)から光が入射される。液晶層36に入射した光は、そこを通過する際に、以下に述べるようなFFSモードの空間変調を受ける。
すなわち、図4(A)および図5(A)に示したように、共通電極膜23と画素電極膜29との間に電圧を印加していない状態では、液晶層36を構成する液晶分子36aの軸が入射側の第1偏光板37aの透過軸と直交し、且つ、出射側の第2偏光板37bの透過軸と平行な状態となる。このため、入射側の第1偏光板37aを透過した入射光hは、液晶層36内において位相差を生じることなく出射側の第2偏光板37bに達し、ここで吸収されるため黒表示となる。
一方、図4(B)および図5(B)に示したように、共通電極膜23と画素電極膜29との間に電圧を印加した状態では、液晶分子36aの配向方向が画素電極膜29間に生じる電界Eにより、画素電極膜29の延設方向に対して斜め方向に回転する。この際、液晶層36の厚み方向の中央に位置する液晶分子36aが約45度回転するように白表示時の電界強度を最適にする。これにより、入射側の第1偏光板37aを透過した入射光には、液晶層36内を透過する間に位相差が生じ、90度回転した直線偏光となり、出射側の第2偏光板37bを通過するため、白表示となる。
次に、液晶表示装置1の特徴的な作用を説明する。
図6は、液晶表示装置1の断面構成を表すものである。なお、図6では、ここでの説明に必要な要素にのみ符号を付し、その他の要素の符号は省略する。図6に矢印で示したように、第2のガラス基板35側から液晶表示装置1に力が加わると、スペーサ31に下方への力が加わり、スペーサ31の下側に配置してある層間絶縁膜22が変形する。このとき、共通電極膜23、画素絶縁膜26および画素電極膜29には直接的に力が加わることがないので、クラックの発生が少ない。このため、共通電極膜23と画素電極膜29とが短絡することがない。
本実施の形態では、スペーサ31に対応する領域において共通電極膜23および画素電極膜29が除去され、画素電極膜ホール30および共通電極膜ホール24が開口していることから、その下方にあるゲート線11からの電界が液晶層36の中に漏れ込んで液晶分子(図示せず)の挙動に悪影響を与える結果、コントラストを低下させるおそれもある。この点を考慮して、本実施の形態では、ブラックマトリクス34を画素電極膜ホール30よりも一回り大きく形成し、スペーサ31周辺の遮光領域を十分に確保するようにしている。このため、たとえ、スペーサ31周辺領域において電界の乱れが生じたとしても、この領域を光が透過することがないことから、この電界の乱れがコントラストの低下に寄与してしまうのを防ぐことができる。
以上のように、本実施の形態では、スペーサ31に対応した位置において共通電極膜23、画素絶縁膜26および画素電極膜29を除去し、スペーサ31の一方の端面を層間絶縁膜22に当接させるようにしたので、第2のガラス基板35が強く押されたり、液晶表示装置1に衝撃が加わったりしたときでも、画素電極膜29と共通電極膜23との間の短絡の発生を回避できるので、画素欠陥の発生を効果的に防止することができる。これにより、装置としての信頼性や、製品不良が発生するまでの期間(製品寿命)を高めることが可能となる。また、画素絶縁膜26を薄くしても画素欠陥の発生を抑制できるので、液晶表示パネルとしての薄型化が可能となる。
以下、本発明の他の実施の形態について説明する。なお、以下の実施の形態の説明において、第1の実施の形態と同じ構成要素には、同一番号を付し、適宜、その詳細な説明を省略または簡略化する。
<第2の実施の形態>
図7は、第2の実施の形態に係る液晶表示装置2における要部の断面構成を表すものである。この液晶表示装置2は、第1の実施の形態に係る液晶表示装置1と比較して、画素電極膜40およびブラックマトリクス41の構成が異なる。具体的には、液晶表示装置2では、画素電極膜40に画素電極膜ホールが設けられておらず、その結果、画素電極膜40が、画素絶縁膜26の上面から画素絶縁膜ホール27の内壁面および底面(画素絶縁膜ホール27内に露出した層間絶縁膜22の上面)にかけての部分をすべて覆っている。そして、スペーサ31の一方の端面は、画素絶縁膜ホール27の底面を覆っている画素電極膜40の上面に当接している。その他の構成は、第1の実施の形態の場合(図3)と同様である。
このような構成の液晶表示装置2では、図8に示したように、第2のガラス基板35が押圧されると、スペーサ31に力が加わって画素電極膜40およびその下の層間絶縁膜22を押す。層間絶縁膜22は軟らかい有機材料からなるので、押し込まれて変形しやすい。このため、画素電極膜40にクラック等の損傷が発生することはあり得る。ところが、仮に画素電極膜40にクラックが発生したとしても、スペーサ31の下側には共通電極膜23が存在せず、しかも共通電極膜ホール24の縁部は画素絶縁膜26によって完全に覆われているので、画素電極膜40が共通電極膜23と短絡することはない。したがって、画素欠陥の発生を抑制できる。
また、液晶表示装置2では、画素電極膜ホール30(図1)が設けられておらず画素電極膜40が共通電極膜ホール24を完全に覆っていることから、ゲート線11からの電界が画素電極膜40によって効果的に遮蔽され、スペーサ31の周辺の電界乱れ領域が小さくなる。このため、スペーサ31の上方に配設されるブラックマトリクス41の平面サイズを、第1の実施形態の場合よりも小さくすることができる。具体的には、スペーサ31の端部からブラックマトリクス41の端部までの平面距離d2を縮小することができる。その結果、ブラックマトリクス41、バックライト(図示せず)からの照射光が透過する領域の面積が大きくなり(開口率が増加し)、輝度の低下を回避することができる。
このように、本実施の形態では、スペーサ31の存在に起因して生ずる輝度の低下およびコントラストの低下の両方を回避しつつ、スペーサ部分での画素欠陥の発生を効果的に防止することができる。
<第3の実施の形態>
図9は、第3の実施の形態に係る液晶表示装置3におけるスペーサ31部分の断面構成を表すものである。この液晶表示装置3は、第1の実施の形態に係る液晶表示装置1と比較して、共通電極膜45の構成が異なる。具体的には、この液晶表示装置3では、共通電極膜45に共通電極膜ホール24(図1)が設けられておらず、その結果、画素絶縁膜ホール27の底部に共通電極膜45が露出している。そして、スペーサ31の一方の端面は、画素絶縁膜ホール27の底面に露出している共通電極膜45の上面に当接している。その他の構成は、第1の実施の形態の場合(図3)と同様である。
本実施の形態では、画素絶縁膜ホール27および画素電極膜ホール30を形成して、スペーサ31に対応する領域の画素絶縁膜26および画素電極膜29を除去する一方、共通電極23は除去せずに残し、スペーサ31の一方の端面が共通電極膜45の表面に当接するようにしている。このため、第2のガラス基板35に押圧や衝撃が加わった場合には、スペーサ31によって共通電極膜45およびその下側の層間絶縁膜22が押される。層間絶縁膜22は軟らかい有機材料からなるので、押し込まれて変形し、共通電極膜45にクラック等の破損が生じやすい。ところが、たとえ共通電極膜45が破損したとしても、画素電極膜29と共通電極膜45との短絡は発生しにくい。したがって、画素欠陥の発生を防止することができる。
<第4の実施の形態>
図10は、第4の実施の形態に係る液晶表示装置4におけるスペーサ31部分の断面構成を表すものである。この液晶表示装置4は、第1の実施の形態に係る液晶表示装置1と比較して、層間絶縁膜50の構成が異なる。具体的には、この液晶表示装置4では、層間絶縁膜50の、スペーサ31に対応する領域に、層間絶縁膜ホール51が形成されている。この層間絶縁膜ホール51は、スペーサ31が通過するように、スペーサ31の平面サイズよりも大きく形成され、且つ、共通電極膜ホール24よりも小さく形成されている。その結果、スペーサ31は、画素電極膜ホール30、画素絶縁膜ホール27、共通電極膜ホール24および層間絶縁膜ホール51を通り、トランジスタ保護膜16の上面に当接するようになっている。その他の構成は、第1の実施の形態の場合(図3)と同様である。
このような構成の液晶表示装置4では、第2のガラス基板35への押圧によってスペーサ31に力が加わると、トランジスタ保護膜16が押される。ところが、トランジスタ保護膜16はSiN等の硬い材料で形成されているため、ほとんど変形することがない。すなわち、歪みやすい層間絶縁膜50が除去されているので、押圧に対する強度を最大限に高めることができ、市場における画素欠陥不良の発生を低減することができる。
以上、実施の形態を挙げて本発明を説明したが、本発明は上記の実施の形態に限定されるものではなく、種々変形が可能である。例えば、スペーサ31の平面形状は、円形でなくともよく、例えば、楕円形や四角形等、その他の形状であってもよい。
また、上記の各実施の形態では、表示機能のみを有する液晶表示装置について説明したが、これに限定されることはなく、例えば表示機能に加えて撮像機能をも備えたタッチパネル機能内蔵の液晶表示装置にも適用可能である。これは、液晶の駆動基板(図1における第1ガラス基板10)の側に、TFT13と共にPINフォトダイオード等の受光センサを複数形成し、表示画面にタッチした指等の物体を撮像して検出することにより、その物体の位置や大きさ、形状等の情報を入力可能にしたものである。この種の装置では、画面への指等によるタッチが頻繁に行われることが前提とされ、しかも、場合によっては相当強く押されることもあるので、これに本発明の構造を適用することは、実用上、非常に有効である。
本発明の第1の実施の形態に係る液晶表示装置の要部構造を示す平面図である。 図1におけるスペーサ部分を拡大した図である。 図1のA−A線における矢視断面図である。 液晶表示装置の要部構成を示す斜視図である。 図1のB−B線における矢視断面図である。 図1に示した液晶表示装置の作用を説明するための断面図である。 第2の実施の形態に係る液晶表示装置の要部構造を示す断面図である。 図7に示した液晶表示装置の画素電極膜が破損したときの状態を示す断面図である。 第3の実施の形態に係る液晶表示装置の要部構造を示す断面図である。 第4の実施の形態に係る液晶表示装置の要部構造を示す断面図である。 従来のFFSモードの液晶表示装置の要部構造を示す断面図である。 図11に示した液晶表示装置において、画素電極膜、画素絶縁膜および共通電極膜が破損したときの状態を示す断面図である。
符号の説明
1〜4…液晶表示装置、10…第1のガラス基板、12…画素、13…薄膜トランジスタ、14…ゲート絶縁膜、16…トランジスタ保護膜、22,50…層間絶縁膜、23,45…共通電極膜、24…共通電極膜ホール、26…画素絶縁膜、27…画素絶縁膜ホール、29,40…画素電極膜、30…画素電極膜ホール、31…スペーサ、34,41…ブラックマトリクス、35…第2のガラス基板、36…液晶層、51…層間絶縁膜ホール。

Claims (9)

  1. 下地絶縁層の上に形成された共通電極膜と、この共通電極膜の上に画素絶縁膜を介して形成された画素電極膜とを有する第1の基板と、
    前記第1の基板と対向して、前記画素電極膜側に配置された第2の基板と、
    前記第1の基板と第2の基板との間に設けられた液晶層と、
    前記第1の基板と第2の基板との間の間隔を画定するスペーサと
    を備え、
    前記共通電極膜および前記画素電極膜のうち少なくとも一方、ならびに前記画素絶縁膜が、前記スペーサに対応する領域において除去されている
    液晶表示装置。
  2. 前記共通電極膜および前記画素電極膜のうち前記共通電極膜が、前記スペーサに対応する領域において除去されている
    請求項1に記載の液晶表示装置。
  3. 前記画素絶縁膜および前記共通電極膜の除去された領域に形成されたホールの内側を前記画素電極膜が覆い、
    前記スペーサの一方の端面が、前記ホールの底面の前記画素電極膜に当接している
    請求項2に記載の液晶表示装置。
  4. 前記共通電極膜および前記画素電極膜のうち前記画素電極膜が、前記スペーサに対応する領域において除去されている
    請求項1に記載の液晶表示装置。
  5. 前記画素電極膜および前記画素絶縁膜の除去された領域に形成されたホールの底部に前記共通電極膜が露出し、
    前記スペーサの一方の端面が、前記ホールの底部に露出した前記共通電極膜に当接している
    請求項4に記載の液晶表示装置。
  6. 前記共通電極膜および前記画素電極膜の両方が、前記スペーサに対応する領域において除去されている
    請求項1に記載の液晶表示装置。
  7. 前記画素電極膜、前記画素絶縁膜および前記共通電極膜の除去された領域に形成されたホールの底部に前記下地絶縁層が露出し、
    前記スペーサの一方の端面が、前記ホールの底部に露出した前記下地絶縁層に当接している
    請求項6に記載の液晶表示装置。
  8. さらに、前記下地絶縁層が前記スペーサに対応する領域において除去されている
    請求項6に記載の液晶表示装置。
  9. 前記共通電極膜の除去された領域に形成された共通電極膜ホールまたは前記画素電極膜の除去された領域に形成された画素電極膜ホールは、前記画素絶縁膜の除去された領域に形成された画素絶縁膜ホールよりも大きく、かつ、
    前記共通電極膜ホールまたは前記画素電極膜ホールの縁部から、前記画素絶縁膜ホールの縁部までの距離をd1とし、前記画素絶縁膜の厚さをtとしたときに、d1>tの関係を満たしている
    請求項1に記載の液晶表示装置。
JP2008217637A 2008-08-27 2008-08-27 液晶表示装置 Active JP4600547B2 (ja)

Priority Applications (4)

Application Number Priority Date Filing Date Title
JP2008217637A JP4600547B2 (ja) 2008-08-27 2008-08-27 液晶表示装置
TW098127300A TWI422904B (zh) 2008-08-27 2009-08-13 液晶顯示裝置
US12/545,920 US8102498B2 (en) 2008-08-27 2009-08-24 Liquid crystal display device
CN2009101675766A CN101661178B (zh) 2008-08-27 2009-08-26 液晶显示设备

Applications Claiming Priority (1)

Application Number Priority Date Filing Date Title
JP2008217637A JP4600547B2 (ja) 2008-08-27 2008-08-27 液晶表示装置

Publications (2)

Publication Number Publication Date
JP2010054649A true JP2010054649A (ja) 2010-03-11
JP4600547B2 JP4600547B2 (ja) 2010-12-15

Family

ID=41724921

Family Applications (1)

Application Number Title Priority Date Filing Date
JP2008217637A Active JP4600547B2 (ja) 2008-08-27 2008-08-27 液晶表示装置

Country Status (4)

Country Link
US (1) US8102498B2 (ja)
JP (1) JP4600547B2 (ja)
CN (1) CN101661178B (ja)
TW (1) TWI422904B (ja)

Cited By (5)

* Cited by examiner, † Cited by third party
Publication number Priority date Publication date Assignee Title
WO2013011601A1 (ja) * 2011-07-19 2013-01-24 パナソニック株式会社 液晶表示装置およびその製造方法
US8970799B2 (en) 2011-07-19 2015-03-03 Panasonic Intellectual Property Management Co., Ltd. Liquid crystal display device and method of manufacturing the same
JP2016148807A (ja) * 2015-02-13 2016-08-18 株式会社ジャパンディスプレイ 液晶表示装置
JP2017058581A (ja) * 2015-09-18 2017-03-23 セイコーエプソン株式会社 表示装置用基板、表示装置、電子機器および表示装置用基板の製造方法
JP2017211678A (ja) * 2017-09-07 2017-11-30 株式会社ジャパンディスプレイ 液晶表示装置

Families Citing this family (21)

* Cited by examiner, † Cited by third party
Publication number Priority date Publication date Assignee Title
TWI399601B (zh) * 2009-05-27 2013-06-21 Innolux Corp 薄膜電晶體基板及液晶顯示面板
US8928846B2 (en) 2010-05-21 2015-01-06 Semiconductor Energy Laboratory Co., Ltd. Liquid crystal display device having dielectric film over and in contact with wall-like structures
JP5278777B2 (ja) * 2010-11-09 2013-09-04 Nltテクノロジー株式会社 液晶表示装置
JP6002478B2 (ja) * 2012-07-04 2016-10-05 株式会社ジャパンディスプレイ 液晶表示装置
KR102850432B1 (ko) 2012-07-20 2025-08-27 가부시키가이샤 한도오따이 에네루기 켄큐쇼 표시 장치
KR101391836B1 (ko) * 2012-12-17 2014-05-07 엘지디스플레이 주식회사 어레이 기판 및 이를 포함하는 액정표시장치
CN103901650B (zh) * 2012-12-25 2016-12-28 上海天马微电子有限公司 一种内嵌式触控显示装置
TWI490618B (zh) 2013-01-04 2015-07-01 E Ink Holdings Inc 畫素結構
KR20140090853A (ko) 2013-01-10 2014-07-18 삼성디스플레이 주식회사 표시 장치
KR20150029177A (ko) * 2013-09-09 2015-03-18 삼성디스플레이 주식회사 액정 표시 장치
KR102098304B1 (ko) * 2013-12-10 2020-05-27 삼성디스플레이 주식회사 액정 표시 장치 및 그 제조 방법
KR20160006880A (ko) * 2014-07-09 2016-01-20 삼성디스플레이 주식회사 표시 장치 및 그 제조 방법
US10203579B2 (en) * 2015-03-09 2019-02-12 Sharp Kabushiki Kaisha Liquid crystal display device
US10031363B2 (en) * 2015-06-05 2018-07-24 Innolux Corporation Touch display device
CN105629591B (zh) * 2016-01-11 2018-10-30 京东方科技集团股份有限公司 一种阵列基板、其制备方法及液晶显示面板
JP6808335B2 (ja) * 2016-03-11 2021-01-06 株式会社ジャパンディスプレイ 液晶表示装置
CN206460240U (zh) * 2017-02-09 2017-09-01 中华映管股份有限公司 触控显示装置
CN108427229A (zh) * 2018-05-08 2018-08-21 深圳市华星光电技术有限公司 液晶显示面板
US20230021002A1 (en) * 2019-12-05 2023-01-19 Vestel Elektronik Sanayi Ve Ticaret A.S. Light-emitting device, backlight unit for a display device, and display device
CN111025782A (zh) * 2019-12-13 2020-04-17 武汉华星光电技术有限公司 液晶显示面板和液晶显示装置
CN114217481B (zh) 2021-12-30 2022-12-23 绵阳惠科光电科技有限公司 显示面板和显示装置

Citations (5)

* Cited by examiner, † Cited by third party
Publication number Priority date Publication date Assignee Title
JP2003121859A (ja) * 2001-10-16 2003-04-23 Nec Corp 液晶表示装置及びその製造方法
JP2007334003A (ja) * 2006-06-15 2007-12-27 Nec Lcd Technologies Ltd 液晶表示装置及びその製造方法
JP2008157997A (ja) * 2006-12-20 2008-07-10 Seiko Epson Corp 液晶装置及び電子機器
JP2008170589A (ja) * 2007-01-10 2008-07-24 Seiko Epson Corp 液晶装置、液晶装置の製造方法並びに電子機器
JP2009300648A (ja) * 2008-06-12 2009-12-24 Epson Imaging Devices Corp 液晶表示パネル

Family Cites Families (10)

* Cited by examiner, † Cited by third party
Publication number Priority date Publication date Assignee Title
JPS6031117A (ja) 1983-07-30 1985-02-16 Canon Inc 光学変調素子およびその製法
US6630977B1 (en) * 1999-05-20 2003-10-07 Semiconductor Energy Laboratory Co., Ltd. Semiconductor device with capacitor formed around contact hole
TW514762B (en) * 2000-03-06 2002-12-21 Hitachi Ltd Liquid crystal display element having controlled storage capacitance
KR100980020B1 (ko) * 2003-08-28 2010-09-03 삼성전자주식회사 박막 트랜지스터 표시판과 그 제조 방법
KR100971089B1 (ko) * 2005-05-31 2010-07-16 엘지디스플레이 주식회사 액정표시장치 및 그 제조방법
KR101147106B1 (ko) * 2005-06-29 2012-05-17 엘지디스플레이 주식회사 액정 표시패널 및 그 제조 방법
US7525631B2 (en) * 2005-12-13 2009-04-28 Lg Display Co., Ltd. Liquid crystal display device and method of fabricating the same
KR101192783B1 (ko) * 2005-12-15 2012-10-18 엘지디스플레이 주식회사 액정표시장치 및 이의 제조방법
JP4902284B2 (ja) * 2006-07-14 2012-03-21 株式会社 日立ディスプレイズ 半透過型液晶表示装置
JP2008058573A (ja) * 2006-08-31 2008-03-13 Epson Imaging Devices Corp 液晶装置及び電子機器

Patent Citations (5)

* Cited by examiner, † Cited by third party
Publication number Priority date Publication date Assignee Title
JP2003121859A (ja) * 2001-10-16 2003-04-23 Nec Corp 液晶表示装置及びその製造方法
JP2007334003A (ja) * 2006-06-15 2007-12-27 Nec Lcd Technologies Ltd 液晶表示装置及びその製造方法
JP2008157997A (ja) * 2006-12-20 2008-07-10 Seiko Epson Corp 液晶装置及び電子機器
JP2008170589A (ja) * 2007-01-10 2008-07-24 Seiko Epson Corp 液晶装置、液晶装置の製造方法並びに電子機器
JP2009300648A (ja) * 2008-06-12 2009-12-24 Epson Imaging Devices Corp 液晶表示パネル

Cited By (8)

* Cited by examiner, † Cited by third party
Publication number Priority date Publication date Assignee Title
WO2013011601A1 (ja) * 2011-07-19 2013-01-24 パナソニック株式会社 液晶表示装置およびその製造方法
JP5201298B2 (ja) * 2011-07-19 2013-06-05 パナソニック株式会社 液晶表示装置およびその製造方法
KR101399214B1 (ko) 2011-07-19 2014-05-27 파나소닉 주식회사 액정 표시 장치 및 그 제조 방법
US8970799B2 (en) 2011-07-19 2015-03-03 Panasonic Intellectual Property Management Co., Ltd. Liquid crystal display device and method of manufacturing the same
JP2016148807A (ja) * 2015-02-13 2016-08-18 株式会社ジャパンディスプレイ 液晶表示装置
US10725345B2 (en) 2015-02-13 2020-07-28 Japan Display Inc. Liquid crystal display device
JP2017058581A (ja) * 2015-09-18 2017-03-23 セイコーエプソン株式会社 表示装置用基板、表示装置、電子機器および表示装置用基板の製造方法
JP2017211678A (ja) * 2017-09-07 2017-11-30 株式会社ジャパンディスプレイ 液晶表示装置

Also Published As

Publication number Publication date
US8102498B2 (en) 2012-01-24
JP4600547B2 (ja) 2010-12-15
US20100053529A1 (en) 2010-03-04
CN101661178A (zh) 2010-03-03
CN101661178B (zh) 2013-03-06
TWI422904B (zh) 2014-01-11
TW201024835A (en) 2010-07-01

Similar Documents

Publication Publication Date Title
JP4600547B2 (ja) 液晶表示装置
JP4566165B2 (ja) 液晶表示装置及びその製造方法
JP5548488B2 (ja) 液晶表示パネル
JP4730443B2 (ja) 表示装置
US9075269B2 (en) Array substrate and liquid crystal display device including the same
WO2014181494A1 (ja) 液晶表示装置及びその製造方法
JP2005346054A (ja) 液晶表示装置及びその製造方法
CN103676333A (zh) 滤色器基板和包括该滤色器基板的液晶显示装置
KR20010046652A (ko) 컬러필터를 포함한 액정표시장치와 제조방법
JP4716056B2 (ja) 液晶表示装置および電子機器
KR20130071685A (ko) 액정 표시 장치 및 이의 제조 방법
KR20130030975A (ko) 액정표시장치
US7528411B2 (en) Display panel and method of manufacturing the same
US10168581B2 (en) Display device
JP2008233149A (ja) 電気光学装置及び電子機器、並びに電気光学装置の製造方法
JP3733769B2 (ja) 液晶装置
JP5555649B2 (ja) 液晶表示パネル
JP6519494B2 (ja) 液晶表示装置
TWI893815B (zh) 顯示面板
JP2006301505A (ja) 表示装置
JP2010122379A (ja) 液晶表示装置及び有機el表示装置
JP2010072110A (ja) 液晶表示パネル
JP2006091504A (ja) 電気光学装置及び電子機器
KR20120077576A (ko) 액정표시장치 및 그 제조방법
KR20210034265A (ko) 액정표시장치 및 그 제조방법

Legal Events

Date Code Title Description
A977 Report on retrieval

Free format text: JAPANESE INTERMEDIATE CODE: A971007

Effective date: 20100609

A131 Notification of reasons for refusal

Free format text: JAPANESE INTERMEDIATE CODE: A131

Effective date: 20100615

A521 Request for written amendment filed

Free format text: JAPANESE INTERMEDIATE CODE: A523

Effective date: 20100812

TRDD Decision of grant or rejection written
A01 Written decision to grant a patent or to grant a registration (utility model)

Free format text: JAPANESE INTERMEDIATE CODE: A01

Effective date: 20100831

A01 Written decision to grant a patent or to grant a registration (utility model)

Free format text: JAPANESE INTERMEDIATE CODE: A01

A61 First payment of annual fees (during grant procedure)

Free format text: JAPANESE INTERMEDIATE CODE: A61

Effective date: 20100913

FPAY Renewal fee payment (event date is renewal date of database)

Free format text: PAYMENT UNTIL: 20131008

Year of fee payment: 3

R151 Written notification of patent or utility model registration

Ref document number: 4600547

Country of ref document: JP

Free format text: JAPANESE INTERMEDIATE CODE: R151

FPAY Renewal fee payment (event date is renewal date of database)

Free format text: PAYMENT UNTIL: 20131008

Year of fee payment: 3

FPAY Renewal fee payment (event date is renewal date of database)

Free format text: PAYMENT UNTIL: 20131008

Year of fee payment: 3

S111 Request for change of ownership or part of ownership

Free format text: JAPANESE INTERMEDIATE CODE: R313113

FPAY Renewal fee payment (event date is renewal date of database)

Free format text: PAYMENT UNTIL: 20131008

Year of fee payment: 3

R350 Written notification of registration of transfer

Free format text: JAPANESE INTERMEDIATE CODE: R350

R250 Receipt of annual fees

Free format text: JAPANESE INTERMEDIATE CODE: R250

R250 Receipt of annual fees

Free format text: JAPANESE INTERMEDIATE CODE: R250

R250 Receipt of annual fees

Free format text: JAPANESE INTERMEDIATE CODE: R250

R250 Receipt of annual fees

Free format text: JAPANESE INTERMEDIATE CODE: R250

R250 Receipt of annual fees

Free format text: JAPANESE INTERMEDIATE CODE: R250

R250 Receipt of annual fees

Free format text: JAPANESE INTERMEDIATE CODE: R250

R250 Receipt of annual fees

Free format text: JAPANESE INTERMEDIATE CODE: R250

R250 Receipt of annual fees

Free format text: JAPANESE INTERMEDIATE CODE: R250

S111 Request for change of ownership or part of ownership

Free format text: JAPANESE INTERMEDIATE CODE: R313111

R350 Written notification of registration of transfer

Free format text: JAPANESE INTERMEDIATE CODE: R350

R250 Receipt of annual fees

Free format text: JAPANESE INTERMEDIATE CODE: R250

R250 Receipt of annual fees

Free format text: JAPANESE INTERMEDIATE CODE: R250

R250 Receipt of annual fees

Free format text: JAPANESE INTERMEDIATE CODE: R250

R250 Receipt of annual fees

Free format text: JAPANESE INTERMEDIATE CODE: R250

S111 Request for change of ownership or part of ownership

Free format text: JAPANESE INTERMEDIATE CODE: R313113

R350 Written notification of registration of transfer

Free format text: JAPANESE INTERMEDIATE CODE: R350

R250 Receipt of annual fees

Free format text: JAPANESE INTERMEDIATE CODE: R250