JP2010054296A - 荷重センサ - Google Patents

荷重センサ Download PDF

Info

Publication number
JP2010054296A
JP2010054296A JP2008218557A JP2008218557A JP2010054296A JP 2010054296 A JP2010054296 A JP 2010054296A JP 2008218557 A JP2008218557 A JP 2008218557A JP 2008218557 A JP2008218557 A JP 2008218557A JP 2010054296 A JP2010054296 A JP 2010054296A
Authority
JP
Japan
Prior art keywords
sensor
load
thin film
plate
sensor thin
Prior art date
Legal status (The legal status is an assumption and is not a legal conclusion. Google has not performed a legal analysis and makes no representation as to the accuracy of the status listed.)
Granted
Application number
JP2008218557A
Other languages
English (en)
Other versions
JP5662636B2 (ja
Inventor
Takenori Saito
雄紀 齋藤
Tomonori Hayakawa
知範 早川
Kazunobu Hashimoto
和信 橋本
Rentaro Kato
錬太郎 加藤
Current Assignee (The listed assignees may be inaccurate. Google has not performed a legal analysis and makes no representation or warranty as to the accuracy of the list.)
Sumitomo Riko Co Ltd
Original Assignee
Sumitomo Riko Co Ltd
Priority date (The priority date is an assumption and is not a legal conclusion. Google has not performed a legal analysis and makes no representation as to the accuracy of the date listed.)
Filing date
Publication date
Application filed by Sumitomo Riko Co Ltd filed Critical Sumitomo Riko Co Ltd
Priority to JP2008218557A priority Critical patent/JP5662636B2/ja
Publication of JP2010054296A publication Critical patent/JP2010054296A/ja
Application granted granted Critical
Publication of JP5662636B2 publication Critical patent/JP5662636B2/ja
Expired - Fee Related legal-status Critical Current
Anticipated expiration legal-status Critical

Links

Images

Landscapes

  • Force Measurement Appropriate To Specific Purposes (AREA)

Abstract

【課題】 衝突物の大きさ、形状によらず、荷重を正確に検出することのできる荷重センサを提供する。
【解決手段】 荷重センサ1は、弾性変形量が増加するに従って電気抵抗が増加する弾性変形可能なセンサ薄膜21と、センサ薄膜21に接続され電気抵抗を出力可能な電極22a、22bと、センサ薄膜21の一面の弾性変形を拘束するようにセンサ薄膜21に積層配置されている拘束板20と、センサ薄膜21および拘束板20のいずれか一方側に積層配置され、入力された荷重で自身が弾性変形することによりセンサ薄膜21を曲げ変形させる弾性板27と、を有するセンサ素子2と、個々が同じ曲率の曲面形状からなる複数の凸部を有し、入力された荷重が該凸部を介してセンサ素子2に伝達されるようにセンサ素子2の荷重入力面側に積層配置されている荷重伝達板3と、を備える。
【選択図】 図1

Description

本発明は、入力された荷重を検出する荷重センサに関する。
自動車の衝突等を検出する手段として、光ファイバを利用した荷重センサが用いられている(例えば、特許文献1参照)。衝突により光ファイバが変形すると、当該光ファイバの一端から他端へ伝達される光の損失が大きくなる。この光損失の値に基づいて、衝突か否かが判断される。しかし、光ファイバセンサの場合、曲面への配策は難しい。また、光ファイバセンサを用いて衝突位置を検出しようとした場合、検出位置に応じて各々独立した発光源と受光源とが必要となる。このため、荷重センサ、ひいては乗員保護システムが高価になってしまう。
一方、本出願人は、エラストマー材料からなるセンサ本体を備えた変形センサを提案している(例えば、特許文献2、3参照)。センサ本体は、母材となるエラストマー中に、球状の導電性フィラーが所定の状態で充填されてなる。センサ本体が弾性変形すると、弾性変形量が増加するに従って電気抵抗が増加する。本変形センサによると、センサ本体の電気抵抗の増加に基づいて、部材の変形や、その原因となる荷重の入力を検出することができる。
特開2007−153073号公報 特開2008−70327号公報 特開2008−102089号公報
上記特許文献2、3に記載された変形センサにより、センサ本体の圧縮変形に基づいて荷重を検出しようとすると、センサ本体の厚さをある程度大きくしておく必要がある。センサ本体の厚さを大きくすると、センサ本体に使用する材料の量が多くなり、コスト高になる。加えて、センサ本体の製造において、印刷法等の生産性に優れた方法を採用しにくい。これにより、電極、導線等のセンサ部品を集積化することが難しくなる。また、変形センサ自体の薄膜化、小型化も難しくなる。
また、上記変形センサによると、センサ本体の変形態様は、衝突物の大きさ、形状等により異なる。つまり、荷重の入力形態により、センサ本体には、圧縮や引っ張り等、様々な応力が加わる。しかしながら、センサ本体における電気抵抗の増加挙動は、応力の種類により異なる。つまり、圧縮に対する電気抵抗の増加挙動と、引っ張りに対する電気抵抗の増加挙動と、は異なる。したがって、例えば、圧縮応力と引張応力とが混在する場合には、荷重の大きさに対して、電気抵抗が線形に変化しにくい。このため、荷重を正確に検出することが難しい。
また、センサ本体が曲げ変形する場合、入力された荷重値が同じでも、衝突物の形状、すなわち曲率の大小により、曲げ変形の仕方が異なる。このため、衝突物の形状により、荷重に対する電気抵抗の増加挙動が変化してしまう。したがって、荷重を正確に検出することができないおそれがある。
本発明は、このような実情に鑑みてなされたものであり、衝突物の大きさ、形状によらず、荷重を正確に検出することのできる荷重センサを提供することを課題とする。
以下の括弧内の番号は、請求項の番号に対応している。
(1)本発明の荷重センサは、樹脂またはエラストマーからなる母材と、該母材中に略単粒子状態でかつ高充填率で配合されている球状の導電性フィラーと、を有し、弾性変形量が増加するに従って電気抵抗が増加する弾性変形可能なセンサ薄膜と、該センサ薄膜に接続され該電気抵抗を出力可能な電極と、該センサ薄膜の一面の弾性変形を拘束するように該センサ薄膜に積層配置されている拘束板と、該センサ薄膜および該拘束板のいずれか一方側に積層配置され、入力された荷重で自身が弾性変形することにより該センサ薄膜を曲げ変形させる弾性板と、を有するセンサ素子と、個々が同じ曲率の曲面形状からなる複数の凸部を有し、入力された荷重が複数の該凸部を介して該センサ素子に伝達されるように該センサ素子の荷重入力面側に積層配置されている荷重伝達板と、を備え、該センサ薄膜の曲げ変形に基づく該電気抵抗の変化から、入力された荷重を検出することを特徴とする。
センサ薄膜において、球状の導電性フィラーは、母材中に略単粒子状態で、かつ高充填率で配合されている。「略単粒子状態」とは、導電性フィラーの全重量を100重量%とした場合の50重量%以上が、凝集した二次粒子としてではなく、単独の一次粒子の状態で存在していることをいう。また、「高充填率」とは、導電性フィラーが最密充填に近い状態で配合されていることをいう。このため、荷重が入力されていない状態(以下、適宜「無荷重状態」と称す)において、センサ薄膜には、導電性フィラー同士の接触により、三次元的な導電パスが形成されている。つまり、無荷重状態において、センサ薄膜は、高い導電性を有する。一方、センサ薄膜が弾性変形すると、導電性フィラー同士の接触状態が変化する。このため、弾性変形量が増加するに従って電気抵抗が増加する。センサ薄膜を単独で使用した場合には、上述したように、圧縮、引っ張り等の弾性変形の態様により、電気抵抗の増加挙動は異なる。
本発明の荷重センサにおいて、センサ素子は、センサ薄膜に積層配置されている拘束板を有する。拘束板により、センサ薄膜の一面の自由な弾性変形が規制される。このため、荷重が加わると、センサ薄膜には曲げ変形が誘起される。特に、センサ薄膜の膜厚が小さい場合には、センサ薄膜の圧縮変形を、ほとんど無視することができる。このため、センサ薄膜の弾性変形は、曲げ変形が支配的となる。また、センサ素子は、センサ薄膜および拘束板のいずれか一方側に積層配置されている弾性板を有する。荷重が加わると、弾性板は圧縮され、荷重の入力方向に撓むように弾性変形する。弾性板の変形に伴い、センサ薄膜は曲げ変形する。
このように、センサ薄膜に、拘束板および弾性板を積層配置することにより、入力された荷重が、センサ薄膜の曲げ変形に変換される。したがって、本発明の荷重センサによると、センサ薄膜の主に曲げ変形に基づく電気抵抗の変化が出力される。これにより、荷重の入力形態によらず、荷重を正確に検出することができる。
また、弾性板の材質、形状(面積、厚さ)等を選択することにより、弾性板のばね定数を容易に変化させることができる。つまり、荷重に対する弾性板の弾性変形量(撓み量)を調整することができる。これにより、センサ薄膜の曲げ変形量に対する電気抵抗の値を、所望の範囲内に設定することができる。また、本発明の荷重センサによると、入力された荷重の衝撃が、弾性板により吸収される。このため、荷重センサに対するダメージが軽減される。また、弾性板の復元力により、荷重に対する応答の再現性も高い。
また、本発明の荷重センサにおいて、センサ素子の荷重入力面側には、複数の凸部を有する荷重伝達板が積層配置されている。入力された荷重は、荷重伝達板を介してセンサ素子に伝達される。すなわち、入力された荷重は、複数の凸部により分割されてセンサ素子に伝達される。凸部は所定の曲率の曲面形状からなる。このため、衝突物がどんな形状であっても、センサ素子には、予め決められた曲率で荷重が入力されることになる。したがって、本発明の荷重センサによると、衝突物の形状に依存することなく、荷重を正確に検出することができる。
また、本発明の荷重センサによると、電極から出力される電気抵抗の変化を測定するだけで、荷重の検出が可能である。このため、検出回路を単純化することができる。ここで、「電気抵抗を出力可能」とは、電気抵抗を直接あるいは間接的に出力可能なことをいう。すなわち、直接、電極から電気抵抗を出力する場合は勿論、電圧や電流など電気抵抗に関連する他の電気量を出力する場合を含む。
また、センサ薄膜の母材は、樹脂またはエラストマーからなる。このため、本発明の荷重センサは、加工性に優れ、形状設計の自由度が高い。よって、曲面等、形状が複雑な部材に対しても、本発明の荷重センサを配置することができる。また、本発明の荷重センサを長尺状、あるいは面状に配置すれば、広範囲における荷重を容易に検出することができる。
(2)好ましくは、上記(1)の構成において、前記荷重伝達板は、前記センサ薄膜および前記拘束板を介して前記弾性板と反対側に配置されている構成とするとよい。
本構成において、荷重は、荷重伝達板→センサ薄膜および拘束板→弾性板の順に伝達される。したがって、弾性板が荷重入力方向へ撓むように弾性変形することにより、センサ薄膜を曲げ変形させることができる。
(3)好ましくは、上記(1)または(2)の構成において、前記荷重伝達板は、並置された複数の円柱部材からなり、前記凸部は、該円柱部材の外周面により形成されている構成とするとよい。
円柱部材の外周面を利用すると、個々の凸部の形状を、同じ曲率の曲面形状に揃えやすい。したがって、円柱部材を並列に配置するだけで、荷重伝達板を容易に形成することができる。また、円柱部材を並列に配置すると、センサ薄膜を一軸方向に延伸させることができる。このため、センサ薄膜の曲げ変形を誘起しやすい。
(4)好ましくは、上記(1)ないし(3)のいずれかの構成において、前記センサ薄膜の膜厚は、10μm以上500μm以下である構成とするとよい。
センサ薄膜の膜厚が小さい程、センサ薄膜は圧縮変形しにくい。このため、本構成によると、拘束板および弾性板による曲げ変形誘起効果を発揮させやすい。すなわち、本構成において、センサ薄膜の弾性変形は、曲げ変形がより支配的となる。
(5)好ましくは、上記(1)ないし(4)のいずれかの構成において、前記センサ薄膜は、該センサ薄膜の形成成分を含むセンサ塗料から形成されている構成とするとよい。
センサ塗料(液状のセンサ形成材料)を使用することにより、様々な形状、大きさのセンサ薄膜を容易に得ることができる。また、金型による成形と比較して薄膜化が容易である。よって、その分、材料費、加工費等を低減することができる。これにより、より安価で小型の荷重センサを実現することができる。また、例えば、基材表面に予め電極、導線等を形成しておき、その上にセンサ塗料を塗布することにより、電極、導線等のセンサ部品の集積化も容易になる。
(6)好ましくは、上記(5)の構成において、前記センサ素子は、さらに、前記電極と接続されている導線を備え、前記センサ薄膜、該電極、および該導線は、前記拘束板の表面に印刷法により形成されている構成とするとよい。
センサ薄膜を拘束板の表面に形成することにより、センサ薄膜と拘束板とを容易に積層し、一体化することができる。また、センサ薄膜に加えて、電極および導線を拘束板の表面に形成することにより、センサ薄膜等のセンサ部品を集積化することができる。また、センサ部品を印刷法で形成することにより、製造コストを低減することができる。このため、本構成は、量産化に好適である。
また、印刷法によると、塗布する部分と塗布しない部分との塗り分けを、容易に行うことができる。また、面積が大きくても、あるいは細線や複雑な形状の場合でも、センサ薄膜を容易に形成することができる。なお、「拘束板の表面」とは、拘束板自体は勿論、拘束板が絶縁フィルム等により被覆されている場合には、その表面をも含む。
以下、本発明の荷重センサの実施形態について説明する。まず、本発明の荷重センサの実施形態例を説明し、次に、センサ薄膜について詳述する。
<第一実施形態>
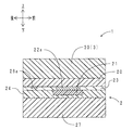
まず、本実施形態の荷重センサの構成について説明する。図1に、本実施形態の荷重センサの分解斜視図を示す。図2に、同荷重センサの前面図を示す。図3に、図1のIII−III断面図を示す。なお、図1では、説明の便宜上、拘束板等を透過して示す。また、図3では、説明の便宜上、拘束板、センサ薄膜等の厚さを強調して示す。図1〜図3に示すように、荷重センサ1は、センサ素子2と荷重伝達板3とを備えている。
センサ素子2は、拘束板20と、センサ薄膜21と、電極22a、22bと、絶縁フィルム23と、カバーフィルム24と、コネクタ25と、導線26a、26bと、弾性板27と、からなる。センサ薄膜21、電極22a、22b、絶縁フィルム23、カバーフィルム24、および導線26a、26bは、いずれも拘束板20の下面(裏面)に、スクリーン印刷法により形成されている。
拘束板20は、ポリエチレンテレフタレート(PET)製であって、左右方向に延びる帯状を呈している。拘束板20の厚さは約125μmである。拘束板20の右端には、コネクタ25が取り付けられている。
電極22aはセンサ薄膜21の左端に、電極22bはセンサ薄膜21の右端に、各々配置されている。詳しく説明すると、電極22a、22bは、共に、長方形状を呈しており、拘束板20とセンサ薄膜21との間に介装されている。電極22aとコネクタ25とは導線26aにより、電極22bとコネクタ25とは導線26bにより、各々、結線されている。
絶縁フィルム23はアクリル樹脂製であって、左右方向に延びる帯状を呈している。絶縁フィルム23は、拘束板20の下面において、電極22a、22b以外の部分を覆うように配置されている。
センサ薄膜21は、左右方向に延びる帯状を呈している。センサ薄膜21の膜厚は約250μmである。センサ薄膜21は、拘束板20の下面において、電極22a、22bおよび絶縁フィルム23の表面に配置されている。センサ薄膜21は、エポキシ樹脂にカーボンビーズ(導電性フィラー)が略単粒子状態でかつ高充填率で配合されてなる。カーボンビーズの充填率は、センサ薄膜21の体積を100vol%とした場合の約45vol%である。
カバーフィルム24は、アクリルゴム製であって、左右方向に延びる帯状を呈している。カバーフィルム24は、絶縁フィルム23およびセンサ薄膜21の表面を覆うように配置されている。
弾性板27は、アクリルゴム製であって、左右方向に延びる平板状を呈している。弾性板27の厚さは約3mmである。また、弾性板27の幅(前後方向長さ)は、拘束板20の幅と略同じである。弾性板27は、拘束板20の下方に配置されている。弾性板27とカバーフィルム24とは接着されている。
荷重伝達板3は、左右方向に延びる平板状を呈している。荷重伝達板3は、弾性板27と略同じ大きさである。荷重伝達板3は、センサ素子2の上面に配置されている。荷重伝達板3は、拘束板20の上面に接着されている。荷重伝達板3は、フェノール樹脂製の複数の円柱部材30からなる。円柱部材30の直径は全て約3mmである。円柱部材30は、その軸方向とセンサ薄膜21の長手方向とが直交するように、左右方向に並置されている。隣接する円柱部材30同士は、互いに接着されている。個々の円柱部材30の下側外周面により、複数の凸部が形成されている。円柱部材30(凸部)と拘束板20とは、線接触している。
次に、荷重センサ1の動きについて説明する。荷重センサ1に上方から荷重が加わると、荷重は荷重伝達板3の円柱部材30により分割されて、センサ素子2に入力される。これにより、拘束板20およびセンサ薄膜21は、一定の曲率の円柱部材30(凸部)により、押圧される。この際、センサ薄膜21の膜厚は小さいため、センサ薄膜21はほとんど圧縮変形しない。また、拘束板20により、センサ薄膜21の上面の弾性変形は規制される。また、入力された荷重により、弾性板27は下方に圧縮変形する。これに伴い、センサ薄膜21は、下方に撓むように曲げ変形する。センサ薄膜21が曲げ変形すると、充填されているカーボンビーズが反発し合い、導電パスが崩壊する。これにより、センサ薄膜21における電極22a、22b間の電気抵抗値は、無荷重状態に対して大きくなる。
次に、本実施形態の荷重センサ1の作用効果について説明する。本実施形態の荷重センサ1において、荷重は、荷重伝達板3の円柱部材30により分割されて、センサ素子2に入力される。円柱部材30の下側外周面(凸部)は、所定の曲率の曲面形状からなる。このため、センサ素子2には、衝突物の形状によらず、所定の曲率で荷重が入力される。
また、センサ薄膜21の膜厚は小さい。よって、荷重が加わった場合、センサ薄膜21はほとんど圧縮変形しない。一方、拘束板20および弾性板27により、センサ薄膜21の曲げ変形が誘起される。よって、入力された荷重は、センサ薄膜21の曲げ変形に変換される。このように、荷重センサ1によると、センサ薄膜21の曲げ変形に基づく電気抵抗の変化を測定することにより、衝突物の大きさ、形状によらず、荷重を正確に検出することができる。
また、荷重センサ1によると、同じ大きさの円柱部材30を並列に配置して、荷重伝達板3を容易に形成することができる。また、円柱部材30の軸方向とセンサ薄膜21の長手方向とが直交するように、円柱部材30を並置することにより、荷重が入力された場合に、センサ薄膜21が左右方向に延伸し、曲げ変形しやすい。
また、荷重センサ1によると、入力された荷重の衝撃は、アクリルゴム製の弾性板27により吸収される。このため、荷重センサ1に対するダメージは少ない。また、弾性板27の復元力により、荷重に対する応答の再現性も高い。さらに、弾性板27の材質、形状(面積、厚さ)等を変更することにより、弾性板27の圧縮ばね定数を変化させることができる。つまり、荷重に対する弾性板27の圧縮変形量(撓み量)を調整することができる。これにより、センサ薄膜21の曲げ変形量に対する電気抵抗の値を、所望の範囲内に設定することができる。
荷重センサ1を構成する荷重伝達板3、拘束板20、センサ薄膜21、弾性板27は、いずれも樹脂またはエラストマー製である。このため、荷重センサ1は、加工性に優れ、形状設計の自由度が高い。また、曲面等、形状が複雑な部材に対しても、荷重センサ1を配置することができる。
荷重センサ1によると、センサ薄膜21、電極22a、22b等のセンサ部品が、全て印刷法で形成されている。このため、製造工程を単純化することができる。また、製造時間を短縮することができる。また、センサ部品の集積化が容易になるため、量産化しやすい。また、センサ部品を拘束板20の裏面に印刷することにより、拘束板20とセンサ薄膜21等とを一体的に形成することができる。これにより、センサ素子2を薄膜化することができ、ひいては、荷重センサ1を小型化することができる。
<第二実施形態>
本実施形態の荷重センサと第一実施形態の荷重センサとの相違点は、荷重伝達板の構成である。したがって、ここでは相違点についてのみ説明する。図4に、本実施形態の荷重センサの前面図を示す。図2と対応する部位については、同じ符号で示す。図4に示すように、荷重センサ1は、センサ素子2と荷重伝達板3とを備えている。
荷重伝達板3は、アクリロニトリル−ブタジエン−スチレン(ABS)樹脂製であり、左右方向に延びる平板状を呈している。荷重伝達板3は、センサ素子2の上面に配置されている。荷重伝達板3は、拘束板20の上面に接着されている。荷重伝達板3の上面は平面31からなり、下面は波状面32からなる。波状面32は、個々が同じ曲率の曲面形状からなる複数の凸部320からなる。凸部320と拘束板20とは、線接触している。
本実施形態の荷重センサ1は、第一実施形態の荷重センサと共通する部分については、第一実施形態の荷重センサと同様の作用効果を奏する。また、本実施形態の荷重センサ1によると、樹脂の成形により、連続した複数の凸部320を有する荷重伝達板3を、容易に製造することができる。また、凸部320の形状(曲率)、数等を容易に変更することができる。例えば、凸部320の曲率を変更することにより、凸部320の押圧に対するセンサ薄膜の曲げ変形量を調整することができる。すなわち、荷重の検出感度を調整することができる。また、凸部320の数を多くすることにより、衝突物により加えられた荷重を、もれなくセンサ薄膜の曲げ変形に変換させることができる。これにより、荷重をより正確に検出することができる。
<第三実施形態>
本実施形態の荷重センサと第一実施形態の荷重センサとの相違点は、荷重伝達板の構成である。したがって、ここでは相違点についてのみ説明する。図5に、本実施形態の荷重センサにおける荷重伝達板の下面図を示す。図6に、図5のVI−VI断面図を示す。
図5、図6に示すように、荷重伝達板3は、左右方向に延びる平板状を呈している。荷重伝達板3は、ステンレス鋼製の複数の球体33が、ウレタンゴム製のゴム部34に埋設されるように配置されてなる。球体33は、ゴム部34中に平面状に敷き詰められている。下面(荷重出力面)に表出している球体33の球面により、複数の凸部が形成されている。荷重伝達板3は、センサ素子の拘束板の上面に接着されている。球体33(凸部)と拘束板とは、点接触している。
本実施形態の荷重センサは、第一実施形態の荷重センサと共通する部分については、第一実施形態の荷重センサと同様の作用効果を奏する。また、本実施形態の荷重センサによると、凸部が球面からなる。すなわち、凸部と拘束板とが点接触している。このため、入力された荷重の大きさを検出できるだけでなく、荷重分布をも検出しやすい。
<その他>
以上、本発明の荷重センサの実施の形態について説明した。しかしながら、実施の形態は上記形態に特に限定されるものではない。当業者が行いうる種々の変形的形態、改良的形態で実施することも可能である。
例えば、上記実施形態では、いずれもセンサ素子の拘束板側に荷重伝達板を配置した。しかし、荷重伝達板を、弾性板側に配置してもよい。この場合、荷重は、荷重伝達板および弾性板を介して、センサ薄膜に入力される。また、絶縁フィルム、カバーフィルムの材質は、絶縁材料であれば特に限定されるものではない。絶縁フィルムやカバーフィルムを配置しなくてもよい。電極の数、配置場所についても適宜設定すればよい。
上記実施形態では、センサ薄膜等のセンサ部品を拘束板の表面に印刷した。しかし、センサ薄膜、電極等の形成方法は、印刷法に限定されるものではない。例えば、塗料から形成する方法として、ディップ法、スプレー法、バーコート法等を採用してもよい。また、塗料からではなく、センサ部品を別途準備して、拘束板に取り付けてもよい。例えば、金型でプレス成形したセンサ薄膜を、拘束板に貼着してもよい。
拘束板は、センサ薄膜の一面の弾性変形を拘束できるものであればよい。上記実施形態のPETの他、ポリイミド、ポリエチレン、ポリエチレンナフタレート(PEN)等の屈曲性を有する樹脂フィルムが好適である。拘束板の厚さは、例えば、10μm以上500μm以下とすることが望ましい。
弾性板は、弾性を有する材料から形成されていればよい。上記実施形態のアクリルゴムの他、天然ゴム(NR)、イソプレンゴム(IR)、ブタジエンゴム(BR)、アクリロニトリル−ブタジエン共重合ゴム(NBR)、スチレン−ブタジエン共重合ゴム(SBR)、エチレン−プロピレン共重合ゴム[エチレン−プロピレン共重合体(EPM)、エチレン−プロピレン−ジエン三元共重合体(EPDM)等]、ブチルゴム(IIR)、ハロゲン化ブチルゴム(Cl−IIR、Br−IIR等)、水素化ニトリルゴム(H−NBR)、クロロプレンゴム(CR)、クロロスルフォン化ポリエチレンゴム(CSM)、ヒドリンゴム、シリコーンゴム、フッ素ゴム、ウレタンゴム、合成ラテックス等のゴムが好適である。また、スチレン系、オレフィン系、ウレタン系、ポリエステル系、ポリアミド系、フッ素系等の各種熱可塑性エラストマー、およびこれらの誘導体を使用してもよい。
弾性板の厚さは、例えば、0.5mm以上10mm以下とすることが望ましい。センサ薄膜の曲げ変形量に対する電気抵抗の増加挙動を考慮して、弾性板の材質、形状(面積、厚さ)等を選択すればよい。
荷重伝達板の材質、大きさ等は、特に限定されるものではない。例えば、軽量で剛性が大きく、加工しやすい等の観点から、樹脂製の荷重伝達板が望ましい。また、荷重伝達板の凸部の形状も、所定の曲率の曲面形状を呈していれば、特に限定されるものではない。例えば上記第一実施形態では、円柱部材を使用したが、円柱部材以外にも、円筒や楕円柱等の部材を使用してもよい。また、第三実施形態では、球体を使用したが、球体は、中空でも中実でも構わない。
凸部の曲率が大きいほど、凸部の押圧によるセンサ薄膜の曲げ変形量が大きくなる。したがって、荷重の検出感度を向上させることができる。また、凸部の数は、想定される衝突物の大きさ、形状等を考慮して適宜決定すればよい。凸部の数が多いほど、衝突物の形状を細かく分割することができる。このため、衝突物により加えられた荷重を、もれなくセンサ薄膜の曲げ変形に変換させることができる。その結果、荷重を正確に検出することができる。
センサ薄膜の形状、大きさ等は特に限定されるものではない。これらは、荷重センサの用途等に応じて適宜決定すればよい。例えば、センサ薄膜の膜厚は、荷重センサの小型化、薄型化等の観点から、膜厚を10μm以上500μm以下とすることが望ましい。250μm以下がより好適である。センサ薄膜の膜厚を小さくすると、拘束板および弾性板による曲げ変形誘起の効果が発揮されやすい。以下、センサ薄膜の構成および製造方法について説明する。
<センサ薄膜>
センサ薄膜は、樹脂またはエラストマーからなる母材と、該母材中に略単粒子状態でかつ高充填率で配合されている球状の導電性フィラーと、を有する。母材は、樹脂およびエラストマーの中から、導電性フィラーとの相溶性等を考慮して、適宜選択すればよい。特に、センサ塗料からセンサ薄膜を形成する場合には、塗料化が可能な材料を選択することが望ましい。すなわち、自身が液状の材料、あるいは溶剤等に可溶な材料を選択するとよい。
例えば、熱可塑性樹脂として、ポリエチレン(PE)、ポリプロピレン(PP)、ポリ塩化ビニル(PVC)、ポリスチレン(PS)、ポリビニルアセテート(PVAc)、ポリテトラフルオロエチレン(PTFE)、アクリロニトリル−ブタジエン−スチレン(ABS)樹脂、アクリル樹脂、ポリアミド(PA)、ポリアセタール(POM)、ポリカーボネート(PC)、ポリフェニレンオキシド(PPO)、ポリエチレンテレフタレート(PET)、ポリブチレンテレフタレート(PBT)、非晶質フッ素樹脂、非晶質ポリエステル樹脂、フェノキシ樹脂等が挙げられる。なかでも、溶剤に可溶であるという理由から、ポリアミド、非晶質フッ素樹脂、非晶質ポリエステル樹脂、フェノキシ樹脂等が好適である。
また、熱硬化性樹脂として、エポキシ樹脂、アルキド樹脂、フェノール樹脂、ユリア樹脂、メラミン樹脂、不飽和ポリエステル樹脂、ポリウレタン、ポリイミド等が挙げられる。なかでも、エポキシ樹脂が好適である。エポキシ樹脂の硬化前樹脂には、比較的低粘度の液状のものが多い。よって、溶剤を使用せずに塗料化可能である。また、導電性フィラーとの相溶性も良好である。このため、導電性フィラーを、略単粒子状態でかつ高充填率で配合しやすい。エポキシ樹脂としては、ビスフェノール型エポキシ樹脂(A型、F型、AD型)、脂環式エポキシ樹脂、ノボラック型エポキシ樹脂、多価アルコール類とエピクロルヒドリンとを反応させて得られるポリグリシジルエーテル等が挙げられる。
また、エラストマーは、ゴムおよび熱可塑性エラストマーから適宜選択することができる。例えば、ゴムとしては、天然ゴム(NR)、イソプレンゴム(IR)、ブタジエンゴム(BR)、アクリロニトリル−ブタジエン共重合ゴム(NBR)、スチレン−ブタジエン共重合ゴム(SBR)、エチレン−プロピレン共重合ゴム[エチレン−プロピレン共重合体(EPM)、エチレン−プロピレン−ジエン三元共重合体(EPDM)等]、ブチルゴム(IIR)、ハロゲン化ブチルゴム(Cl−IIR、Br−IIR等)、水素化ニトリルゴム(H−NBR)、クロロプレンゴム(CR)、アクリルゴム(AR)、クロロスルフォン化ポリエチレンゴム(CSM)、ヒドリンゴム、シリコーンゴム、フッ素ゴム、ウレタンゴム、合成ラテックス等が挙げられる。また、熱可塑性エラストマーとしては、スチレン系、オレフィン系、ウレタン系、ポリエステル系、ポリアミド系、フッ素系等の各種熱可塑性エラストマー、およびこれらの誘導体が挙げられる。なかでも、導電性フィラーとの相溶性が良好なEPDM、NBR、シリコーンゴムが好適である。また、液状IR、液状BR、RTV型(室温硬化型)シリコーンゴムは、硬化前に液状であり、溶剤を使用せずに塗料化可能である点で、好適である。
導電性フィラーは、導電性を有する球状の粒子であれば、特に限定されるものではない。例えば、炭素材料、金属等の微粒子が挙げられる。これらのうち、一種を単独で、あるいは二種以上を併せて用いることができる。また、「球状」には、真球、略真球状は勿論、楕円球状、長円球状(一対の対向する半球を円柱で連結した形状)、部分球状、部分毎に半径の異なる球状、水滴形状等が含まれる。例えば、導電性フィラーのアスペクト比(短辺に対する長辺の比)は、1以上2以下の範囲が望ましい。アスペクト比が2より大きくなると、導電性フィラー同士の接触により一次元的な導電パスが形成され易いからである。特に、母材中の導電性フィラーの充填状態を、より最密充填状態に近づけるという観点から、導電性フィラーとして、真球あるいは極めて真球に近い形状(略真球状)の粒子を採用するとよい。
また、導電性フィラーの充填率は、センサ薄膜の全体の体積を100vol%とした場合の30vol%以上であることが望ましい。30vol%未満の場合には、導電性フィラーが最密充填に近い状態で配合されにくく、所望の導電性が発現しない。また、センサ薄膜の弾性変形に対する電気抵抗の変化が緩慢になり、電気抵抗の増加挙動を制御することが難しくなる。35vol%以上であるとより好適である。反対に、導電性フィラーの充填率は、センサ薄膜の全体の体積を100vol%とした場合の65vol%以下であることが望ましい。65vol%を超えると、センサ薄膜が弾性変形しにくくなる。また、母材への混合が困難となり、成形加工性が低下する。さらに、センサ塗料を調製しにくくなる。55vol%以下であるとより好適である。
母材中、導電性フィラーは、できるだけ凝集せず一次粒子の状態で存在することが望ましい。よって、導電性フィラーを選択する際には、平均粒子径や母材との相溶性等を考慮するとよい。例えば、一次粒子の状態で存在する導電性フィラーの平均粒子径は、0.05μm以上100μm以下であることが望ましい。0.05μm未満の場合には、凝集して二次粒子を形成し易い。0.5μm以上、さらには1μm以上であると好適である。反対に、平均粒子径が100μmを超えると、弾性変形による導電性フィラーの並進運動(平行運動)が、粒子径に比べて相対的に小さくなり、弾性変形に対する電気抵抗の変化が緩慢となる。また、センサ薄膜の膜厚を小さくしにくくなる。60μm以下、さらには30μm以下であると好適である。なお、平均粒子径としては、導電性フィラーの累積粒度曲線において積算重量が50%となる粒子径(D50)を採用する。
導電性フィラーとしては、例えば、カーボンビーズが好適である。カーボンビーズは、導電性が良好で、比較的安価である。また、略真球状を呈しているため、高充填率で配合することができる。具体的には、大阪ガスケミカル社製のメソカーボンマイクロビーズ[MCMB6−28(平均粒子径約6μm)、MCMB10−28(平均粒子径約10μm)、MCMB25−28(平均粒子径約25μm)]、日本カーボン社製のカーボンマイクロビーズ:ニカビーズ(登録商標)ICB、ニカビーズPC、ニカビーズMC、ニカビーズMSB[ICB0320(平均粒子径約3μm)、ICB0520(平均粒子径約5μm)、ICB1020(平均粒子径約10μm)、PC0720(平均粒子径約7μm)、MC0520(平均粒子径約5μm)]、日清紡社製のカーボンビーズ(平均粒子径約10μm)等が挙げられる。
センサ薄膜は、例えば、次のようにして製造することができる。母材に熱可塑性樹脂を選択した場合には、加熱溶融した熱可塑性樹脂に、導電性フィラー、必要に応じて添加剤を加えて混合した後、プレス成形、射出成形等を行う。また、母材に熱硬化性樹脂を選択した場合には、硬化前樹脂に、硬化剤、必要に応じて添加剤を加えて混合した後、プレス成形等により硬化させる。一方、母材にエラストマーを選択した場合は、まず、エラストマーに、加硫助剤、軟化剤等の添加剤を添加して、混練りする。続いて、導電性フィラーを加えて混練りした後、さらに、架橋剤、加硫促進剤を加えて混練りし、エラストマー組成物とする。次に、エラストマー組成物をシート状に成形し、それを金型に充填してプレス加硫する。
また、センサ薄膜の膜厚を小さくするためには、センサ塗料から形成することが望ましい。すなわち、まず、樹脂またはエラストマー等の母材の形成成分を含むセンサ塗料を調製する。次に、調製したセンサ塗料を、拘束板等の基材に塗布し、乾燥させる。なお、熱硬化樹脂を使用した場合は、センサ塗料を塗布した後、硬化させればよい。また、エラストマーを使用した場合は、乾燥と同時に、あるいは乾燥後に、架橋反応を進行させればよい。
センサ塗料の塗布方法は、種々の方法を採用することができる。例えば、インクジェット印刷、フレキソ印刷、グラビア印刷、スクリーン印刷、パッド印刷、リソグラフィー等の印刷法の他、ディップ法、スプレー法、バーコート法等が挙げられる。例えば、印刷法を採用すると、塗布する部分と塗布しない部分との塗り分けを、容易に行うことができる。また、大きな面積、細線、複雑な形状の印刷も容易である。さらに、センサ薄膜、電極、導線を同様の方法で形成することができるため、センサ部品を集積化しやすい。印刷法の中でも、高粘度の塗料も使用可能であり、塗膜厚さの調整が容易であるという理由から、スクリーン印刷法が好適である。
上記第一実施形態の荷重センサ(前出図1〜図3参照)と同じ構成の荷重センサを製造し、荷重に対する応答性を評価した。以下、順に説明する。
(1)荷重センサの製造
まず、センサ薄膜形成用のセンサ塗料を、次のようにして調製した。エポキシ樹脂の硬化前樹脂(日本ペルノックス社製「ペルノックス(登録商標)ME−562」;液状)100重量部と、硬化剤(日本ペルノックス社製「ペルキュア(登録商標)HV−562;液状)100重量部と、カーボンビーズ(日本カーボン社製「ニカビーズICB0520」、平均粒子径約5μm)200重量部と、を羽根攪拌により混合し、センサ塗料を得た。
次に、カバーフィルム用塗料を、次のようにして調製した。アクリルゴムポリマー(日本ゼオン社製「ニポール(登録商標)AR51」)100重量部と、加硫助剤のステアリン酸(花王社製「ルナック(登録商標)S30」)1重量部と、加硫促進剤のジメチルジチオカルバミン酸亜鉛(大内新興化学社製「ノクセラー(登録商標)PZ」)2.5重量部、およびジメチルジチオカルバミン酸第二鉄(大内新興化学社製「ノクセラーTTFE」)0.5重量部と、をロール練り機にて混合し、エラストマー組成物を調製した。調製したエラストマー組成物を、印刷用溶剤のエチレングリコールモノブチルエーテルアセテート312重量部に溶解させて、カバーフィルム用塗料を得た。
また、電極、導線用の導線性塗料には、藤倉化成社製「ドータイト(登録商標)FA−312」を使用した。絶縁フィルム用塗料には、太陽インキ製造社製「FC−HARD UVCF−535G」を使用した。
各々の塗料を、PET製の拘束板(東レ社製「ルミラー(登録商標)S56」、厚さ125μm)の表面にスクリーン印刷した。スクリーン印刷には、テーブルスライド式半自動印刷機(東海精機社製「SSA−PC660IP」)を使用した。
具体的には、まず、印刷機に、拘束板および版をセットした。版上に導電性塗料を載せた後、版上でスキージを走査させ、拘束板の表面に電極および導線を印刷した。その後、拘束板を約140℃の乾燥炉内に約30分間静置して、塗膜を硬化させた。なお、本実施例では、電極等の酸化や腐食を防止するため、印刷された電極等の表面に、カーボン塗料(藤倉化成社製「ドータイトFC−404CA」)を上記同様に印刷した。印刷後、拘束板を約150℃の乾燥炉内に約30分間静置して、塗膜を硬化させた。続いて、印刷機に、電極等が形成された拘束板および版をセットした。版上に絶縁フィルム用塗料を載せた後、版上でスキージを走査させ、印刷された電極を除いた拘束板の表面に、絶縁フィルムを印刷した。その後、拘束板を紫外線(UV)乾燥機(群翔社製「GUC−290M」)に入れ、塗膜を硬化させた。次に、印刷機に、電極等が形成された拘束板および版をセットした。版上にセンサ塗料を載せた後、版上でスキージを走査させ、印刷された電極、絶縁フィルムの表面に、センサ薄膜を印刷した(塗膜の長さ約260mm、幅約13mm、厚さ約250μm)。拘束板を乾燥炉内に入れ、約140℃で1時間保持して塗膜を一次硬化させた後、約160℃で1時間保持して塗膜を二次硬化させた。最後に、印刷機に、センサ薄膜等が形成された拘束板および版をセットした。版上にカバーフィルム用塗料を載せた後、版上でスキージを走査させ、印刷されたセンサ薄膜等の表面に、カバーフィルムを印刷した。その後、拘束板を約150℃の乾燥炉内に約30分間静置して、塗膜を硬化させた。
次に、弾性板を製造した。アクリルゴムポリマー(デュポン社製「VAMAC(登録商標) D−P」)100重量部と、架橋剤のα,α’−ビス(t−ブチルペロキシ)ジイソプロピルベンゼン(日本油脂社製「ペロキシモンF−40」)8.5重量部と、共架橋剤のトリアリルイソシアヌレート(日本化成社製「TAIC(登録商標)」)6重量部と、補強剤のFEFカーボンブラック(東海カーボン社製「シーストSO」)40重量部と、をロール練り機にて混合し、ゴム組成物を調製した。調製したゴム組成物を、金型に充填し、170℃で30分間プレス加硫することにより、弾性板を得た。弾性板の大きさは、長さ約260mm、幅約13mm、厚さ約3mmとした。
次に、荷重伝達板を製造した。フェノール樹脂から成形された円柱部材(直径3mm、長さ13mm)を、86個並列に配置して接着し、荷重伝達板とした。
製造した弾性板の上面に、センサ薄膜等が形成された拘束板を、カバーフィルム側を下にして積層して接着し、センサ素子とした。さらに、センサ素子の拘束板の上面に、荷重伝達板を載置して接着し、荷重センサを得た。
(2)荷重センサの応答性評価
製造した荷重センサについて、荷重に対する電気抵抗の変化を測定した。測定は次のようにして行った。図7に、実験装置の概略図を示す。図7に示すように、荷重センサ1を、荷重伝達板3を上にしてステンレス鋼製のステージ40に載置した。荷重センサ1の上方には、長方形の押圧面を有するステンレス鋼製の押圧ジグ41を配置した。押圧ジグ41としては、押圧面積の異なる二種類を準備した。一つは、幅13mm、長さ50mmとし、もう一つは、同じ幅で長さを100mmとした。各々の押圧ジグ41を下方に移動させて、荷重センサ1に所定の荷重を入力し、荷重センサ1から出力される電気抵抗の変化を測定した。測定は、一つの押圧ジグ41につき、二回行った。
図8に、荷重に対する電気抵抗の測定結果を示す。図8中、押圧面積が小さい押圧ジグによる結果を太線で、押圧面積が大きい押圧ジグによる結果を細線で示す。図8の縦軸の電気抵抗比は、初期(無荷重状態)の電気抵抗値(R)に対する、荷重入力時の電気抵抗値(R)の比である[電気抵抗比=R/R]。
図8に示すように、押圧ジグの押圧面積(荷重面積)の大小により、電気抵抗の増加挙動にほとんど違いは見られなかった。すなわち、荷重面積に依存することなく、荷重を検出できることが確認された。
本発明の荷重センサは、自動車等の衝突センサ、着座センサ、人工皮膚等のソフトな面圧センサ、キーボード等の情報入力デバイス、ベッドやカーペット用の面圧分布センサ等、様々な用途に適用することができる。
本発明の第一実施形態の荷重センサの分解斜視図である。 同荷重センサの前面図である。 図1のIII−III断面図である。 本発明の第二実施形態の荷重センサの前面図である。 本発明の第三実施形態の荷重センサにおける荷重伝達板の下面図である。 図5のVI−VI断面図である。 実施例における実験装置の概略図である。 実施例の荷重センサの荷重に対する電気抵抗の変化を示すグラフである。
符号の説明
1:荷重センサ
2:センサ素子
20:拘束板 21:センサ薄膜 22a、22b:電極 23:絶縁フィルム
24:カバーフィルム 25:コネクタ 26a、26b:導線 27:弾性板
3:荷重伝達板
30:円柱部材 31:平面 32:波状面 320:凸部 33:球体 34:ゴム部
40:ステージ 41:押圧ジグ

Claims (6)

  1. 樹脂またはエラストマーからなる母材と、該母材中に略単粒子状態でかつ高充填率で配合されている球状の導電性フィラーと、を有し、弾性変形量が増加するに従って電気抵抗が増加する弾性変形可能なセンサ薄膜と、
    該センサ薄膜に接続され該電気抵抗を出力可能な電極と、
    該センサ薄膜の一面の弾性変形を拘束するように該センサ薄膜に積層配置されている拘束板と、
    該センサ薄膜および該拘束板のいずれか一方側に積層配置され、入力された荷重で自身が弾性変形することにより該センサ薄膜を曲げ変形させる弾性板と、
    を有するセンサ素子と、
    個々が同じ曲率の曲面形状からなる複数の凸部を有し、入力された荷重が複数の該凸部を介して該センサ素子に伝達されるように該センサ素子の荷重入力面側に積層配置されている荷重伝達板と、
    を備え、
    該センサ薄膜の曲げ変形に基づく該電気抵抗の変化から、入力された荷重を検出する荷重センサ。
  2. 前記荷重伝達板は、前記センサ薄膜および前記拘束板を介して前記弾性板と反対側に配置されている請求項1に記載の荷重センサ。
  3. 前記荷重伝達板は、並置された複数の円柱部材からなり、
    前記凸部は、該円柱部材の外周面により形成されている請求項1または請求項2に記載の荷重センサ。
  4. 前記センサ薄膜の膜厚は、10μm以上500μm以下である請求項1ないし請求項3のいずれかに記載の荷重センサ。
  5. 前記センサ薄膜は、該センサ薄膜の形成成分を含むセンサ塗料から形成されている請求項1ないし請求項4のいずれかに記載の荷重センサ。
  6. 前記センサ素子は、さらに、前記電極と接続されている導線を備え、
    前記センサ薄膜、該電極、および該導線は、前記拘束板の表面に印刷法により形成されている請求項5に記載の荷重センサ。
JP2008218557A 2008-08-27 2008-08-27 荷重センサ Expired - Fee Related JP5662636B2 (ja)

Priority Applications (1)

Application Number Priority Date Filing Date Title
JP2008218557A JP5662636B2 (ja) 2008-08-27 2008-08-27 荷重センサ

Applications Claiming Priority (1)

Application Number Priority Date Filing Date Title
JP2008218557A JP5662636B2 (ja) 2008-08-27 2008-08-27 荷重センサ

Publications (2)

Publication Number Publication Date
JP2010054296A true JP2010054296A (ja) 2010-03-11
JP5662636B2 JP5662636B2 (ja) 2015-02-04

Family

ID=42070394

Family Applications (1)

Application Number Title Priority Date Filing Date
JP2008218557A Expired - Fee Related JP5662636B2 (ja) 2008-08-27 2008-08-27 荷重センサ

Country Status (1)

Country Link
JP (1) JP5662636B2 (ja)

Cited By (5)

* Cited by examiner, † Cited by third party
Publication number Priority date Publication date Assignee Title
JP2012013511A (ja) * 2010-06-30 2012-01-19 Tokai Rubber Ind Ltd 荷重センサ
KR101130729B1 (ko) * 2010-05-04 2012-03-28 주식회사 와이즈오토모티브 충돌 감지 장치 및 이를 이용한 청소 로봇
JP2012107924A (ja) * 2010-11-16 2012-06-07 Tokai Rubber Ind Ltd 抵抗変化型センサ
JP2012159411A (ja) * 2011-02-01 2012-08-23 Canon Chemicals Inc 感圧センサ用導電部材、これを用いた感圧センサ
WO2013047311A1 (ja) * 2011-09-29 2013-04-04 東海ゴム工業株式会社 誘電膜およびその製造方法、並びにそれを用いたトランスデューサ

Families Citing this family (1)

* Cited by examiner, † Cited by third party
Publication number Priority date Publication date Assignee Title
JP6981895B2 (ja) * 2018-02-27 2021-12-17 藤倉コンポジット株式会社 荷重センサ

Citations (14)

* Cited by examiner, † Cited by third party
Publication number Priority date Publication date Assignee Title
JPH076853B2 (ja) * 1991-04-19 1995-01-30 イナバゴム株式会社 方向圧力感知センサー
JPH08137615A (ja) * 1994-11-07 1996-05-31 Matsushita Electric Ind Co Ltd 位置入力装置
JPH11118633A (ja) * 1997-10-16 1999-04-30 Nitta Ind Corp フィルム形圧力センサー
JPH11241903A (ja) * 1997-12-26 1999-09-07 Toyoaki Kimura 導電性粒子―高分子系による歪みセンサ―
JP2002158103A (ja) * 2000-09-07 2002-05-31 Fujikura Ltd 膜状感圧抵抗体および感圧センサ
JP2004028883A (ja) * 2002-06-27 2004-01-29 Denso Corp 感圧センサ
JP2004241276A (ja) * 2003-02-06 2004-08-26 Fujikura Ltd メンブレンスイッチおよび感圧センサ
JP2005353337A (ja) * 2004-06-09 2005-12-22 Matsushita Electric Ind Co Ltd 感歪抵抗ペーストとその製造方法、及びこれを用いた感歪センサとその製造方法
JP2006250705A (ja) * 2005-03-10 2006-09-21 Toshiba Corp 触覚センサー
JP2007000251A (ja) * 2005-06-22 2007-01-11 Matsushita Electric Ind Co Ltd 生体信号検出装置とそれを備えた就寝装置
JP2007132888A (ja) * 2005-11-14 2007-05-31 Fujikura Ltd 感圧センサ装置
JP2008070327A (ja) * 2006-09-15 2008-03-27 Tokai Rubber Ind Ltd 変形センサ
JP2008102089A (ja) * 2006-10-20 2008-05-01 Tokai Rubber Ind Ltd 変形センサシステム
JP2008183181A (ja) * 2007-01-30 2008-08-14 Matsushita Electric Ind Co Ltd 生体信号検出装置及びそれを用いた就寝装置

Patent Citations (14)

* Cited by examiner, † Cited by third party
Publication number Priority date Publication date Assignee Title
JPH076853B2 (ja) * 1991-04-19 1995-01-30 イナバゴム株式会社 方向圧力感知センサー
JPH08137615A (ja) * 1994-11-07 1996-05-31 Matsushita Electric Ind Co Ltd 位置入力装置
JPH11118633A (ja) * 1997-10-16 1999-04-30 Nitta Ind Corp フィルム形圧力センサー
JPH11241903A (ja) * 1997-12-26 1999-09-07 Toyoaki Kimura 導電性粒子―高分子系による歪みセンサ―
JP2002158103A (ja) * 2000-09-07 2002-05-31 Fujikura Ltd 膜状感圧抵抗体および感圧センサ
JP2004028883A (ja) * 2002-06-27 2004-01-29 Denso Corp 感圧センサ
JP2004241276A (ja) * 2003-02-06 2004-08-26 Fujikura Ltd メンブレンスイッチおよび感圧センサ
JP2005353337A (ja) * 2004-06-09 2005-12-22 Matsushita Electric Ind Co Ltd 感歪抵抗ペーストとその製造方法、及びこれを用いた感歪センサとその製造方法
JP2006250705A (ja) * 2005-03-10 2006-09-21 Toshiba Corp 触覚センサー
JP2007000251A (ja) * 2005-06-22 2007-01-11 Matsushita Electric Ind Co Ltd 生体信号検出装置とそれを備えた就寝装置
JP2007132888A (ja) * 2005-11-14 2007-05-31 Fujikura Ltd 感圧センサ装置
JP2008070327A (ja) * 2006-09-15 2008-03-27 Tokai Rubber Ind Ltd 変形センサ
JP2008102089A (ja) * 2006-10-20 2008-05-01 Tokai Rubber Ind Ltd 変形センサシステム
JP2008183181A (ja) * 2007-01-30 2008-08-14 Matsushita Electric Ind Co Ltd 生体信号検出装置及びそれを用いた就寝装置

Cited By (9)

* Cited by examiner, † Cited by third party
Publication number Priority date Publication date Assignee Title
KR101130729B1 (ko) * 2010-05-04 2012-03-28 주식회사 와이즈오토모티브 충돌 감지 장치 및 이를 이용한 청소 로봇
JP2012013511A (ja) * 2010-06-30 2012-01-19 Tokai Rubber Ind Ltd 荷重センサ
JP2012107924A (ja) * 2010-11-16 2012-06-07 Tokai Rubber Ind Ltd 抵抗変化型センサ
JP2012159411A (ja) * 2011-02-01 2012-08-23 Canon Chemicals Inc 感圧センサ用導電部材、これを用いた感圧センサ
WO2013047311A1 (ja) * 2011-09-29 2013-04-04 東海ゴム工業株式会社 誘電膜およびその製造方法、並びにそれを用いたトランスデューサ
JP2013072063A (ja) * 2011-09-29 2013-04-22 Tokai Rubber Ind Ltd 誘電膜およびその製造方法、並びにそれを用いたトランスデューサ
CN103477553A (zh) * 2011-09-29 2013-12-25 东海橡塑工业株式会社 介电膜及其制造方法、以及使用其的转换器
CN103477553B (zh) * 2011-09-29 2016-02-10 住友理工株式会社 介电膜及其制造方法、以及使用其的转换器
US10381547B2 (en) 2011-09-29 2019-08-13 Sumitomo Riko Company Limited Dielectric film, method for manufacturing the same, and transducer including the same

Also Published As

Publication number Publication date
JP5662636B2 (ja) 2015-02-04

Similar Documents

Publication Publication Date Title
JP5486683B2 (ja) 曲げセンサ
JP5662637B2 (ja) 荷重センサ
JP5662636B2 (ja) 荷重センサ
JP4650538B2 (ja) 静電容量型センサ
JP5496446B2 (ja) 静電容量型センサ
CN102272566B (zh) 弯曲传感器及变形形状测量方法
US7958789B2 (en) Capacitive sensor
JP5465124B2 (ja) 柔軟配線体
US20080067477A1 (en) Crosslinked elastomer body for sensor, and production method therefor
JP2008070327A (ja) 変形センサ
JP2009198483A (ja) センサ薄膜、その製造方法、および変形センサ
JP5654789B2 (ja) 曲げセンサおよび変形形状測定方法
JPWO2013146231A1 (ja) 変形センサ
JP2012107924A (ja) 抵抗変化型センサ
JP5945469B2 (ja) 感圧センサ
JP5622471B2 (ja) 抵抗増加型センサおよびその製造方法
US10236139B2 (en) Switch and method for manufacturing the same
JP2009139329A (ja) センサ用エラストマー複合材料および変形センサ
JP5980993B1 (ja) 感圧センサ
JP2012137401A (ja) 被破壊センサ
JP5577170B2 (ja) 荷重センサ
JP2009198482A (ja) センサ薄膜、その製造方法、および変形センサ
JP5577022B2 (ja) センサ用複合材料および変形センサ
JP2009276183A (ja) センサ用複合材料および変形センサ
JP2008286747A (ja) 変形センサシステム

Legal Events

Date Code Title Description
A621 Written request for application examination

Free format text: JAPANESE INTERMEDIATE CODE: A621

Effective date: 20110506

A977 Report on retrieval

Free format text: JAPANESE INTERMEDIATE CODE: A971007

Effective date: 20121128

A131 Notification of reasons for refusal

Free format text: JAPANESE INTERMEDIATE CODE: A131

Effective date: 20121204

A521 Written amendment

Free format text: JAPANESE INTERMEDIATE CODE: A523

Effective date: 20130204

A02 Decision of refusal

Free format text: JAPANESE INTERMEDIATE CODE: A02

Effective date: 20131008

A521 Written amendment

Free format text: JAPANESE INTERMEDIATE CODE: A523

Effective date: 20131224

A911 Transfer to examiner for re-examination before appeal (zenchi)

Free format text: JAPANESE INTERMEDIATE CODE: A911

Effective date: 20140107

A912 Re-examination (zenchi) completed and case transferred to appeal board

Free format text: JAPANESE INTERMEDIATE CODE: A912

Effective date: 20140228

A61 First payment of annual fees (during grant procedure)

Free format text: JAPANESE INTERMEDIATE CODE: A61

Effective date: 20141205

R150 Certificate of patent or registration of utility model

Ref document number: 5662636

Country of ref document: JP

Free format text: JAPANESE INTERMEDIATE CODE: R150

LAPS Cancellation because of no payment of annual fees