JP2010051899A - 塗布装置 - Google Patents

塗布装置 Download PDF

Info

Publication number
JP2010051899A
JP2010051899A JP2008219563A JP2008219563A JP2010051899A JP 2010051899 A JP2010051899 A JP 2010051899A JP 2008219563 A JP2008219563 A JP 2008219563A JP 2008219563 A JP2008219563 A JP 2008219563A JP 2010051899 A JP2010051899 A JP 2010051899A
Authority
JP
Japan
Prior art keywords
substrate
nozzle
cassette
carry
liquid
Prior art date
Legal status (The legal status is an assumption and is not a legal conclusion. Google has not performed a legal analysis and makes no representation as to the accuracy of the status listed.)
Granted
Application number
JP2008219563A
Other languages
English (en)
Other versions
JP5425426B2 (ja
Inventor
Tsutomu Sahoda
勉 佐保田
Futoshi Shimai
太 島井
Masahiko Sato
晶彦 佐藤
Current Assignee (The listed assignees may be inaccurate. Google has not performed a legal analysis and makes no representation or warranty as to the accuracy of the list.)
Tokyo Ohka Kogyo Co Ltd
Original Assignee
Tokyo Ohka Kogyo Co Ltd
Priority date (The priority date is an assumption and is not a legal conclusion. Google has not performed a legal analysis and makes no representation as to the accuracy of the date listed.)
Filing date
Publication date
Application filed by Tokyo Ohka Kogyo Co Ltd filed Critical Tokyo Ohka Kogyo Co Ltd
Priority to JP2008219563A priority Critical patent/JP5425426B2/ja
Priority to CN2012105800199A priority patent/CN103077911A/zh
Priority to US12/547,270 priority patent/US9214372B2/en
Priority to CN 200910167447 priority patent/CN101661873B/zh
Priority to CN2012105803182A priority patent/CN103021918A/zh
Publication of JP2010051899A publication Critical patent/JP2010051899A/ja
Priority to US12/877,881 priority patent/US8919756B2/en
Application granted granted Critical
Publication of JP5425426B2 publication Critical patent/JP5425426B2/ja
Expired - Fee Related legal-status Critical Current
Anticipated expiration legal-status Critical

Links

Images

Landscapes

  • Coating Apparatus (AREA)
  • Manufacturing Of Magnetic Record Carriers (AREA)
  • Exposure Of Semiconductors, Excluding Electron Or Ion Beam Exposure (AREA)

Abstract

【課題】基板上に塗布される液状体の状態を改善することが可能な塗布装置を提供すること。
【解決手段】立てた状態で回転させた基板の両面からノズルによって液状体を吐出することができるので、基板の両面に効率的に液状体を塗布することができる。これにより、処理タクトを短縮させることができ、スループットを向上させることができる塗布装置を得ることができる。
【選択図】図8

Description

本発明は、塗布装置に関する。
例えば半導体基板、液晶パネルを構成するガラス基板、ハードディスクを構成する基板など、各種基板上にレジスト膜などの薄膜を形成する際に、基板を回転させながら当該基板に塗布膜を形成する塗布装置が用いられている。このような塗布装置では、基板を水平面に対して平行に寝かせ、下側の基板面を保持した状態で回転させる構成が一般的である。
一方、例えばハードディスクを構成する基板などのように基板の両面に液状体を塗布する必要のある基板については、下側の基板面を保持することができないため、例えば特許文献1に記載のように、基板を保持駒によって保持しながら回転させる構成が提案されている。
特開平7−130642号公報
しかしながら、特許文献1に記載の手法によれば、基板を寝かせた状態で液状体を両面に塗布するため、基板の表面と基板の裏面との間で塗布環境が異なり、形成される薄膜の状態が異なってしまう虞がある。
以上のような事情に鑑み、本発明の目的は、基板上に塗布される液状体の状態を改善することが可能な塗布装置を提供することにある。
上記目的を達成するため、本発明に係る塗布装置は、基板を立てた状態で回転させる回転機構と、前記基板を回転させつつ前記基板の表面及び裏面にそれぞれ液状体を吐出するノズルを有する塗布機構とを備えることを特徴とする。
本発明によれば、立てた状態で回転させた基板の両面からノズルによって液状体を吐出することができるので、基板の表面と裏面とで液状体の塗布環境をより近づけることができる。基板の表面と基板の裏面との間で塗布される液状体の状態を近づけることができるため、基板上に形成される液状体の薄膜の状態が異なるのを防ぐことができる。これにより、基板上に塗布される液状体の状態を改善することができる。
上記の塗布装置は、前記回転機構は、前記基板を水平面に対して70°以上、90°以下の角度に立てた状態で前記基板を回転させることを特徴とする。
本発明によれば、回転機構が基板を水平面に対して70°以上、90°以下の角度に立てた状態で当該基板を回転させることとしたので、基板の表面の状態と基板の裏面の状態とが著しく異なってしまうのを防ぐことができ、基板の両面に液状体を均一に塗布することができる。
上記の塗布装置は、前記ノズルは、前記基板の中央部側から前記基板の外周部側へ向けて前記液状体を吐出するように形成されていることを特徴とする。
本発明によれば、ノズルが基板の中央部側から基板の外周部側へ向けて液状体を吐出するように形成されていることとしたので、ノズルの吐出方向と基板上に作用する遠心力の方向とを方向とが揃うこととなる。これにより、液状体をより効率的に塗布することができる。
上記の塗布装置は、前記ノズルは、前記中央部側から前記外周部側へ折り曲げられて形成されていることを特徴とする。
本発明によれば、ノズルが中央部側から外周部側へ折り曲げられて形成されていることとしたので、液状体の吐出方向を調節する調節機構などを別途設けることなく、簡単な構成によって液状体の吐出方向を調節することができる。
上記の塗布装置は、前記ノズルは、先端の吐出面が液状体の吐出方向に対して傾けて形成されていることを特徴とする。
本発明によれば、ノズルが先端の吐出面が液状体の吐出方向に対して傾けて形成されていることとしたので、ノズル先端における液状体の表面張力を小さくすることができる。これにより、液状体の塗布を停止する際に当該液状体の切れを良くすることができ、ノズル先端に液状体を残留しにくくすることができる。
上記の塗布装置は、前記ノズルは、前記回転機構の回転軸に対して上側に設けられていることを特徴とする。
本発明によれば、ノズルが回転機構の回転軸に対して下側に設けられていることとしたので、液状体の吐出方向と重力方向とを一致させることができる。これにより、液状体が基板上を広がりやすくすることができる。
上記の塗布装置は、前記ノズルは、前記基板の表面側と裏面側とで同じ位置に配置されていることを特徴とする。
本発明によれば、ノズルが基板の表面側と裏面側とで同じ位置に配置されていることとしたので、基板の表面上と基板の裏面上とで塗布環境を近づけることができる。これにより、基板の両面に液状体を均一に塗布することができる。
上記の塗布装置は、前記塗布機構は、前記ノズルを移動させる移動機構を有することを特徴とする。
本発明によれば、塗布機構がノズルを移動させる移動機構を有することとしたので、装置の処理状況に応じてノズルの位置を移動させることができる。これにより、より幅広い処理が可能となる。
上記の塗布装置は、前記ノズルの状態を管理するノズル管理機構を更に備えることを特徴とする。
本発明によれば、ノズルの状態を管理するノズル管理機構を更に備えることとしたので、ノズルの状態を一定に保持することができる。これにより、ノズルの吐出性能を維持することができる。
上記の塗布装置は、前記ノズル管理機構は、前記ノズルの先端を洗浄液にディップさせることで洗浄する洗浄部を有することを特徴とする。
本発明によれば、ノズル管理機構がノズルの先端を洗浄液にディップさせることで洗浄する洗浄部を有することとしたので、ノズルの先端に付着する液状体を洗浄して除去することができる。ノズルの先端に液状体が付着すると、ノズルが詰ってしまい、吐出性能が低下することがある。本発明では、ノズルの先端を洗浄することにより、このような吐出性能の低下を防ぐことができる。
上記の塗布装置は、前記ノズル管理機構は、前記ノズルの先端を吸引する吸引部を有することを特徴とする。
本発明によれば、ノズル管理機構がノズルの先端を吸引する吸引部を有することとしたので、ノズルの先端に付着した液状体や、当該液状体を洗浄した後の洗浄液などをノズル先端から除去することができる。これにより、ノズル先端をより清浄な状態に保持することができる。
上記の塗布装置は、前記ノズル管理機構は、前記ノズルから予備的に吐出される前記液状体を受ける液受部を有することを特徴とする。
本発明によれば、ノズル管理機構がノズルから予備的に吐出される液状体を受ける液受部を有することとしたので、予備的な液状体の吐出動作を行いやすい状態となる。これにより、ノズルの吐出性能が低下するのを防ぐことができる。
上記の塗布装置は、前記基板の側方を囲むように配置されたカップ部を更に備えることを特徴とする。
本発明によれば、基板の側方を囲むように配置されたカップ部を更に備えることとしたので、基板の回転による遠心力の作用で基板から飛散する液状体をブロックすることができる。これにより、装置内部の環境を清浄な状態に保持することができる。
上記の塗布装置は、前記カップ部は、前記液状体を収容する収容部を有することを特徴とする。
本発明によれば、カップ部が液状体を収容する収容部を有することとしたので、飛散する液状体を当該収容部に集めることができる。これにより、飛散した液状体を効率的に管理することができる。
上記の塗布装置は、前記カップ部のうち前記基板の側部との対向部分は、前記カップ部の他の部分に対して着脱可能に設けられていることを特徴とする。
本発明によれば、カップ部のうち基板の側部との対向部分がカップ部の他の部分に対して着脱可能に設けられていることとしたので、カップ部がメンテナンスしやすい状態となる。これにより、カップ部の清浄化を容易に行うことができる。
上記の塗布装置は、前記カップ部は、前記対向部分の開口寸法を調節する調節機構を有することを特徴とする。
本発明によれば、カップ部が対向部分の開口寸法を調節する調節機構を有することとしたので、基板の厚さや液状体の飛散の程度など、塗布処理の環境が異なる場合であっても柔軟に対応することができる。
上記の塗布装置は、前記カップ部は、内側カップと外側カップとを有し、前記内側カップには、当該内側カップを前記基板の外周に沿った方向に回転させる第2回転機構が設けられていることを特徴とする。
本発明によれば、カップ部が内側カップと外側カップとを有し、内側カップには当該内側カップを基板の外周に沿った方向に回転させる第2回転機構が設けられていることとしたので、カップ部全体を回転させることなく、内側カップのみを回転させることができる。
上記の塗布装置は、前記収容部は、前記液状体及び前記収容部内の気体のうち少なくとも一方を排出する排出機構を有することを特徴とする。
本発明によれば、収容部が液状体及び収容部内の気体のうち少なくとも一方を排出する排出機構を有することとしたので、当該排出機構によって収容部内の液状体が排出されると共に、収容部内に気体の流れを形成させることができる。
上記の塗布装置は、前記カップ部は、円形に形成されており、前記排出機構は、前記カップ部の外周の接線方向に沿って設けられていることを特徴とする。
本発明によれば、カップ部が円形に形成されており、排出機構がカップ部の外周の接線方向に沿って設けられていることとしたので、基板の回転方向に沿って液状体を排出させることができる。
上記の塗布装置は、前記排出機構は、排出経路上に気液分離機構を有することを特徴とする。
本発明によれば、排出機構が排出経路上に気液分離機構を有することとしたので、液状体を処理しやすくすることができる。
上記の塗布装置は、前記カップ部の洗浄液を前記基板へ吐出する洗浄液ノズルを更に備えることを特徴とする。
本発明によれば、カップ部の洗浄液を基板へ吐出する洗浄液ノズルを更に備えることとしたので、基板の回転によって基板上に吐出された洗浄液をカップ内に飛散させることができる。これにより、カップ部を効率的に洗浄することができる。
上記の塗布装置は、前記洗浄液ノズルとして、前記ノズルが用いられることを特徴とする。
本発明によれば、洗浄液ノズルとして、上記のノズルが用いられることとしたので、メンテナンスの効率化を図ることができる。
上記の塗布装置は、前記基板の外周部の塗布状態を調整する調整部を更に備えることを特徴とする。
本発明によれば、基板の外周部の塗布状態を調整する調整部を更に備えることとしたので、液状体の塗布性能を高めることができる。
上記の塗布装置は、前記調整部は、前記基板の外周部を溶解液に浸すことで前記液状体を除去する除去部を有することを特徴とする。
本発明によれば、調整部が基板の外周部を溶解液に浸すことで液状体を除去する除去部を有することとしたので、外周部に塗布された液状体を効率的に除去することができる。
上記の塗布装置は、前記除去部は、前記溶解液を前記基板の周縁部へ吐出する溶解液ノズルを有することを特徴とする。
本発明によれば、除去部が溶解液を基板の周縁部へ吐出する溶解液ノズルを有することとしたので、基板の位置を移動させること無く当該溶解液ノズルによって基板の周縁部を除去することができる。これにより、基板の処理の効率化を図ることができる。
上記の塗布装置は、前記溶解液ノズルは、前記カップ部の洗浄液を吐出可能であることを特徴とする。
本発明によれば、溶解液ノズルがカップ部の洗浄液を吐出可能であることとしたので、溶解液ノズルに基板の外周部の塗布状態の調整及びカップの洗浄のそれぞれを行わせることができる。これにより、別途カップの洗浄機構を配置することなく各動作を行わせることができ、装置構成の複雑化を回避することができる。
上記の塗布装置は、前記除去部は、前記基板に前記溶解液が接触しない位置で前記溶解液ノズルから前記溶解液を吐出させると共に、前記溶解液を吐出させた状態で当該溶解液ノズルを前記基板への吐出位置へ移動させる制御部を有することを特徴とする。
本発明によれば、除去部が、基板に溶解液が接触しない位置で溶解液ノズルから溶解液を吐出させると共に、溶解液を吐出させた状態で溶解液ノズルを基板への吐出位置へ移動させる制御部を有することとしたので、基板上の外周部の塗布状態の調整精度を高めることができる。
上記の塗布装置は、前記調整部は、前記基板の外周部を吸引する第2吸引部を有することを特徴とする。
本発明によれば、調整部が基板の外周部を吸引する第2吸引部を有することとしたので、基板の外周部に付着した液状体や溶解液を速やかに除去することができる。
本発明によれば、基板上に塗布される液状体の状態を改善することができる。
本発明の実施の形態を図面に基づき説明する。
図1は、本実施形態に係る基板処理システムSYSの概略的な構成を示す平面図である。図2は、基板処理システムSYSの概略的な構成を示す正面図である。図3は、基板処理システムSYSの概略的な構成を示す側面図である。
本実施形態では、基板処理システムSYSの構成を説明するにあたり、表記の簡単のため、XYZ座標系を用いて図中の方向を説明する。当該XYZ座標系においては、図中左右方向をX方向と表記し、平面視でX方向に直交する方向をY方向と表記する。X方向軸及びY方向軸を含む平面に垂直な方向はZ方向と表記する。X方向、Y方向及びZ方向のそれぞれは、図中の矢印の方向が+方向であり、矢印の方向とは反対の方向が−方向であるものとして説明する。
図1〜図3に示すように、基板処理システムSYSは、例えば工場などの製造ラインに組み込まれて用いられ、基板Sの所定の領域に薄膜を形成するシステムである。基板処理システムSYSは、ステージユニットSTUと、基板処理ユニット(塗布装置)SPUと、基板搬入ユニットLDUと、基板搬出ユニットULUと、搬送ユニットCRUと、制御ユニットCNUとを備えている。
基板処理システムSYSは、ステージユニットSTUが例えば脚部材などを介して床面に支持されており、基板処理ユニットSPU、基板搬入ユニットLDU、基板搬出ユニットULU及び搬送ユニットCRUがステージユニットSTUの上面に配置された構成になっている。基板処理ユニットSPU、基板搬入ユニットLDU、基板搬出ユニットULU及び搬送ユニットCRUは、各ユニット内部がカバー部材によって覆われた状態になっている。基板処理システムSYSは、基板処理ユニットSPU、基板搬入ユニットLDU及び基板搬出ユニットULUがX軸方向に沿った直線上に配列されている。基板処理ユニットSPUは、基板搬入ユニットLDUと基板搬出ユニットULUとの間に設けられている。ステージユニットSTUのうち基板処理ユニットSPUが配置される部分の平面視中央部は、他の部分に対して−Z方向に窪んだ状態になっている。
本実施形態の基板処理システムSYSの処理対象である基板Sとしては、例えばシリコンなどの半導体基板、液晶パネルを構成するガラス基板、ハードディスクを構成する基板などが挙げられる。本実施形態では、例えばハードディスクを構成する基板であり、ガラスなどからなる円盤状の基材の表面にダイヤモンドがコーティングされた基板であって、平面視中央部に開口部が設けられた基板Sを例に挙げて説明する。
本実施形態の基板処理システムSYSにおける基板Sの搬入及び搬出は、当該基板Sを複数枚収容可能なカセットCを用いて行われるようになっている。カセットCは枡状に形成された容器であり、複数の基板Sの基板面が対向するように当該基板Sを一列に収容可能になっている。したがって、カセットCは、Z軸方向に基板Sを立てた状態で当該基板Sを収容する構成になっている。カセットCは、底部に開口部を有している。各基板Sは当該開口部を介してカセットCの底部に露出した状態で収容されるようになっている。カセットCは、平面視で矩形状に形成されており、例えば図2に示すように+Z側の各辺部分に係合部Cxを有している。本実施形態では、カセットCとして、基板Sを搬入する際に用いられる搬入用カセットC1と、基板Sを搬出する際に用いられる搬出用カセットC2との2種類のカセットが用いられる。搬入用カセットC1には処理前の基板Sのみが収容され、搬出用カセットC2には処理後の基板Sのみが収容される。搬入用カセットC1は基板処理ユニットSPUと基板搬入ユニットLDUとの間で用いられる。搬出用カセットC2は基板処理ユニットSPUと基板搬出ユニットULUとの間で用いられる。したがって、搬入用カセットC1と搬出用カセットC2とが混合されて用いられることは無い。搬入用カセットC1及び搬出用カセットC2は、例えば同一形状、同一寸法に形成されている。
(基板搬入ユニット)
基板搬入ユニットLDUは、基板処理システムSYSのうち−X側に配置されている。基板搬入ユニットLDUは、処理前の基板Sを収容した搬入用カセットC1が供給されると共に空の搬入用カセットC1が回収されるユニットである。基板搬入ユニットLDUはY軸方向が長手になっており、複数の搬入用カセットC1がY軸方向に沿って待機可能になっている。
基板搬入ユニットLDUは、カセット出入口10及びカセット移動機構(第2移動機構)11を備えている。カセット出入口10は、基板搬入ユニットLDUを覆うカバー部材の−Y側に設けられた開口部である。カセット出入口10は、処理前の基板Sを収容した搬入用カセットC1の入口(供給口)であり、空の搬入用カセットC1の出口(回収口)である。
カセット移動機構11は、例えばベルトコンベア機構などの駆動機構を有している。本実施形態では、当該駆動機構として搬送ベルト(供給用ベルト11a及び回収用ベルト11b)を有している。搬送ベルトは、基板搬入ユニットLDUの+Y側端部から−Y側端部にかけてY軸方向に延設されており、X軸方向に2本並ぶように配置されている。
供給用ベルト11aは、2本の搬送ベルトのうち−X側に配置された搬送ベルトである。供給用ベルト11aの+Z側が搬送面となっている。供給用ベルト11aは、当該搬送面が−Y方向に移動するように回転する構成となっている。供給用ベルト11aの搬送面上には、カセット出入口10を介して基板搬入ユニットLDU内へ入ってきた搬入用カセットC1が複数載置されるようになっている。当該搬入用カセットC1は、供給用ベルト11aの回転によって搬送ユニットCRU側へ移動するようになっている。
回収用ベルト11bは、2本の搬送ベルトのうち+X側に配置された搬送ベルトである。回収用ベルト11bの+Z側が搬送面となっている。回収用ベルト11bは、搬送面が−Y方向に移動するように回転する構成となっている。回収用ベルト11bの搬送面上には、空の搬入用カセットC1が複数載置されるようになっている。当該搬入用カセットC1は、回収用ベルト11bの回転によってカセット出入口10側へ移動するようになっている。
本実施形態では、例えば供給用ベルト11a上及び回収用ベルト11b上にそれぞれ5箇所ずつ設けられた待機位置(容器待機部)で搬入用カセットC1が待機可能になっている。基板搬入ユニットLDUでは、供給用ベルト11a及び回収用ベルト11bを回転させることによって搬入用カセットC1の待機位置を移動させることができるようになっており、当該待機位置を移動させることによって搬入用カセットC1の搬送時間を短縮させることが可能になっている。
(基板処理ユニット)
基板処理ユニットSPUは、基板処理システムSYSのうちX軸方向のほぼ中央に配置されている。基板処理ユニットSPUは、基板Sに対してレジストなどの液状体を塗布して薄膜を形成する処理や、基板Sの周辺部分に形成された薄膜を除去する処理など、基板Sに対する各種処理を行うユニットである。基板処理ユニットSPUは、バッファ機構BFと、基板搬送機構(回転機構)SCと、塗布機構CTと、周縁部除去機構(調整部)EBRとを備えている。
バッファ機構BFは、基板処理ユニットSPUの+Y側端辺に沿った位置であってX軸方向に塗布機構CTを挟んだ2箇所の位置に設けられている。2箇所のバッファ機構BFのうち、塗布機構CTの−X側に配置されるバッファ機構が搬入側バッファ機構(基板搬入領域)BF1であり、塗布機構CTの+X側に配置されるバッファ機構が搬出側バッファ機構(基板搬出領域)BF2である。
搬入側バッファ機構BF1は、基板処理ユニットSPU内へ供給されてくる搬入用カセットC1を待機させる部分である。搬入側バッファ機構BF1には、カセット移動機構(第3移動機構)20が設けられている。カセット移動機構20は、例えばベルトコンベア機構などの駆動機構を有している。本実施形態では、駆動機構として2つの搬送ベルト20a及び20bが設けられている。
搬送ベルト20aは、搬入側バッファ機構BF1のX軸方向に沿った領域に設けられている。搬送ベルト20aの+Z側の面が搬送面になっており、供給されてくる搬入用カセットC1は当該搬送面上に載置されるようになっている。搬送ベルト20aは、搬送面がX軸方向へ移動するように回転する構成となっている。搬送ベルト20aの回転により、搬入用カセットC1が搬入側バッファ機構BF1内をX軸方向に移動可能になっている。搬送ベルト20bは、搬入側バッファ機構BF1内のX軸方向の中央部に設けられている。搬送ベルト20bの+Z側の面が搬送面になっており、当該搬送面に搬入用カセットC1が載置されるようになっている。搬送ベルト20bは、搬送面がY軸方向に沿って移動するように回転する構成となっている。搬送ベルト20bの回転により、搬入用カセットC1がY軸方向に移動するようになっている。このように、カセット移動機構20によって、各搬入用カセットC1は待機位置が移動するようになっている。
搬入側バッファ機構BF1は、搬送ベルト20aの形成領域に沿って複数、例えば3つの搬入用カセットC1をX軸方向に並べて待機させるようになっている(第2容器待機部)。図中−X側の待機位置P1は、例えば基板処理ユニットSPUへ供給されてくる搬入用カセットC1の待機位置である。図中X軸方向の中央の待機位置P2は、待機位置P1から移動してきた搬入用カセットC1の待機位置である。図中+X側の待機位置P3は、待機位置P2から移動してきた搬入用カセットC1の待機位置である。
待機位置P2内には、上記搬送ベルト20bの+Y側端部が配置されている。このため、待機位置P2に配置される搬入用カセットC1は、搬送ベルト20bによって待機位置P2に対して−Y側に移動し、当該移動先の待機位置P4で待機できるようになっている。待機位置P4の+Z方向上には、基板SのローディングポジションLPが設けられている。基板Sは、このローディングポジションLPを経由して塗布機構CTへ搬送されるようになっている。
搬出側バッファ機構BF2は、基板処理ユニットSPU内へ供給されてくる搬出用カセットC2を待機させる部分である。搬出側バッファ機構BF2には、カセット移動機構(第3移動機構)22が設けられている。カセット移動機構22は、例えばベルトコンベア機構などの駆動機構を有している。本実施形態では、搬入側バッファ機構BF1と同様、駆動機構として2つの搬送ベルト22a及び22bが設けられている。
搬送ベルト22aは、搬出側バッファ機構BF2のX軸方向に沿った領域に設けられている。搬送ベルト22aの+Z側の面が搬送面になっており、供給されてくる搬出用カセットC2は当該搬送面上に載置されるようになっている。搬送ベルト22aは、搬送面がX軸方向へ移動するように回転する構成となっている。搬送ベルト22aの回転により、搬出用カセットC2が搬出側バッファ機構BF2内をX軸方向に移動可能になっている。搬送ベルト22bは、搬出側バッファ機構BF2内のX軸方向の中央部に設けられている。搬送ベルト20bと同様、搬送ベルト22bの+Z側の面が搬送面になっており、当該搬送面に搬出用カセットC2が載置されるようになっている。搬送ベルト22bは、搬送面がY軸方向に沿って移動するように回転する構成となっている。搬送ベルト22bの回転により、搬出用カセットC2がY軸方向に移動するようになっている。このように、カセット移動機構22によって、各搬出用カセットC2は待機位置が移動するようになっている。
搬出側バッファ機構BF2は、搬送ベルト22aの形成領域に沿って複数、例えば3つの搬出用カセットC2をX軸方向に並べて待機させるようになっている(第2容器待機部)。図中−X側の待機位置P5は、例えば基板処理ユニットSPUへ供給されてくる搬出用カセットC2の待機位置である。図中X軸方向の中央の待機位置P6は、待機位置P5から移動してきた搬出用カセットC2の待機位置である。図中+X側の待機位置P7は、待機位置P6から移動してきた搬出用カセットC2の待機位置である。
待機位置P6内には、上記搬送ベルト22bの+Y側端部が配置されている。このため、待機位置P6に配置される搬出用カセットC2は、搬送ベルト22bによって待機位置P6に対して−Y側に移動し、当該移動先の待機位置P8で待機できるようになっている。待機位置P8の+Z方向上には、基板SのアンローディングポジションUPが設けられている。基板Sは、このアンローディングポジションUPを経由して塗布機構CTから搬出用カセットC2側へ搬送されてくるようになっている。
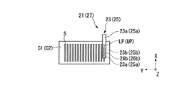
基板処理ユニットSPUは、バッファ機構BFの近傍に、基板ローディング機構21及び基板アンローディング機構27を有している。基板ローディング機構21は、待機位置P4の近傍に配置されている。図4〜図6は、基板ローディング機構21の構成を概略的に示す図である。
これらの図に示すように、基板ローディング機構21は、基板上部保持機構23と、基板下部保持機構24とを有している。基板上部保持機構23は、待機位置P4の+X側に配置されている。基板上部保持機構23は、基板Sの+Z側を保持してZ軸方向に移動する。基板上部保持機構23は、昇降部材23aと、クランプ部材23bと、昇降機構23cとを有している。
昇降部材23aは、側面視L字状に形成された支柱部材であり、Z軸方向に移動可能に設けられている。昇降部材23aは、Z軸方向に延在する支柱部分と、当該支柱部分の上端からX軸方向に突出する突出部分とを有している。このうち支柱部分は、搬入用カセットC1の+Z端面よりも+Z側まで設けられている。昇降部材23aのうち突出部分は、平面視でローディングポジションLPに重なる位置に配置されている。当該突出部分の−Z側には、基板Sの形状に合うように凹部が形成されている。
クランプ部材23bは、昇降部材23aの当該凹部に取り付けられている。したがって、当該クランプ部材23bについても平面視でローディングポジションLPに重なる位置に設けられていることになる。昇降機構23cは、昇降部材23aに取り付けられた駆動部であり、搬入用カセットC1の−Z側に配置されている。昇降機構23cとしては、例えばエアシリンダなどの駆動機構を用いることができる。
基板下部保持機構24は、平面視でローディングポジションLPの中央部に重なる位置に設けられている。基板下部保持機構24は、基板Sの−Z側を保持してZ軸方向に移動する。基板下部保持機構24は、昇降部材24aと、クランプ部材24bと、昇降機構24cとを有している。昇降部材24aは、棒状に形成された支柱部材であり、Z軸方向に移動可能に設けられている。クランプ部材24bは、昇降部材24aの+Z側の先端に取り付けられており、当該クランプ部材24bについても平面視でローディングポジションLPの中央部に重なる位置に配置されていることになる。昇降機構24cは、昇降部材24aに取り付けられた駆動部であり、搬入用カセットC1の−Z側に配置されている。昇降機構24cとしては、例えばエアシリンダなどの駆動機構を用いることができる。
基板上部保持機構23の昇降機構23cと、基板下部保持機構24の昇降機構24cとは、それぞれ独立して動作させることが可能であると共に、両者を連動させて動作させることも可能となっている。
基板アンローディング機構27は、待機位置P8の近傍に配置されている。基板アンローディング機構27は、基板ローディング機構21と同一の構成になっている。図4〜図6には、基板ローディング機構21の各構成要素(ローディングポジションLPを含む)に対応する基板アンローディング機構27の構成要素(アンローディングポジションUPを含む)を、括弧内の符号によって示している。
基板アンローディング機構27は、基板上部保持機構25と、基板下部保持機構26とを有している。基板上部保持機構25は、昇降部材25aと、クランプ部材25bと、昇降機構25cとを有している。基板下部保持機構26は、昇降部材26aと、クランプ部材26bと、昇降機構26cとを有している。基板アンローディング機構27の各構成要素の位置関係や機能などについては、基板ローディング機構21の対応する構成要素と同一であるため、説明を省略する。
基板搬送機構SCは、基板処理ユニットSPUのY軸方向中央の位置であって塗布機構CTをX軸方向に挟む2箇所の位置に設けられている。2箇所の基板搬送機構SCのうち、塗布機構CTの−X側に配置されている装置が搬入側搬送機構SC1であり、塗布機構CTの+X側に配置されている装置が搬出側搬送機構SC2である。搬入側搬送機構SC1、搬出側搬送機構SC2及び塗布機構CTは、X軸方向に沿った直線上に配置されている。
搬入側搬送機構SC1は、塗布機構CT及び搬入側バッファ機構BF1のローディングポジションLPにそれぞれアクセスし、これらの間で基板Sを搬送する。図7は、搬入側搬送装置の構成を示す模式図である。図7に示すように、搬入側搬送機構SC1は、基部30と、アーム部31と、保持部32とを有している。
基部30は、ステージユニットSTUのうち窪んだ部分の上面に設けられている。基部30は、固定台30aと、回転台30bと、回転機構30cと、支持部材30dとを有している。
固定台30aは、ステージユニットSUTの窪んだ部分の上面に固定されている。基部30は、当該固定台30aを介して位置ずれしないようにステージユニットSUT上に固定された状態になっている。回転台30bは、回転機構30cを介して固定台30a上に配置されている。回転台30bは、固定台30aに対しZ軸を回転軸として回転可能に設けられている。回転機構30cは、固定台30aと回転台30bとの間に設けられており、回転台30bに対して回転力を付与する駆動機構である。支持部材30dは、−Z側の端部が回転台30b上に固定された支柱部材である。支持部材30dは、回転台30bの複数箇所、例えば2箇所に設けられている。支持部材30dの+Z側の端部は、アーム部31内に挿入されている。
アーム部31は、基部30の支持部材30dによって支持されている。アーム部31は、保持部32を基板処理ユニットSPU内の異なる位置に移動させる。アーム部31は、五角柱に形成された筐体31aを有している。筐体31aの先端面31bには、開口部31cが設けられている。筐体31aの内部には、回転機構33と、吸引機構34と、移動機構35とが設けられている。
回転機構33は、筐体31a内の+Z側に配置されている。回転機構33は、モータ装置33aと、回転軸部材33bとを有している。モータ装置33aと回転軸部材33bとは図中左右方向に一体的に移動可能になっている。モータ装置33aは、回転軸部材33bに回転力を付与する駆動装置である。回転軸部材33bは、XY平面に対して平行となるように配置された断面視円形の棒状部材である。
回転軸部材33bは、モータ装置33aの駆動力により当該円の中心を回転軸として回転するようになっている。回転軸部材33bは、一端が開口部31cから筐体31aの外部に突出するように(突出部33c)配置されている。回転軸部材33bの突出部33c側の端面には、保持部32を取り付けるための凹部33dが設けられている。凹部33dは、断面視円形に形成されている。突出部33cは、凹部33dに保持部32を取り付けた状態で当該保持部32を固定させる固定機構を有している。当該固定機構によって保持部32を固定させることにより、回転軸部材33bと保持部32とが一体的に回転するようになっている。
回転軸部材33bは、貫通孔33eを有している。貫通孔33eは、回転軸部材33bの凹部33dの底面33fと、当該回転軸部材33bの他方側の端面33gとの間を回転軸方向に沿って貫通するように形成されている。貫通孔33eを介して、回転軸部材33bの凹部33dの底面33f側と端面33g側とが連通された状態になっている。
吸引機構34は、回転軸部材33bの端面33g側に設けられている。吸引機構34は、吸引ポンプ34aなどの吸引装置を有している。吸引ポンプ34aは、回転軸部材33bの端面33gにおいて貫通孔33eに接続されている。吸引ポンプ34aは、回転軸部材33bの端面33gから貫通孔33eを吸引することで、当該貫通孔33eに連通された凹部33dの底面33f上を吸引可能になっている。
移動機構35は、筐体31a内の−Z側に配置されている。移動機構35は、モータ装置35aと、回転軸部材35bと、可動部材35cとを有している。モータ装置35aは、回転軸部材35bに回転力を付与する駆動装置である。回転軸部材35bは、一端がモータ装置35aの内部に挿入された断面視円形の棒状部材である。回転軸部材35bは、モータ装置35aによって当該円の中心を回転軸として回転するようになっている。回転軸部材35bの表面には、不図示のネジ山が形成されている。
可動部材35cは、螺合部35dと、接続部35eとを有している。螺合部35dは、回転軸部材35bと一体的に形成されており、表面には不図示のネジ穴を有している。接続部35eは、回転機構33の例えばモータ装置33aに固定されている。接続部材35eの下面にはネジ山が形成されており、当該ネジ山と螺合部35dに形成されたネジ山とがかみ合うようになっている。
モータ装置35aの駆動によって回転軸部材35bが回転すると、回転軸部材35bと螺合部35dとが一体的に回転するようになっている。螺合部35dの回転により、当該螺合部35dのネジ山とかみ合った接続部材35eが図中左右方向に移動するようになっており、接続部材35e及び当該接続部材35eに固定された回転機構33が図中左右方向に一体的に移動するようになっている。当該移動により、回転機構33の図中右端に設けられた保持部33が図中左右方向に移動するようになっている。
保持部32は、アーム部31の凹部33dに対して着脱可能に固定されている。保持部32は、例えば吸着力などの保持力を用いて基板Sを保持する。保持部32は、吸引部材36と、閉塞部材37とを有している。吸引部材36と閉塞部材37とは着脱可能に設けられている。
このように構成された搬入側搬送機構SC1は、アーム部31がZ軸を回転軸として回転したり、XY平面方向に移動したりすることによって、塗布機構CTとローディングポジションLPとの両方に保持部32をアクセスさせる構成になっている。また、搬入側搬送機構SC1は、アーム部31内の吸引ポンプ34aの吸引力によって基板SをZ軸方向に立てた状態で保持することができるようになっており、アーム部31内の回転軸部材33bを回転させることによって基板SをZ軸方向に立てた状態で回転させることができるようになっている。なお、基板SをZ軸方向に立てた状態とは、基板Sが水平面に対して傾いた状態をいうものとする。本実施形態では、水平面に対して例えば70°以上、90°以下の角度に基板Sを立てた状態で保持し、回転させることが好ましい。当該基板を回転させるアーム部31などに配置される各回転軸部材は、複数の軸部材をカップリングによって接続させた構成であっても構わない。
図1〜図3に戻って、搬出側搬送機構SC2は、塗布機構CT、搬出側バッファ機構BF2のアンローディングポジションUP及び周縁部除去機構EBRにそれぞれアクセスし、これらの間で基板Sを搬送する。搬出側搬送機構SC2は、基部40(固定台40a、回転台40b)と、アーム部41と、保持部42とを有している。搬出側搬送機構SC2の構成は、搬入側搬送機構SC1と同一の構成になっているため、各構成要素の説明を省略する。図7には、搬入側搬送機構SC1の各構成要素に対応する搬出側搬送機構SC2の構成要素を、括弧内の符号によって示している。以下、搬出側搬送機構SC2の構成要素について言及する際には、対応する搬入側搬送機構SC1の構成要素と同一の名称を用い、当該名称の後に図7の括弧内の符号を付して記載することとする。
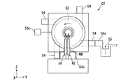
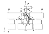
塗布機構CTは、基板処理ユニットSPUのうち平面視ほぼ中央に配置されており、ステージユニットSTUの窪んだ部分の上面に固定されている。塗布機構CTは、基板Sに液状体の薄膜を塗布形成する装置である。本実施形態では、塗布機構CTは、インプリント処理を行わせるための薄膜を基板S上に形成する。塗布装置CTは、−X側及び+X側の両側からアクセスすることができるようになっている。したがって、例えば−X側及び+X側の両側から基板Sの搬入及び搬出が可能になっている。塗布装置CTは、X軸方向のほぼ中央部に設定される塗布位置(図中破線で示す部分)50で塗布処理を行うようになっている。図8〜図10は、塗布機構CTの構成を示す図である。塗布機構CTは、ノズル部NZと、カップ部CPと、ノズル管理機構NMとを有している。
ノズル部NZは、ノズル移動機構51によって塗布位置50のY軸方向の中央部にアクセス可能に設けられている。ノズル部NZは、塗布位置50を挟んで+X側及び−X側にそれぞれ配置されている。ノズル部NZは、当該薄膜の構成材料である液状体を基板S上に吐出するノズル52を有している。ノズル52は、塗布位置にアクセスしたときに基板Sの中央部側から外周部側へ向けて液状体を吐出するように、折り曲げ部52bにおいて折り曲げられ形成されている。ノズル52は、基板Sの回転軸に対して−Z側に設けられている。ノズル52は、塗布位置50を基準として基板Sの表面側(+X側)と裏面側(−X側)とで同じ位置に配置されており、X軸方向に対称となるように配置されている。ノズル52は、図11に示すように、先端の吐出面52aが液状体の吐出方向に対して傾けて形成されている。ノズル52の先端が尖った状態になるため、例えば液状体の塗布を停止する際に当該液状体の切れを良くすることができるようになっている。
カップ部CPは、内側カップCP1と、外側カップCP2とを有している。内側カップCP1は、X軸方向に見て円形に形成されており、塗布位置50に配置された基板Sの側方を囲むように配置されている。外側カップCP2は、X軸方向に見てほぼ正方形に形成されており、内側カップCP1を外側から支持するように配置されている。外側カップCP2は、例えば支持部材などを介してステージユニットSTUの上面に固定されている。内側カップCP1と外側カップCP2とは、本実施形態では一体的に形成されているが、分離形成されている構成であっても勿論構わない。
内側カップCP1は、液状体を収容する収容部53を有している。収容部53には、液状体及び収容部53内の気体のうち少なくとも一方を排出する排出機構54が設けられている。排出機構54は、円形に形成された内側カップCP1の外周の接線方向に沿って設けられている。排出機構54は、外側カップCP2を介して内側カップCP1の収容部53内に接続されている。図9に示すように、排出機構54は、例えば外側カップCP2の各辺に1つずつ、計4つ設けられている。図9に示すように、各排出機構54は、それぞれ排出経路に接続されている。各排出経路上には気体と液体を分離する気液分離機構としてのトラップ機構55を有している。なお、図8〜図10の他の排出機構54については、排出経路及びトラップ機構55の図示を省略している。
収容部53の入口であって、内側カップCP1のうち基板Sの側部に対向する部分53aは、内側カップCP1の他の部分に対して着脱可能に設けられている。内側カップCP1は、図12に示すように、当該対向部分53aの開口寸法を調節する調節機構53bを有している。調節機構53bにより、例えば基板Sの厚さに応じて開口寸法を調節したり塗布液の跳ね返り状態によって調整することができるようになっている。内側カップCP1には、図9に示すようにX軸を回転軸として当該内側カップCP1を基板Sの外周に沿った方向に回転させる回転機構(第2回転機構)53cが設けられている。ノズル52の−Y側には、カップ部CPの洗浄液を基板Sへ吐出する洗浄液ノズル部56がそれぞれ設けられている。
ノズル管理機構NMは、ノズル52の吐出状態が一定になるように管理する。ノズル管理機構NMは、図13に示すように、洗浄部57aと、吸引部57bと、液受部57cとを有している。洗浄部57aは、ノズル52の先端を洗浄液にディップさせることで洗浄するようになっている。吸引部57bは、ノズル52の先端を吸引する吸引パッド57dを有している。吸引パッド57dは、不図示の吸引ポンプなどに接続されている。液受部57cは、ノズル52から予備的に吐出される液状体を受ける部分である。
周縁部除去機構EBRは、塗布機構CTの+X側であって基板処理ユニットSPUの−Y側の端辺に沿った位置に設けられている。周縁部除去機構EBRは、基板Sの周縁部に形成された薄膜を除去する装置である。周縁部除去機構EBRによる除去処理は基板Sに形成された薄膜が乾燥しないうちに行うことが好ましい。このため、周縁部除去機構EBRは、塗布機構CTから基板Sを短時間で搬送可能な位置に配置されていることが好ましい。周縁部除去機構EBRは、図14に示すように、除去部58aと、吸引部58bとを有している。除去部58aは、例えば基板Sを回転させながら当該基板Sの周縁部を溶解液に浸すことで基板S周縁部に形成された薄膜を溶解して除去する部分である。吸引部58bは、基板Sの周縁部を吸引する吸引パッド58cを有している。吸引パッド58cは、不図示の吸引ポンプなどに接続されている。
(基板搬出ユニット)
図1〜図3に戻って、基板搬出ユニットULUは、基板処理システムSYSのうち基板処理ユニットSPUの+X側に配置されている。基板搬出ユニットULUは、処理後の基板Sを収容した搬出用カセットC2が回収されると共に空の搬出用カセットC2が供給されるユニットである。基板搬出ユニットULUはY軸方向が長手になっており、複数の搬出用カセットC2をY軸方向に沿って配置可能になっている。
基板搬出ユニットULUは、カセット出入口60及びカセット移動機構(第2移動機構)61を備えている。カセット出入口60は、基板搬出ユニットULUを覆うカバー部材の−Y側に設けられた開口部である。カセット出入口60は、空の搬出用カセットC2の入口(供給口)であり、処理後の基板Sを収容した搬出用カセットC2の出口(回収口)である。
カセット移動機構61は、例えばベルトコンベア機構などの駆動機構を有している。本実施形態では、当該駆動機構として搬送ベルトを有している。搬送ベルトは、基板搬出ユニットULUの+Y側端部から−Y側端部にかけてY軸方向に延設されており、X軸方向に2本並ぶように配置されている。
供給用ベルト61aは、2本の搬送ベルトのうち−X側に配置された搬送ベルトである。供給用ベルト61aの+Z側が搬送面となっている。供給用ベルト61aは、当該搬送面が−Y方向に移動するように回転する構成となっている。供給用ベルト61aの搬送面上には、カセット出入口60を介して基板搬出ユニットULU内へ入ってきた搬出用カセットC2が複数載置されるようになっている。当該搬出用カセットC2は、供給用ベルト61aの回転によって搬送ユニットCRU側へ移動するようになっている。
回収用ベルト61bは、2本の搬送ベルトのうち+X側に配置された搬送ベルトである。回収用ベルト61bの+Z側が搬送面となっている。回収用ベルト61bは、搬送面が−Y方向に移動するように回転する構成となっている。回収用ベルト61bの搬送面上には、処理後の基板Sを収容した搬出用カセットC2が複数載置されるようになっている。当該搬出用カセットC2は、回収用ベルト61bの回転によってカセット出入口60側へ移動するようになっている。
本実施形態では、例えば供給用ベルト61a上及び回収用ベルト61b上にそれぞれ5つずつ設けられた待機位置(容器待機部)で搬出用カセットC2が待機可能になっている。基板搬出ユニットULUでは、供給用ベルト61a及び回収用ベルト61bを回転させることによって搬出用カセットC2の待機位置を移動させることができるようになっており、当該待機位置を移動させることによって搬出用カセットC2の搬送時間を短縮させることが可能になっている。
(搬送ユニット)
搬送ユニットCRUは、基板処理システムSYS内の+Y側端辺に沿った領域に配置されており、基板処理ユニットSPU、基板搬入ユニットLDU及び基板搬出ユニットULUのそれぞれに接するように設けられている。搬送ユニットCRUは、基板処理ユニットSPUと基板搬入ユニットLDUとの間で搬入用カセットC1を搬送すると共に、基板処理ユニットSPUと基板搬出ユニットULUの間で搬出用カセットC2を搬送する。搬送ユニットCRUは、レール機構RL及びカセット搬送装置CCを有している。
レール機構RLは、ステージユニットSTU上に固定されており、搬送ユニットCRUの−X側端部から+X側端部までX軸方向に直線状に延設されている。レール機構RLは、カセット搬送装置CCの移動位置を案内する案内機構である。レール機構RLは、Y軸方向に並んで配置される平行な2本のレール部材70を有している。
カセット搬送装置CCは、2本のレール部材70を平面視で跨ぐように当該2本のレール部材70上に設けられている。カセット搬送装置CCは、基板処理ユニットSPUのバッファ機構BF、基板搬入ユニットLDU及び基板搬出ユニットULUのそれぞれにアクセスし、搬入用カセットC1及び搬出用カセットC2を保持して搬送する搬送装置である。カセット搬送装置CCは、可動部材71と、カセット支持板72と、支持板回転機構73と、カセット保持部材74と、保持部材昇降機構75と、保持部材スライド機構76とを有している。
可動部材71は、平面視でH字状に形成されており、2本のレール部材70に嵌合する凹部71aを有している。可動部材71は、不図示の駆動機構(モータ機構など)を例えば内部に有している。可動部材71は、当該駆動機構の駆動力によりレール部材70に沿った直線状の移動区間を移動可能になっている。
カセット支持板72は、可動部材71に固定された平面視矩形の板状部材である。カセット支持板72は、搬入用カセットC1及び搬出用カセットC2の底部の寸法よりも大きい寸法に形成されており、当該搬入用カセットC1及び搬出用カセットC2を載置した状態で安定させることができるようになっている。カセット支持板72は、可動部材71に固定されているため、可動部材71と一体的に移動するようになっている。
支持板回転機構73は、Z軸を回転軸としたXY平面上でカセット支持板72を回転させる回転機構である。支持板回転機構73は、カセット支持板72を回転させることにより、カセット搬送装置CC上に載置される搬入用カセットC1及び搬出用カセットC2の長手方向の向きを変化させることができるようになっている。
カセット保持部材74は、平面視でカセット支持板72の+Y側に配置された平面視U字状の保持部材である。カセット保持部材74は、X軸方向上の位置がカセット支持板72と重なるように設けられている。カセット保持部材74は、不図示の支持部材を介して可動部材71に支持されており、可動部材71と一体的に移動するようになっている。カセット保持部材74のU字の両端部分は、それぞれ搬入用カセットC1及び搬出用カセットC2に設けられた係合部Cxに係合する保持部74aとなっている。保持部74a(U字の両端部分)のX軸方向の間隔は、搬入用カセットC1及び搬出用カセットC2に設けられる係合部Cxの間隔に合わせて調節可能になっている。カセット保持部材74は、保持部74aを係合部Cxに係合させることにより、搬入用カセットC1及び搬出用カセットC2に対してZ軸方向の保持をより確実に行うことができるようになっている。
保持部材昇降機構75は、カセット保持部材74に設けられ、当該カセット保持部材74をZ軸方向に移動させる移動機構である。保持部材昇降機構75としては、例えばエアシリンダなどの駆動機構を用いることができる。保持部材昇降機構75によってカセット保持部材74を+Z方向に移動させることで、カセット保持部材74に保持される搬入用カセットC1及び搬出用カセットC2を持ち上げることができるようになっている。逆に保持部材昇降機構75によってカセット保持部材74を−Z方向に移動させることで、持ち上げたカセットを載置することができるようになっている。
保持部材スライド機構76は、カセット保持部材74に設けられ、当該カセット保持部材74をY軸方向に移動させる移動機構である。保持部材スライド機構76は、Y軸方向に延在するガイドバー76aと、当該ガイドバー76aに沿って移動する可動部材76bとを有している。可動部材76bはカセット保持部材74に固定されている。可動部材76bがガイドバー76aに沿ってY軸方向に移動することにより、カセット保持部材74は可動部材76bと一体的にY軸方向に移動するようになっている。
(制御ユニット)
制御ユニットCNUは、基板処理システムSYSのステージユニットSTU内に設けられている。制御ユニットCNUは、例えば基板処理ユニットSPUでの基板処理動作、基板搬入ユニットLDUや基板搬出ユニットULUでのカセット移動動作、搬送ユニットCRUでの搬送動作など上記各ユニットでの諸動作を制御する制御装置や、上記各ユニットで必要となる材料の供給源などを備えている。材料の供給源としては、例えば液状体の供給源や、洗浄液の供給源などが挙げられる。
次に、上記のように構成された基板処理システムSYSの動作を説明する。基板処理システムSYSの各ユニットで行われる動作は、制御ユニットCNUによって制御される。以下の説明では、動作が行われるユニットを主体として説明するが、実際には制御ユニットCNUの制御に基づいて各動作が行われる。
(カセット供給動作)
まず、処理前の基板Sを収容した搬入用カセットC1を基板搬入ユニットLDUに配置させ、空の搬出用カセットC2を基板搬出ユニットULUに配置させるカセット供給動作を説明する。
例えば不図示の供給装置等により、処理前の基板Sを収容した搬入用カセットC1がカセット出入口10を介して基板搬入ユニットLDU内に供給されてくる。基板搬入ユニットLDUは、供給用ベルト11aを回転させながら搬入用カセットC1を順次供給させる。この動作により、基板搬入ユニットLDU内には処理前の基板Sを収容した搬入用カセットC1が複数配列される。
一方、例えば不図示の供給装置等により、空の搬出用カセットC2がカセット出入口60を介して基板搬出ユニットULU内に供給されてくる。基板搬出ユニットULUは、供給用ベルト61aを回転させながら搬出用カセットC2を順次供給させる。この動作により、基板搬出ユニットULU内には空の搬出用カセットC2が複数配列される。
(カセット搬送動作)
次に、基板搬入ユニットLDUに供給された搬入用カセットC1及び基板搬出ユニットULUに供給された搬出用カセットC2を、それぞれ基板処理ユニットSPUへ搬送する。このカセット搬送動作は、搬送ユニットCRUに設けられたカセット搬送装置CCを用いて行う。
搬入用カセットC1の搬送動作を説明する。搬送ユニットCRUは、カセット搬送装置CCを基板搬入ユニットLDUにアクセスさせて搬入用カセットC1を取り込ませ、当該カセット搬送装置CCを搬入側バッファ機構BF1へ移動させる。搬送ユニットCRUは、カセット搬送装置CCを移動させた後、搬入側バッファ機構BF1の待機位置P1に搬入用カセットC1を載置させる。基板搬入ユニットLDUは、取り込みが行われた後、供給用ベルト11aを移動させ、残りの搬入用カセットC1を全体的に+Y方向に移動させておく。搬入用カセットC1の移動により供給用ベルト11a上の−Y側端部のスペースが空くので、不図示の供給機構により新たな搬入用カセットC1を当該空いたスペースに供給させておく。
搬出用カセットC2の搬送動作についても同様に、搬送ユニットCRUは、カセット搬送装置CCを基板搬出ユニットULUにアクセスさせて搬出用カセットC2を取り込ませ、搬出側バッファ機構BF1へカセット搬送装置CCを移動させる。搬送ユニットCRUは、カセット搬送装置CCを移動させた後、搬出側バッファ機構BF2の待機位置P5に搬出用カセットC2を載置させる。基板搬出ユニットULUは、取り込みが行われた後、供給用ベルト61aを移動させ、残りの搬出用カセットC2を全体的に+Y方向に移動させておく。搬出用カセットC2の移動により供給用ベルト61a上の−Y側端部のスペースが空くので、不図示の供給機構により新たな搬出用カセットC2を当該空いたスペースに供給させておく。
(基板処理動作)
次に、基板処理ユニットSPUにおける処理動作を説明する。
基板処理ユニットSPUでは、処理前の基板Sを収容した搬入用カセットC1と空の搬出用カセットC2とを移動させる移動動作、搬入用カセットC1に収容された基板Sのローディング動作、基板Sに液状体を塗布する塗布動作、基板Sに形成された薄膜の周辺部を除去する周縁部除去動作、処理後の基板Sのアンローディング動作、空になった搬入用カセットC1と処理後の基板Sを収容した搬出用カセットC2とを移動させる移動動作、ノズル部NZのメンテナンス動作及びカップ部CPのメンテナンス動作がそれぞれ行われる。上記各動作に加え、ローディング動作と塗布動作との間、塗布動作と周縁部除去動作との間及び整形動作とアンローディング動作との間には、基板Sの搬送動作が行われる。
これらの動作のうち、まず搬入用カセットC1及び搬出用カセットC2の移動動作を説明する。基板処理ユニットSPUは、搬入側バッファ機構BF1の待機位置P1に搬送された搬入用カセットC1を搬送ベルト20aによって待機位置P2へ移動させ、当該待機位置P2へ移動させた搬入用カセットC1を搬送ベルト20bによって更に待機位置P4へと移動させる。同様に、基板処理ユニットSPUは、搬出側バッファ機構BF2の待機位置P5に搬送された搬出用カセットC2を搬送ベルト22aによって待機位置P6へ移動させ、当該待機位置P6へ移動させた搬出用カセットC2を搬送ベルト22bによって更に待機位置P8へと移動させる。これらの動作により、基板処理ユニットSPU内に搬送されてきた搬入用カセットC1及び搬出用カセットC2が処理開始時の位置に配置されることとなる。
次に、基板Sのローディング動作を説明する。基板処理ユニットSPUは、搬入用カセットC1が待機位置P4に配置されていることを確認した後、基板上部保持機構23をクランプ位置に配置させると共に、基板下部保持機構24の昇降部材24aを+Z方向へ移動させる。この移動により、昇降部材24aの+Z側端部に取り付けられたクランプ部材24bが搬入用カセットC1内に収容された基板Sのうち最も−Y側に配置された1枚の−Z側に当接し、当該クランプ部材24bによって基板Sの−Z側が保持される。
基板Sの−Z側を保持した後、基板処理ユニットSPUは、保持状態を維持したまま昇降部材24aを+Z方向に更に移動させる。この移動により、基板下部保持機構24によって基板Sが+Z側に持ち上げられ、基板Sの+Z側が基板上部保持機構23のクランプ部材23bに当接し、当該クランプ部材23bによって基板Sの+Z側が保持される。基板Sは、基板上部保持機構23のクランプ部材23b及び基板下部保持機構24のクランプ部材24bの両方によって保持された状態となる。
基板処理ユニットSPUは、クランプ部材23b及びクランプ部材24bによって基板Sを保持したまま、昇降部材23a及び昇降部材24aを同時に+Z方向へ移動させる。基板処理ユニットSPUは、昇降部材23a及び昇降部材24aの移動が等速となるように昇降機構23c及び昇降機構24cを連動させる。基板Sは、クランプ部材23b及びクランプ部材24bによって保持された状態で+Z方向へ移動する。基板処理ユニットSPUは、基板SがローディングポジションLPに配置されたら、昇降部材23a及び昇降部材24aの移動を停止させる。このようにして、基板Sのローディング動作を行う。
ローディング動作の後、基板処理ユニットSPUは、搬入側搬送機構SC1の保持部32をローディングポジションLPへアクセスさせ、当該ローディングポジションLPに配置された基板Sを保持部32に保持させる。保持部32をローディングポジションLPへアクセスさせる際、基板処理ユニットSPUは、回転台30bを回転させてアーム部31の先端面31bを+Y側に向けると共に、モータ装置35aを駆動させてアーム部31をY軸方向に移動させる。このアーム部31の移動に伴い、アーム部31の先端面31bに取り付けられた保持部32は、ローディングポジションLPにアクセスされる。
保持部32をアクセスさせた後、基板処理ユニットSPUは、吸引ポンプ34aを作動させ基板Sを保持部32に吸着させて保持させる。この動作により、基板Sは保持部32によってZ軸方向に立てた状態で保持されることとなる。基板処理ユニットSPUは、保持部32によって基板Sを立てた状態で保持させた後、クランプ部材23b及びクランプ部材24bによる保持力を解除し、基板Sが保持部32のみに保持された状態とする。この状態から、基板処理ユニットSPUは、保持力を解除させたクランプ部材23b及びクランプ部材24bを−Z方向へ退避させる。クランプ部材23b及び24bの退避後、基板処理ユニットSPUは、搬入側搬送機構SC1の回転台30bを回転させ、基板Sを保持したまま当該基板SをZ軸方向に立てた状態で塗布機構CT内の塗布位置へと搬送させる。
次に、基板Sに液状体を塗布する塗布動作を説明する。この塗布動作には、塗布機構CTが用いられる。基板処理ユニットSPUは、基板SをZ軸方向に立てた状態で当該基板Sを高速で回転させ、塗布機構CTに設けられたノズル52を塗布位置50にアクセスさせて当該ノズル52から基板Sへ液状体を吐出させる。
具体的には、基板処理ユニットSPUは、基板Sを塗布位置50に配置させた状態でモータ装置33aを作動させる。モータ装置33aの作用によって回転軸部材33bが回転し、回転軸部材33bに保持される保持部32が当該回転軸部材33bと一体的に回転する。この動作によって、基板SがZ軸方向に立った状態で回転する。
基板処理ユニットSPUは、基板SをZ軸方向に立てた状態で回転させた後、塗布位置50の+X側及び−X側のノズル52をそれぞれ基板Sにアクセスさせ、これらのノズル52から基板Sの表面及び裏面に液状体を吐出させる。吐出された液状体は、回転の遠心力によって基板Sの外周まで行き渡り、基板Sの両面に薄膜が形成される。
各ノズル52が基板Sの回転軸の−Z側に配置された状態となるため、保持部32及びアーム部31に接触させること無くノズル52が配置されることとなる。加えて、各ノズル52が基板Sの回転軸側から基板Sの外周側へ液状体を吐出するため、基板Sの中央部への液状体の移動が抑制されることとなる。
基板処理ユニットSPUは、基板Sを回転させながら液状体を塗布する際に、内側カップCP1を回転させる。基板Sの回転により、基板S上に吐出された液状体のうち基板Sをはみ出して飛散した液状体が、内側カップCP1の対向部分53aに形成される開口部を介して収容部53内へ収容される。収容部53内は、内側カップCP1の回転によって当該回転方向へ液状体の流れ及び気体の流れが生じる。この流れに沿って液状体及び気体は外側カップCP2に接続される排出機構54を介して排出経路へ排出される。排出経路へ排出された液状体及び気体は、トラップ機構55によって分離され、気体がトラップ機構55内を通過すると共に液状体がトラップ機構55内に残留する。トラップ機構55内に残留した液状体は不図示の排出部を介して排出される。
塗布動作の後、基板処理ユニットSPUは、塗布機構CT内の基板Sに対して、+X側から搬出側搬送機構SC2の保持部42をアクセスさせ、当該保持部42によって基板Sを保持させる。保持部42による基板Sの保持動作は、上記の保持部32による基板Sの保持動作と同一である。この動作により、基板Sの一方の面が搬入側搬送機構SC1の保持部32によって保持され、基板Sの他方の面が搬出側搬送機構SC2の保持部42によって保持された状態となる。
基板処理ユニットSPUは、保持部42によって基板Sを保持させた後、吸引ポンプ34aの作動を停止させて保持部32による保持を解除させる。この動作により、基板Sは搬出側搬送機構SC2の保持部42のみによって保持されることになり、基板Sが搬入側搬送機構SC1から搬出側搬送機構SC2へと受け渡されることになる。
次に、基板Sの周囲に形成された薄膜を除去する周縁部除去動作を説明する。この周縁部除去動作には、周縁部除去機構EBRが用いられる。周縁部除去機構EBR内に配置された基板Sの周縁部を除去部58a内の溶解液に浸し、この状態で基板Sを回転させると、溶解液に浸された周縁部の薄膜が溶解して除去される。本実施形態では、周縁部除去動作において基板Sを回転させる際に、搬出側搬送機構SC2によって基板Sを保持させた状態で当該搬出側搬送機構SC2を用いて基板Sを回転させる。周縁部の薄膜を除去した後、基板処理ユニットSPUは、基板Sの周縁部を吸引部58bの吸引パッド58cの間に移動させ、基板Sの周縁部を吸引させる。当該吸引動作によって、基板Sの周縁部に残留した液状体や溶解液などを除去することができる。
具体的には、基板Sの受け渡し後、基板処理ユニットSPUは、回転台40bを回転させると共にアーム部41を適宜伸縮させて、保持部42を周縁部除去機構EBRにアクセスさせる。アクセス後、基板処理ユニットSPUは、アーム部41を移動させる、あるいはディップ部を移動させることにより、基板Sの周縁部をディップ部の溶解液内に浸す。この状態で、基板処理ユニットSPUは、搬出側搬送機構SC2のモータ装置43aを作動させる。モータ装置43aの作用によって回転軸部材43bが回転し、回転軸部材43bに保持される吸引部材46が当該回転軸部材43bと一体的に回転する。この回転により、基板Sの周縁部の薄膜が除去されることになる。
周縁部除去動作の後、基板処理ユニットSPUは、基板上部保持機構25のクランプ部材25bがアンローディングポジションUPの+Z側に位置するように昇降部材25aを移動させる。昇降部材25aの移動後、基板処理ユニットSPUは、搬出側搬送機構SC2の保持部42によって基板Sを保持させた状態で回転台40bを回転させると共にアーム部41を適宜伸縮させて、保持部42をアンローディングポジションUPにアクセスさせる。この動作により、基板SがアンローディングポジションUPに配置される。
次に、基板Sのアンローディング動作を説明する。基板処理ユニットSPUは、基板SがアンローディングポジションUPに配置されていることを確認した後、基板上部保持機構25の昇降部材25aを−Z方向へ移動させると共に、基板下部保持機構26の昇降部材26aを+Z方向へ移動させる。この移動により、昇降部材25aの−Z側に取り付けられたクランプ部材25bが基板Sの+Z側に当接すると共に、昇降部材26aの+Z側端部に取り付けられたクランプ部材26bが基板Sの−Z側に当接し、当該クランプ部材25b及びクランプ部材26bによって基板Sの+Z側及び−Z側がそれぞれ保持される。
基板処理ユニットSPUは、クランプ部材25b及びクランプ部材26bの両方によって基板Sが保持されていることを確認した後、搬出側搬送機構SC2の吸引ポンプ44aの作動を停止させ、保持部42による基板Sの保持を解除する。この動作により、基板Sを保持するのはクランプ部材25b及びクランプ部材26bのみとなる。基板処理ユニットSPUは、クランプ部材25b及びクランプ部材26bによる保持状態を維持したまま昇降部材25a及び昇降部材26aを−Z方向に同時に移動させる。基板処理ユニットSPUは、昇降部材25a及び昇降部材26aの移動が等速となるように昇降機構25c及び昇降機構26cを連動させる。基板Sは、クランプ部材25b及びクランプ部材26bによって保持された状態で−Z方向へ移動する。
昇降部材25aの突出部分が搬出用カセットC2に近づいたら、基板処理ユニットSPUは、クランプ部材25bによる保持力を解除させると共に昇降部材25aの移動を停止させ、昇降部材26aのみを−Z方向へ移動させる。基板Sは、クランプ部材26bの保持力によってのみ保持された状態で−Z方向に移動する。
基板処理ユニットSPUは、基板Sが搬出用カセットC2内の収容位置に到達するまでクランプ部材26bによる保持を継続させる。当該収容位置に到達後、基板処理ユニットSPUは、クランプ部材26bによる保持を解除させ、昇降部材26aを−Z方向へ移動させる。この動作により、基板Sが搬出用カセットC2内に収容される。
上記各動作の説明では、搬入用カセットC1の最も−Y側に収容された1枚の基板Sについて順を追って動作を行っていく様子を説明したが、実際には、複数の基板Sについて連続して動作が行われる。この場合、基板処理ユニットSPUは、搬送ベルト20bを回転させ、搬入用カセットC1に収容される残りの基板Sのうち最も−Y側の基板SがローディングポジションLPに平面視で重なる位置に配置されるように当該搬入用カセットC1を−Y方向に移動させる。
同様に、基板処理ユニットSPUは、搬送ベルト22bを回転させ、搬出用カセットC2内の収容位置のうち最も−Y側の収容位置がアンローディングポジションUPに平面視で重なる位置に配置されるように当該搬出用カセットC2を−Y方向に移動させる。基板処理ユニットSPUは、搬入用カセットC1及び搬出用カセットC2について当該移動を行わせながら、上記の各処理を繰り返し行わせる。
複数の基板Sについて処理を行わせる場合、基板処理ユニットSPUは、当該複数の基板Sについて並行して処理動作を行わせる。具体的には、ある基板Sについて塗布動作を行わせている間、他の基板Sについては周縁部除去動作を行わせ、更にこれらとは異なる基板Sについてはローディング動作やアンローディング動作を行わせる、というように複数の基板Sについて並行して処理動作を行わせる。このように並行処理を行わせることで、基板Sの待機時間を極力短縮させるようにし、基板Sの処理タクトの短縮を図っている。
搬入用カセットC1内に収容されていた全ての基板Sの処理が完了した場合、当該搬入用カセットC1は空の状態になり、待機位置P8に待機する搬出用カセットC2の全ての収容位置が処理後の基板Sで満たされた状態になる。基板処理ユニットSPUは、この状態を確認した後、搬送ベルト20bを上記とは逆向きに回転させて搬入用カセットC1を待機位置P4から待機位置P2へと移動させ、更には搬送ベルト20aを回転させて搬入用カセットC1を待機位置P3へと移動させる。同様に、基板処理ユニットSPUは、搬送ベルト22bを上記とは逆向きに回転させて搬出用カセットC2を待機位置P8から待機位置P6へ移動させ、更には搬送ベルト22aを回転させて搬出用カセットC2を待機位置P7へと移動させる。
次に、塗布機構CTのうちノズル部NZ及びカップ部CPのメンテナンス動作を説明する。塗布動作の回数を重ねると、ノズル部NZやカップ部CPには液状体の固化物や大気中の塵や埃等の不純物が付着することがある。当該不純物は、例えばノズル52を詰らせて吐出特性を低下させたり、カップ部CP内の排出経路を塞いでしまったりする可能性がある。また、各吐出動作においてノズル52の吐出環境が変化しないように管理する必要がある。したがって、定期的にノズル部NZ及びカップ部CPのメンテナンス動作を行う必要がある。
ノズル部NZのメンテナンス動作には、ノズル管理機構NMが用いられる。ノズル52を洗浄する際には、基板処理ユニットSPUは、ノズル部NZを移動させてノズル52をノズル管理機構NMにアクセスさせる。基板処理ユニットSPUは、洗浄部57a内の洗浄液内にノズル52の先端を移動させ、ノズル52の先端を洗浄する。
当該洗浄動作後、基板処理ユニットSPUは、ノズル52の先端を吸引部57bのうち吸引パッド57dの間に移動させ、ノズル52の先端を吸引する。当該吸引動作により、ノズル52に残留する洗浄液などの不純物が除去される。
吸引動作の後、基板処理ユニットSPUは、ノズル52の先端を液受部57c内に移動させる。当該液受け部57cでは、ノズル52の予備吐出動作が行われる。ノズル52から液状体を予備的に吐出させることにより、ノズル52の吐出環境が調整されることとなる。基板処理ユニットSPUは、ノズル52の先端を液受部57c内に移動させた後、ノズル52に液状体を吐出させる。吐出された液状体は、液受部57c内に溜まり、不図示の回収機構によって回収される。
カップ部CPのメンテナンス動作について説明する。カップ部CPを洗浄する際には、洗浄液ノズル部56が用いられる。基板処理ユニットSPUは、上記塗布動作を行わせる際、基板Sを回転させた状態でノズル52の代わりに洗浄液ノズル部56を基板Sの+X側及び−X側からアクセスさせ、各洗浄液ノズル部56から基板Sへ洗浄液を吐出させる。基板S上に吐出された洗浄液は、回転の遠心力によって基板Sの周縁部へ移動し、基板Sの周縁部から内側カップCP1側へ飛散される。飛散した洗浄液は、対向部分53aの開口部を介して収容部53内へ収容される。この際に、基板処理ユニットSPUは、内側カップCP1を回転させておくことで、収容部53内に洗浄液の流れを形成させることができ、当該洗浄液の流れによって収容部53内及び排出経路内が洗浄されることになる。この洗浄液の排出は、液状体の排出と同様、トラップ機構55において気体と分離されて排出されることとなる。
カップ部CPの洗浄動作については、例えば収容部53の対向部分53aを取り外した状態で行っても構わない。洗浄動作を行う場合以外にも、例えば対向部分53aを取り外して当該対向部分53aを別途洗浄するようにしても構わないし、対向部分53aを取り外した上でカップ部CPの他の部分のメンテナンスを行っても構わない。
(カセット搬送動作)
次に、空になった搬入用カセットC1を基板搬入ユニットLDUへ搬送すると共に処理後の基板Sが収容された搬出用カセットC2を基板搬出ユニットULUへ搬送するカセット搬送動作を説明する。
搬入用カセットC1の搬送動作を説明する。この搬送動作は、上記の搬送動作で用いたカセット搬送装置CCを用いて行う。搬送ユニットCRUは、カセット搬送装置CCを基板処理ユニットSPUの搬入側バッファ機構BF1まで移動させ、待機位置P3で待機している空の搬入用カセットC1の取り込み動作をカセット搬送装置CCに行わせる。
搬入用カセットC1の取り込み後、搬送ユニットCRUは、カセット搬送装置CCを基板搬入ユニットLDUへ向けて−X方向に移動させる。当該移動後、搬送ユニットCRUは、カセット支持板72上に載置された空の搬入用カセットC1を回収用ベルト11bの+Y側端部上に載置させ、カセット保持部材74を+Y側へ退避させる。
搬出用カセットC2の搬送動作を説明する。この搬送動作は、上記搬入用カセットC1の搬送動作と同様、カセット搬送装置CCを用いて行う。搬送ユニットCRUは、基板処理ユニットSPUの搬出側バッファ機構BF2までカセット搬送装置CCをX軸方向に移動させ、待機位置P7で待機している搬出用カセットC2の取り込みをカセット搬送装置CCに行わせる。
取り込み動作の後、搬送ユニットCRUは、カセット搬送装置CCを基板搬出ユニットULUへ向けて−X方向に移動させる。当該移動後、搬送ユニットCRUは、カセット支持板72上に載置された搬出用カセットC2を回収用ベルト61bの+Y側端部上に載置させ、カセット保持部材74を+Y側へ退避させる。
(カセット回収動作)
次に、空になった搬入用カセットC1及び処理後の基板Sを収容した搬出用カセットC2を回収するカセット回収動作を説明する。
基板搬入ユニットLDUは、空になった搬入用カセットC1が搬送されてきたことを確認した後、回収用ベルト11bを回転させ、カセット出入口10を介して当該搬入用カセットC1を基板搬入ユニットLDUの外部へ搬送させる。搬入用カセットC1が基板搬入ユニットLDUに搬送されてくる度に、この動作を繰り返す。
同様に、基板搬出ユニットULUは、処理後の基板Sを収容した搬出用カセットC2が搬送されてきたことを確認した後、回収用ベルト61bを回転させ、−Y方向へ移動させ、カセット出入口60を介して当該搬出用カセットC2を基板搬出ユニットULUの外部へ搬送させる。搬出用カセットC2が基板搬出ユニットULUに搬送されてくる度に、この動作を繰り返す。
(カセット補充動作)
搬送ユニットCRUは、待機位置P1及び待機位置P5が空いた状態になっていることを確認した後、カセット搬送装置CCによって当該待機位置P1及び待機位置P5に次の搬入用カセットC1及び搬出用カセットC2を搬送させる。搬送ユニットCRUは、まずカセット搬送装置CCを基板搬入ユニットLDUまで移動させて次の搬入用カセットC1を取り込ませる。取り込み動作の後、搬送ユニットCRUは、カセット搬送装置CCを搬入側バッファ機構BF1まで移動させ、取り込んだ搬入用カセットC1を待機位置P1に載置させる。同様に、搬送ユニットCRUは、カセット搬送装置CCを基板搬出ユニットULUに移動させて次の搬出用カセットC2を取り込ませ、その後カセット搬送装置CCを搬出側バッファ機構BF2に移動させて搬出用カセットC2を待機位置P5に載置させる。
搬入用カセットC1が待機位置P1から待機位置P2へ移動し、搬出用カセットC2が待機位置P5から待機位置P6へ移動すると、待機位置P1及び待機位置P5が再び空いた状態になる。この空いた状態の待機位置P1及び待機位置P5には、更に次の搬入用カセットC1及び搬出用カセットC2を搬送しそれぞれ待機させることができる。このように、搬入側バッファ機構BF1及び搬出側バッファ機構BF2の待機位置P1及び待機位置P5が空いた状態になる毎に、搬送ユニットCRUは、基板搬入ユニットLDUから搬入用カセットC1を搬送させ、基板搬出ユニットULUから搬出用カセットC2を搬送させる。
以上のように、本実施形態によれば、立てた状態で回転させた基板Sの両面からノズル52によって液状体を吐出することができるので、基板Sの表面と裏面とで液状体の塗布環境をより近づけることができる。基板Sの表面と基板の裏面との間で塗布される液状体の状態を近づけることができるため、基板S上に形成される液状体の薄膜の状態が異なるのを防ぐことができる。これにより、基板S上に塗布される液状体の状態を改善することができる。
ノズル部NZに関して、当該ノズル52が基板Sの中央部側から基板の外周部側へ向けて液状体を吐出するように形成されていることとしたので、ノズル52の吐出方向と基板S上に作用する遠心力の方向とを方向とが揃うこととなる。これにより、液状体をより効率的に塗布することができる。本実施形態では、ノズル52が中央部側から外周部側へ折り曲げられて形成されていることとしたので、液状体の吐出方向を調節する調節機構などを別途設けることなく、簡単な構成によって液状体の吐出方向を調節することができる。
また、ノズル52が先端の吐出面52aが液状体の吐出方向に対して傾けて形成されていることとしたので、ノズル52の先端における液状体の表面張力を小さくすることができる。これにより、ノズル52の先端に液状体を残留しにくくすることができる。また、ノズル52が基板搬送機構SCの回転軸に対して下側に設けられていることとしたので、液状体の吐出方向と重力方向とを一致させることができる。これにより、液状体が基板S上を広がりやすくすることができる。
また、ノズル52が基板Sの表面側と裏面側とで同じ位置に配置されていることとしたので、基板Sの表面上と基板の裏面上とで塗布環境を近づけることができる。これにより、基板Sの両面に液状体を均一に塗布することができる。また、ノズル52を移動させる移動機構51が設けられていることとしたので、塗布機構CTの処理状況に応じてノズル52の位置を移動させることができる。これにより、より幅広い処理が可能となる。
ノズル管理機構NMに関して、ノズル管理機構NMがノズル52の先端を洗浄液にディップさせることで洗浄する洗浄部57aを有することとしたので、ノズル52の先端に付着する液状体を洗浄して除去することができる。ノズル52の先端に液状体が付着すると、ノズル52が詰ってしまい、吐出性能が低下する要因となる。本発明では、ノズル52の先端を洗浄することにより、このような吐出性能の低下を防ぐことができる。また、ノズル管理機構NMがノズル52の先端を吸引する吸引部57bを有することとしたので、ノズル52の先端に付着した液状体や、当該液状体を洗浄した後の洗浄液などをノズル52の先端から除去することができる。これにより、ノズル52の先端をより清浄な状態に保持することができる。また、ノズル管理機構NMがノズル52から予備的に吐出される液状体を受ける液受部57cを有することとしたので、予備的な液状体の吐出動作を行いやすい状態となる。これにより、ノズル52の吐出性能が低下するのを防ぐことができる。
カップ部CPに関して、カップ部CPが液状体を収容する収容部53を有することとしたので、飛散する液状体を当該収容部53に集めることができる。これにより、飛散した液状体を効率的に管理することができる。また、カップ部CPのうち基板Sの側部との対向部分53aがカップ部CPの他の部分に対して着脱可能に設けられていることとしたので、カップ部CPがメンテナンスしやすい状態となる。これにより、カップ部CPの清浄化を容易に行うことができる。また、当該対向部分53aの開口寸法を調節する調節機構53bを有することとしたので、基板Sの厚さや液状体の飛散の程度など、塗布処理の環境が異なる場合であっても柔軟に対応することができる。
また、カップ部CPが内側カップCP1と外側カップCP2とを有し、内側カップCP1には当該内側カップCP1を基板Sの外周に沿った方向に回転させる回転機構53cが設けられていることとしたので、カップ部CP全体を回転させることなく、内側カップCP1のみを回転させることができる。また、収容部53に液状体及び収容部53内の気体のうち少なくとも一方を排出する排出機構54が接続されていることとしたので、当該排出機構54によって収容部53内の液状体が排出されると共に、収容部53内に気体の流れを形成させることができる。また、内側カップCP1が円形に形成されており、排出機構54が内側カップCP1の外周の接線方向に沿って設けられていることとしたので、基板Sの回転方向に沿って液状体を排出させることができる。また、当該排出機構54が排出経路上には、トラップ機構55が配置されているため、液状体を処理しやすくすることができる。
また、カップ部CPを洗浄する洗浄液を基板Sへ吐出する洗浄液ノズル部56を更に備えることとしたので、基板Sの回転によって基板S上に吐出された洗浄液を内側カップCP1内の収容部53に飛散させることができる。これにより、カップ部CPを効率的に洗浄することができる。
周縁部除去機構EBRに関して、基板Sの外周部を溶解液に浸すことで液状体を除去する除去部58aを有することとしたので、外周部に塗布された液状体を効率的に除去することができる。また、基板Sの外周部を吸引する吸引部58bを有することとしたので、基板Sの外周部に付着した液状体や溶解液を速やかに除去することができる。
本発明の技術範囲は上記実施形態に限定されるものではなく、本発明の趣旨を逸脱しない範囲で適宜変更を加えることができる。
例えば、上記実施形態では、カップ部CPを洗浄するための洗浄液を吐出するノズルとして洗浄液ノズル部56を配置する構成としたが、これに限られることは無く、例えば洗浄液ノズルとして、上記のノズル52を兼用して用いる構成であっても構わない。この場合、ノズル52の供給源を液状体と洗浄液とで切り替え可能な切替機構(不図示)を配置させるようにする。これにより、装置構成を複雑化することなく効率的にメンテナンスを行うことが可能となる。
また、上記実施形態においては、ノズル部NZの位置を基板Sの回転軸の−Z側に配置させ、重力方向に沿って液状体を吐出する構成としたが、これに限られることは無く、例えばノズル部NZの位置を基板Sの回転軸の+Z側に配置し、重力方向に逆らって液状体を吐出する構成であっても構わない。
また、上記実施形態においては、ノズル52が折り曲げ部52bにおいて折り曲げられた構成としたが、これに限られることは無く、例えばノズル52が基板Sの回転軸の−Z側へ向けて曲線状に形成された構成であっても構わない。これにより、液状体の流通をスムーズにすることができる。
また、上記実施形態においては、ノズル52が基板Sの表面側と裏面側とで同じ位置に配置されている構成としたが、これに限られることは無く、例えばノズル52の表面側の位置と裏面側の位置とを異なる位置に配置する構成であっても構わない。例えば塗布位置50の+X側についてはノズル52を基板Sの回転軸の−Z側に配置し、塗布位置50の−X側についてはノズル52を基板Sの回転軸の+Z側に配置する構成であっても構わない。勿論、+Z側及び−Z側の配置を逆にしても構わない。
また、上記実施形態では、ノズル管理機構NMを各ノズル部NZの+Y側の位置にそれぞれ配置する構成としたが、これに限られることは無く、ノズル部NZの移動可能な範囲であれば、他の位置に配置させる構成としても構わない。
また、上記実施形態では、カップ部CP内を洗浄する際に、洗浄液ノズル部56を用いて基板Sに洗浄液を吐出する構成としたが、これに限られることは無く、例えば基板Sとは異なる洗浄液吐出用の基板を塗布位置50に配置させ、当該洗浄液吐出用の基板に洗浄液を吐出する構成としても構わない。これにより、薄膜形成以外に用いる基板Sの消費を抑えることができる。
また、上記実施形態では、周縁部除去機構EBRの構成において、除去部58aと吸引部58bとを基板Sの基板面に対して垂直な方向に配置させる構成としたが、これに限られることは無く、例えば図15に示すように、基板面上に並べて配置させる構成であっても構わない。この構成では、1枚の基板Sの周縁部を除去部58a内及び吸引部58b内に同時に配置させることができる。これにより、基板Sを回転させることで、周縁部を除去しつつ吸引することが可能となり、処理タクトを短縮させることができる。
また、上記実施形態においては、基板搬送機構SCが基板処理ユニットSPU内の2箇所に配置された構成としたが、これに限られることは無く、例えば基板搬送機構SCが1箇所に配置された構成であっても構わないし、3箇所以上に配置された構成であっても構わない。
また、上記実施形態において、基板搬入ユニットLDUはカセット移動機構11としてベルトコンベア機構を有している構成を例に挙げて説明したが、これに限られることは無く、これに限られることは無く、ベルトコンベア機構以外にも例えば搬入用カセットC1の係合部Cxを保持するホーク部材を有する構成であっても構わない。このホーク部材としては、例えばカセット搬送装置CCのカセット保持部材74と同様の構成とすることができる。ホーク部材によって搬入用カセットC1の係合部Cxを保持して基板搬入ユニットLDU内を移動させる構成とすることができる。当該ホーク部材は、基板搬出ユニットULUのカセット移動機構61として用いることも可能である。
また、上記実施形態においては、搬入側バッファ機構BF1及び搬出側バッファ機構BF2において、搬入用カセットC1及び搬出用カセットC2の待機位置を移動する機構として搬送ベルト20a、20b、22a及び22bを例に挙げて説明したが、これに限られることは無く、例えば搬入側バッファ機構BF1において、搬入用カセットC1を待機位置P1、待機位置P2、待機位置P4、待機位置P2、待機位置P3と順に移動させる移動機構を設ける構成であっても構わない。バッファ機構BF2においても同様に、搬出用カセットC2を待機位置P5、待機位置P6、待機位置P8、待機位置P6、待機位置7と順に移動させる移動機構を設ける構成であっても構わない。このような移動機構としては、例えば搬入用カセットC1、搬出用カセットC2の係合部Cxを保持するホーク部材を有する構成などが挙げられる。このホーク部材としては、例えばカセット搬送装置CCのカセット保持部材74と同様の構成とすることができる。
また、上記実施形態では、搬入側搬送装置SC1が単独で基板Sを保持して回転させる構成としたが、これに限られることは無く、例えば搬入側搬送装置SC1と搬出側搬送装置SC2とで1つの基板Sの表裏を挟むように保持して回転させる構成であっても構わない。この場合、搬入側搬送装置SC1及び搬出側搬送装置SC2のうち一方を主動的に回転させ、他方を従動的に回転させる構成としても構わないし、両方を主動的に回転させる構成としても構わない。搬入側搬送装置SC1と搬出側搬送装置SC2とで基板Sの表裏を保持することにより、基板Sの表面側及び裏面側の気流等の状態を極力等しくすることができる。基板Sの両面側の状態を調整することにより、基板Sの両面に塗布される膜質が異なってしまうのを防ぐことができる。
また、上記実施形態においては、周縁部除去装置EBRを搬出側搬送装置SC2側にのみ配置する構成としたが、これに限られることは無く、例えば搬入側搬送装置SC1側にも配置する構成としても構わない(図1の一点鎖線部分)。このように構成することにより、例えば搬入側搬送装置SC1及び搬出側搬送装置SC2の両方に塗布動作及び周縁部除去動作をそれぞれ行わせることができる。
例えば、搬入側搬送装置SC1によって塗布装置を行わせている間に、搬出側搬送装置SC2によって周縁部除去動作を行わせることができ、逆に搬入側搬送装置SC1に周縁部除去動作を行わせている間に、搬出側搬送装置SC2によって塗布動作を行わせることができる。このように、2つの基板搬送装置SCを交互に塗布装置CTにアクセスさせることによりパラレル処理を行わせることができるので、効率的な処理が可能となり、処理タクトの一層の短縮化を図ることができる。
また、上記のように搬入側搬送装置SC1と搬出側搬送装置SC2とで1つの基板Sを同時に保持して回転させる構成とした場合、周縁部除去装置EBR内を塗布装置CT内に設けるようにしても構わない。この構成により、搬入側搬送装置SC1と搬出側搬送装置SC2とで基板Sを保持して回転させつつ塗布動作を行わせ、塗布動作の後に当該塗布動作と連続して周縁部除去動作を行わせることが可能となる。これにより、1つの装置において塗布動作及び周縁部除去動作を行うことができこととなるため、処理の効率化を図ることができる。また、塗布動作及び周縁部除去動作を1つの塗布装置CT内で行わせることにより、例えば一の基板Sに対する塗布動作及び周縁部除去動作を行った後、搬出側搬送装置SC2によって当該一の基板Sを搬出させつつ、搬入側搬送装置SC1によって次に処理する基板Sを搬入させることができる。搬入側搬送装置SC1によるローディング動作と搬出側搬送装置SC2によるアンローディング動作とを同時に行うことができるため、効率的な処理が可能となる。
周縁部除去装置EBRを塗布装置CT内に配置する場合、その形態としては、例えば液状体の塗布用に用いられる洗浄液ノズル部56と同一の形状を有する溶解液ノズルを塗布装置CT内に別途配置させ、当該周縁部除去用ノズルから液状体の溶解液が吐出させるようにしておく構成などが挙げられる。また、当該溶解液ノズルを洗浄液ノズル部56と兼用させる構成であっても構わない。この場合、洗浄液ノズル部56に溶解液の供給源を接続させておき、洗浄液の供給源と溶解液の供給源とを切り替えて吐出させることにより、同一の洗浄液ノズル部56から洗浄液及び溶解液の両方を吐出させることができる。
洗浄液ノズル部56から溶解液を吐出させる場合、例えば制御ユニットCNUは、まず図16(a)に示すように、基板Sに溶解液が接触しない位置T1で洗浄液ノズル部56から溶解液を吐出させる。その後、制御ユニットCNUは、図16(b)に示すように当該溶解液を吐出させた状態で洗浄液ノズル部56を基板Sへの吐出位置T2へ移動させ、吐出位置T2において溶解液を基板Sの周縁部に吐出させる。このような動作により、洗浄液ノズル部56からの溶解液が基板Sの中央部に飛散するのを防ぐことができ、基板Sの外周部の塗布状態の調整精度を高めることができる。
本発明の実施の形態に係る基板処理システムの構成を示す平面図。 本実施形態に係る基板処理システムの構成を示す正面図。 本実施形態に係る基板処理システムの構成を示す側面図。 基板ローディング機構及び基板アンローディング機構の構成を示す図。 基板ローディング機構及び基板アンローディング機構の構成を示す図。 基板ローディング機構及び基板アンローディング機構の構成を示す図。 保持部の構成を示す図。 基板処理ユニットの構成を示す平面図。 基板処理ユニットの構成を示す正面図。 基板処理ユニットの構成を示す側面図。 ノズルの先端の構成を示す図。 内側カップの構成を示す図。 ノズル管理機構の構成を示す図。 周縁部除去機構の構成を示す図。 周縁部除去機構の他の構成を示す図。 本発明に係る塗布装置の他の構成を示す図。
符号の説明
SYS…基板処理システム S…基板 SPU…基板処理ユニット(塗布装置) SC…基板搬送機構(回転機構) CT…塗布機構 EBR…周縁部除去機構(調整部) NZ…ノズル部 CP…カップ部 NM…ノズル管理機構 CP1…内側カップ CP2…外側カップ 32…保持部 33…回転機構 34…吸引機構 34a…吸引ポンプ 50…塗布位置 51…ノズル移動機構 52…ノズル 52a…吐出面 52b…折れ曲がり部 53…収容部 53a…対向部分 53b…調節機構 53c…回転機構 54…排出機構 55…トラップ機構 56…洗浄液ノズル部 57a…洗浄部 57b…吸引部 57c…液受部 58a…除去部 58b…吸引部

Claims (28)

  1. 基板を立てた状態で回転させる回転機構と、
    前記基板を回転させつつ前記基板の表面及び裏面にそれぞれ液状体を吐出するノズルを有する塗布機構と
    を備えることを特徴とする塗布装置。
  2. 前記回転機構は、前記基板を水平面に対して70°以上、90°以下の角度に立てた状態で前記基板を回転させる
    ことを特徴とする請求項1に記載の塗布装置。
  3. 前記ノズルは、前記基板の中央部側から前記基板の外周部側へ向けて前記液状体を吐出するように形成されている
    ことを特徴とする請求項1又は請求項2に記載の塗布装置。
  4. 前記ノズルは、前記中央部側から前記外周部側へ折り曲げられて形成されている
    ことを特徴とする請求項3に記載の塗布装置。
  5. 前記ノズルは、先端の吐出面が液状体の吐出方向に対して傾けて形成されている
    ことを特徴とする請求項1から請求項4のうちいずれか一項に記載の塗布装置。
  6. 前記ノズルは、前記回転機構の回転軸に対して下側に設けられている
    ことを特徴とする請求項1から請求項5のうちいずれか一項に記載の塗布装置。
  7. 前記ノズルは、前記基板の表面側と裏面側とで同じ位置に配置されている
    ことを特徴とする請求項1から請求項6のうちいずれか一項に記載の塗布装置。
  8. 前記塗布機構は、前記ノズルを移動させる移動機構を有する
    ことを特徴とする請求項1から請求項7のうちいずれか一項に記載の塗布装置。
  9. 前記ノズルの状態を管理するノズル管理機構を更に備える
    ことを特徴とする請求項1から請求項8のうちいずれか一項に記載の塗布装置。
  10. 前記ノズル管理機構は、前記ノズルの先端を洗浄液にディップさせることで洗浄する洗浄部を有する
    ことを特徴とする請求項9に記載の塗布装置。
  11. 前記ノズル管理機構は、前記ノズルの先端を吸引する吸引部を有する
    ことを特徴とする請求項9又は請求項10に記載の塗布装置。
  12. 前記ノズル管理機構は、前記ノズルから予備的に吐出される前記液状体を受ける液受部を有する
    ことを特徴とする請求項9から請求項11のうちいずれか一項に記載の塗布装置。
  13. 前記基板の側方を囲むように配置されたカップ部を更に備える
    ことを特徴とする請求項1から請求項12のうちいずれか一項に記載の塗布装置。
  14. 前記カップ部は、前記液状体を収容する収容部を有する
    ことを特徴とする請求項13に記載の塗布装置。
  15. 前記カップ部のうち前記基板の側部との対向部分は、前記カップ部の他の部分に対して着脱可能に設けられている
    ことを特徴とする請求項13又は請求項14に記載の塗布装置。
  16. 前記カップ部は、前記対向部分の開口寸法を調節する調節機構を有する
    ことを特徴とする請求項15に記載の塗布装置。
  17. 前記カップ部は、内側カップと外側カップとを有し、
    前記内側カップには、当該内側カップを前記基板の外周に沿った方向に回転させる第2回転機構が設けられている
    ことを特徴とする請求項13から請求項16のうちいずれか一項に記載の塗布装置。
  18. 前記収容部は、前記液状体及び前記収容部内の気体のうち少なくとも一方を排出する排出機構を有する
    ことを特徴とする請求項14から請求項17のうちいずれか一項に記載の塗布装置。
  19. 前記カップ部は、円形に形成されており、
    前記排出機構は、前記カップ部の外周の接線方向に沿って設けられている
    ことを特徴とする請求項18に記載の塗布装置。
  20. 前記排出機構は、排出経路上に気液分離機構を有する
    ことを特徴とする請求項18又は請求項19に記載の塗布装置。
  21. 前記カップ部の洗浄液を前記基板へ吐出する洗浄液ノズルを更に備える
    ことを特徴とする請求項13から請求項20のうちいずれか一項に記載の塗布装置。
  22. 前記洗浄液ノズルとして、前記ノズルが用いられる
    ことを特徴とする請求項21に記載の塗布装置
  23. 前記基板の外周部の塗布状態を調整する調整部を更に備える
    ことを特徴とする請求項1から請求項22のうちいずれか一項に記載の塗布装置。
  24. 前記調整部は、前記基板の外周部を溶解液に浸すことで前記液状体を除去する除去部を有する
    ことを特徴とする請求項23に記載の塗布装置。
  25. 前記除去部は、前記溶解液を前記基板の周縁部へ吐出する溶解液ノズルを有する
    ことを特徴とする請求項24に記載の塗布装置。
  26. 前記溶解液ノズルは、前記カップ部の洗浄液を吐出可能である
    ことを特徴とする請求項25に記載の塗布装置。
  27. 前記除去部は、
    前記基板に前記溶解液が接触しない位置で前記溶解液ノズルから前記溶解液を吐出させると共に、前記溶解液を吐出させた状態で当該溶解液ノズルを前記基板への吐出位置へ移動させる制御部を有する
    ことを特徴とする請求項25又は請求項26に記載の塗布装置。
  28. 前記調整部は、前記基板の外周部を吸引する第2吸引部を有する
    ことを特徴とする請求項23から請求項27のうちいずれか一項に記載の塗布装置。
JP2008219563A 2008-08-28 2008-08-28 塗布装置 Expired - Fee Related JP5425426B2 (ja)

Priority Applications (6)

Application Number Priority Date Filing Date Title
JP2008219563A JP5425426B2 (ja) 2008-08-28 2008-08-28 塗布装置
CN2012105800199A CN103077911A (zh) 2008-08-28 2009-08-25 涂敷装置
US12/547,270 US9214372B2 (en) 2008-08-28 2009-08-25 Substrate processing system, carrying device and coating device
CN 200910167447 CN101661873B (zh) 2008-08-28 2009-08-25 基板处理系统、输送装置及涂敷装置
CN2012105803182A CN103021918A (zh) 2008-08-28 2009-08-25 输送装置
US12/877,881 US8919756B2 (en) 2008-08-28 2010-09-08 Substrate processing system, carrying device, and coating device

Applications Claiming Priority (1)

Application Number Priority Date Filing Date Title
JP2008219563A JP5425426B2 (ja) 2008-08-28 2008-08-28 塗布装置

Publications (2)

Publication Number Publication Date
JP2010051899A true JP2010051899A (ja) 2010-03-11
JP5425426B2 JP5425426B2 (ja) 2014-02-26

Family

ID=42068390

Family Applications (1)

Application Number Title Priority Date Filing Date
JP2008219563A Expired - Fee Related JP5425426B2 (ja) 2008-08-28 2008-08-28 塗布装置

Country Status (1)

Country Link
JP (1) JP5425426B2 (ja)

Cited By (2)

* Cited by examiner, † Cited by third party
Publication number Priority date Publication date Assignee Title
JP2011245449A (ja) * 2010-05-28 2011-12-08 Tokyo Ohka Kogyo Co Ltd 塗布装置
JP2012076045A (ja) * 2010-10-04 2012-04-19 Tokyo Ohka Kogyo Co Ltd 塗布装置

Citations (7)

* Cited by examiner, † Cited by third party
Publication number Priority date Publication date Assignee Title
JPS61153174A (ja) * 1984-12-26 1986-07-11 Hitachi Ltd 塗布装置
JPH04119524A (ja) * 1990-09-10 1992-04-21 Fuji Electric Co Ltd 回転表面処理装置
JPH1133468A (ja) * 1997-07-23 1999-02-09 Dainippon Screen Mfg Co Ltd 回転式基板処理装置およびカップの洗浄方法
JPH1170354A (ja) * 1997-07-04 1999-03-16 Tokyo Electron Ltd 塗布装置
JP2000012423A (ja) * 1998-06-18 2000-01-14 Matsushita Electric Ind Co Ltd レジスト塗布方法および装置
JP2000237669A (ja) * 1999-02-23 2000-09-05 Central Glass Co Ltd スピンコート法による薄膜の形成装置及び形成方法
JP2004237157A (ja) * 2003-02-04 2004-08-26 Matsushita Electric Ind Co Ltd 回転塗布装置

Patent Citations (7)

* Cited by examiner, † Cited by third party
Publication number Priority date Publication date Assignee Title
JPS61153174A (ja) * 1984-12-26 1986-07-11 Hitachi Ltd 塗布装置
JPH04119524A (ja) * 1990-09-10 1992-04-21 Fuji Electric Co Ltd 回転表面処理装置
JPH1170354A (ja) * 1997-07-04 1999-03-16 Tokyo Electron Ltd 塗布装置
JPH1133468A (ja) * 1997-07-23 1999-02-09 Dainippon Screen Mfg Co Ltd 回転式基板処理装置およびカップの洗浄方法
JP2000012423A (ja) * 1998-06-18 2000-01-14 Matsushita Electric Ind Co Ltd レジスト塗布方法および装置
JP2000237669A (ja) * 1999-02-23 2000-09-05 Central Glass Co Ltd スピンコート法による薄膜の形成装置及び形成方法
JP2004237157A (ja) * 2003-02-04 2004-08-26 Matsushita Electric Ind Co Ltd 回転塗布装置

Cited By (2)

* Cited by examiner, † Cited by third party
Publication number Priority date Publication date Assignee Title
JP2011245449A (ja) * 2010-05-28 2011-12-08 Tokyo Ohka Kogyo Co Ltd 塗布装置
JP2012076045A (ja) * 2010-10-04 2012-04-19 Tokyo Ohka Kogyo Co Ltd 塗布装置

Also Published As

Publication number Publication date
JP5425426B2 (ja) 2014-02-26

Similar Documents

Publication Publication Date Title
JP5622453B2 (ja) 塗布装置及びノズルの管理方法
JP5449876B2 (ja) 搬送装置
JP5656454B2 (ja) 塗布装置
CN101246813B (zh) 基板处理装置
KR101530959B1 (ko) 액 처리 장치, 액 처리 방법 및 기억 매체
JP2012076045A (ja) 塗布装置
US8567342B2 (en) Coating device and coating method
KR20130024738A (ko) 기판 처리 장치
JP5301120B2 (ja) 洗浄装置、洗浄方法、予備吐出装置、及び塗布装置
JP5759779B2 (ja) 板材の加工装置
JP2009011917A (ja) 洗浄装置、洗浄方法、予備吐出装置、及び塗布装置
JP5666833B2 (ja) 基板処理システム
JP5412180B2 (ja) 塗布装置及び塗布方法
JP5425426B2 (ja) 塗布装置
JP2015082570A (ja) ウエーハ加工システム
CN111341694A (zh) 晶片制造装置
JP6848636B2 (ja) 基板周縁部のクリーニング装置、基板周縁部のクリーニング方法及び記憶媒体
TWI898435B (zh) 基板處理裝置
JP5227701B2 (ja) 基板処理システム
US12119246B2 (en) Method, device, and non-transitory computer readable medium for determining timing of removing substrate from cassette in substrate processing device, and substrate processing device
JP4113480B2 (ja) 基板処理装置及び基板処理方法
JP2024061173A (ja) 加工装置及び搬送装置
KR20230048596A (ko) 세정 어셈블리

Legal Events

Date Code Title Description
A621 Written request for application examination

Free format text: JAPANESE INTERMEDIATE CODE: A621

Effective date: 20110525

A977 Report on retrieval

Free format text: JAPANESE INTERMEDIATE CODE: A971007

Effective date: 20120816

A131 Notification of reasons for refusal

Free format text: JAPANESE INTERMEDIATE CODE: A131

Effective date: 20121218

A521 Request for written amendment filed

Free format text: JAPANESE INTERMEDIATE CODE: A523

Effective date: 20130218

A521 Request for written amendment filed

Free format text: JAPANESE INTERMEDIATE CODE: A821

Effective date: 20130219

A02 Decision of refusal

Free format text: JAPANESE INTERMEDIATE CODE: A02

Effective date: 20130618

A521 Request for written amendment filed

Free format text: JAPANESE INTERMEDIATE CODE: A523

Effective date: 20130918

A521 Request for written amendment filed

Free format text: JAPANESE INTERMEDIATE CODE: A821

Effective date: 20130919

A911 Transfer to examiner for re-examination before appeal (zenchi)

Free format text: JAPANESE INTERMEDIATE CODE: A911

Effective date: 20130925

TRDD Decision of grant or rejection written
A01 Written decision to grant a patent or to grant a registration (utility model)

Free format text: JAPANESE INTERMEDIATE CODE: A01

Effective date: 20131119

A61 First payment of annual fees (during grant procedure)

Free format text: JAPANESE INTERMEDIATE CODE: A61

Effective date: 20131127

R150 Certificate of patent or registration of utility model

Free format text: JAPANESE INTERMEDIATE CODE: R150

Ref document number: 5425426

Country of ref document: JP

Free format text: JAPANESE INTERMEDIATE CODE: R150

LAPS Cancellation because of no payment of annual fees