JP2010048801A - 回転検出装置の信号処理回路 - Google Patents

回転検出装置の信号処理回路 Download PDF

Info

Publication number
JP2010048801A
JP2010048801A JP2009170312A JP2009170312A JP2010048801A JP 2010048801 A JP2010048801 A JP 2010048801A JP 2009170312 A JP2009170312 A JP 2009170312A JP 2009170312 A JP2009170312 A JP 2009170312A JP 2010048801 A JP2010048801 A JP 2010048801A
Authority
JP
Japan
Prior art keywords
signal
change
rotation direction
edge
sensor signal
Prior art date
Legal status (The legal status is an assumption and is not a legal conclusion. Google has not performed a legal analysis and makes no representation as to the accuracy of the status listed.)
Granted
Application number
JP2009170312A
Other languages
English (en)
Other versions
JP4924672B2 (ja
Inventor
Norihiro Kurumado
紀博 車戸
Hiroshi Okada
寛 岡田
Nobukazu Oba
伸和 大場
Hirobumi Uenoyama
博文 上野山
Current Assignee (The listed assignees may be inaccurate. Google has not performed a legal analysis and makes no representation or warranty as to the accuracy of the list.)
Denso Corp
Original Assignee
Denso Corp
Priority date (The priority date is an assumption and is not a legal conclusion. Google has not performed a legal analysis and makes no representation as to the accuracy of the date listed.)
Filing date
Publication date
Application filed by Denso Corp filed Critical Denso Corp
Priority to JP2009170312A priority Critical patent/JP4924672B2/ja
Publication of JP2010048801A publication Critical patent/JP2010048801A/ja
Application granted granted Critical
Publication of JP4924672B2 publication Critical patent/JP4924672B2/ja
Expired - Fee Related legal-status Critical Current
Anticipated expiration legal-status Critical

Links

Images

Classifications

    • GPHYSICS
    • G01MEASURING; TESTING
    • G01PMEASURING LINEAR OR ANGULAR SPEED, ACCELERATION, DECELERATION, OR SHOCK; INDICATING PRESENCE, ABSENCE, OR DIRECTION, OF MOVEMENT
    • G01P13/00Indicating or recording presence, absence, or direction, of movement
    • G01P13/02Indicating direction only, e.g. by weather vane
    • G01P13/04Indicating positive or negative direction of a linear movement or clockwise or anti-clockwise direction of a rotational movement
    • G01P13/045Indicating positive or negative direction of a linear movement or clockwise or anti-clockwise direction of a rotational movement with speed indication
    • GPHYSICS
    • G01MEASURING; TESTING
    • G01DMEASURING NOT SPECIALLY ADAPTED FOR A SPECIFIC VARIABLE; ARRANGEMENTS FOR MEASURING TWO OR MORE VARIABLES NOT COVERED IN A SINGLE OTHER SUBCLASS; TARIFF METERING APPARATUS; MEASURING OR TESTING NOT OTHERWISE PROVIDED FOR
    • G01D5/00Mechanical means for transferring the output of a sensing member; Means for converting the output of a sensing member to another variable where the form or nature of the sensing member does not constrain the means for converting; Transducers not specially adapted for a specific variable
    • G01D5/12Mechanical means for transferring the output of a sensing member; Means for converting the output of a sensing member to another variable where the form or nature of the sensing member does not constrain the means for converting; Transducers not specially adapted for a specific variable using electric or magnetic means
    • G01D5/244Mechanical means for transferring the output of a sensing member; Means for converting the output of a sensing member to another variable where the form or nature of the sensing member does not constrain the means for converting; Transducers not specially adapted for a specific variable using electric or magnetic means influencing characteristics of pulses or pulse trains; generating pulses or pulse trains
    • G01D5/24428Error prevention
    • GPHYSICS
    • G01MEASURING; TESTING
    • G01DMEASURING NOT SPECIALLY ADAPTED FOR A SPECIFIC VARIABLE; ARRANGEMENTS FOR MEASURING TWO OR MORE VARIABLES NOT COVERED IN A SINGLE OTHER SUBCLASS; TARIFF METERING APPARATUS; MEASURING OR TESTING NOT OTHERWISE PROVIDED FOR
    • G01D5/00Mechanical means for transferring the output of a sensing member; Means for converting the output of a sensing member to another variable where the form or nature of the sensing member does not constrain the means for converting; Transducers not specially adapted for a specific variable
    • G01D5/12Mechanical means for transferring the output of a sensing member; Means for converting the output of a sensing member to another variable where the form or nature of the sensing member does not constrain the means for converting; Transducers not specially adapted for a specific variable using electric or magnetic means
    • G01D5/244Mechanical means for transferring the output of a sensing member; Means for converting the output of a sensing member to another variable where the form or nature of the sensing member does not constrain the means for converting; Transducers not specially adapted for a specific variable using electric or magnetic means influencing characteristics of pulses or pulse trains; generating pulses or pulse trains
    • G01D5/245Mechanical means for transferring the output of a sensing member; Means for converting the output of a sensing member to another variable where the form or nature of the sensing member does not constrain the means for converting; Transducers not specially adapted for a specific variable using electric or magnetic means influencing characteristics of pulses or pulse trains; generating pulses or pulse trains using a variable number of pulses in a train
    • G01D5/2451Incremental encoders

Landscapes

  • Physics & Mathematics (AREA)
  • General Physics & Mathematics (AREA)
  • Indicating Or Recording The Presence, Absence, Or Direction Of Movement (AREA)
  • Transmission And Conversion Of Sensor Element Output (AREA)

Abstract

【課題】ギヤ歯が形成された回転体(ロータ)の回転位置をより高精度に検出すること。
【解決手段】ロータの正転方向への回転時、山部の先端側エッジによるメインセンサ信号変化を有効エッジによる信号変化、及び山部の後端側エッジによる信号変化を非有効エッジによる信号変化と定める。また、逆転方向への回転時、山部の後端側エッジによる信号変化を有効エッジによる信号変化、及び山部の先端側エッジによる信号変化を非有効エッジによる信号変化と定める。検出信号発生回路10は、ロータの回転方向に係らず、メインセンサ信号の有効エッジによる信号変化に応じて、立ち下がり変化が生じ、非有効エッジによる信号変化に応じて、立ち上がり変化が生じる検出信号を発生させる。ロータが回転方向を変化させたとき、メインセンサ信号の最初の有効エッジによる信号変化に応じて、検出信号に立下り変化が生じることを禁ずることで、ギヤ歯の検出ずれを防止する。
【選択図】図6

Description

本発明は、ギヤ歯が形成された回転体に対向配置された複数の磁気センサから、異なる位相を有する矩形波状の第1及び第2のセンサ信号が出力されたとき、それら第1及び第2のセンサ信号に基づいて、回転体の回転位置を検出するための検出信号を出力する回転検出装置の信号処理回路に関する。
従来の回転検出装置の信号処理回路として、例えば特許文献1に記載されたものが知られている。この特許文献1の回転検出装置は、ギヤ歯が形成されたロータが回転したときに、異なる位相の回転検出信号Sa,Sbを出力する2つの磁気センサを備える。そして、信号処理回路は、図8に示すような回転検出信号Sa,Sbの相対位相の入れ替わりに基づきロータの回転方向が逆転したことを判定してリバース信号を生成しつつ、回転検出信号Saについての全てのエッジを抽出する。
そして、ロータの逆転判定後における信号Saの最初の立ち上がり及び最初の立ち下がりの双方のタイミングに同期した信号レベルの切り替えを禁止する切替非能動信号を生成する。この切替非能動信号に基づいて、ロータの逆転判定直後における信号Saの1パルス分をマスクすることで、第1出力信号OUT1を生成出力する。さらに、第1出力信号OUT1とリバース信号に基づいて、ロータが正転しているときには、ハイとローの2値の間で大きさが変化し、ロータが逆転しているときには、ハイとミドルの2値の間で大きさが変化する第2出力信号OUT2を生成出力する。
特開2007−170922号公報
しかしながら、上述した従来技術のように、単に、ロータの逆転判定直後における信号Saの1パルス分をマスクしたのでは、最終的に生成出力される第2出力信号から、ロータの回転位置を精度良く検出することが困難になる。その理由について、図8を用いて説明する。
図8に示すように、ロータが正転しているときには、第2出力信号OUT2の立ち上がり(リーディングエッジ)が、ロータのA歯、B歯、C歯の回転方向先端側エッジの位置に対応している。従って、第2出力信号OUT2のリーディングエッジに基づいて、各歯の回転方向先端側エッジの位置を検出することができる。
しかし、ロータの回転方向が正転方向から逆転方向に変化した場合、正転方向と同様に、第2出力信号OUT2のリーディングエッジによってロータの歯を検出しようとすると、図8に示すように、実際にはA歯であるにも係らず、検出結果はB歯となり、検出結果にずれが生じてしまう。
このような検出ずれを防止するため、ロータが逆転しているときには、第2出力信号OUT2の立ち下がり(トレーリングエッジ)に基づいて、各歯の位置を検出することが考えられる。しかし、この場合には、ロータの歯を検出するための第2出力信号OUT2のエッジを、ロータの回転方向に応じてリーディングエッジかトレーリングエッジかを切り替える必要が生じるため、その信号処理が複雑になる。さらに、ロータの歯を検出するための第2出力信号OUT2のエッジを切替えたとしても、図8に示すように、ロータが正転しているときには、ロータの回転方向先端側エッジを検出し、ロータが逆転しているときには、ロータの回転方向後端側エッジを検出することになる。このように、ロータが正転しているときと逆転しているときとでは、異なる位置を検出することになるので、やはり、ロータの回転位置を精度良く検出することは難しい。
本発明は、上述した点に鑑みてなされたものであり、ギヤ歯が形成された回転体(ロータ)の回転位置をより高精度に検出することが可能な回転検出装置の信号処理回路を提供することを目的とする。
上記目的を達成するために、請求項1に記載の回転検出装置の信号処理回路は、
ギヤ歯が形成された回転体に対向配置された複数の磁気センサから、回転体の正転方向又は逆転方向への回転に伴ってギヤ歯の山部と谷部とが移動することにより、異なる位相を有する矩形波状の第1及び第2のセンサ信号が出力されたとき、それら第1及び第2のセンサ信号に基づいて、回転体の回転位置を検出するための検出信号を出力するものであって、
第1及び第2のセンサ信号の位相関係に基づき、回転体の回転方向が、正転方向から逆転方向、あるいは逆転方向から正転方向に変化した回転方向遷移を検出する回転方向遷移検出手段と、
回転体の回転方向が正転方向であるときと、逆転方向であるときとで、一方の回転方向では、山部の先端側エッジによる第1のセンサ信号の変化を一方の回転方向での有効エッジによる信号変化、及び山部の後端側エッジによる第1のセンサ信号の変化を一方の回転方向での非有効エッジによる信号変化と定め、他方の回転方向では、山部の後端側エッジによる第1のセンサ信号の変化を他方の回転方向での有効エッジによる信号変化、及び山部の先端側エッジによる第1のセンサ信号の変化を他方の回転方向での非有効エッジによる信号変化と定め、回転体の回転方向が正転方向であるか、逆転方向であるかに係らず、第1のセンサ信号における有効エッジによる信号変化に応じて、立ち上がり変化と立ち下がり変化とのいずれか一方の同じ変化が生じ、かつ非有効エッジによる信号変化に応じて、立ち上がり変化と立ち下がり変化とのいずれか他方の同じ変化が生じる検出信号を発生させることで、当該検出信号により有効エッジの数をカウント可能とする検出信号発生手段と、
回転方向遷移検出手段によって回転体の回転方向遷移が検出されたとき、第1のセンサ信号における最初の有効エッジによる信号変化に応答して、検出信号に立ち上がり変化と立ち下がり変化とのいずれか一方の同じ変化が生じることを禁ずる禁止手段と、を備えることを特徴とする。
上述したように、請求項1に記載の回転検出装置の信号処理回路では、有効エッジ及び非有効エッジとの概念を導入し、回転体の回転方向が正転方向であるときと、逆転方向であるときとで、一方の回転方向では、山部の先端側エッジによる第1のセンサ信号の変化を一方の回転方向での有効エッジによる信号変化、及び山部の後端側エッジによる第1のセンサ信号の変化を一方の回転方向での非有効エッジによる信号変化と定め、他方の回転方向では、山部の後端側エッジによる第1のセンサ信号の変化を他方の回転方向での有効エッジによる信号変化、及び山部の先端側エッジによる第1のセンサ信号の変化を他方の回転方向での非有効エッジによる信号変化と定めた。そして、検出信号発生回路は、回転体の回転方向が正転方向であるか、逆転方向であるかに係らず、第1のセンサ信号における有効エッジによる信号変化に応じて、立ち上がり変化と立ち下がり変化とのいずれか一方の同じ変化が生じ、かつ非有効エッジによる信号変化に応じて、立ち上がり変化と立ち下がり変化とのいずれか他方の同じ変化が生じる検出信号を発生させる。
そして、回転体が回転方向を変化させたときには、第1のセンサ信号における最初の有効エッジによる信号変化に応答して、検出信号に立ち上がり変化と立ち下がり変化とのいずれか一方の同じ変化が生じることを禁ずることで、ギヤ歯の検出ずれを防止する。
これにより、検出信号における立ち上がり変化と立ち下がり変化とのいずれか一方の同じ変化から、回転体の回転方向に係らず、回転体のギヤ歯の同じエッジ位置を検出することが可能になり、回転体の回転位置を高精度に検出することが可能になる。
請求項2に記載したように、検出信号は、ハイ、ミドル、ローの3値の間で変化するものであって、回転体が正転方向に回転したときと、逆転方向に回転したときとで、検出信号の変化の大きさを異ならせることが好ましい。これにより、検出信号に基づき、回転体の回転位置に加え、回転方向も検出することができる。
請求項3に記載したように、禁止手段は、回転体の回転方向遷移時に、第1のセンサ信号における最初の有効エッジによる信号変化が生じても、検出信号をミドルの値に固定したままにすることにより、検出信号に立ち上がり変化と立ち下がり変化とのいずれか一方の同じ変化が生じることを禁ずることが好ましい。
このようにすると、禁止手段は、回転方向遷移時に、第1のセンサ信号に最初の有効エッジによる信号変化が生じたき、単に検出信号をミドル値へ固定するだけで済むため、禁止手段を構成するための回路をシンプルにすることができる。
なお、請求項4,5に記載したように、回転方向遷移検出手段は、第1のセンサ信号が変化したときの、第2のセンサ信号のレベルから回転体の回転方向を認識しつつ、その認識した回転方向が変化したときに回転方向遷移を検出するものであって、連続して生じた第1のセンサ信号の変化時の第2のセンサ信号のレベルから回転方向遷移を検出したときの、第1のセンサ信号の変化が有効エッジによる信号変化である場合には、当該有効エッジによる第1のセンサ信号変化に応じて、検出信号をミドルの値に切り替えて保持すれば良い。また、連続して生じた第1のセンサ信号の変化時の第2のセンサ信号のレベルから回転方向遷移を検出したときの、第1のセンサ信号の変化が非有効エッジによる信号変化である場合には、当該非有効エッジによる第1のセンサ信号変化に応じて、検出信号をミドルの値に切り替えて保持し、その後に、第1のセンサ信号において、最初の有効エッジによる信号変化が生じても、検出信号をミドルの値に固定したままにすれば良い。このようにすれば、回転体の回転方向遷移時に、第1のセンサ信号における最初の有効エッジによる信号変化が生じても、検出信号をミドルの値に固定したままにすることができる。
また、このような回転体の回転方向遷移時の最初の有効エッジによる信号変化が生じても、検出信号をミドルの値へ固定したままとすることは、請求項6に記載したように、回転体が同じ方向に回転し続けている場合、第1のセンサ信号に非有効エッジによる信号変化が生じたことに応答して解除すれば良い。回転体が同じ方向に回転し続けている場合、第1のセンサ信号において、有効エッジによる信号変化と非有効エッジによる信号変化とが交互に生じる。従って、非有効エッジによる信号変化によって、検出信号のミドル値への固定を解除して、立ち上がり変化と立ち下がり変化とのいずれか他方の同じ変化を生じさせることにより(ただし、非有効エッジによりミドル値に変化させる場合には、検出信号の値は既にミドル値になっているため、検出信号は変化しない)、次回以降の有効エッジによる信号変化に応じて、立ち上がり変化と立ち下がり変化とのいずれか一方の同じ変化を生じさせることができる。
請求項7に記載したように、回転体の回転方向遷移が検出され、検出信号がミドルの値に切り替えられた後、有効エッジによる信号変化が生じることなく、非有効エッジによる信号変化が連続して3回生じたとき、禁止手段は、検出信号のミドル値への固定を解除し、その後の有効エッジによる信号変化に応じて、検出信号に立ち上がり変化と立ち下がり変化とのいずれか一方の同じ変化を生じさせることが好ましい。回転体の回転方向遷移後に、第1のセンサ信号に有効エッジによる信号変化が生じることなく、非有効エッジによる信号変化が連続して3回生じるのは、回転体が、1個のギヤ歯の範囲近傍で回転方向を繰り返し反転させた場合である。このような場合、有効エッジによる信号変化が生じたときに、検出信号の変化を禁じてしまうと、却って検出ずれが生じてしまうためである。
実施形態に係る回転検出装置の全体の構成を示すブロック構成図である。 第1及び第2のトランジスタTr1、Tr2のオンオフ動作と、出力端子Outから出力される検出信号のレベルとの関係を示す図である。 ロータのギヤ歯の山部と谷部とによるメインセンサ信号と、サブセンサ信号の変化を示しつつ、有効エッジ及び非有効エッジについて説明するための説明図である。 図3とともに、有効エッジ及び非有効エッジについて説明するための説明図である。 ロジック回路20の回路構成図である。 ロジック回路の動作を説明するための波形図である。 ロジック回路の他の動作を説明するための波形図である。 従来回路による問題点を説明するための説明図である。
以下、本発明の好ましい実施形態について、図面に基づいて説明する。図1は、本実施形態に係る回転検出装置の全体の構成を示すブロック構成図である。
図1において、メイン磁気センサ1及びサブ磁気センサ2は、磁気抵抗素子やホール素子などの磁電変換素子を備える。これらメイン磁気センサ1及びサブ磁気センサ2は、外周にギヤ歯が形成され、磁性体からなるロータ(図示せず)の外周面に対向しつつ、相互に所定の間隔を隔てて配置される。このため、メイン磁気センサ1とサブ磁気センサ2とからは、ロータが回転したとき、位相が異なる(例えば1/4周期)周期的な信号が出力される。
つまり、ロータが回転すると、ロータの外周に形成されたギヤ歯の山部と谷部とが、メイン磁気センサ1及びサブ磁気センサ2の近傍を交互に通過する。このため、メイン磁気センサ1及びサブ磁気センサ2の各々の磁電変換素子に作用する磁界も周期的に変化する。この磁界の変化は、メイン磁気センサ1及びサブ磁気センサ2の磁電変換素子で電気信号に変換される。これらの電気信号は、増幅器3,4によって増幅された後、比較器7,8に入力される。比較器7,8では、入力された増幅電気信号を、それぞれ抵抗5a,5b及び抵抗6a,6bによって生成した基準電圧と比較することにより2値化する。
従って、上述した構成により、メイン磁気センサ1及びサブ磁気センサ2から、それぞれ、ロータのギヤ歯の山部及び谷部の通過に応じて周期的に変化する矩形波状のパルス信号(以下、センサ信号)を得ることができる。これらのセンサ信号は、信号処理回路10に入力される。
信号処理回路10は、メインセンサ信号及びサブセンサ信号に基いて、ロータの回転位置及び回転方向を検出するための検出信号を生成して出力する回路である。本実施形態では、メインセンサ信号の変化に関して、有効エッジ及び非有効エッジとの概念を導入し、ロータの正転方向と逆転方向との一方の回転方向では、その一方の回転方向における山部の先端側エッジによるメインセンサ信号の変化を当該一方の回転方向での有効エッジによる信号変化と定め、その一方の回転方向における山部の後端側エッジによるメインセンサ信号の変化を当該一方の回転方向での非有効エッジによる信号変化と定める。さらに、ロータの正転方向と逆転方向との他方の回転方向では、その他方の回転方向における山部の後端側エッジによるメインセンサ信号の変化を当該他方の回転方向での有効エッジによる信号変化と定め、その他方の回転方向における山部の先端側エッジによるメインセンサ信号の変化を当該一方の回転方向での非有効エッジによる信号変化と定める。つまり、本実施形態では、ロータの回転方向に係らず、山部の一方の同じエッジによるメインセンサ信号の変化を有効エッジによる信号変化、山部の他方のエッジによるメインセンサ信号の変化を非有効エッジによる信号変化と定めるのである。
そして、信号処理回路10は、ロータの回転方向が正転方向であるか、逆転方向であるかに係らず、メインセンサ信号における有効エッジによる信号変化に応じて、立ち上がり変化と立ち下がり変化とのいずれか一方の同じ変化が生じ、かつ非有効エッジによる信号変化に応じて、立ち上がり変化と立ち下がり変化とのいずれか他方の同じ変化が生じる検出信号を発生させる。このような信号処理回路10の動作は、主に、ロジック回路20によってなされる。このロジック回路20の構成及びその動作に関しては、後に詳細に説明する。
また、本実施形態による信号処理回路10は、ロータが正転方向に回転したときと、逆転方向に回転したときとで、検出信号がハイとローの2値の間で変化するか、ミドルとローの2値の間で変化するかが切り替わるように構成されている。より具体的には、信号処理回路10は、ロータが正転方向に回転したときハイとローの2値の間で変化し、逆転方向に回転したときとミドルとローの2値の間で変化する検出信号を出力するように構成されている。このように、回転方向に応じて検出信号の変化の大きさを異ならせることにより、検出信号に基づき、ロータの回転方向も検出することができるようになる。
ロータの回転方向に応じて、検出信号の変化の大きさを異ならせるために、信号処理回路10は、第1のトランジスタTr1と第2のトランジスタTr2とを備えている。第1のトランジスタTr1は、ドレインが第1の抵抗R1を介して出力端子Outに接続され、ソースが接地されている。また、第2のトランジスタTr2は、ドレインが、第1及び第2の抵抗R1,R2を介して出力端子Outに接続され、ソースが接地されている。出力端子Outには、さらに、ツェナーダイオードZD及びコンデンサCが接続されている。
従って、図2に示すように、第1及び第2のトランジスタTr1、Tr2がともにオフされているときには、出力端子Outからは高電位(ハイ)の電圧信号が出力される。また、第1のトランジスタTr1がオフされ、第2のトランジスタTr2がオンされたときには、出力端子Outから中電位(ミドル)の電圧信号が出力される。さらに、第1のトランジスタTr1がオンされ、第2のトランジスタTr2がオフされたときには、出力端子Outから低電位(ロー)の電圧信号が出力される。
信号処理回路10のロジック回路20は、第1及び第2のトランジスタTr1,Tr2を適宜オン、オフすることにより、上述したような、ロータの回転方向に応じて、変化の大きさの異なる検出信号を出力端子Outから出力させる。
次に、ロジック回路20について説明する前に、まず、メインセンサ信号における、有効エッジによる変化と、非有効エッジによる変化に関して、図3及び図4を用いて説明する。
図3に示す例では、ロータが正転方向に回転しているとき、その正転方向におけるギヤ歯の山部の先端側エッジによるメインセンサ信号の変化を有効エッジによる信号変化とし、山部の後端側エッジによるメインセンサ信号の変化を非有効エッジによる信号変化としている。この場合、図4に示すように、メインセンサ信号の立ち下がり変化が、有効エッジによる信号変化となり、メインセンサ信号の立ち上がり変化が、非有効エッジによる信号変化となる。一方、ロータが逆転方向に回転しているときには、その逆転方向におけるギヤ歯の山部の後端側エッジによるメインセンサ信号の変化を有効エッジによる信号変化とし、山部の先端側エッジによるメインセンサ信号の変化を非有効エッジによる信号変化としている。この場合、メインセンサ信号の立ち上がり変化が、有効エッジによる信号変化となり、メインセンサ信号の立ち下がり変化が、非有効エッジによる信号変化となる。
このように、ロータが正転しているときには、山部の先端側エッジによるメインセンサ信号の変化を有効エッジによる信号変化とし、ロータが逆転しているときには、山部の後端側エッジによるメインセンサ信号の変化を有効エッジによる信号変化としているので、本実施形態では、ロータの回転方向によらず、山部の一方の同じエッジによるメインセンサ信号の変化が有効エッジによる信号変化となる。
ロータが正転しているか、逆転しているかは、メインセンサ信号とサブセンサ信号との位相関係によって判断することができる。図3に示す例では、ロータが正転しているときには、メインセンサ信号の位相がサブセンサ信号の位相よりも進んでいる。従って、メインセンサ信号の立ち下がり変化が生じたとき、サブセンサ信号はハイレベルとなり、メインセンサ信号の立ち上がり変化が生じたとき、サブセンサ信号はローレベルとなる。逆に、ロータが逆転しているときには、メインセンサ信号よりもサブセンサ信号の位相が進んでいるので、メインセンサ信号の立ち上がり変化が生じたとき、サブセンサ信号はハイレベルとなり、メインセンサ信号の立ち下がり変化が生じたとき、サブセンサ信号はローレベルとなる。このようにして、メインセンサ信号に立ち上がり変化もしくは立ち下がり変化が生じたときのサブセンサ信号のレベルから、ロータが正転しているのか、あるいは逆転しているのかを判断することができる。
これらの関係をまとめたものが、図4の図表である。ただし、図3、図4に示す例に限られず、有効エッジと非有効エッジとの関係を逆転させても良い。すなわち、ロータの正転方向における山部の後端側エッジによるメインセンサ信号の変化を有効エッジによる信号変化とし、正転方向における山部の先端側エッジによるメインセンサ信号の変化を非有効エッジによる信号変化としても良い。
次に、ロジック回路20の構成及びその動作について、図5の回路図及び図6、図7の波形図を用いて詳細に説明する。
図5に示すように、メインセンサ信号は、インバータ22を介してDフリップフロップ21のクロック端子に入力されるとともに、Dフリップフロップ23のクロック端子に入力されている。2つのDフリップフロップ21,23とも、データ入力端子には、サブセンサ信号が入力されている。
Dフリップフロップ21は、ロータが正転方向に回転しているときにハイレベルの信号を出力し、逆転方向に回転しているときにローレベルの信号を出力するものである。
つまり、Dフリップフロップ21は、メインセンサ信号がインバータ22を介してクロック端子に入力されているので、メインセンサ信号が立ち下がったとき、データ入力端子に与えられているサブセンサ信号のレベルを取り込み、その取り込んだレベルの信号を出力端子から出力する。図4に示されるように、ロータが正転しているときには、メインセンサ信号が立ち下がったタイミングで、サブセンサ信号はハイレベルとなっており、ロータが逆転しているときには、メインセンサ信号が立ち下がったタイミングで、サブセンサ信号はローレベルとなっている。従って、ロータが正転しているとき、Dフリップフロップ21からハイレベルの信号が出力され、ロータが逆転しているとき、Dフリップフロップ21からローレベルの信号が出力される。
一方、Dフリップフロップ23は、ロータが逆転方向に回転しているときにハイレベルの信号を出力し、正転方向に回転しているときにローレベルの信号を出力するものである。
Dフリップフロップ23は、メインセンサ信号が直接クロック端子に入力されているので、メインセンサ信号が立ち上がったとき、データ入力端子に与えられているサブセンサ信号のレベルを取り込み、その取り込んだレベルの信号を出力端子から出力する。図4に示されるように、ロータが逆転しているときには、メインセンサ信号が立ち上がったタイミングで、サブセンサ信号はハイレベルとなっており、ロータが正転しているときには、メインセンサ信号が立ち上がったタイミングで、サブセンサ信号はローレベルとなっている。従って、ロータが逆転しているとき、Dフリップフロップ23からハイレベルの信号が出力され、ロータが正転しているとき、Dフリップフロップ23からローレベルの信号が出力される。
2つのDフリップフロップ21,23の出力は、排他的否定論理和(ExNOR)回路25に入力される。このExNOR回路25は、ロータが正転から逆転、あるいは逆転から正転へと回転方向を変化させた回転方向遷移を検出するためのものである。つまり、ロータが正転もしくは逆転方向に回転し続けているときには、ExNOR回路25の一方の入力信号はハイレベル、他方の入力信号はローレベルとなるので、その出力信号はローレベルとなる。しかし、ロータが回転方向を変化させたときには、メインセンサ信号の引き続いて起こる立ち下がり変化及び立ち上がり変化に応じて、2つのDフリップフロップ21,23から出力される信号レベルが、ともにローレベルとなるか、あるいは、ともにハイレベルとなる。この場合、ExNOR回路25からは、ハイレベルの信号が出力される。従って、ExNOR回路25から出力される信号がハイレベルになったことに応じて、ロータが回転方向を変化させた回転方向遷移を検出することができる。
また、Dフリップフロップ21の出力はインバータ24を介して、Dフリップフロップ23の出力は直接的に、否定論理積(NAND)回路26と否定論理和(NOR)回路27とにそれぞれ入力される。NAND回路26は、ロータが逆転方向に回転していることを検出するためのものである。また、NOR回路27は、ロータが正転方向に回転していることを検出するためのものである。
NAND回路26では、Dフリップフロップ21の出力がインバータ24を介して入力されるので、NAND回路26の出力信号がローレベルとなるのは、ロータが逆転方向に回転しているときのみとなる。換言すると、ロータが正転方向に回転しているとき、あるいは回転方向を変化させているときには、NAND回路26はハイレベルの信号を出力し、ロータが逆転方向に回転しているときのみ、ローレベルの信号を出力する。
また、NOR回路27では、Dフリップフロップ21の出力がインバータ24を介して入力されるので、NOR回路27の出力信号がハイレベルとなるのは、ロータが正転方向に回転しているときのみとなる。換言すると、ロータが逆転方向に回転しているとき、あるいは回転方向を変化させているときには、NOR回路27はローレベルの信号を出力し、ロータが正転方向に回転しているときのみ、ハイレベルの信号を出力する。
メインセンサ信号は、2つのDフリップフロップ21,23の他に、否定論理積(NAND)回路28、論理和(OR)回路29にも入力されている。NAND回路28の他方の入力信号は、ロータが逆転方向へ回転しているときにはローレベルの信号を出力し、ロータが正転方向に回転しているとき、あるいは回転方向を変化させたときにはハイレベルの信号を出力するNAND回路26からの信号である。また、OR回路29の他方の入力信号は、ロータが正転方向へ回転しているときにはハイレベルの信号を出力し、ロータが逆転方向へ回転しているとき、あるいは回転方向を変化させたときにはローレベルの信号を出力するNOR回路27からの信号である。
従って、NAND回路28は、ロータが正転方向に回転しているとき、及び回転方向を変化させたときには、メインセンサ信号のレベルを反転させた反転信号を出力し、ロータが逆転方向に回転しているときにはハイレベルの一定信号を出力する。また、OR回路29は、ロータが正転方向に回転しているときにはハイレベルの一定信号を出力し、ロータが逆転方向に回転しているとき、あるいは回転方向を変化させたときには、メインセンサ信号をそのまま出力する。
これらNAND回路28の出力とOR回路29の出力は論理積(AND)回路30に入力される。このため、AND回路30は、ロータが正転方向に回転しているときには、メインセンサ信号を反転させた反転信号を出力し、ロータが逆転方向に回転しているときには、メインセンサ信号をそのまま出力する。
ここで、AND回路31は、上述した第1のトランジスタTr1を駆動するためのもので、その出力は、第1のトランジスタTr1のゲートに接続されている。また、NAND回路32は、第2のトランジスタTr2を駆動するためのもので、その出力は、第2のトランジスタTr2のゲートに接続されている。
AND回路31は、上述したAND回路30の出力と、詳しくは後述するが、ロータの回転方向遷移が生じて、信号処理回路10から出力する検出信号をミドル値に固定する場合に、ローレベルの信号を出力し、ロータが正転方向又は逆転方向に回転しているときには、ハイレベルの信号を出力するインバータ35からの出力とを入力している。また、NAND回路32は、OR回路29の出力と、インバータ35からの出力とを入力している。
ロータが正転方向に回転しているときには、インバータ35の出力はハイレベルであるため、AND回路31からは、メインセンサ信号を反転させた反転信号が出力され、NAND回路32からは、ローレベルの一定信号が出力される。この結果、第2のトランジスタTr2はオフされた状態で、第1のトランジスタTr1のみがオンオフされる。従って、出力端子Outから出力される検出信号は、図6に示すように、ハイとローの2値の間で変化する信号となる。
なお、AND回路31からハイレベルの信号が出力されて、第1のトランジスタTr1がオンされたときには、出力端子Outから出力される検出信号はローレベルとなり、AND回路31からローレベルの信号が出力されて、第1のトランジスタTr1がオフされたときには、検出信号はハイレベルとなる。第1のトランジスタTr1は、上述したように、メインセンサ信号を反転させた反転信号により駆動される。従って、ロータが正転方向に回転している場合、メインセンサ信号がハイレベルとなったときには、検出信号もハイレベルとなり、メインセンサ信号がローレベルとなったときには、検出信号もローレベルとなる。つまり、検出信号は、メインセンサ信号と同じ位相の信号となる。
一方、ロータが逆転方向に回転しているときには、インバータ35の出力はハイレベルであるので、AND回路31からメインセンサ信号がそのまま出力され、NAND回路32からは、メインセンサ信号を反転した反転信号が出力される。この結果、第1のトランジスタTr1がオンされるときには、第2のトランジスタTr2がオフされ、第1のトランジスタTr1がオフされるときには、第2のトランジスタTr2がオンされる。このため、出力端子Outから出力される検出信号は、図6に示すように、ミドルとローの2値の間で変化する信号となる。
また、ロータが逆転方向に回転しているときには、AND回路31は、メインセンサ信号をそのまま出力して第1のトランジスタTr1を駆動する。従って、ロータが正転方向に回転しているケースとは逆に、メインセンサ信号がハイレベルとなったときには、検出信号はローレベルとなり、メインセンサ信号がローレベルとなったときには、検出信号はハイレベルとなる。つまり、ロータが逆転方向に回転しているときには、検出信号は、メインセンサ信号と逆位相の信号となる。
このように、NAND回路28、OR回路29、及びAND回路30は、ロータが正転方向に回転したときと、逆転方向に回転したときとで、検出信号の位相をメインセンサ信号の位相に対して逆転させるためのものである。ロータの正転方向への回転時と逆転方向への回転時とで、検出信号の位相を逆転させることにより、図6に示すように、ロータの回転方向が正転方向であるか、逆転方向であるかに係らず、メインセンサ信号における有効エッジによる信号変化に応じて、立ち下がり変化が生じ、かつ非有効エッジによる信号変化に応じて、立ち上がり変化が生じる検出信号を発生させることができる。従って、検出信号における立下り変化からロータの有効エッジの数をカウントすることが可能となる。その結果、ロータの回転方向に係らず、ロータのギヤ歯の同じエッジ位置を検出することが可能になり、ロータの回転位置を高精度に検出することが可能になる。
なお、図示しない制御装置において、検出信号を取り込んで処理する際には、図6に示すようなハイ閾値とロー閾値との2つの閾値を用いることにより、検出信号がハイとローの2値の間で変化しているのか、ミドルとローの2値の間で変化しているのかを判断することができる。その結果、検出信号に基づいて、ロータが正転方向に回転しているのか、逆転方向に回転しているのかを検出することができる。
次に、ロータが正転方向から逆転方向、あるいは逆転方向から正転方向へと回転方向を変化させたときに、検出信号によるギヤ歯の検出ずれを防止するための構成について説明する。
AND回路33は、上述したExNOR回路25の出力と、インバータ35の出力とを入力している。ExNOR回路25は、上述した通り、ロータが正転方向又は逆転方向に回転し続けているときには、ローレベルの信号を出力し、ロータが回転方向を変化させた回転方向遷移時にハイレベルの信号を出力する。このため、AND回路33から出力される信号は、ロータが回転方向を変化させたときに、ローレベルからハイレベルへ立ち上がる信号となる。
AND回路33の出力は、Dフリップフロップ34のクロック端子に入力されている。Dフリップフロップ34のデータ入力端子は、電源端子に接続されており、常時、ハイレベルの信号が与えられている。このため、クロック端子にローレベルからハイレベルへと立ち上がる信号が入力されたタイミングで、データ入力端子からハイレベル信号が取り込まれることにより、Dフリップフロップ34は、リセット端子にローレベルのリセット信号が入力されるまで、データ出力端子からハイレベルの信号を出力する。
Dフリップフロップ34がデータ出力端子からハイレベルの信号を出力したとき、インバータ35の出力はローレベルとなる。このように、インバータ35は、ロータが回転方向遷移を生じたタイミングでローレベルの信号を出力する。すると、AND回路31の出力はローレベルに固定され、NAND回路32の出力はハイレベルに固定される。この結果、第1のトランジスタTr1はオフされ、第2のトランジスタはオンされるので、検出信号は、ミドルの値に固定される。このようにして、本実施形態では、ロータが回転方向を変化させた回転方向遷移が検出されると、検出信号がミドル値に切り替えられ、Dフリップフロップ34にリセット信号が入力されるまで、検出信号はミドル値に保持される。
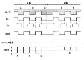
例えば、図6において、ロータの山部(C歯)で正転方向から逆転方向へと回転方向を変化させた場合、メインセンサ信号には、ギヤ歯の山部であるC歯の有効エッジによる信号変化が連続して生じる。このため、有効エッジによる信号変化が連続して発生したタイミング、すなわち2回目の有効エッジが発生したタイミングでExNOR回路25からハイレベルの信号が出力される。すると、図6において、太線で示すように、検出信号は、インバータ35から出力されるローレベル信号により、ローの値からミドルの値へと切り替えられ、保持される。
つまり、この場合、連続して生じたメインセンサ信号の変化時のサブセンサ信号のレベルから回転方向遷移を検出したときの、メインセンサ信号の変化は、有効エッジによる信号変化である。このような場合、メインセンサ信号に有効エッジによる信号変化が生じても、検出信号に立ち下がり変化を生じさせずに、有効エッジによるメインセンサ信号変化に応じて、検出信号をミドルの値に切り替えて保持するのである。これにより、ロータの回転遷移時の、最初の有効エッジによるメインセンサ信号の変化に応じて、検出信号が立ち下がり変化することを禁止することができる。
また、図6において、ロータの山部(Z歯)で逆転方向から正転方向へと回転方向を変化させた場合、メインセンサ信号には、Z歯の非有効エッジによる信号変化が連続して生じる。このため、非有効エッジによる信号変化が連続して発生したタイミングでExNOR回路25からハイレベルの信号が出力される。すると、図6に太線で示すように、Dフリップフリップ34の作用によってインバータ35から出力されるローレベル信号により、検出信号は、ミドルの値に固定される。つまり、ロータの回転方向遷移を検出したときの、メインセンサ信号の変化が非有効エッジによる変化であった場合には、回転方向遷移の検出と同時に、検出信号をミドルの値に切替えて保持する。すると、その後に生じる、最初の有効エッジ(A歯の有効エッジ)によるメインセンサ信号の変化に応じて、検出信号に立ち下がり変化が生じることを禁止するために、単に、検出信号のレベルをミドルのまま維持すれば良いので、回路構成をシンプルにすることができる。
なお、本実施形態では、ロータが逆転しているときには、検出信号はローとミドルとの2値の間で変化する。そして、図6に示す、山部(Z歯)にて回転方向を変化させた例では、ロータの回転方向遷移が検出される以前に、検出信号はミドルの値になっている。このため、ロータの回転方向遷移の検出に基づき、検出信号がミドルの値へ固定されても、検出信号に見かけ上の変化は生じていない。
次に、リセット信号を発生し、Dフリップフロップ34に入力するための回路構成及びリセット信号の発生タイミングについて説明する。
Dフリップフロップ34は、リセット端子にローレベルのリセット信号が入力されたときにリセットされて(ローアクティブ)、データ出力端子からローレベルの信号を出力する。これにより、インバータ35の出力は、ローレベルの信号からハイレベルの信号に切り替えられ、検出信号のミドルの値への固定は解除される。
リセット信号は、AND回路48を介して、Dフリップフロップ34のリセット端子に出力される。NAND回路43の出力は、AND回路48の入力の1つとなっている。NAND回路43には、インバータ42を介して、EXNOR25の出力が入力されるとともに、Dフリップフロップ40の出力が入力されている。
Dフリップフロップ40のデータ入力端子には、インバータ36を介して、サブセンサ信号が入力され、クロック端子には、ExNOR回路39の出力が入力されている。ExNOR回路39の一方の入力端子には、メインセンサ信号が、直接、入力されるとともに、他方の入力端子には、バッファ37及びインバータ38からなる遅延回路を介してメインセンサ信号が入力されている。このため、ExNOR回路39は、メインセンサ信号に立ち上がり変化を生じたとき、及び立ち下がり変化を生じたときに、上記遅延回路の遅延時間分だけハイとなるパルス信号を出力する。すなわち、バッファ37、インバータ38及びExNOR回路39は、メインパルス信号の立ち上がり変化(リーディングエッジ)及び立ち下がり変化(トレーリングエッジ)を検出して、パルス信号を発生するものである。
ExNOR回路39の出力は、Dフリップフロップ40のクロック端子に入力されているので、Dフリップフロップ40には、メインパルス信号の立ち上がり変化もしくは立ち下がり変化が生じたときのサブセンサ信号のレベルをインバータ36により反転した信号が取り込まれ、データ出力端子から、その取り込んだ信号のレベルに応じた信号が出力される。
ここで、図4に示すように、ロータが正転方向に回転していても、逆転方向に回転していても、メインパルス信号に立ち上がり変化もしくは立ち下がり変化が生じたとき、それが有効エッジによる信号変化である場合には、サブセンサ信号がハイレベルとなっており、非有効エッジによる信号変化である場合には、サブセンサ信号がローレベルとなっている。サブセンサ信号はインバータ36により反転された後に、Dフリップフロップ40のデータ入力端子に入力されているので、メインセンサ信号に有効エッジによる信号変化が生じたとき、Dフリップフロップ40の出力はローレベルの信号となり、非有効エッジによる信号変化が生じたとき、Dフリップフロップ40の出力はハイレベルの信号となる。
このため、NAND回路43の出力がローレベルとなるのは、ExNOR回路25の出力が、ロータの正転方向への回転もしくは逆転方向への回転を示すローレベルとなり、かつ、Dフリップフロップ40から、メインセンサ信号に非有効エッジによる信号変化が生じたことを示すハイレベルの信号が出力されたときである。
例えば、図6に示す例において、ロータが山部(C歯)で正転方向から逆転方向へと回転方向を変化させた後、B歯の非有効エッジによるメインセンサ信号の変化が生じたタイミングで、ExNOR回路25の出力は、ロータの逆転方向への回転を示すローレベルになるとともに、Dフリップフロップ40の出力は、ハイレベルの信号となる。従って、NAND回路43からローレベルの信号が出力されるので、AND回路48を介して、Dフリップフロップ34のリセット端子にローレベルのリセット信号が入力される。これにより、Dフリップフロップの出力はローレベルになるため、インバータ35の出力がハイレベルとなる。この結果、図6において、太線で示すように、メインセンサ信号にB歯の非有効エッジによる信号変化が生じたタイミングで、検出信号のミドルの値への固定は解除される。
なお、Dフリップフリップ34の出力がローレベルになると、その出力は、AND回路41を介して、Dフリップフロップ40のリセット端子に入力されているので、Dフリップフロップ40の出力もローレベルとなる。これにより、NAND回路43及びAND回路48を介してのリセット信号の出力は終了する。
このように、メインセンサ信号にB歯の非有効エッジによる信号変化が生じたことに応じて、検出信号のミドル値への固定を解除するので、その後、ロータが逆転方向に回転を続け、メインセンサ信号にB歯の有効エッジによる信号変化が生じた場合には、その有効エッジによる信号変化に応じて、検出信号は立ち下がり変化を生じさせることができる。
このとき、図6に示すように、ロータが正転しているときの検出信号の立ち下がり変化は、それぞれギヤ歯の各山部の回転方向(正転方向)における先端側エッジに対応しており、回転方向を変化させる直前の検出信号はC歯を検出した状態である。そして、ロータの回転方向が変化したときに、最初の有効エッジによるメインセンサ信号の変化に応じた、検出信号の立ち下がり変化を禁じた結果、図6に示すように、ロータが逆転方向に回転した場合であっても、回転方向(逆転方向)における後端側エッジに対応するB歯の有効エッジに応じて検出信号に立ち下がり変化を生じさせることができる。これにより、ロータの回転方向の変化に伴って、ギヤ歯の検出ずれが発生することを防止できるのである。
また、図6において、ロータが山部(Z歯)で逆転方向から正転方向へと回転方向を変化させたときには、A歯の有効エッジによるメインセンサ信号の変化は、A歯の非有効エッジによるメインセンサ信号の変化よりも早く生じる。このため、A歯の有効エッジによるメインセンサ信号の変化が生じた時点では、まだ、Dフリップフロップ34の作用による、検出信号のミドル値への固定は解除されていない。このため、A歯の有効エッジによるメインセンサ信号の変化に応じて、検出信号の値がミドル値から変化することは無い。このようにして、ロータの回転方向変化後に生じる、最初の有効エッジによるメインセンサ信号の変化に応じた、検出信号の立ち下がり変化を禁じているのである。
その後、A歯の非有効エッジによるメインセンサ信号の変化が生じたタイミングで、ExNOR回路25の出力は、ロータの正転方向への回転を示すローレベルとなっており、かつ、Dフリップフロップ40の出力は、ハイレベルの信号となる。従って、NAND回路43からローレベルの信号が出力されるので、AND回路48を介して、Dフリップフロップ34のリセット端子にローレベルのリセット信号が入力される。これにより、インバータ35の出力がハイレベルとなるので、図6において、太線で示すように、メインセンサ信号にA歯の非有効エッジによる信号変化が生じたタイミングで、検出信号のミドルの値への固定は解除され、検出信号には、非有効エッジによる信号変化に応じた、立ち上がり変化が生じる。
これにより、その後、ロータが正転方向に回転を続け、メインセンサ信号にB歯の有効エッジによる信号変化が生じた場合には、その有効エッジによる信号変化に応じて、検出信号に立ち下がり変化を生じさせることができる。従って、図6に示すように、ロータの回転方向の変化に伴って、ギヤ歯の検出ずれ発生することを防止できる。
なお、ロータがギヤ歯の山部ではなく、谷部で回転方向を変化させた場合の様子も図6に示しているが、検出信号のミドル値への固定を含む検出信号の変化は、山部にて回転方向を変化させた場合と同様であるため説明を省略した。
リセット信号を出力するAND回路48には、NAND回路47からの出力も入力されている。NAND回路47は、直列に接続された3個のDフリップフロップ44,45,46からのそれぞれの出力を入力している。
直列に接続された3個のDフリップフロップ44,45,46の各クロック端子には、メインセンサ信号の立ち上がり変化及び立下り変化を検出してパルス信号を発生するExNOR回路39からの出力が入力されている。また、最初のDフリップフロップ44のデータ入力端子には、インバータ回路36を介してサブセンサ信号が入力されている。二番目のDフリップフロップ45のデータ入力端子には、最初のDフリップフロップ44のデータ出力端子からの出力が入力され、三番目のDフリップフロップ46のデータ入力端子には、二番目のDフリップフロップ45のデータ出力端子からの出力が入力される。
従って、NAND回路47に入力される3個のDフリップフロップ44,45,46の出力がともにハイレベルとなるのは、メインセンサ信号に有効エッジによる信号変化が生じることなく、非有効エッジによる信号変化が連続して3回生じたときのみとなる。このため、NAND回路47は、メインセンサ信号に非有効エッジによる信号変化が連続して3回生じたときには、ローレベルの信号を出力する。NAND回路47から出力されたローレベルの信号は、AND回路48を介して、Dフリップフロップ34をリセットし、検出信号のミドル値への固定を解除する。
このような条件で、検出信号のミドルの値への固定を解除する理由について、図7に基づいて説明する。図7は、ロータが1個のギヤ歯の範囲の近傍で回転方向を繰り返し反転させた場合の、メインセンサ信号、サブセンサ信号、及び検出信号の変化の様子を示している。
図7に示すように、ロータが正転方向に回転しているとき、C歯の山部で回転方向を反転させ、その後、B歯の範囲の近傍で繰り返し回転方向を変化させると、B歯による非有効エッジによるメインセンサ信号の変化が、連続して3回生じる場合がある。
このような場合、C歯の有効エッジによるメインセンサ信号の変化が連続して生じたことに基いて、回転方向が変化したことが検出されるので、検出信号は、図7の太線で示すように、ミドルの値に切り替えられ保持される。その後、B歯の最初の非有効エッジによるメインセンサ信号の信号変化に応じて、ミドル値への固定は解除される。
ただし、その後もB歯の近傍でロータが回転方向を変化させることにより、B歯の非有効エッジによるメインセンサ信号の変化が連続して起こる。このような場合、1番目の非有効エッジと2番目の非有効エッジによるメインセンサ信号の変化に基づいて、ロータの回転方向が逆転方向から正転方向へと変化したことが検出される。このため、2番目の非有効エッジによるメインセンサ信号の変化に基づいて、検出信号はミドルの値に固定される。
さらに、2番目と3番目の非有効エッジによるメインセンサ信号の変化に基づいて、ロータの回転方向が正転方向から逆転方向へと変化したことが検出される。従って、通常であれば、3番目の非有効エッジによるメインセンサ信号の変化に応じて、検出信号はミドルの値に固定される。
しかしながら、このように3番目の非有効エッジによるメインセンサ信号の変化に応じて、検出信号をミドルの値に固定してしまうと、図7に示すように、実際に、B歯の有効エッジによるメインセンサ信号の変化が生じ、そのメインセンサ信号変化に応じて、検出信号の立ち下がり変化を生じさせるべきときに、そのような検出信号の変化を禁じてしまうことになる。
そのため、本実施形態では、上述したように3個のDフリップフロップ44,45,46の直列回路を用いて、メインセンサ信号に、非有効エッジによる信号変化が連続して3回生じたときには、検出信号のミドル値への固定を解除するように構成した。これにより、図7に示すように、B歯の有効エッジによるメインセンサ信号の変化に応じて、検出信号に立ち下がり変化を生じさせることができ、ギヤ歯の検出ずれを防止することができる。
なお、図5において、PORBは、パワーオンリセット信号を示している。パワーオンリセット信号は、本回転検出装置に電源が投入されたときに入力されるリセット信号であり、そのリセット信号は、すべてのDフリップフロップ21,23,34,40,44−46のリセット端子に入力されるように構成されている。
以上、本発明の好ましい実施形態について説明したが、本発明は上述した実施形態になんら制限されることなく、本発明の主旨を逸脱しない範囲において、種々の変形が可能である。
例えば、上述した実施形態では、ロータが正転方向に回転しているときに、検出信号がハイとローの2値の間で変化し、ロータが逆転方向に回転しているときに、検出信号がミドルとローの2値の間で変化するものであった。しかしながら、ロータが逆転方向に回転しているときに、検出信号がハイとローの2値の間で変化し、ロータが正転方向に回転しているときに、検出信号がミドルとローの2値の間で変化するものであっても良い。すなわち、ロータが一方向に回転しているときには、検出信号がハイとローの2値の間で変化し、他方向に回転しているときには、検出信号がハイとミドルの2値の間で変化するように構成すれば良い。
さらに、上述した実施形態では、メインセンサ信号に有効エッジによる変化が生じたとき、検出信号に立ち下がり変化が生じ、非有効エッジによる変化が生じたとき、検出信号に立ち上がり変化が生じるように構成した。しかしながら、メインセンサ信号に有効エッジによる変化が生じたとき、検出信号に立ち上がり変化が生じ、非有効エッジによる変化が生じたとき、検出信号に立ち下がり変化が生じるように構成しても良い。ただし、検出信号のミドル値への切替を、有効エッジの信号変化による検出信号の変化と区別するために、メインセンサ信号に有効エッジによる変化が生じたとき、検出信号に立ち上がり変化を生じさせる場合には、ロータの回転方向に応じて、検出信号をハイとローの2値の間と、ハイとミドルの2値の間で切り替えるようにすることが望ましい。
1 メイン磁気センサ
2 サブ磁気センサ
10 信号処理回路
20 ロジック回路
Tr1 第1のトランジスタ
Tr2 第2のトランジスタ
R1,R2 抵抗
ZD ツェナーダイオード
C コンデンサ

Claims (7)

  1. ギヤ歯が形成された回転体に対向配置された複数の磁気センサから、前記回転体の正転方向又は逆転方向への回転に伴って前記ギヤ歯の山部と谷部とが移動することにより、異なる位相を有する矩形波状の第1及び第2のセンサ信号が出力されたとき、それら第1及び第2のセンサ信号に基づいて、前記回転体の回転位置を検出するための検出信号を出力する回転検出装置の信号処理回路であって、
    前記第1及び第2のセンサ信号の位相関係に基づき、前記回転体の回転方向が、正転方向から逆転方向、あるいは逆転方向から正転方向に変化した回転方向遷移を検出する回転方向遷移検出手段と、
    前記回転体の回転方向が正転方向であるときと、逆転方向であるときとで、一方の回転方向では、前記山部の先端側エッジによる前記第1のセンサ信号の変化を前記一方の回転方向での有効エッジによる信号変化、及び前記山部の後端側エッジによる前記第1のセンサ信号の変化を前記一方の回転方向での非有効エッジによる信号変化と定め、他方の回転方向では、前記山部の後端側エッジによる前記第1のセンサ信号の変化を前記他方の回転方向での有効エッジによる信号変化、及び前記山部の先端側エッジによる前記第1のセンサ信号の変化を前記他方の回転方向での非有効エッジによる信号変化と定め、前記回転体の回転方向が正転方向であるか、逆転方向であるかに係らず、前記第1のセンサ信号における前記有効エッジによる信号変化に応じて、立ち上がり変化と立ち下がり変化とのいずれか一方の同じ変化が生じ、かつ前記非有効エッジによる信号変化に応じて、立ち上がり変化と立ち下がり変化とのいずれか他方の同じ変化が生じる検出信号を発生させることで、当該検出信号により前記有効エッジの数をカウント可能とする検出信号発生手段と、
    前記回転方向遷移検出手段によって前記回転体の回転方向遷移が検出されたとき、前記第1のセンサ信号における最初の有効エッジによる信号変化に応答して、前記検出信号に立ち上がり変化と立ち下がり変化とのいずれか一方の同じ変化が生じることを禁ずる禁止手段と、を備えることを特徴とする回転検出装置の信号処理回路。
  2. 前記検出信号は、ハイ、ミドル、ローの3値の間で変化するものであって、回転体が正転方向に回転したときと、逆転方向に回転したときとで、前記検出信号の変化の大きさを異ならせることにより、前記検出信号から前記回転体の回転方向も検出可能としたことを特徴とする請求項1に記載の回転検出装置の信号処理回路。
  3. 前記禁止手段は、前記回転体の回転方向遷移時に、前記第1のセンサ信号における最初の有効エッジによる信号変化が生じても、前記検出信号をミドルの値に固定したままにすることにより、検出信号に立ち上がり変化と立ち下がり変化とのいずれか一方の同じ変化が生じることを禁ずることを特徴とする請求項2に記載の回転検出装置の信号処理回路。
  4. 前記回転方向遷移検出手段は、第1のセンサ信号が変化したときの、前記第2のセンサ信号のレベルから回転体の回転方向を認識しつつ、その認識した回転方向が変化したときに回転方向遷移を検出するものであって、
    回転方向遷移を検出したときの、前記第1のセンサ信号の変化が有効エッジによる信号変化である場合には、当該有効エッジによる第1のセンサ信号変化に応じて、前記検出信号をミドルの値に切り替えて保持することにより、検出信号に立ち上がり変化と立ち下がり変化とのいずれか一方の同じ変化が生じることを禁ずることを特徴とする請求項3に記載の回転検出装置の信号処理回路。
  5. 前記回転方向遷移検出手段は、第1のセンサ信号が変化したときの、前記第2のセンサ信号のレベルから回転体の回転方向を認識しつつ、その認識した回転方向が変化したときに回転方向遷移を検出するものであって、
    回転方向遷移を検出したときの、前記第1のセンサ信号の変化が非有効エッジによる信号変化である場合には、当該非有効エッジによる第1のセンサ信号変化に応じて、前記検出信号をミドルの値に切り替えて保持し、その後に、第1のセンサ信号において、最初の有効エッジによる信号変化が生じても、検出信号をミドルの値に固定したままにすることにより、検出信号に立ち上がり変化と立ち下がり変化とのいずれか一方の同じ変化が生じることを禁ずることを特徴とする請求項3に記載の回転検出装置の信号処理回路。
  6. 前記禁止手段は、前記検出信号をミドルの値に固定したままとすることにより、前記回転体の回転方向遷移時の最初の有効エッジによる信号変化に応じた、前記検出信号の変化を禁止した後、前記回転体が同じ方向に回転し続けている場合、前記第1のセンサ信号に非有効エッジによる信号変化が生じたことに応答して、前記検出信号のミドルの値への固定を解除することを特徴とする請求項3乃至請求項5のいずれかに記載の回転検出装置の信号処理回路。
  7. 前記回転体の回転方向遷移が検出され、前記検出信号がミドルの値に切り替えられた後、第1のセンサ信号に前記有効エッジによる信号変化が生じることなく、非有効エッジによる信号変化が連続して3回生じたとき、前記禁止手段は、前記検出信号のミドル値への固定を解除し、その後の有効エッジによる信号変化に応じて、前記検出信号に立ち上がり変化と立ち下がり変化とのいずれか一方の同じ変化を生じさせることを特徴とする請求項3乃至請求項6のいずれかに記載の回転検出装置の信号処理回路。
JP2009170312A 2008-07-23 2009-07-21 回転検出装置の信号処理回路 Expired - Fee Related JP4924672B2 (ja)

Priority Applications (1)

Application Number Priority Date Filing Date Title
JP2009170312A JP4924672B2 (ja) 2008-07-23 2009-07-21 回転検出装置の信号処理回路

Applications Claiming Priority (3)

Application Number Priority Date Filing Date Title
JP2008189594 2008-07-23
JP2008189594 2008-07-23
JP2009170312A JP4924672B2 (ja) 2008-07-23 2009-07-21 回転検出装置の信号処理回路

Publications (2)

Publication Number Publication Date
JP2010048801A true JP2010048801A (ja) 2010-03-04
JP4924672B2 JP4924672B2 (ja) 2012-04-25

Family

ID=41568136

Family Applications (1)

Application Number Title Priority Date Filing Date
JP2009170312A Expired - Fee Related JP4924672B2 (ja) 2008-07-23 2009-07-21 回転検出装置の信号処理回路

Country Status (2)

Country Link
US (1) US8130115B2 (ja)
JP (1) JP4924672B2 (ja)

Families Citing this family (3)

* Cited by examiner, † Cited by third party
Publication number Priority date Publication date Assignee Title
JP6373962B2 (ja) 2013-03-13 2018-08-15 ティアックス エルエルシーTiax Llc トルクセンサ
US10466071B2 (en) * 2014-08-06 2019-11-05 Infineon Technologies Ag True-phase two-dimensional magnetic field sensor
KR102386198B1 (ko) * 2017-11-28 2022-04-14 에스케이하이닉스 주식회사 저항성 메모리 장치를 구비한 메모리 시스템 및 그의 동작 방법

Citations (3)

* Cited by examiner, † Cited by third party
Publication number Priority date Publication date Assignee Title
JPS5559315A (en) * 1978-10-27 1980-05-02 Omron Tateisi Electronics Co Pulse generating device
JP2007170922A (ja) * 2005-12-20 2007-07-05 Denso Corp 回転検出装置の信号処理回路
WO2008080677A1 (de) * 2006-12-27 2008-07-10 Robert Bosch Gmbh Verfahren zur inkrementellen ermittlung eines drehwinkels einer welle

Family Cites Families (6)

* Cited by examiner, † Cited by third party
Publication number Priority date Publication date Assignee Title
DE3712587C2 (de) * 1986-04-15 1994-01-20 Canon Kk Gerät zum Erzeugen von auf einem Aufzeichnungsblatt zu überlagernden Bildern
JP4093381B2 (ja) 1997-04-01 2008-06-04 株式会社デンソー 回転センサの検出信号処理装置
IT1298015B1 (it) * 1997-09-16 1999-12-20 Esaote Spa Lettino in particolare nelle macchine per il rilevamento d'immagine in risonanza magnetica nucleare.
JP4233220B2 (ja) * 1998-08-21 2009-03-04 シチズンホールディングス株式会社 タレット刃物台
DE60312320T2 (de) * 2002-05-16 2007-11-08 Lg Electronics Inc. Störungsüberwachungsvorrichtung und verfahren für kupplung einer waschmaschine
JP3846371B2 (ja) 2002-06-21 2006-11-15 松下電器産業株式会社 回転検出装置

Patent Citations (3)

* Cited by examiner, † Cited by third party
Publication number Priority date Publication date Assignee Title
JPS5559315A (en) * 1978-10-27 1980-05-02 Omron Tateisi Electronics Co Pulse generating device
JP2007170922A (ja) * 2005-12-20 2007-07-05 Denso Corp 回転検出装置の信号処理回路
WO2008080677A1 (de) * 2006-12-27 2008-07-10 Robert Bosch Gmbh Verfahren zur inkrementellen ermittlung eines drehwinkels einer welle

Also Published As

Publication number Publication date
US8130115B2 (en) 2012-03-06
JP4924672B2 (ja) 2012-04-25
US20100019917A1 (en) 2010-01-28

Similar Documents

Publication Publication Date Title
US8400143B2 (en) Signal processing circuit of rotation detector and rotation angle detector
US8089270B2 (en) Magnetic field detector having a variable threshold
JP4093381B2 (ja) 回転センサの検出信号処理装置
JP2010101747A (ja) 移動方向検出装置
JP5144547B2 (ja) 検出信号処理回路とそれを備えた回転検出装置
JP2007170922A (ja) 回転検出装置の信号処理回路
JP2009528635A5 (ja)
JP2010050529A (ja) パルス位相差検出回路及びこれを用いたa/d変換回路
JP4808197B2 (ja) 光学式エンコーダおよびそれを備えた電子機器
JP4924672B2 (ja) 回転検出装置の信号処理回路
JP2005265540A (ja) 回転状態検出装置及び回転状態検出方法
US8392146B2 (en) Signal processing circuit for rotation detector
US20090027046A1 (en) Magnetic detection device
WO2009136627A1 (ja) A/d変換回路
JP4862760B2 (ja) 検出信号処理回路
JP5195739B2 (ja) 回転検出装置の信号処理装置
JP4760956B2 (ja) 回転検出装置の信号処理回路
JP4930528B2 (ja) 回転角検出装置
JP4352921B2 (ja) 回転位置検出装置
JP6883482B2 (ja) センサ回路
JP2006234504A (ja) 回転検出装置
JP4551780B2 (ja) エンコーダの信号処理回路
JP4519183B2 (ja) Ab相信号発生器、rdコンバータ及び角度検出装置
JP5340235B2 (ja) センサ信号処理回路
JP6301755B2 (ja) 検出センサ、検出センサの制御方法

Legal Events

Date Code Title Description
A621 Written request for application examination

Free format text: JAPANESE INTERMEDIATE CODE: A621

Effective date: 20091224

A977 Report on retrieval

Free format text: JAPANESE INTERMEDIATE CODE: A971007

Effective date: 20111024

TRDD Decision of grant or rejection written
A01 Written decision to grant a patent or to grant a registration (utility model)

Free format text: JAPANESE INTERMEDIATE CODE: A01

Effective date: 20120110

A01 Written decision to grant a patent or to grant a registration (utility model)

Free format text: JAPANESE INTERMEDIATE CODE: A01

A61 First payment of annual fees (during grant procedure)

Free format text: JAPANESE INTERMEDIATE CODE: A61

Effective date: 20120123

FPAY Renewal fee payment (event date is renewal date of database)

Free format text: PAYMENT UNTIL: 20150217

Year of fee payment: 3

R151 Written notification of patent or utility model registration

Ref document number: 4924672

Country of ref document: JP

Free format text: JAPANESE INTERMEDIATE CODE: R151

FPAY Renewal fee payment (event date is renewal date of database)

Free format text: PAYMENT UNTIL: 20150217

Year of fee payment: 3

R250 Receipt of annual fees

Free format text: JAPANESE INTERMEDIATE CODE: R250

R250 Receipt of annual fees

Free format text: JAPANESE INTERMEDIATE CODE: R250

R250 Receipt of annual fees

Free format text: JAPANESE INTERMEDIATE CODE: R250

R250 Receipt of annual fees

Free format text: JAPANESE INTERMEDIATE CODE: R250

R250 Receipt of annual fees

Free format text: JAPANESE INTERMEDIATE CODE: R250

R250 Receipt of annual fees

Free format text: JAPANESE INTERMEDIATE CODE: R250

R250 Receipt of annual fees

Free format text: JAPANESE INTERMEDIATE CODE: R250

R250 Receipt of annual fees

Free format text: JAPANESE INTERMEDIATE CODE: R250

LAPS Cancellation because of no payment of annual fees