JP2010048607A - 光電式エンコーダ - Google Patents
光電式エンコーダ Download PDFInfo
- Publication number
- JP2010048607A JP2010048607A JP2008211797A JP2008211797A JP2010048607A JP 2010048607 A JP2010048607 A JP 2010048607A JP 2008211797 A JP2008211797 A JP 2008211797A JP 2008211797 A JP2008211797 A JP 2008211797A JP 2010048607 A JP2010048607 A JP 2010048607A
- Authority
- JP
- Japan
- Prior art keywords
- phase
- scale
- light
- lattice
- photoelectric encoder
- Prior art date
- Legal status (The legal status is an assumption and is not a legal conclusion. Google has not performed a legal analysis and makes no representation as to the accuracy of the status listed.)
- Granted
Links
Images
Classifications
-
- G—PHYSICS
- G01—MEASURING; TESTING
- G01D—MEASURING NOT SPECIALLY ADAPTED FOR A SPECIFIC VARIABLE; ARRANGEMENTS FOR MEASURING TWO OR MORE VARIABLES NOT COVERED IN A SINGLE OTHER SUBCLASS; TARIFF METERING APPARATUS; MEASURING OR TESTING NOT OTHERWISE PROVIDED FOR
- G01D5/00—Mechanical means for transferring the output of a sensing member; Means for converting the output of a sensing member to another variable where the form or nature of the sensing member does not constrain the means for converting; Transducers not specially adapted for a specific variable
- G01D5/12—Mechanical means for transferring the output of a sensing member; Means for converting the output of a sensing member to another variable where the form or nature of the sensing member does not constrain the means for converting; Transducers not specially adapted for a specific variable using electric or magnetic means
- G01D5/244—Mechanical means for transferring the output of a sensing member; Means for converting the output of a sensing member to another variable where the form or nature of the sensing member does not constrain the means for converting; Transducers not specially adapted for a specific variable using electric or magnetic means influencing characteristics of pulses or pulse trains; generating pulses or pulse trains
- G01D5/24471—Error correction
- G01D5/24476—Signal processing
Landscapes
- Engineering & Computer Science (AREA)
- Signal Processing (AREA)
- Physics & Mathematics (AREA)
- General Physics & Mathematics (AREA)
- Optical Transform (AREA)
Abstract
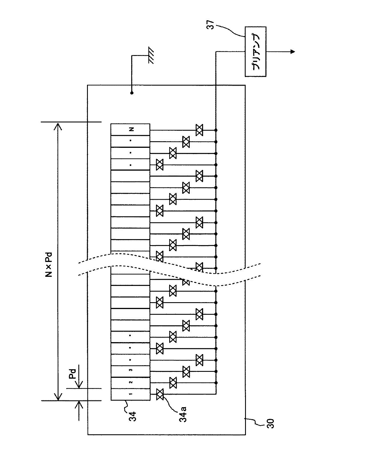
【解決手段】所定周期の格子(インクリメンタルパターン)12が形成されたスケール13と、該スケール13に対して相対変位可能とされた、光源(発光素子14)及び受光器30を備えた光電式エンコーダにおいて、前記受光器30の受光素子34がN相の明暗信号を出力するようにすると共に、該N相の明暗信号に、周期固定の正弦波関数をフィッティングして、位相を検出する。
【選択図】図6
Description
Asin(x−B)+C …(1)
をモデルとした最小2乗法によるフィッティング処理を、それぞれ行う事により、N相の明暗信号のそれぞれの位相を検出する。
sin(−B)=b/√(a2+b2) , cos(−B)=a/√(a2+b2)
13…スケール
14…発光素子(光源)
20…検出ヘッド
30…受光器
34…受光素子
60…信号処理回路
66…位相検出回路
Claims (5)
- 所定周期の格子が形成されたスケールと、
該スケールに対して相対変位可能であると共に光源及び受光器を備えた検出ヘッドと、を備えた光電式エンコーダにおいて、
前記受光器の受光素子がN相(Nは3以上の整数)の明暗信号を出力するようにされると共に、
該N相の明暗信号をそれぞれデジタル化したN相のデジタル信号に、周期固定の正弦波関数をフィッティングして、該N相の明暗信号の位相を検出するようにしたことを特徴とする光電式エンコーダ。 - 前記フィッティングを最小2乗法により行うことを特徴とする請求項1に記載の光電式エンコーダ。
- 前記N相の明暗信号から、スケールの汚れや格子の欠陥を検出することを特徴とする請求項1又は2に記載の光電式エンコーダ。
- 前記スケールの汚れや格子の欠陥がある部分をフィッティングの対象から除外して、再びフィッティングを行うことを特徴とする請求項3に記載の光電式エンコーダ。
- 前記スケールの汚れや格子の欠陥が過剰に存在する場合は、アクシデンタルな位置検出エラーとすることを特徴とする請求項3に記載の光電式エンコーダ。
Priority Applications (3)
| Application Number | Priority Date | Filing Date | Title |
|---|---|---|---|
| JP2008211797A JP5112989B2 (ja) | 2008-08-20 | 2008-08-20 | 光電式エンコーダ |
| US12/461,371 US7994470B2 (en) | 2008-08-20 | 2009-08-10 | Photoelectric encoder |
| DE102009038073.6A DE102009038073B4 (de) | 2008-08-20 | 2009-08-19 | Fotoelektrischer Codierer |
Applications Claiming Priority (1)
| Application Number | Priority Date | Filing Date | Title |
|---|---|---|---|
| JP2008211797A JP5112989B2 (ja) | 2008-08-20 | 2008-08-20 | 光電式エンコーダ |
Publications (2)
| Publication Number | Publication Date |
|---|---|
| JP2010048607A true JP2010048607A (ja) | 2010-03-04 |
| JP5112989B2 JP5112989B2 (ja) | 2013-01-09 |
Family
ID=41650958
Family Applications (1)
| Application Number | Title | Priority Date | Filing Date |
|---|---|---|---|
| JP2008211797A Expired - Fee Related JP5112989B2 (ja) | 2008-08-20 | 2008-08-20 | 光電式エンコーダ |
Country Status (3)
| Country | Link |
|---|---|
| US (1) | US7994470B2 (ja) |
| JP (1) | JP5112989B2 (ja) |
| DE (1) | DE102009038073B4 (ja) |
Cited By (5)
| Publication number | Priority date | Publication date | Assignee | Title |
|---|---|---|---|---|
| JPH0934148A (ja) * | 1995-07-14 | 1997-02-07 | Ricoh Co Ltd | 電子写真感光体 |
| JP2012083153A (ja) * | 2010-10-08 | 2012-04-26 | Mitsutoyo Corp | エンコーダ |
| EP2565590A1 (en) | 2011-09-01 | 2013-03-06 | Mitutoyo Corporation | Absolute position measuring encoder |
| JP2017049192A (ja) * | 2015-09-04 | 2017-03-09 | キヤノン株式会社 | 位置検出装置、レンズ装置、および撮像装置 |
| JP2017116397A (ja) * | 2015-12-24 | 2017-06-29 | 國家中山科學研究院 | 高精度エンコーダの精度校正方法 |
Families Citing this family (6)
| Publication number | Priority date | Publication date | Assignee | Title |
|---|---|---|---|---|
| EP2499811B1 (en) | 2009-11-13 | 2019-08-28 | Koninklijke Philips N.V. | Efficient coding of depth transitions in 3d video |
| JP5641746B2 (ja) * | 2010-02-12 | 2014-12-17 | 株式会社ミツトヨ | 光電式エンコーダ |
| JP6634249B2 (ja) * | 2015-09-14 | 2020-01-22 | 株式会社ミツトヨ | 絶対位置検出型光電式エンコーダ |
| EP3415088A1 (en) * | 2017-06-12 | 2018-12-19 | Rythm | Method, system and computer program to measure in real-time the phase of a pseudo-periodic physiological signal of a user |
| US10866124B2 (en) | 2017-10-24 | 2020-12-15 | Mitsubishi Electric Research Laboratories, Inc. | Systems and methods for speed estimation of contactless encoder systems |
| CN113804225A (zh) * | 2021-09-17 | 2021-12-17 | 中国科学院长春光学精密机械与物理研究所 | 一种准绝对式光电编码器的抗污渍测量方法 |
Citations (3)
| Publication number | Priority date | Publication date | Assignee | Title |
|---|---|---|---|---|
| JPS5994012A (ja) * | 1982-10-22 | 1984-05-30 | ドクトル・ヨハネス・ハイデンハイン・ゲゼルシヤフト・ミト・ベシユレンクテル・ハフツング | 位置測定方法及びこの方法を実施するための装置 |
| JPS62140405U (ja) * | 1986-02-27 | 1987-09-04 | ||
| WO2007119488A1 (ja) * | 2006-03-22 | 2007-10-25 | National University Corporation Gunma University | 周波数測定装置及び周波数測定方法 |
Family Cites Families (11)
| Publication number | Priority date | Publication date | Assignee | Title |
|---|---|---|---|---|
| GB2076147B (en) * | 1980-05-15 | 1984-07-11 | Ferranti Ltd | Position encoder |
| US4720699A (en) * | 1985-10-28 | 1988-01-19 | Smith Ronald H | Optical encoder using line array detectors |
| JP2610624B2 (ja) | 1987-08-26 | 1997-05-14 | 株式会社 ミツトヨ | 光学式変位検出器 |
| JPH0510015Y2 (ja) | 1987-09-30 | 1993-03-11 | ||
| AT393029B (de) * | 1989-03-29 | 1991-07-25 | Rsf Elektronik Gmbh | Inkrementales laengenmesssystem |
| JPH09196705A (ja) * | 1996-01-23 | 1997-07-31 | Mitsutoyo Corp | 変位測定装置 |
| JP5345269B2 (ja) * | 1999-10-26 | 2013-11-20 | シチズンホールディングス株式会社 | 光学式変位測定装置 |
| US7186969B2 (en) * | 2003-02-12 | 2007-03-06 | Mitutoyo Corporation | Optical configuration for imaging-type optical encoders |
| JP4428948B2 (ja) * | 2003-06-30 | 2010-03-10 | キヤノン株式会社 | 光学式エンコーダ |
| JP4629486B2 (ja) * | 2005-04-27 | 2011-02-09 | オークマ株式会社 | 光学式エンコーダ |
| JP2008211797A (ja) | 2007-02-23 | 2008-09-11 | Samsung Electronics Co Ltd | 無線移動通信システムにおける電力制御装置及び方法 |
-
2008
- 2008-08-20 JP JP2008211797A patent/JP5112989B2/ja not_active Expired - Fee Related
-
2009
- 2009-08-10 US US12/461,371 patent/US7994470B2/en active Active
- 2009-08-19 DE DE102009038073.6A patent/DE102009038073B4/de not_active Expired - Fee Related
Patent Citations (3)
| Publication number | Priority date | Publication date | Assignee | Title |
|---|---|---|---|---|
| JPS5994012A (ja) * | 1982-10-22 | 1984-05-30 | ドクトル・ヨハネス・ハイデンハイン・ゲゼルシヤフト・ミト・ベシユレンクテル・ハフツング | 位置測定方法及びこの方法を実施するための装置 |
| JPS62140405U (ja) * | 1986-02-27 | 1987-09-04 | ||
| WO2007119488A1 (ja) * | 2006-03-22 | 2007-10-25 | National University Corporation Gunma University | 周波数測定装置及び周波数測定方法 |
Cited By (7)
| Publication number | Priority date | Publication date | Assignee | Title |
|---|---|---|---|---|
| JPH0934148A (ja) * | 1995-07-14 | 1997-02-07 | Ricoh Co Ltd | 電子写真感光体 |
| JP2012083153A (ja) * | 2010-10-08 | 2012-04-26 | Mitsutoyo Corp | エンコーダ |
| EP2565590A1 (en) | 2011-09-01 | 2013-03-06 | Mitutoyo Corporation | Absolute position measuring encoder |
| JP2013053880A (ja) * | 2011-09-01 | 2013-03-21 | Mitsutoyo Corp | 絶対測長型エンコーダ |
| JP2017049192A (ja) * | 2015-09-04 | 2017-03-09 | キヤノン株式会社 | 位置検出装置、レンズ装置、および撮像装置 |
| US10859410B2 (en) | 2015-09-04 | 2020-12-08 | Canon Kabushiki Kaisha | Position detection apparatus, lens apparatus, and image pickup apparatus |
| JP2017116397A (ja) * | 2015-12-24 | 2017-06-29 | 國家中山科學研究院 | 高精度エンコーダの精度校正方法 |
Also Published As
| Publication number | Publication date |
|---|---|
| JP5112989B2 (ja) | 2013-01-09 |
| DE102009038073A1 (de) | 2010-03-11 |
| US7994470B2 (en) | 2011-08-09 |
| DE102009038073B4 (de) | 2020-12-10 |
| US20100044551A1 (en) | 2010-02-25 |
Similar Documents
| Publication | Publication Date | Title |
|---|---|---|
| JP5112989B2 (ja) | 光電式エンコーダ | |
| JP5641746B2 (ja) | 光電式エンコーダ | |
| JP5286584B2 (ja) | 絶対位置測長型エンコーダ | |
| US9417101B2 (en) | Optical encoder with a scale that has fine and coarse pitch patterns | |
| EP2416126B1 (en) | Absolute encoder | |
| US20080252906A1 (en) | Absolute position length-measurement type encoder | |
| JP5829464B2 (ja) | 絶対測長型エンコーダ | |
| JP5887064B2 (ja) | 光学式エンコーダ | |
| CN102645167A (zh) | 绝对位移测量装置 | |
| JP2009198318A (ja) | 光電式エンコーダ | |
| JP2012083153A (ja) | エンコーダ | |
| JP5553667B2 (ja) | 光学式基準位置検出型エンコーダ | |
| JP6074672B2 (ja) | 変位検出装置、変位検出方法及び変位検出プログラム | |
| JP5824342B2 (ja) | リニアエンコーダ | |
| CN106949837B (zh) | 一种阶梯形光电传感器阵列高灵敏度的光栅尺 | |
| JP6684087B2 (ja) | 光エンコーダ | |
| JP5553669B2 (ja) | 光学式絶対位置測長型エンコーダ | |
| JP2009047595A (ja) | 絶対位置測長型エンコーダ | |
| JP2008232705A (ja) | 光電式エンコーダ | |
| JP4945976B2 (ja) | 光学式絶対値エンコーダ | |
| JP2025529996A (ja) | エンコーダ装置 | |
| JP2014098666A (ja) | インクリメンタルエンコーダ | |
| JP2019132730A (ja) | エンコーダおよびエンコーダの制御方法 | |
| JPH0416713A (ja) | 光学式リニアエンコーダ |
Legal Events
| Date | Code | Title | Description |
|---|---|---|---|
| A621 | Written request for application examination |
Free format text: JAPANESE INTERMEDIATE CODE: A621 Effective date: 20110704 |
|
| A977 | Report on retrieval |
Free format text: JAPANESE INTERMEDIATE CODE: A971007 Effective date: 20120511 |
|
| A131 | Notification of reasons for refusal |
Free format text: JAPANESE INTERMEDIATE CODE: A131 Effective date: 20120515 |
|
| A521 | Request for written amendment filed |
Free format text: JAPANESE INTERMEDIATE CODE: A523 Effective date: 20120626 |
|
| TRDD | Decision of grant or rejection written | ||
| A01 | Written decision to grant a patent or to grant a registration (utility model) |
Free format text: JAPANESE INTERMEDIATE CODE: A01 Effective date: 20121002 |
|
| A01 | Written decision to grant a patent or to grant a registration (utility model) |
Free format text: JAPANESE INTERMEDIATE CODE: A01 |
|
| A61 | First payment of annual fees (during grant procedure) |
Free format text: JAPANESE INTERMEDIATE CODE: A61 Effective date: 20121011 |
|
| FPAY | Renewal fee payment (event date is renewal date of database) |
Free format text: PAYMENT UNTIL: 20151019 Year of fee payment: 3 |
|
| R150 | Certificate of patent or registration of utility model |
Ref document number: 5112989 Country of ref document: JP Free format text: JAPANESE INTERMEDIATE CODE: R150 Free format text: JAPANESE INTERMEDIATE CODE: R150 |
|
| R250 | Receipt of annual fees |
Free format text: JAPANESE INTERMEDIATE CODE: R250 |
|
| R250 | Receipt of annual fees |
Free format text: JAPANESE INTERMEDIATE CODE: R250 |
|
| R250 | Receipt of annual fees |
Free format text: JAPANESE INTERMEDIATE CODE: R250 |
|
| LAPS | Cancellation because of no payment of annual fees |
