JP2010047064A - 車両用シートベルト装置 - Google Patents

車両用シートベルト装置 Download PDF

Info

Publication number
JP2010047064A
JP2010047064A JP2008211150A JP2008211150A JP2010047064A JP 2010047064 A JP2010047064 A JP 2010047064A JP 2008211150 A JP2008211150 A JP 2008211150A JP 2008211150 A JP2008211150 A JP 2008211150A JP 2010047064 A JP2010047064 A JP 2010047064A
Authority
JP
Japan
Prior art keywords
tongue
seat belt
fixing
restraining
opening
Prior art date
Legal status (The legal status is an assumption and is not a legal conclusion. Google has not performed a legal analysis and makes no representation as to the accuracy of the status listed.)
Granted
Application number
JP2008211150A
Other languages
English (en)
Other versions
JP5045944B2 (ja
Inventor
Yuichi Yamaguchi
祐市 山口
Yoshihiro Okamoto
好啓 岡本
Tsutomu Kano
勉 加納
Current Assignee (The listed assignees may be inaccurate. Google has not performed a legal analysis and makes no representation or warranty as to the accuracy of the list.)
Mitsubishi Motors Corp
Mitsubishi Automotive Engineering Co Ltd
Original Assignee
Mitsubishi Motors Corp
Mitsubishi Automotive Engineering Co Ltd
Priority date (The priority date is an assumption and is not a legal conclusion. Google has not performed a legal analysis and makes no representation as to the accuracy of the date listed.)
Filing date
Publication date
Application filed by Mitsubishi Motors Corp, Mitsubishi Automotive Engineering Co Ltd filed Critical Mitsubishi Motors Corp
Priority to JP2008211150A priority Critical patent/JP5045944B2/ja
Priority to CN2009101656657A priority patent/CN101670822B/zh
Publication of JP2010047064A publication Critical patent/JP2010047064A/ja
Application granted granted Critical
Publication of JP5045944B2 publication Critical patent/JP5045944B2/ja
Expired - Fee Related legal-status Critical Current
Anticipated expiration legal-status Critical

Links

Images

Landscapes

  • Automotive Seat Belt Assembly (AREA)

Abstract

【課題】特別な固定構造や部品等を設けることなく、固定用タング及び拘束用タングの2つのタングを簡単な操作で確実かつコンパクトにタングホルダに収容する。
【解決手段】タング収納状態において、固定用タング11をベース部21の壁面に当接させて配置するとともに、拘束用タング12を金具12bが開口部17の下縁部に当接された状態で固定用タング11の抜け止め部16下方に重なるように固定用タング11よりも開口部17側にずらして配置し、拘束用タング12にリトラクタ7の巻き取り付勢力の引張り力Fを作用させることにより、拘束用タング12と開口部17の下縁部との当接部位Tを支点として金具12bに上側への力(f)を働かせ、固定用タング11を金具12bとベース部21の壁面との間に挟み込んで保持するとともに抜け止め部16によって拘束用タング12の抜け外れを阻止する。
【選択図】図7

Description

本発明は、車体の天井部から車室内に引き出され座席の左右両側のバックルに対して抜き差し自在なタングがそれぞれ備えられた車両用シートベルト装置に関する。
従来から、後席の中央座席用の3点式シートベルト装置には種々の構造が提案されている。例えば、後席の中央座席の後方におけるルーフ部にリトラクタが備えられ、リトラクタから繰り出されるシートベルトがルーフ部の開口から車室内に引き出される構造とされている。そして、中央座席の左右両側にバックルが備えられ、シートベルトには一方のバックルに固定される固定用タングと、他方のバックルに固定される拘束用タングとを備え、腹部のシートベルトの両側をバックルに対して抜き差し自在とされている(例えば、特許文献1、特許文献2参照)。
後席の中央座席の3点式シートベルト装置の構造では、腹部のシートベルトの両側がバックルに対して抜き差しされるため、乗員が着座しない場合には、固定用タング及び拘束用タングの2つのタングを車室内に収納保持しておく必要がある。
特許文献1で提案されているシートベルト装置の構造では、天井部等に収納用の凹部を形成し、凹部に2つのタング保持部を上下に配置して設け、固定用タング及び拘束用タングを保持部に個別に差し込んで収納している。この場合、固定用タングおよび拘束用タングの2つのタングを上下に配置して収納しているため収納スペースの厚み寸法が必要となりルーフ部に大きなスペースを確保しなければならず、乗員の頭上空間が犠牲になったり、見栄えが悪くなる虞があった。
一方、小さな収納スペースでタングを収納できるものとして特許文献2のシートベルト装置が提案されている。このシートベルト装置の構造では、固定用タング及び拘束用タングを互いにずらして収納し、収納したタングをばね部材等により所定方向に押し付けて保持している。このため、2つのタングを収納する収納スペースを小さくすることができ、頭上空間の確保およびルーフ部の意匠の自由度を広げる効果を得ることができる。
しかしながら、特許文献2で提案されているシートベルト装置の構造では、2つのタングをずらした位置に保持するためのばね部材を備える必要があるため、タング収納部の構造が複雑になりスペースの小型化にも限度があった。また、2つのタングをタング収納部に収納したり取り出したりする際に、ばね部材にタングが引っ掛かるなど、ばね部材が邪魔になる虞があった。また、タングの把持部にクリップや爪などを設けて収容部に固定することも考えられるが、タングの形状に制約を受けることになり、バックルへの着脱の操作性等が悪化する虞があった。
このように、従来から提案されているシートベルト装置の構造では、タングを固定するための特別な固定構造や部品等が必要であったため、収納スペースを小さくすることが難しく、小さくできたとしても限度があった。またタング収納部への出し入れにおける操作性が悪いという問題があった。
特許第3931791号公報 特開2002−331909号公報
本発明は上記状況に鑑みてなされたもので、特別な固定構造や部品等を設けることなく、固定用タング及び拘束用タングの2つのタングを簡単な操作で確実に収納することができるとともに収納スペースをよりコンパクトにしたタングホルダを備えた車両用シートベルト装置を提供することを目的とする。
上記目的を達成するための請求項1に係る本発明の車両用シートベルト装置は、リトラクタに巻取り方向に付勢されて巻回され、天井部に設けられたルーフ開口から車室内に引き出されるシートベルトと、前記シートベルトの先端に取り付けられ、座席の左右両側に備えられたバックルの一方のバックルに固定される固定用タングと、前記シートベルトの途中部にシートベルトに対して移動自在に設けられ、前記バックルの他方のバックルに固定される拘束用タングと、前記ルーフ開口の近傍において、前記シートベルトの巻取り方向と反対方向側に開口する開口部を有し、前記開口部から挿入される前記固定用タングおよび拘束用タングを収納するタングホルダとを備え、前記固定用タングおよび拘束用タングの2つのタングが前記タングホルダに収納された状態において、前記固定用タングは、前記タングホルダ内の前記天井部側の壁面に当接した状態で配置され、前記拘束用タングは、前記開口部の下縁部に当接した状態で前記固定用タングよりも車室内側でかつ前記開口部側に位置されて、前記バックルに係合される前記拘束用タングの金具部が前記固定用タングの下方に重なるように配置され、前記拘束用タングに前記リトラクタの巻取り力が作用した際に、前記拘束用タングと前記開口部の下縁部との当接部位を支点として前記金具部に上側への力が働き、前記固定用タングを前記金具部と前記天井部側の壁面との間に挟み込んだ状態で保持するよう構成したことを特徴とする。
請求項1に係る本発明では、リトラクタの巻取り力を利用して拘束用タングで固定用タングを保持し、固定用タングで拘束用タングの抜け外れを阻止するようにしたので、特別な固定構造や部品を設ける必要がない。また、拘束用タングを固定用タングよりも車室内側でかつ開口部側に位置させて、比較的厚みの薄い金具部と固定用タングが重なるように配置したので、収納スペースの厚み寸法を小さくすることができる。このため、収容スペースを大きくすることなく、固定用タング及び拘束用タングの2つのタングを簡単な操作で確実に収容することが可能になる。
そして、請求項2に係る本発明の車両用シートベルト装置は、請求項1に記載の車両用シートベルト装置において、前記拘束用タングは、前記金具部のみが前記タングホルダ内に収納され、前記シートベルトが挿通される把持部が前記開口部下縁側から外側に突出した状態に配置されることを特徴とする。
請求項2に係る本発明では、金具部のみを収納し把持部をタングホルダの開口部の外側に配置したので、厚み方向での収納スペースをさらに小さくすることができる。また把持部が開口部から外側に突出した状態に配置されるので、拘束用タングをタングホルダに出し入れするときの操作性を良くすることができる。
また、請求項3に係る本発明の車両用シートベルト装置は、請求項1もしくは請求項2のいずれかに記載の車両用シートベルト装置において、前記固定用タングは、同固定用タングがタングホルダに収納された際に、前記天井部側の壁面と当接するとともに前記金具部と当接して前記拘束用タングの抜け外れを阻止する抜け止め部を有することを特徴とする。
請求項3に係る本発明では、抜け止め部により固定用タングおよび拘束用タングの保持をより確実とすることができる。
また、請求項4に係る本発明の車両用シートベルト装置は、請求項3に記載の車両用シートベルト装置において、前記抜け止め部は、前記シートベルトの先端部の幅方向両端を折り込んで厚みを厚くした状態で前記固定用タングに巻回されて形成されていることを特徴とする。
請求項4に係る本発明では、小さな固定用タングが採用された場合であっても、固定用タングのタングホルダの内部での保持及び拘束用タングの開口部への係止を確実に行うことができる。
また、請求項5に係る本発明の車両用シートベルト装置は、請求項1〜請求項4のいずれか一項に記載の車両用シートベルト装置において、前記座席は、3人掛け以上に構成されたシート装置の中部に位置する座席であることを特徴とする。
請求項5に係る本発明では、3人掛け以上のシート装置の中部に位置する座席、特に、後部3人掛けシートの中央部の座席における3点式シートベルト装置のタングの収容を好適に行うことができる。
本発明の車両用シートベルト装置は、特別な固定構造や部品を設けることなく、固定用タング及び拘束用タングの2つのタングを簡単な操作で確実に収納することができるとともに収納スペースをよりコンパクトにすることが可能になる。
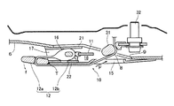
図1には本発明の一実施形態例に係る車両用シートベルト装置を表す後部座席の外観、図2には天井部の裏側を説明する外観、図3には固定用タング及び拘束用タングの外観(シートベルト先端部の外観)、図4にはタングホルダの分解斜視、図5には固定用タング及び拘束用タングの収納状況の説明、図6にはタング収納時の外観、図7には図5中のVII−VII線矢視を示してある。
図1に示すように、後部シート1は3分割されて3人の乗員が着座できるようになっている。後部シート1の中央部(中部)の中央座席2のシートクッションの左右両側部には拘束用バックル3(他方のバックル)及び固定用バックル4(一方のバックル)が設けられている。
図1、図2に示すように、車室5の天井を構成するヘッドライニング6(天井部)の裏側にはリトラクタ7が設けられ、リトラクタ7には所定の巻取り付勢力によりシートベルト8が収容されている。リトラクタ7からはシートベルト8が巻取り付勢力に抗して繰り出し自在とされ、繰り出されたシートベルト8はヘッドライニング6のルーフ開口9から車室5内に引き出されるようになっている。
図1、図2、図7に示すように、ヘッドライニング6のルーフ開口9の部位にはアンカ31が固定具32を介して取り付けられ、シートベルト8はアンカ31により下向きに案内されて車室5の内部に導かれる。ヘッドライニング6のルーフ開口9には、同ルーフ開口9を塞ぐようにタングホルダ10が取り付けられ、タングホルダ10にはアンカ31が臨む引出し口15が形成されている。シートベルト8は、この引き出し口15から車室5内に引き出される構成となっている。
図3に示すように、シートベルト8の先端には固定用タング11が取り付けられ、シートベルト8の先端側の途中部位には拘束用タング12がシートベルト8に対して移動自在に設けられている。固定用タング11は拘束用タング12に比べて小さく形成され、シートベルト8の先端部は幅方向端部が折り込まれて厚みを厚くした状態とされ、この状態で固定用タング11の把持部12aに巻回されて抜け止め部16とされている。拘束用タング12の把持部12aにはシートベルト8が挿通される長穴部12cが形成され、長穴部12cは固定用タング11の抜け止め部16が通過できない幅に形成されている。
図1に示すように、後部シート1の中央座席2の左右両側には、固定用タング11および拘束用タング12が抜き差し自在な拘束用バックル3と固定用バックル4がそれぞれ設けられている。そして、拘束用タング12が拘束用バックル3に差し込まれて固定されると共に、固定用タング11が固定用バックル4に差し込まれて固定されることで、シートベルト8が使用状態になる。つまり、乗員が中央座席2に着座した際、乗員の左右両側でシートベルト8の固定用タング11と拘束用タング12が固定されるよう構成されている。
図4に示すように、タングホルダ10は、引出し口15が形成されてヘッドライニング6に取り付けられるベース部21と、引出し口15に隣接するベース部21の下側に固定されるリッド部22とで構成されている。図5に示すように、リッド部22がベース部21の下側に固定されることで、車幅方向において引き出し口15が形成される側と反対側の方向に開口する開口部17がタングホルダ10に形成される。つまり、開口部17は、シートベルト8がリトラクタ7により巻取られる方向と反対方向に開口されている。
そして、図5、図6に示すように、未使用時には、開口部17から固定用タング11と拘束用タング12とが挿入されてタングホルダ10内に収納される。収納状態において、シートベルト8は、常にリトラクタ7の巻取り付勢力により引き出し口側に引っ張られた状態とされている。
次に、固定用タング11と拘束用タング12の収納時の状態について説明する。
図7に示すように、タングホルダ10のベース部21の下面(壁面)とリッド部22の上面(内面)の間には収納部となる収納空間18が形成されている。固定用タング11は、開口部17から挿入されてベース部21の下面(壁面)に抜け止め部16の上側を当接させた状態で収納空間18内に収納されている。
拘束用タング12は、固定用タング11よりもタングホルダ10の車室内側に位置した状態で拘束用バックル3に係合する金具12bだけがタングホルダ10内に挿入されて収納空間18内に収納されている。詳しくは、金具12bがリッド部22の上面(内面)に沿って挿入されて開口部17の下縁部に当接された状態で固定用タング11の下方に重なるように配置され、把持部12aが開口部17の下縁側で同開口部17から外側に突出した状態に配置されている。
即ち、拘束用タング12をリッド部22の上面に沿わせるとともに固定用タング11よりも開口部17側にずれた位置に配置することにより、固定用タング11が拘束用タング12の金具12bの上方に重なるようにしている。そして、抜け止め部16がベース部21の下面(壁面)及び金具12bに当接した状態で固定用タング11をベース部21の下面(壁面)と金具12bとの間に挟み込んで収納している。
なお、開口部17の下縁部に把持部12aの金具12bが取り付く側の端部を当接させることで差込方向での位置決めが容易に出来る構成となっている。
また、拘束用タング12の把持部12aよりも厚みの薄い金具12bだけを収納空間18内に挿入し、把持部12aをタングホルダ10外に配置することで、収納空間18の上下方向の寸法、即ち、ベース部21の下面(壁面)とリッド部22の上面(内面)との間隔を小さくして、タングホルダ10の厚みの寸法を小さくした構成としている。
また、把持部12aを開口部17の下縁部外側に突出した状態とすることで、拘束用タング12をタングホルダ10に出し入れする際に把持部12aを掴み易い構成としている。尚、収納空間18の上下間隔は、抜け止め部16と金具12bとを重ねた状態での厚みと略同等に設定されている。
一方、図7に示すように、タング収納時には、引出し口15から引き出されたシートベルト8にリトラクタ7の巻取り付勢力による引張り力Fが作用している。この引張り力Fによりシートベルト8は、常に開口部17の開口方向と反対側の方向に引っ張られ、拘束用タング12の把持部12aで折り返されてリッド部22の下面(外面)に沿った状態になる。そして、この引張り力Fは、シートベルト8を介して固定用タング11および拘束用タング12にも作用しており、本発明では、この力を利用してタングを保持する構成としている。
以下にタング保持の作用について詳しく説明する。
図7に示すように、収納状態において、固定用タング11は、引張り力Fの作用によりシートベルト8によって開口部17側に引っ張られている。この引張り力Fに対して抜け止め部16をベース部21の下面(壁面)に当接させることで抜け外れに対して抵抗した状態としている。
一方、拘束用タング12は、把持部12aで折り返されたシートベルト8により、開口部17の開口方向と反対側に引っ張られている。このため拘束用タング12には、金具12bと開口部17下縁部との当接部位Tを支点として、把持部12a側を下方側に回動し(f)、金具12b側を上方側に回動しようとする力(f)が働く。
この作用により、金具12bが固定用タング11を上方に押し上げようとするため、固定用タング11の抜け止め部16がベース部21の下面(壁面)にさらに強く押し付けられ保持される。つまり、固定用タング11の抜け止め部16が拘束用タング12の金具12bとベース部21の下面(壁面)の間に挟み込まれた状態となり、固定用タング11の抜け外れを阻止した状態で収納空間18内に保持される。
更に、拘束用タング12は、金具12bが常に固定用タング11の抜け止め部16に当接するよう力が作用するため抜け止め部16によって抜け外れが阻止されて保持状態に維持されることとなる。
上述した車両用シートベルト装置では、後部シート1の中央座席2に乗員が着座してシートベルト8を使用する場合、固定用タング11及び拘束用タング12を引き出して、拘束用タング12を拘束用バックル3に差し込むと共に、固定用タング11を固定用バックル4に差し込む。
これにより、乗員の腹部の左右両側においてシートベルト8が、拘束用バックル3及び固定用バックル4に固定されて腹部が拘束され、引出し口15のアンカ31まで延びるシートベルト8により胸部から肩部にかけて拘束され、乗員が3点で拘束される。
シートベルト8の未使用時は、固定用タング11及び拘束用タング12を固定用バックル4及び拘束用バックル3から取り外す。これにより、リトラクタ7の巻取り付勢力によりシートベルト8が引出し口15に引き込まれる。固定用タング11及び拘束用タング12をタングホルダ10の開口部17に挿入し、固定用タング11及び拘束用タング12をタングホルダ10に収納する(図5参照)。
タング収納時の操作は、開口部17から固定用タング11を差し込んで抜け止め部16を含む固定用タング11を収納空間18に挿入し、同時に、拘束用タング12の金具12bを固定用タング11の下方に重ねて収納空間18に挿入するだけでよい。固定用タング11、拘束用タング12の2つのタングを同時に挿入すると固定用タング11の抜け止め部16がタングホルダ10の収納空間18の壁面に当接された状態となる。
上述したように、この状態において、拘束用タング12には、シートベルト8に働くリトラクタ7の巻き取り付勢力の引張り力Fが作用するので、金具12bに固定用タング11を上方に押し付けようとする力が働く。この作用により、固定用タング11が収納空間18の壁面と金具12b間に挟み込まれて抜け外れが阻止される。同時に拘束用タング12の金具12bは固定用タング11の抜け止め部16に当接されて抜け方向への移動が規制される。
一方、タングホルダ10に収納されたタングを使用する場合は、拘束用タング12の把持部12aを掴んで開口部17から抜き取ることで保持が解除される。つまり、固定用タング11を挟み込んで収納空間18内に保持している拘束用タング12を抜き取れば、固定用タング11を保持することが出来なくなるため、拘束用タング12とともに固定用タング11を容易にタングホルダ10から抜き出すことができる。
以上のように、本発明のシートベルト装置は、タング収納時における固定用タング11及び拘束用タング12の配置を工夫するとともにリトラクタ7の巻き取り付勢力を固定用タング11及び拘束用タング12の保持に有効に利用できるよう構成したものである。
そして、本発明のシートベルト装置では、タング収納のための係止部材等の特別な部品を設けることなく固定用タング11及び拘束用タング12を簡単且つ確実にタングホルダ10に収納することができる。また、収納空間18の上下方向の間隔を小さくできるため、タングホルダ10の厚み寸法を小さくすることができ、乗員の頭上空間をより多く確保することができる上、見栄えの低下を抑制することができる。
また、固定用タング11および拘束用タング12をタングホルダ10に収納するための係止部材等が必要ないので、固定用タング11および拘束用タング12をタングホルダ10に出し入れする際に固定用タング11や拘束用タング12が係止部材等に引っ掛かるなどの問題がない。
更に、拘束用タング12の把持部12aがタングホルダ10の外側で、かつ開口部17の下縁部側に配置されているので、収納された状態から取り出す場合に掴み易く操作しやすい構成とされている。このように、本発明のシートベルト装置では、固定用タング11および拘束用タング12の収納、取り出しが容易にできる。
また、固定用タング11の抜け止め部16の厚みを厚くするとともに壁面に当接させて固定用タング11を押し付けるようにしているので、小さな固定用タング11が採用された場合であっても、固定用タング11のタングホルダ10の収納空間18内部での保持及び拘束用タング12の抜け外れの阻止を確実に行うことができる。
また、タングホルダ10の収納空間18の上下方向の間隔を、固定用タング11の抜け止め部16と拘束用タング12の金具12bを重ねた厚みと略同等としているので、固定用タング11と拘束用タング12をタングホルダ10の収納空間18内により強固に保持することができる。
尚、上述した実施形態例では、3人掛けの後部シート1の中央座席2に適用されるシートベルト装置を例に挙げて説明したが、4人掛けシートの中間の座席に適用することも可能であり、また、ハードトップ車両等、シートベルトやアンカを収容するピラーが存在しない車両のシートのシートベルト装置として適用することも可能である。
本発明は、車体の天井部から車室内に引き出され座席の左右両側のバックルに対して抜き差し自在なタングがそれぞれ備えられた車両用シートベルト装置の分野で利用可能である。
本発明の一実施形態例に係る車両用シートベルト装置を表す後部座席の外観図である。 天井部の裏側を説明する外観図である。 固定用タング及び拘束用タングの外観図である。 タングホルダの分解斜視図である。 固定用タング及び拘束用タングの収納状況の説明図である。 タング収納時の外観図である。 図5中のVII−VII線矢視図である。
符号の説明
1 後部シート
2 中央座席
3 拘束用バックル
4 固定用バックル
5 車室
6 ヘッドライニング
7 リトラクタ
8 シートベルト
9 ルーフ開口
10 タングホルダ
11 固定用タング
12 拘束用タング
15 引出し口
16 抜け止め部
17 開口部
18 収納空間
21 ベース部
22 リッド部
31 アンカ
32 固定具

Claims (5)

  1. リトラクタに巻取り方向に付勢されて巻回され、天井部に設けられたルーフ開口から車室内に引き出されるシートベルトと、
    前記シートベルトの先端に取り付けられ、座席の左右両側に備えられたバックルの一方のバックルに固定される固定用タングと、
    前記シートベルトの途中部にシートベルトに対して移動自在に設けられ、前記バックルの他方のバックルに固定される拘束用タングと、
    前記ルーフ開口の近傍において、前記シートベルトの巻取り方向と反対方向側に開口する開口部を有し、前記開口部から挿入される前記固定用タングおよび拘束用タングを収納するタングホルダと
    を備え、
    前記固定用タングおよび拘束用タングの2つのタングが前記タングホルダに収納された状態において、
    前記固定用タングは、前記タングホルダ内の前記天井部側の壁面に当接した状態で配置され、
    前記拘束用タングは、前記開口部の下縁部に当接した状態で前記固定用タングよりも車室内側でかつ前記開口部側に位置されて、前記バックルに係合される前記拘束用タングの金具部が前記固定用タングの下方に重なるように配置され、
    前記拘束用タングに前記リトラクタの巻取り力が作用した際に、前記拘束用タングと前記開口部の下縁部との当接部位を支点として前記金具部に上側への力が働き、前記固定用タングを前記金具部と前記天井部側の壁面との間に挟み込んだ状態で保持するよう構成した
    ことを特徴とする車両用シートベルト装置。
  2. 請求項1に記載の車両用シートベルト装置において、
    前記拘束用タングは、前記金具部のみが前記タングホルダ内に収納され、前記シートベルトが挿通される把持部が前記開口部下縁側から外側に突出した状態に配置される
    ことを特徴とする車両用シートベルト装置。
  3. 請求項1もしくは請求項2のいずれかに記載の車両用シートベルト装置において、
    前記固定用タングは、同固定用タングがタングホルダに収納された際に、前記天井部側の壁面と当接するとともに前記金具部と当接して前記拘束用タングの抜け外れを阻止する抜け止め部を有する
    ことを特徴とする車両用シートベルト装置。
  4. 請求項3に記載の車両用シートベルト装置において、
    前記抜け止め部は、前記シートベルトの先端部の幅方向両端を折り込んで厚みを厚くした状態で前記固定用タングに巻回されて形成されている
    ことを特徴とする車両用シートベルト装置。
  5. 請求項1〜請求項4のいずれか一項に記載の車両用シートベルト装置において、
    前記座席は、3人掛け以上に構成されたシート装置の中部に位置する座席である
    ことを特徴とする車両用シートベルト装置。
JP2008211150A 2008-08-19 2008-08-19 車両用シートベルト装置 Expired - Fee Related JP5045944B2 (ja)

Priority Applications (2)

Application Number Priority Date Filing Date Title
JP2008211150A JP5045944B2 (ja) 2008-08-19 2008-08-19 車両用シートベルト装置
CN2009101656657A CN101670822B (zh) 2008-08-19 2009-08-14 车辆用安全带装置

Applications Claiming Priority (1)

Application Number Priority Date Filing Date Title
JP2008211150A JP5045944B2 (ja) 2008-08-19 2008-08-19 車両用シートベルト装置

Publications (2)

Publication Number Publication Date
JP2010047064A true JP2010047064A (ja) 2010-03-04
JP5045944B2 JP5045944B2 (ja) 2012-10-10

Family

ID=42018303

Family Applications (1)

Application Number Title Priority Date Filing Date
JP2008211150A Expired - Fee Related JP5045944B2 (ja) 2008-08-19 2008-08-19 車両用シートベルト装置

Country Status (2)

Country Link
JP (1) JP5045944B2 (ja)
CN (1) CN101670822B (ja)

Cited By (2)

* Cited by examiner, † Cited by third party
Publication number Priority date Publication date Assignee Title
JP2013203123A (ja) * 2012-03-27 2013-10-07 Tokai Rika Co Ltd シートベルト装置
JP2014144734A (ja) * 2013-01-30 2014-08-14 Toyota Auto Body Co Ltd シートベルト用ガイドプレート

Families Citing this family (3)

* Cited by examiner, † Cited by third party
Publication number Priority date Publication date Assignee Title
JP6040461B2 (ja) * 2013-03-01 2016-12-07 トヨタ車体株式会社 シートベルト保持用ベゼル、シートベルト用ガイドユニット及びシートベルト装置
US9776595B2 (en) * 2015-06-10 2017-10-03 Ford Global Technologies, Llc Soft close safety belt tongue/latch plate stowage compartment
US11999314B1 (en) * 2023-01-13 2024-06-04 Honda Motor Co., Ltd. Seat belt structure for a vehicle

Citations (1)

* Cited by examiner, † Cited by third party
Publication number Priority date Publication date Assignee Title
JP2002331909A (ja) * 2001-05-11 2002-11-19 Araco Corp シートベルトの収納構造

Patent Citations (1)

* Cited by examiner, † Cited by third party
Publication number Priority date Publication date Assignee Title
JP2002331909A (ja) * 2001-05-11 2002-11-19 Araco Corp シートベルトの収納構造

Cited By (3)

* Cited by examiner, † Cited by third party
Publication number Priority date Publication date Assignee Title
JP2013203123A (ja) * 2012-03-27 2013-10-07 Tokai Rika Co Ltd シートベルト装置
US8733794B2 (en) 2012-03-27 2014-05-27 Kabushiki Kaisha Tokai Rika Denki Seisakusho Seat belt system
JP2014144734A (ja) * 2013-01-30 2014-08-14 Toyota Auto Body Co Ltd シートベルト用ガイドプレート

Also Published As

Publication number Publication date
CN101670822A (zh) 2010-03-17
CN101670822B (zh) 2011-07-06
JP5045944B2 (ja) 2012-10-10

Similar Documents

Publication Publication Date Title
US10676056B2 (en) Seatbelt mounted combination cutter and glass break tool
JP5045944B2 (ja) 車両用シートベルト装置
CN101378937B (zh) 舌片收纳装置及具有该舌片收纳装置的安全带装置
JP4985228B2 (ja) シートベルトのタング収納構造
JP4688919B2 (ja) シートベルト装置の連結具保持構造
JP6235202B2 (ja) 車両用のシート及びエアバッグケース
JP2018176914A (ja) シートベルト装置
JP5034479B2 (ja) 車両のシートベルト装置
JP6050010B2 (ja) エアバッグモジュール装備シート及び取付部材
JP2010143372A (ja) 車両用乗員拘束装置
JP2012224253A (ja) 車両用シートベルトのタングプレート固定構造
JP3931791B2 (ja) 車両用シートベルト装置
JP4442602B2 (ja) 車両用シートベルト装置
JP2005271675A (ja) シートベルト装置
JP2008213500A (ja) 車両用シートベルトのウェビング保持構造
JP6961165B2 (ja) 車両用シートベルト装置、車両シート
JP3115037U (ja) ペット用車載キャリー
JP2012183908A (ja) シートベルト装置
JPH11198757A (ja) エアベルト装置
WO2013031473A1 (ja) シートベルト装置
JP2009023622A (ja) シートベルトの収納構造
JP2018158685A (ja) 3点式シートベルト装置
JP2014122016A (ja) シートベルトの保持構造
JP2007182172A (ja) 車両のタング保持構造
JP2014054905A (ja) バックル装置

Legal Events

Date Code Title Description
A621 Written request for application examination

Free format text: JAPANESE INTERMEDIATE CODE: A621

Effective date: 20101108

A977 Report on retrieval

Free format text: JAPANESE INTERMEDIATE CODE: A971007

Effective date: 20120427

A131 Notification of reasons for refusal

Free format text: JAPANESE INTERMEDIATE CODE: A131

Effective date: 20120502

A521 Written amendment

Free format text: JAPANESE INTERMEDIATE CODE: A523

Effective date: 20120601

TRDD Decision of grant or rejection written
A01 Written decision to grant a patent or to grant a registration (utility model)

Free format text: JAPANESE INTERMEDIATE CODE: A01

Effective date: 20120620

A01 Written decision to grant a patent or to grant a registration (utility model)

Free format text: JAPANESE INTERMEDIATE CODE: A01

A61 First payment of annual fees (during grant procedure)

Free format text: JAPANESE INTERMEDIATE CODE: A61

Effective date: 20120703

FPAY Renewal fee payment (event date is renewal date of database)

Free format text: PAYMENT UNTIL: 20150727

Year of fee payment: 3

R150 Certificate of patent or registration of utility model

Ref document number: 5045944

Country of ref document: JP

Free format text: JAPANESE INTERMEDIATE CODE: R150

Free format text: JAPANESE INTERMEDIATE CODE: R150

LAPS Cancellation because of no payment of annual fees