JP2010046824A - 液体吐出ヘッドの製造方法、液体吐出ヘッド及び画像形成装置 - Google Patents
液体吐出ヘッドの製造方法、液体吐出ヘッド及び画像形成装置 Download PDFInfo
- Publication number
- JP2010046824A JP2010046824A JP2008210974A JP2008210974A JP2010046824A JP 2010046824 A JP2010046824 A JP 2010046824A JP 2008210974 A JP2008210974 A JP 2008210974A JP 2008210974 A JP2008210974 A JP 2008210974A JP 2010046824 A JP2010046824 A JP 2010046824A
- Authority
- JP
- Japan
- Prior art keywords
- nozzle
- repellent layer
- water
- liquid
- liquid discharge
- Prior art date
- Legal status (The legal status is an assumption and is not a legal conclusion. Google has not performed a legal analysis and makes no representation as to the accuracy of the status listed.)
- Granted
Links
Images
Landscapes
- Particle Formation And Scattering Control In Inkjet Printers (AREA)
Abstract
【解決手段】液体を吐出するノズルを有し、ノズル孔が開口する液体吐出側の表面に、樹脂膜からなる撥水層が形成されたノズルプレートを備える液体吐出ヘッドの製造方法において、前記ノズルプレート10表面に前記樹脂膜からなる撥水層21を形成する工程と、前記ノズルプレートを液体吐出ヘッドに組み込む工程と、前記撥水層を溶解する撥水層溶解液30を、前記ノズル内に撥水層溶解液のメニスカスを形成するように前記液体吐出ヘッド内に充填する工程とを有することを特徴とする液体吐出ヘッドの製造方法、該方法により製造される液体吐出ヘッド、及び該液体吐出ヘッドを備える画像形成装置である。
【選択図】図6
Description
ノズル面をマスキングした上で、ノズルプレートのインク液室面側からプラズマを照射してノズル孔に入り込んだ撥水剤を取り除く方法(特許文献3参照)、有機溶剤中に浸してノズル孔内に有機溶剤を流入させ、有機溶剤の下部に配置し、超音波発生源により、有機溶剤中に超音波を発生させ、この超音波によりノズル孔内に付着したフッ素樹脂を除去させる撥水剤の除去方法(特許文献4参照)等が提案されている。
〔1〕 液体を吐出するノズルを有し、ノズル孔が開口する液体吐出側の表面に、樹脂膜からなる撥水層が形成されたノズルプレートを備える液体吐出ヘッドの製造方法において、前記ノズルプレート表面に前記樹脂膜からなる撥水層を形成する工程と、前記ノズルプレートを液体吐出ヘッドに組み込む工程と、前記ノズル内に撥水層溶解液のメニスカスを形成するように前記液体吐出ヘッド内に撥水層溶解液を充填する工程と、を有することを特徴とする液体吐出ヘッドの製造方法。
〔2〕 前記撥水層の前記樹脂膜が、単分子膜であることを特徴とする前記〔1〕に記載の液体吐出ヘッドの製造方法。
〔3〕 前記メニスカスが形成される位置が、前記ノズルの内径が最も小さく、かつ前記ノズル孔の開口部に最も近い位置であることを特徴とする前記〔1〕または〔2〕に記載の液体吐出ヘッドの製造方法。
〔4〕 前記撥水層溶解液が、界面活性剤を含有することを特徴とする前記〔1〕から〔3〕のいずれかに記載の液体吐出ヘッドの製造方法。
〔5〕 前記〔1〕から〔4〕のいずれかに記載の液体吐出ヘッドの製造方法により製造されたことを特徴とする液体吐出ヘッド。
〔6〕 前記〔1〕から〔4〕のいずれかに記載の液体吐出ヘッドの製造方法により製造された液体吐出ヘッドを備えることを特徴とする画像形成装置。
請求項2の発明によれば、請求項1に記載の液体吐出ヘッドの製造方法において、前記撥水層の前記樹脂膜が、単分子膜であるとしたので、基材と撥水層との間に隙間を生じさせることなく溶解するので、毛細管現象で撥水層を溶解する液体がメニスカス位置より広がり、撥水層を基材から剥離することがないので、長期間にわたり撥水層溶解液を充填していてもノズル孔端部に形成された撥水層の耐久性が保たれる。
請求項3の発明によれば、請求項1または2に記載の液体吐出ヘッドの製造方法において、前記メニスカスが形成される位置が、前記ノズルの内径が最も小さく、かつ前記ノズル孔の開口部に最も近い位置であるとしたので、各ノズルのメニスカス位置が均一になり、その結果吐出される液体の着弾位置のバラツキを小さくすることができる。
請求項4の発明によれば、請求項1から3のいずれかに記載の液体吐出ヘッドの製造方法において、前記撥水層溶解液が、界面活性剤を含有するとしたので、前記撥水層溶解液の表面張力を下げ、各ノズル内に形成されるメニスカスの位置のバラツキを抑えることができる。
請求項5の発明によれば、請求項1から4のいずれかに記載の液体吐出ヘッドの製造方法により製造されたことを特徴とする液体吐出ヘッドとしたので、該液体吐出ヘッドを用いることにより、吐出される液体の着弾位置に乱れを生じさせることなく、高画質な画像を形成することができる。
請求項6の発明によれば、液体吐出ヘッドから液滴を吐出して画像を形成する画像形成装置において、請求項1から4のいずれかに記載の液体吐出ヘッドの製造方法により製造された液体吐出ヘッドを備える画像形成装置という構成としたので、吐出される液体の着弾位置に乱れを生じさせることなく、高画質な画像を形成することができる。
本発明の液体吐出ヘッドは、ノズルプレート表面に樹脂膜からなる撥水層を形成する工程とノズルプレートを液体吐出ヘッドに組み込む工程と、撥水層を溶解する撥水層溶解液を、前記ノズル内に充填する工程とを有する。
本発明の液体吐出ヘッドは、上記工程により製造され、液滴を吐出するノズル、ノズルが連通する液室(加圧液室、吐出室、圧力室、液体流路などとも称される。)、液室内の液体を加圧する圧力を発生する圧力発生手段とを備え、圧力発生手段で発生させる圧力で液室内の液体を加圧することによってノズルから液滴を吐出させる。ノズルとしては、基体となるノズルプレートの厚さ方向に設けられた貫通孔により形成されたものである。
ノズルプレートとしては、ノズルプレートとしての強度を確保することができ、表面が親水性となる材質であれば特に制限はなく、例えば、ニッケルやステンレスなどの金属や、親水性樹脂、及びこれらの組み合わせなどから必要に応じて適宜選択することができる。
樹脂膜を形成する樹脂材料としては、撥水性の膜を形成可能であれば特に制限はなく、目的に応じて適宜選択することができるが、例えば、シリコーン樹脂、フッ素樹脂などが挙げられる。また、樹脂は単分子であることが好ましく、すなわち、形成される樹脂膜は単分子膜であることが好ましい。
また、ノズル内壁において、液体吐出側表面に対して鉛直な部位に付着した撥水層は、プラズマ照射やレーザ照射で十分に除去することができないが、本発明の液体吐出ヘッドの製造方法によれば、残存した撥水層を撥水層溶解液に浸漬して溶解し、除去することができる。
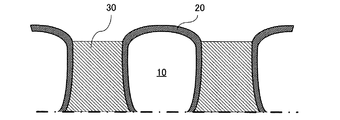
図1は、多数の分子が重合して形成された樹脂膜からなる撥水層20が、ノズル内部まで形成されているノズルプレート10に、撥水層溶解液30を充填した直後の状態を示す模式図である。
図2は、撥水層溶解液30を充填してから時間が経過し、撥水層20が溶解した状態を示す模式図である。
ノズルが十分に細い管状の構造であれば、静的には撥水層の影響よりも、毛細管現象の影響の方が強いため、ノズル孔を均一に構成すれば、充填した撥水層溶解液がメニスカスを張る位置もノズル毎に略均一になる。したがって、撥水層がノズル孔に入りこむ境界を各ノズルでおおよそ均一な位置にすることができる。
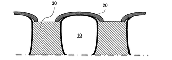
図5は、単分子膜から成る撥水層21がノズル内壁に形成されたノズルプレート10に撥水層溶解液30を充填し、メニスカス31が形成された直後の状態を示した図である。
界面において撥水層溶解液30に触れた撥水層21は溶解してしまうが、単分子であるため、分子間の水平方向にのびる結合が無く、ノズルプレート10と撥水層21との間には、図3に示したような隙間は生じない。この様子を図6に示す。
したがって、長期間、撥水層溶解液30を充填した状態を維持しても、ノズル孔のエッジ部における撥水層21の耐久性は低下しない。
水溶性有機溶剤としては、例えば、ジメチルホルムアミド、ジメチルアセトアミド等のアミド類、アセトン等のケトン類、テトラヒドロフラン、ジオキサン等のエーテル類、ポリエチレングリコール、ポリプロピレングリコール等のポリアルキレングリコール類、エチレングリコール、プロピレングリコール、ブチレングリコール、トリエチレングリコール、1,2,6−ヘキサントリオール、チオジグリコール、ヘキシレングリコール、ジエチレングリコール等のアルキレングリコール類、エチレングリコールメチルエーテル、ジエチレングリコールモノメチルエーテル、トリエチレングリコールモノメチルエーテル等の多価アルコールの低級アルキルエーテル類、エタノール、イソプロピルアルコール、n−ブチルアルコール、イソブチルアルコール等の1価アルコール類の他、グリセリン、N−メチル−2−ピロリドン、1,3−ジメチル−イミダゾリジノン、トリエタノールアミン、スルホラン、ジメチルサルホキサイド等が挙げられる。上記水溶性有機溶剤の含有量については特に制限はないが、例えば、全質量の5〜60%、更には5〜40%が好適な範囲である。
撥水層溶解液の表面張力を低くすることにより、毛細管現象の影響が強まり、メニスカスを形成する位置が、ノズル開口部からノズル内径が最も小さい位置に一様に定められる。
低分子量のアニオン性界面活性剤としては、例えば、スルホコハク酸ラウリル二ナトリウム、スルホコハク酸ポリオキシエチレンラウロイルエタノールアミドエステル二ナトリウム、ポリオキシエチレンアルキルスルホコハク酸二ナトリウム、カルボキシル化ポリオキシエチレンラウリルエーテルナトリウム塩、カルボキシル化ポリオキシエチレントリデシルエーテルナトリウム塩、ポリオキシエチレンラウリルエーテル硫酸ナトリウム、ポリオキシエチレンラウリルエーテル硫酸トリエタノールアミン、ポリオキシエチレンアルキルエーテル硫酸ナトリウム、アルキル硫酸ナトリウム、アルキル硫酸トリエタノールアミン等が挙げられるが、これらに限定されるわけではない。
以上のようなアニオン性物質の好適な使用量としては、全量に対して、0.05〜10質量%の範囲であり、更に好適には0.05〜5質量%である。
本発明の液体吐出ヘッド及び該液体吐出搭載した画像記録装置を、撥水層溶解液をヘッドに充填した状態で出荷を行う出荷方法により出荷されることが好ましい。
ノズル内部の撥水層の溶解には時間がかかるが、溶解完了まで出荷を止めていては在庫が過多になるという問題を生じる。これに対し、上記のような出荷方法によれば、ヘッド出荷から初期充填までの時間を有効に使うことができる。
以下の方法により、液体吐出ヘッドのノズルプレートA及びBを作製した。
1)ノズルプレートAの作製
Niノズルプレートに対し、高分子撥水剤(X-40-9250(10%)+KR-400(90%)、信越シリコーン株式会社製)を、ノズルプレートのノズル孔が開口する液体吐出側の表面にスピンコートした後、ノズルプレートの液室面側からO2プラズマを照射して、ノズル孔からノズル内面のノズルプレート液室面側に入り込んで形成された撥水層を除去した。
ノズル孔のノズル開口端部近傍は、液体吐出側の表面に対してほぼ垂直となっており、このほぼ垂直になっている領域のノズル内面の撥水層の除去の程度は各ノズル間でバラツキが見られた。
Niノズルプレートに対し、単分子のフッ素樹脂撥水剤(オプツールDSX 、ダイキン工業株式会社製)をノズルプレートのノズル孔が開口する液体吐出側の表面に真空蒸着した後、ノズルプレートの液室面側からO2プラズマを照射して、ノズル孔からノズル内面のノズルプレート液室面側に入り込んで形成された単分子膜の樹脂膜からなる撥水層を除去した。
ノズル孔のノズル開口端部近傍は、液体吐出側の表面に対してほぼ垂直となっており、このほぼ垂直になっている領域のノズル内面の撥水層の除去の程度は各ノズル間でバラツキが見られた。
上記ノズルプレートAを用いて液体吐出ヘッドを作製した。
作製された液体吐出ヘッドに、下記に示す組成からなる撥水層溶解液Aを充填し、ノズル内にメニスカスを形成させた。50℃の環境下で3週間置いた後、図7に示す画像記録装置(IPSIO G707改造機、リコー製)に搭載し、インクを充填して150dpiピッチの網点からなる印刷物を作成した。作成された印刷物から、インクの着弾位置バラツキを評価した。結果を表1に示す。
グリセリン 25部
2−ピロリドン 2部
デヒドロ酢酸ナトリウム 0.2部
チオ硫酸ナトリウム 0.2部
防腐防黴剤 0.4部
消泡剤(信越化学社製、KM−72F) 0.1部
イオン交換水 残量
上記組成に対し、さらにpH調整剤を加え、pH11.0に調整して用いた。
上記ノズルプレートBを用いて液体吐出ヘッドを作製した以外は、実施例1と同様にして撥水層溶解液Aを充填し、50℃の環境下で3週間置いた後、図7に示す画像記録装置 (IPSIO G707改造機、リコー製)に搭載し、インクを充填して150dpiピッチの網点からなる印刷物を作成した。作成された印刷物から、インクの着弾位置バラツキを評価した。また、撥水層溶解液充填直後に、メニスカス形成位置を観察した。結果をあわせて表1に示す。
上記ノズルプレートBを用いて液体吐出ヘッドを作製した。
作製された液体吐出ヘッドに、下記に示す組成からなる撥水層溶解液Bを充填し、ノズル内にメニスカスを形成させた。50℃の環境下で3週間置いた後、図7に示す画像記録装置 (IPSIO G707改造機、リコー製)に搭載し、インクを充填して150dpiピッチの網点からなる印刷物を作成した。作成された印刷物から、インクの着弾位置バラツキを評価した。また、撥水層溶解液充填直後に、メニスカス形成位置を観察した。結果をあわせて表1に示す。
グリセリン 25部
2−ピロリドン 2部
オレフィンSTG(信越化学製) 2.0部
デヒドロ酢酸ナトリウム 0.2部
チオ硫酸ナトリウム 0.2部
防腐防黴剤 0.4部
消泡剤(信越化学社製、KM−72F) 0.1部
イオン交換水 残量
上記組成に対し、さらにpH調整剤を加え、pH11.0に調整して用いた。
上記ノズルプレートAを用いて液体吐出ヘッドを作製した。作製された液体吐出ヘッドを50℃の環境下で3週間置いた後、図7に示す画像記録装置 (IPSIO G707改造機、リコー製)に搭載し、インクを充填して150dpiピッチの網点からなる印刷物を作成した。作成された印刷物から、インクの着弾位置バラツキを評価した。結果を表1に示す。
上記ノズルプレートBを用いて液体吐出ヘッドを作製した。作製された液体吐出ヘッドを50℃の環境下で3週間置いた後、図7に示す画像記録装置 (IPSIO G707改造機、リコー製)に搭載し、インクを充填して150dpiピッチの網点からなる印刷物を作成した。作成された印刷物から、インクの着弾位置バラツキを評価した。結果を表1に示す。
◎:白スジ、黒スジはみられず、インクは規則正しいピッチで印字されている。
〇:やや、インク着弾位置に乱れは見られるものの、普通紙の印刷では白スジ、黒スジはさほど目立たない。
△:着弾位置に乱れが見られ、印字で白スジ、黒スジを生じるノズル孔がある。
×:殆どのノズル孔から吐出されたインクに着弾位置の乱れがある。白スジ、黒スジが非常に多い。
一方、実施例2及び3について、撥水層溶解液をそれぞれ充填した状態のヘッドの観察を行った結果、実施例2のヘッドでは、ノズル間でメニスカスの形成された位置に若干バラツキがみられたのに対して、実施例3のヘッドには、メニスカスの形成される位置が均一であった。このことから、撥水層溶解液の濡れ性を高くすることで、ノズル内部に入り込んで形成された撥水層の影響を受けることなく、充填された溶液のメニスカスの形成位置がばらつくことを抑え、ノズルプレートの形状に依存して各ノズル間で均一な位置にメニスカス位置が定まったと考えられる。
実施例1の画像記録装置において、搭載した液体吐出ヘッドのノズル孔が開口する液体吐出側の表面に対し、ワイピングを1000回行った。その後、再度インクを充填して150dpiピッチの網点からなる印刷物を作成した。作成された印刷物から、上記と同様の基準でインクの着弾位置バラツキを評価した。結果を表2に示す。
実施例2の画像形成装置において、実施例4と同様にしてワイピングを行い、印刷物を作成した。作成された印刷物から、上記と同様の基準でインクの着弾位置バラツキを評価した。結果を表2に示す。
実施例3の画像形成装置において、実施例4と同様にしてワイピングを行い、印刷物を作成した。作成された印刷物から、上記と同様の基準でインクの着弾位置バラツキを評価した。結果を表2に示す。
実施例4の液体吐出ヘッドのノズルエッジを観察すると、ノズル孔のワイピング方向下手側で、撥インク性が低下してインクが付着し易く成っている部位があり、ノズル近傍の撥水層が剥がれて消失している部位もあることが観察された。このことから、撥水層は、単分子の樹脂からなる単分子膜により形成されることが好ましいことが明らかになった。
20 撥水層(多数の分子が重合して形成された樹脂膜からなる撥水層)
21 撥水層(単分子膜からなる撥水層)
30 撥水層溶解液
31 メニスカス
94 記録ヘッド
Claims (6)
- 液体を吐出するノズルを有し、ノズル孔が開口する液体吐出側の表面に、樹脂膜からなる撥水層が形成されたノズルプレートを備える液体吐出ヘッドの製造方法において、
前記ノズルプレート表面に前記樹脂膜からなる撥水層を形成する工程と、
前記ノズルプレートを液体吐出ヘッドに組み込む工程と、
前記ノズル内に撥水層溶解液のメニスカスを形成するように前記液体吐出ヘッド内に撥水層溶解液を充填する工程と、を有することを特徴とする液体吐出ヘッドの製造方法。 - 前記撥水層の前記樹脂膜が、単分子膜であることを特徴とする請求項1に記載の液体吐出ヘッドの製造方法。
- 前記メニスカスが形成される位置が、前記ノズルの内径が最も小さく、かつ前記ノズル孔の開口部に最も近い位置であることを特徴とする請求項1または2に記載の液体吐出ヘッドの製造方法。
- 前記撥水層溶解液が、界面活性剤を含有することを特徴とする請求項1から3のいずれかに記載の液体吐出ヘッドの製造方法。
- 請求項1から4のいずれかに記載の液体吐出ヘッドの製造方法により製造されたことを特徴とする液体吐出ヘッド。
- 請求項1から4のいずれかに記載の液体吐出ヘッドの製造方法により製造された液体吐出ヘッドを備えることを特徴とする画像形成装置。
Priority Applications (1)
| Application Number | Priority Date | Filing Date | Title |
|---|---|---|---|
| JP2008210974A JP5228693B2 (ja) | 2008-08-19 | 2008-08-19 | 液体吐出ヘッドの製造方法、液体吐出ヘッド及び画像形成装置 |
Applications Claiming Priority (1)
| Application Number | Priority Date | Filing Date | Title |
|---|---|---|---|
| JP2008210974A JP5228693B2 (ja) | 2008-08-19 | 2008-08-19 | 液体吐出ヘッドの製造方法、液体吐出ヘッド及び画像形成装置 |
Publications (2)
| Publication Number | Publication Date |
|---|---|
| JP2010046824A true JP2010046824A (ja) | 2010-03-04 |
| JP5228693B2 JP5228693B2 (ja) | 2013-07-03 |
Family
ID=42064347
Family Applications (1)
| Application Number | Title | Priority Date | Filing Date |
|---|---|---|---|
| JP2008210974A Expired - Fee Related JP5228693B2 (ja) | 2008-08-19 | 2008-08-19 | 液体吐出ヘッドの製造方法、液体吐出ヘッド及び画像形成装置 |
Country Status (1)
| Country | Link |
|---|---|
| JP (1) | JP5228693B2 (ja) |
Citations (3)
| Publication number | Priority date | Publication date | Assignee | Title |
|---|---|---|---|---|
| JP2000127442A (ja) * | 1998-10-27 | 2000-05-09 | Canon Inc | 記録ヘッド及び記録ヘッドの保存方法 |
| JP2007216664A (ja) * | 2005-10-20 | 2007-08-30 | Ricoh Co Ltd | 記録用インク、記録用メディア、インクメディアセット、及びインク記録物、並びにインクジェット記録方法、及びインクジェット記録装置 |
| JP2007253479A (ja) * | 2006-03-23 | 2007-10-04 | Fujifilm Corp | ノズルプレートの製造方法、液滴吐出ヘッド及び画像形成装置 |
-
2008
- 2008-08-19 JP JP2008210974A patent/JP5228693B2/ja not_active Expired - Fee Related
Patent Citations (3)
| Publication number | Priority date | Publication date | Assignee | Title |
|---|---|---|---|---|
| JP2000127442A (ja) * | 1998-10-27 | 2000-05-09 | Canon Inc | 記録ヘッド及び記録ヘッドの保存方法 |
| JP2007216664A (ja) * | 2005-10-20 | 2007-08-30 | Ricoh Co Ltd | 記録用インク、記録用メディア、インクメディアセット、及びインク記録物、並びにインクジェット記録方法、及びインクジェット記録装置 |
| JP2007253479A (ja) * | 2006-03-23 | 2007-10-04 | Fujifilm Corp | ノズルプレートの製造方法、液滴吐出ヘッド及び画像形成装置 |
Also Published As
| Publication number | Publication date |
|---|---|
| JP5228693B2 (ja) | 2013-07-03 |
Similar Documents
| Publication | Publication Date | Title |
|---|---|---|
| JP5347687B2 (ja) | 画像形成装置 | |
| JP2016124111A (ja) | インクジェット記録装置 | |
| CN108297548B (zh) | 记录头和具备记录头的喷墨记录装置 | |
| JP4565637B2 (ja) | インクジェット記録装置 | |
| JP4849978B2 (ja) | インクジェットプリンタのヘッドクリーニング装置及びインクジェットプリンタ | |
| JP5228693B2 (ja) | 液体吐出ヘッドの製造方法、液体吐出ヘッド及び画像形成装置 | |
| JP6686912B2 (ja) | 記録ヘッドおよびそれを備えたインクジェット記録装置 | |
| JP7501203B2 (ja) | 払拭方法及び画像形成装置 | |
| CN108297551B (zh) | 头部清洁机构和具有该头部清洁机构的喷墨记录装置 | |
| JP2012240274A (ja) | 液滴吐出ヘッド清掃装置、液滴吐出ヘッド、および画像形成装置 | |
| JPH11334069A (ja) | インクジェットヘッド | |
| JP6443131B2 (ja) | 液体吐出記録装置及び液体回収方法 | |
| JP2011025476A (ja) | インクジェット記録装置及び液滴吐出手段の回復方法 | |
| JP5402440B2 (ja) | 画像形成装置及び処理液塗布装置 | |
| JP6589891B2 (ja) | ヘッドクリーニング機構およびそれを備えたインクジェット記録装置 | |
| JP6589893B2 (ja) | ヘッドクリーニング機構およびそれを備えたインクジェット記録装置 | |
| JP2006341392A (ja) | 液滴吐出装置及び拭取部材のクリーニング方法 | |
| JP2006240235A (ja) | インクジェットヘッドクリーニング装置及びインクジェット記録装置 | |
| JP2014024258A (ja) | インクジェット記録装置 | |
| JP2001146018A (ja) | インクジェット式記録装置および同装置におけるキャッピング手段からのインク排出方法ならびに同装置に用いられるインク組成物 | |
| JP5304561B2 (ja) | 画像形成装置及び処理液塗布装置 | |
| JP2006168077A (ja) | 画像形成装置のメンテナンス方法 | |
| JP6690558B2 (ja) | 記録ヘッドおよびそれを備えたインクジェット記録装置 | |
| JP2019018355A (ja) | 記録ヘッド及びそれを備えたインクジェット記録装置 | |
| JP2007050608A (ja) | インクジェットヘッド回復装置及びインクジェットヘッドのクリーニング方法 |
Legal Events
| Date | Code | Title | Description |
|---|---|---|---|
| A621 | Written request for application examination |
Free format text: JAPANESE INTERMEDIATE CODE: A621 Effective date: 20110613 |
|
| A977 | Report on retrieval |
Free format text: JAPANESE INTERMEDIATE CODE: A971007 Effective date: 20121121 |
|
| A131 | Notification of reasons for refusal |
Free format text: JAPANESE INTERMEDIATE CODE: A131 Effective date: 20121204 |
|
| A521 | Request for written amendment filed |
Free format text: JAPANESE INTERMEDIATE CODE: A523 Effective date: 20130125 |
|
| TRDD | Decision of grant or rejection written | ||
| A01 | Written decision to grant a patent or to grant a registration (utility model) |
Free format text: JAPANESE INTERMEDIATE CODE: A01 Effective date: 20130219 |
|
| A61 | First payment of annual fees (during grant procedure) |
Free format text: JAPANESE INTERMEDIATE CODE: A61 Effective date: 20130304 |
|
| FPAY | Renewal fee payment (event date is renewal date of database) |
Free format text: PAYMENT UNTIL: 20160329 Year of fee payment: 3 |
|
| R151 | Written notification of patent or utility model registration |
Ref document number: 5228693 Country of ref document: JP Free format text: JAPANESE INTERMEDIATE CODE: R151 |
|
| LAPS | Cancellation because of no payment of annual fees |
