JP2010046215A - 生体情報イメージング装置および生体情報イメージング方法 - Google Patents

生体情報イメージング装置および生体情報イメージング方法 Download PDF

Info

Publication number
JP2010046215A
JP2010046215A JP2008211993A JP2008211993A JP2010046215A JP 2010046215 A JP2010046215 A JP 2010046215A JP 2008211993 A JP2008211993 A JP 2008211993A JP 2008211993 A JP2008211993 A JP 2008211993A JP 2010046215 A JP2010046215 A JP 2010046215A
Authority
JP
Japan
Prior art keywords
information
measurement
image
light
acoustic wave
Prior art date
Legal status (The legal status is an assumption and is not a legal conclusion. Google has not performed a legal analysis and makes no representation as to the accuracy of the status listed.)
Granted
Application number
JP2008211993A
Other languages
English (en)
Other versions
JP5460000B2 (ja
Inventor
Yasushi Asao
恭史 浅尾
Kazuhiko Fukutani
和彦 福谷
Current Assignee (The listed assignees may be inaccurate. Google has not performed a legal analysis and makes no representation or warranty as to the accuracy of the list.)
Canon Inc
Original Assignee
Canon Inc
Priority date (The priority date is an assumption and is not a legal conclusion. Google has not performed a legal analysis and makes no representation as to the accuracy of the date listed.)
Filing date
Publication date
Application filed by Canon Inc filed Critical Canon Inc
Priority to JP2008211993A priority Critical patent/JP5460000B2/ja
Priority to US12/544,834 priority patent/US8864667B2/en
Publication of JP2010046215A publication Critical patent/JP2010046215A/ja
Application granted granted Critical
Publication of JP5460000B2 publication Critical patent/JP5460000B2/ja
Priority to US14/481,984 priority patent/US20140378814A1/en
Priority to US15/912,849 priority patent/US20180192883A1/en
Expired - Fee Related legal-status Critical Current
Anticipated expiration legal-status Critical

Links

Images

Classifications

    • AHUMAN NECESSITIES
    • A61MEDICAL OR VETERINARY SCIENCE; HYGIENE
    • A61BDIAGNOSIS; SURGERY; IDENTIFICATION
    • A61B5/00Measuring for diagnostic purposes; Identification of persons
    • A61B5/0093Detecting, measuring or recording by applying one single type of energy and measuring its conversion into another type of energy
    • A61B5/0095Detecting, measuring or recording by applying one single type of energy and measuring its conversion into another type of energy by applying light and detecting acoustic waves, i.e. photoacoustic measurements
    • AHUMAN NECESSITIES
    • A61MEDICAL OR VETERINARY SCIENCE; HYGIENE
    • A61BDIAGNOSIS; SURGERY; IDENTIFICATION
    • A61B5/00Measuring for diagnostic purposes; Identification of persons
    • A61B5/0059Measuring for diagnostic purposes; Identification of persons using light, e.g. diagnosis by transillumination, diascopy, fluorescence
    • A61B5/0073Measuring for diagnostic purposes; Identification of persons using light, e.g. diagnosis by transillumination, diascopy, fluorescence by tomography, i.e. reconstruction of 3D images from 2D projections
    • AHUMAN NECESSITIES
    • A61MEDICAL OR VETERINARY SCIENCE; HYGIENE
    • A61BDIAGNOSIS; SURGERY; IDENTIFICATION
    • A61B5/00Measuring for diagnostic purposes; Identification of persons
    • A61B5/02Detecting, measuring or recording for evaluating the cardiovascular system, e.g. pulse, heart rate, blood pressure or blood flow
    • A61B5/021Measuring pressure in heart or blood vessels
    • A61B5/02133Measuring pressure in heart or blood vessels by using induced vibration of the blood vessel
    • AHUMAN NECESSITIES
    • A61MEDICAL OR VETERINARY SCIENCE; HYGIENE
    • A61BDIAGNOSIS; SURGERY; IDENTIFICATION
    • A61B5/00Measuring for diagnostic purposes; Identification of persons
    • A61B5/02Detecting, measuring or recording for evaluating the cardiovascular system, e.g. pulse, heart rate, blood pressure or blood flow
    • A61B5/024Measuring pulse rate or heart rate
    • AHUMAN NECESSITIES
    • A61MEDICAL OR VETERINARY SCIENCE; HYGIENE
    • A61BDIAGNOSIS; SURGERY; IDENTIFICATION
    • A61B5/00Measuring for diagnostic purposes; Identification of persons
    • A61B5/72Signal processing specially adapted for physiological signals or for diagnostic purposes
    • A61B5/7235Details of waveform analysis
    • A61B5/7253Details of waveform analysis characterised by using transforms
    • AHUMAN NECESSITIES
    • A61MEDICAL OR VETERINARY SCIENCE; HYGIENE
    • A61BDIAGNOSIS; SURGERY; IDENTIFICATION
    • A61B5/00Measuring for diagnostic purposes; Identification of persons
    • A61B5/74Details of notification to user or communication with user or patient; User input means
    • A61B5/742Details of notification to user or communication with user or patient; User input means using visual displays
    • AHUMAN NECESSITIES
    • A61MEDICAL OR VETERINARY SCIENCE; HYGIENE
    • A61BDIAGNOSIS; SURGERY; IDENTIFICATION
    • A61B5/00Measuring for diagnostic purposes; Identification of persons
    • A61B5/72Signal processing specially adapted for physiological signals or for diagnostic purposes
    • A61B5/7235Details of waveform analysis
    • A61B5/7253Details of waveform analysis characterised by using transforms
    • A61B5/7257Details of waveform analysis characterised by using transforms using Fourier transforms

Landscapes

  • Health & Medical Sciences (AREA)
  • Life Sciences & Earth Sciences (AREA)
  • Physics & Mathematics (AREA)
  • Engineering & Computer Science (AREA)
  • Molecular Biology (AREA)
  • General Health & Medical Sciences (AREA)
  • Biophysics (AREA)
  • Pathology (AREA)
  • Veterinary Medicine (AREA)
  • Biomedical Technology (AREA)
  • Heart & Thoracic Surgery (AREA)
  • Medical Informatics (AREA)
  • Public Health (AREA)
  • Surgery (AREA)
  • Animal Behavior & Ethology (AREA)
  • Cardiology (AREA)
  • Physiology (AREA)
  • Acoustics & Sound (AREA)
  • Nuclear Medicine, Radiotherapy & Molecular Imaging (AREA)
  • Radiology & Medical Imaging (AREA)
  • Vascular Medicine (AREA)
  • Artificial Intelligence (AREA)
  • Computer Vision & Pattern Recognition (AREA)
  • Psychiatry (AREA)
  • Signal Processing (AREA)
  • Ultra Sonic Daignosis Equipment (AREA)

Abstract

【課題】異なるフレーム間の画像比較を正しく行うことができる、生体情報イメージング装置および生体情報イメージング方法を提供する。
【解決手段】生体情報イメージング方法は、光源(50)から生体(51)に光(53)を照射し、生体内の組織(52)が光を吸収することによって発生する音響波(54)を測定する第一の測定工程と、第一の測定工程で得られた第一の情報を記憶する記憶工程と、光源(50)から生体(51)に光(53)を照射し、生体内の組織(52)が光を吸収することによって発生する音響波(54)を測定する第二の測定工程と、第二の測定工程で得られた第二の情報と、記憶工程で記憶された第一の情報とを用いて、生体内の組織の情報を画像化する処理工程と、を含む。
【選択図】図1

Description

本発明は、生体情報イメージング装置および生体情報イメージング方法に関する。
生体情報を取得する装置として、エックス線、超音波、MRI(核磁気共鳴法)を用いたイメージング装置が医療分野で多く採用され、診断に用いられている。
このうち超音波診断装置に関して、特許文献1には、高フレームレートで取り込んだ超音波断層像同士の差分画像を用いて、心臓等を診断する方法が記載されている。この特許文献1の装置は、探触子により被検体に対し超音波を送受信して得られた複数の時系列の断層像を一旦メモリに記憶し、順次記憶された2フレームの断層像の対応する画素同士を引き算して差分画像を生成し、この生成された差分画像を画面表示する。
特開昭62−189054号公報
超音波診断装置では、超音波による診断の原理により、診断を行おうとする範囲(診断対象部位)の全域において差分画像を取得することが困難である。つまり超音波診断装置では、先ず、操作者が診断対象部位、例えば心臓や血管等の被検体内の運動組織部位や血流を有する部位へ向けて超音波送受信方向を設定して、超音波探触子を被検体へ当接する。そして、超音波探触子から被検体内へ超音波パルスを送波する。被検体内へ伝播した超音波は、被検体内の音響インピーダンスが異なる境界で反射する。その反射波(エコー)が超音波探触子で受信される。この探触子にて受信されたエコーは、受波回路により増幅、整相、検波等の処理が施され、次いで、A/D変換器でディジタル変換され、バッファメモリ回路内の一方のラインメモリへ記憶される。これによりバッファメモリ回路には超音波走査の1ライン分のデータが記憶される。
次に、CPUは送波回路を制御し、第1番目の送受波とは異なる方向、例えば第1番目の送受波方向に隣接する方向へ超音波を送波させる。この送受に対し受信方向を同一にしてエコーを取り込む。この第2番目の送受信に同期して、バッファメモリ回路から第1番目のエコー信号が読み出されて第1の画像メモリへ転送記憶される。一方、第2番目のエコー信号はバッファメモリ回路の他方のラインメモリに記憶される。このようにして、超音波の送受信は順次方向を変えて行われ、1画像分の走査が完了すると送受信方向を初期方向へ戻して繰り返して行われる。そして、第1画像,第2画像,第3画像,…,第n画像というように複数の断層像が取り込まれる。
このように超音波診断装置ではひとつの断層像を形成するために、線順次で取得した複数のライン画像を並べなければならない。つまり、超音波診断装置で得られる断層像はある一瞬の像形状を正確に表すものではなく、ライン画像の取得時刻の差に起因する形状歪みを含んだ画像となる。例えば心臓のような運動組織の断層像を取得した場合、断層像の右と左で運動の位相にずれが生じるのである。したがって、従来の超音波画像では、異なるフレームの画像間で像形状の比較を正しく行うことができなかった。
本発明は、上記課題に鑑み、異なるフレーム間の画像比較を正しく行うことができる、生体情報イメージング装置および生体情報イメージング方法の提供を目的とするものである。
本発明の生体情報イメージング装置は、生体に光を照射し、前記生体内の組織が光を吸収することによって発生する音響波を測定する測定手段と、前記測定手段による第一の測定で得られた第一の情報を記憶する記憶手段と、前記測定手段による第二の測定で得られた第二の情報と、前記記憶手段に記憶された前記第一の情報とを用いて、前記生体内の組織の情報を画像化する情報処理手段と、を備えることを特徴とするものである。
本発明の生体情報イメージング方法は、生体に光を照射し、前記生体内の組織が光を吸収することによって発生する音響波を測定する第一の測定工程と、前記第一の測定工程で得られた第一の情報を記憶する記憶工程と、生体に光を照射し、前記生体内の組織が光を吸収することによって発生する音響波を測定する第二の測定工程と、前記第二の測定工程で得られた第二の情報と、前記記憶工程で記憶された前記第一の情報とを用いて、前記生体内の組織の情報を画像化する処理工程と、を含むことを特徴とするものである。
本発明によれば、異なるフレーム間の画像比較を正しく行うことができる。これにより、心臓をはじめとする内臓の動き、血流による血管の太さの変化など、運動組織の変化を正しく捉えることが可能となる。
本発明は、つぎのように構成した生体情報イメージング装置を提供するものである。
本発明の生体情報イメージング装置は、Photoacoustic Tomography(PAT:光音響トモグラフィー)を利用した生体情報イメージング装置である。この生体情報イメージング装置は、生体に光を照射し、前記生体内の組織が光を吸収することによって発生する音響波を測定する測定手段を備える。測定手段は、例えば光源と、生体に照射された光のエネルギーの一部を吸収した光吸収体から発生する音響波(超音波)を検出し電気信号に変換する音響波検出器とから構成される。また生体情報イメージング装置は、測定手段による第一の測定で得られた第一の情報を記憶する記憶手段(メモリ)を備える。記憶手段は、少なくとも一回の測定で得られる情報(例えば1フレーム分の再構成画像)を記憶可能な容量を有していることが好ましい。そして生体情報イメージング装置は、情報処理手段を備え、この情報処理手段は、測定手段による第二の測定で得られた第二の情報と、記憶手段に記憶された第一の情報とを用いて、生体内の組織の情報を画像化する。具体的には、第二の測定は、第一の測定とは組織の形状が異なるタイミングで行われ、情報処理手段は、第一の情報と第二の情報との差分を表す差分画像を生成する。ここで「組織の形状が異なる」とは、組織の形状、位置、大きさのうち少なくともいずれかが異なることを意味する。イメージングの対象となる組織は、例えば血管である。
(PATの基本原理)
PATは、光源から発生したパルス光を生体に照射し、生体内で伝播・拡散した光のエネルギーを吸収した生体組織から発生した音響波を検出し、それらの信号を解析処理する技術である。これにより、光を用いるために体内組織での光吸収の様子がわかると同時に、音響波(典型的には超音波)による検知を行うために、超音波診断装置とほぼ同等の解像度で生体内の光学特性値分布を得ることができる。
PATにおいて、光吸収により生体内の吸収体から得られる音響波の音圧Pは以下の式(1)で与えられる。
P=Γ・μ・Φ (1)
ここで、Γは弾性特性値であるグリューナイセン係数であり、体積膨張係数βと音速cの二乗の積を比熱Cで割ったものである。μは吸収体の吸収係数、Φは局所的な領域
での光量(吸収体に照射される局所的な光量)である。
Γは組織が決まれば、ほぼ一定の値をとることが知られているので、音響波の大きさである音圧Pを時分割で測定することによりμとΦの積、すなわち、光エネルギー吸収密度を見積もることができる。またこれを多点で測定することによって、吸収体の生体中における空間分布を得ることができる。
PAT技術による撮像の基本原理は概略以下のようなものである。
(1)試料の外部から光を照射する。
(2)試料内部を光が伝播する。
(3)試料内部に存在する光吸収係数が大きい箇所(光吸収体)が光を吸収する。
(4)前記光吸収によって当該箇所が加熱される。
(5)加熱された部分が膨張する。
(6)膨張に伴い音響波(超音波)が発生する。
(7)試料中を音響波が伝播する。
(8)伝播する音響波を、音響波検出器(超音波探触子)を用いて受信する。
(9)到達音響波の時間差などを解析し、試料の断層像もしくは三次元像を再構成する。
上述の課題で述べたように、従来の超音波診断装置では一つの画像を形成するために、1フレーム期間が必要であった。すなわち、一般に毎秒30フレームの動画像を写し出す場合には、1フレーム中の第一ラインと最終ラインとでは1/30秒異なる時刻の像が表示されていることとなる。
一方、PAT技術を用いる場合には、光を照射することによって所望の診断領域から同時に超音波を発生させることができる。例えばその診断領域が10センチメートル角のエリアであるならば、光の到達時間差は、最大0・3ピコ秒程度である。これは生体内の超音波の伝播速度を毎秒1500メートルとすると、0.5ミクロンの誤差に相当する。PAT技術での要求される解像度はサブミリメートルから数ミリメートルのオーダーであることを鑑みると、この誤差は完全に無視することができる。つまり、PAT技術では実質的に同時刻の像(像形状)を取得することが可能である。
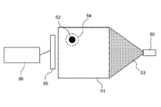
(生体情報イメージング装置の構成例)
図1に、本実施形態における生体情報イメージング装置の構成例を説明する図を示す。生体情報イメージング装置は、光源(光制御部を含む)50と、音響波検出器55と、信号処理部(情報処理部)56とを備える。
光源50は、パルス光53を生体51に照射するための手段である。必要に応じて光を生体51に導く光ファイバなどの光導波路を設けてもよい。光源50は、生体内に存在する特定の成分に吸収される特定の波長の光を照射する。光源としては数ナノから数百ナノ秒オーダーのパルス光を発生可能なパルス光源を少なくとも一つは備える。光源としてはレーザーが好ましいが、レーザーのかわりに発光ダイオードなどを用いることも可能である。レーザーとしては、固体レーザー、ガスレーザー、色素レーザー、半導体レーザーなど様々なレーザーを使用できる。なお、本実施形態においては、単一の光源の例を示しているが、複数の光源を用いてもよい。複数光源の場合は、生体に照射する光の照射強度を上げるため、同じ波長を発振する光源を複数用いても良いし、光学特性値分布の波長による違いを測定するために、発振波長の異なる光源を複数個用いても良い。なお、光源として、発振する波長の変換可能な色素やOPO(Optical Parametric Oscillators)を用いることができれば、光学特性値分布の波長による違いを測定することも可能になる。使用する波長に関しては、生体内において吸収が少ない700nmから1100nmの領域が好ましい。ただし、比較的生体表面付近の生体組織の光
学特性値分布を求める場合は、上記の波長領域よりも範囲の広い、例えば400nmから1600nmの波長領域を使用することも可能である。
音響波検出器55は、生体51に照射された光のエネルギーの一部を吸収した光吸収体52から発生する音響波54を検出し、電気信号に変換するための手段である。音響波検出器55から出力される電気信号は信号処理部56に入力される。音響波検出器55としては、圧電現象を用いたトランスデューサー、光の共振を用いたトランスデューサー、容量の変化を用いたトランスデューサーなどを用いることができる。光吸収体52としては、例えば、血管、腫瘍、その他これらに類する組織が該当する。なお本実施形態は、特に動きのある光吸収体のイメージングに好適である。
信号処理部56は、音響波検出器55から出力される電気信号を解析し、生体の光学特性値分布情報を得る機能である。また、信号処理部56は、少なくとも1画面分の画像情報(断層像または三次元像の画像データ)を記憶する画像メモリ(フレームメモリ)を有している。そして信号処理部56は、この画像メモリに蓄えられた第一の状態で取得された第一の画像と、別のタイミングの第二の状態で取得された第二の画像とを比較して、それらの差分を計算する機能を備える。信号処理部56は、電気信号の入力、データ(画像情報含む)の記憶および演算、演算結果の出力などの機能が実現できれば、どのような装置構成をとることも可能である。例えば解析プログラムを具備するコンピュータにより構成することができる。なお、信号処理部56の演算結果である光学特性値分布情報や差分画像情報などは表示装置(不図示)に出力される。
(差分画像の生成処理)
本実施形態でのPAT技術による撮像は、以下のフローにて行われる。なお光照射によって光吸収体から音響波が発生するメカニズムは前述した基本原理のフローと同様である。
(1)第一の状態において試料の外部から光を照射する。
(2)光吸収係数の大きい箇所から第一の音響波(超音波)が発生する。
(3)試料中を伝播した第一の音響波を試料の外部にて音響波検出器(超音波探触子)を用いて受信する(第一の測定工程)。
(4)到達音響波の時間差などを解析し、試料の第一の画像(断層像もしくは三次元像)を再構成する。
(5)取得した第一の画像を画像メモリに蓄積する(記憶工程)。
(6)第一の状態とは異なる第二の状態において試料の外部から光を照射する。
(7)光吸収係数の大きい箇所から第二の音響波(超音波)が発生する。
(8)試料中を伝播した第二の音響波を試料の外部にて音響波検出器(超音波探触子)を用いて受信する(第二の測定工程)。
(9)到達音響波の時間差などを解析し、試料の第二の画像(断層像もしくは三次元像)を再構成する。
(10)(9)で取得した第二の画像を、(5)で画像メモリに蓄積した第一の画像と比較し、差分を取得する(処理工程)。
上記のフローによれば、異なるタイミングで第一の測定と第二の測定を行い、二つの異なる状態での像を画像再構成した後、これら2つの画像の差分を取得することによって、変化した部位のみを抽出することが可能である。なお、第一の測定と第二の測定は、測定対象の組織(血管や病変部位など)の形状が互いに異なるようなタイミングで行われる。
(実施形態の利点)
以上述べた本発明の実施形態によれば、正しくフレーム間比較を行うことができるようになるため、差分を取得することによって変化している部分のみを抽出することが可能で
ある。すなわち従来の線順次で画像を取得する超音波診断装置では、上記課題で示した通り正しいフレーム間比較ができなかったのに対し、本実施形態の構成ではイメージングを行う際に、光音響トモグラフィーを用いている。この方法は超音波診断装置のように線順次で走査を行うわけではなく、光を照射することによってイメージングするために、生体内部の異なる場所の同時刻の情報を取得することが可能になる。この結果、フレーム間の差分画像から組織の状態変化の様子を正しく捉えることが可能となる。これを利用すれば、例えば血管像などの運動組織や、経時変化した病変部位などを鮮明に写し出すことが可能となる。
[実施例1]
本発明の実施例1について説明する。実施例1は、試料の全周囲で検出した超音波から画像再構成を行う例である。ここでは実際の測定時の様子を模した条件で行ったシミュレーションについて図面を用いて説明する。なお実際の測定あるいは診断では、3次元空間を考慮しなければならないが、本計算過程では二次元平面上での計算を示す。
図2Aおよび図3Aは実施例1に用いるシミュレーションの実施条件を図示しており、サンプルの配置を表している。図2Aは第一の状態、図3Aは第二の状態を表している。ここで例えば図2Aにおいて、符号21と22は光吸収体である。これに任意の場所から一様な光を照射し(図示せず)、光吸収体21、22より発生する音響波を音響波検出器である超音波探触子23にて検知する。この超音波探触子23は、光吸収体21、22の全周囲を取り囲む略円形状を呈している。その円の上に描かれた60個の小さい円が、それぞれ超音波受信素子を表している。つまり、光吸収体21、22から発生する超音波を全周囲に配置された60個の超音波受信素子で検知する。図3Aにおいて、符号41と42は光吸収体を示し、符号43は超音波探触子を示している。図2Aと図3Aとの違いは、図中の左上に存在する光吸収体(21、41)の形状が異なる点である。
光音響効果によって発生する音響波に関し、吸収体の形状が球状であれば、その吸収体から発せられる音響波は計算によって解析的に求められ、それが実験と一致することが知られている。2次元平面上に限定した計算においては、吸収体の形状が円状であれば同様に計算可能である。つまりその超音波プロファイルは、振幅変化がゼロからいったん正の圧へと上昇し、負の圧へと下降した後にゼロに戻るという、「N」型の変化を示すことが知られている。このN字の幅は光吸収体の大きさ、N字の高さ(振幅)は式(1)で示す通り、光到達量と吸収係数の積に比例することが知られている。
光吸収体において発生した音響波は等方的に広がり、生体内を伝播し、超音波受信素子に到達する。複数の点で測定された到達音響波を、公知の解析手法を用いて画像化することができる。本実施例では、図2Aのサンプルにおいて60点で検出された音響波信号から、公知のCircular Backprojection法(CBP法)を用いて画像再構成を行い、第一の画像を得た。図2Bは第一の画像を示している。一方、図2Aと同様に図3Aのサンプルにて画像再構成を行い、第二の画像を得た。図3Bは第二の画像を示している。
図2Bの画像と図3Bの画像とを並置して比較したとしても、二つの円状のものが共に存在するだけであるので、二つの画像の違いを即座に判別することは困難である。
そこで、本実施例では、図2Bの画像と図3Bの画像との差分(画素間の濃度差)を計算し、得られた差分画像を出力する。図4は差分画像を示している。差分画像では、同一形状の部分(光吸収体22、42)が消去され、形状の異なる部分(光吸収体21、42)が抽出されている。このように、異なる状態で取得された二つの画像の差分を計算することにより、形状・位置・大きさなどが変化している部分のみが強調された画像を得るこ
とが可能となる。
[実施例2]
本発明の実施例2について説明する。実施例2は、試料の片側で検出した超音波から画像再構成を行う例である。すなわち、実施例1では二つの光吸収体を取り囲むように超音波受信素子を配置したのに対し、実施例2では光吸収体に対して一方の側のみに超音波受信素子を配置する。ここでは実際の測定時の様子を模した条件で行ったシミュレーションについて図面を用いて説明する。なお実際の測定あるいは診断では、3次元空間を考慮しなければならないが、本計算過程では二次元平面上での計算を示す。
図5Aおよび図6Aは実施例2に用いるサンプルの配置を表している。図5Aは第一の状態、図6Aは第二の状態を表している。ここで例えば図5Aにおいて、符号71は棒状の光吸収体であり、符号72は円状の光吸収体である。これに任意の場所から一様な光を照射し(図示せず)、光吸収体71、72より発生する音響波を音響波検出器である超音波探触子73にて検知する。なお、図5Aと図6Aとの違いは、棒状の光吸収体(71、91)の太さが異なる点である。円状の光吸収体(72、92)の径は同一である。
こうした配置において、実施例1と同様にして、CBP法を用いて画像再構成した。図5Aのサンプル配置において検出された超音波信号から再構成した結果である第一の画像を図5Bに示す。また図6Aのサンプル配置において検出された超音波信号から再構成した結果である第二の画像を図6Bに示す。
このように図5B、図6Bともに、棒状の光吸収体と円状の光吸収体の再構成像が一部重なり合い、良好な再構成像を得ることができていない。その結果、棒状の光吸収体の太さの違いを判別することが困難になっている。
それに対し、これらの画像データの差分を計算したものが図7である。図7では円状の光吸収体の像が差分計算によって消去されている。棒状の光吸収体の影響や、超音波信号の受信を片側だけで行っていることによる情報量の不足によって若干像は乱れているものの、形状の異なった棒状の部分が抽出されていることがわかる。このように、異なる状態で取得された二つの画像の差分を計算することにより、形状・位置・大きさなどが変化している部分のみが強調された画像を得ることが可能となる。
[実施例3]
本発明の実施例3について説明する。実施例1、2では、画像再構成を行った後に画像データの差分像を生成することによって、状態変化した部分を抽出している。つまり、実空間において差分演算を行っている。これに対し、実施例3では、音響波信号を周波数領域に変換し、周波数領域において信号データの差分を取った後、その差分を空間領域に逆変換することにより得られたデータから差分画像を生成する。
図8は、実施例3の処理の流れを示すフローチャートである。まず、第一の状態において、光照射および音響波検出を行い(ステップS10)、検出された音響波信号をフーリエ変換する(ステップS11)。フーリエ変換された1画像分の信号データは画像メモリに蓄積される。次に、第二の状態において、光照射および音響波検出を行い(ステップS12)、検出された音響波信号をフーリエ変換する(ステップS13)。そして、第一の状態で取得された信号データと第二の状態で取得された信号データとの差分を取り(ステップS14)、その差分データを逆フーリエ変換する(ステップS15)。逆フーリエ変換により得られた音響波信号の差分データから画像再構成が行われる。
以下、図9A〜図9Fを用いて、実施例3のシミュレーション結果を説明する。実施例
3では、超音波探触子から2cmの距離に、3つの円状の光吸収体を1cm間隔で配置したサンプルを用いる。図9Aは、第一の状態で取得された音響波信号から再構成された画像であり、図9Bは、第一の状態で取得された音響波信号をフーリエ変換したデータである。また図9Cは、第二の状態で取得された音響波信号から再構成された画像であり、図9Dは、第二の状態で取得された音響波信号をフーリエ変換したデータである。第一の状態と第二の状態の違いは、第一の状態では光吸収体の直径が2mmであるのに対し、第二の状態では光吸収体の直径が4mmである点である。
図9Fは、図9Bに示す信号データと図9Dに示す信号データとの差分データである。この図9Fの差分データを逆フーリエ変換して画像化したものが、図9Eである。このように周波数空間にて差分を取得しても、状態の変化した部位を抽出することが可能である。
[その他の実施例]
上記実施例の方法を利用することによって血管をイメージングすることができる。例えば実施例1の方法は、図10に示すように、指の周囲に超音波探触子121を配置し、超音波を測定する場合に利用できる。また実施例2の方法は、例えば図11に示すように、頸動脈に押し当てるようにして、血管に対して一方の側面に超音波探触子131を配置し、超音波を測定する場合に利用できる。
なお、いずれの場合も、超音波探触子と生体との間には音響インピーダンスの整合をとるためのマッチング剤などを用いることが好ましい。
血管は血流によって時々刻々とその太さを変化させている。つまり心臓の鼓動と同期して、その太さを収縮させながら血液を流している。そこで、生体情報イメージング装置が心拍のモニタリングを行い、心拍と同期して光照射を行うことで、そのタイミングでの状態を画像として取得することが可能となる。具体的には、血圧が略最大血圧のとき(第一の状態)に第一の測定を行い、血圧が略最低血圧のとき(第二の状態)に第二の測定を行う。これにより高血圧状態の血管の画像と低血圧状態の血管の画像が得られる。そしてこれらの画像間の比較を行うことによって、血圧変化に伴う血管径が変化した部分のみを描出することが可能となる。
ところで、心拍を測定する部位と診断する部位とが離れている場合には、必ずしも同期の取れた像が得られるとは限らない。この場合、第一の状態として安静状態にて測定し、その後、第二の状態として高心拍状態において測定すれば、血管像を正しくイメージングできる。つまり心拍数が互いに異なる第一の状態と第二の状態とで、血管の太さが一致するタイミングは極めてまれであるため、こうした状態間で差分を取れば血管のイメージングを行うことが可能となる。もし差分がうまく取れていない場合には、高心拍状態での測定を再度行えばイメージングできる確率が高まる。
なお、この二つの状態を作り出すために、ベッドで寝たり椅子に座ったりして休息した後に測定する状態を第一の状態とし、自発的に運動したり外部からの刺激やストレスを与えたりすることで高心拍状態にし、その後に測定する状態を第二の状態とすればよい。これにより、二つの状態の差分画像から血管のイメージングを行うことができる。
あるいはこうした高心拍状態にさせるような機能(例えばストレス付与機能)を有した装置を上記生体情報イメージング装置に組み込んでも良い。また生体情報イメージング装置が心拍数を計測する機能を有しており、高心拍状態か否かを自動で判断し第二の測定を行うタイミングを決定しても良い。
また、血圧の異なる状態間で比較してもよい。例えば、早朝の低血圧状態を第一の状態とし、このときの測定を第一の測定とする。次いで、活動する時間帯における高血圧状態を第二の状態とし、このときの測定を第二の測定とする。これら二つの状態間の差分を取得することによって、血管のイメージングを行うことが可能となる。また生体情報イメージング装置が血圧を計測する機能を有しており、低血圧状態か高血圧状態かを自動で判断しても良い。
また、波長の異なる2種類の光を用いることによって、組織の違いを観測できることが知られている。例えば、波長によってヘモグロビンの酸化度が異なるため、波長を変えて測定することによって動脈と静脈をイメージングできることが知られている。
上記血管のイメージングを行う際には、動脈での血管太さの変化が大きいのに対し、静脈は血管の太さが血流によってもほとんど変わらない。つまり、静脈を状態が変動しない基準組織とみなすことができる。これを利用し、2状態間の差分を取得するときに、状態の変動しない基準組織同士、すなわち静脈同士が一致するように位置合わせを行うことで、位置ずれをほとんど生じることなく差分像を取得することが可能となる。
まず静脈によるイメージングを行うために、酸素が結合していないヘモグロビンの吸収が多い波長帯(700乃至800nm)にて、第一の状態と第二の状態のイメージングを行う。次いで、酸化ヘモグロビンの吸収が多い波長帯(800乃至1000nm)にて、第一の状態と第二の状態のイメージングを行う。それらを画像再構成し、酸素が結合していないヘモグロビンの吸収が多い波長帯での再構成画像を静脈像ととらえ、第一の状態と第二の状態での静脈像同士が一致するようにレジストレーションを行う。その後、その位置にて酸化ヘモグロビンを吸収する波長での再構成画像同士の差分を取得する。
こうした手順によって差分画像を得ることで、より正確に動脈のイメージングを行うことが可能となる。
図1は、本発明の実施形態における生体情報イメージング装置の構成を示す図である。 図2Aは、実施例1における第一の状態のサンプルの配置を示す図であり、図2Bは、第一の状態での再構成画像を示す図である。 図3Aは、実施例1における第二の状態のサンプルの配置を示す図であり、図3Bは、第二の状態での再構成画像を示す図である。 図4は、実施例1における第一の状態と第二の状態の差分画像を示す図である。 図5Aは、実施例2における第一の状態のサンプルの配置を示す図であり、図5Bは、第一の状態での再構成画像を示す図である。 図6Aは、実施例2における第二の状態のサンプルの配置を示す図であり、図6Bは、第二の状態での再構成画像を示す図である。 図7は、実施例2における第一の状態と第二の状態の差分画像を示す図である。 図8は、実施例3のフローチャートである。 図9Aは、実施例3における第一の状態での再構成画像を示す図であり、図9Bは、第一の状態でのフーリエ変換データを示す図であり、図9Cは、第二の状態での再構成画像を示す図であり、図9Dは、第二の状態でのフーリエ変換データを示す図であり、図9Eは、差分データを逆フーリエ変換した画像を示す図であり、図9Fは、第一の状態と第二の状態の差分データを示す図である。 図10は、超音波探触子を生体の全周囲に配置する例を示す図である。 図11は、超音波探触子を生体の片側に配置する例を示す図である。
符号の説明
21、22、41、42 光吸収体
23、43 超音波探触子
50 光源
51 生体
52 光吸収体
53 パルス光
54 音響波
55 音響波検出器
56 信号処理部
71、72、91、92 光吸収体
73、93 超音波探触子
121、131 超音波探触子

Claims (11)

  1. 生体に光を照射し、前記生体内の組織が光を吸収することによって発生する音響波を測定する測定手段と、
    前記測定手段による第一の測定で得られた第一の情報を記憶する記憶手段と、
    前記測定手段による第二の測定で得られた第二の情報と、前記記憶手段に記憶された前記第一の情報とを用いて、前記生体内の組織の情報を画像化する情報処理手段と、
    を備えることを特徴とする生体情報イメージング装置。
  2. 前記第二の測定は、前記第一の測定とは前記組織の形状が異なるタイミングで行われ、
    前記情報処理手段は、前記第一の情報と前記第二の情報との差分を表す差分画像を生成するものであることを特徴とする請求項1に記載の生体情報イメージング装置。
  3. 前記組織が血管であることを特徴とする請求項2に記載の生体情報イメージング装置。
  4. 前記測定手段は、前記第一の測定のときの心拍数とは異なる心拍数の状態のときに前記第二の測定を行うことを特徴とする請求項2〜3のうちいずれか1項に記載の生体情報イメージング装置。
  5. 前記測定手段は、前記第一の測定のときの血圧とは異なる血圧の状態のときに前記第二の測定を行うことを特徴とする請求項2〜3のうちいずれか1項に記載の生体情報イメージング装置。
  6. 前記測定手段は、血圧が略最大血圧のときに前記第一の測定を行い、血圧が略最低血圧のときに前記第二の測定を行うことを特徴とする請求項2〜3のうちいずれか1項に記載の生体情報イメージング装置。
  7. 前記情報処理手段は、前記第一の測定で得られた音響波信号から、前記第一の情報として第一の画像を再構成し、前記第二の測定で得られた音響波信号から、前記第二の情報として第二の画像を再構成し、前記第一の画像と前記第二の画像の濃度差を計算することにより前記差分画像を生成することを特徴とする請求項2〜6のうちいずれか1項に記載の生体情報イメージング装置。
  8. 前記情報処理手段は、前記第一の測定で得られた音響波信号を周波数領域に変換することにより前記第一の情報を取得し、前記第二の測定で得られた音響波信号を周波数領域に変換することにより前記第二の情報を取得し、周波数領域において前記第一の情報と前記第二の情報の差分を求め、前記差分を空間領域に逆変換することにより得られた信号から前記差分画像を生成することを特徴とする請求項2〜6のうちいずれか1項に記載の生体情報イメージング装置。
  9. 前記測定手段は、少なくとも2種類の波長の異なる光を用い、各波長の光により得られる音響波信号を測定し、
    前記情報処理手段は、各波長の光により得られる音響波信号から画像を再構成し、該画像から状態が変化しない基準組織と状態が変化する組織とを検知し、前記第一の情報と前記第二の情報との差分を取得する際に、前記状態が変化しない基準組織を基準に位置合わせを行うことを特徴とする請求項2〜8のうちいずれか1項に記載の生体情報イメージング装置。
  10. 前記状態が変化しない基準組織が静脈であり、前記状態が変化する組織が動脈であることを特徴とする請求項9に記載の生体情報イメージング装置。
  11. 生体に光を照射し、前記生体内の組織が光を吸収することによって発生する音響波を測定する第一の測定工程と、
    前記第一の測定工程で得られた第一の情報を記憶する記憶工程と、
    生体に光を照射し、前記生体内の組織が光を吸収することによって発生する音響波を測定する第二の測定工程と、
    前記第二の測定工程で得られた第二の情報と、前記記憶工程で記憶された前記第一の情報とを用いて、前記生体内の組織の情報を画像化する処理工程と、
    を含むことを特徴とする生体情報イメージング方法。
JP2008211993A 2008-08-20 2008-08-20 イメージング装置およびイメージング方法 Expired - Fee Related JP5460000B2 (ja)

Priority Applications (4)

Application Number Priority Date Filing Date Title
JP2008211993A JP5460000B2 (ja) 2008-08-20 2008-08-20 イメージング装置およびイメージング方法
US12/544,834 US8864667B2 (en) 2008-08-20 2009-08-20 Biological information imaging apparatus and biological information imaging method
US14/481,984 US20140378814A1 (en) 2008-08-20 2014-09-10 Biological information imaging apparatus and biological information imaging method
US15/912,849 US20180192883A1 (en) 2008-08-20 2018-03-06 Biological information imaging apparatus and biological information imaging method

Applications Claiming Priority (1)

Application Number Priority Date Filing Date Title
JP2008211993A JP5460000B2 (ja) 2008-08-20 2008-08-20 イメージング装置およびイメージング方法

Publications (2)

Publication Number Publication Date
JP2010046215A true JP2010046215A (ja) 2010-03-04
JP5460000B2 JP5460000B2 (ja) 2014-04-02

Family

ID=41697016

Family Applications (1)

Application Number Title Priority Date Filing Date
JP2008211993A Expired - Fee Related JP5460000B2 (ja) 2008-08-20 2008-08-20 イメージング装置およびイメージング方法

Country Status (2)

Country Link
US (3) US8864667B2 (ja)
JP (1) JP5460000B2 (ja)

Cited By (23)

* Cited by examiner, † Cited by third party
Publication number Priority date Publication date Assignee Title
JP2011206192A (ja) * 2010-03-29 2011-10-20 Canon Inc 光音響イメージング装置、光音響イメージング方法および光音響イメージング方法を実行するためのプログラム
WO2013018627A1 (ja) 2011-07-29 2013-02-07 富士フイルム株式会社 光音響画像生成装置及び音響波ユニット
WO2013047250A1 (ja) 2011-09-27 2013-04-04 富士フイルム株式会社 レーザ光源ユニット及び光音響画像生成装置
JP2013176414A (ja) * 2012-02-28 2013-09-09 Fujifilm Corp 光音響画像生成装置及び方法
JP2013188311A (ja) * 2012-03-13 2013-09-26 Canon Inc 被検体情報取得装置に用いる信号処理装置および被検体情報取得方法
JP2014224806A (ja) * 2013-04-19 2014-12-04 キヤノン株式会社 被検体情報取得装置
JP2015501175A (ja) * 2011-10-12 2015-01-15 セノ メディカル インストルメンツ,インク. 光音響データを取得し、そのパラメータマップを生成するためのシステムおよび方法
EP2737856A4 (en) * 2011-07-29 2015-03-18 Fujifilm Corp PHOTOACOUS IMAGE GENERATOR AND ACOUSTIC UNIT
JP2015109948A (ja) * 2013-10-31 2015-06-18 キヤノン株式会社 被検体情報取得装置
JP2015142740A (ja) * 2015-02-26 2015-08-06 キヤノン株式会社 光音響装置、情報処理装置および表示方法
JP2015198971A (ja) * 2015-07-07 2015-11-12 富士フイルム株式会社 光音響画像化方法および装置
JP2016041158A (ja) * 2014-08-18 2016-03-31 プレキシオン株式会社 光音響画像化装置
JP2016077712A (ja) * 2014-10-21 2016-05-16 プレキシオン株式会社 光音響画像化装置および光音響画像化方法
JP2016077447A (ja) * 2014-10-15 2016-05-16 プレキシオン株式会社 光音響波信号変換機および光音響波信号変換機内蔵プローブ
JP2016101420A (ja) * 2014-11-28 2016-06-02 キヤノン株式会社 光音響装置
JP2016104230A (ja) * 2016-02-08 2016-06-09 キヤノン株式会社 被検体情報取得装置及び被検体情報取得方法
US9392944B2 (en) 2011-07-29 2016-07-19 Fujifilm Corporation Laser source unit, control method thereof, photoacoustic image generation apparatus and photoacoustic image generation method
JP2016215002A (ja) * 2016-09-27 2016-12-22 キヤノン株式会社 光音響イメージング装置、光音響イメージング方法および光音響イメージング方法を実行するためのプログラム
JP2017000897A (ja) * 2016-10-13 2017-01-05 キヤノン株式会社 方法
JP2017100032A (ja) * 2017-03-09 2017-06-08 キヤノン株式会社 被検体情報取得装置及び被検体情報取得方法
JP2017131334A (ja) * 2016-01-26 2017-08-03 キヤノン株式会社 被検体情報取得装置および被検体情報取得方法
WO2018087984A1 (ja) * 2016-11-11 2018-05-17 富士フイルム株式会社 光音響画像評価装置、方法およびプログラム並びに光音響画像生成装置
US10243318B2 (en) 2014-03-27 2019-03-26 Fujifilm Corporation Laser device and photoacoustic measurement device comprising the same

Families Citing this family (25)

* Cited by examiner, † Cited by third party
Publication number Priority date Publication date Assignee Title
US10226206B2 (en) 2007-04-11 2019-03-12 The Board Of Regents Of The University Of Texas System Systems and methods for measuring neonatal cerebral oxygenation
US9380967B2 (en) 2007-04-11 2016-07-05 The Board Of Regents Of The University Of Texas System Systems and methods for measuring fetal cerebral oxygenation
JP5349839B2 (ja) * 2007-06-22 2013-11-20 キヤノン株式会社 生体情報イメージング装置
JP5496098B2 (ja) * 2008-08-27 2014-05-21 キヤノン株式会社 被検体情報取得装置およびその制御方法
JP5419404B2 (ja) * 2008-09-04 2014-02-19 キヤノン株式会社 光音響装置
JP2010088627A (ja) * 2008-10-07 2010-04-22 Canon Inc 生体情報処理装置および生体情報処理方法
US7802737B2 (en) * 2008-11-13 2010-09-28 Richard D Rayner Vehicle mounted, digital positioning spray system
JP5692988B2 (ja) * 2009-10-19 2015-04-01 キヤノン株式会社 音響波測定装置
JP5412242B2 (ja) * 2009-11-05 2014-02-12 伸治 久米 超音波断層画像の処理装置
JP5528083B2 (ja) 2009-12-11 2014-06-25 キヤノン株式会社 画像生成装置、画像生成方法、及び、プログラム
JP5675390B2 (ja) * 2010-02-09 2015-02-25 キヤノン株式会社 測定装置
JP5709399B2 (ja) 2010-04-02 2015-04-30 キヤノン株式会社 被検体情報取得装置およびその制御方法、ならびにプログラム
JP5777358B2 (ja) 2010-04-27 2015-09-09 キヤノン株式会社 被検体情報取得装置及び信号処理方法
KR101273585B1 (ko) * 2011-12-05 2013-06-11 삼성전자주식회사 초음파 영상 장치 및 초음파 영상 표시방법
JP6146955B2 (ja) * 2012-03-13 2017-06-14 キヤノン株式会社 装置、表示制御方法、及びプログラム
CN104272101B (zh) * 2012-08-20 2017-02-08 株式会社爱德万测试 光声波测定器
JP6184146B2 (ja) 2013-03-26 2017-08-23 キヤノン株式会社 被検体情報取得装置およびその制御方法
KR20150084559A (ko) * 2014-01-14 2015-07-22 삼성메디슨 주식회사 광 음향 장치 및 그 동작방법
CN113855011A (zh) 2014-07-08 2021-12-31 德克萨斯大学系统董事会 用于确定受试者的氧合的系统和方法
WO2016149107A1 (en) 2015-03-14 2016-09-22 Board Of Regents Systems and methods for measuring neonatal cerebral oxygenation
CN104840190A (zh) * 2015-05-15 2015-08-19 江西科技师范大学 基于光声效应的心率测量方法及装置
JP2017148230A (ja) 2016-02-24 2017-08-31 キヤノン株式会社 被検体情報取得装置および情報処理装置
US20170325693A1 (en) * 2016-05-10 2017-11-16 Canon Kabushiki Kaisha Photoacoustic apparatus and control method of photoacoustic apparatus
JP6946307B2 (ja) 2016-08-30 2021-10-06 キヤノン株式会社 情報取得装置および信号処理方法
CN107506687B (zh) * 2017-07-17 2020-01-21 Oppo广东移动通信有限公司 活体检测方法及相关产品

Citations (16)

* Cited by examiner, † Cited by third party
Publication number Priority date Publication date Assignee Title
JPH03114452A (ja) * 1989-09-29 1991-05-15 Terumo Corp 超音波診断装置
JPH04208143A (ja) * 1990-10-12 1992-07-29 Hitachi Medical Corp 超音波診断装置
JPH05317313A (ja) * 1992-05-15 1993-12-03 Ken Ishihara 超音波診断装置
JPH0731615A (ja) * 1993-07-23 1995-02-03 Ge Yokogawa Medical Syst Ltd 超音波診断装置の画像データ処理方法及び装置
JPH114826A (ja) * 1997-06-17 1999-01-12 Hiroaki Ookawai 生体計測装置
JPH11125620A (ja) * 1997-08-08 1999-05-11 Bio Rad Lab Inc 深さ断面構造検出用光音響分光法(pas)サンプルパルス応答のためのdsp技術
JPH11137548A (ja) * 1997-11-11 1999-05-25 Ge Yokogawa Medical Systems Ltd 超音波撮像方法および装置並びにマイクロバルーン破壊方法
JP2002045361A (ja) * 2000-08-01 2002-02-12 Sensor:Kk 生体血管組織の縦弾性係数計測装置
JP2004344672A (ja) * 2004-07-09 2004-12-09 Toshiba Corp 超音波治療装置
JP2005021380A (ja) * 2003-07-02 2005-01-27 Toshiba Corp 生体情報映像装置
JP2006521869A (ja) * 2003-04-01 2006-09-28 グルコン インク 光音響分析評価方法と装置
WO2006111939A2 (en) * 2005-04-22 2006-10-26 Koninklijke Philips Electronics N.V. Canulla inserting system having tissue analysis means
JP2007057512A (ja) * 2005-08-26 2007-03-08 Toyohashi Univ Of Technology 被検査物の測定方法、及び被検査物の測定装置
WO2007084981A2 (en) * 2006-01-19 2007-07-26 The Regents Of The University Of Michigan System and method for photoacoustic imaging and monitoring of laser therapy
WO2007088709A1 (ja) * 2006-01-31 2007-08-09 Kansai Technology Licensing Organization Co., Ltd. 光音響断層撮影装置及び光音響断層撮影方法
WO2008075299A1 (en) * 2006-12-19 2008-06-26 Koninklijke Philips Electronics, N.V. Combined photoacoustic and ultrasound imaging system

Family Cites Families (18)

* Cited by examiner, † Cited by third party
Publication number Priority date Publication date Assignee Title
JPS62189054A (ja) 1986-02-17 1987-08-18 株式会社 日立メデイコ 超音波診断装置
JPH0827264B2 (ja) * 1988-09-21 1996-03-21 工業技術院長 マルチ変調周波数による光音響撮像方法
US5152290A (en) * 1991-02-13 1992-10-06 Prism Imaging, Inc. Method for recording ultrasound images to diagnose heart and coronary artery disease
US5359513A (en) * 1992-11-25 1994-10-25 Arch Development Corporation Method and system for detection of interval change in temporally sequential chest images
US6004270A (en) * 1998-06-24 1999-12-21 Ecton, Inc. Ultrasound system for contrast agent imaging and quantification in echocardiography using template image for image alignment
US6267728B1 (en) * 1999-06-23 2001-07-31 Steven Mark Hayden Method for evaluating atherosclerosis and its affect on the elasticity of arterial walls
US20030149358A1 (en) * 2002-02-06 2003-08-07 Nissan Maskil Ultrasonic system for non-invasive early prostate cancer detection
US8328420B2 (en) * 2003-04-22 2012-12-11 Marcio Marc Abreu Apparatus and method for measuring biologic parameters
US7314446B2 (en) * 2002-07-22 2008-01-01 Ep Medsystems, Inc. Method and apparatus for time gating of medical images
JP3872424B2 (ja) * 2002-12-20 2007-01-24 アロカ株式会社 超音波診断装置
IL164030A0 (en) * 2003-09-12 2005-12-18 Revital Pery Shechter Photoacoustic analyzer of a region of interest in a human body
US20050107704A1 (en) * 2003-11-14 2005-05-19 Von Behren Patrick L. Motion analysis methods and systems for medical diagnostic ultrasound
WO2008085193A2 (en) * 2006-08-14 2008-07-17 University Of Maryland Quantitative real-time 4d strees test analysis
KR100871074B1 (ko) * 2007-02-01 2008-11-28 삼성전자주식회사 비침습형 혈당 측정 장치 및 그 방법
JP4739363B2 (ja) 2007-05-15 2011-08-03 キヤノン株式会社 生体情報イメージング装置、生体情報の解析方法、及び生体情報のイメージング方法
EP2002784B1 (en) 2007-06-11 2018-07-11 Canon Kabushiki Kaisha Intravital-information imaging apparatus
JP5349839B2 (ja) 2007-06-22 2013-11-20 キヤノン株式会社 生体情報イメージング装置
JP5284129B2 (ja) 2008-02-06 2013-09-11 キヤノン株式会社 イメージング装置、及び解析方法

Patent Citations (16)

* Cited by examiner, † Cited by third party
Publication number Priority date Publication date Assignee Title
JPH03114452A (ja) * 1989-09-29 1991-05-15 Terumo Corp 超音波診断装置
JPH04208143A (ja) * 1990-10-12 1992-07-29 Hitachi Medical Corp 超音波診断装置
JPH05317313A (ja) * 1992-05-15 1993-12-03 Ken Ishihara 超音波診断装置
JPH0731615A (ja) * 1993-07-23 1995-02-03 Ge Yokogawa Medical Syst Ltd 超音波診断装置の画像データ処理方法及び装置
JPH114826A (ja) * 1997-06-17 1999-01-12 Hiroaki Ookawai 生体計測装置
JPH11125620A (ja) * 1997-08-08 1999-05-11 Bio Rad Lab Inc 深さ断面構造検出用光音響分光法(pas)サンプルパルス応答のためのdsp技術
JPH11137548A (ja) * 1997-11-11 1999-05-25 Ge Yokogawa Medical Systems Ltd 超音波撮像方法および装置並びにマイクロバルーン破壊方法
JP2002045361A (ja) * 2000-08-01 2002-02-12 Sensor:Kk 生体血管組織の縦弾性係数計測装置
JP2006521869A (ja) * 2003-04-01 2006-09-28 グルコン インク 光音響分析評価方法と装置
JP2005021380A (ja) * 2003-07-02 2005-01-27 Toshiba Corp 生体情報映像装置
JP2004344672A (ja) * 2004-07-09 2004-12-09 Toshiba Corp 超音波治療装置
WO2006111939A2 (en) * 2005-04-22 2006-10-26 Koninklijke Philips Electronics N.V. Canulla inserting system having tissue analysis means
JP2007057512A (ja) * 2005-08-26 2007-03-08 Toyohashi Univ Of Technology 被検査物の測定方法、及び被検査物の測定装置
WO2007084981A2 (en) * 2006-01-19 2007-07-26 The Regents Of The University Of Michigan System and method for photoacoustic imaging and monitoring of laser therapy
WO2007088709A1 (ja) * 2006-01-31 2007-08-09 Kansai Technology Licensing Organization Co., Ltd. 光音響断層撮影装置及び光音響断層撮影方法
WO2008075299A1 (en) * 2006-12-19 2008-06-26 Koninklijke Philips Electronics, N.V. Combined photoacoustic and ultrasound imaging system

Cited By (28)

* Cited by examiner, † Cited by third party
Publication number Priority date Publication date Assignee Title
JP2011206192A (ja) * 2010-03-29 2011-10-20 Canon Inc 光音響イメージング装置、光音響イメージング方法および光音響イメージング方法を実行するためのプログラム
US10390706B2 (en) 2010-03-29 2019-08-27 Canon Kabushiki Kaisha Photoacoustic imaging apparatus, photoacoustic imaging method, and storage medium
WO2013018627A1 (ja) 2011-07-29 2013-02-07 富士フイルム株式会社 光音響画像生成装置及び音響波ユニット
EP2737856A4 (en) * 2011-07-29 2015-03-18 Fujifilm Corp PHOTOACOUS IMAGE GENERATOR AND ACOUSTIC UNIT
US9392944B2 (en) 2011-07-29 2016-07-19 Fujifilm Corporation Laser source unit, control method thereof, photoacoustic image generation apparatus and photoacoustic image generation method
US9380944B2 (en) 2011-07-29 2016-07-05 Fujifilm Corporation Photoacoustic image generation apparatus and acoustic wave unit
US9486144B2 (en) 2011-07-29 2016-11-08 Fujifilm Corporation Photoacoustic image generation apparatus and acoustic wave unit
WO2013047250A1 (ja) 2011-09-27 2013-04-04 富士フイルム株式会社 レーザ光源ユニット及び光音響画像生成装置
JP2015501175A (ja) * 2011-10-12 2015-01-15 セノ メディカル インストルメンツ,インク. 光音響データを取得し、そのパラメータマップを生成するためのシステムおよび方法
JP2013176414A (ja) * 2012-02-28 2013-09-09 Fujifilm Corp 光音響画像生成装置及び方法
JP2013188311A (ja) * 2012-03-13 2013-09-26 Canon Inc 被検体情報取得装置に用いる信号処理装置および被検体情報取得方法
JP2014224806A (ja) * 2013-04-19 2014-12-04 キヤノン株式会社 被検体情報取得装置
JP2015109948A (ja) * 2013-10-31 2015-06-18 キヤノン株式会社 被検体情報取得装置
US10243318B2 (en) 2014-03-27 2019-03-26 Fujifilm Corporation Laser device and photoacoustic measurement device comprising the same
JP2016041158A (ja) * 2014-08-18 2016-03-31 プレキシオン株式会社 光音響画像化装置
JP2016077447A (ja) * 2014-10-15 2016-05-16 プレキシオン株式会社 光音響波信号変換機および光音響波信号変換機内蔵プローブ
JP2016077712A (ja) * 2014-10-21 2016-05-16 プレキシオン株式会社 光音響画像化装置および光音響画像化方法
JP2016101420A (ja) * 2014-11-28 2016-06-02 キヤノン株式会社 光音響装置
JP2015142740A (ja) * 2015-02-26 2015-08-06 キヤノン株式会社 光音響装置、情報処理装置および表示方法
JP2015198971A (ja) * 2015-07-07 2015-11-12 富士フイルム株式会社 光音響画像化方法および装置
JP2017131334A (ja) * 2016-01-26 2017-08-03 キヤノン株式会社 被検体情報取得装置および被検体情報取得方法
JP2016104230A (ja) * 2016-02-08 2016-06-09 キヤノン株式会社 被検体情報取得装置及び被検体情報取得方法
JP2016215002A (ja) * 2016-09-27 2016-12-22 キヤノン株式会社 光音響イメージング装置、光音響イメージング方法および光音響イメージング方法を実行するためのプログラム
JP2017000897A (ja) * 2016-10-13 2017-01-05 キヤノン株式会社 方法
WO2018087984A1 (ja) * 2016-11-11 2018-05-17 富士フイルム株式会社 光音響画像評価装置、方法およびプログラム並びに光音響画像生成装置
JPWO2018087984A1 (ja) * 2016-11-11 2019-09-26 富士フイルム株式会社 光音響画像評価装置、方法およびプログラム並びに光音響画像生成装置
US11710290B2 (en) 2016-11-11 2023-07-25 Fujifilm Corporation Photoacoustic image evaluation apparatus, method, and program, and photoacoustic image generation apparatus
JP2017100032A (ja) * 2017-03-09 2017-06-08 キヤノン株式会社 被検体情報取得装置及び被検体情報取得方法

Also Published As

Publication number Publication date
US8864667B2 (en) 2014-10-21
JP5460000B2 (ja) 2014-04-02
US20100049049A1 (en) 2010-02-25
US20180192883A1 (en) 2018-07-12
US20140378814A1 (en) 2014-12-25

Similar Documents

Publication Publication Date Title
JP5460000B2 (ja) イメージング装置およびイメージング方法
CN103458778B (zh) 被检体信息获取设备
JP5586977B2 (ja) 被検体情報取得装置及び被検体情報取得方法
US10143381B2 (en) Object information acquiring apparatus and control method therefor
US8260403B2 (en) Photoacoustic imaging apparatus and photoacoustic imaging method
US8942058B2 (en) Display data obtaining apparatus and display data obtaining method
JP6452314B2 (ja) 光音響装置、信号処理方法、及びプログラム
JP6632257B2 (ja) 被検体情報取得装置
US20140196544A1 (en) Object information acquiring apparatus
JP6132466B2 (ja) 被検体情報取得装置及び被検体情報取得方法
JP2010088498A (ja) 生体情報処理装置及び生体情報処理方法
JP2016101415A (ja) 被検体情報取得装置
CN106560160A (zh) 被检体信息获取装置及其控制方法
US20230404520A1 (en) Methods and systems for photoacoustic computed tomography of blood flow
US20170325693A1 (en) Photoacoustic apparatus and control method of photoacoustic apparatus
JP2017164198A (ja) 情報処理システムおよび表示制御方法
JP6656229B2 (ja) 光音響装置
JP2019165836A (ja) 被検体情報取得装置およびその制御方法
JP2018061725A (ja) 被検体情報取得装置および信号処理方法
JP2019107421A (ja) 光音響装置および被検体情報取得方法
US20170265749A1 (en) Processing apparatus and processing method
JP2016152879A (ja) 被検体情報取得装置
JP6513121B2 (ja) 処理装置、被検体情報取得装置、光音響画像の表示方法、及びプログラム
JP2016013189A (ja) 光音響装置
JP2019136520A (ja) 処理装置、光音響画像の表示方法、及びプログラム

Legal Events

Date Code Title Description
A621 Written request for application examination

Free format text: JAPANESE INTERMEDIATE CODE: A621

Effective date: 20110809

A977 Report on retrieval

Free format text: JAPANESE INTERMEDIATE CODE: A971007

Effective date: 20130625

A131 Notification of reasons for refusal

Free format text: JAPANESE INTERMEDIATE CODE: A131

Effective date: 20130903

A521 Request for written amendment filed

Free format text: JAPANESE INTERMEDIATE CODE: A523

Effective date: 20131031

TRDD Decision of grant or rejection written
A01 Written decision to grant a patent or to grant a registration (utility model)

Free format text: JAPANESE INTERMEDIATE CODE: A01

Effective date: 20131217

A61 First payment of annual fees (during grant procedure)

Free format text: JAPANESE INTERMEDIATE CODE: A61

Effective date: 20140114

R151 Written notification of patent or utility model registration

Ref document number: 5460000

Country of ref document: JP

Free format text: JAPANESE INTERMEDIATE CODE: R151

LAPS Cancellation because of no payment of annual fees