JP2010045800A - メディアアクセス通信システムにおける親局移譲用の端末装置および方法 - Google Patents

メディアアクセス通信システムにおける親局移譲用の端末装置および方法 Download PDF

Info

Publication number
JP2010045800A
JP2010045800A JP2009210756A JP2009210756A JP2010045800A JP 2010045800 A JP2010045800 A JP 2010045800A JP 2009210756 A JP2009210756 A JP 2009210756A JP 2009210756 A JP2009210756 A JP 2009210756A JP 2010045800 A JP2010045800 A JP 2010045800A
Authority
JP
Japan
Prior art keywords
master station
station
communication
communication system
terminal
Prior art date
Legal status (The legal status is an assumption and is not a legal conclusion. Google has not performed a legal analysis and makes no representation as to the accuracy of the status listed.)
Granted
Application number
JP2009210756A
Other languages
English (en)
Other versions
JP4938832B2 (ja
Inventor
Takeshi Yamaguchi
山口  剛
Shinichiro Omi
愼一郎 近江
Kensuke Yoshizawa
謙輔 吉澤
Current Assignee (The listed assignees may be inaccurate. Google has not performed a legal analysis and makes no representation or warranty as to the accuracy of the list.)
Panasonic Corp
Original Assignee
Panasonic Corp
Priority date (The priority date is an assumption and is not a legal conclusion. Google has not performed a legal analysis and makes no representation as to the accuracy of the date listed.)
Filing date
Publication date
Application filed by Panasonic Corp filed Critical Panasonic Corp
Priority to JP2009210756A priority Critical patent/JP4938832B2/ja
Publication of JP2010045800A publication Critical patent/JP2010045800A/ja
Application granted granted Critical
Publication of JP4938832B2 publication Critical patent/JP4938832B2/ja
Anticipated expiration legal-status Critical
Expired - Lifetime legal-status Critical Current

Links

Images

Classifications

    • HELECTRICITY
    • H04ELECTRIC COMMUNICATION TECHNIQUE
    • H04WWIRELESS COMMUNICATION NETWORKS
    • H04W36/00Hand-off or reselection arrangements
    • H04W36/24Reselection being triggered by specific parameters
    • H04W36/26Reselection being triggered by specific parameters by agreed or negotiated communication parameters
    • HELECTRICITY
    • H04ELECTRIC COMMUNICATION TECHNIQUE
    • H04WWIRELESS COMMUNICATION NETWORKS
    • H04W36/00Hand-off or reselection arrangements
    • H04W36/0005Control or signalling for completing the hand-off
    • H04W36/0083Determination of parameters used for hand-off, e.g. generation or modification of neighbour cell lists
    • H04W36/00837Determination of triggering parameters for hand-off
    • H04W36/008375Determination of triggering parameters for hand-off based on historical data
    • HELECTRICITY
    • H04ELECTRIC COMMUNICATION TECHNIQUE
    • H04WWIRELESS COMMUNICATION NETWORKS
    • H04W84/00Network topologies
    • H04W84/18Self-organising networks, e.g. ad-hoc networks or sensor networks
    • H04W84/20Leader-follower arrangements

Landscapes

  • Engineering & Computer Science (AREA)
  • Computer Networks & Wireless Communication (AREA)
  • Signal Processing (AREA)
  • Mobile Radio Communication Systems (AREA)
  • Small-Scale Networks (AREA)
  • Cable Transmission Systems, Equalization Of Radio And Reduction Of Echo (AREA)

Abstract

【課題】複数の端末の内、少なくともある一つの端末が親局として通信システム上の通信を制御する通信システムに用いられる端末を提供する。
【解決手段】端末F,Gは、外部通信システム1302からの干渉に関する統計情報を記録して、記録した統計情報を親局Eに通知する。親局Eは、収集した統計情報に基づいて、親局機能の移譲先の候補の局として、端末Gを選定する。親局Eは、端末Gに対して、親局機能の移譲を要求する。それに応じて、端末Gは、親局機能を移譲してもよいと判断した場合、以後、親局として機能する。
【選択図】図8

Description

本発明は、複数の端末が通信する通信システムに用いられる端末および方法に関し、より特定的には、複数の端末の内、少なくともある一つの端末が親局として通信システム上の通信を制御する通信システムに用いられる端末および方法に関する。
共通の通信媒体(メディア)を各端末が利用する通信システムは、効果的でかつ効率的な通信効率を実現することができる通信プロトコルを必要とする。
共通の通信媒体を各端末が利用する通信システムでは、従来、主に、コンテンション型プロトコルが用いられていた。コンテンション型プロトコルを利用する端末は、通信媒体上に他の端末からの信号が存在しないことを確認してから、信号の送信を開始する。しかし、端末の数が多い場合や、ネットワークトラフィックが増大する場合、信号の送信を同時に開始する端末が増えてしまい、パケットの衝突頻度が増大してしまう。そのため、コンテンション型プロトコルでは、ネットワークの利用効率に限界があった。
そこで、通信システム上の端末が他の端末にアクセスするのを制御するための親局を設けることによって、ネットワーク全体の効率化を図る集中制御型のプロトコルが開発されている。集中制御型プロトコルを利用する通信システムでは、親局となる端末が、通信システム上の端末間の信号の送受信を管理する。たとえば、集中制御型プロトコルでは、親局から送信権が与えられた端末のみが、信号を送信することができる。
しかし、通信媒体における通信品質が位置ごとにばらつく場合、親局と子局との間の通信品質は、親局と子局との物理的位置関係に起因する。したがって、親局と子局との物理的位置関係が、通信ネットワーク上での通信効率に大きな影響を与えることとなる。そのため、物理的な位置が固定されている複数の親局の中から、各子局に対して最適な通信品質を提供することができる親局を選択することによって、通信効率を最適なものとすることができる集中制御型プロトコルが開発されている(たとえば、特許文献1参照)。
特表2001−505035号公報
しかし、家庭内ネットワーク等では、親局を物理的に固定された位置に配置することが困難である。また、通信効率を最適なものとすることができる位置に親局を配置することが困難である場合もある。したがって、従来の集中制御型プロトコルでは、通信効率を必ずしも最適なものとすることができなかった。
さらに、共通の周波数帯を利用する外部の通信システムが隣接して設置されている場合、通信システム間で信号が干渉し合うこととなる。このように、外部の通信システムからの干渉を受けることを外部干渉という。外部干渉を受けていることを親局が気付かなかった場合、親局は、外部干渉による通信品質の劣化に基づいて、通信を制御することができない。特に、通信媒体に電灯線を用いた場合、隣の家等からの信号が漏れてくる場合があるので、外部干渉(隣家間干渉)は、顕著である。
それゆえ、本発明の目的は、外部干渉が生じている状況において、通信品質を最適なものとすることができる親局を選択することができる端末および方法を提供することである。
上記課題を解決するために、本発明は、以下の特徴を有する。本発明は、子局による通信媒体へのアクセスを親局が制御する通信システムにおいて用いられる端末であって、通信システムには、隣接して外部通信システムが設置されており、当該端末が親局として機能すべきかそれとも子局として機能すべきかを管理する親局子局管理手段と、当該端末が親局子局管理手段によって、子局として機能すべきであると管理されている場合、外部通信システムにおける通信状況に関する情報を通信状況情報として記録する通信状況情報記録手段と、親局子局管理手段によって、当該端末が子局として機能すべきであると管理されている場合、通信状況記録手段が記録した通信状況情報を通信システム内の親局に対して通知する通信状況情報通知手段と、親局子局管理手段によって、当該端末が親局として機能すべきであると管理されている場合、通信システム内の子局から通信状況情報を収集する通信状況情報収集手段と、親局子局管理手段によって、当該端末が親局として機能すべきであると管理されている場合、通信状況情報収集手段によって収集された通信状況情報を参照して、通信状況情報を通知してきた通信システム内の子局の中から、所定の移譲条件を満たす子局を、親局としての機能の全部または一部を移譲する移譲先の候補の局として選定する親局機能移譲先局選定手段と、親局子局管理手段によって、当該端末が親局として機能すべきであると管理されている場合、親局機能移譲先局選定手段によって選定された親局機能の移譲先の候補の局に対して、親局機能の移譲を要求する親局機能移譲要求手段とを備え、親局子局管理手段は、当該端末が子局として機能すべきであると管理している状況において、通信システム内の親局から親局機能の移譲が要求された場合、所定の親局条件を満たすか否かを判断して、所定の親局条件を満たせば、親局として機能すべきであるとして管理内容を変更する。
好ましくは、通信状況情報は、外部通信システムから受信した信号に関する干渉情報であるとよい。
好ましくは、親局子局管理手段によって当該端末が親局として機能すべきであると判断され管理内容の変更を開始する場合、外部通信システムに対して、親局機能の移譲の開始が行われる旨を通知する親局機能移譲開始通知手段をさらに備えるとよい。
たとえば、親局機能移譲開始通知手段は、ブロードキャスト発信するビーコンフレームの特定領域に親局機能の移譲の開始が行われる旨を記述することによって、親局機能の移譲が行われる旨を通知するとよい。
好ましくは、親局機能移譲開始通知手段は、親局機能の移譲の開始が行われる旨を外部通信システムに通知することによって、外部通信システムにおける親局機能の移譲プロセスを禁止させるとよい。
好ましくは、親局子局管理手段によって当該端末が親局として機能すべきである判断され管理内容の変更が完了した場合、外部通信システムに対して、親局機能の移譲が完了した旨を通知する親局機能移譲完了通知手段をさらに備えるとよい。
たとえば、親局機能移譲完了通知手段は、ブロードキャスト発信するビーコンフレームの特定領域に親局機能の移譲が完了した旨を記述することによって、親局機能の移譲が完了した旨を通知するとよい。
好ましくは、親局機能移譲開始通知手段は、親局機能の移譲の開始が行われる旨を外部通信システムに通知することによって、外部通信システムにおける親局機能の移譲プロセスを禁止させ、親局機能移譲開始通知手段は、親局機能の移譲が完了した旨を外部通信システムに通知することによって、外部通信システムにおける親局機能の移譲プロセスの禁止を解除させるとよい。
たとえば、干渉情報は、外部通信システムから受信した信号の受信信号強度に関する情報であるとよい。干渉情報は、外部通信システムから受信した信号の数に関する情報であってもよい。干渉情報は、外部通信システムから受信した信号の発信元端末の数に関する情報であってもよい。
また、外部通信システム内の端末は、通信システム内の端末からのフレームを検知した場合、当該フレームの受信信号強度に関する情報を当該フレームの発信元の通信システム内の当該端末に対して通知するとよい。この場合、通信状況情報は、外部通信システムから通知されてくる受信信号強度に関する情報であるとよい。
好ましくは、親局機能移譲先局選定手段は、さらに、子局が送信するフレームの再送回数に基づいて、親局機能の移譲先の局を選定するとよい。親局機能移譲先局選定手段は、さらに、子局が受信する信号の信号増幅率に基づいて、親局機能の移譲先の局を選定するとよい。親局機能移譲先局選定手段は、さらに、子局が受信するフレームの種類に基づいて、親局機能の移譲先の局を選定するとよい。親局機能移譲先局選定手段は、さらに、子局が受信するフレームの数に基づいて、親局機能の移譲先の局を選定するとよい。
好ましくは、親局機能移譲要求手段は、親局機能の移譲先の候補の局に対して、親局機能の移譲を要求する要求フレームを送信することによって、親局機能の移譲を要求するとよい。
好ましくは、親局子局管理手段によって所定の親局条件を満たすと判断された場合、親局に対して、親局機能の移譲を承諾した旨の応答フレームを送信する応答フレーム送信手段をさらに備えるとよい。
好ましくは、応答フレーム送信手段は、親局の機能を移譲するタイミングに関する情報を応答フレームに記述して送信するとよい。
また、本発明は、子局による通信媒体へのアクセスを親局が制御する通信システムにおいて用いられる端末であって、通信システムには、隣接して外部通信システムが設置されており、子局は、外部通信システムにおける通信状況に関する情報を通信状況情報として記録しており、通信システム内の子局から通信状況情報を収集する通信状況情報収集手段と、通信状況情報収集手段によって収集された通信状況情報を参照して、通信状況情報を通知してきた通信システム内の子局の中から、所定の移譲条件を満たす子局を、親局としての機能の全部または一部を実行する候補の局として選定する親局機能実行局選定手段と、親局機能実行局選定手段によって選定された親局機能を実行する候補の局に対して、親局機能の実行を要求する親局機能実行要求手段とを備える。
また、本発明は、子局による通信媒体へのアクセスを親局が制御する通信システムにおいて、親局機能の全部または一部をある子局に移譲させるための方法であって、通信システムには、隣接して外部通信システムが設置されており、通信システム上の各端末は、親局または子局として機能することができ、子局として機能する端末によって、外部通信システムにおける通信状況に関する情報が通信状況情報として記録されるステップと、子局として機能する端末によって、記録した通信状況情報が通信システム内の親局に対して通知されるステップと、親局として機能する端末によって、通信システム内の子局から通信状況情報が収集されるステップと、親局として機能する端末によって、収集した通信状況情報が参照され、通信状況情報を通知してきた通信システム内の子局の中から、所定の移譲条件を満たす子局が、親局としての機能の全部または一部を移譲する移譲先の候補の局として選定されるステップと、親局として機能する端末によって、候補の局に対して、親局機能の移譲が要求されるステップと、候補の局によって、所定の親局条件を満たすか否かが判断されるステップと、所定の親局条件が満たされる場合、候補の局を親局とするステップとを備える。
また、本発明は、子局による通信媒体へのアクセスを親局が制御する通信システムに用いられるコンピュータ装置に、親局機能の全部または一部をある子局に移譲させるためのプログラムであって、通信システムには、隣接して外部通信システムが設置されており、通信システム上の各端末は、親局または子局として機能することができ、子局として機能する端末によって、外部通信システムにおける通信状況に関する情報が通信状況情報として記録されるステップと、子局として機能する端末によって、記録した通信状況情報が通信システム内の親局に対して通知されるステップと、親局として機能する端末によって、通信システム内の子局から通信状況情報が収集されるステップと、親局として機能する端末によって、収集した通信状況情報が参照され、通信状況情報を通知してきた通信システム内の子局の中から、所定の移譲条件を満たす子局が、親局としての機能の全部または一部を移譲する移譲先の候補の局として選定されるステップと、親局として機能する端末によって、候補の局に対して、親局機能の移譲が要求されるステップと、候補の局によって、所定の親局条件を満たすか否かが判断されるステップと、所定の親局条件が満たされる場合、候補の局を親局とするステップとを備える。
また、本発明は、子局による通信媒体へのアクセスを親局が制御する通信システムであって、通信システムには、隣接して外部通信システムが設置されており、通信システム上の各端末は、親局として機能すべきかそれとも子局として機能すべきかを管理する親局子局管理手段と、親局子局管理手段によって、子局として機能すべきであると管理されている場合、外部通信システムにおける通信状況に関する情報を通信状況情報として記録する通信状況情報記録手段と、親局子局管理手段によって、子局として機能すべきであると管理されている場合、通信状況記録手段が記録した通信状況情報を通信システム内の親局に対して通知する通信状況情報通知手段と、親局子局管理手段によって、親局として機能すべきであると管理されている場合、通信システム内の子局から通信状況情報を収集する通信状況情報収集手段と、親局子局管理手段によって、親局として機能すべきであると管理されている場合、通信状況情報収集手段によって収集された通信状況情報を参照して、通信状況情報を通知してきた通信システム内の子局の中から、所定の移譲条件を満たす子局を、親局としての機能の全部または一部を移譲する移譲先の候補の局として選定する親局機能移譲先局選定手段と、親局子局管理手段によって、親局として機能すべきであると管理されている場合、親局機能移譲先局選定手段によって、親局機能の移譲先の候補の局が選定されたら、当該候補の局に対して、親局機能の移譲を要求する親局機能移譲要求手段とを備え、親局子局管理手段は、子局として機能すべきであると管理している状況において、通信システム内の親局から親局機能の移譲が要求された場合、所定の親局条件を満たすか否かを判断して、所定の親局条件を満たせば、親局として機能すべきであるとして管理内容を変更する。
また、本発明は、子局による通信媒体へのアクセスを親局が制御する通信システムにおいて用いられる端末内の集積回路であって、通信システムには、隣接して外部通信システムが設置されており、親局として機能すべきかそれとも子局として機能すべきかを管理する親局子局管理部と、親局子局管理部によって、子局として機能すべきであると管理されている場合、外部通信システムにおける通信状況に関する情報を通信状況情報として記録する通信状況情報記録部と、親局子局管理部によって、子局として機能すべきであると管理されている場合、通信状況記録部が記録した通信状況情報を通信システム内の親局に対して通知する通信状況情報通知部と、親局子局管理部によって、親局として機能すべきであると管理されている場合、通信システム内の子局から通信状況情報を収集する通信状況情報収集部と、親局子局管理部によって、親局として機能すべきであると管理されている場合、通信状況情報収集部によって収集された通信状況情報を参照して、通信状況情報を通知してきた通信システム内の子局の中から、所定の移譲条件を満たす子局を、親局としての機能の全部または一部を移譲する移譲先の候補の局として選定する親局機能移譲先局選定部と、親局子局管理部によって、親局として機能すべきであると管理されている場合、親局機能移譲先局選定部によって、親局機能の移譲先の候補の局が選定されたら、当該候補の局に対して、親局機能の移譲を要求する親局機能移譲要求部とを備え、親局子局管理部は、子局として機能すべきであると管理している状況において、通信システム内の親局から親局機能の移譲が要求された場合、所定の親局条件を満たすか否かを判断して、所定の親局条件を満たせば、親局として機能すべきであるとして管理内容を変更する。
本発明によれば、外部通信システムからの影響を考慮して、最適な親局を決定し、当該親局に対して親局機能が移譲されることとなるので、外部干渉が生じている状況において、通信品質を最適なものとすることができる親局を選定することが可能となる。これにより、外部干渉による問題を容易に回避できる親局が選定されることとなる。
本発明の第1の実施形態に係る通信システム1001の構成を模式的に示す図 通信システム1001上の各端末の機能的構成を示すブロック図 端末が子局として機能している場合の親局・子局管理モジュール103における処理(子局ルーチン)の流れを示すフローチャート 端末が親局として機能している場合の親局・子局管理モジュール103における処理(親局ルーチン)の流れを示すフローチャート 親局機能の移譲プロセスの流れを示すシーケンス図 端末Bにおける統計情報の一例を示す図 収集統計情報の一例を示す図 本発明の第2の実施形態に係る通信システム1301,1302の構成を模式的に示す図 第2の実施形態において、親局機能を移譲するためのプロセスの概要を示すシーケンス図 端末Gに記録される統計情報の一例を示す図 親局Eが収集した統計情報の一例を示す図 第2の実施形態に係る通信システム内の端末が送信するフレームの構造を示す図 第2の実施形態における通信システムの動作を詳細に示すフローチャート 統計情報のデータ構造の一例を示す図 統計情報におけるコントロール情報の内容の一例を示す図 統計情報を記録する期間と、統計情報を通知する期間とを示すタイミングチャート ステップS307における独立ネットワーク型の親局機能移譲サブプロセスの詳細の一例を示すフローチャート 図16における親局候補pの選定プロセス(ステップS401)の詳細を示すフローチャート 親局を局pに移譲すべきかを決定するプロセス(図16のステップS402)の詳細を示すフローチャート 図16におけるステップS404の動作の詳細を示すシーケンス図 ステップS309における干渉ネットワーク型の親局機能移譲サブプロセスの詳細の一例を示すフローチャート 図20におけるステップS807での処理の詳細を示すシーケンス図 図21に示す処理の代わりに実行することができる処理の流れを示すシーケンス図 本発明の端末を高速電灯線伝送に適用したときのシステム全体の構成を示す図
(第1の実施形態)
図1は、本発明の第1の実施形態に係る通信システム1001の構成を模式的に示す図である。図1において、通信システム1001は、端末1002〜1005を備える。なお、図1では、端末は、4つであるとしたが、3つ以下であってもよいし、5つ以上であってもよい。
通信システム1001において、端末1002(以下、端末Aという)は、他の端末が通信媒体にアクセス(以下、メディアアクセスという)する機会を制御するための信号を発信する親局である。端末1003(以下、端末Bという)、端末1004(以下、端末Cという)、および端末1005(以下、端末Dという)は、子局である。本実施形態において、各子局は、親局としても動作する。具体的には、現在の親局が子局に対して親局機能の全部または一部の移譲を要求した場合、子局が所定の親局条件を満たせば、子局は、親局として動作することができる。
親局は、子局からの帯域予約要求に応じて、通信システムにおいて使用することができる帯域資源を考慮して当該子局に対して帯域を割り当てるためのスケジューリング機能や、端末間に通信媒体を占有させる開始時刻および占有期間、ならびにコンテンション期間の開始時刻などの情報をシステム情報として、定期的にブロードキャストする機能を有する。
各子局は、親局から発信される信号に基づいて、自局に割り当てられた帯域や通信媒体の占有開始時刻等を把握し、把握した情報に基づいて、信号を送信する。したがって、親局から子局に対してパケットが正しく届かなければ、システム情報が子局に正しく届かなくなり、また、子局から親局に対してパケットが正しく届かなければ、帯域予約要求が親局に正しく届かなかなくなるので、通信システムにおける通信品質は悪化する。したがって、親局は、各子局との間で良好な通信品質を維持できる最適な物理的位置に配置されていなければならない。
図2は、通信システム1001上の各端末の機能的構成を示すブロック図である。図2では、通信媒体として電灯線を用いる場合の端末の機能的構成を示している。図2において、端末は、PLC送受信部101と、制御処理部102と、親局・子局管理モジュール103と、記録装置106とを含む。
PLC送受信部101は、電灯線を介して送信された信号を復調して制御処理部102に送信する共に、制御処理部102からの信号を変調して電灯線に送出する。
親局・子局管理モジュール103は、端末が親局として機能すべきかそれとも子局として機能すべきかを示す稼働モードを管理する。稼働モードには、端末が親局として機能する親局モードと、端末が子局として機能する子局モードとがある。親局・子局管理モジュール103は、制御処理部102からの命令に応じて、端末を親局として機能させるか、子局として機能させるかを判断し、稼働モードを切り換える。
端末が親局として稼動するのか、それとも子局として稼動するのかは、親局・子局管理モジュール103によって管理されている。親局・子局管理モジュール103は、制御処理部102からアクセスすることができる書き込み可能な記憶領域を1ビット分準備している。親局として稼働すると決定した場合、親局・子局管理モジュール103は、準備した1ビット分の記憶領域を“1”とする。一方、子局として稼働すると決定した場合、親局・子局管理モジュール103は、当該1ビット分の記憶領域を“0”とする。制御処理部102は、当該1ビット分の記憶領域を常に参照し、“1”の場合、端末を親局として稼働させ、“0”の場合、端末を子局として稼働させる。
記録装置106は、統計情報を格納する。統計情報については後述する。
制御処理部102は、PLC送受信部101が受け取ったフレームを解釈する。フレームが通信システム内の制御のためのフレームである場合、制御処理部102は、適切な処理を実行する。フレームが稼働モードの変更に関するものである場合、制御処理部102は、親局・子局管理モジュール103に対して、端末が親局として機能すべきか、子局として機能すべきかの判断を行うよう命令する。
なお、本端末は、通信プロトコル階層の上位層と制御処理部102との間の上位CPUインタフェース部を含んでいてもよい。上位CPUインタフェース部は、上位層と制御処理部102との間でデータをやり取りするための機能を有する。上位CPUインタフェース部は、バスを介してネットワーク階層における上位レイヤとデータをやり取りする。上位CPUインタフェース部は、たとえば、IPスタックおよびUPnP(登録商標)モジュールを搭載する。これにより、本端末は、UPnP(登録商標)プロトコルを利用して自動的に電灯線網内のリンク間での帯域を保証することができる。また、上位CPUインタフェース部を専用アプリケーションと接続することによって、本端末は、ホスト端末としても使用できる。
なお、本端末は、制御処理部102とイーサネットワークとの間でデータをやり取りするための機能を有するEthernet(登録商標)インタフェース部を含んでもよい。なお、Ethernet(登録商標)インタフェース部の代わりに、無線通信モジュール、HomePNAモジュール、または同軸ケーブル通信モジュールが設けられていてもよい。また、Ethernet(登録商標)インタフェース部、無線通信モジュール、HomePNAモジュール、および同軸ケーブル通信モジュールは、重複して設けられていてもよい。
端末に上位CPUインタフェース部またはEthernet(登録商標)インタフェース部が備わっている場合、制御処理部102は、フレームの種類に応じて、上位CPUインタフェース部またはEthernet(登録商標)インタフェース部に対して、フレームをブリッジングする。
図3Aは、端末が子局として機能している場合の親局・子局管理モジュール103における処理(子局ルーチン)の流れを示すフローチャートである。以下、図3Aを参照しながら、端末が子局として機能している場合の親局・子局管理モジュール103における処理(子局ルーチン)の流れについて説明する。
まず、親局・子局管理モジュール103は、親局モードへの交代要求を他の端末から受信したか否かを判断する(ステップS1)。受信していない場合、親局・子局管理モジュール103は、ステップS1の動作に戻る。一方、交代要求を受信した場合、親局・子局管理モジュール103は、自端末が親局としての稼働能力を持っているか否かを判断する(ステップS2)。
自端末が親局としての稼働能力を持っていない場合、親局・子局管理モジュール103は、ステップS12の動作に進む。一方、自端末が親局としての稼働能力を持っている場合、親局・子局管理モジュール103は、自端末が親局として起動できるための情報を持っているか否かを判断する(ステップS3)。
自端末が親局として起動できるための情報を持っていない場合、親局・子局管理モジュール103は、ステップS12の動作に進む。一方、自端末が親局として起動できるための情報を持っている場合、親局・子局管理モジュール103は、交代を承諾する旨と交代タイミングに関する情報とを記載したフレームを発行し、発行したフレームを制御処置部102に現在の親局宛に送信させる(ステップS11)。次に、親局・子局管理モジュール103は、親局モードへの交代タイミングが到来したか否かを判断する(ステップS4)。
ステップS12において、親局・子局管理モジュール103は、親局モードの交代要求を拒絶する旨のフレームを発行し、発行したフレームを制御処置部102に現在の親局宛に送信させる。
親局モードへの交代タイミングが到来していない場合、親局・子局管理モジュール103は、ステップS4の動作に戻る。一方、親局モードへの交代タイミングが到来した場合、親局・子局管理モジュール103は、親局モードへ交代し(ステップS5)、親局ルーチンへと進む。このように、親局・子局管理モジュール103は、親局として稼働する能力を持っているか、親局として稼働できるための情報を持っているか等を所定の親局条件として、当該所定の親局条件が満たされた場合、端末を親局として機能させるよう稼働モードを変更する。稼働モードは、親局・子局管理モジュール103における管理内容である。
図3Bは、端末が親局として機能している場合の親局・子局管理モジュール103における処理(親局ルーチン)の流れを示すフローチャートである。以下、図3Bを参照しながら、端末が親局として機能している場合の親局・子局管理モジュール103における処理(親局ルーチン)の流れについて説明する。
まず、親局・子局管理モジュール103は、制御処理部102から渡される情報に基づいて、親局機能を他の端末に移譲してよいか否かを判断する(ステップS6)。
親局機能を移譲すべき端末が見つからない場合、親局・子局管理モジュール103は、ステップS6の動作に戻る。一方、親局機能を移譲すべき端末が見つかった場合、親局・子局管理モジュール103は、当該端末に対して、親局モードへの交代要求フレームを生成し、制御処理部102を介してPLC送受信部101に当該フレームの発行を命ずる(ステップS9)。次に、親局・子局管理モジュール103は、応答待ちタイマを起動し、当該応答待ちタイマが満了するまでに、当該端末からの応答フレームを受信したら、応答フレームの内容が交代要求を承諾するものであるか否かを判断する(ステップS7)。応答フレームの内容が交代要求を拒絶する旨の内容である場合か、または当該応答待ちタイマの満了までに応答フレームを受信しなかった場合、親局・子局管理モジュール103は、ステップS6の動作に戻る。一方、応答フレームの内容が交代を承諾する内容であった場合、親局・子局管理モジュール103は、当該応答フレームに記載された交代タイミングが到来するか否かを判断する(ステップS10)。
親局モードの交代タイミングが到来していない場合、親局・子局管理モジュール103は、ステップS10の動作を繰り返す。一方、親局モードの交代タイミングが到来している場合、親局・子局管理モジュール103は、子局モードへ交代し(ステップS8)、子局ルーチンに進む。このように、親局・子局管理モジュール103は、親局モードの交代要求を送信したら後、端末を子局として機能させるように稼働モードを変更する。
なお、上記において、交代タイミングは、親局モードの交代要求を受けて交代を許諾した子局が設定する情報であるとしたが、親局モードの交代要求を発行する親局が設定する情報であってもよいし、親局と子局とが改めて交代のタイミングを確認し合うことによって得られる情報であってもよい。たとえば、親局が発行するビーコンフレームに、ビーコンをナンバリングしたビーコンシーケンシャル番号が記載されていると想定した場合、親局モードの交代タイミングは、ビーコンシーケンシャル番号によって指定されているとよい。また、応答フレームを受信した親局が、当該応答フレームに記載されている情報に基づいてデクリメントカウンタを起動し、ビーコンフレームにカウンタ値を記載して送信する。カウンタ値が“0”になった場合、子局は、親局の交代タイミングが到来したと判断してもよい。
図4は、親局機能の移譲プロセスの流れを示すシーケンス図である。以下、図4を参照しながら、親局への移譲プロセスの流れについて説明する。
まず、端末A〜Dの制御処理部102は、統計情報記録期間(T101)において、他の端末からの受信信号の強度の平均値に関する情報、および、送信先の端末からACKが返ってきたか否かを示す情報を、記録装置106に統計情報として記録する(ステップS101〜S104)。
図5は、端末Bにおける統計情報の一例を示す図である。図5に示すように、統計情報は、発信元端末の識別子に対応させて、受信強度の平均が登録されており、かつ宛先端末の識別子に対応させて、ACKが返ってきたか否かが登録されている。受信強度の平均は、相対値によって表されている。ACKが返ってきている場合、○印で示されており、この場合、対応する端末と送信可能であることを意味する。ACKが返ってきていない場合、×印で示されているとおり、この場合、対応する端末と送信不可能であることを意味する。図5に示すように、たとえば、端末Bは、端末Aからの信号を平均10の強度で受信している。また、端末Bは、端末Aとは信号を送受信可能であるが、端末Cとは信号を送受信不可能である。
次に、統計情報収集期間(T102)において、子局である端末B〜Dは、収集した統計情報を親局である端末Aに送信する(ステップS105〜S107)。これに応じて、端末Aの制御処理部1803は、送られてくる統計情報を収集して、収集統計情報とする(ステップS108)。
図6は、収集統計情報の一例を示す図である。図6に示すように、収集統計情報は、統計情報を収集した端末毎に、図5に示した統計情報が対応付けられている。
次に、端末Aは、収集統計情報に基づいて、自端末よりも高品位に通信システム内の各端末と通信することができる端末が存在するか、または親局として稼働すればシステム性能を最も向上させることができる端末が存在するか否かを判断する(ステップS109)。具体的には、まず、端末Aは、他の端末に対して信号を送信することができない端末を親局の候補のリストから除外する。図6に示す例では、端末Bと端末Cとの間の通信はできないことが分かるので、端末Aは、親局の候補のリストから、端末Bおよび端末Cを除外する。次に、端末Aは、自端末よりも高品質に他の端末から信号を受信している端末が存在するか否かを判断する。そのような端末があれば、端末Aは、当該端末を移譲先の親局とする。図6に示す例では、端末Dにおける他の端末からの受信強度の平均は端末Aにおける他の端末からの受信強度の平均よりも高いので、端末Aは、端末Dを移譲先の親局とする。
次に、端末Aは、移譲先となった端末に対して、親局を移譲することを示す移譲パケットを送信する(ステップS110)。移譲パケットを受信した端末は、移譲パケットを受信した旨の応答を端末Aに返して(ステップS111)、もし上記所定の親局条件を満たすのであれば、その後親局として機能する。ここでいう所定の親局条件とは、図3AのステップS2およびS3に示すような条件である。
親局は通信システム内における端末のメディアアクセスを制御する機能を有しているため、通信システム内の各端末がメディアを最適に利用するためには、各端末と親局との間の通信が双方向で確実に行えることが必要となる。上記第1の実施形態では、各端末が通信状況を監視した結果を統計情報として、現在の親局に通知する。現在の親局は、当該統計情報に基づいて、現在の親局自身よりも最適な端末が存在するか否かを判断する。通信システム内の通信を最適にすることができる物理的な位置に設置されている端末がある場合、現在の親局は、最適な位置に設置されている端末が次の親局となるように、親局機能を移譲させる。これによって、通信システム内の各端末がメディアを最適に利用することができるように、最適な親局が自動的に選ばれることとなる。
なお、各端末は、他の端末からのユニキャストパケットを受信する際、受信強度をACKに記載して返信するようにしてもよい。これにより、送信側の端末は、送信パケットの到達時の強度を統計情報として記録することができる。送信パケットの到達時の強度は、親局の選択の判断材料として利用することができる。
また、各端末は、他の端末との間で送受信したパケットの数を統計情報として記録してもよい。このとき、親局は、他の端末との間で送受信しているパケットの数が多い端末を移譲先の親局とすればよい。このように、送受信パケット数を親局選定のための情報とすることで、端末間での通信頻度に応じて次の親局を選定することができる。
また、各端末は、他の端末への再送回数を統計情報として記録してもよい。このとき、現在の親局は、再送回数の少ない端末を移譲先の親局とすればよい。このように、再送回数を親局選定のための情報とすることで、端末間での通信品質に応じて次の親局を選定することができる。
また、本通信システムを電灯線通信システムに適用する場合、電灯線メディア上には、商用電源周期に同期したノイズが認められる。したがって、各端末は、統計情報として、商用電源周期に同期したノイズに関する情報を記録して、現在の親局に通知するようにしてもよい。この場合、現在の親局は、商用電源周期に同期したノイズに関する情報に基づいて、当該ノイズの影響が小さい子局を親局機能の移譲先候補として考えてもよい。
(第2の実施形態)
図7は、本発明の第2の実施形態に係る通信システム1301,1302の構成を模式的に示す図である。図7において、通信システム1301と通信システム1302とは、隣接して設置されているものとする。通信システム1301は、端末1303〜1305を備える。通信システム1302は、端末1306,1307を備える。なお、端末の数は、図7に示される例に限られない。
通信システム1301において、端末1303(以下、端末Eという)は、親局である。端末1304,1305(以下、端末F,Gという)は、子局である。通信システム1302において、端末1306(以下、端末Xという)は、親局である。端末1307は、子局である。端末E,F,G,Xは、親局として稼働する機能と子局として稼働する機能との両方を有しているものとする。
第2の実施形態において、各端末の構成は、第1の実施形態と同様であるので、図2を援用することとする。また、親局・子局管理モジュール103の機能も第1の実施形態と同様であるので、図3A,図3Bを援用することとする。
各通信システム内において、各端末は、自端末の属する通信システム外からのパケットを受信する(干渉を受ける)と、外部通信システムからのパケットの受信回数や、外部通信システムからのパケットの受信強度等を統計的に記録する。
各端末は、自端末が属する通信システム内の親局に対して、記録した統計情報を周期的に通知する。
統計情報が含まれるパケットを受信した親局は、パケットに含まれる統計情報と親局自信が記録した統計情報とを比較し、親局の受けていない干渉を受けている端末、または親局が受けている干渉度合いよりも大きな干渉を受けている端末が存在するか否かを判断し、そのような端末が存在する場合、当該端末に対して、親局を移譲するためのプロセスを起動する。
図8は、第2の実施形態において、親局機能を移譲するためのプロセスの概要を示すシーケンス図である。以下、図8を参照しながら、第2の実施形態において、親局機能を移譲するためのプロセスの概要について説明する。
通信システム1302内の通信において、端末Xは、端末Yに対してパケットを送信したとする(ステップS201)。当該パケットは、通信システム1302を超えて、通信システム1301内の端末F,Gまで到達したとする(ステップS202,S203)。外部通信システムにおいて発信されたパケットを受信した端末Gおよび端末Fは、干渉を受けたとして、当該パケットの発信元の端末Xに対応させて、当該パケットの受信強度を記録する。
通信システム1302内の通信において、端末Yは、端末Xに対してパケットを送信したとする(ステップS204)。当該パケットは、通信システム1302を超えて、通信システム1301内の端末Gまで到達したとする(ステップS205)。外部通信システムにおいて発信されたパケットを受信した端末Gは、干渉を受けたとして、当該パケットの発信元の端末Yに対応させて、当該パケットの受信強度を統計情報として記録する。図9は、端末Gに記録される統計情報の一例を示す図である。図9に示すように、統計情報には、外部通信システムの発信元端末の識別子に対応して、受信したパケットの強度平均および受信回数が記録されている。
通信システム1301の端末F,Gは、統計情報記録期間が経過すると、当該期間中に収集した統計情報を親局である端末Eに向けて送信する(ステップS206,S207)。なお、統計情報記録期間に外部通信システムからの干渉を受けなかった端末は、統計情報を親局に送信しなくてよい。
親局である端末Eは、子局である端末F,Gから送信されてくる統計情報と自端末で記録した統計情報とを比較して、最も外部通信システムから干渉を受けていると判断される端末を認識する。図10は、親局Eが収集した統計情報の一例を示す図である。図10に示すように、収集統計情報は、統計情報を記録した端末の識別子と対応させて、発信元端末に対応する受信強度の平均および受信回数が登録されている。図10に示す例では、端末Gが、最も外部通信システム1302からの干渉を受けていると判断できる。よって、端末Eは、端末Gに親局を移譲するために、端末Gに対して、親局機能移譲要求パケット(後述の図21に示すIND_CTRLフレーム)を送信する(ステップS208)。
親局機能移譲要求パケットを受信した端末Gは、自端末が親局として稼働することができるか否かを判断する。親局として稼働することができると判断した場合、端末Gは、通信システム1302の端末に対して(通信システム1302内において親局として稼働している端末が端末Xであると認識している場合は、優先的に端末Xに対して)、親局移譲が行われたことを通知(後述の図21に示すIND_MOVフレームを送信)する(ステップS209)。ここで、端末Gは、親局として稼働できるか否かを判断するにあたり、通信システム1301内で他の端末と十分に通信できるか否かを判断基準とする。
親局移譲通知を受信した端末Xは、通信システム1302内において親局機能を移譲するプロセスの実行を禁止し、端末Gに対して応答を送信(後述の図21のRSP_MOVフレームを送信)する(ステップS210)。
端末Xからの応答があった場合、端末Gは、端末Eに対して、親局の機能を移譲するタイミングに関する情報が記述された親局機能移譲要求応答パケット(後述の図21のRSP_CTRLフレーム)を送信する(ステップS211)。その後、親局機能移譲要求応答パケットに記述されているタイミングに従って、端末Eは、子局として機能し、端末Gは、親局として機能する。
ここで、端末Gは、親局移譲通知を端末Xに送信した後、所定期間経過しても端末Xから応答が返ってこない場合、親局機能移譲応答パケットを端末Eに対して送信する。
正常に親局機能が移譲したら、新しい親局である端末Gは、端末Xに対し、親局機能の移譲が完了したこと(後述の図21のCMP_MOVフレーム)を通知する(ステップS212)。これに応じて、端末Xは、通信システム1302内において親局機能を移譲するプロセスの実行の禁止を解除する。
以下、第2の実施形態における通信システムの動作について詳しく説明する。第2の実施形態において、各子局(被制御局)は、親局(制御局)が繰り返し発信する制御フレーム(ビーコンフレーム)に基づいて、メディアアクセスする。
第2の実施形態において、各通信システムには、通信システムを特定するための指標(以下、ネットワークIDという)が割り当てられている。
図11は、第2の実施形態に係る通信システム内の端末が送信するフレーム(パケットともいう)の構造を示す図である。図11に示すように、各端末が送信するフレームには、ネットワークIDを格納するためのフィールド2001と、宛先端末を特定するための指標を格納するためのフィールド2002と、送信元端末を特定するための指標を格納するためのフィールド2003とが含まれる。なお、これらのフィールドは、冗長な変調方式を適用し、ノイズや外乱に強いデータフィールドであるとよい。
図12は、第2の実施形態における通信システムの動作を詳細に示すフローチャートである。以下、図12を参照しながら、第2の実施形態における通信システムの動作について詳細に説明する。なお、図12に示すフローチャートにおいて、親局、子局、または両方が各ステップの動作の主体となる。いずれが動作の主体となっているかについては、その都度明確にする。また、各局における動作は、図2に示す制御処理部102によって行われるが、以下の説明では、簡単のために、単に、局が動作を実行するとのみ記載することとする。図2に示す制御処理部102は、下記の動作を実行することができる複数の機能部によって実現されてもよいし、下記の動作を実行させるためのプログラムを汎用のCPUに実行させることによって実現されてもよく、下記の動作を実行することができるのであれば制御処理部102の構成は限定されるものではない。
図12に示す手順は、親局によって所定の開始条件が満たされると判断された場合(ステップS301)に開始され、所定の終了条件が満たされたと判断されるまで(ステップS310)が満たされるまで繰り返される。
開始条件が満たされた場合、通信システム上の各端末(親局および子局)は、統計情報を記録装置106に記録する(ステップS302)。
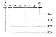
図13は、統計情報のデータ構造の一例を示す図である。図13に示すように、たとえば、統計情報は、16オクテットであって、アイテムとして、コントロール情報(CTR)3001と、ネットワークID(ADR)3002と、受信端末数(NRS)3003と、信号増幅率平均(SAR)3004と、自局宛フレーム数(NLP)3005とからなる。
コントロール情報3001は、CTRフィールドに格納されるサイズが1オクテットの情報である。図14は、統計情報におけるコントロール情報の内容の一例を示す図である。図14に示すように、コントロール情報には、親局になることができる能力を持っているか否かを示すフラグ4001と、未使用領域4002と、外部通信システムの親局が発信したビーコンフレームを一度以上受信したか否かを示すフラグ4003と、外部通信システムに属する局からのパケットを一度以上受信したか否かを示すフラグ4004とからなる。本実施形態において、フラグ4001は、親局になることができる端末であれば、オンになっている。フラグ4003は、外部通信システムの親局が発信したビーコンフレームを一度でも受信しているのであれば、オンになっている。フラグ4004は、外部通信システムに属する局からのパケットを一度でも受信しているのであれば、オンになっている。なお、フラグ4003は、外部通信システムの親局からの発信を受信したか否かを示すようにしてもよい。なお、各端末は、受信したパケットが外部通信システムで発信されたパケットであるか否かを判断する場合、図11に示すフィールド2001を参照して、自ネットワークIDと比較して、一致していなければ、外部通信システムで発信されたパケットを受信したと判断する。なお、各端末は、親局になることができるか否かを、局が備えているハードウエア資源によって判断する他、ユーザによる判断や、接続状態、通信状態に基づいて、判断してもよい。
ネットワークID3002は、ADRフィールドに格納される6オクテットの情報であって、外部通信システムから干渉を受けた場合に、当該外部通信システムのネットワークIDを示す。なお、ネットワークを識別することができる指標であれば、ネットワークIDでなくてもよい。ネットワークID3002は、外部通信システムからのパケットを受信するごとに更新されてもよい。また、ネットワークID3002は、最近受信した外部ネットワークから発信されたパケットに記載されているネットワークIDであってよい。図14におけるフラグ4004がオンになっていない場合、一度も外部ネットワークからのパケットを受信していないことを示しているので、ADRフィールドに何かが記載されていても、無効な記載である。
受信端末数3003は、NRSフィールドに格納される1オクテットの情報であって、受信することができたフレームの発信元端末の数NRSを示す。つまり、受信端末数は、受信フレームの数に関係なく、受信したフレームを発行した局の数を示すものである。なお、各端末は、この値をカウントするためには、受信できたフレームを発行した局の識別指標を用意しておいて、受信したフレームの発行元を認識しなければならない。そこで、各端末は、発信端末のアドレスごとにハッシュテーブルを準備して、このハッシュテーブルを受信したフレームから引くことで、高速に発信端末を識別する手法を備えてもよい。
信号増幅率平均3004は、SARフィールドに格納される4オクテットの情報であり、通信媒体で減衰した信号を増幅する際の増幅率の平均である。この値が大きいほど、信号が伝送路において大きく減衰して伝送されたということになるので、基本的には、この値が小さいほど、当該統計情報を記録した端末は、通信状態が良好な位置に存在することとなる。なお、信号増幅率平均は、自局宛のフレームだけでなく、検知できるすべてのフレームを対象にしてよい。また、各端末は、フレーム内のデータ記載領域に対するタイミングをとるために使用するフレーム内のフィールド(プリアンブル)を検知することによって、各フレームの信号増幅率を決定するようにしてもよい。ここで、端末が第n番目のフレームを検知したときの信号増幅率をSAV(n)とし、第n−1番目のフレームを検知したときの信号増幅率をSAR(n−1)とする。また、第n−1番目のフレームを検知したときのフレームの数をNAP(n−1)とする。さらに、第1〜n番目のフレームを受信したときの信号増幅率の平均をSAR(n)とする。このとき、各端末は、算出式SAR(n)={SAR(n−1)×NAP(n−1)+SAV(n)}/(NAP(n−1)+1)を用いて、SARを計算してもよい。または、各端末は、自局宛フレームのみを対象として、上記算出式において、NAPの代わりにNLPを用いることによって、信号増幅率平均を求めるようにしてもよい。
自局宛フレーム数3005は、NLPフィールドに格納される4オクテットの情報であって、自局宛に送信されたフレームの数NLPである。なお、NLPの代わりに、NAPまたは両方を用いてもよい。
なお、図13に示された統計情報は、単なる一例であって、これに限定されるものではなく、外部通信システムから受信した信号の干渉に関する干渉情報を含んでいればよい。図13において、受信端末数NRSが干渉情報に相当する。その他、干渉情報は、外部通信システムから受信した信号の受信信号強度に関する情報や、外部通信システムから受信した信号の数に関する情報、外部通信システムから受信した信号の強度に関する情報等であってもよい。また、本実施形態では、干渉情報を記録することとしたが、外部通信システムにおける通信状況が認識できるような情報(通信状況情報という)が干渉情報の代わりに記録されてもよい。
なお、外部通信システム内の端末が、通信システム内の端末からのフレームを検知した場合、当該フレームの受信信号強度に関する情報を当該フレームの発信元の通信システム内の当該端末に対して通知するようにした場合、通信状況情報は、外部通信システムから通知されてくる受信信号強度に関する情報であってもよい。これにより、端末は、外部通信システムの端末で自端末の発信がどの程度のレベルで受信されているのかといった通信状況情報を統計情報として親局に通知することができる。
また、統計情報は、自通信システムにおける通信状況に関する自システム情報が含まれている。図13の例では、信号増幅率平均SARおよび自局宛フレーム数NLPが自システム情報となる。その他、自システム情報は、子局が送信するフレームの再送回数に関する情報や、子局が受信するフレームの種類に関する情報であってもよい。
また、統計情報には、その他、送信元端末を特定する指標や、送信元端末ごとのフレーム受信強度、誤り訂正率、自局宛フレームの通信メディア占有率などが格納されていてよい。
また、統計情報には、上記の情報が全て設定されていなくてもよい。なお、図13に記載の各アイテムのサイズは、これに限定されるものではない。図14に記載の各ビットフィールドの位置もこれに限定されものではない。
図12の説明に戻る。ステップS302の後、各子局は、親局に対して、記録した統計情報を通知する(ステップS303a)。親局は、各子局から通知されてくる統計情報を収集する(ステップS303b)。
図15は、統計情報を記録する期間と、統計情報を通知する期間とを示すタイミングチャートである。以下、図15を参照しながら、統計情報を記録する期間と、統計情報を通知する期間とについて説明する。
親局は、統計情報の記録および通知のタイミングを示すビーコンフレーム内のフラグSTATIS_ACTを、ハイまたはローにすることによって、統計情報の記録および通知を制御する。フラグSTATIS_ACTがローからハイになれば(T1101)、各端末は、統計情報をリセットして、統計情報の記録を開始する。フラグSTATIS_ACTがハイからローになれば(T1102)、各端末は、統計情報の記録を停止する。そして、子局は、親局に対して、記録した統計情報を通知する。それと並行して、親局は、時間TIME_STATIS_COLが停止時間として設定されたタイマを起動する。当該タイマの停止時間が経過するまでの間、親局は、子局から通知される統計情報を受信する。当該タイマの停止時間が経過したら、親局は、子局から通知される統計情報の受信を終了する。子局は、停止時刻T1103の到来時期を知らなくてもよい。しかし、親局は、停止時刻T1103以降に到達した統計情報を無視する。その後、STATIS_ACTがハイなれば(T1104)、上記と同様にして、各端末は、統計情報をリセットし、統計情報の記録を開始して、同様の動作を繰り返す。なお、フラグSTATIS_ACTは、親局の都合で制御されるフラグであり、周期的に変化しなくてもよい。なお、統計情報の記録期間は、親局が時間を指定することによって指定されてもよい。また、統計情報の通知期間は、親局が指定した期間が到来したら、子局がそれぞれ独立して、親局に統計情報を通知してもよい。また、子局から通知される統計情報を収集する端末は、親局以外の特定の端末であってもよい。この場合、当該特定の端末が収集した統計情報を親局に通知するようにすればよい。また、特定の端末が、統計情報の記録期間、および統計情報の通知期間の開始宣言を行ってもよい。
図12の説明に戻る。ステップS303の後、親局は、統計情報を通知してきた子局の中に、新しい親局となり得る端末が存在するか否かを判断する(ステップS304)。具体的には、親局は、図13に示すコントロール情報3001に含まれるフラグ4001(図14参照)を参照して、新しい親局となり得る端末が存在するか否かを判断する。なお、フラグ4001は、新しい親局になる意思があるか否かの判断に用いられてもよい。新しい親局となり得る端末が存在しない場合、親局は、ステップS310の動作に進む。一方、新しい親局となり得る端末が存在する場合、親局は、ステップS305の動作に進む。
ステップS305において、親局は、収集した統計情報を参照して、統計情報を通知してきた子局の中に、外部通信システムからの干渉を受けた端末が存在するか否かを判断する。具体的には、親局は、コントロール情報3001に含まれるフラグ4004を参照して、外部通信システムからの干渉を受けた端末が存在するか否かを判断する。なお、外部通信システムからの干渉は、外部通信システムにおける親局のみからの干渉に限定してもよい。外部通信システムからの干渉があった場合、親局および子局は、干渉ネットワーク型の親局機能移譲サブプロセス(ステップS309)に進む。干渉ネットワーク型の親局機能移譲サブプロセスについては後述する。一方、外部通信システムからの干渉を受けた端末が存在しない場合、親局は、ステップS306の動作に進む。
ステップS306において、親局は、現在のネットワークモードが干渉モードであるか否かを判断する。ネットワークモードは、ネットワーク上の親局が外部通信システムからの干渉を考慮した上で決定されているか否かを示し、干渉モードと、独立モードとからなる。干渉モードは、外部通信システムからの干渉を考慮した上で親局が決定されたモードである。独立モードは、外部通信システムからの干渉を考慮せずに親局が決定されたモードである。現在のいネットワークモードが干渉モードでない場合、親局および子局は、独立ネットワーク型の親局機能移譲サブプロセス(ステップS307)に進む。独立ネットワーク型の親局機能移譲サブプロセスについては後述する。一方、干渉モードである場合、親局は、ステップS308の動作に進む。
ステップS307において、親局および子局は、協働して、独立ネットワーク型の親局機能移譲サブプロセスを実行する。独立ネットワーク型の親局機能移譲サブプロセスにおいて、親局は、収集した統計情報に基づいて、統計情報を通知した子局の中で、新しい親局としてふさわしい子局が存在するか否か判断し、そのような子局が存在する場合、当該子局に対して、親局の機能を移譲する。
図16は、ステップS307における独立ネットワーク型の親局機能移譲サブプロセスの詳細の一例を示すフローチャートである。以下、現在の親局を局mとし、新たに親局となる子局を局pとして、独立ネットワーク型の親局機能移譲プロセスの詳細について説明する。なお、図16に示す処理は、あくまでも一例である。したがって、収集した統計情報に基づいて、新しい親局としてふさわしい子局を選択するのであれば、図16に示す処理には限られない。図16に示す動作では、統計情報に、干渉情報として受信端末数NRSが含まれ、自システム情報として信号増幅率平均SARおよび自局宛フレーム数NLPが含まれているとする。
まず、親局mは、新しい親局候補の局pを選定する処理を実行する(ステップS401)。次に、親局mは、親局機能を局pに移譲すべきであるか否かを決定する処理を実行する(ステップS402)。次に、親局mは、ステップS402の処理において、親局機能を局pに移譲すると決定したか否かを判断する(ステップS403)。移譲すると決定した場合、親局mおよび局pは、協働して、親局機能を局pに移譲する(ステップS404)。一方、移譲しないと決定した場合、親局mは、親局機能の移譲を行わない(ステップS405)。
図17は、図16における親局候補pの選定プロセス(ステップS401)の詳細を示すフローチャートである。以下、図17を参照しながら、図16における親局候補pの選定プロセス(ステップS401)の詳細について説明する。
まず、親局mは、受信端末数NRSが最大となる局を第1の所定の移譲条件として、収集した統計情報を参照して、当該第1の所定の移譲条件を満たす局を選択する(ステップS501)。次に、親局mは、ステップS501で選択された局が複数であるか否かを判断する(ステップS502)。複数でない場合、親局mは、ステップS508の動作に進む。一方、複数である場合、親局mは、ステップS503の動作に進む。
ステップS503において、親局mは、信号増幅率平均SARが最小となる局を第2の所定の移譲条件として、収集した統計情報を参照して、当該第2の所定の移譲条件を満たす局を選択する。次に、親局mは、ステップS503で選択された局が複数であるか否かを判断する(ステップS504)。複数でない場合、親局mは、ステップS508の動作に進む。一方、複数である場合、親局mは、ステップS505の動作に進む。
ステップS505において、親局mは、自局宛フレーム数NLPが最大となる局を第3の所定の移譲条件として、収集した統計情報を参照して、当該第3の所定の移譲条件を満たす局を選択する。次に、親局mは、ステップS505で選択された局が複数であるか否かを判断する(ステップS506)。複数でない場合、親局mは、ステップS508の動作に進む。一方、複数である場合、親局mは、選択された複数の局の中からどれか一台の局を選択して(ステップS507)、ステップS508の動作に進む。
ステップS508において、親局mは、選択された一台の局を新しい親局候補の局pとして選定して、ステップS402の動作に進む。
なお、親局は、干渉情報である受信端末数NRSのみに基づいて候補の局を選定してもよい。
図18は、親局を局pに移譲すべきかを決定するプロセス(図16のステップS402)の詳細を示すフローチャートである。以下、図18を参照しながら、親局を局pに移譲すべきかを決定するプロセス(図16のステップS402)の詳細について説明する。図18において、親局mは、受信端末数NRSおよび信号増幅率平均SARのみを用いて、親局を局pに移譲すべきか否かを判定する。
まず、親局mは、親局mが記録した統計情報に含まれる受信端末数NRS(図上、NRS(m)と表記する)にマージンNRS_MARGINを加えた値が、局pが記録した統計情報に含まれる受信端末数NRS(図上、NRS(p)と表記する)よりも小さいか否かを判断する(ステップS601)。ここで、マージンNRS_MARGINは、なるべく親局の移譲を行わせないようにするためのマージンで、適切な正の値である。
ステップS601において、当該値が受信端末数NRS(p)よりも小さくないと判断した場合、親局mは、親局機能の移譲を行わない決定して(ステップS604)、ステップS403の動作に進む。一方、当該値が受信端末数NRS(p)よりも小さいと判断した場合、親局mは、親局mが記録した統計情報に含まれる信号増幅率平均SAR(図上、SAR(m)と表記する)が、局pが記録した統計情報に含まれる信号増幅率平均SAR(図上、SAR(p)と表記する)にマージンSAR_MARGINを加えた値よりも大きいか否かを判断する(ステップS602)。ここで、マージンSAR_MARGINは、なるべく親局の移譲を行わせないようにするためのマージンで、適切な正の値である。
ステップS602において、当該値が信号増幅率平均SAR(m)よりも大きくない判断した場合、親局mは、親局機能の移譲を行わない決定して(ステップS604)、ステップS403の動作に進む。一方、当該値が信号増幅率平均SAR(m)よりも大きいと判断した場合、親局mは、局pへ親局機能を移譲すると決定し、ステップS403の動作に進む。
図19は、図16におけるステップS404の動作の詳細を示すシーケンス図である。以下、図19を参照しながら、図16におけるステップS404の動作の詳細について説明する。
まず、親局mは、親局を移譲する意思、親局として稼働するのに必要な情報、および交代タイミングに関する情報を含めたIND_CTRLフレームを、局pに送信して、親局機能の移譲を要求する(ステップS701)。ここで、親局として稼動するのに必要な情報とは、現在親局が制御しているリンクごとの帯域予約および帯域割当に関する情報や、ネットワーク内トラフィックに関する情報、ネットワーク内の各局に関する情報等である。
次に、局pは、IND_CTRLフレームを受信すると、親局・子局管理モジュール103に親局の交代要求を受け入れるかまたは拒絶するかを決定させ(図3A参照)、その決定結果を記述したRSP_CTRLフレームを親局mに対して送信する(ステップS702)。
次に、親局mおよび局pは、ビーコンフレームを発行する端末の役割を交代するタイミングを合わせるための処理を実行する(ステップS703)。具体的には、親局mは、発行するビーコンフレームの領域の一部に整数を記述しておき、当該整数をビーコンフレームを発行する毎に、インクリメント(デクリメント)していく。そして、当該整数がある値以上(以下)になったら、その後は、局pは、親局として稼働し、親局mは、子局として稼働する。なお、整数をインクリメント(デクリメント)する代わりに、親局mが当該役割が交代されるまでの時間を指定して、当該指定された時間が経過したら、局pが親局として稼働するようにしてもよい。
その後、局pは、ビーコンフレームを発行して、親局の移譲が完了する(ステップS704)。
IND_CTRLフレームが発行されてから、局pからビーコンフレームが発行されるまでの間、親局mは、他の局からの要求は受け付けないものとする(ステップS705)。たとえば、親局mは、リンク間の帯域予約に関する要求や、新規参入局の認証に関する要求を受け付けないとする。親局mは、親局mの有する情報を引き出すような要求については、受け付けてもよい。
図12の説明に戻る。ステップS309において、親局および子局は、干渉ネットワーク型の親局機能移譲サブプロセスを実行する。干渉ネットワーク型の親局機能移譲サブプロセスにおいて、親局は、収集した統計情報に基づいて、統計情報を通知した子局の中で、新しい親局としてふさわしい子局が存在するか否かを判断し、そのような子局が存在する場合、当該子局に対して、親局の機能を移譲する。
図20は、ステップS309における干渉ネットワーク型の親局機能移譲サブプロセスの詳細の一例を示すフローチャートである。以下、図20を参照しながら、干渉ネットワーク型の親局機能移譲プロセスの詳細について説明する。
まず、親局mは、収集した統計情報に基づいて、新しい親局の候補とする局を干渉があった旨を報告した局に絞り込み、干渉があった旨を報告していない局からの統計情報は無視する(ステップS801)。なお、ステップS801において、親局mは、新しい親局の候補とする局を、外部通信システムの親局が発信するフレームを受信している子局のみに絞り込んでもよい。または、外部通信システムのいずれかの端末が発信するフレームを受信している子局のみに新しい親局の候補とする局を絞り込んでもよい。
次に、親局mは、外部干渉が報告された全ての外部通信システムについて、自局においても既に干渉を受けているとして処理されているか否かを判断する(ステップS802)。すなわち、親局mは、自局において干渉があるとして認識している外部通信システム以外の未知の外部通信システムからの干渉を他の子局が受けているか否かを判断する。
外部干渉が報告された全ての外部通信システムが自局においても既に干渉を受けているとして処理されている場合、親局mは、独立ネットワーク側の親局機能移譲サブプロセスを実行し(ステップS803)、親局候補の局を選定して、処理を終了する。ステップS803における処理は、図16〜図19に示す処理と基本的には、同様であるが、新しい親局候補の局pを選定するプロセス(図16のステップS401)において、親局は、図17のステップS501の前に、外部干渉が報告された全ての外部通信システムが自局においても既に干渉を受けているとする局を、新しい親局候補として選定する。一方、外部干渉が報告された全ての外部通信システムが自局においても既に干渉を受けているとして処理されていない場合、親局mは、ステップS804の動作に進む。ステップS804において、親局mは、図17に示す処理と同様にして、新しい親局候補の局pを選定する。
次に、親局mは、図18に示す処理と同様にして、ステップS804で選定した局pに親局機能を移譲するべきであるか否かを決定する(ステップS805)。
次に、親局mは、ステップS805において、親局の移譲を行うと決定したか否かを判断する(ステップS806)。
ステップS806において、親局の移譲を行うと決定したと判断した場合、親局mは、局pへ親局機能を移譲するための処理を外部干渉を考慮して実行する(ステップS807)。一方、親局の移譲を行うと判定していない場合、親局mは、親局機能の移譲を行わない(ステップS808)。
図21は、図20におけるステップS807での処理の詳細を示すシーケンス図である。以下、図21を参照しながら、図20におけるステップS807での処理の詳細について説明する。
まず、親局mは、親局を交代する意思、親局として稼働するのに必要な情報、および交代タイミングに関する情報を含めたIND_CTRLフレームを、局pに送信する(ステップS901)。IND_CTRLフレームは親局機能の異常の開始が行われる旨を通知するためのフレームである。ここで、親局として稼動するのに必要な情報とは、現在親局が制御しているリンクごとの帯域予約および帯域割当に関する情報や、ネットワーク内トラフィックに関する情報、ネットワーク内の各局に関する情報、干渉ネットワーク型のプロセスであることを知らせる指標等である。
IND_CTRLフレーム受信した局pは、外部通信システムの親局に対して、IND_MOVフレームを送信する(ステップS902)。IND_MOVフレームを受信した外部通信システムの親局は、外部通信システムにおける親局の機能移譲プロセスの実行を禁止する。そして、外部通信システムの親局は、応答結果を示すRSP_MOVフレームを局pに送信する(ステップS903)。なお、RSP_MOVフレームには、親局mと局pとが存在する通信システム内において、親局の機能移譲プロセスを実行してもよいか否かに関する許可情報が記載されていてもよい。
次に、局pは、親局の交代要求を受け入れるか、または拒絶するかを示すRSP_CTRLフレームを、親局mに送信する(ステップS904)。その後、図19に示すステップS703と同様の流れによって、親局mおよび子局pは、ビーコンフレームを発行する役割を交代するタイミングを合わせる(ステップS905)。ステップS905の後、ビーコンフレームを発行するタイミングが到来したら、局pは、ビーコンフレームを発行して(ステップS905)、新しい親局として機能する。図19に示した動作と同様にして、親局mは、親局機能の移譲を実行している期間中、親局への要求の受け付けを拒否する(ステップS907)。その後、局pは、親局機能の移譲が完了した旨を通知するためのCMP_MOVフレームを外部通信システムの親局に送信する(ステップS908)。CMP_MOVフレームを受信した外部通信システムの親局は、外部通信システムにおける親局機能の移譲プロセスの実行禁止を解除する。
図12の説明に戻る。ステップS308において、親局mは、干渉モードとなっている通信システムが独立モードの通信システムとして動作してもよいか否かを判断する。ステップS308の動作は、既に、隣接する外部通信システムの存在を検知し、隣接する外部通信システムからの干渉を考慮しながら、通信媒体を共有する通信システムが構築されている環境にありながらも、統計情報収集期間において、外部通信システム内の局からの発信を自通信システム内のどの局も検知できなかった場合に実行される。このような状況下では、何らかの原因で外部通信システムが停止状態にある可能性が高い。このような場合、外部通信システムからの干渉を考慮せずに、新しい親局を設定した方が、通信効率が向上する可能性がある。それゆえ、親局mは、通信システムを独立モードとして動作してよいか否かを判断する。具体的には、親局mは、ステップS308の判断が所定回数以上行われた場合に、通信システムを独立モードとして動作してよいと判断する。ステップS308において、通信システムを独立モードの通信システムとして動作してもよいと判断した場合、親局mは、ステップS307の動作に進む。一方、通信システムを独立モードとして動作してはいけないと判断した場合、親局mは、ステップS310の動作に進む。
このように、第2の実施形態によれば、子局が外部通信システムからの干渉を受けている場合、最も干渉を受けている子局に親局機能を移譲させることとなる。よって、親局が移譲した後は、移譲後の新しい親局が外部通信システムからの干渉を考慮して、各子局にメディアアクセスの機会を与えることとなるので、外部干渉が生じている状況においても、通信品質を最適なものとすることができる。
なお、第2の実施形態では、各端末が、新しい親局候補となる局を選定する機能を有していることとしたが、新しい親局候補となる局を選定する機能のみを有する端末によって、親局機能の全部または一部を実行する候補の局を選定するようにしてもよい。
なお、各子局は、干渉情報等の通信状況情報を外部通信システム内の端末に対して通知してもよい。これに応じて、外部通信システム内の端末は、外部干渉に関する情報を得ることができる。
なお、IND_MOVフレームおよび/またはCMP_MOVフレームに関する情報は、ブロードキャスト発信するビーコンフレームの特定の領域に記述されていてもよい。また、なお、親局m発信するビーコンフレームに、親局機能移譲プロセスの起動を禁止する期間に関する情報を含ませておくことで、局pによるIMD_MOVフレーム、RSP_MOVフレーム、CMP_MOVフレームの送信を省略することができる。
なお、第2の実施形態に係る通信システムを電灯線通信システムに適用する場合、電灯線メディア上には、商用電源周期に同期したノイズが認められる。したがって、各端末は、統計情報として、商用電源周期に同期したノイズに関する情報を記録して、記録した情報を親局に通知するようにしてもよい。この場合、現在の親局は、商用電源周期に同期したノイズに関する情報に基づいて、当該ノイズの影響が最も小さい子局を親局機能を移譲する候補端末として決定するとよい。この決定のための判断ステップは、たとえば、図17に示すフローのステップS501〜S507のどこかに挿入されればよい。
なお、第2の実施形態では、図21に示す処理は干渉ネットワーク型の親局機能移譲サブプロセスとして実行されたが(図12参照)、図21に示す処理以外の処理であってもよい。図22は、図21に示す処理の代わりに実行することができる処理の流れを示すシーケンス図である。図22では、異なる論理ネットワークに属する端末同士のユニキャストを許さないこととしている。図22において、親局mは、親局の機能移譲プロセスを実行する場合、親局の機能移譲プロセスを実行しているか否かを示すビーコンフレーム内のフィールドにその旨を記述して、当該ビーコンフレームを局pに送信する(ステップS1001,S1002)。当該ビーコンフレームは、隣接する外部通信システムに属する端末にも到達する可能性がある。隣接する外部通信システムの親局Sが当該ビーコンフレームを受信したら、親局Sは、自通信システム内での親局の機能移譲プロセスの実行を禁止する(ステップS1003)。なお、当該ビーコンフレームを受信した局が子局であった場合、当該子局は、当該子局を制御する親局に対して、外部通信システムが親局の機能移譲プロセスを実行している旨を通知する。親局mと親局pとは、図21に示す処理と同様にして、親局機能を移譲する(ステップS901,S904,S905,S907)。その後、親局が局pに移譲したら、局pは、ビーコンフレーム内に親局の機能移譲プロセスが起動中でない旨の情報を含ませて、送信する(ステップS1004a,S1004b)。それに応じて、親局Sは、親局の機能移譲プロセスの実行の禁止を解除する。なお、局pから送信されたビーコンフレームを検知した局が子局であった場合、当該子局は、親局Sに対して、外部通信システムが親局の機能移譲プロセスを実行していない旨、または外部通信システムが親局の機能移譲プロセスの実行を終了した旨を通知するようにしてもよい。
なお、上述の各実施形態は、記憶装置(ROM、RAM、ハードディスク等)に格納された上述の処理手順をCPUに実行させることができるプログラムを、CPUに実行させることによっても実現できる。この場合、当該プログラムは、記録媒体を介して記憶装置内に格納された上で実行されてもよいし、記録媒体上から直接実行されてもよい。ここでの記録媒体は、ROMやRAM、フラッシュメモリ等の半導体メモリ、フレキシブルディスクやハードディスク等の磁気ディスクメモリ、CD−ROMやDVD、BD等の光ディスク、メモリカード等の記録媒体をいう。また、ここでいう記録媒体は、電話回線や搬送路等の通信媒体も含む概念である。
なお、図2に示した各機能ブロックは、集積回路であるLSIとして実現されてもよい。これらの機能ブロックは、1チップ化されていてもよいし、一部又は全てを含むように1チップ化されていてもよい。ここでは、LSIといったが、集積度の違いによっては、IC、システムLSI、スーパーLSI、ウルトラLSIと称呼されることもある。また、集積回路化の手法は、LSIに限られるものではなく、専用回路または汎用プロセッサで集積回路化を行ってもよい。また、LSI製造後にプログラムすることが可能なFPGA(Field Programmable Gate Array)や、LSI内部の回路セルの接続や設定を再構成可能なリコンフィギュラブル・プロセッサーを用いてもよい。さらには、半導体技術の進歩または派生する別技術によりLSIに置き換わる集積回路化の技術が登場すれば、当然、その技術を用いて機能ブロックを集積化してもよい。バイオ技術の適応等が可能性としてあり得る。
以下に、上記各実施形態を実際のネットワークシステムに応用した例について説明する。図23は、本発明の端末を高速電灯線伝送に適用したときのシステム全体の構成を示す図である。図23に示すように、本発明の端末は、デジタルテレビ(DTV)やパーソナルコンピュータ(PC)、DVDレコーダ等のマルチメディア機器と電灯線との間のインタフェースを提供する。マルチメディア機器と本発明の端末との間は、IEEE1394のインタフェースであったり、USBインタフェースであったり、Ethernet(登録商標)インタフェースであったりする。このような構成によって、電灯線を媒体としたマルチメディアデータ等のデジタルデータを高速伝送する通信ネットワークシステムが構成されることとなる。この結果、従来の有線LANのようにネットワークケーブルを新たに敷設するこのなく、家庭、オフィス等に既に設置されている電灯線をそのままネットワーク回線として使用することができる。したがって、コスト面、設置の容易性の面から、その利便性は、極めて大きい。
図23に示した実施形態では、本発明の端末は、既存のマルチメディア機器の信号インタフェースを電灯線通信のインタフェースに変換するアダプタとしての役割を果たしているが、パーソナルコンピュータ、DVDレコーダ、デジタルテレビ、ホームサーバシステムなどのマルチメディア機器に本発明の端末が内蔵されていてもよい。これにより、マルチメディア機器の電源コードを介して、機器間のデータ伝送が可能となる。この場合、アダプタと電灯線とを接続する配線や、IEEE1394ケーブル、USBケーブル、Ethernet(登録商標)ケーブルが不要となり、配線が簡略化されることとなる。
また、電灯線を用いた通信ネットワークシステムは、ルータおよび/またはハブを介して、インターネットや、無線LAN、従来の有線ケーブルのLANに接続することができるので、本発明の通信ネットワークシステムを用いたLANシステムの拡張にも何らの問題も生じない。
また、電灯線伝送により電灯線を介して流される通信データは、電灯線に直接接続された装置に傍受される以外は、無線LANで問題となる傍受によるデータ漏洩の問題の対象とならない。したがって、電灯線伝送方式は、セキュリティの面からも効果を有する。もちろん、電灯線を流れるデータは、たとえば、IPプロトコルにおけるIPSecや、コンテンツ自身の暗号化、その他のDRM方式等で保護されていてもよい。
本発明に係る端末は、無線、電灯線、電話線、テレビアンテナ線等を用いた家庭内ネットワーク等を構築するに際して、ネットワーク接続機能を有する家電製品の通信モジュールとして利用され、親局として稼働するのに最適な位置に設定されている端末を自動的に親局として稼働させることができる。また、本発明に係る端末は、隣家干渉問題や隣接チャネル干渉問題を解決することができる。このように、本発明は、通信分野等に有用である。
101 PLC送受信部
102 制御処理部
103 親局・子局管理モジュール
106 記録装置
1001,1301〜1302 通信システム
1002〜1005,1303〜1307 端末

Claims (4)

  1. それぞれ複数の通信装置を含み、前記複数の通信装置のうちの一つが親局となり、前記親局以外の通信装置が子局となって、前記親局が前記子局による通信媒体へのアクセスを制御する通信システムが複数設置された環境において、前記複数の通信システムのうちの一つの通信システムの親局として動作する通信装置であって、
    親局機能を自通信装置から新しい親局候補の通信装置に移譲するため、前記新しい親局候補である通信装置宛に新しい親局となることの要求を示す要求フレームを送信する要求フレーム送信部と、
    前記要求フレームに対する応答として、前記新しい親局候補である通信装置から新しい親局となることを承諾するか否かを示す情報を含んだ応答フレームを受信する応答フレーム受信部と、
    前記応答フレームに新しい親局となることの承諾を示す情報が含まれていた場合、親局機能の移譲を行うタイミングを示す値を記述したビーコンフレームを定期的に送信するビーコン送信部と、を備え、
    前記親局機能の移譲を行うタイミングを示す値は、ビーコンフレームが送信される毎に1ずつデクリメントされ、前記親局機能の移譲を行うタイミングを示す値が0になるタイミングで親局機能の移譲が行われることを示しており、
    前記ビーコン送信部は、自通信装置が所属する通信システムの子局及び他の通信システムの親局に親局機能の移譲プロセスが実行中であることを通知するために、前記ビーコンフレームに親局機能の移譲プロセスが実行中であることを示す情報をさらに含めて送信する、通信装置。
  2. それぞれ複数の通信装置を含み、前記複数の通信装置のうちの一つが親局となり、前記親局以外の通信装置が子局となって、前記親局が前記子局による通信媒体へのアクセスを制御する通信システムが複数設置された環境において、前記複数の通信システムのうちの一つの通信システムの子局として動作する通信装置であって、
    現在の親局から自通信装置が新しい親局となることの要求を示す要求フレームを受信する要求フレーム受信部と、
    前記要求フレームに対する応答として、前記現在の親局宛に自通信装置が新しい親局となることを承諾するか否かを示す情報を含んだ応答フレームを送信する応答フレーム受信部と、
    前記応答フレームに新しい親局となることの承諾を示す情報を含めて送信した場合、前記現在の親局から親局機能の移譲を行うタイミングを示す値を記述したビーコンフレームを定期的に受信し、前記親局機能の移譲を行うタイミングを示す値はビーコンフレームが送信される毎に1ずつデクリメントされる、ビーコン受信部と、
    前記親局機能の移譲を行うタイミングを示す値が0になるタイミングでビーコンフレームの定期的な送信を開始するビーコン送信部と、を備え、
    前記親局から送信されるビーコンフレームは、自通信装置が所属する通信システムの子局及び他の通信システムの親局に親局機能の移譲プロセスが実行中であることを通知するために、親局機能の移譲プロセスが実行中であることを示す情報をさらに含み、
    前記自通信装置から送信するビーコンフレームは、自通信装置が所属する通信システムの子局及び他の通信システムの親局に親局機能の移譲プロセスが実行中でないことを通知するために、親局機能の移譲プロセスが実行中でないことを示す情報を含む、通信装置。
  3. それぞれ複数の通信装置を含み、前記複数の通信装置のうちの一つが親局となり、前記親局以外の通信装置が子局となって、前記親局が前記子局による通信媒体へのアクセスを制御する通信システムが複数設置された環境において、前記複数の通信システムのうちの一つの通信システムの親局として動作する通信装置が用いる通信方法であって、
    親局機能を自通信装置から新しい親局候補の通信装置に移譲するため、前記新しい親局候補である通信装置宛に新しい親局となることの要求を示す要求フレームを送信し、
    前記要求フレームに対する応答として、前記新しい親局候補である通信装置から新しい親局となることを承諾するか否かを示す情報を含んだ応答フレームを受信し、
    前記応答フレームに新しい親局となることの承諾を示す情報が含まれていた場合、親局機能の移譲を行うタイミングを示す値を記述したビーコンフレームを定期的に送信し、
    前記親局機能の移譲を行うタイミングを示す値は、ビーコンフレームが送信される毎に1ずつデクリメントされ、前記親局機能の移譲を行うタイミングを示す値が0になるタイミングで親局機能の移譲が行われることを示しており、
    自通信装置が所属する通信システムの子局及び他の通信システムの親局に親局機能の移譲プロセスが実行中であることを通知するために、前記ビーコンフレームに親局機能の移譲プロセスが実行中であることを示す情報を含める、通信方法。
  4. それぞれ複数の通信装置を含み、前記複数の通信装置のうちの一つが親局となり、前記親局以外の通信装置が子局となって、前記親局が前記子局による通信媒体へのアクセスを制御する通信システムが複数設置された環境において、前記複数の通信システムのうちの一つの通信システムの子局として動作する通信装置が用いる通信方法であって、
    現在の親局から自通信装置が新しい親局となることの要求を示す要求フレームを受信し、
    前記要求フレームに対する応答として、前記現在の親局宛に自通信装置が新しい親局となることを承諾するか否かを示す情報を含んだ応答フレームを送信し、
    前記応答フレームに新しい親局となることの承諾を示す情報を含めて送信した場合、前記現在の親局から親局機能の移譲を行うタイミングを示す値を記述したビーコンフレームを定期的に受信し、前記親局機能の移譲を行うタイミングを示す値はビーコンフレームが送信される毎に1ずつデクリメントされており、
    前記親局機能の移譲を行うタイミングを示す値が0になるタイミングでビーコンフレームの定期的な送信を開始し、
    前記現在の親局から送信されるビーコンフレームは、自通信装置が所属する通信システムの子局及び他の通信システムの親局に親局機能の移譲プロセスが実行中であることを通知するために、親局機能の移譲プロセスが実行中であることを示す情報を含み、
    前記自通信装置から送信するビーコンフレームは、自通信装置が所属する通信システムの子局及び他の通信システムの親局に親局機能の移譲プロセスが実行中でないことを通知するために、親局機能の移譲プロセスが実行中でないことを示す情報を含める、通信方法。
JP2009210756A 2003-08-06 2009-09-11 メディアアクセス通信システムにおける親局移譲用の端末装置および方法 Expired - Lifetime JP4938832B2 (ja)

Priority Applications (1)

Application Number Priority Date Filing Date Title
JP2009210756A JP4938832B2 (ja) 2003-08-06 2009-09-11 メディアアクセス通信システムにおける親局移譲用の端末装置および方法

Applications Claiming Priority (5)

Application Number Priority Date Filing Date Title
JP2003288091 2003-08-06
JP2003288091 2003-08-06
JP2004062871 2004-03-05
JP2004062871 2004-03-05
JP2009210756A JP4938832B2 (ja) 2003-08-06 2009-09-11 メディアアクセス通信システムにおける親局移譲用の端末装置および方法

Related Parent Applications (1)

Application Number Title Priority Date Filing Date
JP2006519259A Division JP4416792B2 (ja) 2003-08-06 2004-08-04 メディアアクセス通信システムにおける親局移譲用の端末装置および方法

Publications (2)

Publication Number Publication Date
JP2010045800A true JP2010045800A (ja) 2010-02-25
JP4938832B2 JP4938832B2 (ja) 2012-05-23

Family

ID=34117967

Family Applications (2)

Application Number Title Priority Date Filing Date
JP2006519259A Expired - Lifetime JP4416792B2 (ja) 2003-08-06 2004-08-04 メディアアクセス通信システムにおける親局移譲用の端末装置および方法
JP2009210756A Expired - Lifetime JP4938832B2 (ja) 2003-08-06 2009-09-11 メディアアクセス通信システムにおける親局移譲用の端末装置および方法

Family Applications Before (1)

Application Number Title Priority Date Filing Date
JP2006519259A Expired - Lifetime JP4416792B2 (ja) 2003-08-06 2004-08-04 メディアアクセス通信システムにおける親局移譲用の端末装置および方法

Country Status (8)

Country Link
US (2) US7447746B2 (ja)
EP (1) EP1652348B1 (ja)
JP (2) JP4416792B2 (ja)
KR (2) KR101094008B1 (ja)
DE (1) DE602004014935D1 (ja)
ES (1) ES2308241T3 (ja)
TW (2) TWI455550B (ja)
WO (1) WO2005015842A1 (ja)

Cited By (2)

* Cited by examiner, † Cited by third party
Publication number Priority date Publication date Assignee Title
JP2012015581A (ja) * 2010-06-29 2012-01-19 Mitsubishi Electric Corp Ofdm通信システム
JP2016208123A (ja) * 2015-04-16 2016-12-08 シャープ株式会社 無線テレメータシステム及び無線通信装置

Families Citing this family (60)

* Cited by examiner, † Cited by third party
Publication number Priority date Publication date Assignee Title
KR100893860B1 (ko) * 2004-06-10 2009-04-20 엘지전자 주식회사 광대역 무선 접속 시스템에 적용되는 핸드오버 수행 방법및 핸드오버 실패시 통신 재개 방법
US20060072525A1 (en) * 2004-09-23 2006-04-06 Jason Hillyard Method and system for role management for complex bluetooth® devices
US7881757B2 (en) * 2004-12-21 2011-02-01 Panasonic Corporation Power management method of wireless nodes
KR100715793B1 (ko) 2005-03-03 2007-05-08 엘지전자 주식회사 마스터/슬레이브 선택 장치가 구비된 호 장비를 이용하여이동통신 단말기의 핸드오버를 분석하는 시스템 및 방법.
US7995600B2 (en) * 2005-03-25 2011-08-09 Honeywell International Inc. Monitoring receiver having virtual receiver and line numbers
JP4250611B2 (ja) * 2005-04-27 2009-04-08 キヤノン株式会社 通信装置、通信パラメータ設定方法及び通信方法
JP4900891B2 (ja) * 2005-04-27 2012-03-21 キヤノン株式会社 通信装置及び通信方法
JP4006452B2 (ja) * 2005-06-13 2007-11-14 キヤノン株式会社 通信装置、通信方法及びその通信方法をコンピュータに実行させるためのコンピュータプログラム
US7606199B2 (en) * 2005-07-14 2009-10-20 Sharp Laboratories Of America, Inc. Central coordinator selection, handover, backup and failure recovery
JP4814336B2 (ja) * 2005-10-26 2011-11-16 クゥアルコム・インコーポレイテッド 公平性を達成するマルチ・キャリアmacにおける資源利用メッセージの使用
US8918114B2 (en) 2005-10-26 2014-12-23 Qualcomm Incorporated Using resource utilization messages in a multi-carrier MAC to achieve fairness
US8942161B2 (en) 2005-10-26 2015-01-27 Qualcomm Incorporated Weighted fair sharing of a wireless channel using resource utilization masks
US8081592B2 (en) 2005-10-26 2011-12-20 Qualcomm Incorporated Flexible medium access control (MAC) for ad hoc deployed wireless networks
US9204428B2 (en) 2005-10-26 2015-12-01 Qualcomm Incorporated Interference management using resource utilization masks sent at constant PSD
WO2007081175A1 (en) * 2006-01-12 2007-07-19 Samsung Electronics Co., Ltd. Method and apparatus for supporting a handover using an interactive channel in a dvb-h cbms system
JP2007208385A (ja) * 2006-01-31 2007-08-16 Matsushita Electric Ind Co Ltd 電力線通信端末装置及び電力線通信システム
DE602006016571D1 (de) * 2006-05-26 2010-10-14 Fondazione Torino Wireless Kunststoffglasfasernetz für elektronische Steuereinheiten und Leistungselektronik in By-Wire-Fahrzeugen
CN101682530B (zh) 2006-08-31 2012-06-27 Lg电子株式会社 在无线网络中变更信道及配置子网络的方法
EP2060143A4 (en) 2006-08-31 2011-02-16 Lg Electronics Inc COMMUNICATION METHODS IN A WIRELESS NETWORK
KR100885446B1 (ko) * 2006-08-31 2009-02-24 엘지전자 주식회사 무선 네트워크에서의 채널 변경 방법 및 서브 네트워크구성 방법
KR100846796B1 (ko) * 2006-10-02 2008-07-16 삼성전자주식회사 고주파 대역을 통하여 데이터를 송수신하기 위한 무선네트워크에서의 핸드오버 방법 및 장치
JP4886463B2 (ja) 2006-10-20 2012-02-29 キヤノン株式会社 通信パラメータ設定方法、通信装置及び通信パラメータを管理する管理装置
EP1976185B1 (en) * 2007-03-27 2019-05-01 Nokia Solutions and Networks GmbH & Co. KG Operating network entities in a communication system comprising a management network with agent and management levels
US8401001B2 (en) * 2007-03-28 2013-03-19 Intel Corporation Method and apparatus of connectivity recovery in wireless network
WO2009040993A1 (ja) * 2007-09-27 2009-04-02 Panasonic Corporation 電力線通信システム、及び電力線通信装置
JPWO2009060555A1 (ja) * 2007-11-09 2011-03-17 パナソニック株式会社 電力線通信装置
JP4859816B2 (ja) * 2007-11-19 2012-01-25 三菱電機株式会社 配電線搬送システムおよび電線搬送システム
US8024596B2 (en) * 2008-04-29 2011-09-20 Bose Corporation Personal wireless network power-based task distribution
US7995964B2 (en) * 2008-06-24 2011-08-09 Bose Corporation Personal wireless network capabilities-based task portion distribution
US8090317B2 (en) * 2008-08-01 2012-01-03 Bose Corporation Personal wireless network user behavior based topology
JP5121668B2 (ja) * 2008-10-22 2013-01-16 キヤノン株式会社 通信装置、通信装置の制御方法、プログラム
JPWO2010064654A1 (ja) * 2008-12-03 2012-05-10 三菱電機株式会社 通信装置および通信方法
JP5303416B2 (ja) * 2009-09-29 2013-10-02 Kddi株式会社 ネットワーク内において所定の機能を実行する装置が分散する様に変更する方法、該方法のための通信装置及びプログラム
JP5351713B2 (ja) * 2009-11-05 2013-11-27 Kddi株式会社 所定の機能を実行する通信装置を、通信装置が有する値に基づく密度で選択する方法、該方法のための通信装置及びプログラム
EP2427022B1 (en) * 2010-09-06 2016-11-09 ABB Research Ltd. Method for reassigning the role of a wireless node in a wireless network
US8923278B2 (en) * 2011-01-10 2014-12-30 Vtech Telecommunications Limited Peer-to-peer, internet protocol telephone system with system-wide configuration data
US8787195B2 (en) * 2011-06-29 2014-07-22 Texas Instruments Incorporated Beacon selection in communication networks
US9686131B2 (en) * 2011-12-14 2017-06-20 Moxa Inc. System, gateway, and method for automatic setting configuration by learning commands
US9445221B2 (en) * 2012-01-23 2016-09-13 Samsung Electronics Co., Ltd. Method and system for switching coordinator in a personal area network
US8929934B2 (en) * 2012-04-25 2015-01-06 Intel Mobile Communications GmbH Communication devices and methods for operating a communication device
US9398631B2 (en) * 2012-08-30 2016-07-19 Htc Corporation Method for establishing communications between peer devices, wireless communication device using the same and computer-readable medium
JP5885627B2 (ja) * 2012-09-20 2016-03-15 三菱電機株式会社 モデムシステム
US9078072B2 (en) * 2013-10-07 2015-07-07 Bose Corporation Audio distribution
CN103713589B (zh) * 2013-11-18 2017-06-23 国家电网公司 一种基于EtherCAT网络通讯的系统的图形化配置方法
US9712981B2 (en) * 2014-03-25 2017-07-18 Qualcomm Incorporated Client ID and multi-application support for reception reporting
WO2015195006A1 (en) * 2014-06-18 2015-12-23 Telefonaktiebolaget L M Ericsson (Publ) Methods and devices for maintaining a device-operated function
WO2016026144A1 (zh) * 2014-08-22 2016-02-25 华为技术有限公司 一种通过WPS建立网络连接的方法及移动Wi-Fi设备
KR102315701B1 (ko) 2014-08-26 2021-10-21 삼성전자 주식회사 사물 인터넷 기기간 간섭 제어 방법 및 장치
US10176012B2 (en) 2014-12-12 2019-01-08 Nxp Usa, Inc. Method and apparatus for implementing deterministic response frame transmission
US10505757B2 (en) 2014-12-12 2019-12-10 Nxp Usa, Inc. Network interface module and a method of changing network configuration parameters within a network device
US10122576B2 (en) 2015-03-17 2018-11-06 Microsoft Technology Licensing, Llc Intelligent role selection for dual-role devices
US10091767B2 (en) * 2015-08-20 2018-10-02 Toshiba Memory Corporation Communication apparatus and communication method
KR102447462B1 (ko) * 2015-12-16 2022-09-23 에스케이플래닛 주식회사 비콘 네트워크 구축 방법, 이를 위한 장치 및 시스템
JP2017123595A (ja) * 2016-01-08 2017-07-13 株式会社日立情報通信エンジニアリング 制御装置および機能切替方法ならびに機能切替プログラム
US10628352B2 (en) 2016-07-19 2020-04-21 Nxp Usa, Inc. Heterogeneous multi-processor device and method of enabling coherent data access within a heterogeneous multi-processor device
EP3349366B1 (en) * 2017-01-17 2020-10-21 Nxp B.V. Method and apparatus for dynamically assigning master/slave roles within a distributed antenna diversity receiver apparatus
JP7386052B2 (ja) * 2019-08-22 2023-11-24 パナソニックホールディングス株式会社 無線通信装置、及び、通知方法
WO2021033762A1 (ja) * 2019-08-22 2021-02-25 パナソニック株式会社 無線通信装置、及び、通知方法
JP7316190B2 (ja) * 2019-10-29 2023-07-27 パナソニックホールディングス株式会社 基地局、及び、通知方法
CN119138052A (zh) * 2022-04-29 2024-12-13 诺基亚技术有限公司 定位参考单元功能的移交

Citations (4)

* Cited by examiner, † Cited by third party
Publication number Priority date Publication date Assignee Title
JPS62194757A (ja) * 1986-02-20 1987-08-27 Omron Tateisi Electronics Co 無線デ−タ伝送システム
JPH10308697A (ja) * 1997-05-07 1998-11-17 Sharp Corp 時分割ディジタル移動無線通信システム
JP2002190806A (ja) * 2000-12-20 2002-07-05 Matsushita Electric Ind Co Ltd 無線通信システム、媒体及びプログラム
JP2003134124A (ja) * 2001-10-29 2003-05-09 Sharp Corp ネットワークシステム、ネットワークシステムにおける制御局交代方法、ネットワークシステムにおける監視局交代方法、及びネットワークシステムで用いられる端末機器

Family Cites Families (16)

* Cited by examiner, † Cited by third party
Publication number Priority date Publication date Assignee Title
JP3372612B2 (ja) * 1992-11-09 2003-02-04 キヤノン株式会社 デジタルコードレス電話システム
JPH07284141A (ja) * 1994-04-08 1995-10-27 Oki Electric Ind Co Ltd ハンドオーバ方法
JP3740252B2 (ja) 1997-06-13 2006-02-01 キヤノン株式会社 無線通信装置
US6751196B1 (en) 1997-08-27 2004-06-15 Philips Electronics North America Corp. Apparatus and method for peer-to-peer link monitoring of a wireless network with centralized control
US6363416B1 (en) * 1998-08-28 2002-03-26 3Com Corporation System and method for automatic election of a representative node within a communications network with built-in redundancy
SE514264C2 (sv) * 1999-05-07 2001-01-29 Ericsson Telefon Ab L M Ett kommunikationssystem
US6430395B2 (en) * 2000-04-07 2002-08-06 Commil Ltd. Wireless private branch exchange (WPBX) and communicating between mobile units and base stations
US6834192B1 (en) * 2000-07-03 2004-12-21 Nokia Corporation Method, and associated apparatus, for effectuating handover of communications in a bluetooth, or other, radio communication system
JP3417905B2 (ja) * 2000-07-06 2003-06-16 株式会社東芝 携帯機器、無線通信システム、および携帯機器の動作状態制御方法
EP1244326A1 (en) * 2000-11-30 2002-09-25 Mitsubishi Denki Kabushiki Kaisha House code setting method and power line transport communication system
US7222166B2 (en) * 2001-01-25 2007-05-22 Bandspeed, Inc. Approach for managing communications channels based on performance and transferring functions between participants in a communications arrangement
KR100881743B1 (ko) * 2001-05-01 2009-02-06 코닌클리케 필립스 일렉트로닉스 엔.브이. 현재 무선 접속된 슬레이브 유닛의 핸드오프를 수행하는 방법 및 무선 통신 장치, 및 통신 유닛
KR100429606B1 (ko) * 2001-07-28 2004-05-04 삼성전자주식회사 이동 통신 시스템에서 블루투스 통신을 이용한 멀티미디어서비스 시스템 및 방법
DE60110064T2 (de) * 2001-09-03 2006-03-02 Sony International (Europe) Gmbh Optimierung des Datenverkehrs in einem feststehenden ad-hoc Netz
EP1324540B1 (en) * 2001-12-28 2011-08-17 Fujitsu Toshiba Mobile Communications Limited Radio communication device
US6879574B2 (en) * 2002-06-24 2005-04-12 Nokia Corporation Mobile mesh Ad-Hoc networking

Patent Citations (4)

* Cited by examiner, † Cited by third party
Publication number Priority date Publication date Assignee Title
JPS62194757A (ja) * 1986-02-20 1987-08-27 Omron Tateisi Electronics Co 無線デ−タ伝送システム
JPH10308697A (ja) * 1997-05-07 1998-11-17 Sharp Corp 時分割ディジタル移動無線通信システム
JP2002190806A (ja) * 2000-12-20 2002-07-05 Matsushita Electric Ind Co Ltd 無線通信システム、媒体及びプログラム
JP2003134124A (ja) * 2001-10-29 2003-05-09 Sharp Corp ネットワークシステム、ネットワークシステムにおける制御局交代方法、ネットワークシステムにおける監視局交代方法、及びネットワークシステムで用いられる端末機器

Cited By (2)

* Cited by examiner, † Cited by third party
Publication number Priority date Publication date Assignee Title
JP2012015581A (ja) * 2010-06-29 2012-01-19 Mitsubishi Electric Corp Ofdm通信システム
JP2016208123A (ja) * 2015-04-16 2016-12-08 シャープ株式会社 無線テレメータシステム及び無線通信装置

Also Published As

Publication number Publication date
TW200516935A (en) 2005-05-16
TW201141167A (en) 2011-11-16
DE602004014935D1 (de) 2008-08-21
KR101076151B1 (ko) 2011-10-21
ES2308241T3 (es) 2008-12-01
JP4938832B2 (ja) 2012-05-23
US8155082B2 (en) 2012-04-10
KR20110018941A (ko) 2011-02-24
KR101094008B1 (ko) 2011-12-15
WO2005015842A1 (en) 2005-02-17
TWI455550B (zh) 2014-10-01
JP2007529158A (ja) 2007-10-18
KR20060066071A (ko) 2006-06-15
US7447746B2 (en) 2008-11-04
US20090034477A1 (en) 2009-02-05
US20050033816A1 (en) 2005-02-10
EP1652348A1 (en) 2006-05-03
TWI374647B (en) 2012-10-11
EP1652348B1 (en) 2008-07-09
JP4416792B2 (ja) 2010-02-17

Similar Documents

Publication Publication Date Title
JP4938832B2 (ja) メディアアクセス通信システムにおける親局移譲用の端末装置および方法
US7675882B2 (en) Hierarchical mesh network for wireless access
US7082114B1 (en) System and method for a wireless unit acquiring a new internet protocol address when roaming between two subnets
US9241332B2 (en) System and method for managing resources in a communication system
US8488627B2 (en) Multi-communications-media network device
JP5438810B2 (ja) 制御局の代理が可能な端末
CN104756543A (zh) 多信道无线通信系统、基站、信道利用方法
US7792137B2 (en) Self-organized and self-managed ad hoc communications network
WO2013091468A1 (zh) 电力线通信网络中的处理方法和CCo
US7460555B2 (en) Terminal apparatus
NO337846B1 (no) Fremgangsmåte for multihopp datatransmisjon i et ad-hoc nettverk omfattende skjulte noder
KR101192415B1 (ko) M2m 네트워크 제공방법 및 m2m 네트워크 단말
JP3400061B2 (ja) 無線通信システムとその無線通信端末
JP5213862B2 (ja) ワイヤレスネットワーク
CN100474827C (zh) 用于介质访问通信系统中主从交接的终端设备和方法
KR20110068751A (ko) 무선 통신 네트워크에서 릴레이 접속을 지원하는 통신 방법 및 장치
JP4370292B2 (ja) 端末装置
WO2011091630A1 (zh) 无线保真网络中数据传输的方法及系统
WO2025180183A1 (zh) 一种数据传输方法和相关设备
WO2025139968A1 (zh) 一种资源分配方法及相关装置
KR20140081170A (ko) 하이브리드 타입의 802.11 표준의 멀티 채널 매체 접속 제어 프로토콜

Legal Events

Date Code Title Description
RD02 Notification of acceptance of power of attorney

Free format text: JAPANESE INTERMEDIATE CODE: A7422

Effective date: 20110826

A977 Report on retrieval

Free format text: JAPANESE INTERMEDIATE CODE: A971007

Effective date: 20110927

A131 Notification of reasons for refusal

Free format text: JAPANESE INTERMEDIATE CODE: A131

Effective date: 20111004

A521 Request for written amendment filed

Free format text: JAPANESE INTERMEDIATE CODE: A523

Effective date: 20111202

A131 Notification of reasons for refusal

Free format text: JAPANESE INTERMEDIATE CODE: A131

Effective date: 20111221

A521 Request for written amendment filed

Free format text: JAPANESE INTERMEDIATE CODE: A523

Effective date: 20120111

TRDD Decision of grant or rejection written
A01 Written decision to grant a patent or to grant a registration (utility model)

Free format text: JAPANESE INTERMEDIATE CODE: A01

Effective date: 20120203

A01 Written decision to grant a patent or to grant a registration (utility model)

Free format text: JAPANESE INTERMEDIATE CODE: A01

A61 First payment of annual fees (during grant procedure)

Free format text: JAPANESE INTERMEDIATE CODE: A61

Effective date: 20120223

FPAY Renewal fee payment (event date is renewal date of database)

Free format text: PAYMENT UNTIL: 20150302

Year of fee payment: 3

R150 Certificate of patent or registration of utility model

Ref document number: 4938832

Country of ref document: JP

Free format text: JAPANESE INTERMEDIATE CODE: R150

Free format text: JAPANESE INTERMEDIATE CODE: R150

EXPY Cancellation because of completion of term