JP2010045324A - 電子回路基板及び電子制御装置 - Google Patents

電子回路基板及び電子制御装置 Download PDF

Info

Publication number
JP2010045324A
JP2010045324A JP2009009145A JP2009009145A JP2010045324A JP 2010045324 A JP2010045324 A JP 2010045324A JP 2009009145 A JP2009009145 A JP 2009009145A JP 2009009145 A JP2009009145 A JP 2009009145A JP 2010045324 A JP2010045324 A JP 2010045324A
Authority
JP
Japan
Prior art keywords
circuit board
electronic circuit
pattern
terminals
large area
Prior art date
Legal status (The legal status is an assumption and is not a legal conclusion. Google has not performed a legal analysis and makes no representation as to the accuracy of the status listed.)
Granted
Application number
JP2009009145A
Other languages
English (en)
Other versions
JP5077250B2 (ja
Inventor
Koji Ueda
浩二 上田
Current Assignee (The listed assignees may be inaccurate. Google has not performed a legal analysis and makes no representation or warranty as to the accuracy of the list.)
Denso Corp
Original Assignee
Denso Corp
Priority date (The priority date is an assumption and is not a legal conclusion. Google has not performed a legal analysis and makes no representation as to the accuracy of the date listed.)
Filing date
Publication date
Application filed by Denso Corp filed Critical Denso Corp
Priority to JP2009009145A priority Critical patent/JP5077250B2/ja
Priority to US12/457,219 priority patent/US20090316375A1/en
Priority to DE102009025267.3A priority patent/DE102009025267B4/de
Publication of JP2010045324A publication Critical patent/JP2010045324A/ja
Application granted granted Critical
Publication of JP5077250B2 publication Critical patent/JP5077250B2/ja
Active legal-status Critical Current
Anticipated expiration legal-status Critical

Links

Images

Classifications

    • HELECTRICITY
    • H05ELECTRIC TECHNIQUES NOT OTHERWISE PROVIDED FOR
    • H05KPRINTED CIRCUITS; CASINGS OR CONSTRUCTIONAL DETAILS OF ELECTRIC APPARATUS; MANUFACTURE OF ASSEMBLAGES OF ELECTRICAL COMPONENTS
    • H05K3/00Apparatus or processes for manufacturing printed circuits
    • H05K3/30Assembling printed circuits with electric components, e.g. with resistor
    • H05K3/32Assembling printed circuits with electric components, e.g. with resistor electrically connecting electric components or wires to printed circuits
    • H05K3/34Assembling printed circuits with electric components, e.g. with resistor electrically connecting electric components or wires to printed circuits by soldering
    • H05K3/3494Heating methods for reflowing of solder
    • HELECTRICITY
    • H05ELECTRIC TECHNIQUES NOT OTHERWISE PROVIDED FOR
    • H05KPRINTED CIRCUITS; CASINGS OR CONSTRUCTIONAL DETAILS OF ELECTRIC APPARATUS; MANUFACTURE OF ASSEMBLAGES OF ELECTRICAL COMPONENTS
    • H05K1/00Printed circuits
    • H05K1/02Details
    • H05K1/0201Thermal arrangements, e.g. for cooling, heating or preventing overheating
    • H05K1/0212Printed circuits or mounted components having integral heating means
    • HELECTRICITY
    • H05ELECTRIC TECHNIQUES NOT OTHERWISE PROVIDED FOR
    • H05KPRINTED CIRCUITS; CASINGS OR CONSTRUCTIONAL DETAILS OF ELECTRIC APPARATUS; MANUFACTURE OF ASSEMBLAGES OF ELECTRICAL COMPONENTS
    • H05K1/00Printed circuits
    • H05K1/02Details
    • H05K1/11Printed elements for providing electric connections to or between printed circuits
    • H05K1/111Pads for surface mounting, e.g. lay-out
    • HELECTRICITY
    • H05ELECTRIC TECHNIQUES NOT OTHERWISE PROVIDED FOR
    • H05KPRINTED CIRCUITS; CASINGS OR CONSTRUCTIONAL DETAILS OF ELECTRIC APPARATUS; MANUFACTURE OF ASSEMBLAGES OF ELECTRICAL COMPONENTS
    • H05K1/00Printed circuits
    • H05K1/02Details
    • H05K1/0201Thermal arrangements, e.g. for cooling, heating or preventing overheating
    • H05K1/0203Cooling of mounted components
    • H05K1/0204Cooling of mounted components using means for thermal conduction connection in the thickness direction of the substrate
    • H05K1/0206Cooling of mounted components using means for thermal conduction connection in the thickness direction of the substrate by printed thermal vias
    • HELECTRICITY
    • H05ELECTRIC TECHNIQUES NOT OTHERWISE PROVIDED FOR
    • H05KPRINTED CIRCUITS; CASINGS OR CONSTRUCTIONAL DETAILS OF ELECTRIC APPARATUS; MANUFACTURE OF ASSEMBLAGES OF ELECTRICAL COMPONENTS
    • H05K1/00Printed circuits
    • H05K1/02Details
    • H05K1/11Printed elements for providing electric connections to or between printed circuits
    • H05K1/111Pads for surface mounting, e.g. lay-out
    • H05K1/112Pads for surface mounting, e.g. lay-out directly combined with via connections
    • H05K1/113Via provided in pad; Pad over filled via
    • HELECTRICITY
    • H05ELECTRIC TECHNIQUES NOT OTHERWISE PROVIDED FOR
    • H05KPRINTED CIRCUITS; CASINGS OR CONSTRUCTIONAL DETAILS OF ELECTRIC APPARATUS; MANUFACTURE OF ASSEMBLAGES OF ELECTRICAL COMPONENTS
    • H05K2201/00Indexing scheme relating to printed circuits covered by H05K1/00
    • H05K2201/09Shape and layout
    • H05K2201/09209Shape and layout details of conductors
    • H05K2201/09218Conductive traces
    • H05K2201/09263Meander
    • HELECTRICITY
    • H05ELECTRIC TECHNIQUES NOT OTHERWISE PROVIDED FOR
    • H05KPRINTED CIRCUITS; CASINGS OR CONSTRUCTIONAL DETAILS OF ELECTRIC APPARATUS; MANUFACTURE OF ASSEMBLAGES OF ELECTRICAL COMPONENTS
    • H05K2201/00Indexing scheme relating to printed circuits covered by H05K1/00
    • H05K2201/09Shape and layout
    • H05K2201/09209Shape and layout details of conductors
    • H05K2201/0929Conductive planes
    • H05K2201/09363Conductive planes wherein only contours around conductors are removed for insulation
    • HELECTRICITY
    • H05ELECTRIC TECHNIQUES NOT OTHERWISE PROVIDED FOR
    • H05KPRINTED CIRCUITS; CASINGS OR CONSTRUCTIONAL DETAILS OF ELECTRIC APPARATUS; MANUFACTURE OF ASSEMBLAGES OF ELECTRICAL COMPONENTS
    • H05K2201/00Indexing scheme relating to printed circuits covered by H05K1/00
    • H05K2201/09Shape and layout
    • H05K2201/09209Shape and layout details of conductors
    • H05K2201/09372Pads and lands
    • H05K2201/09381Shape of non-curved single flat metallic pad, land or exposed part thereof; Shape of electrode of leadless component
    • HELECTRICITY
    • H05ELECTRIC TECHNIQUES NOT OTHERWISE PROVIDED FOR
    • H05KPRINTED CIRCUITS; CASINGS OR CONSTRUCTIONAL DETAILS OF ELECTRIC APPARATUS; MANUFACTURE OF ASSEMBLAGES OF ELECTRICAL COMPONENTS
    • H05K2201/00Indexing scheme relating to printed circuits covered by H05K1/00
    • H05K2201/09Shape and layout
    • H05K2201/09209Shape and layout details of conductors
    • H05K2201/09654Shape and layout details of conductors covering at least two types of conductors provided for in H05K2201/09218 - H05K2201/095
    • H05K2201/09663Divided layout, i.e. conductors divided in two or more parts
    • HELECTRICITY
    • H05ELECTRIC TECHNIQUES NOT OTHERWISE PROVIDED FOR
    • H05KPRINTED CIRCUITS; CASINGS OR CONSTRUCTIONAL DETAILS OF ELECTRIC APPARATUS; MANUFACTURE OF ASSEMBLAGES OF ELECTRICAL COMPONENTS
    • H05K2201/00Indexing scheme relating to printed circuits covered by H05K1/00
    • H05K2201/09Shape and layout
    • H05K2201/09209Shape and layout details of conductors
    • H05K2201/09654Shape and layout details of conductors covering at least two types of conductors provided for in H05K2201/09218 - H05K2201/095
    • H05K2201/09781Dummy conductors, i.e. not used for normal transport of current; Dummy electrodes of components
    • HELECTRICITY
    • H05ELECTRIC TECHNIQUES NOT OTHERWISE PROVIDED FOR
    • H05KPRINTED CIRCUITS; CASINGS OR CONSTRUCTIONAL DETAILS OF ELECTRIC APPARATUS; MANUFACTURE OF ASSEMBLAGES OF ELECTRICAL COMPONENTS
    • H05K2201/00Indexing scheme relating to printed circuits covered by H05K1/00
    • H05K2201/09Shape and layout
    • H05K2201/09818Shape or layout details not covered by a single group of H05K2201/09009 - H05K2201/09809
    • H05K2201/099Coating over pads, e.g. solder resist partly over pads
    • HELECTRICITY
    • H05ELECTRIC TECHNIQUES NOT OTHERWISE PROVIDED FOR
    • H05KPRINTED CIRCUITS; CASINGS OR CONSTRUCTIONAL DETAILS OF ELECTRIC APPARATUS; MANUFACTURE OF ASSEMBLAGES OF ELECTRICAL COMPONENTS
    • H05K2201/00Indexing scheme relating to printed circuits covered by H05K1/00
    • H05K2201/10Details of components or other objects attached to or integrated in a printed circuit board
    • H05K2201/10007Types of components
    • H05K2201/10015Non-printed capacitor
    • HELECTRICITY
    • H05ELECTRIC TECHNIQUES NOT OTHERWISE PROVIDED FOR
    • H05KPRINTED CIRCUITS; CASINGS OR CONSTRUCTIONAL DETAILS OF ELECTRIC APPARATUS; MANUFACTURE OF ASSEMBLAGES OF ELECTRICAL COMPONENTS
    • H05K2201/00Indexing scheme relating to printed circuits covered by H05K1/00
    • H05K2201/10Details of components or other objects attached to or integrated in a printed circuit board
    • H05K2201/10007Types of components
    • H05K2201/1003Non-printed inductor
    • HELECTRICITY
    • H05ELECTRIC TECHNIQUES NOT OTHERWISE PROVIDED FOR
    • H05KPRINTED CIRCUITS; CASINGS OR CONSTRUCTIONAL DETAILS OF ELECTRIC APPARATUS; MANUFACTURE OF ASSEMBLAGES OF ELECTRICAL COMPONENTS
    • H05K3/00Apparatus or processes for manufacturing printed circuits
    • H05K3/30Assembling printed circuits with electric components, e.g. with resistor
    • H05K3/32Assembling printed circuits with electric components, e.g. with resistor electrically connecting electric components or wires to printed circuits
    • H05K3/34Assembling printed circuits with electric components, e.g. with resistor electrically connecting electric components or wires to printed circuits by soldering
    • H05K3/341Surface mounted components
    • H05K3/3431Leadless components
    • H05K3/3442Leadless components having edge contacts, e.g. leadless chip capacitors, chip carriers
    • HELECTRICITY
    • H05ELECTRIC TECHNIQUES NOT OTHERWISE PROVIDED FOR
    • H05KPRINTED CIRCUITS; CASINGS OR CONSTRUCTIONAL DETAILS OF ELECTRIC APPARATUS; MANUFACTURE OF ASSEMBLAGES OF ELECTRICAL COMPONENTS
    • H05K3/00Apparatus or processes for manufacturing printed circuits
    • H05K3/30Assembling printed circuits with electric components, e.g. with resistor
    • H05K3/32Assembling printed circuits with electric components, e.g. with resistor electrically connecting electric components or wires to printed circuits
    • H05K3/34Assembling printed circuits with electric components, e.g. with resistor electrically connecting electric components or wires to printed circuits by soldering
    • H05K3/3452Solder masks
    • YGENERAL TAGGING OF NEW TECHNOLOGICAL DEVELOPMENTS; GENERAL TAGGING OF CROSS-SECTIONAL TECHNOLOGIES SPANNING OVER SEVERAL SECTIONS OF THE IPC; TECHNICAL SUBJECTS COVERED BY FORMER USPC CROSS-REFERENCE ART COLLECTIONS [XRACs] AND DIGESTS
    • Y02TECHNOLOGIES OR APPLICATIONS FOR MITIGATION OR ADAPTATION AGAINST CLIMATE CHANGE
    • Y02PCLIMATE CHANGE MITIGATION TECHNOLOGIES IN THE PRODUCTION OR PROCESSING OF GOODS
    • Y02P70/00Climate change mitigation technologies in the production process for final industrial or consumer products
    • Y02P70/50Manufacturing or production processes characterised by the final manufactured product
    • YGENERAL TAGGING OF NEW TECHNOLOGICAL DEVELOPMENTS; GENERAL TAGGING OF CROSS-SECTIONAL TECHNOLOGIES SPANNING OVER SEVERAL SECTIONS OF THE IPC; TECHNICAL SUBJECTS COVERED BY FORMER USPC CROSS-REFERENCE ART COLLECTIONS [XRACs] AND DIGESTS
    • Y10TECHNICAL SUBJECTS COVERED BY FORMER USPC
    • Y10TTECHNICAL SUBJECTS COVERED BY FORMER US CLASSIFICATION
    • Y10T29/00Metal working
    • Y10T29/49Method of mechanical manufacture
    • Y10T29/49002Electrical device making
    • Y10T29/49117Conductor or circuit manufacturing
    • Y10T29/49124On flat or curved insulated base, e.g., printed circuit, etc.
    • Y10T29/4913Assembling to base an electrical component, e.g., capacitor, etc.
    • Y10T29/49144Assembling to base an electrical component, e.g., capacitor, etc. by metal fusion

Landscapes

  • Engineering & Computer Science (AREA)
  • Microelectronics & Electronic Packaging (AREA)
  • Manufacturing & Machinery (AREA)
  • Electric Connection Of Electric Components To Printed Circuits (AREA)
  • Structures For Mounting Electric Components On Printed Circuit Boards (AREA)
  • Structure Of Printed Boards (AREA)

Abstract

【課題】リフロー加熱時間を過度に長くすることなく、コイルを有する表面実装型素子をリフロー加熱により基板にはんだ付けしても、はんだ不濡れやはんだ溶融が不十分になるなどのはんだ付け品質の低下を抑制することが可能な電子回路基板を提供する。
【解決手段】電子回路基板12は、その表面に、表面実装型素子14に流すべき電流値を確保するための電流容量によって決まるパターン面積よりも大面積のパターン20,21を有しており、表面実装型素子14の接続端子15,18がはんだ接続されるランド25,28は、その大面積パターン20,21の一部として設けられている。このため、電子回路基板12がリフロー炉内を搬送される際、大面積パターン20,21の集熱効果により、ランド25,28、ひいては表面実装型素子14の接続端子15,18の温度をはんだが十分に溶融する温度まで高めることができる。
【選択図】図2

Description

本発明は、表面実装型素子を実装する電子回路基板及び電子制御装置に関する。
ディーゼルエンジンやガソリン直噴エンジンにおいて、微小燃料の高精度な噴射を実現するためには、燃料噴射弁(インジェクタ)の開閉に高い応答性が求められる。そのため、特許文献1に記載されるように、インジェクタ駆動回路は、バッテリ電圧を昇圧する昇圧回路としてのDC−DCコンバータ及び当該DC−DCコンバータによって昇圧された電圧を蓄えるコンデンサを備えている。そして、インジェクタを駆動する駆動用トランジスタをオンさせる前に、DC−DCコンバータによってコンデンサを充電しておく。これにより、駆動用トランジスタをオンした時に、コンデンサからインジェクタへ大電流が通電されるので、インジェクタの開弁時に高速に開弁駆動することが可能になる。
特開2000−110640号公報
ここで、例えばエンジン回転速度が高くなったときなど、コンデンサからの放電頻度が高まったときにも、インジェクタへ大電流を安定的に供給することが必要である。このため、DC−DCコンバータは、大電流を通電しても磁気飽和しにくく、かつ高インダクタンスを有するパワーチョークコイルを備える必要があり、また、インジェクタに駆動電流を供給するコンデンサとしては、大きなエネルギー量を保持可能な大容量コンデンサを用いる必要がある。
上述したパワーチョークコイルや大容量コンデンサは、体格の大きな大型部品となる。このような大型部品は、温度変化や振動といった厳しい車載環境条件においても、回路基板への実装状態及び電気的接続を確実に維持すべく、通常、端子挿入型部品(THD)として構成される。
しかしながら、端子挿入型部品(THD)の場合、基板裏面への部品実装や基板中間層へのパターン配置を行なうことができず、高密度実装による製品サイズの小型化を測る上で不利となる。そのため、パワーチョークコイルなどを、端子挿入型部品(THD)ではなく、表面実装型部品(SMD)として構成することが考えられる。
ただし、パワーチョークコイルなどの大型部品を表面実装型部品として構成した場合、部品の体格が大きいため、またコイルの場合はコア及び巻き線で構成されるために、熱容量が大きい。このため、表面実装型部品の端子を回路基板のランドにリフロー加熱によってはんだ付けしようとしても、その端子の温度が上がりにくくなってしまう。その結果、はんだ不濡れやはんだ溶融が不十分になるなどはんだ付け品質が低下しやすくなる。このようなことは、鉛フリーはんだを代表とする高融点はんだを用いた場合、より顕著に発生する。
なお、上述した問題は、スポットリフローや手作業によるはんだ付けにより、表面実装型部品を搭載した回路基板を局所的に加熱したり、リフロー加熱時間を長くすることにより、解決できる可能性はあるが、製品加工費の増加や他部品に対する熱ストレスの増加といった問題を新たに生じさせてしまう。
本発明は、上述した点に鑑みてなされたものであり、リフロー加熱時間を過度に長くすることなく、表面実装型素子の端子をリフロー加熱により基板にはんだ付けしても、はんだ不濡れやはんだ溶融が不十分になるなどのはんだ付け品質の低下を抑制することが可能な電子回路基板を提供することを目的とする。
上記目的を達成するために、請求項1に記載の電子回路基板は、
リフロー炉における加熱によって溶融されるはんだにより接続される表面実装型素子を備えた電子回路基板であって、
電子回路基板には、表面実装型素子を含む複数の素子が実装され、前記表面実装型素子は、それら複数の素子において相対的に大きい熱容量を有するものであり、
電子回路基板の表面には、表面実装型素子の端子がはんだ接続されるランドが形成され、当該ランドは、表面実装型素子に流すべき電流値を確保するための電流容量によって決まるパターン面積よりも大面積のパターンの一部として設けられることを特徴とする。
上述したように、請求項1の電子回路基板は、その表面に、表面実装型素子に流すべき電流値を確保するための電流容量によって決まるパターン面積よりも大面積のパターンを有しており、表面実装型素子の端子がはんだ接続されるランドは、その大面積のパターンの一部として設けられている。このため、電子回路基板がリフロー炉内を搬送される際、大面積のパターンの集熱効果により、ランド、ひいては表面実装型素子の端子の温度をはんだが十分に溶融する温度まで高めることができる。その結果、熱容量の大きな表面実装型素子をリフロー加熱により電子回路基板にはんだ付けする場合であっても、はんだ付け品質の低下を抑制することができる。
請求項2に記載したように、表面実装型素子は、コイルを有する素子であっても良い。コイルを内蔵し、端子がそのコイルに接続されている場合、特に端子の熱容量が大きくなる傾向にあるが、請求項1に記載の電子回路基板により、その端子の温度を高めることができるためである。
請求項3に記載したように、大面積のパターンは、レジスト膜によって覆われるとともに、当該レジスト膜がランドに対応する開口部を有し、その開口部から露出された大面積のパターンの一部がランドとなることが好ましい。これにより、大面積のパターンの任意の位置にランドを設けることができ、表面実装型素子の実装位置の設計自由度が向上できる。
請求項4に記載したように、表面実装型素子は、端子として、2個の接続端子と、電子回路基板への固定を補助するための少なくとも1個の固定補助端子とを有し、これらの2個の接続端子及び少なくとも1個の固定補助端子が、ランドにそれぞれはんだ接続されることが好ましい。少なくとも1個の固定補助端子を設け、この固定補助端子をはんだ接続することができるようにランドを設けることにより、接続端子による固定のみならず、固定補助端子を利用した固定も実現でき、より確実に表面実装型素子を基板に固定することができる。
請求項5に記載したように、表面実装型素子は、端子として、コイルの両端にそれぞれ接続された2個の接続端子と、電子回路基板への固定を補助するための2個の固定補助端子とを有し、これらの2個の接続端子及び2個の固定補助端子が電子回路基板のランドにそれぞれはんだ接続されるものであって、2個の接続端子と2個の固定補助端子とは、隣接する端子同士を仮想線で結んだ場合、各々、仮想線により形成される矩形形状の頂点に位置するとともに、2個の接続端子が対角位置となり、かつ2個の固定補助端子が対角位置となるように、表面実装型素子の実装面に配置されることが好ましい。
コイルの両端に接続された2個の接続端子と、電子回路基板への固定を補助するための2個の固定補助端子とでは、コイルとの接続の有無に応じて、熱容量が大きく異なる。すなわち、固定補助端子の熱容量は、接続端子の熱容量よりも小さいため、固定補助端子は、接続端子よりも早く温度が上昇する。すると、固定補助端子と接続端子とで、はんだが溶融するタイミングにずれが生じ、はんだ張力差などによって表面実装型素子の実装位置がずれてしまう可能性が生じる。そのため、請求項5では、2個の接続端子と2個の固定補助端子とが矩形形状の頂点に位置するとともに、2個の接続端子が対角位置となり、かつ2個の固定補助端子が対角位置となるように、表面実装型素子の実装面に配置した。このような配置構造を採用することにより、固定補助端子のはんだが溶融したとき、はんだ張力差などが表面実装型素子に対して対称的に作用するので、接続端子と固定補助端子とではんだの溶融タイミングがずれても、表面実装型素子の実装位置がずれてしまうことを極力抑制することができる。
請求項6に記載したように、2個の接続端子の一方と、2個の固定補助端子の一方とが同じ大面積のパターンに設けられたランドにそれぞれはんだ接続され、2個の接続端子の他方と、2個の固定補助端子の他方とが同じ大面積のパターンに設けられたランドにそれぞれはんだ接続されても良い。固定補助端子は、接続端子と電気的に無関係であるため、固定補助端子と接続端子を同一の大面積のパターンにはんだ接続してもなんら問題は生じない。逆に、同一の大面積のパターンにはんだ接続することにより、大面積のパターンを大きくすることが容易になる。
請求項7に記載したように、端子は、表面実装型素子の側面にも露出しており、その側面に露出した端子とランドとによりはんだフィレットが形成されることが好ましい。これにより、端子のランドへのはんだ付け強度をより高めることができる。
請求項8に記載したように、大面積のパターンは、電子回路基板が表面実装型素子を搭載した状態でリフロー炉内を搬送される搬送方向と平行となるように、電子回路基板の表面に形成されることが好ましい。これにより、電子回路基板がリフロー炉内を搬送される際に、効率的に大面積のパターンの温度を高めることができる。
さらに、請求項9に記載したように、リフロー炉には、少なくとも表面実装型素子の表面側に向けて熱風を噴き出す複数のノズルが設けられ、大面積のパターンは、表面実装素子がリフロー炉内を搬送されるときに、ノズルからの熱風が直接当たる位置に設けられていることが好ましい。これにより、一層効果的に、大面積のパターンの温度を高めることができる。
請求項10に記載したように、電子回路基板には、当該電子回路基板に形成されたスルーホールに端子が挿入される端子挿入型素子も実装され、当該端子挿入型素子は、表面実装型素子と隣接して設けられるものであって、大面積のパターンは、端子挿入型素子の端子との絶縁を確保しつつ、端子挿入型素子の直下の領域まで延びるように形成されることが好ましい。このように、大面積のパターンを設ける領域として、端子挿入型素子の直下の領域を利用することにより、電子回路基板表面を有効に活用し、各種素子を高密度に実装することが可能になる。なお、表面実装型素子がリフロー加熱により電子回路基板に実装されるときには、端子挿入型素子は、まだ電子回路基板に実装されておらず、表面実装型素子の実装後に、例えばはんだフロー工程により電子回路基板に実装される。
請求項11に記載したように、電子回路基板の裏面にも大面積のパターンが形成され、さらに、当該裏面に形成された大面積のパターンと表面に形成された大面積のパターンとを熱的に接続する、内部に金属材料が堆積されたビアホールを備えることが好ましい。これにより、電子回路基板表面の大面積のパターンに加え、裏面の大面積のパターンも利用して集熱することができるので、ランド及び表面実装型素子の端子の温度をはんだが十分に溶融する温度まで容易に高めることができる。
なお、請求項12に記載したように、電子回路基板の表面の大面積のパターンは、ビアホールに対して、所定の隙間を隔てて、その周囲を取り囲むように形成され、電子回路基板の表面の大面積のパターンとビアホール内部の金属材料とは電気的に絶縁されていても良い。このようにすれば、電子回路基板の裏面側に、集熱専用の大面積のパターンを設けることなく、他の回路を構成する大面積のパターンを利用して、電子回路基板の表面の大面積のパターンの温度向上を促進することができる。
請求項13に記載したように、表面実装型素子は熱容量の異なる複数の端子を有し、複数の端子の熱容量の差に応じて、各々の端子が接続される大面積のパターンの大きさに差を設けても良い。例えば、表面実装型素子として、コイルの巻き線数の異なるトランスを用いる場合、そのコイルの巻き線数に応じて、それぞれのコイルに接続された端子に対する大面積のパターンの大きさに差を設けても良い。具体的には、熱容量の小さい端子に対する大面積のパターンの大きさを、熱容量の大きい端子に対する大面積のパターンの大きさよりも小さくする。これにより、それぞれの端子におけるはんだの溶融タイミングのずれを小さくすることができ、表面実装型素子の実装位置ずれを極力抑制することができる。
上述した大面積のパターンは、請求項14に記載したように、隙間なく広がったベタパターンであっても良い。このように、大面積のパターンとしてベタパターンを用いることにより、簡単に大面積のパターンを形成することができる。
しかし、大面積のパターンは、ベタパターン以外に、例えば請求項15に記載したように、パターン内に少なくとも1つのパターンが存在しない領域(例えば、スリットパターン)が形成されたものであっても良いし、請求項16に記載したように、ジグザグに折り返されたジグザグパターンであっても良い。このような大面積のパターンを採用することにより、電子回路基板と、その表面に形成される大面積のパターンとの間に線膨張係数差があっても、電子回路基板に対するパターンの偏りを調整することができるので、その線膨張係数差による電子回路基板の歪みの発生を軽減することができる。
上述した電子回路基板により、はんだによる接続信頼性の低下を抑制しつつ、高密度実装が可能となる。従って、請求項17に記載したように、電子制御装置が、上述した電子回路基板を有することにより、信頼性が高く、体格の小型化を図ることが可能な電子制御装置を提供することができる。
インジェクタ駆動回路に用いられるDC−DCコンバータ及び当該DC−DCコンバータによって昇圧された電圧を蓄えるコンデンサC2などからなる昇圧回路の一例を示す回路図である。 第1実施形態における、リフロー炉内を搬送される電子回路基板12を示す斜視図である。 回路基板12の表面配線層における配線パターンを示す平面図である。 表面実装型素子14の搭載面側を、ランド25〜28とともに示した図である。 接続端子15とランド25とのはんだ接続の状態を示した図である。 第2実施形態における、リフロー炉内を搬送される電子回路基板12aを示す斜視図である。 第3実施形態における、リフロー炉内を搬送される電子回路基板12bを示す斜視図である。 第4実施形態における、リフロー炉内を搬送される電子回路基板12cを示す斜視図である。 第5実施形態における、リフロー炉内を搬送される電子回路基板12dを示す斜視図である。 変形例における、回路基板12の表面配線層の配線パターンを示す平面図である。 変形例における、回路基板12の表面配線層の配線パターンを示す平面図である。 変形例における、回路基板12の表面配線層の配線パターンを示す平面図である。 変形例における、回路基板12の表面配線層の配線パターンを示す平面図である。 変形例における、回路基板12の表面配線層の配線パターンを示す平面図である。
(第1実施形態)
以下、本発明の第1実施形態を図に基づいて説明する。本実施形態による電子回路基板は、例えばディーゼルエンジンやガソリン直噴エンジンに用いられる電子制御装置におけるインジェクタ駆動回路の回路基板として用いられる。ただし、インジェクタ駆動回路に限らず、コイルを内蔵する表面実装型素子を搭載する必要がある場合、本実施形態による電子回路基板を用いれば、表面実装型素子のリフロー加熱によるはんだ付け品質の低下を抑制することができるため好ましい。
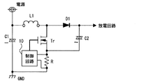
まず、本実施形態の電子回路基板に構成されるインジェクタ駆動回路について説明する。図1は、インジェクタ駆動回路に用いられるDC−DCコンバータ及び当該DC−DCコンバータによって昇圧された電圧を蓄えるコンデンサC2などからなる昇圧回路の一例を示す回路図である。図1に示すように、昇圧回路は、電源に接続されたコンデンサC1を有する。このコンデンサC1は、後述するDC−DCコンバータに大電流が流されたとき、電源電圧の変動を抑制するために設けられている。
DC−DCコンバータは、パワーチョークコイルL1、スイッチング素子Tr、抵抗R、整流ダイオードD1、及び制御回路10などからなる。DC−DCコンバータにより昇圧された電圧は平滑コンデンサC2に蓄えられる。本実施形態においては、平滑コンデンサC2に高電圧が蓄積された状態で、図示しない放電回路がオンすることにより、平滑コンデンサC2から放電回路を介して図示しないインジェクタへ大電流が供給される。
ここで、昇圧回路の動作について、簡単に説明する。制御回路10がスイッチング素子Trをオンすることにより、パワーチョークコイルL1,スイッチング素子Tr、及び抵抗Rを介して電流が流れる。このとき、抵抗Rの端子電圧から抵抗Rを流れる電流の電流値が所定値に達したと判定されると、制御回路10はスイッチング素子Trをオフする。すると、スイッチング素子Trがオフされるまでに通電されていた電流によりパワーチョークコイルL1に蓄えられた磁気エネルギーが電気エネルギーとして放電され、整流ダイオードD1を介して平滑コンデンサC2が充電される。
制御回路10は、図示しない電圧検出回路を用いて、平滑コンデンサC2の電圧をモニタしており、平滑コンデンサC2の電圧が目標電圧に一致するように、スイッチング素子Trのオン・オフを制御する。
上述した構成を有する昇圧回路においては、エンジン回転速度が高くなったときなど、平滑コンデンサC2からの放電頻度が高まったときにも、インジェクタへ大電流を安定的に供給する必要がある。このため、DC−DCコンバータは、大電流を通電しても磁気飽和しにくく、かつ高インダクタンスを有するパワーチョークコイルL1を備えており、その結果、パワーチョークコイルL1は比較的大型の部品となる。
本実施形態では、そのような大型の部品であるため、また内部に配置されたコアやコイルのために熱容量が大きくなるパワーチョークコイルL1を表面実装型素子として、リフロー加熱により回路基板にはんだ付けする。ただし、上述したようにパワーチョークコイルL1は熱容量が大きいため、単に、リフロー加熱を行なっただけでは、パワーチョークコイルL1を内蔵する表面実装型素子の端子の温度上昇が不十分となり、はんだ付け品質が低下する虞がある。
そのため、本実施形態では、パワーチョークコイルL1を内蔵する表面実装型素子をリフロー加熱により回路基板にはんだ付けしても、はんだ不濡れやはんだ溶融が不十分になるなどのはんだ付け品質の低下を抑制することができるように、回路基板の構成を工夫した。
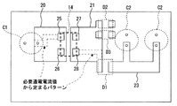
以下、図2及び図3を参照しつつ、昇圧回路が搭載される電子回路基板12の構成について詳しく説明する。なお、図2は、リフロー炉内を搬送される電子回路基板12を示す斜視図である。表面実装型素子14をリフロー加熱によりはんだ付けする際には、まだ、端子挿入型素子からなるコンデンサC1,C2は回路基板12に実装されていない。このため、図2においては、端子挿入型素子からなるコンデンサC1,C2は点線で示されている。また、図2及び後述する図6〜図9では、回路基板12の構成を明瞭に図示すべく、例えば回路基板12が非常に厚く示されるなど、回路基板12を模式的に示している。図3は、回路基板12の表面配線層における配線パターンを示す平面図である。この図3においても、回路基板12に実装される表面実装型素子14、整流ダイオードD1、及び各コンデンサC1,C2が点線によって示されている
図2及び図3に示すように、コンデンサC1の一方の端子と、パワーチョークコイルL1を内蔵した表面実装型素子14の一方の接続端子15とは、共通の大面積パターン20に接続されている。この大面積パターン20は、銅やアルミニウムなどの熱伝導性の良好な金属材料によって形成され、図示しない配線を介して電源に接続されている。
表面実装型素子14は、端子として、接続端子15に加え、表面実装型素子14の回路基板12への固定を補助するための固定補助端子16も有し、この固定補助端子16は、接続端子15と同じ大面積パターン20に接続されている。また、表面実装型素子14の他方の接続端子18ともう1つの固定補助端子17は、大面積パターン20と隣接して設けられた大面積パターン21にそれぞれ接続されている。固定補助端子16,17は、接続端子15,18と電気的に無関係であるため、固定補助端子16,17と接続端子15,18を同一の大面積パターン20,21にはんだ接続してもなんら問題は生じない。逆に、同一の大面積パターン20,21にはんだ接続することにより、大面積パターン20,21の面積を大きくすることが容易になる。なお、本実施形態では、大面積パターン20、21が、隙間なく広がったベタパターンとなっている。
ここで、大面積パターン20,21は、それぞれレジスト膜によって覆われている。そのレジスト膜には、大面積パターン20,21のランド25〜28となる部分に対応して開口部が形成されている。すなわち、レジスト膜の開口部から露出された大面積パターン20,21の一部がランド25〜28となる。これにより、大面積パターン20,21の任意の位置にランド25〜28を設けることができ、表面実装型素子14の実装位置の設計自由度が向上する。
レジスト膜の開口部により規定されるランド25〜28には、予めペースト状のはんだが塗布されており、そのはんだがリフロー加熱により溶融されることにより、接続端子15,18及び固定補助端子16,17と、対応するランド25〜28とがはんだ接続される。
図4は、ランド25〜28と、接続端子15,18及び固定補助端子16,17との相対的な位置関係等を表すべく、表面実装型素子14の搭載面側を、ランド25〜28とともに示した図である。図4に示すように、接続端子15,18及び固定補助端子16,17は、対応する各ランド25〜28上において、それらの中央ではなく、表面実装型素子14側に偏った位置に搭載されている。従って、表面実装型素子14の側面から、接続端子15,18や固定補助端子16,17が直接的に搭載されないランド部分が突出している。
また、接続端子15,18及び固定補助端子16,17は、それらの一辺(一側面)が、表面実装型素子14の側面とほぼ同一面となるように設けられている。そして、接続端子15,18及び固定補助端子16,17は、図5に示すように、表面実装型素子14の側面にも露出するように、表面実装型素子14の側面の高さ方向に伸びている。なお、接続端子15,18及び固定補助端子16,17は、表面実装型素子14に同様に設けられるので、図5では、代表として、接続端子15について示している。
このように、接続端子15,18及び固定補助端子16,17が表面実装型素子14の側面に露出され、かつ、その側面からランド25,28が突出していることにより、リフローによりランド25〜28上のはんだが溶融されると、図5に示すように、表面実装型素子14の側面に露出した端子部分とランド25〜28とによりはんだフィレットが形成される。これにより、接続端子15,18及び固定補助端子16,17のランドへのはんだ付け強度をより高めることができる。
また、本実施形態では、図2〜図4に示すように、表面実装型素子14の2個の接続端子15,18と2個の固定補助端子16,17とは、隣接する端子同士を仮想線で結んだ場合、各々、仮想線により形成される矩形形状の頂点に位置するとともに、2個の接続端子15,18が対角位置となり、かつ2個の固定補助端子16,17が対角位置となるように、表面実装型素子14の実装面に配置されている。
パワーチョークコイルL1の両端に接続された2個の接続端子15,18と、回路基板12への固定を補助するための2個の固定補助端子16,17とでは、パワーチョークコイルL1との接続の有無に応じて、熱容量が大きく異なる。すなわち、固定補助端子16,17の熱容量は、接続端子15,18の熱容量よりも小さい。このため、固定補助端子16,17は、接続端子15,18よりも早く温度が上昇する。すると、固定補助端子16,17と接続端子15,18とで、はんだが溶融するタイミングにずれが生じ、はんだ張力差などによって表面実装型素子14の実装位置がずれてしまう可能性が生じる。その結果、表面実装型素子14の接続端子15,18とランド25,28とのはんだ接続が不十分となる虞が生じる。
この点に関して、本実施形態では、2個の接続端子15,18と2個の固定補助端子16,17とが矩形形状の頂点に位置するとともに、2個の接続端子15,18が対角位置となり、かつ2個の固定補助端子16,17が対角位置となるように、表面実装型素子14の実装面に配置した。このような配置構造を採用することにより、固定補助端子16,17のはんだが溶融したとき、はんだ張力差などが表面実装型素子14に対して対称的に作用するので、接続端子15,18と固定補助端子16,17とではんだの溶融タイミングがずれても、表面実装型素子14の実装位置がずれてしまうことを極力抑制することができる。
大面積パターン21の一部と配線パターン23の端部とを跨ぐように、整流ダイオードD1が配置されている。この整流ダイオードD1も表面実装型素子として構成されており、パワーチョークコイルL1を内蔵する表面実装型素子14と同様に、回路基板12がリフロー炉内を搬送されるときに、大面積パターン21と配線パターン23とにはんだ接続される。配線パターン23の他端側には、平滑コンデンサC2の一方の端子が接続され、整流コンデンサD1を介して充電可能となっている。
リフロー炉は、図2に示すように、天井面及び床面に熱風を噴き出す多数のノズルが配置されたものである。なお、図2において、天井面及び床面に記載された矢印が、各ノズルから噴き出される熱風を示している。回路基板12がリフロー炉内を搬送される際に、各ノズルから噴き出される熱風が回路基板12の表面及び裏面に当たることで、表面配線層(及び裏面配線層)に塗布されたはんだが溶融し、各種の部品をはんだ接続する。
本実施形態による電子回路基板12は、上述したように、パワーチョークコイルL1を内蔵する表面実装型素子14の接続端子15,18が接続される、回路基板12に形成されたランド25,28を、大面積パターン20,21の一部として設けた。
ここで、図3に一点鎖線で示すように、パワーチョークコイルL1に通電すべき必要電流値を確保するための電流容量によって決まるパターン面積は、各々の大面積パターン20,21の面積よりも狭く、必要電流値を通電するとの観点からすれば、大面積パターン20,21を設ける必要はない。
しかしながら、本実施形態では、回路基板12の表面配線層に形成される金属パターンの良好な熱伝導性に着目し、パワーチョークコイルL1への必要通電電流値を確保するための電流容量によって決まるパターン面積よりも大面積の大面積パターン20,21を設けたのである。これにより、表面実装型素子14を搭載した状態で電子回路基板12がリフロー炉内を搬送される際、大面積パターン20,21の集熱及び熱伝導効果により、ランド25,28、ひいては表面実装型素子14の接続端子15,18(及び固定補助端子16,17)の温度をはんだが十分に溶融する温度まで高めることができる。その結果、熱容量の大きな表面実装型素子14をリフロー加熱により電子回路基板12にはんだ付けする場合であっても、はんだ付け品質の低下を抑制することができるとの効果を得ることができる。
また、大面積パターン20、21は、図2に示すように、電子回路基板12が表面実装型素子14を搭載した状態でリフロー炉内を搬送される際、その搬送方向と平行となるように、電子回路基板12の表面に形成される。これにより、電子回路基板12がリフロー炉内を搬送される際に、効率的に大面積パターン20,21の温度を高めることができる。
なお、コンデンサC1,C2は、パワーチョークコイルL1を内蔵する表面実装型素子14がリフローはんだ付けされた後に、例えばフロー工程により回路基板にはんだ付けされる。
(第2実施形態)
次に、本発明の第2実施形態について説明する。なお、本実施形態の電子回路基板12a及びその搭載部品に関して、第1実施形態と同様の構成に対しては、同じ参照番号を付与することにより、説明を省略する。
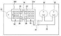
本実施形態による電子回路基板12aでは、パワーチョークコイルL1を内蔵する表面実装型素子14と隣接して設けられる、端子挿入型素子であるコンデンサC2の接続端子との絶縁を確保しつつ、コンデンサC2の直下の領域まで延びるように大面積パターン21aを形成した点が第1実施形態による電子回路基板12と異なる。
すなわち、大面積パターン21aは、図6に示すように、コンデンサC2の実装位置まで延ばされている。ただし、平滑コンデンサC2の一方の端子に接続される配線パターン23及びコンデンサC2の両方の端子の周りにはスリット(隙間)が形成されており、大面積パターン21aと配線パターン23及びコンデンサC2の両端子との電気的な絶縁が確保されている。
上述したように、コンデンサC2は、パワーチョークコイルL1を内蔵する表面実装型素子14がリフローはんだ付けされた後に回路基板12に実装される。換言すれば、表面実装型素子14がリフロー加熱により回路基板12に実装されるときには、端子挿入型素子であるコンデンサC2は、まだ回路基板12に実装されていない。従って、大面積パターン21aのほぼ全面を用いて、リフロー炉内の熱風から集熱することができ、接続端子17及び固定補助端子18、さらにそれらに対応するランド27、28の温度を効果的に高めることができる。
また、大面積パターン21aを設ける領域として、端子挿入型素子であるコンデンサC2の直下の領域を利用することにより、回路基板12の表面を有効に活用し、各種素子を高密度に実装することが可能になる。
(第3実施形態)
次に、本発明の第3実施形態について説明する。なお、本実施形態の電子回路基板12b及びその搭載部品に関して、第1実施形態及び第2実施形態と同様の構成に対しては、同じ参照番号を付与することにより、説明を省略する。
本実施形態による電子回路基板12bでは、図7に示すように、回路基板12bの裏面にも大面積パターン24を形成するとともに、表面に形成された大面積パターン20aと裏面に形成された大面積パターン24とを繋ぐように、内部に銅などの金属材料が堆積されたビアホール22が形成されている点が、第2実施形態による電子回路基板12aと異なる。
このような構成の回路基板12bは、まず基板12bに、エッチングやドリルによりビアホール22を形成し、そのビアホール22の内面に無電界めっき及び電界めっきなどによって銅などの金属材料を堆積させ、その後、回路基板12bの表面及び裏面に大面積パターン20a、24を形成することによって得られる。
このような構成を採用することにより、回路基板12bの表面の大面積パターン20aに加え、裏面の大面積パターン24も利用して集熱することができる。そして、裏面の大面積パターン24によって集められた熱は、ビアホール22を介して、表面の大面積パターン20aに伝えられる。このため、本実施形態の電子回路基板12bによれば、表面実装型素子の接続端子15及び固定補助端子16、さらにそれらに対応するランド25、26の温度をはんだが十分に溶融する温度まで容易に高めることができる。
(第4実施形態)
次に、本発明の第4実施形態について説明する。なお、本実施形態の電子回路基板12c及びその搭載部品に関して、第1〜第3実施形態と同様の構成に対しては、同じ参照番号を付与することにより、説明を省略する。
本実施形態による電子回路基板12cでは、図8に示すように、回路基板12cの表面に形成された大面積パターン20a及び大面積パターン21aにおいて、表面実装型素子14の固定補助端子16,17がはんだ接続されるランド26,27の周りにスリット29,30を形成した点が、第3実施形態による電子回路基板12bと異なる。
つまり、本実施形態では、固定補助端子16がはんだ接続されるランド26の周りにスリット29を形成し、固定補助端子17がはんだ接続されるランド27の周りにスリット30を形成することにより、表面実装型素子14の接続端子15,18が接続される大面積パターン部分と、固定補助端子16,17が接続される大面積パターン部分とを分離した。その際、固定補助端子16,17が接続される大面積パターン部分の面積を、接続端子15,18が接続される大面積パターン部分の面積よりも小さくした。
上述したように、接続端子15,18はパワーチョークコイルL1に接続されるため、固定補助端子16,17よりも熱容量が大きい。従って、接続端子15,18は、固定補助端子16,17よりも温度が上がりにくい。この点を考慮し、本実施形態では、固定補助端子16,17が接続される大面積パターン部分の面積を、接続端子15,18が接続される大面積パターン部分の面積よりも小さくすることで、固定補助端子16,17に対する大面積パターンによる集熱効果を、接続端子15,18に対する大面積パターンによる集熱効果よりも小さくしたのである。この結果、接続端子15,18と固定補助端子16,17とで、はんだが溶融されるタイミングのずれを小さくすることができ、表面実装型素子14の実装位置ずれを極力抑制することができる。
なお、熱容量が異なる端子の例として、表面実装型素子14の接続端子15,18と固定補助端子16,17とに関して説明したが、熱容量が異なる端子は、この例に限られない。例えば、表面実装型素子として、コイルの巻き線数の異なるトランスを用いる場合、そのコイルの巻き数に応じて、それぞれのコイルに接続された接続端子に対する大面積パターンの面積に差を設けても良い。具体的には、巻き数が少なく(コイルの長さが短く)熱容量の小さい接続端子に対する大面積パターンの面積を、巻き数が多く(コイルの長さが長く)熱容量の大きい接続端子に対する大面積パターンの面積よりも小さくしても良い。
(第5実施形態)
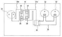
次に、本発明の第5実施形態について説明する。なお、本実施形態の電子回路基板12d及びその搭載部品に関して、第1〜第4実施形態と同様の構成に対しては、同じ参照番号を付与することにより、説明を省略する。
本実施形態による電子回路基板12dでは、図9に示すように、回路基板12dの裏面にも大面積パターン24が形成される点、及び、表面に形成された大面積パターン20aと裏面に形成された大面積パターン24とを繋ぐように、内部に銅などの金属材料が堆積されたビアホール22が形成される点は、第3実施形態による電子回路基板12bと同様である。しかし、複数のビアホール22の表面側端部を取り囲むように、表面の大面積パターン20aにスリット31が形成されている点が、第3実施形態による電子回路基板12bと異なる。
電子回路基板12dの表面の一方の大面積パターン20aにスリット31を形成することにより、ビアホール22が接続される大面積パターン部分と、表面実装型素子14の接続端子15が接続される大面積パターン部分とを電気的に絶縁することができる。換言すると、表面実装型素子14の接続端子が接続される大面積パターン部分を、ビアホール22に対して、スリット31による所定の隙間を隔てて、その周囲を取り囲むように配置することで、基板の表面側の大面積パターン20aと、裏面側の大面積パターン24とを電気的に絶縁している。
ただし、表面側の大面積パターン20aにおいて、表面実装型素子14の接続端子15が接続された大面積パターン部分と、ビアホール22が接続された大面積パターン部分とは近接しているため、熱的には連結した状態となる。
このため、電子回路基板12dの裏面側に集熱専用の大面積パターンを設けることなく、他の回路を構成するための大面積パターン24を利用して、電子回路基板12の表面の大面積パターン20aの温度向上を促進することができる。なお、図9には、大面積パターン24と接続され、当該他の回路を構成するためのいくつかの回路素子32が示されている。
さらに、本実施形態の電子回路基板12では、図9に示すように、表面に形成されたもう1つの大面積パターン21bが、表面実装側素子14から離れた領域で、短冊状に形成されている点も、第3実施形態の電子回路基板12bなどと異なる。
ここで、大面積パターン21bにおいて短冊状に形成される短冊部21b1,21b2は、リフロー炉の天井面に設けられた複数のノズルのそれぞれの直下に位置するように配置される。従って、回路基板12の搬送方向と直交する方向に隣接するノズルの間隔(ピッチ)は、隣接する短冊部21b1,21b2の間隔と同じである。
大面積パターン21bをこのように形成、配置することにより、ノズルから噴き出された熱風が直接大面積パターン21b(の短冊部21b1,21b2)に当たるので、大面積パターン21bの面積を過度に広げることなく、ノズルから噴き出される熱風からの熱を効率的に受けることができる。
以上、本発明の好ましい実施形態について説明したが、本発明は上述した実施形態に何ら制限されることなく、本発明の主旨を逸脱しない範囲において、種々変形して実施することができる。
例えば、上述した実施形態では、表面実装型素子14に2個の固定補助端子を設け、回路基板12の大面積パターン20,21の対応するランド26,27にそれぞれはんだ接続したが、固定補助端子の数は2個に限られず、1個でも、あるいは3個以上であっても良い。少なくとも1個の固定補助端子を設けることにより、接続端子15,18による固定のみならず、固定補助端子を利用した固定も実現でき、より確実に表面実装型素子14を回路基板12に固定することができる。
また、上述した第1実施形態では、表面実装型素子14の2個の接続端子15,18がそれぞれはんだ接続される大面積パターン20,21の形状及び面積をほぼ同一のものとしたが、それらの大面積パターン20,21の形状及び/又は面積が異なっていても良い。これにより、表面実装型素子14のための大面積パターン20,21を回路基板12に配置する際に、大面積パターンの配置位置に関する自由度を向上することができる。つまり、隣接する配線パターンや搭載される他の素子との関係から、大面積パターン20,21を配置できる領域が制限される場合であっても、大面積パターン20,21の形状を異ならせたり、面積を異ならせることにより、必要な集熱面積を確保しつつ、回路基板12に大面積パターン20,21を設けることができる。
また、上述した第1実施形態では、隙間なく広がったベタパターンにより、大面積パターン20,21を構成した。このように、大面積のパターンとしてベタパターンを用いることにより、簡単に大面積のパターンを形成することができる。しかしながら、大面積パターンは、ベタパターン以外に、各種の形態が考えられる。図10〜図14に、大面積パターンの具体的な変形例を示す。
図10に示す例では、大面積パターン20c、21c内に、長方形状のパターンが存在しない領域(具体的には、スリットパターン)がそれぞれ複数形成されている。また、図11に示すように、大面積パターン20d、21dにおいて、よりサイズの小さいパターンが存在しない領域50,51を格子状に配列するように形成しても良い。さらに、図12に示すように、大面積パターン20e、21eを、ジグザグに折り返されたジグザグパターンとして形成しても良い。
すなわち、大面積パターン20c〜20e、21c〜21eは、素子間の必要通電電流値から決まるパターン面積よりも大面積であれば、ベタパターンでなくとも構わない。さらに、図10〜図12に示されたような大面積パターン20c〜20e、21c〜21eを採用することにより、電子回路基板12と、その表面に形成される大面積のパターン20c〜20e、21c〜21eを含む各種のパターンとの間に線膨張係数差があっても、電子回路基板12に対するパターンの偏りを調整することができるので、その線膨張係数差による電子回路基板12の歪みの発生を軽減することができるとの付随的な効果も得られる。
さらに、上述した第1実施形態では、例えば大面積パターン21は、表面実装型素子14に内蔵されるパワーチョークコイルL1と整流ダイオードD1とを接続するものであったが、この大面積パターン21に、他の素子(ダミー素子を含む)を接続するためのランドを設けても良い。図13に示す例では、大面積パターン21に形成されたランドを用いて、整流ダイオードD1に加えて、他の素子D2,D3が接続されている。さらに、このような他の素子D2,D3は、図14に示すように、大面積パターン21から延長した延長部21fに設けたランドを用いて接続することも可能である。
10…制御回路、12…電子回路基板、14…表面実装型素子、15,18…接続端子、16,17…固定補助端子、20,21…大面積パターン、23…配線パターン、25〜28…ランド、29,30,31…スリット

Claims (17)

  1. リフロー炉における加熱によって溶融されるはんだにより接続される表面実装型素子を備えた電子回路基板であって、
    前記電子回路基板には、前記表面実装型素子を含む複数の素子が実装され、前記表面実装型素子は、それら複数の素子において相対的に大きい熱容量を有するものであり、
    前記電子回路基板の表面には、前記表面実装型素子の端子がはんだ接続されるランドが形成され、当該ランドは、前記表面実装型素子に流すべき電流値を確保するための電流容量によって決まるパターン面積よりも大面積のパターンの一部として設けられることを特徴とする電子回路基板。
  2. 前記表面実装型素子は、コイルを有する素子であることを特徴とする請求項1に記載の電子回路基板。
  3. 前記大面積のパターンは、レジスト膜によって覆われるとともに、当該レジスト膜が前記ランドに対応する開口部を有し、その開口部から露出された大面積のパターンの一部が前記ランドとなることを特徴とする請求項1又は請求項2に記載の電子回路基板。
  4. 前記表面実装型素子は、前記端子として、2個の接続端子と、前記電子回路基板への固定を補助するための少なくとも1個の固定補助端子とを有し、これらの2個の接続端子及び少なくとも1個の固定補助端子が、前記ランドにそれぞれはんだ接続されることを特徴とする請求項1乃至請求項3のいずれかに記載の電子回路基板。
  5. 前記表面実装型素子は、前記端子として、前記コイルの両端にそれぞれ接続された2個の接続端子と、前記電子回路基板への固定を補助するための2個の固定補助端子とを有し、これらの2個の接続端子及び2個の固定補助端子が前記電子回路基板のランドにそれぞれはんだ接続されるものであって、前記2個の接続端子と前記2個の固定補助端子とは、隣接する端子同士を仮想線で結んだ場合、各々、仮想線により形成される矩形形状の頂点に位置するとともに、前記2個の接続端子が対角位置となり、かつ前記2個の固定補助端子が対角位置となるように、前記表面実装型素子の実装面に配置されることを特徴とする請求項2に記載の電子回路基板。
  6. 前記2個の接続端子の一方と、前記2個の固定補助端子の一方とが同じ大面積のパターンに設けられたランドにそれぞれはんだ接続され、前記2個の接続端子の他方と、前記2個の固定補助端子の他方とが同じ大面積のパターンに設けられたランドにそれぞれはんだ接続されることを特徴とする請求項5に記載の電子回路基板。
  7. 前記端子は、前記表面実装型素子の側面にも露出しており、その側面に露出した端子と前記ランドとによりはんだフィレットが形成されることを特徴とする請求項1乃至請求項6のいずれかに記載の電子回路基板。
  8. 前記大面積のパターンは、前記電子回路基板が前記表面実装型素子を搭載した状態で前記リフロー炉内を搬送される搬送方向と平行となるように、前記電子回路基板の表面に形成されることを特徴とする請求項1乃至請求項7のいずれかに記載の電子回路基板。
  9. 前記リフロー炉には、少なくとも前記表面実装型素子の表面側に向けて熱風を噴き出す複数のノズルが設けられ、前記大面積のパターンは、前記表面実装素子が前記リフロー炉内を搬送されるときに、前記ノズルからの熱風が直接当たる位置に設けられていることを特徴とする請求項8に記載の電子回路基板。
  10. 前記電子回路基板には、当該電子回路基板に形成されたスルーホールに端子が挿入される端子挿入型素子も実装され、当該端子挿入型素子は、前記表面実装型素子と隣接して設けられるものであって、前記大面積のパターンは、前記端子挿入型素子の端子との絶縁を確保しつつ、前記端子挿入型素子の直下の領域まで延びるように形成されることを特徴とする請求項1乃至請求項9のいずれかに記載の電子回路基板。
  11. 前記電子回路基板の裏面にも大面積のパターンが形成され、さらに、当該裏面に形成された大面積のパターンと表面に形成された大面積のパターンとを熱的に接続する、内部に金属材料が堆積されたビアホールを備えることを特徴とする請求項1乃至請求項10のいずれかに記載の電子回路基板。
  12. 前記電子回路基板の表面の大面積のパターンは、前記ビアホールに対して、所定の隙間を隔てて、その周囲を取り囲むように形成され、前記電子回路基板の表面の大面積のパターンと前記ビアホール内部の金属材料とは電気的に絶縁されていることを特徴とする請求項11に記載の電子回路基板。
  13. 前記表面実装型素子は熱容量の異なる複数の端子を有し、複数の端子の熱容量の差に応じて、各々の端子が接続される大面積のパターンの大きさに差を設けることを特徴とする請求項1乃至請求項3のいずれかに記載の電子回路基板。
  14. 前記大面積のパターンは、隙間なく広がったベタパターンであることを特徴とする請求項1乃至請求項13のいずれかに記載の電子回路基板。
  15. 前記大面積パターンは、パターン内に、少なくとも1つのパターンが存在しない領域が形成されたものであることを特徴とする請求項1乃至請求項13のいずれかに記載の電子回路基板。
  16. 前記大面積パターンは、ジグザグに折り返されたジグザグパターンであることを特徴とする請求項1乃至請求項13のいずれかに記載の電子回路基板。
  17. 請求項1乃至請求項16のいずれかに記載の電子回路基板を有することを特徴とする電子制御装置。
JP2009009145A 2008-06-23 2009-01-19 電子回路基板及び電子制御装置 Active JP5077250B2 (ja)

Priority Applications (3)

Application Number Priority Date Filing Date Title
JP2009009145A JP5077250B2 (ja) 2008-06-23 2009-01-19 電子回路基板及び電子制御装置
US12/457,219 US20090316375A1 (en) 2008-06-23 2009-06-04 Electronic circuit board including surface mount device
DE102009025267.3A DE102009025267B4 (de) 2008-06-23 2009-06-17 Elektronische Schaltkreiskarte mit Bauelementen für Oberflächenbestückung

Applications Claiming Priority (5)

Application Number Priority Date Filing Date Title
JP2008163837 2008-06-23
JP2008163837 2008-06-23
JP2008184204 2008-07-15
JP2008184204 2008-07-15
JP2009009145A JP5077250B2 (ja) 2008-06-23 2009-01-19 電子回路基板及び電子制御装置

Publications (2)

Publication Number Publication Date
JP2010045324A true JP2010045324A (ja) 2010-02-25
JP5077250B2 JP5077250B2 (ja) 2012-11-21

Family

ID=41396912

Family Applications (1)

Application Number Title Priority Date Filing Date
JP2009009145A Active JP5077250B2 (ja) 2008-06-23 2009-01-19 電子回路基板及び電子制御装置

Country Status (3)

Country Link
US (1) US20090316375A1 (ja)
JP (1) JP5077250B2 (ja)
DE (1) DE102009025267B4 (ja)

Cited By (5)

* Cited by examiner, † Cited by third party
Publication number Priority date Publication date Assignee Title
JP2013008932A (ja) * 2011-06-27 2013-01-10 Fanuc Ltd 耐食性と歩留まりを向上させたプリント基板
JP2013058635A (ja) * 2011-09-08 2013-03-28 Toyota Motor Corp 電子素子実装方法、及び電子基板
JP2013105853A (ja) * 2011-11-11 2013-05-30 Denso Corp 配線基板
CN108684135A (zh) * 2018-05-18 2018-10-19 郑州云海信息技术有限公司 一种电路板螺母加固装置
WO2022168619A1 (ja) * 2021-02-03 2022-08-11 株式会社オートネットワーク技術研究所 回路装置

Families Citing this family (1)

* Cited by examiner, † Cited by third party
Publication number Priority date Publication date Assignee Title
US8897046B2 (en) 2009-12-25 2014-11-25 Rohm Co., Ltd. DC voltage conversion module, semiconductor module, and method of making semiconductor module

Citations (7)

* Cited by examiner, † Cited by third party
Publication number Priority date Publication date Assignee Title
JPH036890A (ja) * 1989-06-05 1991-01-14 Matsushita Electric Ind Co Ltd リフロー装置における加熱方法及びその装置
JPH0745927A (ja) * 1993-07-30 1995-02-14 Ibiden Co Ltd プリント配線板
JPH09284005A (ja) * 1996-04-15 1997-10-31 Saitama Nippon Denki Kk 誘電体フィルタ
JPH10178248A (ja) * 1996-12-16 1998-06-30 Hokuriku Electric Ind Co Ltd 回路基板
JP2005252124A (ja) * 2004-03-08 2005-09-15 Orion Denki Kk 通風孔を備えた基板
JP2006202895A (ja) * 2005-01-19 2006-08-03 Densei Lambda Kk 板金配線の実装構造
JP2006351845A (ja) * 2005-06-16 2006-12-28 Nissan Motor Co Ltd 電子部品実装用基板及び実装方法並びに装置

Family Cites Families (5)

* Cited by examiner, † Cited by third party
Publication number Priority date Publication date Assignee Title
JP3446630B2 (ja) 1998-10-09 2003-09-16 株式会社デンソー 電磁弁駆動装置
TWI282656B (en) * 2000-08-29 2007-06-11 Delta Electronics Inc A small power supply apparatus capable of increasing heat sink and preventing over current load
JP2002290021A (ja) * 2001-03-23 2002-10-04 Toshiba Corp 回路基板、回路基板モジュール、及び電子機器
US7361844B2 (en) * 2002-11-25 2008-04-22 Vlt, Inc. Power converter package and thermal management
DE202008010522U1 (de) 2008-08-07 2009-03-05 MICRO-STAR INT'L Co., Ltd., Jung-He City Gedruckte Leiterplattenanordnung

Patent Citations (7)

* Cited by examiner, † Cited by third party
Publication number Priority date Publication date Assignee Title
JPH036890A (ja) * 1989-06-05 1991-01-14 Matsushita Electric Ind Co Ltd リフロー装置における加熱方法及びその装置
JPH0745927A (ja) * 1993-07-30 1995-02-14 Ibiden Co Ltd プリント配線板
JPH09284005A (ja) * 1996-04-15 1997-10-31 Saitama Nippon Denki Kk 誘電体フィルタ
JPH10178248A (ja) * 1996-12-16 1998-06-30 Hokuriku Electric Ind Co Ltd 回路基板
JP2005252124A (ja) * 2004-03-08 2005-09-15 Orion Denki Kk 通風孔を備えた基板
JP2006202895A (ja) * 2005-01-19 2006-08-03 Densei Lambda Kk 板金配線の実装構造
JP2006351845A (ja) * 2005-06-16 2006-12-28 Nissan Motor Co Ltd 電子部品実装用基板及び実装方法並びに装置

Cited By (7)

* Cited by examiner, † Cited by third party
Publication number Priority date Publication date Assignee Title
JP2013008932A (ja) * 2011-06-27 2013-01-10 Fanuc Ltd 耐食性と歩留まりを向上させたプリント基板
US8853561B2 (en) 2011-06-27 2014-10-07 Fanuc Corporation Printed wiring board with improved corrosion resistance and yield
JP2013058635A (ja) * 2011-09-08 2013-03-28 Toyota Motor Corp 電子素子実装方法、及び電子基板
JP2013105853A (ja) * 2011-11-11 2013-05-30 Denso Corp 配線基板
CN108684135A (zh) * 2018-05-18 2018-10-19 郑州云海信息技术有限公司 一种电路板螺母加固装置
CN108684135B (zh) * 2018-05-18 2020-02-07 郑州云海信息技术有限公司 一种电路板螺母加固装置
WO2022168619A1 (ja) * 2021-02-03 2022-08-11 株式会社オートネットワーク技術研究所 回路装置

Also Published As

Publication number Publication date
JP5077250B2 (ja) 2012-11-21
US20090316375A1 (en) 2009-12-24
DE102009025267A1 (de) 2010-01-07
DE102009025267B4 (de) 2021-11-11

Similar Documents

Publication Publication Date Title
US6734665B2 (en) Inductive sensor having a sensor coil in the form of a structured conductive layer
JP5077250B2 (ja) 電子回路基板及び電子制御装置
US8338715B2 (en) PCB with soldering pad projections forming fillet solder joints and method of production thereof
US8263875B2 (en) Surface mounting structure for a surface mounting electronic component
US20170118844A1 (en) Embedding a discrete electrical device in a printed circuit board
WO2005024945A1 (ja) 集積回路部品及び実装方法
US20070145575A1 (en) Circuit board and method for mounting chip component
US6757174B2 (en) Switching power-supply module
US7902465B1 (en) Optimizing PCB power and ground connections for lead free solder processes
JP5486404B2 (ja) 電子装置、それを用いた点灯装置および照明装置
JP2001237570A (ja) パワー電子モジュールおよびその製造方法
CN220915494U (zh) 一种pcb板和汽车电控模块
JP2010109010A (ja) 挿入実装部品搭載回路基板およびその製造方法
JP7512034B2 (ja) プリント配線板
JP2006229173A (ja) インダクタンス素子
JP3928152B2 (ja) プリント配線板
JP7272237B2 (ja) 電子制御装置
JP4262970B2 (ja) 電子回路基板
JP2018129464A (ja) プリント回路基板及びプリント回路装置
JPH0653042A (ja) 空芯コイル及びその実装装置
JP5691973B2 (ja) 電子装置
JP5961818B2 (ja) 配線基板
JP2002111160A (ja) 回路基板の製造方法及び一体化基板
JP4803071B2 (ja) 回路基板および電子部品付回路基板
JP3095446U (ja) チップコンデンサのリフローによるハンダ固定構造及び面実装型部品のリフローによるハンダ固定構造

Legal Events

Date Code Title Description
A621 Written request for application examination

Free format text: JAPANESE INTERMEDIATE CODE: A621

Effective date: 20110304

A977 Report on retrieval

Free format text: JAPANESE INTERMEDIATE CODE: A971007

Effective date: 20120510

A131 Notification of reasons for refusal

Free format text: JAPANESE INTERMEDIATE CODE: A131

Effective date: 20120515

A521 Request for written amendment filed

Free format text: JAPANESE INTERMEDIATE CODE: A523

Effective date: 20120710

TRDD Decision of grant or rejection written
A01 Written decision to grant a patent or to grant a registration (utility model)

Free format text: JAPANESE INTERMEDIATE CODE: A01

Effective date: 20120731

A01 Written decision to grant a patent or to grant a registration (utility model)

Free format text: JAPANESE INTERMEDIATE CODE: A01

A61 First payment of annual fees (during grant procedure)

Free format text: JAPANESE INTERMEDIATE CODE: A61

Effective date: 20120813

FPAY Renewal fee payment (event date is renewal date of database)

Free format text: PAYMENT UNTIL: 20150907

Year of fee payment: 3

R151 Written notification of patent or utility model registration

Ref document number: 5077250

Country of ref document: JP

Free format text: JAPANESE INTERMEDIATE CODE: R151

FPAY Renewal fee payment (event date is renewal date of database)

Free format text: PAYMENT UNTIL: 20150907

Year of fee payment: 3

R250 Receipt of annual fees

Free format text: JAPANESE INTERMEDIATE CODE: R250

R250 Receipt of annual fees

Free format text: JAPANESE INTERMEDIATE CODE: R250

R250 Receipt of annual fees

Free format text: JAPANESE INTERMEDIATE CODE: R250

R250 Receipt of annual fees

Free format text: JAPANESE INTERMEDIATE CODE: R250

R250 Receipt of annual fees

Free format text: JAPANESE INTERMEDIATE CODE: R250

R250 Receipt of annual fees

Free format text: JAPANESE INTERMEDIATE CODE: R250

R250 Receipt of annual fees

Free format text: JAPANESE INTERMEDIATE CODE: R250

R250 Receipt of annual fees

Free format text: JAPANESE INTERMEDIATE CODE: R250

R250 Receipt of annual fees

Free format text: JAPANESE INTERMEDIATE CODE: R250

R250 Receipt of annual fees

Free format text: JAPANESE INTERMEDIATE CODE: R250

R250 Receipt of annual fees

Free format text: JAPANESE INTERMEDIATE CODE: R250