JP2010045207A - 塗布、現像装置、及び塗布、現像装置の搬送アーム洗浄方法、並びに記憶媒体 - Google Patents

塗布、現像装置、及び塗布、現像装置の搬送アーム洗浄方法、並びに記憶媒体 Download PDF

Info

Publication number
JP2010045207A
JP2010045207A JP2008208442A JP2008208442A JP2010045207A JP 2010045207 A JP2010045207 A JP 2010045207A JP 2008208442 A JP2008208442 A JP 2008208442A JP 2008208442 A JP2008208442 A JP 2008208442A JP 2010045207 A JP2010045207 A JP 2010045207A
Authority
JP
Japan
Prior art keywords
cleaning
substrate
arm
coating
jig
Prior art date
Legal status (The legal status is an assumption and is not a legal conclusion. Google has not performed a legal analysis and makes no representation as to the accuracy of the status listed.)
Granted
Application number
JP2008208442A
Other languages
English (en)
Other versions
JP5374961B2 (ja
Inventor
Mitsuo Yamashita
光夫 山下
Masahiro Fukuda
昌弘 福田
Current Assignee (The listed assignees may be inaccurate. Google has not performed a legal analysis and makes no representation or warranty as to the accuracy of the list.)
Tokyo Electron Ltd
Original Assignee
Tokyo Electron Ltd
Priority date (The priority date is an assumption and is not a legal conclusion. Google has not performed a legal analysis and makes no representation as to the accuracy of the date listed.)
Filing date
Publication date
Application filed by Tokyo Electron Ltd filed Critical Tokyo Electron Ltd
Priority to JP2008208442A priority Critical patent/JP5374961B2/ja
Publication of JP2010045207A publication Critical patent/JP2010045207A/ja
Application granted granted Critical
Publication of JP5374961B2 publication Critical patent/JP5374961B2/ja
Expired - Fee Related legal-status Critical Current
Anticipated expiration legal-status Critical

Links

Images

Landscapes

  • Exposure And Positioning Against Photoresist Photosensitive Materials (AREA)
  • Exposure Of Semiconductors, Excluding Electron Or Ion Beam Exposure (AREA)
  • Photosensitive Polymer And Photoresist Processing (AREA)

Abstract

【課題】基板を搬送する搬送アームを自動で洗浄することができ、これにより基板の汚染を低減できる塗布、現像装置を提供すること。
【解決手段】洗浄液または薬液をウェハWに供給して処理を行う、ベベル部洗浄ノズル72が設けられた洗浄モジュール100と、IFアームA5の基板載置部材切片55a、55b、55cにベベル部が保持され当該基板載置部材切片55a、55b、55cに付着している汚染物を転写させる、洗浄冶具載置棚C2に格納された洗浄用ウェハ6と、洗浄モジュール100にてベベル部が洗浄された洗浄用ウェハ6をIFアームA5に保持させるように制御する制御部110とを備え、洗浄用ウェハ6に基板載置部材切片55a、55b、55cの汚染物を転写させることにより、ウェハW用の洗浄モジュール100で自動的にIFアームA5を洗浄する。
【選択図】図12

Description

本発明は、半導体ウェハ(以下ウェハという)などの基板の表面にレジストを塗布し、レジスト膜が塗布され、露光された後の基板に対して現像を行う塗布、現像装置において、基板の搬送を行う搬送アームを洗浄する技術に関する。
従来、半導体製造工程の一つであるフォトレジスト工程においては、ウェハの表面にレジスト膜を塗布し、このレジストを所定のパターンで露光した後に、当該ウェハに現像液を供給して現像を行ってレジストパターンを作成している。このような処理は、一般に塗布モジュールと現像モジュールとを有する塗布、現像装置に露光装置を接続したシステムを用いて行われている。
ところで近年、デバイスパターンの微細化、薄膜化の要請から露光の解像度を上げることを目的として液浸露光を呼ばれる露光手法が導入されている。液浸露光とは、ウェハの表面に光を透過させる超純水等の液層を形成し、その状態で光源の光をこの液層を透過させて照射し、所望の回路パターンをレジストに転写する露光処理である。液浸露光は、光の波長が水中では短くなることを利用して解像度の高い露光処理を行うものであり、一例としては、ArF(フッ化アルゴン)エキシマレーザー(大気中での波長193nm)を利用し、レーザー光に液層を透過させてレーザー光の波長を134nmに変更して露光を行う。
所で塗布、現像装置に搬入されるウェハは、エッチング残渣などが付着している場合があり、この残渣がウェハから搬送手段に転写する。また塗布、現像装置内におけるレジスト膜の剥れ等によっても、搬送手段にパーティクルが付着することがある。搬送手段はウェハの周縁部を保持するように構成され、レジストの塗布モジュールや現像モジュール等が設けられている処理ブロック内の基板搬送をする搬送手段であるメインアームや、処理ブロックを露光装置に接続し、処理ブロックの処理と露光装置の処理とのタイミング差を吸収するインターフェイスブロック内での基板搬送をする搬送手段であるIFアームは、アーム体に沿って設けられた基板載置部材切片によりウェハの裏面周縁のベベル部を保持するように構成されている。
このためウェハのベベル部から搬送アームの基板載置部材切片にパーティクルが転写すると、そのうちこの基板載置部材切片に接触するウェハのベベル部にパーティクルが転写する。特に液浸露光プロセスでは、ウェハのベベル部に汚れが付着していると液を伝って、その汚れがウェハの表面に乗り上げ、露光装置のレンズやステージを汚染し、その結果パターンの欠陥を各ウェハに対して引き起こしてしまう。
そこで上記問題を解決するために、塗布、現像装置では露光装置に搬送されるウェハのベベル部を洗浄する液浸露光前洗浄モジュールをインターフェイスブロックに設け、ウェハのベベル部を洗浄してパーティクルを除去したウェハを露光装置に搬送するようにしている。しかしながら液浸露光前洗浄モジュールで洗浄されたウェハは、IFアームによって露光装置に搬送されるため、このIFアームの基板載置部材切片とウェハとが接触することになり、この基板載置部材切片にパーティクルが転写しているとそのパーティクルが洗浄されたウェハのベベル部に転写して既述の問題が発生源となるおそれがあった。このため従来の塗布、現像装置では、IFアームの基板載置部材切片からパーティクルが転写することを防止するために、人の手によって搬送アームの基板載置部材切片の洗浄や交換を行っていたが、この方法では実施に長時間を要し、また基板載置部材切片を交換した場合は、アーム位置の再調整を行う必要があった。そしてこの洗浄と調整に要する時間は、塗布、現像装置の装置ダウン時間となってしまっている。
この搬送手段の洗浄問題を解決するため、塗布、現像装置の中には、搬送手段の基板載置部材切片を洗浄する洗浄モジュールを備えたものがある。例えば特許文献1には、搬送手段が移動可能な領域に紫外線照射部を設け、搬送手段が汚染された際に紫外線照射部に搬送手段を移動させて紫外線を照射し、汚染物質を除去する装置が記載されている。また本出願人は、特許文献2に記載されているインターフェィスブロックの洗浄モジュールに搬送手段洗浄ヘッドを設け、洗浄モジュールに搬送手段を進入させる際に搬送手段洗浄ヘッドによって搬送手段を洗浄する塗布、現像装置や、特許文献3に記載されているウェハの受け渡しモジュールにクリーニング機構を設けて、ウェハを保持していない搬送手段をモジュール内に進入させ、クリーニング機構により搬送手段を洗浄する塗布、現像装置を提案している。
しかしながらこれらの手法では、塗布、現像装置に新規に搬送手段を洗浄するための機構を設けなければならず、また洗浄が行われる領域とウェハの搬送領域とを物理的に隔離することができないため洗浄中にパーティクルが搬送領域に拡散して搬送雰囲気が汚染される可能性がある等の課題があった。
特開平11−40462号公報(段落番号0024、0026) 特開2006−222158号公報(段落番号0027、0041) 特開2007−311691号公報(段落番号0077〜0079)
本発明はこのような事情に鑑みてなされたものであり、その目的は、基板を搬送する搬送アームを自動で洗浄することができ、これにより基板の汚染を低減できる塗布、現像装置、及びこの塗布、現像装置に関する技術を提供することにある。
本発明の塗布、現像装置では、
複数枚の基板を収納したキャリアが搬入されるキャリアブロックと、基板にレジスト液を塗布し、レジスト膜が形成され、露光装置にて露光された基板に対して現像液により現像を行う処理ブロックと、キャリアブロック内のキャリアから基板を取り出して露光装置に対する受け渡し位置に至るまでの搬送経路に沿って搬送を行い、基板の裏面周縁のベベル部を保持する搬送アームを含む基板搬送手段と、を備えた塗布、現像装置において、
洗浄液または薬液を基板に供給して基板に対して処理を行う液処理モジュールと、
前記搬送アームにおける基板のベベル部の保持領域によりそのベベル部が保持され、当該搬送アームの保持領域に付着している汚染物を転写させるための洗浄用治具と、
この洗浄用治具を格納する治具格納部と、
前記液処理モジュールに設けられ、洗浄用治具のベベル部を洗浄するためのベベル部洗浄手段と、
前記液処理モジュールにてベベル部が洗浄された洗浄用治具を前記搬送アームに保持させるように制御信号を出力する制御部と、を備えたことを特徴としている。
またベベル部洗浄手段は、基板のベベル部を洗浄する手段と兼用されている。また前記洗浄用治具が保持される搬送アームは、露光装置に接続されるインターフェイスブロックに設けられ、露光装置に基板を受け渡すためのものであってもよい。そして、洗浄用治具のベベル部を洗浄し、次いでこの洗浄用治具を搬送アームに保持させるステップを同一の搬送アームに対して複数回行うように制御信号を出力することが好ましい。また、前記ステップの実行回数を設定する設定部を備えている。前記ステップの各々に用いられる洗浄用治具は同一の洗浄用治具である。また各ステップの洗浄用治具は互いに異なる洗浄用治具であってもよい。また前記液処理モジュールは複数設けられ、洗浄用治具はこれら液処理モジュールにて順番にベベル部が洗浄され、制御部は、各液処理モジュールの搬入前後にて搬送アームに洗浄用治具を保持させるように制御信号を出力する。
本発明の塗布、現像装置の搬送アーム洗浄方法は、
複数枚の基板を収納したキャリアが搬入されるキャリアブロックと、基板にレジスト液を塗布し、レジスト膜が形成され、露光装置にて露光された基板に対して現像液により現像を行う処理ブロックと、キャリアブロック内のキャリアから基板を取り出して露光装置に対する受け渡し位置に至るまでの搬送経路に沿って搬送を行い、基板の裏面周縁のベベル部を保持する搬送アームを含む基板搬送手段と、を備えた塗布、現像装置において、
洗浄液または薬液を基板に供給して基板に対して処理を行い、洗浄用治具のベベル部を洗浄するためのベベル部洗浄手段が設けられた液処理モジュールを用い、
前記搬送アームにおける基板のベベル部の保持領域によりそのベベル部が保持され、当該搬送アームの保持領域に付着している汚染物を転写させるための洗浄用治具を、治具格納部から取り出して前記液処理モジュールに搬入する工程と、
この液処理モジュールにて洗浄用治具のベベル部をベベル部洗浄手段により洗浄する工程と、
前記液処理モジュールにてベベル部が洗浄された洗浄用治具を前記搬送アームに保持させる工程と、を含むことを特徴としている。
また本発明の記憶媒体は、
複数枚の基板を収納したキャリアが搬入されるキャリアブロックと、基板にレジスト液を塗布し、レジスト膜が形成され、露光装置にて露光された基板に対して現像液により現像を行う処理ブロックと、キャリアブロック内のキャリアから基板を取り出して露光装置に対する受け渡し位置に至るまでの搬送経路に沿って搬送を行い、基板の裏面周縁のベベル部を保持する搬送アームを含む基板搬送手段と、を備えた塗布、現像装置に用いられ、コンピュータプログラムを格納した記憶媒体であって、
前記コンピュータプログラムは、上記搬送アーム洗浄方法を実行するようにステップ群が組まれていることを特徴としている。
本発明によれば、装置内に搬送アームを洗浄するための洗浄用冶具を格納する治具格納部を設け、この洗浄用冶具のベベル部を、基板のベベル部を洗浄するベベル部洗浄手段を備えた液処理モジュールで洗浄した後、搬送アームに保持させる。これにより搬送アームに付着しているパーティクルが洗浄用冶具に転写されるので間接的に搬送アームが洗浄されることになる。このため搬送アームから基板にパーティクルが転写することが抑えられるので、基板の汚染が低減し、露光装置のクリーン化に寄与できる。そして搬送アームが自動で洗浄できるので作業者の負担にならず、また装置のダウン時間を短縮できる。
[第1の実施形態]
本発明の実施形態に係る塗布、現像装置の一例について説明する。図1は、本実施形態の塗布、現像装置と露光装置とを接続して構成したレジストパターン形成システムの平面図であり、図2は同概略斜視図である。図中B1は、基板であるウェハWが例えば13枚密閉収納された密閉型搬送容器(キャリア)であるFOUP1を搬入出するためのキャリアブロックであり、複数のキャリア載置台120と、FOUP1に対してウェハWの受け渡しを行うための受け渡しアームA1とを備えている。121は、FOUP1の蓋を開閉する機構である。
キャリアブロックB1の奥側には筐体122にて周囲を囲まれる処理ブロックB2が接続されており、この処理ブロックB2には棚ユニットU1、U2、U3と、液処理モジュールE1、E2と、ウェハWの受け渡しを行う搬送アームであるメインアームA2及びA3とが設けられている。液処理モジュールE1、E2は、図2に示すように、反射防止膜の塗布モジュール(BARC)、レジストの塗布モジュール(COT)、及び現像モジュール(DEV)を総称したものである。なおこれ以降、反射防止膜の塗布モジュールを反射防止膜モジュール、レジストの塗布モジュールを塗布モジュールという。
棚ユニットU1、U2、U3は、液処理モジュールE1、E2にて行われる処理の前処理及び後処理を行うための各種モジュール、例えば液処理の前処理あるいは後処理として特定の加熱処理を行う加熱モジュール、加熱されたウェハWを冷却する冷却モジュール(CPL)、及び受け渡しのためのステージを有する受け渡しモジュール(TRS)等を複数段積層して構成されている。加熱処理としては、レジスト塗布後の加熱処理(PAB)、現像前の加熱処理(PEB)、現像後の加熱処理(POST)等が挙げられる。この実施形態では、加熱モジュールあるいは受け渡しモジュールを介して前述及び後述の各アームA1、A2、A3、A4の間でウェハWの受け渡しができるようになっている。各モジュールの段数や各モジュールの配置は、処理時間等に応じて設定される。
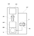
処理ブロックB2の棚ユニットU3の奥側には、インターフェイスブロックB3を介して露光装置B4が接続されている。インターフェイスブロックB3は、図2、図3に示すように処理ブロックB2に接続される第1搬送室126、及び露光装置B4に接続される第2搬送室127の二つの搬送室から構成されている。第1搬送室126には、棚ユニットU4、第1のIF(interface)アームA4、バッファカセットCO、洗浄モジュール100が設けられ、第2搬送室127には、第2のIFアームA5が設けられている。棚ユニットU4は、例えばウェハWの受け渡しを行う受け渡しモジュールU41を2段、その上に例えば高精度温度調整モジュールU42を2段積層することによって構成されている。バッファカセットCOは、搬送サイクルの調整を行うために搬送中のウェハWを一時的に退避させる。洗浄モジュール100は、搬入されたウェハWを洗浄する。
IFアームA4(A5)は、図4に示すように、例えば搬送基台50に2枚のアーム体であるピンセット51a、51bが進退自在に設けられており、搬送基台50は、Z軸ガイド部52に沿ってZ軸(鉛直軸)方向に昇降する移動部53に回転自在に設けられている。またこのZ軸ガイド部52はY軸ガイド部54に沿って移動可能に設けられている。ピンセット51a(51b)は、図5に示すようにウェハWの輪郭に対応する円に沿って前方左右に1個ずつ基板載置部材切片55a、55bが設けられ、後方に1個の基板載置部材切片55cが設けられている。これらの基板載置部材切片55a、55b、及び55cはウェハWの裏面側の周縁のベベル部を保持するように傾斜した傾斜面が形成されており、ピンセット51a(51b)に対して着脱できるように構成されている。なおメインアームA2、A3はアーム体が馬蹄形をしており、このアーム体にウェハWのベベル部を保持するように前方側左右に1個ずつ、後方側左右に1個ずつ基板載置部材切片が設けられている。
洗浄モジュール100は、図6に示すようにケーシング61を有し、側壁にシャッタ62により開閉自在な搬送口63が設けられている。ケーシング61の内部には、スピンチャック64、スピンチャック駆動部65、カップ66、洗浄ノズル71、ベベル部洗浄ノズル72が配設されている。スピンチャック64は、真空吸着によりウェハWを水平に保持し、スピンチャック駆動部65により鉛直軸回りに回転する。またスピンチャック64は、例えば洗浄位置からウェハ受け渡し位置までの間を昇降し、ウェハ受け渡し位置で搬送口63から進入するIFアームA5と協働してウェハWの受け渡しを行う。なおこの受け渡しは、カップ66内に3本の昇降装置を設けて行ってもよい。カップ66は、スピンチャック64の周囲を囲むように設けられており、底部には周方向で連通している外室66Aと、内室66Bとが区画形成されている。外室66Aの底部には排液を行うためのドレイン管67が接続され、内室66Bの底部にはカップ66内の排気を行う排気管68が接続されている。
洗浄ノズル71は、洗浄ノズル71に洗浄液供給源からの洗浄液が洗浄液供給源71Dを介して送られ、ウェハW上に吐出するように構成されている。またカップ66内には、ウェハWの裏面側のベベル部を洗浄するためのベベル部洗浄ノズル72が設けられ、例えば上述した洗浄液供給源から図示しない分岐路を介して洗浄液が、このノズルからベベル部へ向けて吐出するようになっている。
洗浄モジュール100におけるウェハWの洗浄は次のようにして行われる。まずIFアームA5は洗浄を行うウェハWをウェハ受け渡し位置まで搬送し、次いでスピンチャック64が上昇してウェハWを受け取り吸着して保持する。そしてスピンチャック64を回転させて洗浄ノズル71から洗浄液をウェハWの表面中央部に供給すると共に、ベベル部洗浄ノズル72から洗浄液をウェハWの裏面周縁部のベベル部に供給する。こうしてウェハWは、液浸露光を行う露光装置B4に搬送される前にウェハWの表面及びベベル部が洗浄される。
バッファカセットCOは、図7に示すように複数、例えば30枚のウェハWを格納することができ、ウェハWを格納するための棚C1を30枚分有している。本実施形態では、棚C1のうち、任意の複数、例えば下部の5つの棚C1を本発明の治具格納部に相当する洗浄冶具載置棚C2として設定し、予めアーム浄用の洗浄用冶具である洗浄用ウェハ6を積載している。なお本実施形態では通常のレジスト塗布、現像工程で使用されているシリコン(Si)ウェハWを、洗浄用ウェハ6として使用している。
この塗布、現像装置の全てのモジュールは、制御部110によってその動作が制御される。制御部110には、レジストパターン形成プログラム112と、アーム洗浄プログラム113とが記憶されている。レジストパターン形成プログラム112は、ウェハWにレジストパターンを形成する際の各モジュールの動作や各アームA1〜A5を制御するためのプログラムである。アーム洗浄プログラム113は、洗浄用ウェハ6の搬送及び洗浄モジュール100の動作を制御するプログラムであり、アーム洗浄時のIFアームA4、A5及び洗浄モジュール100の制御用レシピや、既述の洗浄冶具載置棚C2の位置情報等が設定される。これらのプログラムは、図1に示すように記憶媒体を介して制御部110であるコンピュータの記憶部111にインストールされる。
このレジストパターン形成システムにおけるウェハWの搬送経路の一例について説明する。なお以下に示す一例では、棚ユニットU1に既述の、TRS1、CPL1、CPL4が積層され、棚ユニットU2に既述の、TRS2、PAB、CPL2、POSTが積層され、棚ユニットU3に既述の、TRS3、PEB、CPL3が積層されているものとする。露光されるまでの経路は、FOUP1→TRS1→BARC→CPL1→COT→PAB→CPL2→TRS3→IFアームA4→受け渡しモジュールU41→IFアームA5→洗浄モジュール100→IFアームA5→露光装置B4の順に搬送される。また露光が終了した後の経路は、インターフェイスブロックB3→PEB→CPL3→DEV→POST→CPL4→FOUP1となる。メインアームA2、A3では、1サイクルの中で予め定められた順序でモジュール間のウェハWの搬送を行い、1サイクルが終了すると次のサイクルに移るサイクル搬送制御が行われている。これに対してIFアームA4、A5は、メインアームA2、A3に対して非同期で搬送を行う。
次に本実施形態の塗布、現像装置における特徴的な部分である、IFアームA4、A5の洗浄処理について図8のフロー及び図9ないし図13を参照して説明する。本実施形態では、IFアームA4、A5を洗浄するタイミングをウェハWのロット数によって決めており、このロット数はアーム洗浄プログラム113に予め設定するようになっている。即ち制御部110では、FOUP1から塗布、現像装置内に搬入されるロット数をカウントしており、設定されたロット数に到達すると次のロットについて処理ブロックB2へのウェハWの搬入を一旦停止させる。そして処理中のロットの最後尾のウェハWがインターフェイスブロックB3から処理ブロックB2に受け渡された後、アーム洗浄レシピが実行される。まず図9に示すように第1のIFアームA4が、バッファカセットCOの洗浄冶具載置棚C2から洗浄用ウェハ6を1枚取り出し(ステップS1)、受け渡しモジュールU41に格納する(ステップS2)。次に第2のIFアームA5で洗浄用ウェハ6を受け渡しモジュールU41より取り出し(ステップS3)、図10に示すように洗浄モジュール100に搬入する(ステップS4)。
そして洗浄モジュール100のスピンチャック64に洗浄用ウェハ6が保持された後、図11(a)に示すようにスピンチャック64が回転しながらベベル部洗浄ノズル72から洗浄液例えば純水が洗浄用ウェハ6の裏面周縁部に向けて吐出される。洗浄用ウェハ6の裏面周縁部に吐出された純水は図11(b)に示すように遠心力により裏面側のベベル部に沿って流れて当該ベベル部が洗浄され、パーティクルなどの汚染物が付着していた場合には洗い流される。次いで純水の吐出を停止し、スピンチャック64を回転させて洗浄用ウェハを乾燥させることにより一連の洗浄工程が終了し(ステップS5)、その後図12に示すように、IFアームA5が洗浄モジュール100内に進入して洗浄用ウェハ6をスピンチャック64から受け取る(ステップS6)。洗浄用ウェハ6は製品用ウェハWと同様にIFアームA5の基板載置部材切片55a、55b、55c(図5及び図13参照)によりベベル部が保持される。
IFアームA5の基板載置部材切片55a、55b、55cに汚染物例えばパーティクルPが付着している場合には、この基板載置部材切片55a、55b、55cに洗浄用ウェハ6のベベル部が接触して洗浄用ウェハ6の自重により押圧されるので、IFアームA5から洗浄用ウェハ6を他の場所に受け渡すときにはパーティクルPが基板載置部材切片55a、55b、55cから洗浄用ウェハ6のベベル部に転写される可能性が極めて高い。図13(a)、(b)はIFアームA5の基板載置部材切片55bから洗浄用ウェハ6のベベル部に転写される様子を示している。ところでステップS3、S4にて既にIFアームA5は洗浄用ウェハ6を受け取り更に洗浄モジュール100に受け渡しているが、この段階では例えば洗浄用ウェハ6の搬送がIFアームA4を介して行われているため洗浄用ウェハ6のベベル部が汚れている可能性がある。これに対して洗浄後の洗浄用ウェハ6をIFアームA5に受け渡し、更にIFアームA5から他の場所に受け渡すことにより、IFアームA5から洗浄用ウェハ6へのパーティクルの転写は起こるが、洗浄用ウェハ6のベベル部は洗浄されているので逆の転写は生じない。
本発明ではこの段階でIFアームA5から受け渡しモジュールU41に洗浄用ウェハ6を戻しても従来に比べてIFアームA5が清浄化されている可能性が高いので、全体の歩留まりの向上という効果は発揮されるが、洗浄用ウェハ6の洗浄→IFアームA5への受け渡しの一連のステップS4、S5及びS6を複数回行うことが好ましい。そこでこの実施の形態では制御部110の入力部を介してこのステップの繰り返し回数を設定できるように設定部が設けられており、図8のステップS7にて上記工程の設定回数に達しているか否かを判断し、設定回数に達していなければステップS4に戻ってIFアームA5から洗浄モジュール100に洗浄用ウェハ6が搬送され、先の一連のステップ(S4、S5及びS6)が繰り返される。この一連のステップの繰り返し回数が設定回数に達すると(ステップS7)、既述の経路と逆の経路で洗浄用ウェハ6を搬送する。即ち、IFアームA5から受け渡しモジュールU41に洗浄用ウェハ6を格納し(ステップS8)、IFアームA4にて洗浄用ウェハ6を取り出して(ステップS9)、バッファカセットCOの洗浄冶具載置棚C2へと格納する(ステップS10)。その後、アーム洗浄処理が終了したことを報知して(ステップS11)、次ロット以降の処理を再開させる。
上述実施の形態によれば、IFアームA5により製品用のウェハWを保持する領域つまり製品用のウェハWのベベル部を保持する領域である基板載置部材切片55a、55b、55cを洗浄用冶具により洗浄している。具体的には製品用のウェハWと同種のウェハ(サイズが同一なシリコンウェハ)を洗浄用治具である洗浄用ウェハ6として用い、製品用ウェハWの洗浄ユニット100を利用してこの洗浄用ウェハ6のベベル部を洗浄している。そしてこの洗浄用ウェハ6をIFアームA5に保持させて、基板載置部材切片55a、55b、55cに付着している汚染物であるパーティクルPを洗浄用ウェハ6に転写するようにし、こうしてIFアームA5におけるウェハ保持領域である基板載置部材切片55a、55b、55cを清浄化するようにしている。
既述のように露光装置B4に搬送されるウェハWは、洗浄モジュール100で洗浄された後IFアームA5により露光装置B4に搬送されるため、洗浄モジュール100でパーティクル等が除去されたとしても、IFアームA5にパーティクルP等が付着しているとこのパーティクルP等がウェハW裏面のベベル部に付着して露光装置B4に持ち込まれるおそれがある。従ってIFアームA5が清浄化されていることにより、B4におけるパーティクル汚染が抑えられ、特に液浸露光の場合にはウェハWに付着しているパーティクルが歩留まり低下の大きな要因になるため、上述の実施形態は液浸露光を行う上で、非常に有効である。なお本発明はドライ露光に適用しても効果が得られることは勿論である。こうして露光装置の汚染が低減し、露光不良の低減、露光装置のメンテナンス周期の改善が期待できる。更にIFアームA5を自動で洗浄しているので、マニュアルの清掃、パーツ交換を行う場合に比べて格段に装置のダウン時間を短縮化でき、またオペレータの負担も軽減できる。
本発明は、例えば次のように実施することもできる。図14に示すように、ステップS8で行われていた判定処理を、洗浄冶具載置棚C2へ洗浄用ウェハ6を格納するステップS10の前に移動させてステップS70とし、ステップS7と同様の判定を行って、設定された回数に到達していない場合には、ステップS2に戻るようにしてもよい。これによりインターフェイスブロックB3のIFアームA5だけでなくIFアームA4についても洗浄することが可能となる。このようにIFアームA4についても洗浄することにより、プロセス中にIFアームA4からIFアームA5にパーティクルが転写することが抑えられ、結果として露光装置B4へのパーティクルの持ち込みがより一層防止できる。
また第1の実施形態において、IFアームA5が洗浄用ウェハ6を受け渡しモジュールU41から取り出した後、IFアームA4が次の洗浄用ウェア6を受け渡しモジュールU41に搬入するようにしてもよい。この場合、IFアームA5が洗浄モジュール100にて洗浄された洗浄済みの洗浄用ウェハ6と受け渡しモジュールU41の洗浄前の洗浄用ウェハ6とを交換すると共に、IFアームA4が、受け渡しモジュールU41に搬入された洗浄済みの洗浄用ウェハ6と、次の洗浄用ウェハ6とを交換することになる。従って、バッファカセットCOから順次取り出される洗浄用ウェハ6によってIFアームA4、IFアームA5が洗浄されることになる。また洗浄用冶具としては、製品用ウェハWと同種のウェハに限らず、パーティクルをより転写しやすい材質のものを使用してもよいし、ベベル部の形状を最適化して搬送アームの爪の洗浄効果を高めるようにしてもよい。
[第2の実施形態]
また洗浄用治具を洗浄する洗浄モジュールとしては、インターフェイスブロックB3に設けられた液浸露光前洗浄用の洗浄モジュール100に限らず、液浸露光の後にウェハWを洗浄する洗浄モジュールであってもよい。液浸露光後洗浄用の洗浄モジュールにウェハWのベベル部を洗浄するための洗浄ノズルが設けられていない場合には、洗浄用治具のベベル部を洗浄するための洗浄ノズルを付設することになる。
また洗浄の対象となる搬送アームとしては、インターフェイスブロックB3内の搬送アーム(IFアームA4、A5)に限られるものではなく、露光装置B4に対するウェハWの受け渡し位置に至るまでの搬送経路に沿ってウェハWを搬送する搬送アームであれば、処理ブロックB2内のメインアームA2、A3であってもよい。そして洗浄用治具を洗浄する洗浄モジュールとしては、基板を洗浄するための洗浄モジュールを利用することに限らず、薬液を基板に供給して液処理を行うモジュール例えば塗布モジュール(COT)、反射防止膜を形成するためにスピンコーティングを行う反射防止膜モジュール(BARC)あるいは現像モジュール(DEV)などであってもよい。この場合においても、ウェハWのベベル部を洗浄するための洗浄ノズルが設けられていない場合には、洗浄用治具のベベル部を洗浄するための洗浄ノズルを付設すればよい。
この第2の実施形態の塗布、現像装置について図15を参照して説明する。図15に示すように、本実施形態の塗布、現像装置では、キャリアブロックB1の受け渡しアームA1の移動可能領域に、予め複数枚の洗浄用ウェハ6を収納した洗浄冶具用キャリアC3を載置しておき、アーム洗浄時には、この洗浄冶具用キャリアC3から洗浄用ウェハ6を取り出してアームの洗浄処理を行う。
第2の実施形態の洗浄処理は、以下の経路に沿って洗浄用ウェハ6を搬送することにより行われる。なお第2の実施形態の棚ユニットU1、U2、U3の構成は、第1の実施形態の棚ユニットU1、U2、U3と同じである。洗浄用ウェハ6の搬送経路は、洗浄冶具用キャリアC3→受け渡しアームA1→TRS1→メインアームA2→COT→メインアームA2→TRS2→メインアームA3→TRS3→IFアームA4→受け渡しモジュールU41→IFアームA5→洗浄モジュール100となる。そして洗浄モジュール100から洗浄冶具用キャリアC3までの洗浄用ウェハ6の経路はCOTに搬送されない以外は、全て上記経路と同じ経路を搬送される。搬送される洗浄用ウェハ6には、装置内の全てのアームA1〜A5からパーティクル等が転写され、洗浄モジュール100、及びベベルリンスノズルを備えた塗布モジュールCOTに搬送される。そして第1の実施形態と同様に洗浄用ウェハ6に対してベベル洗浄が行われる。
これにより第2の実施形態では、全てのアームA1〜A5を間接的に洗浄することができる。なお第2の実施形態のアーム洗浄処理においては、洗浄用ウェハ6に対して熱処理や冷却処理、現像処理等を行う必要がないため、洗浄用ウェハ6は、受け渡しモジュールTRS1〜3、受け渡しモジュールU41、受け渡しアームA1、メインアームA2、A3、IFアームA4、A5、及び洗浄モジュール100と塗布モジュールCOTのみに搬送され、それ以外のモジュールには搬送しないよう設定されている。これにより、洗浄用ウェハ6を、製品用のウェハWより早く搬送してアーム洗浄処理時間の短縮化を図っている。またこの実施形態では、塗布モジュールCOTで洗浄用ウェハ6の洗浄を行っているが、本発明の実施の形態としては、洗浄モジュール100のみで洗浄を行うようにしてもよい。また第2の実施形態では、第1の実施形態同様、複数回洗浄用ウェハ6の搬送を行うように設定し、各アームA1〜A5のパーティクルの除去精度を向上させることができる。
[第3の実施形態]
また本発明の実施の形態としては、次の第3の実施形態に示す形態であってもよい。この第3の実施形態の塗布、現像装置について図16を参照して説明する。本実施形態の塗布、現像装置では、棚ユニットU1に洗浄冶具載置棚C2を設け、複数枚の洗浄用ウェハ6を収納している。この実施形態の洗浄処理は、図16に示す経路に沿って洗浄用ウェハ6を搬送することにより行われる。なお第3の実施形態の棚ユニットU1、U2、U3の構成は、棚ユニットU1に洗浄冶具載置棚C2が追加で積層されている以外は、第1の実施形態の棚ユニットU1、U2、U3と同じである。洗浄用ウェハ6の搬送経路は、洗浄冶具載置棚C2→メインアームA2→COT→メインアームA2→TRS2→メインアームA3→TRS3→IFアームA4→受け渡しモジュールU41→IFアームA5→洗浄モジュール100となる。また洗浄モジュール100から洗浄冶具載置棚C2までの洗浄用ウェハ6の経路は、棚ユニットU1と受け渡しアームA1に搬送されない以外は、第2の実施形態と同様の経路を搬送される。そして搬送される洗浄用ウェハ6は、メインアームA2、A3、IFアームA4、A5からパーティクル等が転写され、洗浄モジュール100、及びベベルリンスノズルを備えた塗布モジュールCOTに搬送されてベベル洗浄が行われる。
このような実施形態においても、メインアームA2、A3、及びIFアームA4、A5を間接的に洗浄することができる。なお第2の実施形態と同様、アーム洗浄処理においては、洗浄用ウェハ6に対して熱処理や冷却処理、現像処理等を行う必要がないため、洗浄用ウェハ6は、第2〜4棚ユニットU2〜U4の受け渡しモジュールTRS2〜3、受け渡しモジュールU41、メインアームA2、A3、IFアームA4、A5、及び洗浄モジュール100と塗布モジュールCOTのみに搬送され、それ以外のモジュールには搬送しない。またこの実施形態でも、第2の実施形態と同様、塗布モジュールCOTで洗浄用ウェハ6の洗浄を行っているが、本発明の実施の形態としては、洗浄モジュール100のみで洗浄を行うようにしてもよい。また第3の実施形態においても、第1の実施形態同様、複数回洗浄用ウェハ6の搬送を行うように設定し、各アームA2〜A5のパーティクルの除去精度を向上させることができる。また第3の実施形態では、洗浄冶具載置棚C2を設ける位置は棚ユニットU1に限らず、処理ブロックB2内であれば何処に配設してもよい。
本実施形態の塗布、現像装置の全体の概略を示す平面図である。 本実施形態の塗布、現像装置の全体の概略を示す斜視図である。 本実施形態のインターフェイスブロックB3の概略を示す斜視図である。 本実施形態のIFアームA4、A5の概略を示す斜視図である。 本実施形態のピンセット51a、51bを説明するための説明図である。 本実施形態の洗浄モジュール100を説明するための断面図である。 本実施形態のバッファカセットCOを説明するための説明図である。 本実施形態のアーム洗浄を説明するためのフローである。 本実施形態のアーム洗浄を説明するための第1の説明図である。 本実施形態のアーム洗浄を説明するための第2の説明図である。 本実施形態のアーム洗浄を説明するための第3の説明図である。 本実施形態のアーム洗浄を説明するための第4の説明図である。 本実施形態のアーム洗浄を説明するための第5の説明図である。 本実施形態のアーム洗浄の変形例を説明するためのフローである。 第2の実施形態のアーム洗浄を説明するための説明図である。 第3の実施形態のアーム洗浄を説明するための説明図である。
符号の説明
1 FOUP
6 洗浄用ウェハ(洗浄用冶具)
50 搬送基台
51a、51b ピンセット
55a、55b、55c 基板載置部材切片
61 ケーシング
62 シャッタ
63 搬入口
64 スピンチャック
65 スピンチャックモータ
66 カップ
67 ドレイン管
68 排気管
71 洗浄ノズル
72 ベベル部洗浄ノズル
100 洗浄モジュール
110 制御部
120 載置部
A1 受け渡しアーム
A2、A3 メインアーム
A4、A5 IFアーム
B1 キャリアブロック
B2 処理ブロック
B3 インターフェイスブロック
B4 露光装置
CO バッファカセット
C1 棚
C2 洗浄冶具載置棚
C3 洗浄冶具用キャリア
E1、E2 液処理モジュール
U1、U2、U3、U4 棚ユニット
U41 受け渡しモジュール
W ウェハ

Claims (16)

  1. 複数枚の基板を収納したキャリアが搬入されるキャリアブロックと、基板にレジスト液を塗布し、レジスト膜が形成され、露光装置にて露光された基板に対して現像液により現像を行う処理ブロックと、キャリアブロック内のキャリアから基板を取り出して露光装置に対する受け渡し位置に至るまでの搬送経路に沿って搬送を行い、基板の裏面周縁のベベル部を保持する搬送アームを含む基板搬送手段と、を備えた塗布、現像装置において、
    洗浄液または薬液を基板に供給して基板に対して処理を行う液処理モジュールと、
    前記搬送アームにおける基板のベベル部の保持領域によりそのベベル部が保持され、当該搬送アームの保持領域に付着している汚染物を転写させるための洗浄用治具と、
    この洗浄用治具を格納する治具格納部と、
    前記液処理モジュールに設けられ、洗浄用治具のベベル部を洗浄するためのベベル部洗浄手段と、
    前記液処理モジュールにてベベル部が洗浄された洗浄用治具を前記搬送アームに保持させるように制御信号を出力する制御部と、を備えたことを特徴とする塗布、現像装置。
  2. ベベル部洗浄手段は、基板のベベル部を洗浄する手段と兼用されていることを特徴とする請求項1記載の塗布、現像装置。
  3. 前記洗浄用治具が保持される搬送アームは、露光装置に接続されるインターフェイスブロックに設けられ、露光装置に基板を受け渡すためのものであることを特徴とする請求項1または2記載の塗布、現像装置。
  4. 洗浄用治具のベベル部を洗浄し、次いでこの洗浄用治具を搬送アームに保持させるステップを同一の搬送アームに対して複数回行うように制御信号を出力することを特徴とする請求項1ないし3のいずれか一つに記載の塗布、現像装置。
  5. 前記ステップの実行回数を設定する設定部を備えていることを特徴とする請求項4記載の塗布、現像装置。
  6. 前記ステップの各々に用いられる洗浄用治具は同一の洗浄用治具であることを特徴とする請求項4または5に記載の塗布、現像装置。
  7. 各ステップの洗浄用治具は互いに異なる洗浄用治具であることを特徴とする請求項4または5記載の塗布、現像装置。
  8. 前記液処理モジュールは複数設けられ、洗浄用治具はこれら液処理モジュールにて順番にベベル部が洗浄され、
    制御部は、各液処理モジュールの搬入前後にて搬送アームに洗浄用治具を保持させるように制御信号を出力するものであることを特徴とする請求項1ないし7のいずれか一つに記載の塗布、現像装置。
  9. 複数枚の基板を収納したキャリアが搬入されるキャリアブロックと、基板にレジスト液を塗布し、レジスト膜が形成され、露光装置にて露光された基板に対して現像液により現像を行う処理ブロックと、キャリアブロック内のキャリアから基板を取り出して露光装置に対する受け渡し位置に至るまでの搬送経路に沿って搬送を行い、基板の裏面周縁のベベル部を保持する搬送アームを含む基板搬送手段と、を備えた塗布、現像装置において、
    洗浄液または薬液を基板に供給して基板に対して処理を行い、洗浄用治具のベベル部を洗浄するためのベベル部洗浄手段が設けられた液処理モジュールを用い、
    前記搬送アームにおける基板のベベル部の保持領域によりそのベベル部が保持され、当該搬送アームの保持領域に付着している汚染物を転写させるための洗浄用治具を、治具格納部から取り出して前記液処理モジュールに搬入する工程と、
    この液処理モジュールにて洗浄用治具のベベル部をベベル部洗浄手段により洗浄する工程と、
    前記液処理モジュールにてベベル部が洗浄された洗浄用治具を前記搬送アームに保持させる工程と、を含むことを特徴とする塗布、現像装置の搬送アーム洗浄方法。
  10. 前記ベベル部洗浄手段は、基板のベベル部を洗浄する手段と兼用されていることを特徴とする請求項9記載の塗布、現像装置の搬送アーム洗浄方法。
  11. 前記洗浄用治具が保持される搬送アームは、露光装置に接続されるインターフェイスブロックに設けられ、露光装置に基板を受け渡すためのものであることを特徴とする請求項9または10記載の塗布、現像装置の搬送アーム洗浄方法。
  12. 洗浄用治具のベベル部を洗浄し、次いでこの洗浄用治具を搬送アームに保持させるステップを同一の搬送アームに対して複数回行うことを特徴とする請求項9ないし11のいずれか一つに記載の塗布、現像装置の搬送アーム洗浄方法。
  13. 各ステップに用いられる洗浄用治具は同一の洗浄用治具であるであることを特徴とする請求項12に記載の塗布、現像装置の搬送アーム洗浄方法。
  14. 各ステップの洗浄用治具は互いに異なる洗浄用治具であることを特徴とする請求項12記載の塗布、現像装置の搬送アーム洗浄方法。
  15. 液処理モジュールは複数設けられ、洗浄用治具はこれら液処理モジュールにて順番にベベル部が洗浄され、
    各液処理モジュールの搬入前後にて搬送アームに洗浄用治具を保持させることを特徴とする請求項1ないし5のいずれか一つに記載の塗布、現像装置の搬送アーム洗浄方法。
  16. 複数枚の基板を収納したキャリアが搬入されるキャリアブロックと、基板にレジスト液を塗布し、レジスト膜が形成され、露光装置にて露光された基板に対して現像液により現像を行う処理ブロックと、キャリアブロック内のキャリアから基板を取り出して露光装置に対する受け渡し位置に至るまでの搬送経路に沿って搬送を行い、基板の裏面周縁のベベル部を保持する搬送アームを含む基板搬送手段と、を備えた塗布、現像装置に用いられ、コンピュータプログラムを格納した記憶媒体であって、
    前記コンピュータプログラムは、請求項9ないし16のいずれか一つに記載された搬送アーム洗浄方法を実行するようにステップ群が組まれていることを特徴とする記憶媒体。
JP2008208442A 2008-08-13 2008-08-13 塗布、現像装置、及び塗布、現像装置の搬送アーム洗浄方法、並びに記憶媒体 Expired - Fee Related JP5374961B2 (ja)

Priority Applications (1)

Application Number Priority Date Filing Date Title
JP2008208442A JP5374961B2 (ja) 2008-08-13 2008-08-13 塗布、現像装置、及び塗布、現像装置の搬送アーム洗浄方法、並びに記憶媒体

Applications Claiming Priority (1)

Application Number Priority Date Filing Date Title
JP2008208442A JP5374961B2 (ja) 2008-08-13 2008-08-13 塗布、現像装置、及び塗布、現像装置の搬送アーム洗浄方法、並びに記憶媒体

Publications (2)

Publication Number Publication Date
JP2010045207A true JP2010045207A (ja) 2010-02-25
JP5374961B2 JP5374961B2 (ja) 2013-12-25

Family

ID=42016352

Family Applications (1)

Application Number Title Priority Date Filing Date
JP2008208442A Expired - Fee Related JP5374961B2 (ja) 2008-08-13 2008-08-13 塗布、現像装置、及び塗布、現像装置の搬送アーム洗浄方法、並びに記憶媒体

Country Status (1)

Country Link
JP (1) JP5374961B2 (ja)

Cited By (5)

* Cited by examiner, † Cited by third party
Publication number Priority date Publication date Assignee Title
JP2012033863A (ja) * 2010-07-09 2012-02-16 Tokyo Electron Ltd 塗布、現像装置
CN102693929A (zh) * 2011-03-18 2012-09-26 大日本网屏制造株式会社 基板处理装置
JP2013098476A (ja) * 2011-11-04 2013-05-20 Tokyo Electron Ltd 基板処理システム、基板搬送方法、プログラム及びコンピュータ記憶媒体
US9287145B2 (en) 2011-11-04 2016-03-15 Tokyo Electron Limited Substrate treatment system, substrate transfer method, and a non-transitory computer storage medium
US9984904B2 (en) 2011-11-04 2018-05-29 Tokyo Electron Limited Substrate treatment system, substrate transfer method and computer storage medium

Citations (5)

* Cited by examiner, † Cited by third party
Publication number Priority date Publication date Assignee Title
JPH1187458A (ja) * 1997-09-16 1999-03-30 Hitachi Ltd 異物除去機能付き半導体製造装置
JP2007214279A (ja) * 2006-02-08 2007-08-23 Tokyo Electron Ltd 塗布、現像装置、塗布、現像方法及びその方法を実施するためのコンピュータプログラム。
JP2007227626A (ja) * 2006-02-23 2007-09-06 Tokyo Electron Ltd 基板処理システム、基板処理方法、及び記憶媒体
JP2007317985A (ja) * 2006-05-29 2007-12-06 Sokudo:Kk 基板処理装置
JP2007324153A (ja) * 2006-05-30 2007-12-13 Nitto Denko Corp クリーニング機能付搬送部材および基板処理装置のクリーニング方法

Patent Citations (5)

* Cited by examiner, † Cited by third party
Publication number Priority date Publication date Assignee Title
JPH1187458A (ja) * 1997-09-16 1999-03-30 Hitachi Ltd 異物除去機能付き半導体製造装置
JP2007214279A (ja) * 2006-02-08 2007-08-23 Tokyo Electron Ltd 塗布、現像装置、塗布、現像方法及びその方法を実施するためのコンピュータプログラム。
JP2007227626A (ja) * 2006-02-23 2007-09-06 Tokyo Electron Ltd 基板処理システム、基板処理方法、及び記憶媒体
JP2007317985A (ja) * 2006-05-29 2007-12-06 Sokudo:Kk 基板処理装置
JP2007324153A (ja) * 2006-05-30 2007-12-13 Nitto Denko Corp クリーニング機能付搬送部材および基板処理装置のクリーニング方法

Cited By (8)

* Cited by examiner, † Cited by third party
Publication number Priority date Publication date Assignee Title
JP2012033863A (ja) * 2010-07-09 2012-02-16 Tokyo Electron Ltd 塗布、現像装置
TWI487056B (zh) * 2010-07-09 2015-06-01 東京威力科創股份有限公司 Coating device
TWI560799B (ja) * 2010-07-09 2016-12-01 Tokyo Electron Ltd
CN102693929A (zh) * 2011-03-18 2012-09-26 大日本网屏制造株式会社 基板处理装置
US9059226B2 (en) 2011-03-18 2015-06-16 SCREEN Holdings Co., Ltd. Substrate treatment apparatus
JP2013098476A (ja) * 2011-11-04 2013-05-20 Tokyo Electron Ltd 基板処理システム、基板搬送方法、プログラム及びコンピュータ記憶媒体
US9287145B2 (en) 2011-11-04 2016-03-15 Tokyo Electron Limited Substrate treatment system, substrate transfer method, and a non-transitory computer storage medium
US9984904B2 (en) 2011-11-04 2018-05-29 Tokyo Electron Limited Substrate treatment system, substrate transfer method and computer storage medium

Also Published As

Publication number Publication date
JP5374961B2 (ja) 2013-12-25

Similar Documents

Publication Publication Date Title
JP4410121B2 (ja) 塗布、現像装置及び塗布、現像方法
KR101070342B1 (ko) 도포막 형성 장치 및 도포막 형성 방법
US7641405B2 (en) Substrate processing apparatus with integrated top and edge cleaning unit
CN100561355C (zh) 涂敷、显影方法、涂敷、显影装置
US20080212049A1 (en) Substrate processing apparatus with high throughput development units
CN111383954B (zh) 衬底处理装置及衬底搬送方法
KR20070079565A (ko) 기판처리장치
TWI386976B (zh) 塗布顯影裝置及塗布顯影裝置之操作方法與記憶媒體
US20060152694A1 (en) Substrate processing apparatus
TW202341336A (zh) 基板處理系統、基板處理方法及電腦可讀取記錄媒體
JP5374961B2 (ja) 塗布、現像装置、及び塗布、現像装置の搬送アーム洗浄方法、並びに記憶媒体
US8851769B2 (en) Substrate processing method
US20060147201A1 (en) Substrate processing apparatus and substrate processing method
JP4912180B2 (ja) 露光・現像処理方法
US8031324B2 (en) Substrate processing apparatus with integrated cleaning unit
JP4654120B2 (ja) 塗布、現像装置及び塗布、現像方法並びにコンピュータプログラム
US7766565B2 (en) Substrate drying apparatus, substrate cleaning apparatus and substrate processing system
JP5154006B2 (ja) 基板処理装置
JP4949064B2 (ja) 基板処理装置
JP5183994B2 (ja) 基板処理装置
JP2008103611A (ja) 液処理装置
JP4748263B2 (ja) 塗布、現像装置
KR100634171B1 (ko) 웨트 스테이션의 기판 이송 로봇
JP2000031042A (ja) 処理方法

Legal Events

Date Code Title Description
A621 Written request for application examination

Free format text: JAPANESE INTERMEDIATE CODE: A621

Effective date: 20100803

A131 Notification of reasons for refusal

Free format text: JAPANESE INTERMEDIATE CODE: A131

Effective date: 20121106

A521 Request for written amendment filed

Free format text: JAPANESE INTERMEDIATE CODE: A523

Effective date: 20130107

TRDD Decision of grant or rejection written
A01 Written decision to grant a patent or to grant a registration (utility model)

Free format text: JAPANESE INTERMEDIATE CODE: A01

Effective date: 20130827

A61 First payment of annual fees (during grant procedure)

Free format text: JAPANESE INTERMEDIATE CODE: A61

Effective date: 20130909

R150 Certificate of patent or registration of utility model

Ref document number: 5374961

Country of ref document: JP

Free format text: JAPANESE INTERMEDIATE CODE: R150

Free format text: JAPANESE INTERMEDIATE CODE: R150

R250 Receipt of annual fees

Free format text: JAPANESE INTERMEDIATE CODE: R250

LAPS Cancellation because of no payment of annual fees