JP2010044196A - トナー - Google Patents
トナー Download PDFInfo
- Publication number
- JP2010044196A JP2010044196A JP2008207829A JP2008207829A JP2010044196A JP 2010044196 A JP2010044196 A JP 2010044196A JP 2008207829 A JP2008207829 A JP 2008207829A JP 2008207829 A JP2008207829 A JP 2008207829A JP 2010044196 A JP2010044196 A JP 2010044196A
- Authority
- JP
- Japan
- Prior art keywords
- toner
- mass
- parts
- polar resin
- resin
- Prior art date
- Legal status (The legal status is an assumption and is not a legal conclusion. Google has not performed a legal analysis and makes no representation as to the accuracy of the status listed.)
- Granted
Links
Images
Landscapes
- Developing Agents For Electrophotography (AREA)
Abstract
【解決手段】結着樹脂、極性樹脂、着色剤及びワックスを少なくとも含有するトナー粒子を有するトナーであって、該トナーにUV光硬化性組成物を浸透させた際の、浸透時間5秒における浸透膜厚をL(μm)、5秒以上10秒以下における平均浸透速度をVa(μm/s)、10秒以上15秒以下における平均浸透速度をVb(μm/s)とするとき、L,Va及びVbが特定の条件を満たし、該トナーの100℃における粘度が特定の範囲内にあることを特徴とするトナー。
【選択図】なし
Description
、分散剤を含有する水系分散媒体中で、少なくとも着色剤とガラス転移温度が70℃以下の重合体を形成し得るコア用重合性単量体とを含む重合性単量体組成物を、マクロモノマーの存在下に懸濁重合して得られた体積平均粒径(dv)が0.5〜20μmで、体積平均粒径(dv)と個数平均粒径(dp)との比(dv/dp)が1.7以下の着色重合体粒子からなるコア粒子が、該コア粒子の存在下にシェル用重合性単量体を懸濁重合して得られた、該コア粒子を構成する重合体成分のガラス転移温度よりも高いガラス転移温度を有し、平均膜厚0.005〜0.05μmの重合体層からなるシェルで被覆されており、トルエン不溶解分が50%以下であるコアシェル型構造の懸濁重合トナーが提案されている(特許文献3参照)。
0.30≦L≦0.60 式(1)
0.040≦Va≦0.070 式(2)
Va<Vb 式(3)
を満たし、上記トナーの100℃における粘度が3.0×103乃至4.5×104Pa・sであることを特徴とする。
<1>トナーの現像性の向上は以下の3点を意味する。
(i)トナー規制部材とトナー担持体との間での摺擦による強靭性が大きく、連続して画
像出力してもトナーの帯電特性の変化が少なく、高現像効率を得ること。
(ii)トナー破壊や融着によるトナー規制部材とトナー担持体間への異物挟み込みによる周方向のスジや、トナー担持体とトナー端部シ−ル間への異物挟み込みによるトナー飛散が無いこと。
(iii)トナー担持体の長手方向のトナーコート量が均一であり、感光体上への現像が均
一であること。
<2>トナーの定着性の向上は以下の2点を意味する。
(i)軽圧定着システムにおいてはトナーの低温定着性を確保すること。
(ii)転写材と定着部材との高温時の転写材の耐巻きつき性を確保すること。
<3>トナーの保存性の向上は以下を意味する。
50℃3日放置後においてもトナーの凝集が少ないこと。
メカニズムは明らかでないが、本発明者らはUV光硬化性組成物の樹脂に対する浸透速度(以下VUVとも言う)の大小は樹脂の分子鎖の運動性に起因すると考えている。すなわち、樹脂の分子鎖の運動性が高いほどVUVは大きく、運動性が低いほどVUVは小さいと推定している。そこで、本発明者らはVUVを決める要因として樹脂のTg、架橋度、分子量などが複合的に作用していると推定している。
上記Lが0.30乃至0.60μmに存在する場合には上記理由によりトナー内層とトナー外層の密着性が高まる。よって、充分なトナーの強靭性が得られる。また、定着時におけるワックスのブリード性が向上する。そのため現像特性、定着特性が向上する。また、トナー外層の厚み、樹脂の分子鎖の運動性が最適範囲となる。よって、保存安定性が向上する。
上記Vaが0.040乃至0.070μm/sに存在する場合にはトナー内層とトナー外層の樹脂の分子鎖の運動性が最適な範囲となる。また、トナー内層とトナー外層の密着性が高まる。よって、充分なトナーの強靭性が得られる。また、定着時におけるワックスのブリード性が向上する。そのため現像特性、定着特性が向上する。
上記Vaが0.040μm/s以上であることで、トナー外層の樹脂の分子鎖の運動性が好適なものとなり、また、トナー内層とトナー外層の密着性が好適なものとなる。これにより、現像特性、低温定着性への弊害を防ぐことができる。
上記Vaが0.070μm/s以下であることで、トナー外層の樹脂の分子鎖の運動性が好適なものとなり。また、トナー内層とトナー外層の密着性が好適なものとなる。これにより、現像特性、保存安定性への弊害を防ぐことができる。
上記Va及びVbの関係がVa<Vbの場合には、トナー外層を構成する樹脂がトナー表層近傍から内部に向けて濃度勾配を持って存在している。また、トナー内層とトナー外層の密着性が高い。よって、現像特性、低温定着性が向上する。
トナーの低温定着性や転写材の高温時の耐巻きつき性を向上させることができる。
上記トナーの100℃での粘度が3.0×103乃至4.5×104Pa・sである場合には、適度なワックスのブリード性により耐高温巻きつき性が向上する。さらに紙との付着力が向上し、低温定着性が向上する。
上記トナーの100℃における粘度が5.0×103乃至2.5×104Pa・sである場合には、上記効果は更に向上する。
上記トナーの100℃における粘度が4.5×104Pa・s以下である場合には、トナーのTgが好適なものとなる。よって、ワックスのブリード性が低下することによる、耐高温巻きつき性への弊害を防ぐことができる。さらに、紙との付着力が低下し、低温定着性への弊害を防ぐことができる。
トナーの前記Va,Vbが下記条件:
1.2≦Vb/Va≦2.0
の関係を満たすことが好ましく、下記条件:
1.4≦Vb/Va≦1.8
の関係を満たすことがより好ましい。
上記トナーのVa,Vbの関係が1.4≦Vb/Va≦1.8を満たす場合には上記効果は更に向上する。
上記トナーのVa,Vbの関係が1.2≦Vb/Vaの場合には現像特性、保存安定性への弊害を防ぐことができる。
上記トナーのVa,Vbの関係がVb/Va≦2.0の場合には保存安定性への弊害を防ぐことができる。
4.90×10−4≦R(25)≦1.27×10−3
を満たすことが好ましい。
上記トナーのR(25)が4.90×10−4以上であることにより、トナー外層の機械的強度が好適なものとなる。よって、トナー外層が機械的ストレスによって潰れにくくなるため、現像特性への弊害を防ぐことができる。
上記トナーのR(25)が1.27×10−3以下であることにより、トナー表層の機械的強度が好適なものとなる。よって、トナー外層が機械的ストレスによって欠損しにくくなり、現像特性への弊害を防ぐことができる。
これらによって、トナーの強靭性が高まり現像特性が向上する。
上記トナーの重量平均粒子径(D4)が4.0μm以上である場合には、トナー外層の厚さが充分なものとなる。よって、トナー内層がトナー外層によって適切に保護されないことによる、現像性および保存安定性への弊害を防ぐことができる。また、上記トナーの重量平均粒子径(D4)が9.0μm以下であることによりトナー外層が好適なものとなる。よって、加熱加圧時のワックスの染み出しが良好となるため、低温定着性および耐高温時巻きつき性への弊害を防ぐことができる。
これらによって、加熱加圧時のワックスの染み出しを阻害することなくトナー内層がトナー外層によって保護されるため、現像特性、定着特性および保存安定性が向上する。なお、本発明において、上記トナーの重量平均粒子径(D4)は、例えば、トナー粒子の製造方法として懸濁重合法を用いる場合には造粒時の撹拌条件を調整すること、粉砕法を用いる場合には粉砕強度や時間を調整することによって調整することができる。
極性樹脂が上記結着樹脂100質量部に対して合計で10乃至50質量部含有されている場合には、トナー外層の厚みが好適な範囲となる。よって、加熱加圧時におけるワックスの染み出しを阻害することなくトナー内層がトナー外層によって保護されるため、現像特性、定着特性および保存安定性が向上する。
極性樹脂が上記結着樹脂100質量部に対して合計で10質量部以上含有されている場合には、トナー外層の厚みが充分なものとなる。よって、トナー内層がトナー外層によって適切に保護されないことによる、現像特性、保存安定性への弊害を防ぐことができる。
極性樹脂が上記結着樹脂100質量部に対して合計で50質量部以下含有されている場合には、トナー外層の厚みが好適なものとなる。よって、加熱加圧時におけるワックスの染み出しが阻害されることがないため定着特性への弊害を防ぐことができる。
具体的には極性樹脂のガラス転移点(Tg)が70乃至120℃であることが好ましい。
極性樹脂のTgが70乃至120℃である場合には、加熱加圧時のワックスの染み出しを阻害せずにトナー内層を保護することが可能となる。よって、保存安定性が向上する。
極性樹脂のTgを70℃以上とすることで、保存安定性への弊害を防ぐことができる。
極性樹脂のTgを120℃以下とすることで、定着特性への弊害を防ぐことが出来る。
Tg(℃)=Tg(K)―273
と定義する。
なお、本発明で用いる極性樹脂のガラス転移点(Tg)は、例えば極性樹脂のモノマー組成を調整することにより調整することができる。
が好ましい。
極性樹脂の酸価が3.0mgKOH/g以上であることによって、トナー外層が形成されやすくなり、30.0mgKOH/g以下であることによって、トナー内層とトナー外層の密着性が高まる。これらによって、トナーの強靭性が高まるため、現像特性が向上する。
なお、本発明で用いる極性樹脂の酸価は、例えばモノマー中の酸成分の量を調整することにより調整することができる。
ニルイソプロピルケトンのようなビニルケトンが挙げられる。
ワックスが1乃至40質量%の場合には、トナーの加熱加圧時に適度なワックスのブリード性を持てることにより、高温時の耐巻きつき性が向上する。さらに、現像時や転写時のトナーへのストレスを受けてもトナー表面へのワックスの露出が少なく、トナー個々の均一な帯電性を得ることができる。
に持つ高分子が用いられることが好ましい。その中で特にスルホン酸基、スルホン酸塩基又はスルホン酸エステル基を含有する重合体又は共重合体を用いることが好ましい。
本発明に用いられるスルホン酸基等を含有する重合体は、上記単量体の単重合体であっても構わないが、上記単量体と他の単量体との共重合体であっても構わない。上記単量体と共重合体をなす単量体としては、ビニル系重合性単量体があり、単官能性重合性単量体或いは多官能性重合性単量体を使用することが出来る。
上記スルホン酸基等を有する重合体が0.01乃至5.00質量%の場合には、十分な帯電性がとれ均一な転写性を得ることができる。さらに、ポジ成分を有する分散安定剤を用いる水系媒体中での造粒工程においては、電気2重層の形成を強めるために、トナー粒子サイズのシャープな分布を得ることが出来る。
本発明に用いられるシアン着色剤としては、銅フタロシアニン化合物及びその誘導体,アントラキノン化合物,塩基染料レ−キ化合物等が挙げられる。具体的には、C.I.ピグメントブルー1、7、15、15:1、15:2、15:3、15:4、60、62、66等が挙げられる。
これらの磁性体は個数平均粒径が2μm以下、好ましくは0.1乃至0.5μmのものが好ましい。トナー粒子中に含有させる量としては重合性単量体又は結着樹脂100質量部に対し20乃至200質量部、特に好ましくは結着樹脂100質量部に対し40乃至150質量部がよい。
流動性向上剤は、トナー粒子100質量部に対して、0.01乃至5質量部を使用することが好ましい。
とが好ましい。溶存酸素が少なければ重合反応は効率化する。その結果、現像性や転写性に悪影響を及ぼす低分子量成分が抑制でき、優れた高現像効率、高転写効率、均一性を得られる。
この懸濁重合法でトナーを製造する場合には、個々のトナー粒子形状がほぼ球形に揃っているため、帯電量の分布も比較的均一となり現像特性が満足できるトナーが得られやすい。また外添剤への依存度が少ない高い転写性を維持するトナーが得られやすい。
懸濁重合法によるトナーを製造する際の重合性単量体としては上記単官能性重合性単量体、多官能性重合性単量体が挙げられる。
本発明においては、重合性単量体の重合度を制御する為に、公知の連鎖移動剤、重合禁止剤等を更に添加し用いることも可能である。
有機化合物としては以下の、ポリビニルアルコール、ゼラチン、メチルセルロース、メチルヒドロキシプロピルセルロース、エチルセルロース、カルボキシメチルセルロースのナトリウム塩、ポリアクリル酸及びその塩、デンプン等が例示できる。これらの分散安定剤は、重合性単量体100質量部に対して、0.2乃至20質量部を使用することが好ましい。
分散安定剤として、無機化合物を用いる場合、市販のものをそのまま用いてもよいが、より細かい粒子を得るために、水系媒体中にて上記無機化合物を生成させて用いてもよい。
例えばリン酸カルシウムの場合、高撹拌下において、リン酸ナトリウム水溶液と塩化カルシウム水溶液を混合するとよい。
本発明における、UV光硬化性組成物を浸透させた際の、浸透時間5秒における浸透膜厚L(μm)、5秒以上10秒以下における平均浸透速度Va(μm/s)、10秒以上15秒以下における平均浸透速度Vb(μm/s)は以下の方法で測定される。
L=(Lx+Ly)/2
と定義した。
Va=(L10−L)/5
と定義した。
Vb=(L15−L10)/5
と定義した。
トナーの100℃での粘度は以下の方法で測定される。
装置として、例えば、フローテスターCFT−500D(株式会社島津製作所製)を用い、該装置の操作マニュアルに従い、下記の条件で測定を行う。
・サンプル:約1.0gのトナーを秤量し、これを加圧成型器で成型してサンプルとする。
・ダイ穴径:0.5mm
・ダイ長さ:1.0mm
・シリンダ圧力:9.807×105(Pa)
・測定モ−ド:昇温法
・昇温速度:4.0℃/min
上記の方法により、温度50℃乃至200℃におけるトナーの粘度を測定し、温度100℃での粘度を求める。
トナーの微小圧縮試験における負荷速度9.8×10−5N/secで2.94×10−4Nの荷重を該トナーにかけてから除荷するまでの変位曲線において、荷重をかけ始めてから終了するまでの変位曲線の傾きR(25)は以下の方法で測定される。
図2は本発明の微小圧縮試験でトナーを測定した際のプロファイル(変位曲線)であり、横軸はトナーが変形した変位量、縦軸はトナーにかけている荷重量を表している。
変位曲線の傾きR(25)は1−1から1−2までの変位曲線を一次直線と近似し、その直線の傾きX2/(2.94×10−4)(μm/N)として算出した。
小なエアーを吹き付ける。そのセルを装置にセットして測定する。
また測定の際にはセルを温度制御が可能な状態にし、このセルの温度を測定温度とした。すなわちR(25)はセルの温度を25℃として測定した。本発明における微小圧縮試験においては、セルの上にトナーを分散させた後、セルを本体に設置する。その後、セルが測定温度に到達してから10分以上放置した後、測定を開始する。
測定は装置付帯の顕微鏡を覗きながら測定用画面(横幅:160μm 縦幅:120μm)にトナーが1粒で存在しているもの選択する。変位量の誤差を極力無くすため、トナーの個数平均粒径D1の±0.2μmのものを選択して測定する。なお、測定用画面から任意のトナーを選択する。測定画面上でのトナー粒子径の測定手段は超微小硬度計ENT1100付帯のソフトを用いてトナー粒子の長径と短径を測定した。そして、それらから求められるアスペクト比[(長径+短径)/2]の値がD1の±0.2μmとなるトナーを選択して測定した。
トナーの重量平均粒径(D4)および個数平均粒径(D1)は、100μmのアパーチャーチューブを備えた細孔電気抵抗法による精密粒度分布測定装置「コールター・カウンター Multisizer 3」(登録商標、ベックマン・コールター社製)と、測定条件設定及び測定データ解析をするための付属の専用ソフト「ベックマン・コールター Multisizer 3 Version3.51」(ベックマン・コールター社製)を用いて、実効測定チャンネル数2万5千チャンネルで測定し、測定データの解析を行い、算出した。
測定に使用する電解水溶液は、特級塩化ナトリウムをイオン交換水に溶解して濃度が約1質量%となるようにしたもの、例えば、「ISOTON II」(ベックマン・コールター社製)が使用できる。
専用ソフトの「標準測定方法(SOM)を変更画面」において、コントロールモードの総カウント数を50000粒子に設定し、測定回数を1回、Kd値は「標準粒子10.0μm」(ベックマン・コールター社製)を用いて得られた値を設定する。閾値/ノイズレベルの測定ボタンを押すことで、閾値とノイズレベルを自動設定する。また、カレントを1600μAに、ゲインを2に、電解液をISOTON IIに設定し、測定後のアパーチャーチューブのフラッシュにチェックを入れる。
専用ソフトの「パルスから粒径への変換設定画面」において、ビン間隔を対数粒径に、粒径ビンを256粒径ビンに、粒径範囲を2μmから60μmまでに設定する。
(1)Multisizer 3専用のガラス製250ml丸底ビーカーに前記電解水溶液約200mlを入れ、サンプルスタンドにセットし、スターラーロッドの撹拌を反時計回りで24回転/秒にて行う。そして、解析ソフトの「アパーチャーのフラッシュ」機能により、アパーチャーチューブ内の汚れと気泡を除去しておく。
(2)ガラス製の100ml平底ビーカーに前記電解水溶液約30mlを入れ、この中に分散剤として「コンタミノンN」(非イオン界面活性剤、陰イオン界面活性剤、有機ビルダーからなるpH7の精密測定器洗浄用中性洗剤の10質量%水溶液、和光純薬工業社製)をイオン交換水で3質量倍に希釈した希釈液を約0.3ml加える。
(3)発振周波数50kHzの発振器2個を位相を180度ずらした状態で内蔵し、電気的出力120Wの超音波分散器「Ultrasonic Dispension Sys
tem Tetora150」(日科機バイオス社製)の水槽内に所定量のイオン交換水を入れ、この水槽中に前記コンタミノンNを約2ml添加する。
(4)前記(2)のビーカーを前記超音波分散器のビーカー固定穴にセットし、超音波分散器を作動させる。そして、ビーカー内の電解水溶液の液面の共振状態が最大となるようにビーカーの高さ位置を調整する。
(5)前記(4)のビーカー内の電解水溶液に超音波を照射した状態で、トナー約10mgを少量ずつ前記電解水溶液に添加し、分散させる。そして、さらに60秒間超音波分散処理を継続する。尚、超音波分散にあたっては、水槽の水温が10℃以上40℃以下となる様に適宜調節する。
(6)サンプルスタンド内に設置した前記(1)の丸底ビーカーに、ピペットを用いてトナーを分散した前記(5)の電解質水溶液を滴下し、測定濃度が約5%となるように調整する。そして、測定粒子数が50000個になるまで測定を行う。
(7)測定データを装置付属の前記専用ソフトにて解析を行い、重量平均粒径(D4)および個数平均粒径(D1)を算出する。尚、専用ソフトでグラフ/体積%と設定したときの、分析/体積統計値(算術平均)画面の「平均径」が重量平均粒径(D4)であり、専用ソフトでグラフ/個数%と設定したときの、分析/個数統計値(算術平均)画面の「平均径」が個数平均粒径(D1)である。
本発明における極性樹脂のガラス転移点(Tg)は以下の条件にて測定し、昇温1回目のDSC曲線のピーク位置からそれぞれ求める。
<測定条件>
・20℃で5分間平衡を保つ
・1.0℃/minのモジュレーションをかけ、140℃まで1℃/minで昇温
・140℃で5分間平衡を保つ
・20℃まで降温
ここでいうガラス転移点は中点法で求める。
酸価は試料1gに含まれる酸を中和するために必要な水酸化カリウムのmg数である。極性樹脂の酸価はJIS K 0070−1992に準じて測定されるが、具体的には、以下の手順に従って測定する。
フェノールフタレイン1.0gをエチルアルコール(95vol%)90mlに溶かし、イオン交換水を加えて100mlとし、フェノールフタレイン溶液を得る。
特級水酸化カリウム7gを5mlの水に溶かし、エチルアルコール(95vol%)を加えて1lとする。炭酸ガス等に触れないように、耐アルカリ性の容器に入れて3日間放置後、ろ過して、水酸化カリウム溶液を得る。得られた水酸化カリウム溶液は、耐アルカリ性の容器に保管する。前記水酸化カリウム溶液のファクターは、0.1モル/l塩酸25mlを三角フラスコに取り、前記フェノールフタレイン溶液を数滴加え、前記水酸化カリウム溶液で滴定し、中和に要した前記水酸化カリウム溶液の量から求める。前記0.1モル/l塩酸は、JIS K 8001−1998に準じて作成されたものを用いる。
(A)本試験
粉砕した結着樹脂の試料2.0gを200mlの三角フラスコに精秤し、トルエン/エタノール(2:1)の混合溶液100mlを加え、5時間かけて溶解する。次いで、指示薬として前記フェノールフタレイン溶液を数滴加え、前記水酸化カリウム溶液を用いて滴定する。尚、滴定の終点は、指示薬の薄い紅色が約30秒間続いたときとする。
(B)空試験
試料を用いない(すなわちトルエン/エタノール(2:1)の混合溶液のみとする)以外は、上記操作と同様の滴定を行う。
A=[(C−B)×f×5.61]/S
ここで、A:酸価(mgKOH/g)、B:空試験の水酸化カリウム溶液の添加量(ml)、C:本試験の水酸化カリウム溶液の添加量(ml)、f:水酸化カリウム溶液のファクター、S:試料(g)である。
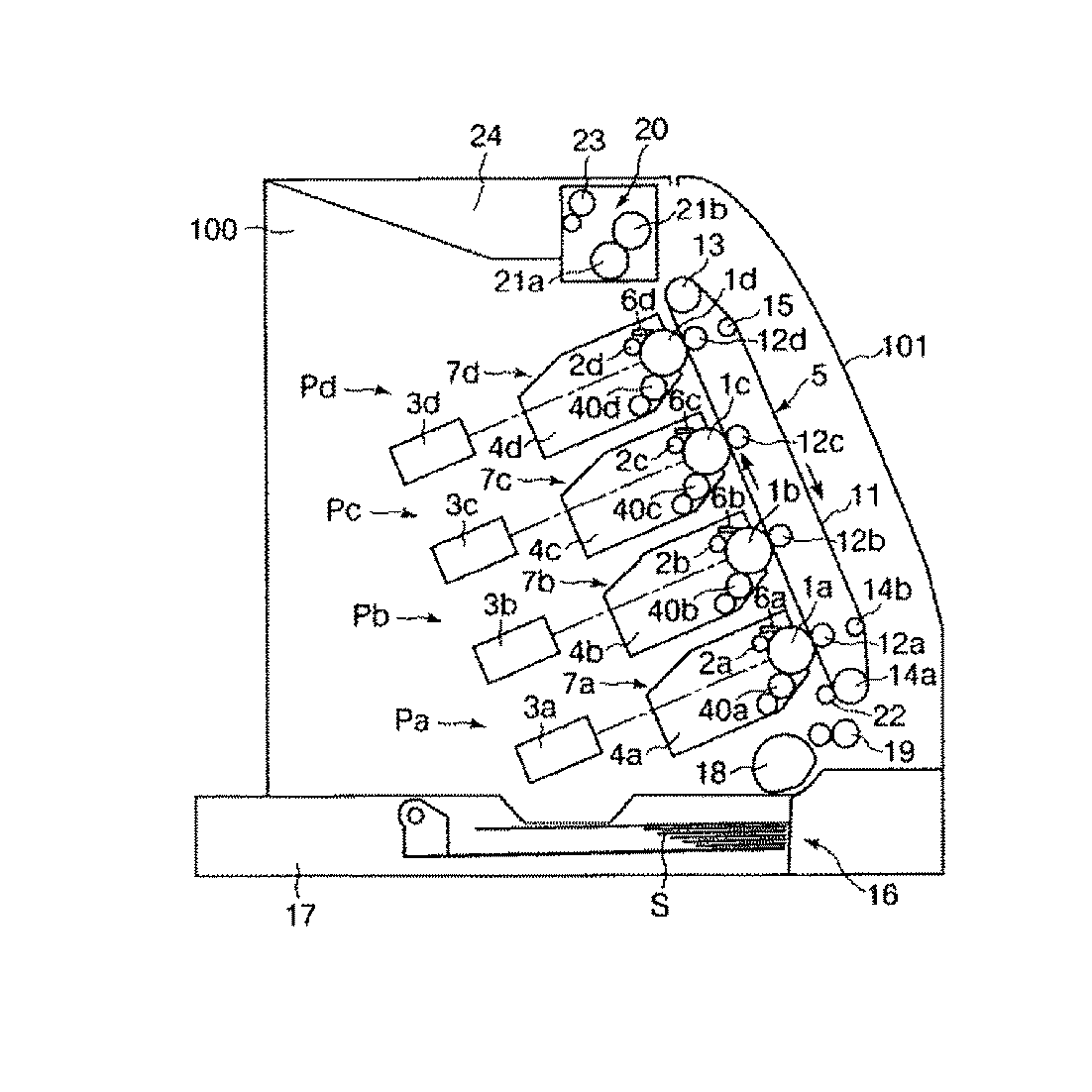
図4は、本発明の画像形成方法を適用した画像形成装置の一例を示す断面模式図である。
画像形成装置100は4個の画像形成ステーションPa、Pb、Pc、Pdを縦方向に
並設している。そして、各画像形成ステーションPa、Pb、Pc、Pdには、各々、装着手段(不図示)によってプロセスカートリッジ7(7a、7b、7c、7d)が着脱可能に装着される。なお、マゼンタ色、シアン色、イエロー色、ブラック色の各カートリッジ7a、7b、7c、7dは同一構成である。
各カートリッジ7(7a、7b、7c、7d)は、感光体ドラム1(1a、1b、1c、1d)を備えている。感光体ドラム1は、駆動手段(不図示)によって、同図中、反時計回りに回転駆動される。感光体ドラム1の周囲には、その回転方向に従って順に以下の手段が設けられている。(A)感光体ドラム1表面を均一に帯電する帯電手段2(2a、2b、2c、2d)。(B)画像情報に基づいてレーザービームを照射し感光体ドラム1に静電潜像を形成するスキャナユニット3(3a、3b、3c、3d)。(C)静電潜像に現像剤(以下、「トナー」という。)を付着させてトナー像として現像する現像手段4(4a、4b、4c、4d)。(D)感光体ドラム1上のトナー像を記録媒体Sに転写させる転写装置5。(E)転写後の感光体ドラム1表面に残ったトナーを除去するクリーニング手段6(6a、6b、6c、6d)。
感光体ドラム1(1a、1b、1c、1d)は、シリンダの外周面に感光層を設けて構成したものである。感光体ドラム1は、その両端部を支持部材によって回転自在に支持されている。そして、一方の端部に駆動モータ(不図示)からの駆動力が伝達されることにより、反時計周りに回転駆動される。
現像手段4(4a、4b、4c、4d)は、マゼンタ色、シアン色、イエロー色、ブラック色の各色のトナーを夫々収納したトナー容器41から構成され、トナー容器41内のトナーを送り機構42によってトナー供給ローラー43へ送り込む。
前記トナー供給ローラー43は、図示時計方向に回転し、トナー担持体としての現像ローラー40へのトナーの供給、及び、静電潜像の現像化に寄与せず現像ローラー40上に残留したトナーのはぎとりを行う。
この転写ベルト11の内側に当接し、4個の感光体ドラム1(1a、1b、1c、1d
)に対向した位置に転写ローラー12(12a、12b、12c、12d)が並設される。これら転写ローラー12には、転写時にバイアスが印加されて、電荷が静電転写ベルト11を介して記録媒体Sに印加される。このとき生じた電界により、感光体ドラム1に接触中の記録媒体Sに、感光体ドラム1上のトナー像が転写される。
最上流の感光体ドラム1の周面上に形成されたトナー像の先端が、転写ベルト11との対向点に回転搬送されてくるタイミングで、その対向点に記録媒体Sの印字開始位置が一致するようにレジストローラー19が回転し記録媒体Sを転写ベルト11へ給送する。
4色のトナー像を転写された記録媒体Sは、ベルト駆動ローラー13の曲率により静電転写ベルト11から曲率分離され、定着部20に搬入される。記録媒体Sは、定着部20で上記トナー像を熱定着された後、排紙ローラー23によって、排紙部24から画像面を下にした状態で本体外に排出される。
本発明において、発熱体はその熱容量が小さく、線状あるいは面状の加熱部を有するもので、加熱部の最高温度は100〜300℃であることが好ましい。
又、フィルムは、厚さ1〜100μmの耐熱性のシートであることが好ましく、これら耐熱性シートとしては耐熱性の高い、ポリエステル、PET(ポリエチレンテレフタレート)、PFA(テトラフルオロエチレン−パーフルオロアルキルビニルエーテル共重合体)、PTFE(ポリテトラフルオロエチレン)、ポリイミド、ポリアミド等のポリマーシートの他、アルミニウム等の金属シート及び金属シートとポリマーシートから構成されたラミネートシートが用いられる。
より好ましいフィルムの構成としては、これら耐熱性シートが離型層及び/又は低抵抗層を有していることである。
ヒータ基板52は耐熱性・絶縁性・低熱容量・高熱伝導性の部材であり、例えば、厚み1mm・巾10mm・長さ240mmのアルミナ基板である。
発熱体53はヒータ基板52の下面(フィルム55との対面側)の略中央部に長手に沿って、電気抵抗材料を厚み約10μm・巾1〜3mmの線状または細帯状にスクリーン印刷等により塗工したものである。電気抵抗材料としては例えば、Ag/Pd(銀パラジウム)、Ta2N、RuO2等が用いられる。
本例の加熱体51の場合は、線状又は面状をなす発熱体53に対し画像形成スタート信号により所定のタイミングにて通電して発熱体53を略全長にわたって発熱させる。通電はAC100Vであり、検温素子54の検知温度に応じてトライアックを含む不図示の通電制御回路により通電する位相角を制御することにより供給電力を制御している。
そしてこの加熱体51に耐熱性フィルム55が当接している。
例えば、ポリイミド・ポリエーテルイミド(PEI)・ポリエーテルサルホン(PES)・4フッ化エチレン−パーフルオロアルキルビニルエーテル共重合体樹脂(PFA)・ポリエーテルエーテルケトン(PEEK)・ポリパラバン酸(PPA)、或いは複合層フィルム例えば20μm厚のポリイミドフィルムの少なくとも画像当接面側にPTFE(4フッ化エチレン樹脂)・PAF・FEP等のフッ素樹脂・シリコン樹脂等、更にはそれに導電材(カーボンブラック・グラファイト・導電性ウイスカなど)を添加した離型性コート層を10μm厚に施したものなどである。
回転体たる支持ローラー58は例えばシリコンゴム等の離型性のよいゴム弾性体からなり、加熱体51にフィルム55を介して圧接され、ニップ部を形成すると共に、フィルム55を所定速度に移動駆動する。フィルム55との間に被加熱材としての記録材シートが導入されたときには、その記録材シートをフィルム55面に密着させて加熱体51に圧接し、フィルム55と共に移動駆動させる。
について示す。
図6はフィルムにテンションが加わらない状態がある構造を有する、定着装置である(テンションフリータイプ)。
又、フィルムは、厚さ1〜100μmの耐熱性のシートであることが好ましく、これら耐熱性シートとしては耐熱性の高い、ポリエステル、PET(ポリエチレンテレフタレート)、PFA(テトラフルオロエチレン−パーフルオロアルキルビニルエーテル共重合体)、PTFE(ポリテトラフルオロエチレン)、ポリイミド、ポリアミド等のポリマーシートの他、アルミニウム等の金属シート及び金属シートとポリマーシートから構成されたラミネートシートが用いられる。
より好ましいフィルムの構成としては、これら耐熱性シートが離型層及び/又は低抵抗層を有していることである。
ヒータ基板64aは耐熱性・絶縁性・低熱容量・高熱伝導性の部材であり、例えば、厚み1mm・巾10mm・長さ240mmのアルミナ基板である。
本例の加熱体64の場合は、線状又は面状をなす発熱体64bに対し画像形成スタート信号により所定のタイミングにて通電して発熱体64bを略全長にわたって発熱させる。通電はAC100Vであり、検温素子64dの検知温度に応じてトライアックを含む不図示の通電制御回路により通電する位相角を制御することにより供給電力を制御している。加熱体64はその発熱体64bへの通電により、ヒータ基板64a・発熱体64b・表面保護層64cの熱容量が小さいので加熱体表面が所要の定着温度(例えば140〜200℃)まで急速に温度上昇する。
そしてこの加熱体64に耐熱性フィルム65が当接している。
例えば、ポリイミド・ポリエーテルイミド(PEI)・ポリエーテルサルホン(PES)・4フッ化エチレン−パーフルオロアルキルビニルエーテル共重合体樹脂(PFA)・ポリエーテルエーテルケトン(PEEK)・ポリパラバン酸(PPA)、或いは複合層フィルム例えば20μm厚のポリイミドフィルムの少なくとも画像当接面側にPTFE(4フッ化エチレン樹脂)・PAF・FEP等のフッ素樹脂・シリコン樹脂等、更にはそれに導電材(カーボンブラック・グラファイト・導電性ウイスカなど)を添加した離型性コート層を10μm厚に施したものなどである。
り、加熱体64にフィルム65を介して圧接され、ニップ部を形成すると共に、フィルム65を所定速度に移動駆動する。フィルム65との間に被加熱材としての記録材シートが導入されたときには、その記録材シートをフィルム65面に密着させて加熱体64に圧接し、フィルム65と共に移動駆動させる。
カートリッジ7は、感光体ドラム1と、帯電手段2及びクリーニング手段6を備えたクリーナユニット50と、感光体ドラム1に形成された静電潜像を現像する現像手段4を有する現像ユニット4Aとを有する。クリーナユニット50を構成するクリーニング枠体31には、感光体ドラム1が軸受部材(不図示)を介して回転自在に取り付けられている。
そして、現像ユニット4Aがクリーナユニット50に対して揺動自在に支持されている。すなわち、現像枠体45の両端に設けた結合穴47、48とクリーナユニット50のクリーニング枠体31両端に設けた支持穴(不図示)を合わせ、クリーナユニット50両端からピン(不図示)を差し込んでいる。
現像時には、トナー容器41内に収納されたトナーがトナー攪拌機構42によってトナー供給ローラー43へ搬送される。トナー供給ローラー43が、現像ローラー40との摺擦によって現像ローラー40にトナーを供給し、現像ローラー40上にトナーを付着させる。現像ローラー40上に付着されたトナーは、現像ローラー40の回転にともなってトナー規制部材44のところに至る。そして、トナー規制部材44がトナーを規制して所定のトナー薄層を形成し、所望の帯電電荷量を付与する。現像ローラー40上で薄層化されたトナーは、現像ローラー40の回転につれて、感光体ドラム1と現像ローラー40とが接近した現像部に搬送される。そして、現像部において、電源(不図示)から現像ローラー40に印加した現像バイアスにより、感光体ドラム1の表面に形成されている静電潜像に付着して、潜像を現像化する。静電潜像の現像化に寄与せずに現像ローラー40の表面に残留したトナーは、現像ローラー40の回転にともなって現像枠体45内に戻される。そして、トナー供給ローラー43との摺擦部で現像ローラー40から剥離、回収される。回収されたトナーは、トナー攪拌機構42により残りのトナーと撹拌混合される。
ここで現像ローラー40には弾性ローラーを用い、これを感光体ドラム1表面と接触させ
る方法を用いることができる。一般にトナー担持体と感光体が接触する現像方式においては、トナーの破損、変形が生じやすくなるが、本発明記載のトナーを用いた場合にはこうした変化を効果的に抑制することが出来るため、好ましい。
対向する弾性ローラー間に働く電界によって現像が行われる。従って弾性ローラー表面或いは表面近傍が電位を持ち、感光体表面とトナー担持体表面の狭い間隙で電界を有する必要性がある。このため、弾性ローラーの弾性ゴムが中抵抗領域に抵抗制御されて感光体表面との導通を防ぎつつ電界を保つか、または導電性ローラーの表面層に薄層の絶縁層を設ける方法が利用できる。さらには、該導電性ローラー上に感光体表面に対向する側を絶縁性物質により被覆した導電性樹脂スリーブ或いは、絶縁性スリーブで感光体に対向しない側に導電層を設けた構成も可能である。また、トナー担持体として剛体ローラーを用い、感光体をベルトの如きフレキシブルな物とした構成も可能である。トナー担持体としてのローラーの抵抗値としては102〜109Ω・cmの範囲が好ましい。
<シアントナー1>
下記の手順によって懸濁重合法トナーを製造した。
下記の材料をTK式ホモミキサー(特殊機化工業製)を用いて、温度60℃にて10,000r/minで撹拌し、pH5.2の水系媒体を調製した。なお、下記の極性樹脂1及び極性樹脂2は、それぞれ表4に示されるモノマーを表4に示される組成比(質量部基準)でキシレン中にて溶液重合して得られたものを用いた。
・イオン交換水 1300.0質量部・リン酸三カルシウム 9.0質量部・10%塩酸 11.0質量部
また、下記の材料をプロペラ式撹拌装置にて100r/minで溶解して溶解液を調製した。
・スチレン 70.0質量部・n−ブチルアクリレート 30.0質量部・帯電制御剤 FCA1001NS(藤倉化成社製) 2.0質量部・極性樹脂1 10.0質量部・極性樹脂2 10.0質量部次に上記溶解液に下記の材料を添加した。
・C.I.ピグメントブルー15:3 7.0質量部・帯電制御剤 ボントロンE−88(オリエント化学社製) 1.0質量部・ワックス HNP−51(融点77℃:日本精蝋社製) 8.0質量部
その後、混合液を温度60℃に加温した後にTK式ホモミキサー(特殊機化工業製)にて、9,000r/minにて撹拌し、溶解、分散した。
これに重合開始剤2,2’−アゾビス(2,4−ジメチルバレロニトリル)8.0質量部を溶解し、重合性単量体組成物を調製した。上記水系媒体中に上記重合性単量体組成物を投入し、温度60℃にてTK式ホモミキサーを用いて10,000r/minで30分間撹拌し、造粒した。
上記トナー粒子100質量部に対して、流動性向上剤として、ジメチルシリコーンオイル(20質量%)で処理され、トナー粒子と同極性(負極性)に摩擦帯電する疎水性シリカ微粉体(個数平均1次粒子径:10nm、BET比表面積:170m2/g)2.0質量部をヘンシェルミキサー(三井三池製)で3,000r/minで15分間混合してシアントナー1を得た。シアントナー1の物性を表1に、評価結果を表3に、使用した極性樹脂の物性を表4に示す。
・スチレン 70.0質量部・n−ブチルアクリレート 30.0質量部・帯電制御剤 FCA1001NS(藤倉化成社製) 2.0質量部・極性樹脂1 15.0質量部・極性樹脂2 5.0質量部・C.I.ピグメントブルー15:3 7.0質量部・帯電制御剤 ボントロンE−88(オリエント化学社製) 1.0質量部・ワックス HNP−51(融点77℃:日本精蝋社製) 8.0質量部
上記材料を使用する以外はシアントナー1と同様にしてシアントナー2を得た。
シアントナー2の物性を表1に示し、評価結果を表3に、使用した極性樹脂の物性を表4に示す。
・スチレン 70.0質量部・n−ブチルアクリレート 30.0質量部・帯電制御剤 FCA1001NS(藤倉化成社製) 2.0質量部・極性樹脂1 5.0質量部・極性樹脂2 15.0質量部・C.I.ピグメントブルー15:3 7.0質量部・帯電制御剤 ボントロンE−88(オリエント化学社製) 1.0質量部・ワックス HNP−51(融点77℃:日本精蝋社製) 8.0質量部
上記材料を使用する以外はシアントナー1と同様にしてシアントナー3を得た。
シアントナー3の物性を表1に示し、評価結果を表3に、使用した極性樹脂の物性を表4に示す。
・スチレン 73.0質量部・n−ブチルアクリレート 27.0質量部
・帯電制御剤 FCA1001NS(藤倉化成社製) 2.0質量部・極性樹脂1 10.0質量部・極性樹脂2 10.0質量部・C.I.ピグメントブルー15:3 7.0質量部・帯電制御剤 ボントロンE−88(オリエント化学社製) 1.0質量部・ワックス HNP−51(融点77℃:日本精蝋社製) 8.0質量部
上記材料を使用する以外はシアントナー1と同様にしてシアントナー4を得た。
シアントナー4の物性を表1に示し、評価結果を表3に、使用した極性樹脂の物性を表4に示す。
・スチレン 67.0質量部・n−ブチルアクリレート 33.0質量部・帯電制御剤 FCA1001NS(藤倉化成社製) 2.0質量部・極性樹脂1 10.0質量部・極性樹脂2 10.0質量部・C.I.ピグメントブルー15:3 7.0質量部・帯電制御剤 ボントロンE−88(オリエント化学社製) 1.0質量部・ワックス HNP−51(融点77℃:日本精蝋社製) 8.0質量部
上記材料を使用する以外はシアントナー1と同様にしてシアントナー5を得た。
シアントナー5の物性を表1に示し、評価結果を表3に、使用した極性樹脂の物性を表4に示す。
・スチレン 67.0質量部・n−ブチルアクリレート 33.0質量部・帯電制御剤 FCA1001NS(藤倉化成社製) 2.0質量部・極性樹脂3 10.0質量部・極性樹脂4 10.0質量部・C.I.ピグメントブルー15:3 7.0質量部・帯電制御剤 ボントロンE−88(オリエント化学社製) 1.0質量部・ワックス HNP−51(融点77℃:日本精蝋社製) 8.0質量部
上記材料を使用する以外はシアントナー1と同様にしてシアントナー6を得た。なお、上記極性樹脂3及び極性樹脂4は、それぞれ表4に示されるモノマーを表4に示される組成比(質量部基準)でキシレン中にて溶液重合して得られたものを用いた。
シアントナー6の物性を表1に示し、評価結果を表3に、使用した極性樹脂の物性を表4に示す。
・スチレン 73.0質量部・n−ブチルアクリレート 27.0質量部・帯電制御剤 FCA1001NS(藤倉化成社製) 2.0質量部・極性樹脂5 10.0質量部・極性樹脂6 10.0質量部・C.I.ピグメントブルー15:3 7.0質量部・帯電制御剤 ボントロンE−88(オリエント化学社製) 1.0質量部・ワックス HNP−51(融点77℃:日本精蝋社製) 8.0質量部
上記材料を使用する以外はシアントナー1と同様にしてシアントナー7を得た。なお、上記極性樹脂5及び極性樹脂6は、それぞれ表4に示されるモノマーを表4に示される組成比(質量部基準)でキシレン中にて溶液重合して得られたものを用いた。
シアントナー7の物性を表1に示し、評価結果を表3に、使用した極性樹脂の物性を表4に示す。
・スチレン 70.0質量部・n−ブチルアクリレート 30.0質量部・帯電制御剤 FCA1001NS(藤倉化成社製) 2.0質量部・極性樹脂1 7.5質量部・極性樹脂2 7.5質量部・C.I.ピグメントブルー15:3 7.0質量部・帯電制御剤 ボントロンE−88(オリエント化学社製) 1.0質量部・ワックス HNP−51(融点77℃:日本精蝋社製) 8.0質量部
上記材料を使用する以外はシアントナー1と同様にしてシアントナー8を得た。
シアントナー8の物性を表1に示し、評価結果を表3に、使用した極性樹脂の物性を表4に示す。
・スチレン 70.0質量部・n−ブチルアクリレート 30.0質量部・帯電制御剤 FCA1001NS(藤倉化成社製) 2.0質量部・極性樹脂1 12.5質量部・極性樹脂2 12.5質量部・C.I.ピグメントブルー15:3 7.0質量部・帯電制御剤 ボントロンE−88(オリエント化学社製) 1.0質量部・ワックス HNP−51(融点77℃:日本精蝋社製) 8.0質量部
上記材料を使用する以外はシアントナー1と同様にしてシアントナー9を得た。
シアントナー9の物性を表1に示し、評価結果を表3に、使用した極性樹脂の物性を表4に示す。
・スチレン 70.0質量部・n−ブチルアクリレート 30.0質量部・帯電制御剤 FCA1001NS(藤倉化成社製) 2.0質量部・極性樹脂5 5.0質量部・極性樹脂6 3.0質量部・C.I.ピグメントブルー15:3 7.0質量部・帯電制御剤 ボントロンE−88(オリエント化学社製) 1.0質量部・ワックス HNP−51(融点77℃:日本精蝋社製) 8.0質量部
上記材料を使用する以外はシアントナー1と同様にしてシアントナー10を得た。
シアントナー10の物性を表1に示し、評価結果を表3に、使用した極性樹脂の物性を表4に示す。
・スチレン 70.0質量部・n−ブチルアクリレート 30.0質量部・帯電制御剤 FCA1001NS(藤倉化成社製) 2.0質量部・極性樹脂3 22.0質量部・極性樹脂4 30.0質量部・C.I.ピグメントブルー15:3 7.0質量部・帯電制御剤 ボントロンE−88(オリエント化学社製) 1.0質量部
・ワックス HNP−51(融点77℃:日本精蝋社製) 8.0質量部
上記材料を使用する以外はシアントナー1と同様にしてシアントナー11を得た。
シアントナー11の物性を表1に示し、評価結果を表3に、使用した極性樹脂の物性を表4に示す。
・スチレン 70.0質量部・n−ブチルアクリレート 30.0質量部・帯電制御剤 FCA1001NS(藤倉化成社製) 2.0質量部・極性樹脂7 10.0質量部・極性樹脂8 10.0質量部・C.I.ピグメントブルー15:3 7.0質量部・帯電制御剤 ボントロンE−88(オリエント化学社製) 1.0質量部・ワックス HNP−51(融点77℃:日本精蝋社製) 8.0質量部
上記材料を使用する以外はシアントナー1と同様にしてシアントナー12を得た。なお、下記の極性樹脂7及び極性樹脂8は、それぞれ表4に示されるモノマーを表4に示される組成比(質量部基準)でキシレン中にて溶液重合して得られたものを用いた。
シアントナー12の物性を表1に示し、評価結果を表3に、使用した極性樹脂の物性を表4に示す。
・スチレン 70.0質量部・n−ブチルアクリレート 30.0質量部・帯電制御剤 FCA1001NS(藤倉化成社製) 2.0質量部・極性樹脂9 10.0質量部・極性樹脂10 10.0質量部・C.I.ピグメントブルー15:3 7.0質量部・帯電制御剤 ボントロンE−88(オリエント化学社製) 1.0質量部・ワックス HNP−51(融点77℃:日本精蝋社製) 8.0質量部
上記材料を使用する以外はシアントナー1と同様にしてシアントナー13を得た。なお、下記の極性樹脂9及び極性樹脂10は、それぞれ表4に示されるモノマーを表4に示される組成比(質量部基準)でキシレン中にて溶液重合して得られたものを用いた。
シアントナー13の物性を表1に示し、評価結果を表3に、使用した極性樹脂の物性を表4に示す。
・スチレン 75.0質量部・n−ブチルアクリレート 25.0質量部・帯電制御剤 FCA1001NS(藤倉化成社製) 2.0質量部・極性樹脂11 10.0質量部・極性樹脂12 20.0質量部・C.I.ピグメントブルー15:3 7.0質量部・帯電制御剤 ボントロンE−88(オリエント化学社製) 1.0質量部・ワックス HNP−51(融点77℃:日本精蝋社製) 8.0質量部
上記材料を使用する以外はシアントナー1と同様にしてシアントナー14を得た。なお、上記極性樹脂11及び極性樹脂12は、それぞれ表4に示されるモノマーを表4に示される組成比(質量部基準)でキシレン中にて溶液重合して得られたものを用いた。
シアントナー14の物性を表1に示し、評価結果を表3に、使用した極性樹脂の物性を表4に示す。
・スチレン 65.0質量部・n−ブチルアクリレート 35.0質量部・帯電制御剤 FCA1001NS(藤倉化成社製) 2.0質量部・極性樹脂13 7.0質量部・極性樹脂14 3.0質量部・C.I.ピグメントブルー15:3 7.0質量部・帯電制御剤 ボントロンE−88(オリエント化学社製) 1.0質量部・ワックス HNP−51(融点77℃:日本精蝋社製) 8.0質量部
上記材料を使用する以外はシアントナー1と同様にしてシアントナー15を得た。なお、上記極性樹脂13及び極性樹脂14は、それぞれ表4に示されるモノマーを表4に示される組成比(質量部基準)でキシレン中にて溶液重合して得られたものを用いた。
シアントナー15の物性を表1に示し、評価結果を表3に、使用した極性樹脂の物性を表4に示す。
・スチレン 70.0質量部・n−ブチルアクリレート 30.0質量部・帯電制御剤 FCA1001NS(藤倉化成社製) 2.0質量部・極性樹脂6 10.0質量部・極性樹脂15 10.0質量部・C.I.ピグメントブルー15:3 7.0質量部・帯電制御剤 ボントロンE−88(オリエント化学社製) 1.0質量部・ワックス HNP−51(融点77℃:日本精蝋社製) 8.0質量部
上記材料を使用する以外はシアントナー1と同様にしてシアントナー16を得た。なお、上記極性樹脂15は、表4に示されるモノマーを表4に示される組成比(質量部基準)でキシレン中にて溶液重合して得られたものを用いた。
シアントナー16の物性を表1に示し、評価結果を表3に、使用した極性樹脂の物性を表4に示す。
・スチレン 70.0質量部・n−ブチルアクリレート 30.0質量部・帯電制御剤 FCA1001NS(藤倉化成社製) 2.0質量部・極性樹脂6 10.0質量部・極性樹脂16 10.0質量部・C.I.ピグメントブルー15:3 7.0質量部・帯電制御剤 ボントロンE−88(オリエント化学社製) 1.0質量部・ワックス HNP−51(融点77℃:日本精蝋社製) 8.0質量部
上記材料を使用する以外はシアントナー1と同様にしてシアントナー17を得た。なお、上記極性樹脂16は、表4に示されるモノマーを表4に示される組成比(質量部基準)でキシレン中にて溶液重合して得られたものを用いた。
シアントナー17の物性を表1に示し、評価結果を表3に、使用した極性樹脂の物性を表4に示す。
(極性樹脂の製造例)
シアントナー18に使用する極性樹脂17は以下の方法で製造した。
フラスコ中で下記の材料を混合し、水系媒体を調製した。
・イオン交換水 500.0質量部
・非イオン性界面活性剤 ノニポール400(花王製) 6.0質量部・アニオン性界面活性剤 ネオゲンSC(第一工業製薬製) 10.0質量部また、下記の材料を混合し、混合溶液を得た。
・スチレン 74.8質量部・α−メチルスチレン 15.0質量部・メタクリル酸 1.7質量部・メタクリル酸メチル 2.5質量部
上記の混合溶液を上記水系媒体中に分散・乳化して、10分間ゆっくりと撹拌・混合しながら、過硫酸アンモニウム4質量部を溶解したイオン交換水溶液50質量部を投入した。次いで、系内を十分に窒素で置換した後、フラスコを撹拌しながらオイルバスで系内が温度70℃になるまで加熱し、重合を開始した。その後、n−ブチルアクリレート6.0質量部を0.1質量部/minの滴下速度で1時間かけて滴下した。滴下終了後4時間反応を継続し、極性樹脂17の微粒子分散液を得た。得られた分散液を遠心分離することにより、極性樹脂17を得た。
・スチレン 70.0質量部・n−ブチルアクリレート 30.0質量部・帯電制御剤 FCA1001NS(藤倉化成社製) 2.0質量部・極性樹脂17 20.0質量部・C.I.ピグメントブルー15:3 7.0質量部・帯電制御剤 ボントロンE−88(オリエント化学社製) 1.0質量部・ワックス HNP−51(融点77℃:日本精蝋社製) 8.0質量部
上記材料を使用する以外はシアントナー1と同様にしてシアントナー18を得た。
シアントナー18の物性を表1に示し、評価結果を表3に、使用した極性樹脂の物性を表4に示す。
・スチレン 70.0質量部・n−ブチルアクリレート 30.0質量部・帯電制御剤 FCA1001NS(藤倉化成社製) 2.0質量部・極性樹脂1 7.0質量部・極性樹脂2 6.0質量部・極性樹脂18 7.0質量部・C.I.ピグメントブルー15:3 7.0質量部・帯電制御剤 ボントロンE−88(オリエント化学社製) 1.0質量部・ワックス HNP−51(融点77℃:日本精蝋社製) 8.0質量部
上記材料を使用する以外はシアントナー1と同様にしてシアントナー19を得た。なお、上記極性樹脂18は、表4に示されるモノマーを表4に示される組成比(質量部基準)でキシレン中にて溶液重合して得られたものを用いた。
シアントナー19の物性を表1に示し、評価結果を表3に、使用した極性樹脂の物性を表4に示す。
下記の手順によって乳化凝集法トナーを製造した。
フラスコ中で下記の材料を混合し、水系媒体を調製した。
・イオン交換水 500.0質量部・非イオン性界面活性剤 ノニポール400(花王製) 6.0質量部
・アニオン性界面活性剤 ネオゲンSC(第一工業製薬製) 10.0質量部また、下記の材料を混合し、混合溶液を得た。
・スチレン 70.0質量部・n−ブチルアクリレート 30.0質量部・帯電制御剤 FCA1001NS(藤倉化成社製) 2.0質量部
上記の混合溶液を上記水系媒体中に分散・乳化して、10分間ゆっくりと撹拌・混合しながら、過硫酸アンモニウム4質量部を溶解したイオン交換水溶液50質量部を投入した。次いで、系内を十分に窒素で置換した後、フラスコを撹拌しながらオイルバスで系内が温度70℃になるまで加熱し、5時間そのまま乳化重合を継続した。これによりアニオン性樹脂微粒子分散液を得た。
・イオン交換水 100.0質量部・C.I.ピグメントブルー15:3 7.0質量部・非イオン性界面活性剤 ノニポール400(花王製) 1.0質量部
上記成分を混合溶解し、ホモジナイザー(IKA 製ウルトラタラックス)により10分間分散し、着色剤粒子分散液を得た。
・イオン交換水 100.0質量部・ワックス HNP−51(融点77℃:日本精蝋社製) 8.0質量部・カチオン性界面活性剤 サニゾールB50(花王製) 5.0質量部
上記成分を温度95℃に加熱して、IKA製ウルトラタラックスT50で十分に分散した後、圧力吐出型ホモジナイザーで分散処理し、離型剤粒子分散液を得た。
・イオン交換水 100.0質量部・酢酸エチル 50.0質量部・極性樹脂1 10.0質量部
上記成分を混合撹拌した。その溶解液をIKA製ウルトラタラックスT50で乳化させながら、温度80℃で加熱して6時間保持することで脱溶剤を行い、シェル形成用微粒子分散液1を得た。
・イオン交換水 100.0質量部・酢酸エチル 50.0質量部・極性樹脂2 10.0質量部
上記成分を混合撹拌した。その溶解液をIKA製ウルトラタラックスT50で乳化させながら、温度80℃で加熱して6時間保持することで脱溶剤を行い、シェル形成用微粒子分散液2を得た。
上記樹脂微粒子分散液、上記着色剤粒子分散液、上記離型剤粒子分散液、及びポリ塩化アルミニウム1.2重量部を混合して、丸型ステンレス製フラスコ中でIKA製のウルトラタラックスT50を用い十分に混合・分散した後、加熱用オイルバスでフラスコを撹拌しながら温度51℃まで加熱した。温度51℃で60分保持した後、ここに上記シェル形成用微粒子分散液1およびシェル形成用微粒子分散液2を添加した。その後、濃度0.5mol/Lの水酸化ナトリウム水溶液を用いて系内のpHを6.5に調整した後、ステンレス製フラスコを密閉し、撹拌軸のシ−ルを磁力シ−ルして撹拌を継続しながら温度97℃まで加熱して3時間保持した。その後、得られたスラリーをオートクレーブに移し、圧
力3.0×105Pa、温度120℃にて3時間加熱・撹拌した。反応終了後、冷却し、濾過、イオン交換水で十分に洗浄した後、ヌッチェ式吸引濾過により固液分離を行った。これをさらに温度40℃のイオン交換水3Lを用いて再分散し、15分間300rpmで撹拌・洗浄した。この洗浄操作をさらに5回繰り返した後、ヌッチェ式吸引濾過によりNo.5Aろ紙を用いて固液分離を行った。次いで真空乾燥を12時間継続してトナー粒子を得た。上記トナー粒子100質量部に対して、流動性向上剤として、ジメチルシリコーンオイル(20質量%)で処理され、トナー粒子と同極性(負極性)に摩擦帯電する疎水性シリカ微粉体(1次粒子径:10nm、BET比表面積:170m2/g)2.0質量部をヘンシェルミキサー(三井三池製)で3,000r/minで15分間混合してシアントナー20を得た。
下記の手順によって粉砕法トナーを製造した。
・スチレン−ブチルアクリレート共重合体 100.0質量部(スチレン−ブチルアクリレート共重合比=70:30、Mp=22,000、Mw=35,000、Mw/Mn=2.4、TgA=45℃)
・帯電制御剤 FCA1001NS(藤倉化成社製) 2.0質量部・C.I.ピグメントブルー15:3 7.0質量部・帯電制御剤 ボントロンE−88(オリエント化学社製) 1.0質量部・ワックス HNP−51(融点77℃:日本精蝋社製) 8.0質量部
上記材料を溶解混練して粉砕した。その後、風力式分級機にて分級を行った。さらに、極性樹脂1と同一組成の樹脂微粒子(個数平均粒子径:300nm)10.0質量部を添加して、「ハイブリダイゼーション・システム」(奈良機械製)で処理することで極性樹脂1のシェル構造を形成した。続いて同様に、極性樹脂2と同一組成の樹脂微粒子(個数平均粒子径:300nm)10.0質量部を添加して、「ハイブリダイゼーション・システム」(奈良機械製)で処理することで極性樹脂2のシェル構造を形成した。その後、得られた粒子をイオン交換水500質量部中に分散し、オートクレーブ中で圧力3.0×105Pa、温度120℃にて3時間加熱・撹拌した。続いて、濾過・乾燥することによりトナー粒子を得た。上記トナー粒子100質量部に対して、流動性向上剤として、ジメチルシリコーンオイル(20質量%)で処理され、トナー粒子と同極性(負極性)に摩擦帯電する疎水性シリカ微粉体(個数平均1次粒子径:10nm、BET比表面積:170m2/g)2.0質量部をヘンシェルミキサー(三井三池製)で3,000r/minで15分間混合してシアントナー21を得た。
・スチレン 70.0質量部・n−ブチルアクリレート 30.0質量部・帯電制御剤 FCA1001NS(藤倉化成社製) 2.0質量部・極性樹脂19 10.0質量部・極性樹脂20 10.0質量部・C.I.ピグメントブルー15:3 7.0質量部・帯電制御剤 ボントロンE−88(オリエント化学社製) 1.0質量部・ワックス HNP−51(融点77℃:日本精蝋社製) 8.0質量部
上記材料を使用する以外はシアントナー1と同様にしてシアントナー22を得た。なお
、上記極性樹脂19及び極性樹脂20は、それぞれ表4に示されるモノマーを表4に示される組成比(質量部基準)でキシレン中にて溶液重合して得られたものを用いた。
シアントナー22の物性を表1に示し、評価結果を表3に、使用した極性樹脂の物性を表4に示す。
・スチレン 70.0質量部・n−ブチルアクリレート 30.0質量部・帯電制御剤 FCA1001NS(藤倉化成社製) 2.0質量部・極性樹脂21 10.0質量部・極性樹脂22 10.0質量部・C.I.ピグメントブルー15:3 7.0質量部・帯電制御剤 ボントロンE−88(オリエント化学社製) 1.0質量部・ワックス HNP−51(融点77℃:日本精蝋社製) 8.0質量部
上記材料を使用し、また、リン酸三カルシウム9.0質量部を30.0質量部へ変更する以外はシアントナー1と同様にしてシアントナー23を得た。なお、上記極性樹脂21及び極性樹脂22は、それぞれ表4に示されるモノマーを表4に示される組成比(質量部基準)でキシレン中にて溶液重合して得られたものを用いた。
シアントナー23の物性を表1に示し、評価結果を表3に、使用した極性樹脂の物性を表4に示す。
・スチレン 70.0質量部・n−ブチルアクリレート 30.0質量部・帯電制御剤 FCA1001NS(藤倉化成社製) 2.0質量部・極性樹脂23:飽和ポリエステル樹脂〔テレフタル酸とプロピレンオキサイド変性ビスフェノールAから脱水縮合反応により生成〕20.0質量部
(Mp=9000、Tg=72℃、酸価=12.0
mgKOH/g)
・C.I.ピグメントブルー15:3 7.0質量部・帯電制御剤 ボントロンE−88(オリエント化学社製) 1.0質量部・ワックス HNP−51(融点77℃:日本精蝋社製) 8.0質量部
上記材料を使用する以外はシアントナー1と同様にしてシアントナー24を得た。
シアントナー24の物性を表1に示し、評価結果を表3に示す。
・スチレン 78.0質量部・n−ブチルアクリレート 22.0質量部・帯電制御剤 FCA1001NS(藤倉化成社製) 2.0質量部・極性樹脂1 10.0質量部・極性樹脂2 10.0質量部・C.I.ピグメントブルー15:3 7.0質量部・帯電制御剤 ボントロンE−88(オリエント化学社製) 1.0質量部・ワックス HNP−51(融点77℃:日本精蝋社製) 8.0質量部
上記材料を使用する以外はシアントナー1と同様にしてシアントナー25を得た。
シアントナー25の物性を表1に示し、評価結果を表3に、使用した極性樹脂の物性を表4に示す。
・スチレン 62.0質量部
・n−ブチルアクリレート 38.0質量部・帯電制御剤 FCA1001NS(藤倉化成社製) 2.0質量部・極性樹脂1 10.0質量部・極性樹脂2 10.0質量部・C.I.ピグメントブルー15:3 7.0質量部・帯電制御剤 ボントロンE−88(オリエント化学社製) 1.0質量部・ワックス HNP−51(融点77℃:日本精蝋社製) 8.0質量部
上記材料を使用する以外はシアントナー1と同様にしてシアントナー26を得た。
シアントナー26の物性を表1に示し、評価結果を表3に、使用した極性樹脂の物性を表4に示す。
・スチレン 78.0質量部・n−ブチルアクリレート 22.0質量部・帯電制御剤 FCA1001NS(藤倉化成社製) 2.0質量部・C.I.ピグメントブルー15:3 7.0質量部・帯電制御剤 ボントロンE−88(オリエント化学社製) 1.0質量部・ワックス HNP−51(融点77℃:日本精蝋社製) 8.0質量部
上記材料を使用し、極性樹脂1および極性樹脂2を使用せず、リン酸三カルシウム9.0質量部を30.0質量部へ変更する以外はシアントナー1と同様にしてシアントナー27を得た。
シアントナー27の物性を表1に示し、評価結果を表3に、使用した極性樹脂の物性を表4に示す。
オートクレーブ中での加熱・撹拌を行わない以外はシアントナー20と同様にしてシアントナー28を得た。
シアントナー28の物性を表1に示し、評価結果を表3に、使用した極性樹脂の物性を表4に示す。
オートクレーブ中での加熱・撹拌を行わない以外はシアントナー21と同様にしてシアントナー29を得た。
シアントナー29の物性を表1に示し、評価結果を表3に、使用した極性樹脂の物性を表4に示す。
C.I.ピグメントブルー15:3 7質量部を、C.I.ピグメントレッド122 10質量部に変更する以外はシアントナー1と同様にしてマゼンタトナー1を得た。
マゼンタトナー1の物性を表1に示し、評価結果を表3に、使用した極性樹脂の物性を表4に示す。
C.I.ピグメントブルー15:3 7質量部を、C.I.ピグメントイエロー93 7質量部に変更する以外はシアントナー1と同様にしてイエロートナー1を得た。
イエロートナー1の物性を表1に示し、評価結果を表3に、使用した極性樹脂の物性を表4に示す。
C.I.ピグメントブルー15:3 7質量部を、カーボンブラック8質量部に変更す
る以外はシアントナー1と同様にしてブラックトナー1を得た。
ブラックトナー1の物性を表1に示し、評価結果を表3に、使用した極性樹脂の物性を表4に示す。
表1に記載のトナーを、表2に記載のように組み合わせにて評価した。
その結果を表3に記載する。
(1)現像効率/周方向のスジ/トナー飛散/トナーコート均一性について
図4に示す接触1成分現像システムの画像形成装置LBP−5400(キヤノン株式会社製)改造機において、図3に示す現像器に実施例及び比較例記載のトナーを190g充填したものを作る。低温常湿環境下(10℃/50%RH)及び高温高湿環境下(30℃/85%RH)にて24時間放置する。この際、転写紙も同様に放置する。その後、濃度検知補正をして、印字比率1%のチャートにて連続出力を実施する。総出力枚数が100枚、5000枚の時に、現像効率/周方向のスジ/トナー飛散/トナーコート均一性の確認をする。
現像効率を測定する際には、前記100枚、5000枚の連続出力後にベタ全域画像(トナー乗り量0.55mg/cm2)を1枚出力中に強制的に本体電源を切る。トナー担持体上の現像前トナーと感光ドラム上に現像されたトナーの単位面積当たりの重量を測定し、以下式にて現像効率を測定する。
現像効率=感光ドラム上に現像されたトナー/トナー担持体上の現像前トナー×100
評価は以下に示す判定A、B、C、Dに準じる。
B:低温常湿環境下及び高温高湿環境下ともに88%以上95%未満の現像効率であり、実使用上問題ないレベル。
C:高温高湿環境下にて80%以上88%未満の現像効率となるが、実使用上問題となる可能性が低いレベル。
D:低温常湿環境下及び高温高湿環境下ともに80%以上88%未満の現像効率もしくはそれより悪い現像効率となり、実使用上問題となる可能性が高いレベル。
B:5000枚出力後の評価において、トナー担持体とトナー端部シール間への異物挟み込みによるトナー飛散が若干見受けられるものの、実使用上問題ないレベル。
C:5000枚出力後の評価において、トナー飛散が若干見受けられ、周方向のスジも端部で1乃至4本見受けられるが実使用上問題となる可能性が低いレベル。
D:5000枚出力後の評価において、トナー飛散が見受けられ、周方向のスジも全域で5本以上見受けられ、実使用上問題となる可能性が高いレベル。
B:5000枚出力後の評価において、ドット再現性に若干の乱れが生じるものの、実使用上問題ないレベル。
C:100枚、5000枚出力後の評価において、ドット再現性に若干の乱れが生じるが、実使用上問題となる可能性が低いレベル。
D:100枚、5000枚出力後の評価において、ドット再現性の乱れが大きく、使用上問題となる可能性が高いレベル。
図4に示す接触1成分現像システムの画像形成装置において、図3に示す現像器に実施例及び比較例記載のトナーを190g充填したものを作り、低温常湿環境下(10℃/50%RH)にて48時間放置する。その後、10mm×10mmの四角画像が転写紙全体に均等に9ポイント配列された画像パターンの未定着画像を出力する。単色トナー乗り量は、0.2mg/cm2のハーフトーン画像を出力する。上記未定着画像を用いて定着開始温度を評価した。なお、定着領域の評価は紙種としてFox River Bond(90/cm2)を使用した。
定着機はオイル塗布機能のない40mmφの熱ローラ温調制御可能な外部定着機にて、150mm/secの定着条件で測定した。尚、このときのローラ材質としては、上部、下部ともに、PFAを使用した。ニップ幅は6mmとした。
また、定着開始の判断は、定着画像(低温オフセットした画像も含む)を50g/cm2の荷重をかけ、シルボン紙〔Lenz Cleaning Paper “dasper(R)”(Ozu Paper Co.Ltd)〕で2回摺擦する。そして、摺擦前後の濃度低下率が20%未満になる温度を定着開始点と定義し、この温度を低温定着性の評価に用いた。
また、高温時巻きつき性については目視で確認した。巻きつき無く通紙できた温度の最大温度を「高温時巻きつき性」を評価するための温度とした。
50mlのポリカップにトナーを5g秤量し、温度50℃の恒温槽に72時間放置した。その後、トナーの状態を目視により評価した。以下に判定基準を示す。
A:全く凝集しておらず、実使用上全く問題ないレベル。
B:若干凝集が見られるが僅かな外力で崩れ、実使用上問題ないレベル。
C:やや凝集しているものの手でほぐすことで崩れ、実使用上問題となる可能性が低いレベル。
D:強く凝集しており手でほぐしても崩れず、実使用上問題となる可能性が高いレベル。
1(1a〜1d) 感光体ドラム(像担持体)
2(2a〜2d) 帯電手段
3(3a〜3d) スキャナユニット
4(4a〜4d) 現像手段
4A 現像ユニット
5 静電転写装置
6(6a〜6d) クリーニング手段
7(7a〜7d) プロセスカートリッジ
11 静電転写ベルト
12(12a〜12d) 転写ローラー
13 ベルト駆動ローラー
14a、14b 従動ローラー
15 テンションローラー
16 給送部
17 カセット
18 給送ローラー
19 レジストローラー
20 定着部
21a 加熱ローラー
21b 加圧ローラー
22 吸着ローラー
23 排紙ローラー
24 排紙部
31 クリーニング枠体(カートリッジ枠体)
35 除去トナー収納室
40 現像ローラー(トナー担持体)
41 トナー容器(現像剤収納部)
42 トナー搬送機構
43 トナー供給ローラー
44 トナー規制部材(ブレード)
45(45a、45b、45e) 現像枠体(カートリッジ枠体)
47、48 結合穴
50 クリーナーユニット
51、64 加熱体
52、64a ヒーター基板
53、64b 通電発熱抵抗体(発熱体)
54、64d 検温素子
55、65 耐熱性フィルム
56、57 ベルト支持ローラー
58 支持ローラー
60 クリーニングブレード
62 支持ローラー(回転体)
63 ベルト支持体
64c 表面保護層
100 画像形成装置本体
S 記録媒体(記録材シート)
Claims (10)
- 結着樹脂、極性樹脂、着色剤及びワックスを少なくとも含有するトナー粒子を有するトナーであって、該トナーにUV光硬化性組成物を浸透させた際の、浸透時間5秒における浸透膜厚をL(μm)、5秒以上10秒以下における平均浸透速度をVa(μm/s)、10秒以上15秒以下における平均浸透速度をVb(μm/s)とするとき、L,Va及びVbが下記条件:
0.30≦L≦0.60 式(1)
0.040≦Va≦0.070 式(2)
Va<Vb 式(3)
を満たし、該トナーの100℃における粘度が3.0×103乃至4.5×104Pa・sであることを特徴とするトナー。 - 前記Va及びVbが下記条件:
1.2≦Vb/Va≦2.0
を満たすことを特徴とする請求項1に記載のトナー。 - 微小圧縮試験において、25℃において負荷速度9.8×10−5N/secで2.94×10−4Nの荷重を該トナーにかけてから除荷するまでの変位曲線において、荷重をかけ始めてから終了するまでの変位曲線の傾きをR(25)としたとき、R(25)が下記条件:
4.90×10−4≦R(25)≦1.27×10−3
を満たすことを特徴とする請求項1又は2に記載のトナー。 - 該トナーの重量平均粒子径(D4)が4.0乃至9.0μmであることを特徴とする請求項1乃至3のいずれかに記載のトナー。
- 該極性樹脂が該結着樹脂100質量部に対して合計で10乃至50質量部含有されていることを特徴とする請求項1乃至4のいずれかに記載のトナー。
- 該トナー中に含有される極性樹脂の酸価が3.0乃至30.0mgKOH/gであることを特徴とする請求項1乃至5のいずれかに記載のトナー。
- 該トナー中に含有される極性樹脂のガラス転移点(Tg)が70乃至120℃であることを特徴とする請求項1乃至6のいずれかに記載のトナー。
- 該トナー粒子は、水系媒体中で製造することにより得られることを特徴とする請求項1乃至7のいずれかに記載のトナー。
- 該トナー粒子は、少なくとも重合性単量体、極性樹脂、着色剤、及びワックスを含有する重合性単量体組成物を水系媒体中に分散、造粒し、重合性単量体を重合することにより得られることを特徴とする請求項1乃至8のいずれかに記載のトナー。
- 該極性樹脂がビニル系重合体であることを特徴とする請求項1乃至9のいずれかに記載のトナー。
Priority Applications (1)
| Application Number | Priority Date | Filing Date | Title |
|---|---|---|---|
| JP2008207829A JP5305777B2 (ja) | 2008-08-12 | 2008-08-12 | トナー |
Applications Claiming Priority (1)
| Application Number | Priority Date | Filing Date | Title |
|---|---|---|---|
| JP2008207829A JP5305777B2 (ja) | 2008-08-12 | 2008-08-12 | トナー |
Publications (3)
| Publication Number | Publication Date |
|---|---|
| JP2010044196A true JP2010044196A (ja) | 2010-02-25 |
| JP2010044196A5 JP2010044196A5 (ja) | 2011-09-15 |
| JP5305777B2 JP5305777B2 (ja) | 2013-10-02 |
Family
ID=42015636
Family Applications (1)
| Application Number | Title | Priority Date | Filing Date |
|---|---|---|---|
| JP2008207829A Active JP5305777B2 (ja) | 2008-08-12 | 2008-08-12 | トナー |
Country Status (1)
| Country | Link |
|---|---|
| JP (1) | JP5305777B2 (ja) |
Cited By (2)
| Publication number | Priority date | Publication date | Assignee | Title |
|---|---|---|---|---|
| WO2013008944A1 (en) * | 2011-07-12 | 2013-01-17 | Canon Kabushiki Kaisha | Toner and method for manufacturing the same |
| JP2018049182A (ja) * | 2016-09-23 | 2018-03-29 | カシオ計算機株式会社 | 電子写真用白色トナー |
Citations (2)
| Publication number | Priority date | Publication date | Assignee | Title |
|---|---|---|---|---|
| JPH1184735A (ja) * | 1997-07-08 | 1999-03-30 | Canon Inc | 静電荷像現像用マゼンタトナー及びその製造方法 |
| JP2005062818A (ja) * | 2003-07-30 | 2005-03-10 | Canon Inc | トナー |
-
2008
- 2008-08-12 JP JP2008207829A patent/JP5305777B2/ja active Active
Patent Citations (2)
| Publication number | Priority date | Publication date | Assignee | Title |
|---|---|---|---|---|
| JPH1184735A (ja) * | 1997-07-08 | 1999-03-30 | Canon Inc | 静電荷像現像用マゼンタトナー及びその製造方法 |
| JP2005062818A (ja) * | 2003-07-30 | 2005-03-10 | Canon Inc | トナー |
Cited By (5)
| Publication number | Priority date | Publication date | Assignee | Title |
|---|---|---|---|---|
| WO2013008944A1 (en) * | 2011-07-12 | 2013-01-17 | Canon Kabushiki Kaisha | Toner and method for manufacturing the same |
| JP2013037352A (ja) * | 2011-07-12 | 2013-02-21 | Canon Inc | トナー及びトナーの製造方法 |
| CN103649840A (zh) * | 2011-07-12 | 2014-03-19 | 佳能株式会社 | 调色剂及其制造方法 |
| KR101618475B1 (ko) * | 2011-07-12 | 2016-05-04 | 캐논 가부시끼가이샤 | 토너 및 토너 제조 방법 |
| JP2018049182A (ja) * | 2016-09-23 | 2018-03-29 | カシオ計算機株式会社 | 電子写真用白色トナー |
Also Published As
| Publication number | Publication date |
|---|---|
| JP5305777B2 (ja) | 2013-10-02 |
Similar Documents
| Publication | Publication Date | Title |
|---|---|---|
| JP5306217B2 (ja) | トナー | |
| CN101652722B (zh) | 调色剂 | |
| CN101755241B (zh) | 非磁性调色剂 | |
| JP5300401B2 (ja) | トナー | |
| JP2005215268A (ja) | 画像形成装置および画像形成方法 | |
| JP2010072209A (ja) | 静電荷像現像用トナー、静電荷像現像用トナーの製造方法、静電荷像現像用現像剤および画像形成装置 | |
| JP2009151060A (ja) | 静電荷像現像用トナーとその製造方法、及び画像形成装置 | |
| JP5578923B2 (ja) | トナー | |
| JP5344552B2 (ja) | トナーおよびトナーの製造方法 | |
| JP5202002B2 (ja) | 非磁性トナー | |
| JP2009151235A (ja) | マゼンタトナー | |
| JP5305777B2 (ja) | トナー | |
| JP5037825B2 (ja) | トナー、画像形成方法及びプロセスカートリッジ | |
| JP2010164720A (ja) | トナーおよびトナーの製造方法 | |
| JP5349872B2 (ja) | トナー | |
| JP4273054B2 (ja) | トナー及び画像形成方法 | |
| JP5495530B2 (ja) | トナー | |
| JP5541711B2 (ja) | イエロートナー | |
| JP2010060783A (ja) | トナー | |
| JP2010091755A (ja) | マゼンタトナー | |
| JP5455346B2 (ja) | トナー粒子の製造方法 | |
| JP5441385B2 (ja) | トナー | |
| JP5274157B2 (ja) | マゼンタトナー | |
| JP5448404B2 (ja) | トナーおよびトナーの製造方法 | |
| JP2013109176A (ja) | イエロートナー及びトナー粒子の製造方法 |
Legal Events
| Date | Code | Title | Description |
|---|---|---|---|
| A521 | Written amendment |
Free format text: JAPANESE INTERMEDIATE CODE: A523 Effective date: 20110801 |
|
| A621 | Written request for application examination |
Free format text: JAPANESE INTERMEDIATE CODE: A621 Effective date: 20110801 |
|
| A977 | Report on retrieval |
Free format text: JAPANESE INTERMEDIATE CODE: A971007 Effective date: 20121114 |
|
| A131 | Notification of reasons for refusal |
Free format text: JAPANESE INTERMEDIATE CODE: A131 Effective date: 20121127 |
|
| A521 | Written amendment |
Free format text: JAPANESE INTERMEDIATE CODE: A523 Effective date: 20130128 |
|
| A131 | Notification of reasons for refusal |
Free format text: JAPANESE INTERMEDIATE CODE: A131 Effective date: 20130219 |
|
| A521 | Written amendment |
Free format text: JAPANESE INTERMEDIATE CODE: A523 Effective date: 20130419 |
|
| TRDD | Decision of grant or rejection written | ||
| A01 | Written decision to grant a patent or to grant a registration (utility model) |
Free format text: JAPANESE INTERMEDIATE CODE: A01 Effective date: 20130528 |
|
| A61 | First payment of annual fees (during grant procedure) |
Free format text: JAPANESE INTERMEDIATE CODE: A61 Effective date: 20130625 |
|
| R151 | Written notification of patent or utility model registration |
Ref document number: 5305777 Country of ref document: JP Free format text: JAPANESE INTERMEDIATE CODE: R151 |
