JP2010042505A - 畳床切断装置 - Google Patents

畳床切断装置 Download PDF

Info

Publication number
JP2010042505A
JP2010042505A JP2009264570A JP2009264570A JP2010042505A JP 2010042505 A JP2010042505 A JP 2010042505A JP 2009264570 A JP2009264570 A JP 2009264570A JP 2009264570 A JP2009264570 A JP 2009264570A JP 2010042505 A JP2010042505 A JP 2010042505A
Authority
JP
Japan
Prior art keywords
arc
tatami
tilting
cutting
tatami floor
Prior art date
Legal status (The legal status is an assumption and is not a legal conclusion. Google has not performed a legal analysis and makes no representation as to the accuracy of the status listed.)
Granted
Application number
JP2009264570A
Other languages
English (en)
Other versions
JP4747215B2 (ja
Inventor
Noboru Wakimoto
昇 脇本
Yasuo Wakimoto
康男 脇本
Current Assignee (The listed assignees may be inaccurate. Google has not performed a legal analysis and makes no representation or warranty as to the accuracy of the list.)
KIBI KK
Original Assignee
KIBI KK
Priority date (The priority date is an assumption and is not a legal conclusion. Google has not performed a legal analysis and makes no representation as to the accuracy of the date listed.)
Filing date
Publication date
Application filed by KIBI KK filed Critical KIBI KK
Priority to JP2009264570A priority Critical patent/JP4747215B2/ja
Publication of JP2010042505A publication Critical patent/JP2010042505A/ja
Application granted granted Critical
Publication of JP4747215B2 publication Critical patent/JP4747215B2/ja
Expired - Fee Related legal-status Critical Current
Anticipated expiration legal-status Critical

Links

Images

Landscapes

  • Nonmetal Cutting Devices (AREA)

Abstract

【課題】切断刃の傾きを調整自在にすると共に、傾き調整後の切断刃を安定して支持できる畳床切断装置を提供する。
【解決手段】支持部2はレールに沿って移動自在な支持本体21と、回転刃3を備えた傾倒本体22とからなり、支持本体21は、レール12に直交する垂直な傾倒面に、畳床に向けた回転刃3下端の刃先の位置から前記回転刃3が畳床4に対して侵入する刃入れ深さだけ高い位置で設定した仮想傾倒軸Pを中心とする円弧状長孔212,213を有し、傾倒本体22が有する拘束突起221を前記各円弧状長孔212,213それぞれに係合させて、前記傾倒本体22を支持本体21に支持させてなり、各円弧状長孔212,213に対する拘束突起221それぞれの係合位置関係を変えることにより、支持本体21に対する傾倒本体22の姿勢を変え、前記傾倒本体22が備える回転刃3の傾きを変える畳床切断装置である。
【選択図】図2

Description

本発明は、畳床の上前、下前又は框を上面から下面に向けて内向きに傾けて切断する畳床切断装置に関する。
畳床は、例えば特許文献1に見られるように、片刃の畳包丁又は回転する円形刃等の切断刃を用いている。畳包丁や回転する円形刃により上前、下前又は框(以下、床側面と呼ぶ)を切断し、所定形状に整形される。このとき、床側面は、上面及び下面に対してそれぞれ直交して切断されるのではなく、上面から下面に向けて内向きに9度程度傾けて切断される。これは、上面から床側面にかけて折り込まれる畳表の膨らみを考慮して、前記膨らみが畳床の上面から見えないようするためである。例えば、切断刃に前記9度の傾きがあれば、厚み55mmの従来の畳(以下、通常畳と呼ぶ)であれば、下面周縁は上面周縁より9mm弱ほど内側に位置する。
特開2001-198881号公報
近年、通常畳と比べて薄い畳、いわゆる薄畳が普及し始めている。この薄畳の畳床についても、上面から下面に向けて内向きに傾けて床側面が切断される。ところが、従来の畳床切断装置は、通常畳を基準としているため、切断刃の傾きが不十分で、畳表の膨らみを上面から見えないようにすることができない。例えば15mmの薄畳の場合、切断刃の傾きが9度であれば、下面周縁は上面周縁より2mm強しか内側に位置せず、畳表の膨らみを隠しきれない虞がある。通常畳同様、下面周縁を上面周縁より9mm弱ほど内側に位置させようとすれば、切断刃の傾きは30度強必要になる。薄畳には更に薄いものも見られるので、これらの場合は更に切断刃の傾きが大きくなる。
ここで、切断刃の傾きを調整できるように、支持部に傾倒軸を設け、前記傾倒軸を中心に切断刃の傾きを変えることが考えられる。この場合、畳床切断装置のテーブルに載置する畳床の位置関係は変わらないから、切断刃の傾きに関係なく床側面を上面周縁を揃えながら前記床側面の傾きだけを変えようとすれば、切断刃の刃先又は切断刃と同一面上に傾倒軸が設けられ、前記傾倒軸を中心に切断刃を傾けることができればよい。しかし、こうした傾倒軸を設けることは現実的に不可能である。これから、傾倒軸を支持部に設けるほかなく、前記傾倒軸を設けた支持部には傾きを変えた切断刃の位置ずれを調整する機構が必要となるが、こうした支持部は装置構成を複雑にするばかりか、畳床切断装置全体の製造コストを上昇させかねない。
このように、畳床の厚みに合わせて切断刃の傾きを変えることまでは容易に思いつくものの、切断刃の種類や切断刃の支持部の構成等を鑑みた場合、前記支持部に傾倒軸を設けるだけで切断刃の傾きを調整できるようにはならなかった。そこで、畳床切断装置における切断刃の傾きを調整自在にすると共に、傾き調整後の切断刃を安定して支持するための調整構造を開発するため、検討した。
検討の結果開発したものが、テーブルに載置した畳床の床側面に平行なレールに沿って移動自在な支持部に切断刃を設け、前記支持部の移動に従って前記床側面を切断する畳床切断装置において、支持部はレールに沿って移動自在な支持本体と、切断刃を備えた傾倒本体とからなり、支持本体は、レールに直交する垂直な傾倒面に、畳床に向けた切断刃下端の刃先の位置から前記切断刃が畳床に対して侵入する刃入れ深さだけ高い位置で設定した仮想傾倒軸を中心とする2条以上の円弧状長孔を有し、傾倒本体が有する拘束突起を前記各円弧状長孔それぞれに係合させて前記傾倒本体を支持させてなり、各円弧状長孔に対する拘束突起それぞれの係合位置関係を変えることにより、支持本体に対する傾倒本体の姿勢を変え、前記傾倒本体が備える切断刃の傾きを変える畳床切断装置である。
上記構成に基づく具体的な畳床切断装置は、支持本体が有する一対の支持プレートに円弧状長孔を設け、前記支持プレートに挟まれた傾倒本体の側面から円弧状長孔に向けて拘束突起を突出させる構成を例示できる。切断刃が回転刃である場合、切断刃の駆動手段(電動モータ)は傾倒本体に支持させる。また、切断刃を畳床に対して昇降させる昇降手段(直動シリンダ)は、支持本体又は支持本体を移動させるレールを昇降させることにより、前記支持本体に支持された傾倒本体、そして切断刃を昇降できる。
本発明の畳床切断装置は、傾倒軸に従って傾く部位は円弧軌道を描くことに着眼して、実在する傾倒軸を設けるのではなく、レールに直交する垂直な傾倒面に、畳床に向けた切断刃下端の刃先の位置から前記切断刃が畳床に対して侵入する刃入れ深さだけ高い位置で仮想傾倒軸を設定し、前記仮想傾倒軸を中心とする円弧状長孔に拘束突起を係合させ、前記円弧状長孔に対する拘束突起の係合位置関係を変えることにより、切断刃を傾ける。本発明は、前記円弧状長孔に拘束突起を係合させる構成があればよいため、例えば傾倒本体は、拘束突起に代えて、レールに直交する垂直な傾倒面に、畳床に向けた切断刃下端の刃先の位置から前記切断刃が畳床に対して侵入する刃入れ深さだけ高い位置で設定した仮想傾倒軸を中心とする2条以上の円弧状長孔を有し、円弧状長孔に代えて、支持本体が有する拘束突起を前記各円弧状長孔それぞれに係合させて前記傾倒本体支持させてもよい。
上記構成に基づく具体的な畳床切断装置は、支持本体が有する一対の支持プレートに挟まれた傾倒本体の側面に円弧状長孔を設け、前記支持プレートから円弧状長孔に向けて拘束突起を突出させる構成を例示できる。切断刃が回転刃である場合、上述同様、切断刃の駆動手段(電動モータ)は傾倒本体に支持させる。また、切断刃を畳床に対して昇降させる昇降手段(直動シリンダ)は、同じく上述同様、支持本体又は支持本体を移動させるレールを昇降させることにより、前記支持本体に支持された傾倒本体、そして切断刃を昇降できる。
2条以上の円弧状長孔にそれぞれ拘束突起を係合させると、各拘束突起の位置関係によって円弧状長孔が取りうる姿勢が特定されるので、円弧状長孔に対する拘束突起の固定手段、例えばボルトからなる拘束突起に対するナット等がなくても、傾けた傾倒本体を支持本体に支持させることはできる。しかし、切断刃が畳床を切断する場合、切断刃が畳床から反力を受けるため、傾倒本体を安定して支持本体に支持できない虞がある。これから、拘束突起は円弧状長孔に対する固定手段を有する構成にすることが好ましい。
傾倒本体は円弧状長孔に対する拘束突起の係合位置関係を変えて傾ける。このとき、各円弧状長孔にそれぞれ1個の拘束突起を係合させているだけでは、一方の拘束突起を軸とする回転運動が傾倒本体に生じ、円弧状長孔及び拘束突起両者の相対的な移動がぎこちなくなる。そこで、拘束突起は少なくとも1条の円弧状長孔に2個以上係合させ、前記回転運動を抑制又は防止することが好ましい。ここで、基本となる1個の拘束突起が断面円形の場合、前記基本となる拘束突起を2個結んだ断面ヘ字状の拘束突起を設けてもよい。2個以上の拘束突起又は前記断面ヘ字状の拘束突起を円弧状長孔に係合させる場合、拘束突起の位置関係による円弧状長孔が取りうる姿勢がより明確に特定され、支持本体による傾倒本体の支持が安定する利点も得られる。
本発明の畳床切断装置は、円弧状長孔は畳床に向けた切断刃下端の刃先の位置から前記切断刃が畳床に対して侵入する刃入れ深さだけ高い位置に設定した仮想傾倒軸を中心として形成する。「畳床に向けた切断刃下端の刃先の位置から前記切断刃が畳床に対して侵入する刃入れ深さだけ高い位置」とは、切断を終えた床側面の上面周縁に相当する。これから、前記仮想傾倒軸を設定した本発明の畳床切断装置は、同じテーブル上に通常畳又は薄畳を同じように位置決めすれば、切断刃の傾きに関係なく、畳床の上面周縁を一定に揃えながら、切断を終えた床側面の傾きだけを切断刃の傾きに合わせて調整できる。
本発明により、通常畳又は薄畳それぞれに合わせて切断刃の傾きを調整できる畳床切断装置が提供できるようになる。これは、実在の傾倒軸を設けるのではなく、仮想傾倒軸を中心とした円弧状長孔と拘束突起との係合により、支持本体に対して傾倒本体を傾倒させるようにしたことによる効果である。また、切断を終えた床側面の上面周縁に一致させた仮想傾倒軸を設定すれば、通常畳又は薄畳の別なく、切断後の上面周縁の位置を一致させながら床側面の傾きだけを変えることのできる効果が得られる。
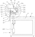
回転刃を直立姿勢(鉛直面に沿って傾いていない姿勢)とした畳床切断装置の正面図である。 回転刃を直立姿勢とした畳床切断装置の側面図である。 図3中A矢視部拡大図である。 回転刃を傾倒姿勢(鉛直面に対して傾けた姿勢)とした畳床切断装置の正面図である。 回転刃を傾倒姿勢とした畳床切断装置の側面図である。 図5中B矢視部拡大図である。
以下、本発明の実施形態について図を参照しながら説明する。本例の畳床切断装置は、図1〜図3に見られるように、床面に接地するフレーム1上に畳床4を載置するテーブル11を設け、前記テーブル11に載置した畳床4の床側面41に平行なレール12に沿って移動自在な支持部2に回転刃3を設けている。フレーム1は、テーブル11に平行な定規13を有し、前記定規13に床側面41を揃えて畳床4の位置決めをさせる。レール12は、前後一対の凸条121,121(図2参照)を有する長尺部材で、フレーム1に支持された昇降シリンダ122,122により支えられている。これにより、レール12に沿って移動する支持部2、そして支持部2に設けられた回転刃3が、テーブル11に載置した畳床4に対して昇降する。支持部2は、レール12の左右端に設けられた駆動プーリ214及び従動プーリ215に架け渡された移動ベルト216を固着している。支持部2は、移動用モータ217が回転させる駆動プーリ214によって移動ベルト216を周回させ、この移動ベルト216の周回に従ってレール12に沿って移動する。こうした畳床切断装置の全体構成は、従来公知の同種装置と同じである。
本発明の畳床切断装置は、回転刃3の傾きを変えるため、レール12に沿って移動自在な支持本体21と、回転刃3を備えた傾倒本体22とから支持部2を構成する。本例の支持部2は、レール12が有する凸条121それぞれに上方から嵌合する支持本体21と、前記支持本体21から立たせた左右一対の支持プレート211,211に挟まれて支持される傾倒本体22とから構成される。本例は、切断刃として、傾倒本体22に設けた切断用モータ31を駆動原とする回転刃3のほか、前記回転刃3に隣接して畳包丁33も設けている。回転刃3は、傾倒本体22に軸着されており、切断用モータ31から伝達ベルト32を介して伝達される回転動力により回転する。切断用モータ31、畳包丁33及び回転刃3は、傾倒本体22の姿勢に従って一体に傾くことができる。回転動力の伝達に問題がなければ、例えば支持本体21に切断用モータ31を設けても構わない。
支持本体21は、左右一対の支持プレート211,211に、レール12に直交する垂直な傾倒面上に設定した仮想傾倒軸Pを中心とする小径の円弧状長孔212と大径の円弧状長孔213とを設けている。本例の支持プレート211は、相対的に前後に長い長方形状をしていることから、小径の円弧状長孔212は装置前側、大径の円弧状長孔213は装置後側にずらした位置関係にしている。しかし、両円弧状長孔212,213の始端から終端までの角度は、それぞれ傾倒本体22に求められる傾きの調整範囲以上である。すなわち、本発明に求められる2条以上の円弧状長孔212,213は、それぞれが仮想傾倒軸Pを共通の中心とし、かつそれぞれの始端から終端までの角度が傾倒本体22に求められる傾きの調整範囲以上であれば、相互の位置関係を自由に設定してもよい。
傾倒本体22は、上記支持本体21の支持プレート211,211に挟まれた側面から拘束突起221を突出させ、前記支持プレート211に設けた各円弧状長孔212,213に係合させている。各拘束突起221の位置関係は、基本的に円弧状長孔212,213によって決定される。本例の拘束突起221は、各円弧状長孔212,213に対して2個ずつ並べて突出させたボルトからなる。これから、例えば2個の拘束突起221のうち1個を円弧状長孔212,213から突出させ、支持本体21に対して傾倒本体22を傾けた後、円弧状長孔212,213から突出する前記拘束突起221に、固定手段としてナット222を締め付けると、支持プレート211に対して傾倒本体22を位置固定させることができる。ここで、本例が各円弧状長孔212,213に対して2個ずつ拘束突起221を設けた理由は、円弧状長孔212,213に沿って拘束突起221を円滑に移動させるためである。これから、締め付けるナット222の干渉を避けるため、拘束突起221は1個のみ円弧状長孔212,213から突出させ、残る1個は円弧状長孔212,213に係合させるに留めるとよい。
本例における傾倒面は、畳床切断装置の前後方向、すなわち図2の紙面に沿った方向であり、仮想傾倒軸Pは前記傾倒面内で、かつ畳床4に向けた回転刃3下端の刃先の位置から前記回転刃3が畳床4に対して侵入する刃入れ深さだけ高い位置に設定している。これにより、回転刃3の傾きに関係なく、床側面41を切断された畳床4の上面周縁は、常に一定となり、前記上面周縁から下面周縁に至る床側面41の傾きのみを変えることができる。これは、通常畳又は薄畳の違いを考慮することなく、いずれの畳床4も同じ定規13に床側面41を揃えて、テーブル11に対する畳床4の位置決めができることを意味する。そして、通常畳又は薄畳の違いなく、同様に畳床4の位置決めができることから、本発明の畳床切断装置を使用するに当たり、従前通り作業できる利点が得られる。
回転刃3を傾けるには、次の手順による。まず、支持プレート211に傾倒本体22を締め付けているナット222を弛める又は外して傾倒本体22を自由状態にし、各円弧状長孔212,213に沿って各拘束突起221を係合させたまま移動させる。各拘束突起221はそれぞれを係合させた各円弧状長孔212,213によって移動が規制されている。このため、各円弧状長孔212,213に沿って各拘束突起221を移動させると、仮想傾倒軸Pを中心として傾倒本体22を傾倒させることができる。ここで、傾倒本体22の傾きに対応して、各円弧状長孔212,213に対する拘束突起221の係合位置を示すメモリを前記円弧状長孔212,213に沿って支持プレート211に設けておくと、傾倒本体22の傾きを容易かつ正確に知ることができる。こうして傾倒本体22の傾きを終えた後、再び各拘束突起221にナット222を締め付け、支持プレート211に対して傾倒本体22を位置固定すると、図4〜図6に見られるように、傾倒本体22を傾けた姿勢で安定に維持できる。
仮想傾倒軸Pは、畳床4に向けた回転刃3下端の刃先の位置から前記回転刃3が畳床4に対して侵入する刃入れ深さだけ高い位置、すなわち回転刃3上に設定している。これから、傾倒本体22の傾きに関係なく、仮想傾倒軸Pはテーブル11に載置した畳とに対する常に同じ位置にあり、回転刃3は傾倒本体22を傾けると仮想傾倒軸Pより下方が装置後方(図1中紙面奥、図2中右側)に傾き、また仮想傾倒軸Pより上方が装置前方(図1中紙面手前、図2中左側)に傾くことになる。これは、既述したように、回転刃3の傾きに関係なく、畳床4の上面周縁を常に一定にするためであるが、裏返せばこうした上面周縁を一定にするためには、仮想傾倒軸Pを回転刃3上に設けなければならない。本発明における円弧状長孔212,213に拘束突起221を係合させる構成は、こうした本来設定不可能な仮想傾倒軸Pを設定できるようにする。
1 フレーム
11 テーブル
12 レール
2 支持部
21 支持本体
211 支持プレート
212 小径の円弧状長孔
213 大径の円弧状長孔
22 傾倒本体
221 拘束突起
3 回転刃
4 畳床
41 床側面
P 仮想傾倒軸

Claims (4)

  1. テーブルに載置した畳床の上前、下前又は框に平行なレールに沿って移動自在な支持部に切断刃を設け、前記支持部の移動に従って前記畳床の上前、下前又は框を切断する畳床切断装置において、
    支持部はレールに沿って移動自在な支持本体と、切断刃を備えた傾倒本体とからなり、支持本体は、レールに直交する垂直な傾倒面に、畳床に向けた切断刃下端の刃先の位置から前記切断刃が畳床に対して侵入する刃入れ深さだけ高い位置で設定した仮想傾倒軸を中心とする2条以上の円弧状長孔を有し、傾倒本体が有する拘束突起を前記各円弧状長孔それぞれに係合させて前記傾倒本体を支持させてなり、
    各円弧状長孔に対する拘束突起それぞれの係合位置関係を変えることにより、支持本体に対する傾倒本体の姿勢を変え、前記傾倒本体が備える切断刃の傾きを変えることを特徴とする畳床切断装置。
  2. 傾倒本体は、拘束突起に代えて、レールに直交する垂直な傾倒面に、畳床に向けた切断刃下端の刃先の位置から前記切断刃が畳床に対して侵入する刃入れ深さだけ高い位置で設定した仮想傾倒軸を中心とする2条以上の円弧状長孔を有し、円弧状長孔に代えて、支持本体が有する拘束突起を前記各円弧状長孔それぞれに係合させて前記傾倒本体支持させた請求項1記載の畳床切断装置。
  3. 拘束突起は円弧状長孔に対する固定手段を有する請求項1又は2いずれか記載の畳床切断装置。
  4. 拘束突起は少なくとも1条の円弧状長孔に2個以上係合させた請求項1〜3いずれか記載の畳床切断装置。
JP2009264570A 2009-11-20 2009-11-20 畳床切断装置 Expired - Fee Related JP4747215B2 (ja)

Priority Applications (1)

Application Number Priority Date Filing Date Title
JP2009264570A JP4747215B2 (ja) 2009-11-20 2009-11-20 畳床切断装置

Applications Claiming Priority (1)

Application Number Priority Date Filing Date Title
JP2009264570A JP4747215B2 (ja) 2009-11-20 2009-11-20 畳床切断装置

Related Parent Applications (1)

Application Number Title Priority Date Filing Date
JP2006185406A Division JP4435122B2 (ja) 2006-07-05 2006-07-05 畳床切断装置

Publications (2)

Publication Number Publication Date
JP2010042505A true JP2010042505A (ja) 2010-02-25
JP4747215B2 JP4747215B2 (ja) 2011-08-17

Family

ID=42014298

Family Applications (1)

Application Number Title Priority Date Filing Date
JP2009264570A Expired - Fee Related JP4747215B2 (ja) 2009-11-20 2009-11-20 畳床切断装置

Country Status (1)

Country Link
JP (1) JP4747215B2 (ja)

Citations (8)

* Cited by examiner, † Cited by third party
Publication number Priority date Publication date Assignee Title
JPS5193511A (en) * 1975-02-14 1976-08-17 Tatamidokono 2 dangirisaidanba
JPS58169994U (ja) * 1982-04-30 1983-11-12 株式会社石井ミシン製作所 畳床切断機
JPS61276231A (ja) * 1985-05-30 1986-12-06 Nitto Electric Ind Co Ltd ウエハ保護フイルムの切断方法
JPS62134694U (ja) * 1986-02-15 1987-08-25
JP2005297457A (ja) * 2004-04-14 2005-10-27 Lintec Corp 貼付装置及び貼付方法
JP2006007367A (ja) * 2004-06-25 2006-01-12 Nitto Denko Corp 保護テープの切断方法および保護テープ切断装置
JP2006055935A (ja) * 2004-08-19 2006-03-02 Nitto Denko Corp 保護テープ貼付け装置
JP2006187862A (ja) * 2006-03-07 2006-07-20 Lintec Corp 切断装置及び切断方法

Patent Citations (8)

* Cited by examiner, † Cited by third party
Publication number Priority date Publication date Assignee Title
JPS5193511A (en) * 1975-02-14 1976-08-17 Tatamidokono 2 dangirisaidanba
JPS58169994U (ja) * 1982-04-30 1983-11-12 株式会社石井ミシン製作所 畳床切断機
JPS61276231A (ja) * 1985-05-30 1986-12-06 Nitto Electric Ind Co Ltd ウエハ保護フイルムの切断方法
JPS62134694U (ja) * 1986-02-15 1987-08-25
JP2005297457A (ja) * 2004-04-14 2005-10-27 Lintec Corp 貼付装置及び貼付方法
JP2006007367A (ja) * 2004-06-25 2006-01-12 Nitto Denko Corp 保護テープの切断方法および保護テープ切断装置
JP2006055935A (ja) * 2004-08-19 2006-03-02 Nitto Denko Corp 保護テープ貼付け装置
JP2006187862A (ja) * 2006-03-07 2006-07-20 Lintec Corp 切断装置及び切断方法

Also Published As

Publication number Publication date
JP4747215B2 (ja) 2011-08-17

Similar Documents

Publication Publication Date Title
JP3925046B2 (ja) 卓上丸鋸
JP2903347B2 (ja) 携帯用丸鋸
EP3141352B1 (en) Combination of work table and fence assembly and table cutting machine with combination
US20060042444A1 (en) Miter saw having two laser oscillators
US8413562B2 (en) Slide circular saw
CN101626859A (zh) 台式切割机
JP2012055994A (ja) ガイドフェンス及び切断機
JP2003326501A (ja) 立てのこ盤
JP2009126059A (ja) バイス装置及び切断機
JP2009166174A (ja) 畳床裁断装置
JP4747215B2 (ja) 畳床切断装置
JP4435122B2 (ja) 畳床切断装置
JP3698954B2 (ja) 携帯用動力切断機
JP2010274390A (ja) 卓上切断機
JP2009066718A (ja) 卓上丸鋸盤における回転テーブルの位置決め装置
KR102151865B1 (ko) 판재절단용 전동식 원형톱장치
JP4200471B2 (ja) 切断機
CN213797009U (zh) 紧固式圆周切割机
JP2001079828A (ja) タイル切断機
JP3189538U (ja) 裁断機
JP2012157931A (ja) 卓上切断機
KR101875310B1 (ko) 태핑 장치
JP3201761U (ja) ディスクグラインダ及びその切断作業用補助具
JP4943962B2 (ja) スライド型切断機
JP2005271324A (ja) 携帯用切断機

Legal Events

Date Code Title Description
A621 Written request for application examination

Free format text: JAPANESE INTERMEDIATE CODE: A621

Effective date: 20091120

A977 Report on retrieval

Free format text: JAPANESE INTERMEDIATE CODE: A971007

Effective date: 20110420

TRDD Decision of grant or rejection written
A01 Written decision to grant a patent or to grant a registration (utility model)

Free format text: JAPANESE INTERMEDIATE CODE: A01

Effective date: 20110510

A01 Written decision to grant a patent or to grant a registration (utility model)

Free format text: JAPANESE INTERMEDIATE CODE: A01

A61 First payment of annual fees (during grant procedure)

Free format text: JAPANESE INTERMEDIATE CODE: A61

Effective date: 20110516

FPAY Renewal fee payment (event date is renewal date of database)

Free format text: PAYMENT UNTIL: 20140520

Year of fee payment: 3

R150 Certificate of patent or registration of utility model

Ref document number: 4747215

Country of ref document: JP

Free format text: JAPANESE INTERMEDIATE CODE: R150

Free format text: JAPANESE INTERMEDIATE CODE: R150

R250 Receipt of annual fees

Free format text: JAPANESE INTERMEDIATE CODE: R250

R250 Receipt of annual fees

Free format text: JAPANESE INTERMEDIATE CODE: R250

R250 Receipt of annual fees

Free format text: JAPANESE INTERMEDIATE CODE: R250

R250 Receipt of annual fees

Free format text: JAPANESE INTERMEDIATE CODE: R250

R250 Receipt of annual fees

Free format text: JAPANESE INTERMEDIATE CODE: R250

R250 Receipt of annual fees

Free format text: JAPANESE INTERMEDIATE CODE: R250

R250 Receipt of annual fees

Free format text: JAPANESE INTERMEDIATE CODE: R250

R250 Receipt of annual fees

Free format text: JAPANESE INTERMEDIATE CODE: R250

LAPS Cancellation because of no payment of annual fees