JP2010039434A - 光学走査装置 - Google Patents

光学走査装置 Download PDF

Info

Publication number
JP2010039434A
JP2010039434A JP2008205634A JP2008205634A JP2010039434A JP 2010039434 A JP2010039434 A JP 2010039434A JP 2008205634 A JP2008205634 A JP 2008205634A JP 2008205634 A JP2008205634 A JP 2008205634A JP 2010039434 A JP2010039434 A JP 2010039434A
Authority
JP
Japan
Prior art keywords
lens
laser light
light source
optical scanning
scanning device
Prior art date
Legal status (The legal status is an assumption and is not a legal conclusion. Google has not performed a legal analysis and makes no representation as to the accuracy of the status listed.)
Granted
Application number
JP2008205634A
Other languages
English (en)
Other versions
JP5268490B2 (ja
JP2010039434A5 (ja
Inventor
Mitsuhiro Ohara
光裕 尾原
Current Assignee (The listed assignees may be inaccurate. Google has not performed a legal analysis and makes no representation or warranty as to the accuracy of the list.)
Canon Inc
Original Assignee
Canon Inc
Priority date (The priority date is an assumption and is not a legal conclusion. Google has not performed a legal analysis and makes no representation as to the accuracy of the date listed.)
Filing date
Publication date
Application filed by Canon Inc filed Critical Canon Inc
Priority to JP2008205634A priority Critical patent/JP5268490B2/ja
Priority to US12/511,880 priority patent/US8355192B2/en
Priority to CN200910161130.2A priority patent/CN101644830B/zh
Priority to CN201210507854.XA priority patent/CN102981273A/zh
Publication of JP2010039434A publication Critical patent/JP2010039434A/ja
Publication of JP2010039434A5 publication Critical patent/JP2010039434A5/ja
Priority to US13/714,290 priority patent/US8681405B2/en
Application granted granted Critical
Publication of JP5268490B2 publication Critical patent/JP5268490B2/ja
Priority to US14/171,602 priority patent/US8786927B2/en
Expired - Fee Related legal-status Critical Current
Anticipated expiration legal-status Critical

Links

Images

Classifications

    • GPHYSICS
    • G02OPTICS
    • G02BOPTICAL ELEMENTS, SYSTEMS OR APPARATUS
    • G02B26/00Optical devices or arrangements for the control of light using movable or deformable optical elements
    • G02B26/08Optical devices or arrangements for the control of light using movable or deformable optical elements for controlling the direction of light
    • G02B26/10Scanning systems
    • G02B26/12Scanning systems using multifaceted mirrors
    • G02B26/123Multibeam scanners, e.g. using multiple light sources or beam splitters
    • BPERFORMING OPERATIONS; TRANSPORTING
    • B41PRINTING; LINING MACHINES; TYPEWRITERS; STAMPS
    • B41JTYPEWRITERS; SELECTIVE PRINTING MECHANISMS, i.e. MECHANISMS PRINTING OTHERWISE THAN FROM A FORME; CORRECTION OF TYPOGRAPHICAL ERRORS
    • B41J2/00Typewriters or selective printing mechanisms characterised by the printing or marking process for which they are designed
    • B41J2/435Typewriters or selective printing mechanisms characterised by the printing or marking process for which they are designed characterised by selective application of radiation to a printing material or impression-transfer material
    • B41J2/47Typewriters or selective printing mechanisms characterised by the printing or marking process for which they are designed characterised by selective application of radiation to a printing material or impression-transfer material using the combination of scanning and modulation of light
    • B41J2/471Typewriters or selective printing mechanisms characterised by the printing or marking process for which they are designed characterised by selective application of radiation to a printing material or impression-transfer material using the combination of scanning and modulation of light using dot sequential main scanning by means of a light deflector, e.g. a rotating polygonal mirror
    • B41J2/473Typewriters or selective printing mechanisms characterised by the printing or marking process for which they are designed characterised by selective application of radiation to a printing material or impression-transfer material using the combination of scanning and modulation of light using dot sequential main scanning by means of a light deflector, e.g. a rotating polygonal mirror using multiple light beams, wavelengths or colours
    • GPHYSICS
    • G02OPTICS
    • G02BOPTICAL ELEMENTS, SYSTEMS OR APPARATUS
    • G02B26/00Optical devices or arrangements for the control of light using movable or deformable optical elements
    • G02B26/08Optical devices or arrangements for the control of light using movable or deformable optical elements for controlling the direction of light
    • G02B26/10Scanning systems
    • GPHYSICS
    • G02OPTICS
    • G02BOPTICAL ELEMENTS, SYSTEMS OR APPARATUS
    • G02B26/00Optical devices or arrangements for the control of light using movable or deformable optical elements
    • G02B26/08Optical devices or arrangements for the control of light using movable or deformable optical elements for controlling the direction of light
    • G02B26/10Scanning systems
    • G02B26/12Scanning systems using multifaceted mirrors
    • G02B26/121Mechanical drive devices for polygonal mirrors
    • GPHYSICS
    • G02OPTICS
    • G02BOPTICAL ELEMENTS, SYSTEMS OR APPARATUS
    • G02B26/00Optical devices or arrangements for the control of light using movable or deformable optical elements
    • G02B26/08Optical devices or arrangements for the control of light using movable or deformable optical elements for controlling the direction of light

Landscapes

  • Physics & Mathematics (AREA)
  • General Physics & Mathematics (AREA)
  • Optics & Photonics (AREA)
  • Mechanical Optical Scanning Systems (AREA)
  • Facsimile Scanning Arrangements (AREA)
  • Facsimile Heads (AREA)
  • Laser Beam Printer (AREA)

Abstract

【課題】複眼入射レンズを使用する構成において、光源ユニット自体を貫通するような流入経路を密閉し、且つ、光源ユニットと筐体の隙間も密閉し、さらにそれらを簡素な構成で実現する。
【解決手段】
アナモフィックレンズ2と光学箱90との間に挟持され、アナモフィックレンズ2と光学箱90の開口部90aとの間の隙間を塞ぐ防塵シール7を備える。
【選択図】図1

Description

本発明は、例えば、電子写真プロセスを有するレーザビームプリンタやデジタル複写機等の画像形成装置に搭載される光学走査装置に関するものである。
近年、レーザビームプリンタの高速化、使用環境の多様化に伴い、光学走査装置の防塵性能が求められている。
従来例として、図14,15に特許文献1記載の光学走査装置を示す。
図14に示すように、光学走査装置140は嵌合させて組付けられた光源装置(光源ユニット)106からレーザ光130を出射する。光源装置106から出射したレーザ光130は、シリンドリカルレンズ117を通過し、ポリゴンミラー115の反射面上に線状に結像する。そして、ポリゴンミラー115が回転することによってレーザ光130は偏向され、走査レンズ118、折り返しミラー119を介して不図示の被走査面(例えば感光体ドラム)上に結像、走査され、静電潜像を成形する。
光源装置106は、光源である不図示のレーザ光源からレーザ光130を出射し、不図示のコリメータレンズによって平行光束に変換する。レーザ光源は圧入などの公知の技術によってレーザホルダ102に固定され、コリメータレンズはレーザホルダ102に対して位置調整後に固定される。それによってレーザ光源とコリメータレンズのピント及び光軸調整がなされる。
ここで、ポリゴンミラー115が回転すると、その周囲の空気も掻き回され、光学箱(筐体)107内外に空気の出入りが生じる。それと共に、光学箱107周囲の塵埃を吸い込んでしまい、それらがポリゴンミラー115や走査レンズ118、折り返しミラー119に付着してしまう。これは、ポリゴンミラー115の回転数や、使用環境の空気の汚れ具合によって付着の度合いが加速され、光量ムラを引き起こして問題となり得る。
その際のレーザ光源近傍からの主な塵埃の流入経路は、光源装置106と光学箱107の隙間となる。特許文献1では、図15のように、嵌合する光源装置106と光学箱107との間に弾性部材114を挟むことによって、上記流入経路から光学箱107の内部へ塵埃が流入するのを遮断している。
特開平11−242176号公報
しかしながら、上記のような従来技術の場合には、以下のような課題や制約が残されていた。
特許文献1においては、光源装置自体を貫通するような流入経路がほとんど無く、光源装置と光学箱の隙間に弾性部材を挟むことだけで、求められる防塵性能は達成できていた。
しかしそれは特許文献1が単純な1系統のレーザ光源を有する方式であり、且つレーザ光源がレーザホルダに圧入されている方式であることによる。すなわち、レーザ光源の圧入箇所がほぼ密閉状態であり、また、コリメータレンズは周囲三点のみの最低限の接着で
、まだ周上に接着剤の無い隙間箇所があるものの、極めて小さい面積の隙間であるので問題にならないのである。
密閉性を高めるためにコリメータレンズ全周を接着することも知られているが、これもコリメータレンズが十分小さい場合には可能だが、複数系統のコリメータレンズを統合させた複眼コリメータレンズなどの大型のレンズでは制約があった。
且つ、複眼コリメータレンズを採用する場合は、各系統のコリメータレンズとレーザ光源の位置調整を行うために、レーザ光源側を調整接着しなければならない。
このため、複眼コリメータレンズを採用する構成においては、光源装置自体を貫通するような塵埃の流入経路が存在してしまい、防塵性能の観点で改良の余地があった。
本発明は上記事情に鑑みてなされたものであり、複眼入射レンズを使用する構成において、光源ユニット自体を貫通するような流入経路を密閉し、且つ、光源ユニットと筐体の隙間も密閉し、さらにそれらを簡素な構成で実現することを目的とする。
上記目的を達成するために本発明にあっては、
レーザ光を出射する複数のレーザ光源、及び、前記複数のレーザ光源に対して1つ設けられ前記複数のレーザ光源から出射されるレーザ光を透過させるレンズを有する光源ユニットと、
像担持体上に前記レーザ光を偏向走査する偏向手段、及び、前記像担持体上に前記レーザ光を結像するための複数の光学部材を内包する筐体であって、前記複数のレーザ光源から出射されるレーザ光を通過させる開口部が設けられた筐体と、
を備え、
前記光源ユニットが、前記筐体に組み付けられた光学走査装置において、
前記レンズと前記筐体との間に挟持され、前記レンズと前記筐体の開口部との間の隙間を塞ぐ弾性部材を備えることを特徴とする。
本発明によれば、複眼入射レンズを使用する構成において、光源ユニット自体を貫通するような流入経路を密閉し、且つ、光源ユニットと筐体の隙間も密閉し、さらにそれらを簡素な構成で実現することが可能となる。
まず、複数系統のレーザ光源を有する方式で、且つレーザ光源が調整接着されている方式として、本出願人が提案している形態について図16〜18を用いて説明する。
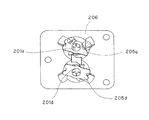
図16は光源装置231の概略斜視図、図17は光源装置231をレーザ光源側から見た概略図、図18は光源装置231の接着箇所を説明する図であって、レーザ光源201u近傍の拡大図である。
光源装置231は2系統のレーザ光源201u,201dを有する方式であり、入射レンズ202は1つで2系統のレーザ光を透過させる。
このため、従来の図14の装置の場合とは逆に、光源装置231の組立においては、まず、入射レンズ202が接着などの公知の技術によってレンズ支持体206に固定される。そして、2つのレーザ光源201u、201dは圧入等の技術で固定されたレーザ支持体205u、205dを介して、入射レンズ202に対して個別に位置調整後に固定され
る。このようにして、レーザ光源201u,201dと入射レンズ202のピント及び光軸調整がなされる。
なお、ここで重要な事として、入射レンズ202の接着や、レーザ光源201u,201dの接着においては、接着剤の塗り方に特徴がある。
入射レンズやレーザ光源などの光学部品は、わずかな位置ずれも許されない高精度で安定した組立が要求される。また製造タクト上、短時間での組立が要求されるため、紫外線硬化型など発熱を伴い急速に硬化するものが用いられる。そのため、接着剤を例えば図18のように部品の周囲三点のみに必要最低限の量をバランス良く塗布する等が一般的である。
入射系レンズは複数系統のレーザ光を透過させるため大型となるので、全周を接着すると悪影響が大きくなることが懸念される。また、レーザ光源の接着箇所も周囲三点のみ最低限の接着箇所で、そこにはまだ周上に接着剤の無い隙間箇所が2系統ある。
すなわち、図16〜18に示すような光源装置においては、光源装置自体を貫通するような流入経路が残らざるを得ず、防塵性能の観点からは改良の余地があった。
そこで、本発明者は、複数系統のレーザ光源を有する方式で、且つレーザ光源が調整接着されている方式の光学走査装置において、防塵性能の向上を図るべく、鋭意検討した結果、本発明に至ったものである。
以下に図面を参照して、この発明を実施するための最良の形態を例示的に詳しく説明する。ただし、この実施の形態に記載されている構成部品の寸法、材質、形状それらの相対配置などは、発明が適用される装置の構成や各種条件により適宜変更されるべきものであり、この発明の範囲を以下の実施の形態に限定する趣旨のものではない。
以下に、本発明の実施例1について説明する。
本実施例の光学走査装置は、Y(イエロー)、M(マゼンタ)、C(シアン)、BK(ブラック)の4色の像担持体としての感光体にカラー画像を形成するタンデム形式のカラー画像形成装置に好適な光学走査装置である。
図2は、本実施例の光学走査装置の概略斜視図である。尚、図2に示した光学部品のうち、ポリゴンミラー73を挟んで左右で同様のものを使用している場合は、共通の数字の後にaとbを付した符号とすることで左右を区別している。以下の説明では、左右の区別が必要な時のみ数字の後にaとbを付した符号で記述する。
図2に示す光学走査装置50は、ポリゴンミラー73、走査レンズ75,76,77、折り返しミラー78,79,80,81を1つの光学箱(光学枠体)90内に備えている(内包している)。更に、光学箱90には、光源ユニットとしての光源装置31a,31bが取り付けられている。光源装置31a,31bは、Y(イエロー)、M(マゼンタ)、C(シアン)、Bk(ブラック)の各色毎に変調されたレーザ光を出射するレーザ光源としての半導体レーザ1Y,1M,1C,1Bkを有している。そして、これらの半導体レーザは、それぞれ回路基板82a,82bに接続されている。ここで、光学箱90は、筐体に相当する。また、ポリゴンミラー73は、像担持体上にレーザ光を偏向走査する偏向手段に相当する。また、走査レンズ75,76,77、折り返しミラー78,79,80,81は、像担持体上にレーザ光を結像する光学部材に相当する。
この半導体レーザ1Y,1M,1C,1Bkは、後述する光源装置31a,31bに各々上下(副走査方向)に2つずつ配設されている。半導体レーザ1Y,1M,1C,1Bkから出射したレーザ光は、レンズとしてのアナモフィックレンズ2(図1参照)を透過した後、高速で回転するポリゴンミラー73の異なる2つ反射面73a,73b上に線状に結像する。
ポリゴンミラー73は、駆動モータ74によって高速に回転されている。ポリゴンミラー73によって偏向走査されたレーザ光は、ポリゴンミラー73の回転軸に対して対称に配置された複数の走査レンズ75,76,77や折り返しミラー78,79,80,81によって各々に対応する感光体(不図示)上に導光され走査される。
図3は光源装置31を示す概略斜視図、図4は光源装置31を示す副走査方向の概略断面図である。
図に示すように、光源装置31は、レーザ光源1u(半導体レーザ1M、又は半導体レーザ1BKに相当)、1d(半導体レーザ1Y、又は半導体レーザ1Cに相当)と、結像レンズである複眼のアナモフィックレンズ2とを有する。ここで、アナモフィックレンズ2は、主走査方向と副走査方向に異なるパワーを持つレンズ部を、2つのレーザ光源に対応して上下2ヶ所にそれぞれ配設している。すなわち、複数のレーザ光源に対してアナモフィックレンズ2が1つ設けられている。
ここで、主走査方向とは、ポリゴンミラー73によって偏向されたレーザ光が感光体上を走査する方向と平行な方向であり、副走査方向とは、ポリゴンミラー73の回転軸と平行な方向である。なお、本実施例においては、説明の便宜上、上下方向を、図2に示すようにポリゴンミラー73や光学部品が配設された光学箱90の底面を水平とした場合における上下方向とすることとし、この場合の上下方向は副走査方向となる。
尚、本実施例では、レンズとしてアナモフィックレンズ2を有しているが、これに限るものではない。すなわち、入射レンズとしてレーザビームの形状を整える機能を有するものであれば、アナモフィックレンズに限るものではなく、アナモフィックレンズ2を適用した場合と同じ効果が得られるものであればよい。
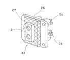
レーザ光源1u,1dは、それぞれレーザ支持体5u,5dに圧入などの既知の技術によって固定されている。アナモフィックレンズ2は、レンズ支持体6の接着部9に対して接着などの既知の技術によって固定されている。また、レーザ支持体5u,5dは、アナモフィックレンズ2に対して高精度に位置調整された後に、不図示の光硬化型接着剤によってレンズ支持体6に接着固定されている。また、レンズ支持体6は、アナモフィックレンズ2の周囲に配設され、アナモフィックレンズ2におけるレーザ光出射側の面であるレンズ出射面2aよりもレーザ光出射方向下流側(レーザ光の光路下流側)に突出している突起部8を有する。
この構成により、光源装置31においては、図4で示すように、レーザ光束Lu,Ldを出射する。レーザ光源1u,1dから出射した発散光たるレーザ光束Lu,Ldは、各々アナモフィックレンズ2を通過し、主走査方向には平行光化され、副走査方向には収束光化される。また、レーザ光源1uから出射したレーザ光束Luと、レーザ光源1dから出射したレーザ光束Ldはアナモフィックレンズ2を透過した後に互いに所定の角度θを持つように配置している。このことにより、図2に示すポリゴンミラー73の反射面上で、互いに近接した位置に入射するように構成することができる。
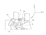
図5は、治工具を用いたレーザ支持体5uの位置調整におけるレーザ光源付近の拡大図であり、本実施例の光源装置の組立調整方法を説明する図である。図5に示すように、レーザ支持体5uはチャック51,52によって把持されている。
図5に示すように、レーザ支持体5uは、チャック51,52でクランプされてX,Y,Zの3方向に位置調整される。このため、レーザ支持体5uとレンズ支持体6の間には、レーザ支持体5uが位置調整で移動してもレンズ支持体6と干渉しないようにハッチング部10に示すような調整クリアランスが必要となる。
また前述したように、短い時間で高精度に接着固定するためには、接着剤はバランスの取れた箇所に必要最低限の量を塗布することが好適であるため、調整クリアランスはそのまま残ってしまい、図4に示すように光源装置を貫通する流入経路が残る。
次に、図1,6を用いて、本実施例の特徴である防塵形態について説明する。本実施例の特徴は、レーザ光源近傍からの塵埃流入を、光学性能の悪化を招くことなく、安価かつ容易に防ぐことである。
図1(a)は本実施例の光学走査装置の主走査方向の概略断面図であり、同図(b)は本実施例の光学走査装置をレーザ光源の背面側(レーザ光出射方向上流側)から見た概略斜視図である。
図6は、本実施例で用いる弾性部材としての防塵シール7が無い場合の光学箱90への塵埃の流入経路を示す主走査方向の概略断面図である。
図6のように、防塵シール7を使用しない場合は、光源装置31近傍からの光学箱90内への塵埃の流入経路として、光源装置31と光学箱90との隙間からの経路P1と、前述した光源装置31を貫通する経路P2がある。これらのような経路がひとつでもあると、塵埃の流入経路となり、レーザ光を通過させるために光学箱90に設けられた開口部90aから光学箱90内に塵埃が流入してしまい、光学性能の悪化につながるおそれがある。
塵埃による光学性能の悪化を防ぐためには、上記2つの流入経路からの塵埃の遮断が必要となる。特許文献1にあるように、光源装置31と光学箱90の隙間は弾性部材によって遮断する方法が有効である。
光源装置31を貫通する経路からの塵埃の流入防止としては、アナモフィックレンズ2とレンズ支持体6を全面で当接させて流入経路を遮断する方法も考えられる。しかし、アナモフィックレンズ2には非常に高い位置精度が求められており、一般的に樹脂成形で作られるレンズ支持体6にとって、当接面全面に渡って高精度を保証するのは難しい。また、アナモフィックレンズ2の出射面全面でレンズ支持体6と接着して流入経路を遮断する方法も考えられるが、接着剤の硬化ムラによる変動や、さまざまな環境下での接着剤の膨張、収縮による変動が起こる可能性が高く、適していない。
そこで本実施例では、光源装置31を貫通する経路からの流入経路を遮断する方法として、弾性部材としての防塵シール7を使用している。
弾性部材は、例えば発泡ゴムやポリウレタンフォームなどの材質であり、硬度が低く相手の形状に追従しやすいので隙間の密閉性に優れ、低い荷重で変形するので潰すことによる反力も軽微といった特徴がある。このため、前述したように高い位置精度を求められるアナモフィックレンズ2の周りに使用するのに適している。
弾性部材としての防塵シール7は、図1(b)のように、光学箱90と光源装置31の間に挟まれて所望の厚みまで潰される。組み付ける際には、光学箱90の中に防塵シール7をはめ込み、その後、光源装置31を組付けるという方法を取れば、作業性も良く組み付けることができる。
防塵シール7は、アナモフィックレンズ2のレーザ光出射側の面(レンズ出射面)2aと、それに対向する光学箱90の受け面60とに当接するように設けられることで、光学箱90と光源装置31との間に挟まれた状態となる。ここで、受け面60は、第1対向面に相当する。
このような構成により、図1(a)の光学走査装置の主走査断面図に示されるように、光源装置31と光学箱90の隙間からの経路P1と、光源装置を貫通する経路P2との両方を1つの弾性部材(防塵シール7)で遮断できる。したがって、アナモフィックレンズ2と、光学箱90の開口部90aとの間の隙間を塞ぐことができ、レーザ光源近傍からの光学箱90内部への塵埃の流入を防ぐことができる。
ここで、レンズ支持体6の突起部8は、アナモフィックレンズ2のレンズ出射面2aよりも突出しているので、防塵シール7は、レンズ出射面2aと受け面60との間で挟持されるとともに、突起部8と受け面60との間で挟持されることとなる。そして、レンズ支持体6の突起部8が、アナモフィックレンズ2のレンズ出射面2aよりも突出していることにより、防塵シール7は、アナモフィックレンズ2と受け面60との間よりも、突起部8と受け面60との間で多く潰されることとなる。
よって、防塵シール7を潰すことによって受ける反力は、アナモフィックレンズ2よりも突起部8を持つレンズ支持体6にかかる。そのため、防塵シール7を受け面60へ当接させることによる反力は、突起部8で受けることができ、アナモフィックレンズ2への反力は必要最低限に抑えることができる。すなわち、本実施例においては、防塵シール7を受け面60へ当接させることによる反力の影響を、アナモフィックレンズ2が受け難い構成となっている。前述したように、アナモフィックレンズ2は非常に高い位置精度が求められるので、アナモフィックレンズ2にかかる荷重は極力抑えるべきである。
上記構成によって、光学性能を損なうことなく、安価にレーザ光源近傍からの塵埃の流入を防ぐことができる。
以上のように本実施例によれば、2系統のレーザ光源を有する方式で且つレーザ光源が調整接着されている方式において、アナモフィックレンズ2と光学箱90との間に防塵シール7を挟み込むように設けている。このことで、光源装置31と光学箱90との隙間を塞ぎつつ、光源装置内を貫通する隙間も塞ぐことができ、その上、防塵を1つの弾性部材で実現することが可能となる。
このため、2系統のレーザ光源を有する方式で且つレーザ光源が調整接着されている方式においても、従来の1系統のレーザ光源方式やレーザが圧入された方式と同等以上の防塵性能を安価かつ容易に得ることができる。これにより、特に、カラー画像形成装置のための光学走査装置として、塵埃による汚れと画質劣化を、より効果的に防止することが可能となる。
尚、本実施例では、突起部8はアナモフィックレンズ2の全周に渡って配設されていたが、これに限るものではない。要は、防塵シール7を潰すことによる反力を、アナモフィックレンズ2よりも突起部で受けることができれば良いので、アナモフィックレンズ2の全周に渡って突起部が設けられる必要は無い。例えば、アナモフィックレンズ2の出射面
側より突出している複数の突起部が、アナモフィックレンズ2の周囲に設けられるものであってもよく、アナモフィックレンズ2の出射面側より突出している複数の突起部11が図7に示すように構成されていてもよい。
以下に、本発明の実施例2について説明する。
本実施例においては、実施例1の防塵シール7、レンズ支持体6、光学箱90、開口部90a、受け面60、光源装置31について、他の形態を示すものである。以下、それぞれ防塵シール17、レンズ支持体16、光学箱91、開口部91a、受け面61、光源装置32として説明する。なお、本実施例においては、実施例1に対して異なる構成部分について述べることとし、実施例1と同様の構成部分については、その説明を省略する。
図8は本実施例の光源装置32の概略斜視図、図9は光学走査装置の主走査方向の概略断面図である。
本実施例では、防塵シール17を、アナモフィックレンズ2におけるレーザ光出射方向に平行する面であるレンズ側面2bの全周(レンズ出射面2aに垂直な面全面)と、それに対向する光学箱91の受け面61で挟持(当接)させている。このことで、図9に示すように2つの流入経路P1,P2を遮断している。ここで、受け面61は、第2対向面に相当する。
その際に懸念されるのが、組み付けの際に防塵シール17がよじれる等して受け面61としっかりと当接せずに塵埃の流入経路ができてしまうことである。そのため本構成では、光学箱91側の受け面61を、レーザ光の出射方向に向かって徐々に狭くなるテーパ形状としている。
ここで、受け面61は、レーザ光出射方向に直交する方向のうち少なくとも1方向の幅が、レーザ光出射方向下流側に向かって徐々に狭くなるように構成されるものであればよい。例えば、図8に示す略四角形の外形を有する防塵シール17に対応するように、受け面61の内壁の断面形状が略四角形で構成されている場合には次のようになる。すなわち、断面四角形を構成する2対の対向する内壁のうち少なくともいずれか一対の内壁間の幅がレーザ光出射方向下流側に向かって徐々に狭くなるものであればよい。
上記構成により、組付ける際には、まず図8のように、光源装置32に防塵シール17をはめ込み、その後、光源装置32を光学箱91に組付ける。これによって、防塵シール17は受け面61のテーパ形状に倣って形状を変化させるので、よじれる等の不規則な変形を起こしにくい。
また、防塵シール17を潰すことによる反力が働く方向は、主走査方向と副走査方向となる。アナモフィックレンズ2に求められる主走査方向と副走査方向の位置精度は、光軸方向に比べると低いため、防塵シール17を潰すことによる光学性能の悪化は避けられる。
尚、本実施例では、防塵シール17と光学箱91とは、主走査方向と副走査方向で当接していたが、これに限るものではない。他の形態として例えば、図10のように、防塵シール18が、光学箱90と光軸方向に当接するように構成した場合であっても、防塵シール18の弾性により、光学箱90に対し主走査方向と副走査方向にも当接させることができ、上記と同様の効果が得られる。
以下に、本発明の実施例3について説明する。
本実施例においては、実施例2の防塵シール17、レンズ支持体16、光源装置32について、他の形態を示すもので、以下、それぞれ防塵シール27、レンズ支持体26、光源装置33として説明する。なお、本実施例においては、実施例1,2に対して異なる構成部分について述べることとし、実施例1,2と同様の構成部分については、その説明を省略する。
図11は本実施例の光源装置33の概略斜視図、図12は光学走査装置の主走査方向の概略断面図である。
本実施例では、防塵シール27を、アナモフィックレンズ2のレーザ光入射側の面であるレンズ入射面2cと、レンズ入射面2cに対向するレンズ支持体26の対向面26aと、レンズ入射面2cに直交する光学箱91の受け面61とで挟持(当接)させている。このことで、図12のように2つの流入経路P1,P2を遮断している。ここで、受け面61は、レーザ光出射方向に平行な面であり、アナモフィックレンズ2におけるレーザ光出射方向に平行する面であるレンズ側面2bの全周に対向するように設けられた光学箱91の第4対向面に相当する。また、対向面26aは、第3対向面に相当する。
その際には、実施例2と同様に、組み付けの際に防塵シール27がよじれる等して光学箱91としっかりと当接せずに塵埃の流入経路ができてしまうことが懸念される。そのため、本構成でも実施例2同様、光学箱91側の受け面61をレーザ光の出射方向に向かって徐々に狭くなるテーパ形状としている。
組立の際には、防塵シール27をレンズ支持体26との間に挟んでアナモフィックレンズ2を接着し、その状態でレーザ支持体5を調整して光源装置33を作成する。
ここで、実施例1,2では、アナモフィックレンズとレーザ光源の位置調整が終わった光源装置の状態で、防塵シールを潰すことによる反力を受けるものであった。
これに対し、本構成ではアナモフィックレンズ2が防塵シール27を潰すことによる反力を既に受けた状態で、レーザ光源1u,1dの調整を行って光源装置33とする。
そのため、光源装置33となった後には、新たにアナモフィックレンズ2に付加される荷重が無いので、光学性能の悪化を抑えることができる。
尚、本実施例では、防塵シール27と光学箱91とは、主走査方向と副走査方向で当接していたが、これに限るものでは無い。他の形態として例えば、図13のように、防塵シール28が、光学箱90と光軸方向に当接するように構成した場合であっても、防塵シール28の弾性により、光学箱90に対し主走査方向と副走査方向にも当接させることができ、上記と同様の効果が得られる。
(a)は実施例1の光学走査装置の主走査断面図であり、(b)は実施例1の光学走査装置をレーザ光源の背面側から見た概略斜視図である。 実施例1の光学走査装置の概略斜視図である。 実施例1の光源装置の概略斜視図である。 実施例1の光源装置の副走査断面図である。 実施例1の光源装置の組立調整方法を説明する図である。 実施例1において、防塵シールが無い場合の光学箱への塵埃の流入経路を示す概略断面図である。 実施例1の別形態を示す概略図である。 実施例2の光源装置の概略斜視図である。 実施例2の光学走査装置の主走査断面図である。 実施例2の別形態を示す概略図である。 実施例3の光源装置の概略斜視図である。 実施例3の光学走査装置の主走査断面図である。 実施例3の別形態を示す概略図である。 従来の光学走査装置を説明する図である。 従来の光源装置を説明する図である。 本出願人の提案による光源装置の概略斜視図である。 図16の光源装置をレーザ光源側から見た概略図である。 図16の光源装置の接着箇所を説明する図である。
符号の説明
1u,1d レーザ光源
2 アナモフィックレンズ
7 防塵シール
31a,31b 光源装置
50 光学走査装置
73 ポリゴンミラー
75,76,77 走査レンズ
78,79,80,81 折り返しミラー
90 光学箱
90a 開口部
Lu,Ld レーザ光束

Claims (8)

  1. レーザ光を出射する複数のレーザ光源、及び、前記複数のレーザ光源に対して1つ設けられ前記複数のレーザ光源から出射されるレーザ光を透過させるレンズを有する光源ユニットと、
    像担持体上に前記レーザ光を偏向走査する偏向手段、及び、前記像担持体上に前記レーザ光を結像するための複数の光学部材を内包する筐体であって、前記複数のレーザ光源から出射されるレーザ光を通過させる開口部が設けられた筐体と、
    を備え、
    前記光源ユニットが、前記筐体に組み付けられた光学走査装置において、
    前記レンズと前記筐体との間に挟持され、前記レンズと前記筐体の開口部との間の隙間を塞ぐ弾性部材を備えることを特徴とする光学走査装置。
  2. 前記弾性部材は、
    前記レンズにおけるレーザ光出射側の面であるレンズ出射面と、
    前記筐体における前記レンズ出射面に対向する第1対向面と、
    の間で挟持されていることを特徴とする請求項1に記載の光学走査装置。
  3. 前記光源ユニットは、前記レンズ出射面よりもレーザ光出射方向下流側に突出している突起部を備え、
    前記弾性部材は、前記レンズ出射面と前記第1対向面との間で挟持されるとともに、前記突起部と前記第1対向面との間で挟持されることを特徴とする請求項2に記載の光学走査装置。
  4. 前記弾性部材は、
    前記レンズにおけるレーザ光出射方向に平行する面であるレンズ側面の全周と、
    前記筐体における前記レンズ側面の全周に対向する第2対向面と、
    の間で挟持されていることを特徴とする請求項1に記載の光学走査装置。
  5. 前記第2対向面は、レーザ光出射方向に直交する方向のうち少なくとも1方向の幅が、レーザ光出射方向下流側に向かって徐々に狭くなるように構成されていることを特徴とする請求項4に記載の光学走査装置。
  6. 前記弾性部材は、
    前記レンズにおけるレーザ光入射側の面であるレンズ入射面と、
    前記光源ユニットにおける前記レンズ入射面に対向する第3対向面と、
    前記レンズにおけるレーザ光出射方向に平行する面であるレンズ側面の全周に対向するように設けられた前記筐体の第4対向面と、
    の間で挟持されていることを特徴とする請求項1に記載の光学走査装置。
  7. 前記第4対向面は、レーザ光出射方向に直交する方向のうち少なくとも1方向の幅が、レーザ光出射方向下流側に向かって徐々に狭くなるように構成されていることを特徴とする請求項6に記載の光学走査装置。
  8. 前記光源ユニットは、
    前記複数のレーザ光源に対してそれぞれ設けられ、前記複数のレーザ光源をそれぞれ支持する複数のレーザ支持体と、
    前記レンズを支持するとともに、前記複数のレーザ支持体が固定されるレンズ支持体と、を有することを特徴とする請求項1乃至7のいずれか1項に記載の光学走査装置。
JP2008205634A 2008-08-08 2008-08-08 光学走査装置 Expired - Fee Related JP5268490B2 (ja)

Priority Applications (6)

Application Number Priority Date Filing Date Title
JP2008205634A JP5268490B2 (ja) 2008-08-08 2008-08-08 光学走査装置
US12/511,880 US8355192B2 (en) 2008-08-08 2009-07-29 Optical scanning apparatus
CN200910161130.2A CN101644830B (zh) 2008-08-08 2009-08-04 光学扫描装置
CN201210507854.XA CN102981273A (zh) 2008-08-08 2009-08-04 光学扫描装置
US13/714,290 US8681405B2 (en) 2008-08-08 2012-12-13 Optical scanning apparatus
US14/171,602 US8786927B2 (en) 2008-08-08 2014-02-03 Optical scanning apparatus

Applications Claiming Priority (1)

Application Number Priority Date Filing Date Title
JP2008205634A JP5268490B2 (ja) 2008-08-08 2008-08-08 光学走査装置

Related Child Applications (1)

Application Number Title Priority Date Filing Date
JP2013047625A Division JP2013145391A (ja) 2013-03-11 2013-03-11 光学走査装置

Publications (3)

Publication Number Publication Date
JP2010039434A true JP2010039434A (ja) 2010-02-18
JP2010039434A5 JP2010039434A5 (ja) 2011-09-22
JP5268490B2 JP5268490B2 (ja) 2013-08-21

Family

ID=41652664

Family Applications (1)

Application Number Title Priority Date Filing Date
JP2008205634A Expired - Fee Related JP5268490B2 (ja) 2008-08-08 2008-08-08 光学走査装置

Country Status (3)

Country Link
US (3) US8355192B2 (ja)
JP (1) JP5268490B2 (ja)
CN (2) CN101644830B (ja)

Cited By (4)

* Cited by examiner, † Cited by third party
Publication number Priority date Publication date Assignee Title
JP2011164488A (ja) * 2010-02-12 2011-08-25 Ricoh Co Ltd 光走査装置及び画像形成装置
JP2013007778A (ja) * 2011-06-22 2013-01-10 Canon Inc 光ビーム出射装置、該光ビーム出射装置を備える光走査装置及び該光走査装置を備える画像形成装置
JP2018132645A (ja) * 2017-02-15 2018-08-23 キヤノン株式会社 光走査装置及び画像形成装置
US12125283B1 (en) 2023-07-27 2024-10-22 Zhejiang Hengyi Petrochemical Co., Ltd. Control method, electronic device and storage medium

Families Citing this family (12)

* Cited by examiner, † Cited by third party
Publication number Priority date Publication date Assignee Title
JP5218503B2 (ja) * 2010-09-01 2013-06-26 コニカミノルタビジネステクノロジーズ株式会社 光走査装置および画像形成装置
JP5494682B2 (ja) * 2012-01-19 2014-05-21 コニカミノルタ株式会社 画像形成装置
JP6452287B2 (ja) * 2012-12-13 2019-01-16 キヤノン株式会社 光学走査装置及びそれを備える画像形成装置
CN103869465B (zh) * 2012-12-13 2016-07-06 佳能株式会社 光学扫描装置和包括该光学扫描装置的成像设备
JP2017058442A (ja) 2015-09-15 2017-03-23 キヤノン株式会社 光源装置、走査光学装置、及び画像形成装置
JP6679258B2 (ja) 2015-09-24 2020-04-15 キヤノン株式会社 光源装置、走査光学装置、及び画像形成装置
US9854120B2 (en) * 2015-11-18 2017-12-26 Canon Kabushiki Kaisha Optical scanning device and image forming apparatus
CN107302170A (zh) * 2017-08-24 2017-10-27 青岛镭创光电技术有限公司 双波长激光器
JP7051472B2 (ja) * 2018-02-08 2022-04-11 キヤノン株式会社 光走査装置及び画像形成装置
JP7022626B2 (ja) 2018-03-16 2022-02-18 キヤノン株式会社 光走査装置及び画像形成装置
CN111070700B (zh) * 2019-12-20 2022-01-18 浙江舜宇智领技术有限公司 激光焊接治具
JP7676222B2 (ja) 2021-05-24 2025-05-14 キヤノン株式会社 走査光学装置及び画像形成装置

Citations (5)

* Cited by examiner, † Cited by third party
Publication number Priority date Publication date Assignee Title
JPH0980341A (ja) * 1995-07-12 1997-03-28 Canon Inc 偏向走査装置
JPH1172728A (ja) * 1997-08-29 1999-03-16 Canon Inc マルチビーム偏向走査装置
JPH11242176A (ja) * 1998-02-25 1999-09-07 Canon Inc 走査光学装置
JP2001004941A (ja) * 1999-04-20 2001-01-12 Ricoh Co Ltd マルチビーム走査装置
JP2001177176A (ja) * 1999-12-15 2001-06-29 Ricoh Co Ltd レーザビーム光源装置

Family Cites Families (10)

* Cited by examiner, † Cited by third party
Publication number Priority date Publication date Assignee Title
DE3381599D1 (de) * 1982-11-30 1990-06-28 Mita Industrial Co Ltd Bilderzeugungsgeraet.
JP2000193902A (ja) 1998-12-28 2000-07-14 Ricoh Co Ltd 書込光学装置
JP4095283B2 (ja) 2000-12-06 2008-06-04 キヤノン株式会社 レーザ装置
JP2003140072A (ja) * 2001-11-07 2003-05-14 Hitachi Printing Solutions Ltd 光走査装置ならびにそれを用いた画像形成装置
JP4136729B2 (ja) 2003-03-07 2008-08-20 キヤノン株式会社 画像形成装置
US7411712B2 (en) * 2003-03-19 2008-08-12 Ricoh Company, Limited Optical scanner and image formation apparatus
JP4855693B2 (ja) * 2005-02-21 2012-01-18 株式会社リコー 光走査装置および画像形成装置
JP4693438B2 (ja) 2005-02-28 2011-06-01 キヤノン株式会社 走査光学装置および画像形成装置
JP5132087B2 (ja) * 2006-06-05 2013-01-30 キヤノン株式会社 光学走査装置
US7946494B2 (en) * 2006-08-21 2011-05-24 Lexmark International, Inc. Laser scanning unit housing

Patent Citations (5)

* Cited by examiner, † Cited by third party
Publication number Priority date Publication date Assignee Title
JPH0980341A (ja) * 1995-07-12 1997-03-28 Canon Inc 偏向走査装置
JPH1172728A (ja) * 1997-08-29 1999-03-16 Canon Inc マルチビーム偏向走査装置
JPH11242176A (ja) * 1998-02-25 1999-09-07 Canon Inc 走査光学装置
JP2001004941A (ja) * 1999-04-20 2001-01-12 Ricoh Co Ltd マルチビーム走査装置
JP2001177176A (ja) * 1999-12-15 2001-06-29 Ricoh Co Ltd レーザビーム光源装置

Cited By (4)

* Cited by examiner, † Cited by third party
Publication number Priority date Publication date Assignee Title
JP2011164488A (ja) * 2010-02-12 2011-08-25 Ricoh Co Ltd 光走査装置及び画像形成装置
JP2013007778A (ja) * 2011-06-22 2013-01-10 Canon Inc 光ビーム出射装置、該光ビーム出射装置を備える光走査装置及び該光走査装置を備える画像形成装置
JP2018132645A (ja) * 2017-02-15 2018-08-23 キヤノン株式会社 光走査装置及び画像形成装置
US12125283B1 (en) 2023-07-27 2024-10-22 Zhejiang Hengyi Petrochemical Co., Ltd. Control method, electronic device and storage medium

Also Published As

Publication number Publication date
JP5268490B2 (ja) 2013-08-21
US20100033790A1 (en) 2010-02-11
US8786927B2 (en) 2014-07-22
US20140146374A1 (en) 2014-05-29
CN101644830A (zh) 2010-02-10
CN102981273A (zh) 2013-03-20
CN101644830B (zh) 2013-01-09
US8355192B2 (en) 2013-01-15
US20130120818A1 (en) 2013-05-16
US8681405B2 (en) 2014-03-25

Similar Documents

Publication Publication Date Title
JP5268490B2 (ja) 光学走査装置
JP5032158B2 (ja) 光走査装置・画像形成装置
CN100557477C (zh) 光扫描器和图像形成装置
EP1850165A1 (en) Light Source System, Optical Scanner, Image Forming Apparatus, Light-Amount Control Method, Optical Scanning Method, and Image Forming Method
US6304282B1 (en) Color image forming apparatus
KR20120060481A (ko) 다면경, 광주사장치 및 이를 채용한 화상형성장치
KR101335997B1 (ko) 결상렌즈 어셈블리와, 이를 가지는 광주사유닛 및화상형성장치
JP2009036854A (ja) 走査光学装置及び光源ユニット
US6950216B2 (en) Light source apparatus and optical scanner
JP2013145391A (ja) 光学走査装置
JP5784175B2 (ja) 光学走査装置
JP5084423B2 (ja) 光源装置
JP3470670B2 (ja) 光走査装置
JP2007171626A (ja) 光走査装置・画像形成装置
US20060209171A1 (en) Optical beam scanning device and image forming apparatus
US8368982B2 (en) Scanning optical apparatus
US20230176365A1 (en) Scanning optical device
JP4420272B2 (ja) マルチビーム光源装置、その調整方法、光走査装置及び画像形成装置
US7518773B2 (en) Light scanning system and image forming apparatus employing the same
JP2023151793A (ja) 走査光学装置
JP2003315711A (ja) 光走査装置および画像形成装置
JP4904904B2 (ja) レーザ走査光学装置
JP2005091714A (ja) マルチビーム走査装置
JP2007052446A (ja) 光走査装置および画像形成装置
JP2004240205A (ja) 走査光学装置

Legal Events

Date Code Title Description
A621 Written request for application examination

Free format text: JAPANESE INTERMEDIATE CODE: A621

Effective date: 20110808

A521 Request for written amendment filed

Free format text: JAPANESE INTERMEDIATE CODE: A523

Effective date: 20110810

A977 Report on retrieval

Free format text: JAPANESE INTERMEDIATE CODE: A971007

Effective date: 20120925

A131 Notification of reasons for refusal

Free format text: JAPANESE INTERMEDIATE CODE: A131

Effective date: 20130108

A521 Request for written amendment filed

Free format text: JAPANESE INTERMEDIATE CODE: A523

Effective date: 20130311

TRDD Decision of grant or rejection written
A01 Written decision to grant a patent or to grant a registration (utility model)

Free format text: JAPANESE INTERMEDIATE CODE: A01

Effective date: 20130409

A61 First payment of annual fees (during grant procedure)

Free format text: JAPANESE INTERMEDIATE CODE: A61

Effective date: 20130507

R151 Written notification of patent or utility model registration

Ref document number: 5268490

Country of ref document: JP

Free format text: JAPANESE INTERMEDIATE CODE: R151

LAPS Cancellation because of no payment of annual fees