JP2010037059A - エレベータシステム - Google Patents

エレベータシステム Download PDF

Info

Publication number
JP2010037059A
JP2010037059A JP2008202244A JP2008202244A JP2010037059A JP 2010037059 A JP2010037059 A JP 2010037059A JP 2008202244 A JP2008202244 A JP 2008202244A JP 2008202244 A JP2008202244 A JP 2008202244A JP 2010037059 A JP2010037059 A JP 2010037059A
Authority
JP
Japan
Prior art keywords
lift rod
bar
elevator system
shaft
hole
Prior art date
Legal status (The legal status is an assumption and is not a legal conclusion. Google has not performed a legal analysis and makes no representation as to the accuracy of the status listed.)
Granted
Application number
JP2008202244A
Other languages
English (en)
Other versions
JP4607214B2 (ja
Inventor
Hisanori Urata
尚紀 浦田
Current Assignee (The listed assignees may be inaccurate. Google has not performed a legal analysis and makes no representation or warranty as to the accuracy of the list.)
Toshiba Elevator and Building Systems Corp
Original Assignee
Toshiba Elevator Co Ltd
Priority date (The priority date is an assumption and is not a legal conclusion. Google has not performed a legal analysis and makes no representation as to the accuracy of the date listed.)
Filing date
Publication date
Application filed by Toshiba Elevator Co Ltd filed Critical Toshiba Elevator Co Ltd
Priority to JP2008202244A priority Critical patent/JP4607214B2/ja
Priority to CN2009101644503A priority patent/CN101643165B/zh
Publication of JP2010037059A publication Critical patent/JP2010037059A/ja
Application granted granted Critical
Publication of JP4607214B2 publication Critical patent/JP4607214B2/ja
Expired - Fee Related legal-status Critical Current
Anticipated expiration legal-status Critical

Links

Images

Landscapes

  • Maintenance And Inspection Apparatuses For Elevators (AREA)

Abstract

【課題】エレベータシステムの非常止め装置の楔とガイドレールの間のクリアランス調整を容易にする。
【解決手段】エレベータシステムは、乗りかごおよび釣り合い錘と、昇降路に取り付けられたガバナと、ガバナから垂下したガバナロープと、ガバナロープに連結されたガバナロープヒッチと、乗りかごに対して水平軸周りに回動可能でガバナロープヒッチに連動するシャフト11と、シャフト11に固定されて、シャフト11の回動軸に対して直角方向に延びたバー15と、バー15に取り付けられた抜け止め32と、バー15の回動によって上下方向に駆動されるリフトロッド10と、リフトロッド10によって駆動される楔とを有する。リフトロッド10は長孔31を有し、バー15が長孔31を貫通してリフトロッド10と係合して抜け止め32によって係合が維持される。
【選択図】図1

Description

この発明はエレベータシステムに係り、特に、楔をガイドレールに押し付けて制動力を発生させる非常止め装置を備えたエレベータシステムに関する。
通常のエレベータの乗りかごまたは釣合い錘には、何らかの原因で乗りかごまたは釣合い錘が異常な高速度で上昇または下降した際に、この異常な動作を検出してセフティを動作させる装置が設けられている(特許文献1、特許文献2参照)。このセフティは、2本のガイドレールに対応して2個あり、それぞれのセフティは各ガイドレールをはさんで制動力を得る2個の楔を有する。ガバナロープの異常高速移動により、ガバナロープヒッチを介してセフティリンクが引き上げられ、これにより楔が引き上げられて、楔がガイドレールをはさみ込むように押し付けられる。
この場合に、ガバナロープヒッチを介してセフティリンクが引き上げられたときに、2個のセフティを同時に動作させて各楔を同時に引き上げ、それらの楔が短時間で同時にガイドレールに押し付けられるように調整しておく必要がある。そのために、セフティリンクのロッドの長さを調整して、楔とガイドレールの間のクリアランスを小さく調整することが必要であり、そのときに両側のセフティの楔取り付け位置を確認する必要がある。
特開2001−122551号公報 特開2007−238226号公報
従来のエレベータで、楔とガイドレールの間のクリアランス調整では、その調整箇所へのアクセスが困難で作業性が悪い。
本発明はかかる課題に対処するものであって、エレベータシステムの非常止め装置の楔とガイドレールの間のクリアランス調整を容易にすることを目的としている。
上記目的を達成するために、本発明に係るエレベータシステムは、昇降路内で上下方向に延びるガイドレールと、前記昇降路内で前記ガイドレールに沿って昇降する乗りかごおよび釣り合い錘と、前記昇降路に取り付けられたガバナと、前記ガバナから垂下したガバナロープと、前記ガバナロープに連結されたガバナロープヒッチと、前記乗りかごおよび釣り合い錘の少なくとも一方に固定されたフレームと、前記フレームに対して水平軸周りに回動可能で前記ガバナロープヒッチに連動するシャフトと、前記シャフトに固定されて、このシャフトの回動軸に対して直角方向に延びるバーと、前記バーに取り付けられた抜け止めと、リフトロッド貫通孔を有してそのリフトロッド貫通孔を前記バーが貫通してそのバーと係合して前記抜け止めによって係合が維持され、前記バーの回動によって前記フレームに対して上下方向に駆動されるリフトロッドと、前記リフトロッドによって駆動されて、前記ガイドロープが所定の速さよりも大きな速度で上昇または下降したときに、前記フレームに対して相対的に上下のいずれかの方向に駆動されて前記ガイドレールに押し付けられて制動力を発生する楔と、を有すること、を特徴とする。
本発明によれば、エレベータシステムの非常止め装置の楔とガイドレールの間のクリアランス調整が容易になる。
以下に、図面を参照して本発明に係るエレベータシステムの実施形態について説明する。ここで、互いに同一または類似の部分には共通の符号を付して、重複説明は省略する。
[第1の実施形態]
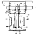
図1ないし図3を参照しながら本発明に係るエレベータシステムの第1の実施形態について説明する。ここに、図1は本発明に係るエレベータシステムの第1の実施形態の非常止め装置の要部を示す立面図、図2は本発明に係るエレベータシステムの第1の実施形態の非常止め装置とその周辺を示す立面図、図3は本発明に係るエレベータシステムの第1の実施形態の非常止め装置の模式的側断面図である。
図2に示すように、昇降路1の壁に沿って、乗りかご3をはさむ位置に第1のガイドレール2および第2のガイドレール102が上下に延びて配置されている。乗りかご3は、第1の案内装置4および第2の案内装置104を介して、それぞれ、第1のガイドレール2および第2のガイドレール102に案内されて昇降できるようになっている。乗りかご3は、床受枠3aの上にかご室3bを設置した構成になっており、床受枠3aの下部の下梁(フレーム)3cに、第1のセフティ5および第2のセフティ105が設けられている。
セフティ5、105は、非常時に乗りかごを停止させるためのものであって、このセフティ5、105を同時に動作させるために、回動自在なセフティリンク6が設けられている。セフティリンク6の一端部は引き上げ力伝達レバー7aおよび連結部7bからなるガバナロープヒッチ7を介してガバナロープ8に連結されている。ガバナロープ8は、昇降路1の上部に設けられたガバナ9および下部のピット近くに設けられたガバナテンショナ9bに掛け渡されている。ガバナロープヒッチ7およびセフティリンク6が乗りかご3に連結されていることから、ガバナロープ8は乗りかご3の昇降に連動して上下動するようになっている。
図2は、乗りかご3がピット付近のガバナテンショナ9bの高さ位置まで降りた状態を示している。
図1ないし図3に示すように、セフティリンク6は、乗りかご3の下梁3cに取り付けられ、ガバナロープヒッチ7の引き上げ伝達レバー7aに連結されている。下梁3cの下部の両端近くに、第1のセフティ5および第2のセフティ105が配置されている。
第1のセフティ5と第2のセフティ105はセフティリンク6のセフティリンクロッド20によって連結され、連動するようになっている。第1のセフティ5と第2のセフティ105の構造は基本的に同じであるから、ここでは第1のセフティ5について説明する。
シャフト11は水平方向に延び、下梁3cに対して回動可能に取り付けられている。引き上げ力伝達レバー7aはシャフト11に垂直に固定されている。
シャフト11にはさらに、1対(2枚)の互いに平行なリフトロッド用レバー13が固定されている。
シャフト11にはさらに、リフトロッド用レバー13とは直角の方向でシャフト11の方向に対して垂直に延びるセフティリンク用レバー40が固定され、このセフティリンク用レバー40の先端にはセフティリンクロッド20が回動可能に取り付けられている。シャフト11の回動によってセフティリンクロッド20が押され、これによって第2のセフティ105が駆動されるようになっている。
1対のリフトロッド用レバー13の各先端では、それぞれ、リフトロッド10の上端近くが回動可能に係合している。この係合については後述する。各リフトロッド10は上下方向に延び、上下方向に移動可能であって、その下部に楔14が、止めピン60を介して取り付けてある。楔14は下方に向かって幅広になっており、ガイドレール2をはさんで1対の楔14が配置されている。各楔14を水平方向に押すばね25が配置され、このばね25により、楔14が引き上げられたときに楔14がガイドレール2に向けて水平方向に付勢されるように構成されている。
ここで、リフトロッド用レバー13とリフトロッド10の係合部について説明する。リフトロッド用レバー13の先端近くに、リフトロッド用レバー13の延びる面に垂直にバー取り付け板30が固定され、このバー取り付け板30にバー15が取り付けられている。バー15はリフトロッド用レバー13とほぼ平行に延びてリフトロッド用レバー13よりも突出し、リフトロッド10の上端近くの長孔(リフトロッド貫通孔)31を貫通している。長孔31は上下方向に延び、その中をバー15が貫通した状態で上下に摺動できるようになっている。
バー15の先端には抜け止め32が取り付けられている。バー15が長孔31を貫通する部分を挟んで二つのローラ17a、17bが配置されている。ローラ17a、17bには貫通孔があって、この貫通孔をバー15が貫通している。バー取り付け板30と第1のローラ17aの間および抜け止め32と第2のローラ17bとの間にそれぞれ第1、第2のスプリング16a、16bが配置され、このスプリング16a、16bによって二つのローラ17a、17bがリフトロッド10の長孔31の両側からリフトロッド10に押し付けられている。リフトロッド10の上部は下梁3cの下方から側方に突出している。
なんらかの異常により、乗りかご3が高速度で上昇または下降した場合には、それに伴ってガバナロープ8が高速度で移動し、ガバナ9がその回転に基づき異常を検出してガバナロープ掴み部9aを動作させる。これによりガバナロープ8の移動が抑制される。このとき乗りかご3が上昇または下降を続けることから、その相対的な動きにより、ガバナロープヒッチ7が乗りかご3に対して引き上げられる。このとき、引き上げ力伝達レバー7aが引き上げられることから、シャフト11が、図1で反時計方向に回動し、それに伴って2枚のリフトロッド用レバー13も反時計方向に回動する。これにより2本のリフトロッド10が引き上げられ、それによって2個の楔14が引き上げられる。このときばね25が働いて2個の楔14が第1のガイドレール2の両側から押し付けられ、制動力を発生させる。
またこのとき、第1のセフティ5のリフトロッド用レバー13が図1の反時計方向に回動することによって、これに接続されたセフティリンクロッド20が矢印61の向きに押され、第2のセフティ105も第1のセフティ5と同様に動作して、第2のセフティ105の1対の楔(図示せず)が第2のガイドレール102の両側から押し付けられて制動力を発生させる。これにより、乗りかご3を停止させる。
前記異常時停止動作の中で、図1で、リフトロッド用レバー13がシャフト11を回転軸として反時計方向に回動すると、ローラ17a、17bがバー15によって右上方向に押される。このとき、リフトロッド10は上下方向にのみ動きうるので、第1のスプリング16aが縮み、第2のスプリング16bが伸びて、ローラ17a、17bとリフトロッド10が相対的に動くことなしに、リフトロッド10が引き上げられる。
エレベータの点検・調整の際に、楔14とガイドレール2の間の間隙を調整するにあたっては、たとえば二つのスプリング16a、16bを外力で押し縮めた上で、二つのローラ17a、17bではさまれるリフトロッド10の長孔31の中の位置を上下に動かすことにより、個々のリフトロッド10の各リフトロッド用レバー13に対する上下方向位置を簡単に調整できる。特に、バー15の先端部が下枠3cの側方に突出していることから作業性がよい。
[第2の実施形態]
図4を参照しながら本発明に係るエレベータシステムの第2の実施形態について説明する。ここに、図4は本発明に係るエレベータシステムの第2の実施形態の非常止め装置の要部を示す立面図である。第1の実施形態と同一または類似の部分には共通の符号を付して、重複説明は省略する。
この実施形態では、第1の実施形態におけるシャフト11に、半径方向外側に向かって延びるバー15を直接取り付けた構造になっている。また、図4の例では、ローラ17とスプリング16がそれぞれ1個だけバー15に取り付けられ、シャフト11の外周がリフトロッド10の上端付近の内側面に接している。バー15がリフトロッド10の長孔31を貫通し、そのリフトロッド10貫通部の外側にローラ17が接し、さらにその外側にスプリング16が、さらにその外側に抜け止め32が配置されている。
このような構成であっても、第1の実施形態と同様に、シャフト11が反時計方向に回動すると、バー15が同方向に回動し、抜け止め部32は図4の右上方向に動く。このとき、スプリング16が伸びることにより、ローラ17とリフトロッド10の外側面の接触が維持されながらリフトロッド10が引き上げられる。
また、リフトロッド10の上部、ローラ17および抜け止め32が下枠3cから横に突出していることから、楔の高さ調整作業を容易に行なうことができる。また、この実施形態によれば、第1の実施形態に比べてレバー13が不要であるため、部品数を削減でき、より小型のセフティ駆動装置を構成できる。
[第3の実施形態]
図5を参照しながら本発明に係るエレベータシステムの第3の実施形態について説明する。ここに、図5は本発明に係るエレベータシステムの第3の実施形態の非常止め装置の要部を示す立面図である。第2の実施形態と同一または類似の部分には共通の符号を付して、重複説明は省略する。
この実施形態は第2の実施形態の変形であって、シャフト11の外周とリフトロッド10の接触部それぞれに歯車18、19が形成され、ラック・ピニオン機構が形成されている。
この実施形態によれば、第2の実施形態の効果と同様の効果が得られるほか、第2の実施形態に比べて、シャフト11の外周とリフトロッド10の間のすべりが少なくなり、リフトロッド10の保持をより強固にできる。
[第4の実施形態]
図6を参照しながら本発明に係るエレベータシステムの第4の実施形態について説明する。ここに、図6は本発明に係るエレベータシステムの第4の実施形態の非常止め装置の要部を示す立面図である。第3の実施形態と同一または類似の部分には共通の符号を付して、重複説明は省略する。
この実施形態は第3の実施形態の変形であって、リフトロッド10が、上部のリフトロッド第1部材10aと下部のリフトロッド第2部材10bとに分割されており、これらがリフトロッド連結スプリング51によって連結されている。リフトロッド第1部材10aには、バー15が貫通する長孔31が形成されている。また、リフトトロッド第2部材10bには楔14が取り付けられている。
従来の非常止め装置では、楔14が引き上げられてガイドレール2と接触すると、その接触によって楔14がガイドレール2によって大きな力で引き上げられ、このときシャフト11の動作が不十分であるとリフトロッド10が破損する恐れもあった。しかしこの実施形態によれば、楔14とガイドレール2が接触した後に、楔14がガイドレール2によって大きな力で引き上げられたときに、たとえシャフト11が十分に回転しなくても、リフトロッド連結スプリング51が縮まることによって楔14の上昇分を吸収し、リフトロッド10の破損を防ぐことができる。また、第3の実施形態の効果と同様の効果も得られる。
[第5の実施形態]
図7を参照しながら本発明に係るエレベータシステムの第5の実施形態について説明する。ここに、図7は本発明に係るエレベータシステムの第5の実施形態の非常止め装置の要部を示す立面図である。第4の実施形態と同一または類似の部分には共通の符号を付して、重複説明は省略する。
この実施形態は第4の実施形態の変形であって、下梁3cに電動機80が配置され、ベルト52によってシャフト11を駆動できるようになっている。
この実施形態によれば、第4の実施形態の効果と同様の効果が得られるほか、シャフト11を電動機80によって回動させ、リフトロッド10を引き上げて楔14を引き上げ、セフティを動作させることが可能である。
[他の実施形態]
以上説明した各実施形態は単なる例示であって、本発明はこれらに限定されるものではない。
たとえば、上記実施形態ではセフティを乗りかごの下梁3cに配置する例を示したが、乗りかごの上に配置することもでき、また、釣合い錘に取り付けることもできる。
また、上記各実施形態の特徴を種々に組み合わせることもできる。たとえば、第5の実施形態の電動機80およびベルト52によるシャフト11駆動機構は第4の実施形態の変形例として示したが、第1ないし第3の実施形態に、電動機およびベルトによるシャフト駆動機構を付加してもよい。また、電動機によるシャフト駆動機構としては、ベルト伝動に限らず、歯車やチェーンなどを用いたり、回転軸直結による直接駆動とすることもできる。
本発明に係るエレベータシステムの第1の実施形態の非常止め装置の要部を示す立面図。 本発明に係るエレベータシステムの第1の実施形態の非常止め装置とその周辺を示す立面図。 本発明に係るエレベータシステムの第1の実施形態の非常止め装置の模式的側断面図。 本発明に係るエレベータシステムの第2の実施形態の非常止め装置の要部を示す立面図。 本発明に係るエレベータシステムの第3の実施形態の非常止め装置の要部を示す立面図。 本発明に係るエレベータシステムの第4の実施形態の非常止め装置の要部を示す立面図。 本発明に係るエレベータシステムの第5の実施形態の非常止め装置の要部を示す立面図。
符号の説明
1 : 昇降路
2,102 : ガイドレール
3 : 乗りかご
3a : 床受枠
3b : かご室
3c : 下梁(フレーム)
4,104 : 案内装置
5,105 : セフティ
6 : セフティリンク
7 : ガバナロープヒッチ
7a : 引き上げ力伝達レバー
7b : 連結部
8 : ガバナロープ
9 : ガバナ
9a : ガバナロープ掴み部
9b : ガバナテンショナ
10 : リフトロッド
10a : リフトロッド第1部材
10b : リフトロッド第2部材
11 : シャフト
13 : リフトロッド用レバー
14 : 楔
15 : バー
16a、16b : スプリング
17a、17b : ローラ
20 : セフティリンクロッド
25 : ばね
30 : バー取り付け板
31 : 長孔(リフトロッド貫通孔)
32 : 抜け止め
40 : セフティリンク用レバー
51 : リフトロッド連結スプリング
52 : ベルト
60 : 止めピン
80 : 電動機

Claims (9)

  1. 昇降路内で上下方向に延びるガイドレールと、
    前記昇降路内で前記ガイドレールに沿って昇降する乗りかごおよび釣り合い錘と、
    前記昇降路に取り付けられたガバナと、
    前記ガバナから垂下したガバナロープと、
    前記ガバナロープに連結されたガバナロープヒッチと、
    前記乗りかごおよび釣り合い錘の少なくとも一方に固定されたフレームと、
    前記フレームに対して水平軸周りに回動可能で前記ガバナロープヒッチに連動するシャフトと、
    前記シャフトに固定されて、このシャフトの回動軸に対して直角方向に延びるバーと、
    前記バーに取り付けられた抜け止めと、
    リフトロッド貫通孔を有してそのリフトロッド貫通孔を前記バーが貫通してそのバーと係合して前記抜け止めによって係合が維持され、前記バーの回動によって前記フレームに対して上下方向に駆動されるリフトロッドと、
    前記リフトロッドによって駆動されて、前記ガイドロープが所定の速さよりも大きな速度で上昇または下降したときに、前記フレームに対して相対的に上下のいずれかの方向に駆動されて前記ガイドレールに押し付けられて制動力を発生する楔と、
    を有すること、を特徴とするエレベータシステム。
  2. 前記リフトロッド貫通孔は上下方向に延びた長孔であることを特徴とする請求項1に記載のエレベータシステム。
  3. 前記シャフトに固定されたリフトロッド用レバーをさらに有し、
    前記バーは前記リフトロッド用レバーに固定されていること、を特徴とする請求項1または請求項2に記載のエレベータシステム。
  4. 前記バーが前記リフトロッド貫通孔を貫通する部分をはさんで配置され、前記バーが貫通するローラ貫通孔を有する二つのローラと、
    これら二つのローラを前記リフトロッドに押し付けるスプリングと、
    をさらに有することを特徴とする請求項1ないし請求項3のいずれか一項に記載のエレベータシステム。
  5. 前記シャフトの側面と前記リフトロッドの側面が直接接触するように構成されていることを特徴とする請求項1または請求項2に記載のエレベータシステム。
  6. 前記シャフトと前記シャフトの接触部に、互いに噛み合う凹凸が形成されていることを特徴とする請求項5に記載のエレベータシステム。
  7. 前記バーが前記リフトロッド貫通孔を貫通する部分と前記抜け止めの間に、前記バーが貫通するローラ貫通孔を有するローラと、このローラを前記リフトロッドに押し付けるスプリングとをさらに有すること、を特徴とする請求項5または請求項6に記載のエレベータシステム。
  8. 前記リフトロッドは、前記リフトロッド貫通孔が形成されたリフトロッド第1部材と、前記楔と係合するリフトロッド第2部材と、前記リフトロッド第1部材とリフトロッド第2部材との間を接続するリフトロッドスプリングとを有することを特徴とする請求項1ないし請求項7のいずれか一項に記載のエレベータシステム。
  9. 前記フレームに固定された電動機をさらに有し、
    前記電動機によって前記シャフトを回動可能に構成されていることを特徴とする請求項1ないし請求項8のいずれか一項に記載のエレベータシステム。
JP2008202244A 2008-08-05 2008-08-05 エレベータシステム Expired - Fee Related JP4607214B2 (ja)

Priority Applications (2)

Application Number Priority Date Filing Date Title
JP2008202244A JP4607214B2 (ja) 2008-08-05 2008-08-05 エレベータシステム
CN2009101644503A CN101643165B (zh) 2008-08-05 2009-08-05 电梯系统

Applications Claiming Priority (1)

Application Number Priority Date Filing Date Title
JP2008202244A JP4607214B2 (ja) 2008-08-05 2008-08-05 エレベータシステム

Publications (2)

Publication Number Publication Date
JP2010037059A true JP2010037059A (ja) 2010-02-18
JP4607214B2 JP4607214B2 (ja) 2011-01-05

Family

ID=41655262

Family Applications (1)

Application Number Title Priority Date Filing Date
JP2008202244A Expired - Fee Related JP4607214B2 (ja) 2008-08-05 2008-08-05 エレベータシステム

Country Status (2)

Country Link
JP (1) JP4607214B2 (ja)
CN (1) CN101643165B (ja)

Cited By (2)

* Cited by examiner, † Cited by third party
Publication number Priority date Publication date Assignee Title
CN110407059A (zh) * 2019-07-02 2019-11-05 广西科技大学 索链升降系统安全防护装置
CN112374319A (zh) * 2020-11-09 2021-02-19 山东奔速电梯股份有限公司 无底坑家用电梯的导轨制动装置

Citations (5)

* Cited by examiner, † Cited by third party
Publication number Priority date Publication date Assignee Title
JPS61157578U (ja) * 1985-03-20 1986-09-30
JPH06321454A (ja) * 1992-10-23 1994-11-22 Otis Elevator Co レール把持装置
JPH09240952A (ja) * 1996-03-11 1997-09-16 Toshiba Corp エレベータの安全装置
JP2001122551A (ja) * 1999-10-26 2001-05-08 Toshiba Elevator Co Ltd エレベーターの安全装置
JP2007238226A (ja) * 2006-03-07 2007-09-20 Toshiba Elevator Co Ltd 非常止め装置およびエレベータ

Family Cites Families (3)

* Cited by examiner, † Cited by third party
Publication number Priority date Publication date Assignee Title
CN2312921Y (zh) * 1997-05-08 1999-04-07 上海银天自动化工程有限公司 电梯式停车设备多组安全钳连动装置
MY135853A (en) * 2003-02-04 2008-07-31 Inventio Ag Safety device for an elevator
KR100646813B1 (ko) * 2004-02-26 2006-11-17 채찬복 건설현장용 승강기의 추락방지구조

Patent Citations (5)

* Cited by examiner, † Cited by third party
Publication number Priority date Publication date Assignee Title
JPS61157578U (ja) * 1985-03-20 1986-09-30
JPH06321454A (ja) * 1992-10-23 1994-11-22 Otis Elevator Co レール把持装置
JPH09240952A (ja) * 1996-03-11 1997-09-16 Toshiba Corp エレベータの安全装置
JP2001122551A (ja) * 1999-10-26 2001-05-08 Toshiba Elevator Co Ltd エレベーターの安全装置
JP2007238226A (ja) * 2006-03-07 2007-09-20 Toshiba Elevator Co Ltd 非常止め装置およびエレベータ

Cited By (4)

* Cited by examiner, † Cited by third party
Publication number Priority date Publication date Assignee Title
CN110407059A (zh) * 2019-07-02 2019-11-05 广西科技大学 索链升降系统安全防护装置
CN110407059B (zh) * 2019-07-02 2024-01-16 广西科技大学 索链升降系统安全防护装置
CN112374319A (zh) * 2020-11-09 2021-02-19 山东奔速电梯股份有限公司 无底坑家用电梯的导轨制动装置
CN112374319B (zh) * 2020-11-09 2022-02-01 山东奔速电梯股份有限公司 无底坑家用电梯的导轨制动装置

Also Published As

Publication number Publication date
CN101643165B (zh) 2012-02-15
CN101643165A (zh) 2010-02-10
JP4607214B2 (ja) 2011-01-05

Similar Documents

Publication Publication Date Title
JP2010037060A (ja) エレベータシステム
JP4646153B2 (ja) エレベータの安全装置
KR101862970B1 (ko) 엘리베이터 장치
JP5502234B2 (ja) ダブルデッキエレベータ
JP4607214B2 (ja) エレベータシステム
JP2008222339A (ja) エレベータのガバナテンショナ装置
JP5659075B2 (ja) エレベーター
KR102082030B1 (ko) 엘리베이터 장치 및 그 개수 방법
JP5403525B2 (ja) 連結構造
JP2002255466A (ja) エレベータのかごの非常停止装置
CN106029542B (zh) 电梯、电梯的附加连结装置以及电梯的改装方法
JP4974374B2 (ja) エレベータ吊りロッド防振装置の取付け方法
JP2007210703A (ja) マシンルームレスエレベータの巻上機据付装置および据付工法
CN109720959B (zh) 调速器和电梯
JP5368962B2 (ja) エレベータの非常止め動作装置
JP6211216B2 (ja) エレベータ、エレベータの引上レバー連結装置、及びエレベータの改修方法
JP2004203533A (ja) エレベータかごの非常停止装置
KR101830837B1 (ko) 엘리베이터 조속기 로프 텐션 장치
JP6636409B2 (ja) 調速機及びエレベーター
JP5677540B2 (ja) エレベータの非常止め動作装置
JP5347917B2 (ja) エレベータ装置
JP2010184787A (ja) エレベータのガバナテンショナ装置
CN114364627B (zh) 施工用升降机
HK1238226A1 (en) Elevator, lift lever coupling device for elevator, and repair method for elevator
HK1222834B (en) Elevator device and method for modifying same

Legal Events

Date Code Title Description
A621 Written request for application examination

Free format text: JAPANESE INTERMEDIATE CODE: A621

Effective date: 20100317

A131 Notification of reasons for refusal

Free format text: JAPANESE INTERMEDIATE CODE: A131

Effective date: 20100615

A521 Written amendment

Free format text: JAPANESE INTERMEDIATE CODE: A523

Effective date: 20100728

TRDD Decision of grant or rejection written
A01 Written decision to grant a patent or to grant a registration (utility model)

Free format text: JAPANESE INTERMEDIATE CODE: A01

Effective date: 20100907

A01 Written decision to grant a patent or to grant a registration (utility model)

Free format text: JAPANESE INTERMEDIATE CODE: A01

A61 First payment of annual fees (during grant procedure)

Free format text: JAPANESE INTERMEDIATE CODE: A61

Effective date: 20101006

R150 Certificate of patent (=grant) or registration of utility model

Free format text: JAPANESE INTERMEDIATE CODE: R150

FPAY Renewal fee payment (prs date is renewal date of database)

Free format text: PAYMENT UNTIL: 20131015

Year of fee payment: 3

S531 Written request for registration of change of domicile

Free format text: JAPANESE INTERMEDIATE CODE: R313531

R350 Written notification of registration of transfer

Free format text: JAPANESE INTERMEDIATE CODE: R350

LAPS Cancellation because of no payment of annual fees