JP5659075B2 - エレベーター - Google Patents

エレベーター Download PDF

Info

Publication number
JP5659075B2
JP5659075B2 JP2011099089A JP2011099089A JP5659075B2 JP 5659075 B2 JP5659075 B2 JP 5659075B2 JP 2011099089 A JP2011099089 A JP 2011099089A JP 2011099089 A JP2011099089 A JP 2011099089A JP 5659075 B2 JP5659075 B2 JP 5659075B2
Authority
JP
Japan
Prior art keywords
elastic body
brake element
swing arm
emergency stop
guide rail
Prior art date
Legal status (The legal status is an assumption and is not a legal conclusion. Google has not performed a legal analysis and makes no representation as to the accuracy of the status listed.)
Active
Application number
JP2011099089A
Other languages
English (en)
Other versions
JP2012229100A (ja
Inventor
広基 遠藤
広基 遠藤
坂井 満
満 坂井
秀隆 座間
秀隆 座間
Current Assignee (The listed assignees may be inaccurate. Google has not performed a legal analysis and makes no representation or warranty as to the accuracy of the list.)
Hitachi Ltd
Original Assignee
Hitachi Ltd
Priority date (The priority date is an assumption and is not a legal conclusion. Google has not performed a legal analysis and makes no representation as to the accuracy of the date listed.)
Filing date
Publication date
Application filed by Hitachi Ltd filed Critical Hitachi Ltd
Priority to JP2011099089A priority Critical patent/JP5659075B2/ja
Publication of JP2012229100A publication Critical patent/JP2012229100A/ja
Application granted granted Critical
Publication of JP5659075B2 publication Critical patent/JP5659075B2/ja
Active legal-status Critical Current
Anticipated expiration legal-status Critical

Links

Images

Landscapes

  • Maintenance And Inspection Apparatuses For Elevators (AREA)

Description

本発明は乗客や荷物を建築構造物の上下階に運搬するエレベーターに係り、特に、昇降体が規定速度を超過したときに昇降体を非常停止する装置を備えたエレベーターに関する。
一般に、エレベーターにおいては、規定速度を超えて昇降体が下降した場合、昇降体を安全に停止させるための安全装置の一つとして、昇降体に非常止め装置を備えている。このようなエレベーターの非常止め装置は、弾性体を変位させることによって生じる押圧力によって、制動子をガイドレールに押付けることで制動力を発生させる構造である。
尚、制動子をガイドレールに押付けて昇降体を停止させる非常止め装置として、例えば、特許文献1に示すように既に提案されている。
特開2008−290832号公報
特許文献1のように、昇降体が規定速度を超過したときに昇降体を安全に停止させる非常止め装置においては制動子をガイドレールに押付けるために、ばね定数の大きい弾性体を用いた場合弾性体の僅かな変位の範囲において制動力が大きく変化するため、非常止め装置の設計や管理には各部品の僅かな寸法差まで、考慮しなくてはならない問題があった。
反対に、ばね定数の小さい弾性体を用いて制動子をガイドレールに押圧する場合には、弾性体の僅かな変位の範囲において押圧力が大きく変化しないため、上述の問題を解決し、かつ安定した制動力を得ることができる。しかしながら、ばね定数が小さい弾性体を使用した場合、昇降体を確実に停止させるためには、弾性体の変位量を大きくし、十分な制動力を得る必要があり、特許文献1において、非常止め装置が大型化する問題がある。
本発明の目的は、ばね定数の小さい弾性体を用いても装置を大型化せずに、十分な制動力を安定して得ることができる非常止め装置を備えたエレベーターを提供することにある。
本発明は上記目的を達成するために、建築構造物に立設されたガイドレールに案内されて昇降する昇降体と、この昇降体に設置された非常止め装置とを有し、この非常止め装置は、非常時に別置の速度検出装置によって前記昇降体が規定速度を超過したことを検出した際に上方に変位される制動子と、この制動子の上方への変位時に押圧力を付与して前記制動子を前記ガイドレールに押付ける弾性体とを備えているエレベーターにおいて、前記弾性体を伸縮方向が横方向となるように前記昇降体に設置し、前記弾性体の伸縮方向の端部に揺動腕を軸支し、この揺動腕の先端に前記速度検出装置と連動する前記制動子を連結すると共に、前記揺動腕は通常時には前記制動子側が下方になるように傾斜して前記制動子と前記ガイドレールとを非接触状態に保持し、非常時には前記速度検出装置によって前記昇降体が規定速度を超過したことを検出した際に前記揺動腕の前記制動子側が上方に変位して前記制動子と前記ガイドレールとを接触状態に保持するように構成し、前記非常止め装置に前記弾性体の押圧力を調整し制動力を調整する手段を設け、前記制動力調整手段は、前記弾性体と前記揺動腕の間に設けられ、前記昇降体に前記弾性体が横方向に伸縮するように案内する弾性体枠を支持させ、この弾性体枠内の前記弾性体の両端に夫々座金を当接させ、各座金に揺動腕を回動自在に連結しているのである。
以上説明したように構成することで、ばね定数の小さい弾性体を用いても、揺動腕の回動により、弾性体の変位量を大きくすることができる。その結果、装置を大型化せずに、十分な制動力を安定して得ることができる非常止め装置を備えたエレベーターを得ることができる。
本発明によるエレベーターの第1の実施の形態を示す乗かご通常運転時の概略図。 本発明によるエレベーターの第1の実施の形態を示す乗かご非常制動時の概略図。 本発明によるエレベーターの第1の実施の形態を示す全体概略図。 本発明によるエレベーターの第1の実施の形態を示す乗かごに設置される非常止め装置を示す拡大概略図。 図4の非常止め装置の作動時の弾性体位量を示す説明図。 本発明によるエレベーターの第1の実施の形態の弾性体変位量調整例を示す図1相当図。 図6の乗かごに設置される非常止め装置を示す図4相当図。
以下、本発明によるエレベーターの実施の形態を、図1〜図7に基づいて説明する。
本実施の形態によるエレベーターは、図示しない建築構造物に立設された一対のガイドレール1A,1Bと、このガイドレール1A,1Bに案内されて昇降する昇降体である乗かご2と、この乗かご2に一端を連結された主ロープ3と、この主ロープ3の他端に連結された釣り合いおもり5と、前記建築構造物に固定され前記主ロープ3を巻き掛けて駆動する巻上機6と、建築構造物に支持され前記乗かご2の昇降速度を検出する調速機7と、この調速機7に巻き掛けられ前記乗かご2と同期して移動する調速機ロープ8と、前記乗かご2に支持され前記調速機ロープ8に連結される引き上げ機構9A,9B,9Cと、これら引き上げ機構9A,9B,9Cの端部に連結された非常止め装置10とを備えている。
このような構成において、乗かご2が規定速度を超過したときに非常止め装置10を作動させる。
前記非常止め装置10は、乗かご2の下部に取り付けられる弾性体枠11と、この弾性体枠11内において前記ガイドレール1A,1Bの間隔方向に沿って伸縮自在に案内される弾性体12と、前記ばね枠11内において前記弾性体12の伸縮方向両端に設置されたばね座13A,13Bと、これらばね座13A.13Bに一端を回動自在に軸支され他端が下方に傾斜して延在する揺動腕14A,14Bと、この揺動腕14A,14Bの他端に揺動自在に軸支された制動子15A,15Bとを備えている。 尚、揺動腕14A、14Bの長さは、揺動腕14A、14Bが水平となったときに、先端の制動子15A、15Bが弾性体12に押圧されてガイドレール1A、1Bに圧接摺動する長さを有する。したがって、通常時は、揺動腕14A、14Bが傾斜してガイドレール1A、1Bと制動子15A、15Bとの間に隙間を有して非接触状態を保持しており、非常時には、揺動腕14A、14Bが水平となるまで変位し、制動子15A、15Bが弾性体12に押圧されてガイドレール1A、1Bに圧接摺動して接触状態を保持する。
上記構成の非常止め装置10は、エレベーターの通常運転時には、図1に示すように、制動子15A,15Bは、ガイドレール1A,1Bに対し非接触状態にあり、その時、揺動腕14A,14Bは、図4に示すように、制動子15A,15B側を下方にして傾斜させている。
このような状態に非常止め装置10がある時に、何らかの異常で、乗かご2が規定速度を超過した場合、その速度を調速機7が検出し、調速機ロープ8は移動を停止される。調速機ロープ8の停止により、この調速機ロープ8に連結された乗かご2に設置した引き上げ機構9A,9B,9Cは駆動され、引き上げ機構9B,9Cが上方に移動して制動子14A,14Bを上方に引き上げる。その結果、揺動腕14A,14Bは、座金13A,13Bとの連結部を支点として回動し、制動子14A,14Bをガイドレール1A,1Bに押圧し、さらに押圧ばね12を圧縮しながら回動して図2に示すように、水平になる。
以上のように、前記揺動腕14A、14Bが弾性体12を圧縮しながら回動することで、制動子15A、15Bをガイドレール1A、1Bへ押付けることにより制動力が発生し、乗かご2を停止させる。
ところで、非常止め装置10の作動時における弾性体12の変位量は、図5に示すように、揺動腕14A,14Bの初期設定位置14からばね座13A,13Bとの連結位置を支点としてガイドレール1A,1Bと直角になるまでの位置14´(揺動腕14A´,14B´)まで角度θを回動する。その時揺動腕14A,14Bの長さをLとしたとき、傾斜した揺動腕14A,14Bの平面上の長さはLcosθであり、水平になったときの揺動腕14A,14Bの平面上の長さはL−cosθ増加してLcosθ+(L−cosθ)となる。したがって、2つの揺動腕14A,14Bの平面上の長さは、2(L−cosθ)だけ増加し、弾性体12はその分圧縮変位する。
このため揺動腕14A、14Bの長さLを長くしたり、角度θを大きくしたりすることで弾性体12を大きく変位させることができる。このため、同一の制動力を発生させるとき、弾性体12の変位量が少ない場合に比べてばね定数を小さくすることができる。その結果、弾性体12の僅かな変位の範囲において押圧力が大きく変化しないため、安定した押圧力、つまり安定した制動力を得ることができる。
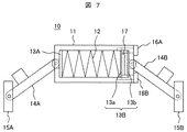
また、エレベーターの仕様は、定格速度、乗かご12質量、積載、及び昇降行程等により多岐にわたるため、各仕様によって非常止め装置10に要求される制動力は異なることから、その都度適切な制動力に調整する必要がある。そのため、図7に示すように、左右の座金13A、13Bの一方側の座金13Bを2枚の座金13a、13bで構成し、さらに、弾性体枠11に取付けた調整ボルト16A、16Bによって、2枚の座金13a、13b間に隙間を形成することで、2枚の座金13a、13b間に複数枚のライナ17を装着する機構を備えている。そのライナ17を増減することで非常止め装置10非作動時の弾性体12の変位量、つまり非常止め装置10作動時の弾性体12の変位量を調整し、非常止め装置作動時の制動力をエレベーターの仕様に対し、適切なものに調整することが可能である。
1A,1B…ガイドレール、2…乗かご、3…主ロープ、5…釣り合いおもり、6…巻上機、7…調速機、8…調速機ロープ、9A,9B、9C…引き上げ機構,10…非常止め装置、11…弾性体枠,12…弾性体、13A,13B,13a,13b…座金、14A,14B…揺動腕、15A,15B…制動子、16A,16B…調整ボルト、17…ライナ。

Claims (1)

  1. 建築構造物に立設されたガイドレールに案内されて昇降する昇降体と、この昇降体に設置された非常止め装置とを有し、この非常止め装置は、非常時に別置の速度検出装置によって前記昇降体が規定速度を超過したことを検出した際に上方に変位される制動子と、この制動子の上方への変位時に押圧力を付与して前記制動子を前記ガイドレールに押付ける弾性体とを備えているエレベーターにおいて、
    前記弾性体を伸縮方向が横方向となるように前記昇降体に設置し、前記弾性体の伸縮方向の端部に揺動腕を軸支し、この揺動腕の先端に前記速度検出装置と連動する前記制動子を連結すると共に、前記揺動腕は通常時には前記制動子側が下方になるように傾斜して前記制動子と前記ガイドレールとを非接触状態に保持し、非常時には前記速度検出装置によって前記昇降体が規定速度を超過したことを検出した際に前記揺動腕の前記制動子側が上方に変位して前記制動子と前記ガイドレールとを接触状態に保持するように構成し、
    前記非常止め装置に前記弾性体の押圧力を調整し制動力を調整する手段を設け、
    前記制動力調整手段は、前記弾性体と前記揺動腕の間に設けられ、
    前記昇降体に前記弾性体が横方向に伸縮するように案内する弾性体枠を支持させ、この
    弾性体枠内の前記弾性体の両端に夫々座金を当接させ、各座金に揺動腕を回動自在に連結
    していることを特徴とするエレベーター。
JP2011099089A 2011-04-27 2011-04-27 エレベーター Active JP5659075B2 (ja)

Priority Applications (1)

Application Number Priority Date Filing Date Title
JP2011099089A JP5659075B2 (ja) 2011-04-27 2011-04-27 エレベーター

Applications Claiming Priority (1)

Application Number Priority Date Filing Date Title
JP2011099089A JP5659075B2 (ja) 2011-04-27 2011-04-27 エレベーター

Publications (2)

Publication Number Publication Date
JP2012229100A JP2012229100A (ja) 2012-11-22
JP5659075B2 true JP5659075B2 (ja) 2015-01-28

Family

ID=47431020

Family Applications (1)

Application Number Title Priority Date Filing Date
JP2011099089A Active JP5659075B2 (ja) 2011-04-27 2011-04-27 エレベーター

Country Status (1)

Country Link
JP (1) JP5659075B2 (ja)

Cited By (2)

* Cited by examiner, † Cited by third party
Publication number Priority date Publication date Assignee Title
US9849546B2 (en) 2010-10-13 2017-12-26 Robert Bosch Gmbh Method for manufacturing a hydraulic device
CN110482361A (zh) * 2019-09-03 2019-11-22 江苏施塔德电梯有限公司 一种电梯坠落刹车装置

Families Citing this family (2)

* Cited by examiner, † Cited by third party
Publication number Priority date Publication date Assignee Title
CN112960507B (zh) * 2021-02-01 2022-11-04 上海骏润机械制造有限公司 一种电梯轿厢多重相向式缓冲减震装置
CN116812716A (zh) * 2023-07-27 2023-09-29 江苏蒙哥马利电梯有限公司 一种大载重货梯防倾斜安全装置

Family Cites Families (4)

* Cited by examiner, † Cited by third party
Publication number Priority date Publication date Assignee Title
JPS5244566U (ja) * 1975-09-25 1977-03-29
JPH0475985A (ja) * 1990-07-18 1992-03-10 Fujitsu Ltd 昇降装置
JPH06329365A (ja) * 1993-05-19 1994-11-29 Toshiba Corp 自走式エレベータ
JP4566647B2 (ja) * 2004-07-26 2010-10-20 三菱電機株式会社 エレベータ装置

Cited By (2)

* Cited by examiner, † Cited by third party
Publication number Priority date Publication date Assignee Title
US9849546B2 (en) 2010-10-13 2017-12-26 Robert Bosch Gmbh Method for manufacturing a hydraulic device
CN110482361A (zh) * 2019-09-03 2019-11-22 江苏施塔德电梯有限公司 一种电梯坠落刹车装置

Also Published As

Publication number Publication date
JP2012229100A (ja) 2012-11-22

Similar Documents

Publication Publication Date Title
JP5804695B2 (ja) エレベータのかご振動抑制装置
EP3097037B1 (en) Elevator provided with a safety device arrangement
JP4601682B2 (ja) エレベーター装置
US11261056B2 (en) Elevator safety actuator systems
JP2011126708A (ja) エレベータ
JP5659075B2 (ja) エレベーター
JP6058176B2 (ja) エレベーター装置
JP6395922B2 (ja) エレベータの非常止め装置およびエレベータシステム
JP2010037060A (ja) エレベータシステム
JP5809755B2 (ja) エレベーターの非常止め装置およびエレベーター
JP6169266B2 (ja) エレベータ装置
KR100889280B1 (ko) 엘리베이터의 로프 제동장치
JP5914320B2 (ja) 階段昇降機の安全装置
EP3328772B1 (en) Safety block for elevator
JP6834022B2 (ja) 安全装置、および、それを備えたエレベーター
US7419033B2 (en) Emergency brake device for elevator
JP2007204165A (ja) エレベータの非常止め装置
JP4607214B2 (ja) エレベータシステム
JP5733892B2 (ja) エレベータの安全装置
JP2011001150A (ja) エレベーターの制動装置
KR20100020053A (ko) 층 맞춤 기능을 갖는 더블 데크 엘리베이터
JP6223234B2 (ja) エレベータ装置
CN105392728A (zh) 电梯装置
JP7340025B2 (ja) 工事用エレベーター
JP5080960B2 (ja) エレベータのコンペンロープ外れ止め装置

Legal Events

Date Code Title Description
A621 Written request for application examination

Free format text: JAPANESE INTERMEDIATE CODE: A621

Effective date: 20130712

A977 Report on retrieval

Free format text: JAPANESE INTERMEDIATE CODE: A971007

Effective date: 20140411

A131 Notification of reasons for refusal

Free format text: JAPANESE INTERMEDIATE CODE: A131

Effective date: 20140422

A521 Written amendment

Free format text: JAPANESE INTERMEDIATE CODE: A523

Effective date: 20140520

TRDD Decision of grant or rejection written
A01 Written decision to grant a patent or to grant a registration (utility model)

Free format text: JAPANESE INTERMEDIATE CODE: A01

Effective date: 20141111

A61 First payment of annual fees (during grant procedure)

Free format text: JAPANESE INTERMEDIATE CODE: A61

Effective date: 20141201

R150 Certificate of patent (=grant) or registration of utility model

Ref document number: 5659075

Country of ref document: JP

Free format text: JAPANESE INTERMEDIATE CODE: R150