JP2010032277A - 機器分析データ処理装置 - Google Patents

機器分析データ処理装置 Download PDF

Info

Publication number
JP2010032277A
JP2010032277A JP2008192940A JP2008192940A JP2010032277A JP 2010032277 A JP2010032277 A JP 2010032277A JP 2008192940 A JP2008192940 A JP 2008192940A JP 2008192940 A JP2008192940 A JP 2008192940A JP 2010032277 A JP2010032277 A JP 2010032277A
Authority
JP
Japan
Prior art keywords
peak
chromatogram
data processing
axis
graph
Prior art date
Legal status (The legal status is an assumption and is not a legal conclusion. Google has not performed a legal analysis and makes no representation as to the accuracy of the status listed.)
Granted
Application number
JP2008192940A
Other languages
English (en)
Other versions
JP5092971B2 (ja
Inventor
Okiyuki Kunihiro
沖之 国広
Current Assignee (The listed assignees may be inaccurate. Google has not performed a legal analysis and makes no representation or warranty as to the accuracy of the list.)
Shimadzu Corp
Original Assignee
Shimadzu Corp
Priority date (The priority date is an assumption and is not a legal conclusion. Google has not performed a legal analysis and makes no representation as to the accuracy of the date listed.)
Filing date
Publication date
Application filed by Shimadzu Corp filed Critical Shimadzu Corp
Priority to JP2008192940A priority Critical patent/JP5092971B2/ja
Publication of JP2010032277A publication Critical patent/JP2010032277A/ja
Application granted granted Critical
Publication of JP5092971B2 publication Critical patent/JP5092971B2/ja
Active legal-status Critical Current
Anticipated expiration legal-status Critical

Links

Images

Landscapes

  • Other Investigation Or Analysis Of Materials By Electrical Means (AREA)

Abstract

【課題】簡単な操作で小さな強度の任意のピークを適切な大きさに拡大表示する。
【解決手段】ピーク検出された各ピークが示されたクロマトグラム表示画面40上で、分析担当者は、マウス操作によりカーソル43を移動させて着目するピークを指定した上でノーマライズ表示を指示する。すると、カーソル43による指示位置の情報と各ピークの開始点及び終了点の位置情報から指示されたピークが特定され、そのピークのピークトップの位置情報と強度軸の表示範囲の所定の制約とから、強度軸の拡大率を計算し、それに基づいて強度軸を拡大したクロマトグラムを描画する。
【選択図】 図2

Description

本発明は、液体クロマトグラフ、ガスクロマトグラフ、クロマトグラフ質量分析計、分光光度計など、各種の分析機器で収集されたデータを処理してクロマトグラムやスペクトル等のグラフを作成して描出する機能を有する機器分析データ処理装置に関する。
例えば液体クロマトグラフ(LC)装置では、試料に対して実施された分析により収集されたデータに基づいて、横軸が時間軸、縦軸が強度(例えば検出電圧値)軸であるクロマトグラムが作成される。このクロマトグラムに現れるピークの位置はそれぞれ、試料に含まれる各種成分の種類を反映したものであり、ピークの高さや面積はその成分の含有量を反映している。そこで、クロマトグラムに対しピーク検出を行い、各ピークの開始点や終了点、ピークトップの位置や強度、ピーク面積などのピーク情報を収集し、これを利用して各種成分の定性や定量を行うようにしている(特許文献1など参照)。
図2(a)は表示モニタの画面上に表示されるクロマトグラムの一例を示す図である。一般にクロマトグラムには多数のピークが現れ、そのピークトップの強度は大小様々である。この表示の例は、強度が最大であるピークの全体が表示範囲内に収まるように強度軸が調整されたものである。このように描出されたクロマトグラムでは、ユーザが、ピークトップ強度の小さいピークについてそのピーク形状を明確に把握することは難しい。そこで、従来のLC装置では、次のような方法により、最大強度を示すピーク以外のピークを拡大して表示できるようになっている。
(1)縦軸の表示範囲を数値で入力可能とし、その入力された数値に応じて縦軸を拡大又は縮小したクロマトグラムを表示する。
(2)クロマトグラム上の全てのピークの中で、ピーク強度が2番目に大きいピーク、3番目に大きいピークを特定し、例えば「2番目に大きなピークの表示最適化」が指示されると、指示されたピークが自動的に適当な大きさに拡大されるように縦軸を拡大したクロマトグラムを作成して表示する。
しかしながら、実際の解析処理においては、ごく微量しか含まれていない成分に由来する、強度が非常に小さなピークを拡大して観察したいことも多く、そうした場合には、上述した(2)の自動拡大の機能を利用することはできない。そのため、(1)の方法により、縦軸の表示範囲を数値で入力する必要があるが、分析担当者が意図するような適切な大きさに拡大するには、試行錯誤的に数値を変更してクロマトグラムを表示させてみる必要がある。そのため、殆どの場合、何回も数値入力を繰り返すことになり、分析担当者にとってはかなり面倒な作業であった。
特開2004−53283号公報
本発明は上記課題を解決するために成されたものであり、その目的とするところは、LC分析など各種機器分析により収集されたデータに基づいて作成されるクロマトグラムやスペクトルを観察したり再解析したりする際に、着目する任意のピークを簡単な操作で見易い表示状態にすることができる機器分析データ処理装置を提供することにある。
上記課題を解決するために成された本発明は、機器分析により収集された分析データに基づいて強度軸を縦軸としたクロマトグラム又はスペクトルであるグラフを作成して描出する機器分析データ処理装置であって、
a)前記グラフに現れるピークを検出するピーク検出手段と、
b)前記グラフが描出された表示画面上で、前記ピーク検出手段により検出されたピークの1つが存在する横軸の範囲内の少なくとも一部をユーザが指示するためのピーク指示手段と、
c)前記ピーク指示手段により指示されたピークを特定し、そのピークが所定の表示範囲に入るように又はそのピークのピークトップが表示範囲内の所定位置にくるように、強度軸を拡大又は縮小したグラフを描出する描画処理手段と、
を備えることを特徴としている。
本発明において、縦軸が強度軸であるグラフとは、液体クロマトグラフやガスクロマトグラフを用いた分析により取得されるクロマトグラムや、質量分析計によるマススペクトル、分光光度計による吸収スペクトル、反射スペクトルなどを例として挙げることができる。
また本発明におけるデータ処理動作は、分析が終了して例えば1つのクロマトグラムを表示するための全てのデータが揃った後のみならず、分析実行中、つまりクロマトグラムを表示するためのデータが時々刻々と得られている途中であっても既に取得されたデータに対して実施することができる。
本発明の典型的な一態様として、前記グラフは時間軸を横軸としたクロマトグラムであり、前記ピーク指示手段は、各ピークの開始点と終了点との間の時間範囲内を指示することにより該時間範囲内に存在するピークを指示するものである構成とすることができる。即ち、この場合、本発明に係るデータ処理装置は、液体クロマトグラフやガスクロマトグラフにより収集されたデータを処理する装置である。
上記態様によるデータ処理装置においては、ピーク検出手段は、取得されたクロマトグラムデータに対しベースライン補正などの波形処理を行った上で、例えばクロマトグラム波形の傾きなどを利用してピークの開始点、ピーク終了点などを見つけ、ピークを検出する。分析担当者は、検出されたピークが明示されたクロマトグラムの表示画面上で、ピーク指示手段を用いて任意のピークを指示する。例えばピーク指示手段は、クロマトグラムに重畳して表示されたカーソルなどの操作子の位置を自由に移動可能であるとともに、クリック操作などによりクロマトグラム上の特定の位置を指示可能な、マウスなどのポインティングデバイスである。
なお、上記態様において、前記ピーク指示手段は、クロマトグラム波形上で各ピークの開始点と終了点とを繋ぐ直線とそのピーク波形で囲まれる領域を指示することにより該ピークを指示するものとすると好ましい。これによれば、ユーザは着目するピークをより直接的に指示することになるので、操作が分かり易く、複数のピークが時間的に近接している場合でもピークの指示誤りを軽減することができる。
ピーク指示手段により1つのピークが指示されると、描画処理手段は指示されたグラフ上の位置から拡大又は縮小すべきピークを特定し、さらにそのピークのピークトップの強度軸上の位置情報を取得する。強度軸上の位置が分かれば、そのピークのピークトップが強度軸の全表示範囲の中の特定の位置にくるようにするための、又は、そのピーク全体が強度軸の所定の表示範囲内に入るようにするための、縦方向の拡大率・縮小率又は全表示範囲の数値などを計算することができる。そこで、描画処理手段はこの計算を行い、その結果に基づいてクロマトグラムを拡大又は縮小して描画する。この際に、横軸(クロマトグラムの場合では時間軸)は拡大・縮小されず、縦軸のみを拡大・縮小するようにするとよい。
本発明に係る機器分析データ処理装置によれば、分析終了後又は分析実行中の少なくともクロマトグラムやスペクトル等のグラフが表示画面上に表示可能である状態のときに、そのグラフ上の任意のピークを簡単な操作で選択し、そのピークが適切な大きさとなるように、つまりそのピーク全体の波形形状が見易い状態となるように、拡大又は縮小したグラフを自動的に描出することができる。それにより、強度が小さなピークを適切に拡大して観察したい場合に、従来のような面倒な数値入力の作業は不要であり、ユーザ(分析担当者)の作業が軽減され、分析に関わる作業効率を向上させることができる。
本発明に係る機器分析データ処理装置を適用した分析装置の一実施例として、LC装置を例に挙げて説明する。図1は本実施例のLC装置の要部のブロック構成図である。
このLC装置はLC部本体1と処理部2とから成る。LC部本体1は、移動相が貯留された移動相容器10と、移動相を送給する送液ポンプ11と、予め用意された複数の液体試料の中から指定された試料を選択し、送給される移動相中に該試料を注入するインジェクタ12と、試料に含まれる各種成分を分離するカラム13と、カラム13からの溶出液中の各種成分を検出する検出器14と、検出器14により検出された信号をデジタル値に変換するA/D変換器(ADC)15と、を備える。検出器14は、紫外可視分光光度検出器、フォトダイオードアレイ検出器、示差屈折率検出器、電気伝導度検出器など、その検出方式は特に問わない。
処理部2は、データ処理部20とデータ記憶部25とを含み、データ処理部20に操作部28及び表示部29が接続されている。この処理部2の実体はCPU、RAM、ROM、HDDなどを含むパーソナルコンピュータ(PC)であり、このPCにインストールされた専用の制御・処理ソフトウエアが実行されることで、後述するようなデータ処理部20内の各機能が達成される。操作部28はPCに接続されるキーボードやマウスなどのポインティングデバイスであり、表示部29はPCに接続される液晶モニタ等の表示モニタである。
データ処理部20、クロマトグラム描画部21、ピーク検出部22、指示ピーク特定部23、クロマトグラム伸縮処理部24などの機能ブロックを含む。データ記憶部25は分析により収集されたクロマトグラムデータを保存するためのクロマトグラムデータ格納部26を含む。データ記憶部25はPCに内蔵されたHDDを利用することができるが、PCとは別の外部のHDDや、LANなどの通信線を介してPCに接続されたサーバなどの記憶装置を利用してもよい。
次に、本実施例のLC装置における特徴的なデータ処理動作として、クロマトグラム描画処理の動作を、図2を参照して説明する。
いまここでは、LC部本体1による分析の結果、或る試料についてのクロマトグラムデータが収集され、それらが、クロマトグラムデータ格納部26に例えば1つのデータファイルとして格納されている場合を想定する。
分析担当者が操作部28で上記データファイルを指定してクロマトグラムの描出を指示すると、データ処理部20においてクロマトグラム描画部21が該当するデータファイルをクロマトグラムデータ格納部26から読み出し、図2(a)に示すようなクロマトグラム表示画面40を作成して表示部29の画面上に表示する。この際に、例えばベースライン補正やノイズ除去などの適宜の波形処理を実行し、その処理後のクロマトグラムを表示するようにすることができる。
これと並行して、ピーク検出部22はクロマトグラムデータに基づいてピーク検出を実行する。ピーク検出自体は周知の方法を利用することができ、例えば時間経過の順にクロマトグラム波形の傾きを調べ、正の傾きが所定値以上になった時点をピークの開始点と判断し、その後、傾きが正から負に転じた時点をピークトップの位置と判断し、その後に負の傾きが所定値以下になった時点をピーク終了点と判断するとよい。こうしてクロマトグラムに出現している全てのピークを検出する。さらにまた、ピーク検出部22は各ピークについて、ピークトップの位置を求めるほか、ピーク面積などを計算するようにしてもよい。こうして得られたピーク情報の一部は、図2(b)に示すように、各ピークの近傍にピークラベル41として表示させることも可能である。
ピーク検出部22によりピーク検出が実行され、各ピークの開始点及び終了点が明らかになると、これら情報を受け取ったクロマトグラム描画部21は、クロマトグラム表示画面40上にピークの開始点及び終了点を示す指示線42を表示する(図2(b)参照)。これにより、各ピークが存在する時間範囲をユーザに明瞭に示すことができる。指示線42を表示する以外に、例えばクロマトグラム波形上でピーク開始点とピーク終了点とを繋ぐ直線とピーク波形とで囲まれる領域(つまりピーク面積が計算される領域)を色付け表示する等、検出されたピークが存在する時間範囲が明確になりさえすれば、その表示形態は特に問わない。
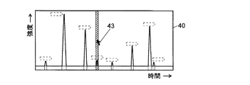
分析担当者は表示部29の画面上に表示された図2(b)に示したようなクロマトグラム表示画面40を見て、着目するピークを操作部28により選択した上で自動拡大・縮小表示を指示する。より詳しく説明すると、クロマトグラム表示画面40上に重畳して表示される矢印形状のカーソル43は操作部28のマウス(或いはキーボードの矢印キーなど)に連動して移動するようになっており、分析担当者はマウス操作によりカーソル43を着目するピークの内側に移動させる。図2(b)の例では、ピークPが着目するピークであるものとし、このピークPを指示するようにカーソル43の位置が設定されている。その状態で分析担当者がマウスの右ボタンをクリック操作すると、処理操作のメニューが開く。分析担当者は、その処理操作メニューの中で「選択したピークでノーマライズ表示する」なる項目を選択してクリック操作する。なお、例えばカーソル43が或るピークの内側に移動されたときに、そのピーク領域の色が変化するようにすると、ピークが選択可能な状態であることを分析担当者に分かり易く知らせることができる。
上記のような操作を受けてデータ処理部20では、指示ピーク特定部23が、マウスで指示された画面上のポイントの位置情報(X軸及びY軸に沿った値)をクロマトグラム描画部21が保持する各ピークの開始点及び終了点の位置情報に照らして、指示されたピークを特定する。これによって、分析担当者が指示したピークがピークPであることが特定される。さらに、特定されたピークPのピークトップP1の位置情報(図2(c)中の(x1、y1))も取得する。
次にクロマトグラム伸縮処理部24は、特定されたピークPのピークトップP1が予め定められた強度軸上の位置に来るように、或いは、このピークP全体が強度軸上の所定の表示範囲に入るように、強度軸の拡大率(又は縮小率)を計算する。いま、ここでは一例として、図2(c)右側に示すように、クロマトグラムの強度軸の全表示範囲Qの中で下端から0.1×Qだけ上方の高さにクロマトグラムのベースラインを位置させ、全表示範囲Qの中で上端から0.1×Qだけ下方の高さに、指定されたピークのピックトップを位置させるように、ノーマライズ表示を行うものとする。なお、このノーマライズ表示の目標値はあくまでも一例であり、適宜決めることができるのは当然である。
クロマトグラム伸縮処理部24は強度軸の拡大率(又は縮小率)を計算し、求まった拡大率に応じてクロマトグラム全体を強度軸方向にのみ、つまり縦方向に拡大又は縮小し、決められた表示枠内に描画する。もともと強度が大きなピークはスケールアウトし、表示枠内から外れた部分は描画されない。このような拡大処理によって、クロマトグラム表示画面44は図2(d)に示すように更新される。更新前のクロマトグラム表示画面40において分析担当者が着目していたピークPは、更新後のクロマトグラム表示画面44ではピークP’となり、そのピーク波形形状を明瞭に把握できるようになる。
もちろん、同様の手法により、図2(d)に示すように上部がスケールアウトした状態の任意のピークを縮小表示することも可能である。また、図2(b)に示すように、拡大表示したいピークをカーソル43により指示する際に、ピークが非常に小さいものであると、ピーク領域を確実に指示するのが難しい場合があり得る。そこで、図3に示すように、ピーク領域だけでなく、目的とするピークの開始点に相当する時間から終了点に相当する時間までの間の帯状の範囲(図3中に斜線で示した範囲)内であれば、どの箇所をマウスで指示しても、その範囲にあるピークが指示されたものと判断するようにしてもよい。
また上記実施例は、分析終了後に既に収集されているクロマトグラムデータを用いてクロマトグラムを描画する際の処理について説明したが、分析実行中に順次得られるクロマトグラムデータに基づいてリアルタイムでクロマトグラムを描画する際にも同様の処理を行うこともできる。その場合、既に収集された分のクロマトグラムデータに対してピーク検出を実行し、それにより検出された任意のピークを指定してノーマライズ表示できるようにすればよい。この場合、ノーマライズ表示により強度軸が拡大・縮小されたクロマトグラムに表示が更新された後、その強度軸を保ってそれ以降のリアルタイムのクロマトグラム描画が続行されるようにするとよい。
さらにまた、上記実施例は本発明に係るデータ処理をクロマトグラムに適用した場合であるが、LC/MSやGC/MSなどのクロマトグラフ質量分析装置では、トータルイオンクロマトグラム、マスクロマトグラムのいずれにも本発明を適用することができる。また、横軸が時間軸であるグラフではなく、他のディメンジョンのグラフであってもよい。例えば、質量分析装置において作成される、横軸がm/z、縦軸が強度軸であるマススペクトルに本発明を適用することもできる。また、各種の分光光度計において作成される、横軸が波長、縦軸が強度軸である吸収スペクトル、反射スペクトルなどに対しても本発明を適用することができる。
さらにまた、上記実施例や各種の変形例のほかにも、本発明の趣旨の範囲で適宜変形や修正、追加を行っても本願特許請求の範囲に包含されることは明らかである。
本発明の一実施例によるLC装置の要部のブロック構成図。 本実施例のLC装置におけるクロマトグラム描画処理の動作を説明するため図。 クロマトグラム描画処理動作の変形例を説明するための図。
符号の説明
1…LC部本体
10…移動相容器
11…送液ポンプ
12…インジェクタ
13…カラム
14…検出器
2…処理部
20…データ処理部
21…クロマトグラム描画部
22…ピーク検出部
23…指示ピーク特定部
24…クロマトグラム伸縮処理部
25…データ記憶部
26…クロマトグラムデータ格納部
28…操作部
29…表示部

Claims (3)

  1. 機器分析により収集された分析データに基づいて強度軸を縦軸としたクロマトグラム又はスペクトルであるグラフを作成して描出する機器分析データ処理装置であって、
    a)前記グラフに現れるピークを検出するピーク検出手段と、
    b)前記グラフが描出された表示画面上で、前記ピーク検出手段により検出されたピークの1つが存在する横軸の範囲内の少なくとも一部をユーザが指示するためのピーク指示手段と、
    c)前記ピーク指示手段により指示されたピークを特定し、そのピークが所定の表示範囲に入るように又はそのピークのピークトップが表示範囲内の所定位置にくるように、強度軸を拡大又は縮小したグラフを描出する描画処理手段と、
    を備えることを特徴とする機器分析データ処理装置。
  2. 請求項1に記載の機器分析用データ処理装置であって、
    前記グラフは時間軸を横軸としたクロマトグラムであり、前記ピーク指示手段は、各ピークの開始点と終了点との間の時間範囲内を指示することにより該時間範囲内に存在するピークを指示するものであることを特徴とする機器分析データ処理装置。
  3. 請求項2に記載の機器分析用データ処理装置であって、
    前記ピーク指示手段は、クロマトグラム波形上で各ピークの開始点と終了点とを繋ぐ直線とそのピーク波形で囲まれる領域を指示することにより該ピークを指示するものであることを特徴とする機器分析データ処理装置。
JP2008192940A 2008-07-28 2008-07-28 機器分析データ処理装置 Active JP5092971B2 (ja)

Priority Applications (1)

Application Number Priority Date Filing Date Title
JP2008192940A JP5092971B2 (ja) 2008-07-28 2008-07-28 機器分析データ処理装置

Applications Claiming Priority (1)

Application Number Priority Date Filing Date Title
JP2008192940A JP5092971B2 (ja) 2008-07-28 2008-07-28 機器分析データ処理装置

Publications (2)

Publication Number Publication Date
JP2010032277A true JP2010032277A (ja) 2010-02-12
JP5092971B2 JP5092971B2 (ja) 2012-12-05

Family

ID=41736938

Family Applications (1)

Application Number Title Priority Date Filing Date
JP2008192940A Active JP5092971B2 (ja) 2008-07-28 2008-07-28 機器分析データ処理装置

Country Status (1)

Country Link
JP (1) JP5092971B2 (ja)

Cited By (4)

* Cited by examiner, † Cited by third party
Publication number Priority date Publication date Assignee Title
JP2011169704A (ja) * 2010-02-17 2011-09-01 Shimadzu Corp データ処理装置及びデータ処理プログラム
WO2015189696A1 (ja) * 2014-06-12 2015-12-17 株式会社日立ハイテクノロジーズ クロマトグラフ質量分析装置及びその制御方法
KR101749019B1 (ko) * 2016-01-27 2017-06-20 주식회사 이노와이어리스 휴대형 스펙트럼 분석기의 피크 서치 제어 방법
JPWO2022230162A1 (ja) * 2021-04-30 2022-11-03

Citations (9)

* Cited by examiner, † Cited by third party
Publication number Priority date Publication date Assignee Title
JPS6215459A (ja) * 1985-07-15 1987-01-23 Hitachi Ltd クロマトグラフ用デ−タ処理装置
JPH04172246A (ja) * 1990-11-05 1992-06-19 Hitachi Ltd クロマトグラフ用データ処理装置
JPH06324829A (ja) * 1993-05-10 1994-11-25 Yokogawa Electric Corp 表示装置
JPH08211039A (ja) * 1995-01-31 1996-08-20 Shimadzu Corp 試料分析装置
JPH10282060A (ja) * 1997-03-31 1998-10-23 Shimadzu Corp 質量分析装置
JP2000131304A (ja) * 1998-10-21 2000-05-12 Hitachi Ltd 液体クロマトグラフ装置
JP2002229538A (ja) * 2001-02-05 2002-08-16 Shimadzu Corp 分析機器用データ処理装置
JP2004053283A (ja) * 2002-07-17 2004-02-19 Shimadzu Corp クロマトグラフデータ処理装置
JP2008101960A (ja) * 2006-10-18 2008-05-01 Hitachi High-Technologies Corp 表示制御装置、表示制御方法、および、表示制御プログラム

Patent Citations (9)

* Cited by examiner, † Cited by third party
Publication number Priority date Publication date Assignee Title
JPS6215459A (ja) * 1985-07-15 1987-01-23 Hitachi Ltd クロマトグラフ用デ−タ処理装置
JPH04172246A (ja) * 1990-11-05 1992-06-19 Hitachi Ltd クロマトグラフ用データ処理装置
JPH06324829A (ja) * 1993-05-10 1994-11-25 Yokogawa Electric Corp 表示装置
JPH08211039A (ja) * 1995-01-31 1996-08-20 Shimadzu Corp 試料分析装置
JPH10282060A (ja) * 1997-03-31 1998-10-23 Shimadzu Corp 質量分析装置
JP2000131304A (ja) * 1998-10-21 2000-05-12 Hitachi Ltd 液体クロマトグラフ装置
JP2002229538A (ja) * 2001-02-05 2002-08-16 Shimadzu Corp 分析機器用データ処理装置
JP2004053283A (ja) * 2002-07-17 2004-02-19 Shimadzu Corp クロマトグラフデータ処理装置
JP2008101960A (ja) * 2006-10-18 2008-05-01 Hitachi High-Technologies Corp 表示制御装置、表示制御方法、および、表示制御プログラム

Cited By (12)

* Cited by examiner, † Cited by third party
Publication number Priority date Publication date Assignee Title
JP2011169704A (ja) * 2010-02-17 2011-09-01 Shimadzu Corp データ処理装置及びデータ処理プログラム
WO2015189696A1 (ja) * 2014-06-12 2015-12-17 株式会社日立ハイテクノロジーズ クロマトグラフ質量分析装置及びその制御方法
JP2016001137A (ja) * 2014-06-12 2016-01-07 株式会社日立ハイテクノロジーズ クロマトグラフ質量分析装置及びその制御方法
GB2549354A (en) * 2014-06-12 2017-10-18 Hitachi High Tech Corp Chromatograph mass spectrometer and control method therefor
US9823228B2 (en) 2014-06-12 2017-11-21 Hitachi High-Technologies Corporation Chromatograph mass spectrometer and control method therefor
GB2549354B (en) * 2014-06-12 2020-05-20 Hitachi High Tech Corp Chromatograph mass spectrometer and control method therefor
DE112015002105B4 (de) 2014-06-12 2022-05-19 Hitachi High-Tech Corporation Chromatograph-Massenspektrometer und Verfahren zu dessen Steuerung
KR101749019B1 (ko) * 2016-01-27 2017-06-20 주식회사 이노와이어리스 휴대형 스펙트럼 분석기의 피크 서치 제어 방법
JPWO2022230162A1 (ja) * 2021-04-30 2022-11-03
WO2022230162A1 (ja) * 2021-04-30 2022-11-03 株式会社島津製作所 分析装置及び分析装置用波形処理プログラム
CN117242345A (zh) * 2021-04-30 2023-12-15 株式会社岛津制作所 分析装置及分析装置用波形处理程序
JP7658427B2 (ja) 2021-04-30 2025-04-08 株式会社島津製作所 分析装置及び分析装置用波形処理プログラム

Also Published As

Publication number Publication date
JP5092971B2 (ja) 2012-12-05

Similar Documents

Publication Publication Date Title
US5633997A (en) User interface for spectrometer
JP5804070B2 (ja) クロマトグラムデータ処理装置及び処理方法
JP6379463B2 (ja) 波形処理支援方法および波形処理支援装置
JP2014075114A (ja) グラフ表示処理装置
US20140012515A1 (en) Chromatograph mass spectrometry data processing device
JP2014032093A (ja) 分析装置
JP5962845B2 (ja) クロマトグラムデータ処理装置及び処理方法
JP2014020857A (ja) 分析データ表示処理装置
JP5092971B2 (ja) 機器分析データ処理装置
JP2011122822A (ja) クロマトグラフ質量分析装置
JP2014219317A (ja) クロマトグラフ用データ処理装置
JP6439878B2 (ja) 分析データ解析装置及び分析データ解析用プログラム
JP2011058982A (ja) 分析装置制御システム及び該システム用プログラム
WO2016185552A1 (ja) クロマトグラムデータ処理装置及びプログラム
WO2012004847A1 (ja) クロマトグラム表示処理装置
JP2007040905A (ja) クロマトグラフデータ処理装置
JP5954497B2 (ja) クロマトグラフ用データ処理装置及びデータ処理方法
JP5265102B2 (ja) 表示制御装置、表示制御方法、および、表示制御プログラム
JP6686792B2 (ja) 分析データ表示処理装置
JP2014032133A (ja) マニュアルベースライン処理方法
JP2010127874A (ja) X線分析の測定条件設定方法及びx線分析装置
JP2018040655A (ja) 質量分析用データ処理装置
JP3798158B2 (ja) 液体クロマトグラフ装置
JP2010256375A (ja) クロマトグラフデータ処理装置
JP4682682B2 (ja) クロマトグラフ用データ処理装置

Legal Events

Date Code Title Description
A621 Written request for application examination

Free format text: JAPANESE INTERMEDIATE CODE: A621

Effective date: 20100928

RD02 Notification of acceptance of power of attorney

Free format text: JAPANESE INTERMEDIATE CODE: A7422

Effective date: 20100928

A977 Report on retrieval

Free format text: JAPANESE INTERMEDIATE CODE: A971007

Effective date: 20111124

A131 Notification of reasons for refusal

Free format text: JAPANESE INTERMEDIATE CODE: A131

Effective date: 20111206

A521 Written amendment

Free format text: JAPANESE INTERMEDIATE CODE: A523

Effective date: 20120203

A131 Notification of reasons for refusal

Free format text: JAPANESE INTERMEDIATE CODE: A131

Effective date: 20120417

TRDD Decision of grant or rejection written
A01 Written decision to grant a patent or to grant a registration (utility model)

Free format text: JAPANESE INTERMEDIATE CODE: A01

Effective date: 20120821

A01 Written decision to grant a patent or to grant a registration (utility model)

Free format text: JAPANESE INTERMEDIATE CODE: A01

A61 First payment of annual fees (during grant procedure)

Free format text: JAPANESE INTERMEDIATE CODE: A61

Effective date: 20120903

R151 Written notification of patent or utility model registration

Ref document number: 5092971

Country of ref document: JP

Free format text: JAPANESE INTERMEDIATE CODE: R151

FPAY Renewal fee payment (event date is renewal date of database)

Free format text: PAYMENT UNTIL: 20150928

Year of fee payment: 3