JP2010030598A - ワイパブレード - Google Patents

ワイパブレード Download PDF

Info

Publication number
JP2010030598A
JP2010030598A JP2009258275A JP2009258275A JP2010030598A JP 2010030598 A JP2010030598 A JP 2010030598A JP 2009258275 A JP2009258275 A JP 2009258275A JP 2009258275 A JP2009258275 A JP 2009258275A JP 2010030598 A JP2010030598 A JP 2010030598A
Authority
JP
Japan
Prior art keywords
rubber
holding
blade
pair
blade rubber
Prior art date
Legal status (The legal status is an assumption and is not a legal conclusion. Google has not performed a legal analysis and makes no representation as to the accuracy of the status listed.)
Granted
Application number
JP2009258275A
Other languages
English (en)
Other versions
JP4878641B2 (ja
Inventor
Takeshi Machida
健 町田
Susumu Fujiwara
将 藤原
Tatsu Ikezawa
龍 池澤
Jun Abe
純 阿部
Yasuo Ohashi
弥寿夫 大橋
Mineya Fukushi
美音也 福士
Yukiho Murata
行帆 村田
Current Assignee (The listed assignees may be inaccurate. Google has not performed a legal analysis and makes no representation or warranty as to the accuracy of the list.)
Mitsuba Corp
Original Assignee
Mitsuba Corp
Priority date (The priority date is an assumption and is not a legal conclusion. Google has not performed a legal analysis and makes no representation as to the accuracy of the date listed.)
Filing date
Publication date
Application filed by Mitsuba Corp filed Critical Mitsuba Corp
Priority to JP2009258275A priority Critical patent/JP4878641B2/ja
Publication of JP2010030598A publication Critical patent/JP2010030598A/ja
Application granted granted Critical
Publication of JP4878641B2 publication Critical patent/JP4878641B2/ja
Anticipated expiration legal-status Critical
Expired - Fee Related legal-status Critical Current

Links

Images

Abstract

【課題】ワイパブレードの構成を簡略化し、ラバーホルダへのブレードラバーの組み込み作業を容易にし、意匠性を高め、また、その両端部における払拭性能を高めることである。
【解決手段】ワイパブレード11はブレードラバー16とラバーホルダ15とを有している。ラバーホルダ15の長手方向の両端部には一対の保持部31,32が設けられ、保持部31はブレードラバー16の保持溝に設けられたストッパ部に係合する保持爪を有し、保持部32はブレードラバー16の保持溝にスライド自在に係合する保持爪を有しており、これらの保持部31,32の2点においてラバーホルダ15はブレードラバー16に連結される。ブレードラバー16には板ばね部材が装着され、板ばね部材は、自然状態において、ラバーホルダ15の2つの保持部31,32の間でウインドガラス13に向けて湾曲している。
【選択図】図4

Description

本発明は車両のワイパアームに取り付けられて車両のウインドガラスを払拭するワイパブレードに関する。
一般に、車両に設けられるワイパ装置のなかには、先端に窓面を払拭するリップ部を備えたブレードラバーと、前記ブレードラバーのヘッド部に設けられ、リップ部が窓面に密着するよう付勢する板ばね部材とを備えてなるワイパブレードを、長手方向中間部においてワイパアームに連結して構成したものがある。このように、ワイパブレードを長手方向一箇所においてワイパアームに連結した場合、ワイパアームが有するワイパブレードの窓面押圧力は、ワイパブレードの連結部を介して長手方向両端部に分散される。しかるに、ワイパアームによる窓面押圧力は、ワイパブレードのワイパアームとの連結部を基準として端部に至るほど小さくなってしまい、均一になりにくく払拭ムラができてしまうという問題がある。
この改善策として、ブレードラバーの長手方向二箇所に連結されるラバーホルダ(ヨーク)を介してブレードラバーをワイパアームに連結する構成とし、ワイパアームの押圧力をブレードラバーの二箇所に作用せしめ、ワイパアームの長手方向両端部への押圧力が大きくなるようにすることが提唱されている。
実公平5−6216号公報
ところが、前記従来のものは、ラバーホルダとブレードラバーとの二箇所の連結部をピボット連結部としており、具体的には、ワイパブレードを構成する本体部材の長手方向二箇所において、窓面から離れる方向に突出する連結部に支持されるピン軸を、ラバーホルダの連結部に形成した長孔に挿通させることにより連結する構成となっている。そして、ワイパアームに設けた付勢弾機によるワイパブレードを窓面側に押圧する押圧力は、本体部材よりも窓面から離れる部位に位置するピン軸を介してブレードラバーに伝達されることになる。このため、ワイパアームによる押圧力は、本体部材を介してブレードラバーに達するとともに、揺動支点についても本体部材よりも外方でなされ、その分、ブレードラバーの窓面への密着性が劣り、ワイパブレードの両端部における払拭性能が低下するという問題がある。また、このものでは、ブレードラバーとラバーホルダとのあいだにブレード長方向に長い隙間が形成されており、このため、意匠性に劣るという問題がある。
さらに、このものでは、ラバーホルダとブレードラバーとは、二箇所においてそれぞれ別個に連結される構成であるため、連結作業が面倒かつ煩雑になってしまうという問題もあり、これらに本発明の解決すべき課題がある。
本発明のワイパブレードは、車両のウインドガラスを払拭するワイパブレードであって、前記ウインドガラスの表面を払拭するリップ部と、一対の装着溝が形成されネック部を介して前記リップ部に連結されるヘッド部と、前記リップ部と前記ヘッド部との間に設けられそれぞれストッパ部が設けられる一対の保持溝とを備えたブレードラバーと、弾性を有し、それぞれ前記ブレードラバーの前記装着溝に装着される一対の板ばね部材と、一対の側壁部と前記側壁部を互いに連結する天壁部とを備え、それぞれ前記側壁部に設けられ前記保持溝内に配置される一対の保持爪を備えた2つの保持部において前記ブレードラバーの前記ヘッド部を保持するラバーホルダとを有し、前記ブレードラバーの一方の前記保持部の前記一対の保持爪がそれぞれ前記一対のストッパ部に配置され、前記板ばね部材は、前記ラバーホルダの2つの前記保持部の間で前記ウインドガラスに向けて湾曲していることを特徴とする。
本発明のワイパブレードは、車両のウインドガラスを払拭するワイパブレードであって、前記ウインドガラスの表面を払拭するリップ部と、一対の装着溝が形成されネック部を介して前記リップ部に連結されるヘッド部と、前記リップ部と前記ヘッド部との間に設けられそれぞれストッパ部が設けられる一対の保持溝とを備えたブレードラバーと、弾性を有し、それぞれ前記ブレードラバーの前記装着溝に装着される一対の板ばね部材と、一対の側壁部と前記側壁部を互いに連結する天壁部とを備え、それぞれ前記側壁部に設けられ前記保持溝内に配置される一対の保持爪を備えた2つの保持部において前記ブレードラバーの前記ヘッド部を保持するラバーホルダとを有し、前記ブレードラバーの一方の前記保持部の前記一対の保持爪がそれぞれ前記一対のストッパ部に配置され、前記板ばね部材は、前記ブレードラバーが前記ラバーホルダの2つの前記保持部の間で前記ウインドガラスに向けて変形するように、長手方向の中間部が前記ウインドガラスに向けて湾曲していることを特徴とする。
本発明のワイパブレードは、車両のウインドガラスを払拭するワイパブレードであって、前記ウインドガラスの表面を払拭するリップ部と、一対の装着溝が形成されネック部を介して前記リップ部に連結されるヘッド部と、前記リップ部と前記ヘッド部との間に設けられそれぞれストッパ部が設けられる一対の保持溝とを備えたブレードラバーと、弾性を有し、それぞれ前記ブレードラバーの前記装着溝に装着される一対の板ばね部材と、一対の側壁部と前記側壁部を互いに連結する天壁部とを備え、それぞれ前記側壁部に設けられ前記保持溝内に配置される一対の保持爪を備えた2つの保持部において前記ブレードラバーの前記ヘッド部を保持するラバーホルダとを有し、前記ブレードラバーの一方の前記保持部の前記一対の保持爪がそれぞれ前記一対のストッパ部に配置され、前記板ばね部材は、自然状態においては、前記ラバーホルダの2つの前記保持部の間に位置する部分と前記ラバーホルダの2つの前記保持部より外側に位置する部分とで曲率が相違し、前記ブレードラバーの両端が前記ウインドガラスのガラス面に接触してから該ガラス面に完全にセットされるまでの間においては、前記ブレードラバーがM字形状となるように前記ラバーホルダの2つの前記保持部の間で前記ウインドガラスに向けて湾曲することを特徴とする。
本発明によれば、ワイパブレードの構成の簡略化が果せ、かつ、ラバーホルダへのブレードラバーの組み込み作業が容易になるうえ、ブレードラバーのヘッド部の長手方向中間部がラバーホルダによって囲まれるため、意匠性に優れる。また、ワイパブレードのウインドガラスへの追随性を向上できる。
本発明の一実施の形態であるワイパブレードの使用状態を示す斜視図である。 図1におけるA−A線に沿う断面図である。 (a)、(b)はそれぞれ図1に示すラバーホルダの保持部の詳細を示す説明図である。 図1に示すワイパブレードがウインドガラスに接する際のブレードラバーの形状の変化を示す説明図である。 図1に示すブレードラバーの先端部分の詳細を示す斜視図である。 図5におけるA−A線に沿う断面図である。 図5に示すキャップをブレードラバーから取り外した状態を示す分解斜視図である。 図5に示すキャップをブレードラバーから取り外した状態を示す分解斜視図である。 (a)はキャップをブレードラバーに装着する前の係合部分の詳細を示す断面図であり、(b)は、キャップがブレードラバーに装着されたときの係合部分の詳細を示す断面図である。 図7に示すブレードラバーの変形例を示す斜視図である。 図10に示すブレードラバーにキャップを装着したときの係合部分の詳細を示す断面図である。 図1に示すワイパブレードの変形例を示す斜視図である。 図12に示すワイパブレードの分解斜視図である。 図12に示すカバーとラバーホルダとの連結構造の変形例を示す分解斜視図である。 図12に示すカバーとラバーホルダとの連結構造の変形例を示す分解斜視図である。 図15に示すカバーをラバーホルダに連結した状態を示す断面図である。 図12に示すカバーとラバーホルダとの連結構造の変形例を示す分解斜視図である。 図17に示すカバーをラバーホルダに連結した状態を示す斜視図である。 図1に示すワイパブレードの変形例を示す斜視図である。 図1に示すワイパブレードの変形例を示す斜視図である。 図1に示すワイパブレードの変形例を示す斜視図である。 図1に示すワイパブレードの変形例を示す斜視図である。
以下、本発明の実施の形態を図面に基づいて詳細に説明する。
図1は本発明の一実施の形態であるワイパブレードの使用状態を示す斜視図であり、図1に示すワイパブレード11は車両12のフロントウインドガラス13(以下、ウインドガラス13とする)に付着する雨水や前車の飛沫などの付着物を払拭するために設けられている。
このワイパブレード11は、車両12に揺動自在に設けられるワイパアーム14の先端に取り付けられるラバーホルダ15とラバーホルダ15に保持されるブレードラバー16とを有しており、ブレードラバー16はラバーホルダ15を介してワイパアーム14の押え力が加えられることによりウインドガラス13に弾圧的に接触している。そして、図示しないワイパモータによりワイパアーム14が駆動されると、ワイパブレード11はワイパアーム14とともにウインドガラス13上を揺動運動してガラス面を払拭する。
図2は図1におけるA−A線に沿う断面図であり、図3(a)、(b)はそれぞれ図1に示すラバーホルダの保持部の詳細を示す説明図である。
図2に示すように、このワイパブレード11に用いられるブレードラバー16は天然ゴムあるいは合成ゴムなどを材料として、ヘッド部21とヘッド部21に連なる連結部22およびリップ部23を備えた長手方向に一様断面の棒状に形成され、リップ部23においてウインドガラス13に接触するようになっている。リップ部23は連結部22やリップ部23よりも払拭方向の幅が狭く形成されたネック部24を介して連結部22に連結されており、これによりリップ部23はヘッド部21や連結部22に対して払拭方向に傾動自在とされている。
ヘッド部21の払拭方向の両側部には、それぞれ払拭方向に凹む装着溝25が形成されている。これらの装着溝25は、それぞれヘッド部21の長手方向の一端から他端に達するように長手方向に延びて形成されており、また、各装着溝25は隔壁部26により互いに隔離された状態で払拭方向に並べて配置されている。そして、これらの装着溝25にはそれぞれ板ばね部材(バーティブラ)27が装着されている。
板ばね部材27は鋼板等の板材を打ち抜き加工することによりブレードラバー16と同程度の長さ寸法の平板状に形成されており、ウインドガラス13に垂直な方向に弾性変形自在となっている。したがって、板ばね部材27が装着されたブレードラバー16は板ばね部材27と一体的にウインドガラス13に垂直な方向つまりガラス面に対する湾曲度合いを変化させる方向に弾性変形自在とされている。また、板ばね部材27は自然状態ではその弾性変形自在な方向に向けてウインドガラス13の曲率より強く湾曲しており、これにより板ばね部材27が装着されたブレードラバー16もウインドガラス13から離れた状態ではウインドガラス13よりも強く湾曲している。
なお、図示する場合では、鋼板により形成された板ばね部材27を用いているが、これに限らず、たとえば硬質の樹脂等により形成された板ばね部材など、ウインドガラス13に垂直な方向に弾性変形自在なものであれば、他の材料により形成された板ばね部材を用いてもよい。
一方、ラバーホルダ15は樹脂材料により天壁部15aと、天壁部15aにより互いに連結され長手方向に略平行に延びる一対の側壁部15bとを備えた断面U字形状に形成され、その軸方向の長さ寸法はブレードラバー16の半分程度とされている。天壁部15aの長手方向のほぼ中間部には取付部28が設けられており、ラバーホルダ15はこの取付部28においてワイパアーム14の先端に取り付けられる。ブレードラバー16をラバーホルダ15に装着したときには、ブレードラバー16のヘッド部21の上面はラバーホルダの天壁部15aにより覆われ、ヘッド部21の左右側面(払拭方向の両側部)はその長手方向に亘って両側壁部15bにより覆われ、つまり、ブレードラバー16のヘッド部21の長手方向の中間部分はラバーホルダにより囲まれる。これにより、ブレードラバー16がウインドガラス13に当接した際に、ラバーホルダ15とブレードラバー16との間に長手方向に延びる隙間が形成されることがなく、意匠性に優れたものとなっている。
なお、ラバーホルダ15は樹脂製に限らず、金属材等を用いて成形したものであってもよい。
ラバーホルダ15の長手方向の一端(ワイパブレード11をワイパアーム14に取り付けたときにワイパアーム14の揺動中心に近い側となる端部)には保持部31が設けられ、ラバーホルダ15の長手方向の他端には保持部32が設けられている。
図3(a)に示すように、第1の連結手段としての保持部31は、それぞれ側壁部15bと一体に形成される一対の第1保持爪33(以下、保持爪33とする。また、図中は一方側のみを示すが他方側も同様の保持爪33が設けられる。)を有しており、これらの保持爪33はブレードラバー16の長手方向に直交し且つ払拭方向に平行な方向に向けて側壁部15bから突出する断面矩形の突起状に形成されている。一方、ブレードラバー16のヘッド部21とリップ部23との間には、ヘッド部21と連結部22に形成されたアーム部34とにより区画されて一対の保持溝35が長手方向に延びて形成されており、各保持爪33はそれぞれ対応する保持溝35の内部に配置されている。つまり、ブレードラバー16のヘッド部21は保持爪33と両側壁部15bと天壁部15aとの間に囲まれており、これによりヘッド部21は保持部31により保持されている。
また、ブレードラバー16には、それぞれ保持溝35に位置して一対のストッパ部36が設けられており、保持部31に設けられる保持爪33はこれらのストッパ部36に配置されている。図3(a)に示すように、ストッパ部36はそれぞれ保持溝35内に突出する一対の凸部36a,36bを有しており、これらの凸部36a,36bは長手方向に所定の間隔を空けて並んでいる。保持部31の各保持爪33はそれぞれ対応するストッパ部36の一対の凸部36a,36bの間に挟み込まれるように配置され、これによりブレードラバー16に対して保持溝35に沿う方向への移動が規制されている。つまり、ブレードラバー16は保持部31においては長手方向への位置決めが成された状態でラバーホルダ15に連結つまり保持されている。
同様に、図3(b)に示すように、第2の連結手段としての保持部32は、それぞれ側壁部15bと一体に形成される一対の第2保持爪37(以下、保持爪37とする。また、図中は一方側のみを示すが他方側も同様の保持爪37が設けられる。)を有しており、これらの保持爪37はブレードラバー16の長手方向に直交し且つ払拭方向に平行な方向に向けて側壁部15bから突出する断面矩形の突起状に形成されている。各保持爪37はそれぞれ対応する保持溝35の内部に配置され、これによりブレードラバー16のヘッド部21は保持爪37と両側壁部15bと天壁部15aとの間に囲まれて保持部32により保持されている。つまり、保持溝35の保持部32に対応する部分にはストッパ部36a,36bは設けられておらず、ブレードラバー16は、保持爪37が保持溝35に沿って移動自在となった状態でラバーホルダ15に連結つまり保持されている。
図4(a)〜(d)は、それぞれ図1に示すワイパブレード11がウインドガラス13に接する際のブレードラバー16の形状の変化を示す説明図であり、このワイパブレード11はブレードラバー16がウインドガラス13に接触していないときには、図4(a)に示すように、ブレードラバー16はウインドガラス13の払拭範囲における最大曲率よりもさらに大きな曲率でガラス面に向けて閉じる方向に湾曲している。この状態からワイパブレード11をウインドガラス13にセットすると、まずブレードラバー16の長手方向の両端部がガラス面に接触する。ブレードラバー16の両端部がガラス面に接触した状態でラバーホルダ15を介してワイパアーム14の押え力(図中矢印で示す)がブレードラバー16に加えられると、図4(b)に示すように、ブレードラバー16は長手方向の中央部がガラス面に接触するようにM字形状に変形する。このとき、ブレードラバー16は保持部31においてはラバーホルダ15に対する軸方向の移動が規制され、保持部32においては軸方向への移動が許容されているので、ワイパアーム14からの押え力が増加するに伴ってブレードラバー16はガラス面に沿って変形することができる。そして、図4(c)に示すように、ブレードラバー16は次第にガラス面に沿う状態となるように変形し、ガラス面に完全にセットされたときには、図4(d)に示すように、ワイパアーム14からの押え力により長手方向全体がガラス面に接触する払拭姿勢となる。このとき、ブレードラバー16と同様に板ばね部材27もガラス面に沿う形状に弾性変形するので、取付部28を介してラバーホルダ15に加えられるワイパアーム14の押え力は板ばね部材27の弾性変形によりブレードラバー16の長手方向に分散され、ブレードラバー16は長手方向に均一な分布圧でウインドガラス13に接触する。したがって、ブレードラバー16を長手方向全体が均一にウインドガラス13に接触した状態で払拭動作させて、良好な払拭性を発揮することができる。
このように、このワイパブレード11ではブレードラバー16はラバーホルダ15の長手方向の両端部に保持部31,32を設け、これらの保持部31,32の2点においてブレードラバー16を保持するようにしている。したがって、ワイパアーム14からの押え力が取付部28を介してラバーホルダ15に加えられると、その押え力はラバーホルダ15の両端部分の2点、つまり各保持部31,32と各保持部31,32に対応する天壁部15aの両端部分から、ブレードラバー16をその長さが略同じになるように長手方向に四分割し、その両側の2箇所(ブレードラバー16の端部からそれぞれ全長の約1/4だけ離れた位置)に加えられ、その2箇所の押圧位置から長手方向に均等に押圧力が分布されることになる。したがって、ウインドガラス13に対してブレードラバー16を均等な分布圧で弾圧的に押圧することができ、これにより、ブレードラバー16に装着される板ばね部材27の板厚や幅を長手方向で変化させなくても、ガラス面に均等にブレードラバー16を押圧することができる。また、ブレードラバー16はラバーホルダ15の一方の保持部32に対してスライド移動が許容されているので、ブレードラバー16のウインドガラス13への押え力をさらに均一とすることができる。さらに、ラバーホルダ15をブレードラバー16に外嵌させ、ブレードラバー16をラバーホルダ15に対して長手方向にスライドさせることにより、ブレードラバー16をラバーホルダ15に組み込むことができるので、このワイパブレード11の構成の簡略化が図れるとともに、組み込み作業が容易になって作業性を向上させることができる。さらに、ラバーホルダ15がブレードラバー16を外側から覆うように組み込まれており、ブレードラバー16がガラス面に接触したときにラバーホルダ15とブレードラバー16との間に隙間が形成されることがないので、このワイパブレード11の意匠性つまり美観を高めることができる。
また、このワイパブレード11では、ブレードラバー16は板ばね部材27よりもウインドガラス13側に位置する保持爪33,37により保持されるので、ブレードラバー16のガラス面方向への揺動がよりウインドガラス13に近い部位を支軸としてなされて、ブレードラバー16のウインドガラス13への密着性が向上し、払拭性能が優れ、しかも、意匠性に優れたワイパブレードとすることができる。
さらに、このワイパブレード11では、ブレードラバー16に形成される保持溝35とストッパ部36およびラバーホルダ15に形成される一対の保持爪33,37により組み付け構造が構成されるので、このワイパブレード11の構成を簡略化できるとともに、部品点数を削減することができる。
さらに、このワイパブレード11では、保持爪33,37は、それぞれラバーホルダ15の側壁部15bに一対ずつ形成され、これらがブレードラバー16の払拭方向の両側に形成された保持溝35に係合する構造となっているので、ブレードラバー16に捻れが生じても、ブレードラバー16のスライド移動や揺動作動が円滑になされ、払拭性を確保することができる。なお、板ばね部材27としては、その曲率が長手方向に一定のものに限らず、図4(a)に示す状態(自然状態)において、ラバーホルダ15の両端の間に位置する部分とラバーホルダ15の両端より外側に位置する部分とで相違するように、板ばね部材27の曲率を長手方向で相違させるようにしてもよい。
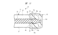
図5は図1に示すブレードラバーの先端部分の詳細を示す斜視図であり、図6は図5におけるA−A線に沿う断面図であり、図7、図8は、それぞれ図5に示すキャップをブレードラバーから取り外した状態を示す分解斜視図である。また、図9(a)はキャップをブレードラバーに装着する前の係合部分の詳細を示す断面図であり、図9(b)は、キャップがブレードラバーに装着されたときの係合部分の詳細を示す断面図である。
各保持部31,32においては、ラバーホルダ15の側壁部15bによりヘッド部21の装着溝25が閉塞され、これにより、装着溝25に装着される各板ばね部材27は装着溝25内に保持される。また、これに加えて、このワイパブレード11では、図5に示すように、ブレードラバー16の長手方向の両先端部にキャップ41を装着し、このキャップ41によりブレードラバー16の両先端部分を覆って板ばね部材27の長手方向の両先端部を装着溝25内に保持するようにしている。
なお、本実施の形態においては、ブレードラバー16の両先端部分にそれぞれキャップ41が装着されているが、これらのキャップ41は同様の構造となっているので、以下には一方のキャップ41についてのみ説明する。
図5、図6から解るように、このキャップ41は樹脂材料により、天壁部41aと下壁部41b、一対の側壁部41cおよび端壁部41dを備えたキャップ状に形成されており、ブレードラバー16のヘッド部21の長手方向の両先端部にそれぞれ装着されている。
一方、図7、図8に示すように、ブレードラバー16のヘッド部21の先端部には装着部42が設けられている。この装着部42は払拭方向の幅寸法がヘッド部21の本体部分よりも狭く形成されており、これに合わせて板ばね部材27の先端部分の幅寸法も装着部42と同様に狭く形成されている。また、装着部42においてはヘッド部21の装着溝25より上側の部分は削られており、これにより装着部42においては板ばね部材27の表面と装着溝25を隔てる隔壁部26とが露出している。さらに、装着部42の先端には隔壁部26に連なるとともに板ばね部材27の先端部に当接するブロック状の当接部43が形成されており、この当接部43により装着部42が補強されている。
図8に示すように、キャップ41の下壁部41bには開口側から端壁部41d側に向けて延びる係合溝44が形成されている。図9(a)に示すように、この係合溝44の幅を狭めるように下壁部41bには係合部としての一対の係合突起45が形成され、これらの係合突起45はそれぞれブレードラバー16の長手方向に直角な係止面45aを備えている。
これに対して、図6に示すように、ブレードラバー16の装着部42に対応する部分の保持溝35の内部には被係合部としての一対の凹溝46が形成されている。図9(a)に示すように、凹溝46はそれぞれブレードラバー16の拭方向に向けて凹んで形成されており、それぞれブレードラバー16の長手方向に直角な被係止面46aを備えている。また、図6に示すように、凹溝46は保持溝35を形成するヘッド部21の下面からアーム部34にまで延びて形成されており、つまり、その上下方向の両端部はヘッド部21あるいはアーム部34により閉塞されている。
図9(b)に示すように、ブレードラバー16の当接部43がキャップ41の底面(端壁部41dの内面)に当接するまで、キャップ41をブレードラバー16の先端部側から装着部42に押し込むと、キャップ41の係合突起45の係止面45aと凹溝46の被係止面46aとが係合し、これによりキャップ41は装着部42から外れる方向への移動が規制される。また、図6に示すように、装着部42はキャップ41の天壁部41aの内面に設けられた3つの押さえ板41eと下壁部41bとの間に挟み込まれるとともにキャップ41の両側壁部41cの間にも挟み込まれ、これらにより、キャップ41はブレードラバー16の先端部に固定される。
キャップ41が装着部42に装着されると、各装着溝25に装着された板ばね部材27の先端部はキャップ41の側壁部41cとブレードラバー16の隔壁部26との間に挟み込まれて装着溝25に保持される。したがって、板ばね部材27はその先端部が装着溝25に確実に保持されるとともにキャップ41の内面(内側)に配置されるため、装着溝25からの離脱が防止される。また、このワイパブレード11では、凹溝46はヘッド部21からアーム部34にまで延びて形成されているので、ブレードラバー16に捻れが生じることにより係合突起45が凹溝46に沿って移動した場合であっても、その移動がヘッド部21あるいはアーム部34により規制されて係合突起45が凹溝46から外れることがない。したがって、係合突起45を確実に凹溝46に係合させて、キャップ41のブレードラバー16からの離脱を防止することができる。
このように、このワイパブレード11では、キャップ41の係合突起45をブレードラバー16の凹溝46に係合させることによりキャップ41をブレードラバー16に固定するようにしたので、払拭抵抗等によりブレードラバー16や板ばね部材27に捻れが生じた場合であっても、キャップ41を確実にブレードラバー16に係合させて、ブレードラバー16からのキャップ41の離脱を防止することができる。
一方、キャップ41の天壁部41aはその厚みが装着部42とヘッド部21の本体部分との厚み寸法の差と合うように形成され、側壁部41cはその厚みが装着部42とヘッド部21の本体部分との段差に合うように形成されており、これにより装着部42に装着されたキャップ41の外面はブレードラバー16の払拭方向の両側面および天面(ヘッド部21のウインドガラス13とは反対側を向く面)に対して面一とされている。したがって、キャップ41の外形はブレードラバー16の外形から突出することがなく、キャップ41とブレードラバー16との一体感が増加される。
このように、このワイパブレード11では、キャップ41の外面をブレードラバー16の天面や両側面に対して面一に形成するようにしたので、キャップ41とブレードラバー16の一体感を増加させてワイパブレード11の美観を向上させることができる。
また、このワイパブレード11では、装着部42の先端にブロック状の当接部43を設けるようにしたので、キャップ41とブレードラバー16の外面とを面一に設定するために装着部42の幅寸法や厚み寸法をヘッド部21の本体部分よりも狭く形成した場合であっても、この当接部43により装着部42を補強してブレードラバー16の先端部の破損を防止することができる。
図10は図7に示すブレードラバーの変形例を示す斜視図であり、図11は図10に示すブレードラバーにキャップを装着したときの係合部分の詳細を示す断面図である。
図7に示すブレードラバー16では、その先端部に設けられる装着部42を、払拭方向の幅寸法がヘッド部21の幅寸法より狭く形成されるとともにヘッド部21の装着溝25より上側の部分が削られた形状とし、これによりキャップ41の外面をブレードラバー16の天面や両側面に対して面一に形成するようにしているが、これに限らず、図10に示すブレードラバー51のように、ヘッド部21をそのまま延長した外形に装着部42を形成するようにしてもよい。この場合、図11に示すように、ブレードラバー51にキャップ41が装着されると、キャップ41の外形がブレードラバー51の外形より突出した状態となる。
このブレードラバー51では、装着部42の幅寸法はヘッド部21と同一とされるとともに装着溝25より上側の部分も削られず、また、装着部42の先端部全体が当接部43とされるので、装着部42の強度がさらに増加することになる。したがって、キャップ41を交換等のためにブレードラバー51から外すときに、キャップ41との摩擦により隔壁部26等が変形して、キャップ41とともに板ばね部材27もが装着溝25から外れてしまうことを防止することができる。
図12は図1に示すワイパブレードの変形例を示す斜視図であり、図13は図12に示すワイパブレードの分解斜視図である。
図10に示すようなブレードラバー51を用いた場合には、キャップ41の外形がブレードラバー51の外形より突出する。そのため、図12に示すワイパブレード61では、ラバーホルダ15とキャップ41との間にカバー62を装着してワイパブレード61の美観を向上させるようにしている。
カバー62は天壁部62aと一対の側壁部62bとを有する断面コの字形状に形成され、その長手方向の両端部にはそれぞれラバーホルダ15と同様な図示しない保持爪が形成される。そして、これらの保持爪を保持溝35に係合させることにより、カバー62はラバーホルダ15に対してウインドガラス13に垂直な方向に揺動可能な状態でブレードラバー51に装着される。
ブレードラバー51がウインドガラス13に接触した状態になると、カバー62の天壁部62aの外面はラバーホルダ15の天壁部15aとキャップ41の天壁部41aとに面一となり、また、カバー62の側壁部62bはそれぞれ対応するラバーホルダ15とキャップ41の側壁部15b,41cと面一になる。したがって、ラバーホルダ15とキャップ41の間にカバー62を装着することにより、ラバーホルダ15からカバー62を介してキャップ41に至るまでの形状の一体感が増し、このワイパブレード61の美観を向上させることができる。
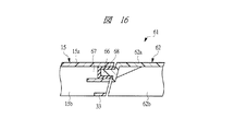
なお、カバー62の装着方法としては、保持爪を保持溝35に係合させる構造に限らず、たとえば図14に示すように、保持爪に替えてカバー62のラバーホルダ側の一端に側壁部62bの内面から突出する突出部63を設け、ラバーホルダ15の端部に係合凹部64を備えた係合ボス65を設け、突出部63を係合凹部64に係合させることによりカバー62をラバーホルダ15に回動自在に連結するようにしてもよい。また、図15,16に示すように、保持爪に替えてカバー62のラバーホルダ15側の一端に係合突起66を設け、ラバーホルダ15の端部にカバー62に向けて開口する係合孔67を設け、係合突起66をゴムカバー68を装着した状態で係合孔67に係合させることにより、カバー62をラバーホルダ15に回動自在に連結するようにしてもよい。さらに、図17,18に示すように、保持爪に替えてカバー62のラバーホルダ15側の一端に一対の脚部71を設け、ラバーホルダ15の端部に天壁部15aからウインドガラス13に向けて突出する係合駒72を設け、係合駒72と側壁部15bとの間に脚部71を配置するとともに、脚部71に設けられた係合凹部73(図中には一方の脚部71についてのみ示すが他方の脚部71にも同様な係合凹部73が設けられる)を係合駒72に設けられた突起部74(図中には一方側のみを示すが他方側にも同様な突起部74が設けられる)に係合させて、カバー62をラバーホルダ15に回動自在に連結するようにしてもよい。
図19〜図22は、それぞれ図1に示すワイパブレードの変形例を示す斜視図である。
図1に示すワイパブレード11では、そのブレードラバー16の長手方向の両先端部にキャップ41を装着していたばね部材27を装着溝25に保持するようにしているが、これに限らず、図19に示すワイパブレード81のように、ブレードラバー16の両先端部にキャップ41を設けない構造としてもよい。この場合、板ばね部材27をクリップや接着等により装着溝25内に保持するようにしてもよい。
また、図1に示すワイパブレード11では、ラバーホルダ15の天壁部15aの長手方向のほぼ中間部に取付部28を設け、この取付部28においてワイパブレード11をワイパアーム14に取り付けるようにしているが、これに限らず、例えば、図20に示すワイパブレード82のように、ラバーホルダ15のいずれか一方の側壁部15bに取付部28を設けるようにしてもよい。
さらに、図21に示すワイパブレード83のように、ラバーホルダ15に、車両12の高速走行時におけるワイパブレード11の浮き上がりを防止するためのフィン84を設けるようにしてもよい。従来、ブレードラバーに板ばね部材が装着されるワイパブレードでは、浮き上がり防止のフィンは板ばね部材に一体形成されていたが、図21に示すワイパブレード83のように、ワイパアーム14との連結に必要なラバーホルダ15にフィン84を設けることにより、フィン84を払拭方向に突出して設けることができ、ブレードラバー16のガラス面離接方向の厚さを薄いままにすることができ、意匠的に優れる。ここで、ラバーホルダ15は樹脂材等を用いて一体型成形することにより形成されているので、フィン84の形成が容易であるばかりでなく、仕様に応じて種々の形状に対応することが可能となる。
さらに、このワイパブレード83は、内装される板ばね部材(図示せず)の付勢力により、ブレードラバー16をガラス面から離間させた自然状態において、長手方向中間部がガラス面側に湾曲するM型形状に形成されている。そして、このものでも、ラバーホルダ15とブレードラバー16とを、前記各実施の形態と同様に保持部31,32を介して連結すること、ブレードラバー16をM型形状にすることの両者により、ブレードラバー16のウインドガラス13との密着性が一層向上し、払拭性能の優れたワイパブレード83とすることができる。
さらに、図22に示すワイパブレード85のように構成することもできる。このものは、図1に示すワイパブレード11と同様の構成のラバーホルダ15に、図21に示すワイパブレード83で用いられているようなM型形状をしたブレードラバー16を連結したものに構成されており、このものでも、ブレードラバー16のガラス面への密着性が一段と優れたワイパブレード85となっている。
なお、図10〜図22においては、前述した部材に対応する部材には同一の符号が付されている。
本発明は前記実施の形態に限定されるものではなく、その要旨を逸脱しない範囲で種々変更可能であることはいうまでもない。たとえば、本実施の形態においては、ワイパブレード11は車両12のフロントウインドガラス13を払拭するものとされているが、これに限らず、車両12のリアウインドガラスなどを払拭するものであってもよい。
また、本実施の形態においては、ラバーホルダ15としては両端に一対の保持部31,32を備えた2点支持式のものが用いられているが、これに限らず、たとえば、板ばね部材27の中間部分を保持することにより板ばね部材27を介してブレードラバー16を保持するタイプのものや、複数のレバーを組み上げたトーナメント式のものなどを用いるようにしてもよい。
さらに、本実施の形態においては、キャップ41には係合突起45が設けられ、ブレードラバー16には係合突起45に係合する凹溝46が設けられているが、これに限らず、キャップ41に凹溝46を設け、ブレードラバー16に係合突起45を設けるようにしてもよい。
さらに、本実施の形態においては、各保持爪33,37は断面矩形に形成されているが、これに限らず、例えば円柱形状や楕円柱形状など、ラバーホルダ15の側壁部15bから突出して保持溝35の内部に配置される形状であれば他の形状であってもよい。
さらに、本発明は、タンデム式、対向払拭式等、様々な形式のワイパ装置に用いられるワイパブレードに適用することができる。
11 ワイパブレード
12 車両
13 フロントウインドガラス
14 ワイパアーム
15 ラバーホルダ
15a 天壁部
15b 側壁部
16 ブレードラバー
21 ヘッド部
22 連結部
23 リップ部
24 ネック部
25 装着溝
26 隔壁部
27 板ばね部材
28 取付部
31,32 保持部
33 保持爪
34 アーム部
35 保持溝
36 ストッパ部
36a,36b 凸部
37 保持爪
41 キャップ
41a 天壁部
41b 下壁部
41c 側壁部
41d 端壁部
41e 押さえ板
42 装着部
43 当接部
44 係合溝
45 係合突起
45a 係止面
46 凹溝
46a 被係止面
51 ブレードラバー
61 ワイパブレード
62 カバー
62a 天壁部
62b 側壁部
63 突出部
64 係合凹部
65 係合ボス
66 係合突起
67 係合孔
68 ゴムカバー
71 脚部
72 係合駒
73 係合凹部
74 突起部
81 ワイパブレード
82,83 ワイパブレード
84 フィン
85 ワイパブレード

Claims (3)

  1. 車両のウインドガラスを払拭するワイパブレードであって、
    前記ウインドガラスの表面を払拭するリップ部と、一対の装着溝が形成されネック部を介して前記リップ部に連結されるヘッド部と、前記リップ部と前記ヘッド部との間に設けられそれぞれストッパ部が設けられる一対の保持溝とを備えたブレードラバーと、
    弾性を有し、それぞれ前記ブレードラバーの前記装着溝に装着される一対の板ばね部材と、
    一対の側壁部と前記側壁部を互いに連結する天壁部とを備え、それぞれ前記側壁部に設けられ前記保持溝内に配置される一対の保持爪を備えた2つの保持部において前記ブレードラバーの前記ヘッド部を保持するラバーホルダとを有し、
    前記ブレードラバーの一方の前記保持部の前記一対の保持爪がそれぞれ前記一対のストッパ部に配置され、
    前記板ばね部材は、前記ラバーホルダの2つの前記保持部の間で前記ウインドガラスに向けて湾曲していることを特徴とするワイパブレード。
  2. 車両のウインドガラスを払拭するワイパブレードであって、
    前記ウインドガラスの表面を払拭するリップ部と、一対の装着溝が形成されネック部を介して前記リップ部に連結されるヘッド部と、前記リップ部と前記ヘッド部との間に設けられそれぞれストッパ部が設けられる一対の保持溝とを備えたブレードラバーと、
    弾性を有し、それぞれ前記ブレードラバーの前記装着溝に装着される一対の板ばね部材と、
    一対の側壁部と前記側壁部を互いに連結する天壁部とを備え、それぞれ前記側壁部に設けられ前記保持溝内に配置される一対の保持爪を備えた2つの保持部において前記ブレードラバーの前記ヘッド部を保持するラバーホルダとを有し、
    前記ブレードラバーの一方の前記保持部の前記一対の保持爪がそれぞれ前記一対のストッパ部に配置され、
    前記板ばね部材は、前記ブレードラバーが前記ラバーホルダの2つの前記保持部の間で前記ウインドガラスに向けて変形するように、長手方向の中間部が前記ウインドガラスに向けて湾曲していることを特徴とするワイパブレード。
  3. 車両のウインドガラスを払拭するワイパブレードであって、
    前記ウインドガラスの表面を払拭するリップ部と、一対の装着溝が形成されネック部を介して前記リップ部に連結されるヘッド部と、前記リップ部と前記ヘッド部との間に設けられそれぞれストッパ部が設けられる一対の保持溝とを備えたブレードラバーと、
    弾性を有し、それぞれ前記ブレードラバーの前記装着溝に装着される一対の板ばね部材と、
    一対の側壁部と前記側壁部を互いに連結する天壁部とを備え、それぞれ前記側壁部に設けられ前記保持溝内に配置される一対の保持爪を備えた2つの保持部において前記ブレードラバーの前記ヘッド部を保持するラバーホルダとを有し、
    前記ブレードラバーの一方の前記保持部の前記一対の保持爪がそれぞれ前記一対のストッパ部に配置され、
    前記板ばね部材は、自然状態においては、前記ラバーホルダの2つの前記保持部の間に位置する部分と前記ラバーホルダの2つの前記保持部より外側に位置する部分とで曲率が相違し、前記ブレードラバーの両端が前記ウインドガラスのガラス面に接触してから該ガラス面に完全にセットされるまでの間においては、前記ブレードラバーがM字形状となるように前記ラバーホルダの2つの前記保持部の間で前記ウインドガラスに向けて湾曲することを特徴とするワイパブレード。
JP2009258275A 2004-06-18 2009-11-11 ワイパブレード Expired - Fee Related JP4878641B2 (ja)

Priority Applications (1)

Application Number Priority Date Filing Date Title
JP2009258275A JP4878641B2 (ja) 2004-06-18 2009-11-11 ワイパブレード

Applications Claiming Priority (3)

Application Number Priority Date Filing Date Title
JP2004180980A JP2007118621A (ja) 2004-06-18 2004-06-18 ワイパ装置
JP2004180980 2004-06-18
JP2009258275A JP4878641B2 (ja) 2004-06-18 2009-11-11 ワイパブレード

Related Parent Applications (1)

Application Number Title Priority Date Filing Date
JP2006514804A Division JP4666685B2 (ja) 2004-06-18 2005-06-17 ワイパブレード

Publications (2)

Publication Number Publication Date
JP2010030598A true JP2010030598A (ja) 2010-02-12
JP4878641B2 JP4878641B2 (ja) 2012-02-15

Family

ID=38142963

Family Applications (3)

Application Number Title Priority Date Filing Date
JP2004180980A Pending JP2007118621A (ja) 2004-06-18 2004-06-18 ワイパ装置
JP2006514804A Expired - Fee Related JP4666685B2 (ja) 2004-06-18 2005-06-17 ワイパブレード
JP2009258275A Expired - Fee Related JP4878641B2 (ja) 2004-06-18 2009-11-11 ワイパブレード

Family Applications Before (2)

Application Number Title Priority Date Filing Date
JP2004180980A Pending JP2007118621A (ja) 2004-06-18 2004-06-18 ワイパ装置
JP2006514804A Expired - Fee Related JP4666685B2 (ja) 2004-06-18 2005-06-17 ワイパブレード

Country Status (2)

Country Link
JP (3) JP2007118621A (ja)
CN (1) CN100577481C (ja)

Cited By (4)

* Cited by examiner, † Cited by third party
Publication number Priority date Publication date Assignee Title
US20100139026A1 (en) * 2008-12-04 2010-06-10 Chin Pech Co., Ltd. Wiper Blade Spoiler Assembly
KR101036579B1 (ko) * 2010-10-27 2011-05-24 주식회사 캐프 와이퍼장치
KR101036577B1 (ko) 2011-01-28 2011-05-24 주식회사 캐프 와이퍼장치
JP2018090231A (ja) * 2016-11-30 2018-06-14 バンドー化学株式会社 ワイパーブレード

Families Citing this family (4)

* Cited by examiner, † Cited by third party
Publication number Priority date Publication date Assignee Title
KR100988456B1 (ko) 2008-11-26 2010-10-20 김인규 와이퍼 블레이드
EP2639120A4 (en) 2010-11-10 2018-02-14 Asmo Co., Ltd. Wiper blade
DE102010062905A1 (de) * 2010-12-13 2012-06-14 Robert Bosch Gmbh Wischblattvorrichtung
DE112014004175T5 (de) 2013-09-11 2016-05-25 Asmo Co., Ltd. Wischerblatt und Verfahren zur Herstellung des Wischerblatts

Citations (3)

* Cited by examiner, † Cited by third party
Publication number Priority date Publication date Assignee Title
JPH056216Y2 (ja) * 1987-02-20 1993-02-17
JPH09164916A (ja) * 1995-12-15 1997-06-24 Aichi Mach Ind Co Ltd ワイパーブレード
JPH09221006A (ja) * 1996-02-15 1997-08-26 Jidosha Denki Kogyo Co Ltd ワイパブレード

Family Cites Families (9)

* Cited by examiner, † Cited by third party
Publication number Priority date Publication date Assignee Title
FR2215048A5 (ja) * 1973-01-19 1974-08-19 Sev Marchal
JPH0454860A (ja) * 1990-06-22 1992-02-21 Hitachi Metals Ltd リニアブラシレス直流モータ
DE19645170A1 (de) * 1996-11-02 1998-05-07 Bosch Gmbh Robert Wischblatt für Scheiben von Kraftfahrzeugen
DE19725083A1 (de) * 1997-06-13 1998-12-17 Itt Mfg Enterprises Inc Wischblatt zum Reinigen von Scheiben an Fahrzeugen
JP2000038118A (ja) * 1998-07-21 2000-02-08 Asmo Co Ltd ワイパブレード
JP4131913B2 (ja) * 2002-04-17 2008-08-13 日本ワイパブレード株式会社 ワイパーブレード用の連結部材
JP2004054860A (ja) * 2002-07-18 2004-02-19 Miyako Nio 図形交差判定システム
JP4202940B2 (ja) * 2003-06-13 2008-12-24 アスモ株式会社 ワイパブレード
JP4308602B2 (ja) * 2003-08-08 2009-08-05 日本ワイパブレード株式会社 ワイパーブレード

Patent Citations (3)

* Cited by examiner, † Cited by third party
Publication number Priority date Publication date Assignee Title
JPH056216Y2 (ja) * 1987-02-20 1993-02-17
JPH09164916A (ja) * 1995-12-15 1997-06-24 Aichi Mach Ind Co Ltd ワイパーブレード
JPH09221006A (ja) * 1996-02-15 1997-08-26 Jidosha Denki Kogyo Co Ltd ワイパブレード

Cited By (4)

* Cited by examiner, † Cited by third party
Publication number Priority date Publication date Assignee Title
US20100139026A1 (en) * 2008-12-04 2010-06-10 Chin Pech Co., Ltd. Wiper Blade Spoiler Assembly
KR101036579B1 (ko) * 2010-10-27 2011-05-24 주식회사 캐프 와이퍼장치
KR101036577B1 (ko) 2011-01-28 2011-05-24 주식회사 캐프 와이퍼장치
JP2018090231A (ja) * 2016-11-30 2018-06-14 バンドー化学株式会社 ワイパーブレード

Also Published As

Publication number Publication date
JPWO2005123471A1 (ja) 2008-04-10
CN101098804A (zh) 2008-01-02
JP2007118621A (ja) 2007-05-17
CN100577481C (zh) 2010-01-06
JP4878641B2 (ja) 2012-02-15
JP4666685B2 (ja) 2011-04-06

Similar Documents

Publication Publication Date Title
JP4878641B2 (ja) ワイパブレード
JP4823072B2 (ja) ワイパブレード
WO2005123471A1 (ja) ワイパブレード
US9096195B2 (en) Windscreen wiper device
KR101433098B1 (ko) 와이퍼 블레이드
JP5123167B2 (ja) ワイパブレード
US20140041143A1 (en) Wiper blade assembly
JP2010519113A (ja) フロントガラス用ワイパー装置
JP6093400B2 (ja) ワイパーブレード
JP2008168796A (ja) 車両用ワイパ装置
US9227599B2 (en) Mounting assembly for wiper blade and wiper arm
JP2007313908A (ja) ワイパブレード
JP4860651B2 (ja) ブレードラバー
JP4837401B2 (ja) ワイパブレード
JP4862732B2 (ja) ワイパーブレード
KR20160071183A (ko) 와이퍼 블레이드
KR101742950B1 (ko) 와이퍼 블레이드
JP2021030858A (ja) ワイパブレード
JP2007091088A (ja) ワイパブレード
JP2007237855A (ja) ワイパブレード
KR101645258B1 (ko) 와이퍼 블레이드
JP2000142327A (ja) ワイパブレードの連結装置
JP2006036131A (ja) ワイパブレード
JP2007203769A (ja) ワイパブレード
JP2002362329A (ja) ワイパブレード

Legal Events

Date Code Title Description
A621 Written request for application examination

Free format text: JAPANESE INTERMEDIATE CODE: A621

Effective date: 20091111

A977 Report on retrieval

Free format text: JAPANESE INTERMEDIATE CODE: A971007

Effective date: 20110824

A131 Notification of reasons for refusal

Free format text: JAPANESE INTERMEDIATE CODE: A131

Effective date: 20110830

A521 Request for written amendment filed

Free format text: JAPANESE INTERMEDIATE CODE: A523

Effective date: 20111020

TRDD Decision of grant or rejection written
A01 Written decision to grant a patent or to grant a registration (utility model)

Free format text: JAPANESE INTERMEDIATE CODE: A01

Effective date: 20111122

A01 Written decision to grant a patent or to grant a registration (utility model)

Free format text: JAPANESE INTERMEDIATE CODE: A01

A61 First payment of annual fees (during grant procedure)

Free format text: JAPANESE INTERMEDIATE CODE: A61

Effective date: 20111128

R150 Certificate of patent or registration of utility model

Ref document number: 4878641

Country of ref document: JP

Free format text: JAPANESE INTERMEDIATE CODE: R150

Free format text: JAPANESE INTERMEDIATE CODE: R150

FPAY Renewal fee payment (event date is renewal date of database)

Free format text: PAYMENT UNTIL: 20141209

Year of fee payment: 3

LAPS Cancellation because of no payment of annual fees