JP2010029036A - モータの回転異常検出回路 - Google Patents

モータの回転異常検出回路 Download PDF

Info

Publication number
JP2010029036A
JP2010029036A JP2008190417A JP2008190417A JP2010029036A JP 2010029036 A JP2010029036 A JP 2010029036A JP 2008190417 A JP2008190417 A JP 2008190417A JP 2008190417 A JP2008190417 A JP 2008190417A JP 2010029036 A JP2010029036 A JP 2010029036A
Authority
JP
Japan
Prior art keywords
signal
output
integrator
motor
level
Prior art date
Legal status (The legal status is an assumption and is not a legal conclusion. Google has not performed a legal analysis and makes no representation as to the accuracy of the status listed.)
Granted
Application number
JP2008190417A
Other languages
English (en)
Other versions
JP5315830B2 (ja
Inventor
Kazumasa Nakai
和政 中井
Masayuki Ota
雅之 太田
Current Assignee (The listed assignees may be inaccurate. Google has not performed a legal analysis and makes no representation or warranty as to the accuracy of the list.)
Mitsubishi Electric Corp
Original Assignee
Mitsubishi Electric Corp
Priority date (The priority date is an assumption and is not a legal conclusion. Google has not performed a legal analysis and makes no representation as to the accuracy of the date listed.)
Filing date
Publication date
Application filed by Mitsubishi Electric Corp filed Critical Mitsubishi Electric Corp
Priority to JP2008190417A priority Critical patent/JP5315830B2/ja
Priority to US12/498,019 priority patent/US8138698B2/en
Publication of JP2010029036A publication Critical patent/JP2010029036A/ja
Application granted granted Critical
Publication of JP5315830B2 publication Critical patent/JP5315830B2/ja
Expired - Fee Related legal-status Critical Current
Anticipated expiration legal-status Critical

Links

Images

Classifications

    • HELECTRICITY
    • H02GENERATION; CONVERSION OR DISTRIBUTION OF ELECTRIC POWER
    • H02PCONTROL OR REGULATION OF ELECTRIC MOTORS, ELECTRIC GENERATORS OR DYNAMO-ELECTRIC CONVERTERS; CONTROLLING TRANSFORMERS, REACTORS OR CHOKE COILS
    • H02P29/00Arrangements for regulating or controlling electric motors, appropriate for both AC and DC motors
    • H02P29/02Providing protection against overload without automatic interruption of supply
    • H02P29/024Detecting a fault condition, e.g. short circuit, locked rotor, open circuit or loss of load
    • H02P29/0241Detecting a fault condition, e.g. short circuit, locked rotor, open circuit or loss of load the fault being an overvoltage

Landscapes

  • Engineering & Computer Science (AREA)
  • Power Engineering (AREA)
  • Control Of Electric Motors In General (AREA)
  • Control Of Motors That Do Not Use Commutators (AREA)

Abstract

【課題】センサレスモータの駆動ドライバからモータの回転異常時にPWM信号だけでなくHレベル固定またはLレベル固定の信号が出力された場合であってもモータの回転異常を検出できるモータの回転異常検出回路を得る。
【解決手段】モータの回転異常検出回路10は、センサレスモータ1の駆動ドライバ2から出力された回転検出信号を積分する第1の積分器31と、この第1の積分器31の積分値に基づく二値化信号と前記回転検出信号との差分を出力する差分器41と、この差分器41の出力信号を積分する第2の積分器51と、この第2の積分器51の積分値と基準電圧V1とを比較することによって異常検出信号を出力する比較器61と、この比較器61の信号を出力する出力端子71を備えたものである。
【選択図】図1

Description

この発明は、モータの回転異常検出回路に関するものである。
従来、モータの回転異常検出回路としては、モータの回転検出器(磁気センサ)の信号に基づいて生成されたモータの回転周期に対応したパルス幅変調(以下「PWM」という)信号を充電回路で充電し、この充電回路の電圧が基準電圧を下回ったときに回転異常を示す警報信号を出力するものがある(例えば、特許文献1参照)。
特開平9−166610号公報(第2頁、図9)
上述のようなモータの回転異常検出回路においては、モータに設けられた回転検出器の信号に基づいて生成されるPWM信号を用いているが、回転検出器をもたないセンサレスモータの場合、PWM信号以外に、モータのロック時または半ロック時にロックのタイミングに応じてハイレベル(以下「Hレベル」という)の固定信号またはローレベル(以下「Lレベル」という)の固定信号が出力される。この内、Hレベルの固定信号が入力されると充電回路の電圧が基準電圧を常に上回る状態になるため、回転異常を示す警報信号が出力されずに異常を正常と判定してしまうという問題があった。
この発明は上記のような問題を解決するためになされたもので、モータのロック時または半ロック時に出力されるHレベルの固定信号に対しても確実に回転異常を検出できるモータの回転異常検出回路を得るものである。
この発明に係るモータの回転異常検出回路は、モータの回転検出信号を積分する第1の積分器と、前記第1の積分器の積分値に基づく二値化信号と前記回転検出信号との差分を出力する差分器と、前記演算手段の出力信号を積分する第2の積分器と、前記第2の積分器の積分値が基準電圧を下回ったときに異常検出信号を出力する信号出力手段とを備えたものである。
この発明によれば、PWM信号だけでなくモータのロックまたは半ロック時に出力される両方の固定信号に対しても確実に回転異常を検出できる信頼性の高いモータの回転異常検出回路を得ることができる。
実施の形態1.
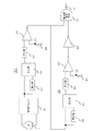
図1はこの発明の実施の形態1におけるモータの回転異常検出回路を示す構成図である。また、図2はこの発明のモータの回転異常検出回路にモータから入力される信号の波形図、図3はこの発明の実施の形態1におけるモータの回転異常検出回路の動作を示す波形図である。
まず、図1を用いて実施の形態1におけるモータの回転異常検出回路の構成を示す。
図1においてモータの回転異常検出回路10は、センサレスモータ1の駆動ドライバ2から出力された回転検出信号を積分する第1の積分器31と、この第1の積分器31の積分値に基づく二値化信号と前記回転検出信号との差分を出力する差分器41と、この差分器41の出力信号を積分する第2の積分器51と、この第2の積分器51の積分値と基準電圧V1とを比較することによって異常検出信号を出力する信号出力手段である比較器61と、この比較器61の信号を出力する出力端子71を備えている。また、比較器61の基準電圧V1を調整するための電圧調整手段81を有している。
第1の積分器31および第2の積分器51は、例えば、抵抗とコンデンサ、またはコイルとコンデンサで構成されたものである。
また、差分器41は、入力信号を二値化してその差分を出力するものであり、例えばE−OR回路や差動入力回路など、排他的論理和素子を用いて2つの入力が異なる場合のみにHレベル信号を出力するように構成されている。さらに、第1の積分器31に充電された直流電圧と、駆動ドライバ2から出力されるPWM信号以外の組み合わせは出力がLレベルとなるように構成されている。
比較器61は、第2の積分器51の積分値が基準電圧V1を上回ったときにHレベル信号を、下回ったときにLレベル信号をそれぞれ出力するように構成されている。また、比較器61の基準電圧V1を調整する調整手段81は、例えば可変電圧器で構成される。
そして、モータの正常回転時には、センサレスモータ1の駆動ドライバ2から図2(a)に示すようなモータの回転周期に対応してHレベル信号とLレベル信号を交互に繰り返すPWM信号が出力される。一方、モータの異常回転(低速回転)時には図2(b)に示すような低速回転の周期に対応したPWM信号がセンサレスモータ1の駆動ドライバ2から出力されるが、モータがロックまたは半ロックされた場合には、ロックのタイミングに応じて図2(c)に示すようなHレベル固定の信号、または図2(d)に示すようなLレベル固定の信号が出力される。
次に実施の形態1におけるモータの回転異常検出回路の動作を説明する。
まず図3(A)を用いて正常回転時の動作を説明する。
モータの正常回転時には、(a)に示すように、モータの回転数に対応したPWM信号が駆動ドライバ2から出力される。この信号は第1の積分器31で積分されるが、第1の積分器31はHレベル信号入力時のみ電荷を充電し、Lレベル信号入力時には電荷を放電するので、第1の積分器31の積分値は(b)に示すような波形となる。
この第1の積分器31の積分値とセンサレスモータ1の駆動ドライバ2から出力される正常回転のPWM信号は差分器41に入力されるが、差分器41は閾値V0以上の電圧をHレベル、閾値V0未満の電圧をLレベルと二値化して認識するので、差分器41はこれらの差分をとることによって(c)に示すようなHレベルとLレベルとが交互に繰り返す波形を出力する。
そして、この差分器41の出力信号は第2の積分器51で積分されるが、第2の積分器51は、第1の積分器31と同様にHレベル信号入力時のみ電荷を充電し、Lレベル信号入力時には電荷を放電するので、第2の積分器51の積分値は(d)に示すような波形となる。
ここで、比較器61の基準電圧V1は、(d)に示すように第2の積分器51の積分値を常に下回るように電圧調整手段81を用いて調整されているので、比較器61からは(e)に示すようなHレベル固定の信号が出力され、その結果、出力端子71からは常にHレベル固定の信号が出力される。
このように、モータの正常回転時には、モータの異常検出回路10の出力端子71からは常にHレベルの信号が出力される。
次に図3(B)〜図3(D)を用いて、モータの回転異常時の動作について説明する。
図3(B)は、センサレスモータ1のロックまたは半ロック時に駆動ドライバ2からHレベル固定の信号が出力された場合の動作を示す図である。
駆動ドライバ2から出力されたHレベル固定の信号(a)は、第1の積分器31で積分される。第1の積分器31にはHレベル固定の信号が入力されるので、第1の積分器31の積分値は(b)に示すようにこの第1の積分器31の飽和電圧に保持される。
次に、差分器41には、第1の積分器31の積分値と、センサレスモータ1の駆動ドライバ2から出力されるHレベル固定の信号とが入力される。差分器41は、閾値V0以上の電圧をHレベル信号と認識するので、(b)に示す第1の積分器31の積分値と、(a)に示すセンサレスモータ1の駆動ドライバ2から出力されるHレベル固定の信号はともにHレベルの信号と認識される。差分器41はこれらの信号の差分をとることによって、(c)に示すようなLレベル固定の波形を出力する。
この差分器41の出力信号は第2の積分器51で積分されるが、差分器41の出力信号はLレベル固定の信号であるので、差分器41の信号を積分する第2の積分器51の積分値は(d)に示すようにその下限電圧に保持される。
したがって、(d)に示すように、この第2の積分器51の積分値は比較器61の基準電圧V1を常に下回ることになり、比較器61からは(e)に示すようなLレベル固定の信号が出力され、その結果、出力端子71からは常にLレベル固定の信号が出力される。
また、図3(C)は、センサレスモータ1のロックまたは半ロック時に駆動ドライバ2からLレベル固定の信号が出力された場合の動作を示す図である。
駆動ドライバ2から出力されたLレベル固定の信号(a)は、第1の積分器31で積分される。第1の積分器31にはLレベル固定の信号が入力されるので、(b)に示すように、第1の積分器31の積分値は下限電圧に保持される。
次に、この第1の積分器31の積分値と、センサレスモータ1の駆動ドライバ2から出力されるLレベル固定の信号は差分器41に入力される。差分器41は、閾値V0未満の電圧をLレベル信号と認識するので、(b)に示す第1の積分器31の積分値と、(a)に示すセンサレスモータ1の駆動ドライバ2から出力されるLレベル固定の信号はともにLレベルの信号と認識される。差分器41はこれらの信号の差分をとることにより(c)に示すようなLレベル固定の波形を出力する。
この差分器41の出力信号は第2の積分器5によって積分されるが、差分器41の出力信号はLレベル固定の信号であるので、第2の積分器51の積分値は(d)に示すように第2の積分器51の下限電圧に保持される。
この第2の積分器51の積分値は、(d)に示すように比較器61の基準電圧V1を常に下回っているので、比較器61からは(e)に示すようなLレベル固定の信号が出力され、出力端子71からは常にLレベル固定の信号が出力される。
また、図3(D)は、異常回転(低速回転)時にセンサレスモータ1の駆動ドライバ2から低周波のPWM信号が出力された場合の動作を示す図である。
モータの低速回転時には、駆動ドライバ2からは(a)に示すような低周波のPWM信号が出力される。このPWM信号は、第1の積分器31によって積分されるが、第1の積分器31はHレベル信号入力時のみ電荷を充電し、Lレベル信号入力時には電荷を放電するので、第1の積分器31の積分値は(b)に示すような波形となる。
次に、この第1の積分器31の積分値とセンサレスモータ1の駆動ドライバ2から出力される低周波のPWM信号とが差分器41に入力されるが、差分器41は、閾値V0以上の電圧をHレベル、閾値V0未満の電圧をLレベルと二値化して認識するので、差分器41はこれらの差分をとることによって(c)に示すようなHレベルとLレベルとが交互に繰り返す波形を出力する。
この差分器41の信号(c)は第2の積分器51によって積分されるが、第2の積分器51は第1の積分器31と同様に、Hレベル信号入力時のみ電荷を充電し、Lレベル信号入力時には電荷を放電するので、第2の積分器51の積分値は(d)に示すような波形となる。
ここで、(d)に示すように、第2の積分器51の積分値は常に比較器61の基準電圧V1を下回っているので、比較器61からは(e)に示すようなLレベル固定の信号が出力され、その結果、出力端子71からは常にLレベル固定の信号が出力される。
このように、モータの回転異常時に図2(b)〜(d)に示すいずれの波形の信号がセンサレスモータ1の駆動ドライバ2から出力されても、回転異常検出回路10の出力端子71からは常にLレベルの固定信号が出力されるので、Lレベルの固定信号を回転異常検出信号として扱うことにより、従来回路では正常回転と判定されたHレベルの固定信号に対しても回転異常として判定することができる。
なお、センサレスモータ1の仕様によって駆動ドライバ2から出力されるPWM信号の波形は異なるが、使用するセンサレスモータ1の仕様に応じて第1および第2の積分器31、51の時定数および比較器61の基準電圧V1を適宜調整することにより、上記のような動作を得ることができる。
また、上記実施の形態では、第2の積分器51の積分値が比較器61の基準電圧V1を上回ったときにHレベルの信号を、下回ったときにLレベルの信号をそれぞれ出力するようにしたが、第2の積分器51の積分値が比較器61の基準電圧V1を上回ったときにLレベルの信号を、下回ったときにHレベルの信号を出力するように構成し、Hレベルの信号を回転異常検出信号として扱うようにしてもよい。
また、本実施の形態においては、回転検出器を有さないセンサレスモータの駆動ドライバからPWM信号の回転検出信号が出力される場合について示したが、回転検出信号がPWM信号であれば回転検出器を有するモータであっても本実施の形態に係るモータの回転異常検出回路を適用することができる。
本実施の形態によれば、センサレスモータ1の回転検出信号を積分する第1の積分器31と、この積分器31の積分値に基づく二値化信号と前記回転検出信号との差分を出力する差分器41と、この差分器41の出力信号を積分する第2の積分器51と、この第2の積分器51の積分値が基準電圧V1を下回ったときに異常検出信号を出力する信号出力手段としての比較器61を設けたことにより、低周波のPWM信号だけでなくモータのロックまたは半ロック時にHレベルまたはLレベルのいずれの固定信号が出力されても確実にモータの回転異常を検出できる信頼性の高いモータの回転異常検出回路を得ることができる。
また、本実施の形態によれば、比較器61(信号出力手段)の基準電圧V1を調整する調整手段81を備えているので、使用するセンサレスモータ1の仕様に応じて容易に基準電圧V1を調整することができる。
また、本実施の形態によれば、センサレスモータ1の回転検出信号は駆動ドライバ2から出力されるので、モータの回転を検知する回転検知器を用いる必要がない。
実施の形態2.
図4はこの発明の実施の形態2におけるモータの回転異常検出回路を示す構成図である。また、図5はこの発明の実施の形態2におけるモータの回転異常検出回路の動作を示す波形図である。
まず、図4を用いて実施の形態2におけるモータの回転異常検出回路の構成を示す。
図4においてモータの回転異常検出回路は、センサレスモータ1の駆動ドライバ2から出力された回転検出信号を積分する第1の積分器32と、この第1の積分器32の積分値に基づく二値化信号と前記回転検出信号の差分を出力する第1の差分器42と、この第1の差分器42の出力信号を積分する第2の積分器52と、この第2の積分器52の積分値が第1の基準電圧V1を上回ったときにHレベル信号を出力し、第1の基準電圧V1を下回ったときにLレベル信号を出力する第1の比較器62(第1の信号出力手段)とを備えた実施の形態1と同様の構成の回路20に加えて、第1の比較器62の出力信号を積分する第3の積分器33と、この第3の積分器33の積分値と第1の比較器62の出力信号の差分を出力する第2の差分器43と、この第2の差分器43の出力信号を積分する第4の積分器53と、この第4の積分器53の積分値が第2の基準電圧V2を上回ったときにHレベル信号を出力する第2の比較器63(第2の信号出力手段)とから構成される回路30と、この第2の比較器63の出力信号を反転出力するインバータ40と、このインバータ40の出力信号と第1の比較器62の出力信号との論理積を演算する論理積演算回路50(論理積演算手段)と、この論理積演算回路50からの信号が出力される出力端子72とを備えている。
また、第1の基準電圧V1および第2の基準電圧V2を調整するための第1および第2の電圧調整手段82、83がそれぞれ設けられており、これらは例えば可変電圧器で構成される。
第1〜第4の積分器32、33、52、53は実施の形態1と同様に、例えば、抵抗とコンデンサ、またはコイルとコンデンサで構成されたものである。
また、第1および第2の差分器42、43は、実施の形態1と同様に、入力信号を二値化してその差分を出力するものであり、例えばE−OR回路や差動入力回路など、排他的論理和素子を用いて2つの入力が異なる場合のみにHレベル信号を出力するように構成されている。さらに、第1の差分器42は、第1の積分器32に充電された直流電圧と、駆動ドライバ2から出力されるPWM信号以外の組み合わせは出力がLレベルとなるように構成されている。
次に図5を用いて、実施の形態2におけるモータの回転異常検出回路の動作を説明する。
図5は、センサレスモータ1の異常回転(低速回転)時に駆動ドライバ2から正常回転時に比べて低周波のPWM信号が出力された場合の動作を示す図である。
モータの回転が低速となった場合や、駆動ドライバ2の保護回路が働いた場合には、センサレスモータ1の駆動ドライバ2からは、(a)に示すような正常回転時に出力されるPWM信号よりも低周波のPWM信号が出力される。このPWM信号は第1の積分器32によって積分されるが、第1の積分器32はHレベル信号入力時のみ電荷を充電し、Lレベル信号入力時には電荷を放電するので、第1の積分器32の積分値は(b)に示すような波形となる。
この第1の積分器32の積分値とセンサレスモータ1の駆動ドライバ2からの出力信号は第1の差分器42に入力されるが、第1の差分器42は閾値V0以上の電圧をHレベル、閾値V0未満の電圧をLレベルと二値化して認識するので、差分器42はこれらの差分をとることによって(c)に示すようなHレベルとLレベルとを交互に繰り返す波形を出力する。
この第1の差分器42の信号は第2の積分器52によって積分されるが、第2の積分器52は第1の積分器32と同様に、Hレベル信号入力時のみ電荷を充電し、Lレベル信号入力時には電荷を放電するので、第2の積分器52の積分値は(d)に示すような波形となる。
ここで、実施の形態1においては、第1の比較器62の基準電圧V1は常に第2の積分器52の積分値を下回るように調整されていたが、本実施の形態のように、第1および第2の積分器32、52の時定数によっては、(d)に示すように、第2の積分器52の積分値が第1の比較器62の基準電圧V1を跨ぐ場合がある。このような場合、第1の比較器62の出力は(e)に示すようなHレベル信号とLレベル信号とが交互に繰り返される波形となる。
このような第1の比較器62の出力信号は、第3の積分器33で積分されるが、第3の積分器33は第1および第2の積分器32、52と同様に、Hレベル信号入力時に電荷を充電し、Lレベル信号入力時に電荷を放電するので、第3の積分器33の積分値は(f)に示すような波形となる。
第3の積分器33の積分値と第1の比較器62の出力信号とは第2の差分器43に入力されるが、第2の差分器43は閾値V0´以上の電圧をHレベル、閾値V0´未満の電圧をLレベルと二値化して認識するので、第2の差分器43はこれらの信号の差分をとることによって、(g)に示すような波形を出力する。
この第2の差分器43の出力信号は第4の積分器53によって積分されるが、第4の積分器53は、第1〜第3の積分器32、33、53と同様に、Hレベル信号入力時には電荷を充電し、Lレベル信号入力時には電荷を放電するので、第4の積分器53の積分値は(h)に示すような波形となる。
ここで、第2の比較器63の基準電圧V2は常に第4の積分器53の積分値を下回るように第2の電圧調整手段83を用いて調整されているので、第2の比較器63の出力信号は(i)に示すようにHレベル固定の信号となる。
そして、第2の比較器63の出力信号はインバータ40で反転出力されることによって、(j)に示すようなLレベル固定の信号となる。
このインバータ40の出力信号(j)と第1の比較器62の出力信号(e)は論理積演算回路50に入力されるが、インバータ40からはLレベル固定の信号が出力されるので、論理積演算回路50からは(h)に示すようにLレベル固定の信号が出力され、その結果、出力端子72からはLレベル固定の信号が常に出力される。
このように、モータの回転異常時に正常回転時よりも低周波のPWM信号が駆動ドライバ2から出力され、実施の形態1の構成ではHレベル信号とLレベル信号が交互に出力される場合であっても、本実施の形態のような構成をとることによって、Lレベル固定の信号が出力端子72から出力されるので、Lレベル信号を回転異常検出信号として扱うことによってモータの回転異常をより安定した信号として検出することができる。
また、駆動ドライバ2からHレベル固定またはLレベル固定の信号が出力された場合、第1の比較器62の出力信号は、実施の形態1と同様にLレベル固定の信号となる。このとき、インバータ40の出力信号はHレベル固定の信号となるので、論理積演算回路50で入力信号の論理積を演算することによって、論理積演算回路50の出力はLレベル固定の信号となる。
一方、駆動ドライバ2から正常回転の周期に対応したPWM信号が出力された場合、第1の比較器62の出力信号は、実施の形態1と同様にHレベル固定の信号となる。このとき、インバータ40の出力信号はHレベル固定の信号となるので、論理積演算回路50で入力信号の論理積を演算することによって、論理積演算回路50の出力はHレベル固定の信号となる。
本実施の形態によれば、実施の形態1と同様の構成の回路20に加えて、第1の比較器62(第1の信号出力手段)の出力信号を積分する第3の積分器33と、この第3の積分器33の積分値に基づく二値化信号と前記第1の信号出力手段の出力信号との差分を出力する第2の差分器43と、この第2の差分器43の出力信号を積分する第4の積分器53と、この第4の積分器53の積分値が第2の基準電圧V2を上回ったときにHレベル信号を出力する第2の比較器63(第2の信号出力手段)とから構成される回路30と、この第2の信号出力手段の出力信号を反転出力するインバータ40と、このインバータ40の出力信号と第1の信号出力手段の出力信号との論理積を演算する論理積演算回路50(論理積演算手段)とを備えたことにより、モータの正常回転時にはHレベル固定の信号が、回転異常時にはLレベル固定の信号がそれぞれ出力端子72から常に出力されるので、より確実に回転異常を検出することができる信頼性の高いモータの回転異常検出回路を得ることができる。
また、本実施の形態によれば、第1および第2の比較器62、63(第1および第2の信号出力手段)の基準電圧V1、V2を調整する第1および第2の電圧調整手段82、83を備えているので、使用するセンサレスモータ1の仕様に応じて容易に基準電圧V1、V2を調整することができる。
この発明の実施の形態1におけるモータの回転異常検出回路を示す構成図である。 この発明の実施の形態1におけるモータの回転異常検出回路に入力されるモータ回転検出信号を示す波形図である。 この発明の実施の形態1におけるモータの回転異常検出回路の動作を示す波形図である。 この発明の実施の形態2におけるモータの回転異常検出回路を示す構成図である。 この発明の実施の形態2におけるモータの回転異常検出回路の動作を示す波形図である。
符号の説明
1 センサレスモータ、 2 駆動ドライバ、 31〜33,51〜53 積分器、 40 インバータ、 41〜43 差分器、 50 論理積演算回路、 61〜63 比較器、 81〜83 電圧調整手段。

Claims (6)

  1. モータの回転検出信号を積分する第1の積分器と、前記第1の積分器の積分値に基づく二値化信号と前記回転検出信号との差分を出力する差分器と、前記差分器の出力信号を積分する第2の積分器と、前記第2の積分器の積分値が基準電圧を下回ったときに異常検出信号を出力する信号出力手段とを備えたモータの回転異常検出回路。
  2. 前記基準電圧を調整する電圧調整手段を備えたことを特徴とする請求項1に記載のモータの回転異常検出回路。
  3. モータの回転検出信号を積分する第1の積分器と、前記積分器の積分値に基づく二値化信号と前記回転検出信号との差分を出力する第1の差分器と、前記第1の差分器の出力信号を積分する第2の積分器と、前記第2の積分器の積分値が第1の基準電圧を下回ったときにローレベルの信号を出力する第1の信号出力手段と、前記第1の信号出力手段の出力信号を積分する第3の積分器と、前記第3の積分器の積分値の二値化信号と前記第1の信号出力手段の出力信号の差分を出力する第2の差分器と、前記第2の演算手段の出力信号を積分する第4の積分器と、前記第4の積分器の積分値が第2の基準電圧を上回ったときにハイレベルの信号を出力する第2の信号出力手段と、前記第2の信号出力手段の出力信号を反転出力するインバータと、前記インバータの出力信号と前記第1の信号出力手段の出力信号との論理積を演算する論理積演算手段とを備えたモータの回転異常検出回路。
  4. 前記第1の基準電圧を調整する第1の電圧調整手段を備えたことを特徴とする請求項3に記載のモータの回転異常検出回路。
  5. 前記第2の基準電圧を調整する第2の電圧調整手段を備えたことを特徴とする請求項3または請求項4に記載のモータの回転異常検出回路。
  6. 前記回転検出信号は、センサレスモータの駆動ドライバから出力されることを特徴とする請求項1ないし請求項5のいずれか1項に記載のモータの回転異常検出回路。
JP2008190417A 2008-07-24 2008-07-24 モータの回転異常検出回路 Expired - Fee Related JP5315830B2 (ja)

Priority Applications (2)

Application Number Priority Date Filing Date Title
JP2008190417A JP5315830B2 (ja) 2008-07-24 2008-07-24 モータの回転異常検出回路
US12/498,019 US8138698B2 (en) 2008-07-24 2009-07-06 Motor rotation irregularity detection circuit

Applications Claiming Priority (1)

Application Number Priority Date Filing Date Title
JP2008190417A JP5315830B2 (ja) 2008-07-24 2008-07-24 モータの回転異常検出回路

Publications (2)

Publication Number Publication Date
JP2010029036A true JP2010029036A (ja) 2010-02-04
JP5315830B2 JP5315830B2 (ja) 2013-10-16

Family

ID=41568041

Family Applications (1)

Application Number Title Priority Date Filing Date
JP2008190417A Expired - Fee Related JP5315830B2 (ja) 2008-07-24 2008-07-24 モータの回転異常検出回路

Country Status (2)

Country Link
US (1) US8138698B2 (ja)
JP (1) JP5315830B2 (ja)

Families Citing this family (1)

* Cited by examiner, † Cited by third party
Publication number Priority date Publication date Assignee Title
EP3054618B1 (en) * 2013-09-30 2019-11-06 Panasonic Intellectual Property Management Co., Ltd. Communication apparatus and motor control apparatus

Citations (4)

* Cited by examiner, † Cited by third party
Publication number Priority date Publication date Assignee Title
JPH0447393U (ja) * 1990-08-28 1992-04-22
JPH05227785A (ja) * 1992-02-10 1993-09-03 Toshiba Corp ブラシレスモータの駆動装置
JPH07163178A (ja) * 1993-12-07 1995-06-23 Zexel Corp 車両用空気調和装置のためのブロア装置
JPH09166610A (ja) * 1995-12-15 1997-06-24 Oriental Motor Co Ltd モータの回転異常検出装置

Family Cites Families (6)

* Cited by examiner, † Cited by third party
Publication number Priority date Publication date Assignee Title
US3569808A (en) * 1967-07-25 1971-03-09 Victor Company Of Japan Servo system for magnetic recording and reproducing apparatus
JPS515569B1 (ja) * 1970-05-23 1976-02-20
US4999557A (en) * 1988-05-02 1991-03-12 Shinko Electric Co., Ltd. Integration proportional controller in servo-control system
JP2732159B2 (ja) * 1991-10-29 1998-03-25 ファナック株式会社 異常負荷検出方法
JP4928850B2 (ja) 2006-06-28 2012-05-09 株式会社東芝 回転機制御装置
US7960934B2 (en) * 2008-09-23 2011-06-14 Honeywell International Inc. Fault-tolerant control system

Patent Citations (4)

* Cited by examiner, † Cited by third party
Publication number Priority date Publication date Assignee Title
JPH0447393U (ja) * 1990-08-28 1992-04-22
JPH05227785A (ja) * 1992-02-10 1993-09-03 Toshiba Corp ブラシレスモータの駆動装置
JPH07163178A (ja) * 1993-12-07 1995-06-23 Zexel Corp 車両用空気調和装置のためのブロア装置
JPH09166610A (ja) * 1995-12-15 1997-06-24 Oriental Motor Co Ltd モータの回転異常検出装置

Also Published As

Publication number Publication date
US8138698B2 (en) 2012-03-20
JP5315830B2 (ja) 2013-10-16
US20100019706A1 (en) 2010-01-28

Similar Documents

Publication Publication Date Title
TWI481144B (zh) 感應式電源供應器之供電模組中電流訊號檢測方法
JPH0378658A (ja) 適応性回転―測定装置
US7205761B2 (en) Rotation state detecting device and rotation state detecting method
CN110031228B (zh) 半导体器件和检测其旋转异常的方法
CN105591706B (zh) 用于监视信号路径完整性的单元及方法和信号处理系统
JP5072727B2 (ja) 絶縁抵抗検出装置および絶縁抵抗検出方法
JP5315830B2 (ja) モータの回転異常検出回路
JP2005094938A (ja) インバータ装置
US9385700B2 (en) Clock monitoring for sequential logic circuits
JP2003060490A (ja) クロック停止検知回路及び半導体装置
JP4340877B2 (ja) 車輪速信号整形回路
JP6366048B2 (ja) 交流電圧検出回路並びにそれを備えた給電装置
JP2005233626A (ja) 車輪速検出装置
TWI651935B (zh) 不歸零資料鎖定偵測系統及方法
CN111669157A (zh) 半导体装置
JP2004347493A (ja) 異常検出機能を持つ静電容量式センサ装置
JP5429575B2 (ja) レゾルバ信号処理装置
JP2658527B2 (ja) 停電検出回路
JP2006234504A (ja) 回転検出装置
JP3627309B2 (ja) パワートランジスタドライブ装置
JP2002357456A (ja) エンコーダ
JP4108426B2 (ja) 低周波交流電流検知装置
JP2014206478A (ja) 信号処理装置
CN118011267A (zh) 故障检测电路
JPH0517570U (ja) アラーム装置

Legal Events

Date Code Title Description
A621 Written request for application examination

Free format text: JAPANESE INTERMEDIATE CODE: A621

Effective date: 20110419

A977 Report on retrieval

Free format text: JAPANESE INTERMEDIATE CODE: A971007

Effective date: 20121219

A131 Notification of reasons for refusal

Free format text: JAPANESE INTERMEDIATE CODE: A131

Effective date: 20121225

A521 Request for written amendment filed

Free format text: JAPANESE INTERMEDIATE CODE: A523

Effective date: 20130122

TRDD Decision of grant or rejection written
A01 Written decision to grant a patent or to grant a registration (utility model)

Free format text: JAPANESE INTERMEDIATE CODE: A01

Effective date: 20130611

A61 First payment of annual fees (during grant procedure)

Free format text: JAPANESE INTERMEDIATE CODE: A61

Effective date: 20130624

R151 Written notification of patent or utility model registration

Ref document number: 5315830

Country of ref document: JP

Free format text: JAPANESE INTERMEDIATE CODE: R151

R250 Receipt of annual fees

Free format text: JAPANESE INTERMEDIATE CODE: R250

R250 Receipt of annual fees

Free format text: JAPANESE INTERMEDIATE CODE: R250

R250 Receipt of annual fees

Free format text: JAPANESE INTERMEDIATE CODE: R250

R250 Receipt of annual fees

Free format text: JAPANESE INTERMEDIATE CODE: R250

R250 Receipt of annual fees

Free format text: JAPANESE INTERMEDIATE CODE: R250

LAPS Cancellation because of no payment of annual fees