JP2010028815A - 超音波変換器 - Google Patents

超音波変換器 Download PDF

Info

Publication number
JP2010028815A
JP2010028815A JP2009167031A JP2009167031A JP2010028815A JP 2010028815 A JP2010028815 A JP 2010028815A JP 2009167031 A JP2009167031 A JP 2009167031A JP 2009167031 A JP2009167031 A JP 2009167031A JP 2010028815 A JP2010028815 A JP 2010028815A
Authority
JP
Japan
Prior art keywords
casing
region
ultrasonic transducer
ultrasonic
resonator
Prior art date
Legal status (The legal status is an assumption and is not a legal conclusion. Google has not performed a legal analysis and makes no representation as to the accuracy of the status listed.)
Granted
Application number
JP2009167031A
Other languages
English (en)
Other versions
JP5355268B2 (ja
Inventor
Jereon Martin Van Klooster
マルティン ヴァン クロースター イェレオン
Current Assignee (The listed assignees may be inaccurate. Google has not performed a legal analysis and makes no representation or warranty as to the accuracy of the list.)
Krohne AG
Original Assignee
Krohne AG
Priority date (The priority date is an assumption and is not a legal conclusion. Google has not performed a legal analysis and makes no representation as to the accuracy of the date listed.)
Filing date
Publication date
Family has litigation
First worldwide family litigation filed litigation Critical https://patents.darts-ip.com/?family=41401890&utm_source=google_patent&utm_medium=platform_link&utm_campaign=public_patent_search&patent=JP2010028815(A) "Global patent litigation dataset” by Darts-ip is licensed under a Creative Commons Attribution 4.0 International License.
Application filed by Krohne AG filed Critical Krohne AG
Publication of JP2010028815A publication Critical patent/JP2010028815A/ja
Application granted granted Critical
Publication of JP5355268B2 publication Critical patent/JP5355268B2/ja
Active legal-status Critical Current
Anticipated expiration legal-status Critical

Links

Images

Classifications

    • GPHYSICS
    • G10MUSICAL INSTRUMENTS; ACOUSTICS
    • G10KSOUND-PRODUCING DEVICES; METHODS OR DEVICES FOR PROTECTING AGAINST, OR FOR DAMPING, NOISE OR OTHER ACOUSTIC WAVES IN GENERAL; ACOUSTICS NOT OTHERWISE PROVIDED FOR
    • G10K9/00Devices in which sound is produced by vibrating a diaphragm or analogous element, e.g. fog horns, vehicle hooters or buzzers
    • G10K9/18Details, e.g. bulbs, pumps, pistons, switches or casings
    • G10K9/22Mountings; Casings
    • GPHYSICS
    • G01MEASURING; TESTING
    • G01FMEASURING VOLUME, VOLUME FLOW, MASS FLOW OR LIQUID LEVEL; METERING BY VOLUME
    • G01F1/00Measuring the volume flow or mass flow of fluid or fluent solid material wherein the fluid passes through a meter in a continuous flow
    • G01F1/66Measuring the volume flow or mass flow of fluid or fluent solid material wherein the fluid passes through a meter in a continuous flow by measuring frequency, phase shift or propagation time of electromagnetic or other waves, e.g. using ultrasonic flowmeters
    • G01F1/662Constructional details
    • GPHYSICS
    • G10MUSICAL INSTRUMENTS; ACOUSTICS
    • G10KSOUND-PRODUCING DEVICES; METHODS OR DEVICES FOR PROTECTING AGAINST, OR FOR DAMPING, NOISE OR OTHER ACOUSTIC WAVES IN GENERAL; ACOUSTICS NOT OTHERWISE PROVIDED FOR
    • G10K11/00Methods or devices for transmitting, conducting or directing sound in general; Methods or devices for protecting against, or for damping, noise or other acoustic waves in general
    • G10K11/002Devices for damping, suppressing, obstructing or conducting sound in acoustic devices

Landscapes

  • Physics & Mathematics (AREA)
  • Engineering & Computer Science (AREA)
  • Acoustics & Sound (AREA)
  • Multimedia (AREA)
  • Electromagnetism (AREA)
  • Fluid Mechanics (AREA)
  • General Physics & Mathematics (AREA)
  • Transducers For Ultrasonic Waves (AREA)
  • Measuring Volume Flow (AREA)
  • Ultra Sonic Daignosis Equipment (AREA)

Abstract

【課題】超音波変換器のケーシングを介するケーシング波の伝播を回避するための更なる手段を形成し、先行技術から公知の欠点を少なくとも部分的に回避する超音波変換器を提供することである。
【解決手段】ケーシング(2)の第2の領域(6)に、弱く連結されている少なくとも2つの機械的な共振器(8,9)が形成されており、該共振器(8,9)はケーシング波(G)の拡散方向でほぼ直列に配置されているようにした。
【選択図】図1

Description

本発明は、超音波変換器であって、ケーシングを備え、ケーシングの第1の領域内に設けられている、前記超音波変換器の内室と前記超音波変換器の外室との間における超音波の伝播のための超音波窓を備え、ケーシング内で超音波窓に隣接して配置されている変換エレメントを備え、超音波はケーシング波として、ケーシングの第1の領域と、ケーシングの少なくとも1つの仲介する第2の領域を介して、ケーシングの第1の領域に相対する、ケーシングの第3の領域との間を伝播可能である、超音波変換器に関する。
前記形式の超音波変換器は数年前から公知であり、例えば音響による流量測定機器においては大規模に使用されている。超音波変換器の変換エレメントは、適切な励振時に電気的なエネルギを機械的な変位に、つまり超音波領域の振動に変換する。この場合、超音波変換器は超音波発信器として働き、超音波は部分的に超音波窓を介して超音波変換器を取り囲む媒体に伝播される。
逆に、超音波窓は媒体内に発生する外部の圧力変動により変位され、この変位は変換エレメントにより適切な信号に変換される、ということも可能である。この場合、超音波変換器は超音波受信器としても働く。例えば充填状態測定といった多様な使用において、この種の超音波変換器は、超音波発信器及び超音波受信器としても使用され、流量測定の領域では、超音波変換器は頻繁に超音波発信器又は超音波受信器として使用される。
両事例、つまり超音波変換器が発信器として働く事例においても、超音波変換器が受信器として働く事例においても、変換エレメントに到達するか、もしくは変換エレメントから発生する、超音波窓を介して伝播される超音波は、実際には重要な有効信号である。ケーシングを介して更に伝播されるか、もしくは導き出される冒頭で述べた超音波は、寄生のケーシング波である。この波と共に伝播されるエネルギは有効信号を提供しない。従ってケーシング波は一般的には不都合なものである。
ケーシング波を減じるために種々異なる手段がある。幾つかの手段は、この種のケーシング波を発生時に既に回避するという役割を有している。更に、伝達されるエネルギ部分の最大化のために特に良好なインピーダンス適合に対する、又は反響を減じるためのλ/4層としての超音波窓の設計に対する超音波窓の、例えば規定された構成が重要である。他の手段は、既に発生したケーシング波の更なる伝播を、例えば不整合の音響的なインピーダンス移行により防ぐことに関する。しかしケーシング波は有効信号にとって失われた損失出力であるだけでなく、更に別の不都合な作用を有していることがある。
音響による流量測定の場合には、例えば測定管内を搬送される媒体において、媒体の搬送速度は、音響信号の拡散速度に重畳されているという効果が大抵利用される。測定管に対する音響信号の測定された拡散速度は、音響信号の方向に媒体が搬送される場合には、媒体が止まっている場合よりも大きく、測定管に対する音響信号の速度は、媒体が音響信号の放射方向とは反対に搬送される場合には、媒体が止まっている場合よりも僅かである。音響発信器と音響受信器との間の音響信号(両者とも超音波変換器)の所要時間は、連行効果に基づいて、測定管、ひいては音響発信器及び音響受信器に対する媒体の搬送速度に基づいている。
放出された音響信号又は超音波信号に基づく測定時には、流量測定の領域において、変換エレメントによって形成された超音波速度が変換器ケーシングの超音波窓を介してのみ超音波変換器の周辺の媒体に伝播されるだけでなく、形成された超音波振動が部分的にもケーシングを介してケーシング波として全測定装置に伝播されるということが問題である。このことは損失出力とは別に、いわゆるクロストークにより測定機器ケーシングに伝播された超音波が、受信側での著しい障害に繋がることもあるので問題である。このことは、受信された超音波信号が、媒体及び超音波窓を介して直接受信されたか(有効信号)、又はケーシング波として測定装置及び超音波変換器の全ケーシングを間接的に介して、特につまりケーシングの第3の領域と、ケーシングの仲介する第2の領域とを介して変換エレメントに到達したかどうかを受信側で簡単に認識できないことに基づく。
従って、本発明の課題は、超音波変換器のケーシングを介するケーシング波の伝播を回避するための更なる手段を形成し、先行技術から公知の欠点を少なくとも部分的に回避する超音波変換器を提供することである。
上記課題を解決するために本発明に係る超音波変換器は、ケーシングの第2の領域において、弱く連結されている少なくとも2つの機械的な共振器が形成されており、該共振器はケーシング波の拡散方向でほぼ直列に配置されているようになっている。
好ましくは、共振器の固有周波数は、ケーシング波の周波数範囲内にある。
好ましくは、ケーシングの第2の領域は軸線方向の経過方向でスリーブ状に形成されており、少なくとも1つの共振器は、上側の平坦壁と、下側の平坦壁と、上側の平坦壁及び下側の平坦壁を結合する端壁とを備えた、中空リング又は段部として形成されている。
好ましくは、前記中空リングは、ケーシングの第2の領域のほぼ軸線方向の経過方向に方向付けられており、特にケーシングの第2の領域は前記中空リングの領域において、経過方向でメアンダ形状に延在している壁横断面を有している。
好ましくは、軸線方向の経過方向で端壁の剛性は、上側の平坦壁の剛性及び/又は下側の平坦壁の剛性よりも大きく、特に少なくとも1つのサイズオーダだけ大きく、有利には少なくとも2つのサイズオーダだけ大きく設定されている。
少なくとも1つの共振器は、特に1つの共振器内に配置されている且つ/又は2つの共振器の間に配置されている、又は1つの共振器に隣接して配置されている少なくとも1つの減衰エレメントにより減衰されている。
好ましくは、減衰エレメントは少なくとも1つのOリング又は注型材料であり、特に弾性的又は粘弾性的な材料から成っている。
また、上記課題を解決するために本発明に係る超音波変換器は、ケーシングの第2の領域は軸線方向の経過方向においてスリーブ状に形成されており、ケーシングの第2の領域に少なくとも1つの機械的な共振器が形成されており、共振器は、上側の平坦壁と、下側の平坦壁と、上側の平坦壁及び下側の平坦壁を結合する端壁とを備えた、中空リング又は段部として形成されていることを特徴とする。
好ましくは、共振器は、請求項2又は3から6までのいずれか一項記載の特徴部に基づいて形成されている。
超音波変換器もしくは超音波変換器のケーシングの第2の領域の本発明に係る構成は、種々異なる利点を必然的に有している。機械的な共振器により、まず、超音波によって伝播されたエネルギを局地的に「捕らえる」、つまり機械的な共振器の励振により振動することが可能である。機械的な共振器は、一般的にはばね質量系(Feder−Masse−System)として記載可能である。実際のばね質量系ではばねの特性、すなわち変位に関係する力作用は、ちょうどまさに質量体が共振器への構造的な貢献に基づきばね質量系のばね特性に常に影響を与えてもいるように、共振器の質量へ僅かであっても必ず作用するように実現可能である。ばね及び質量は構造的には実際には完全に分離することはできない。少なくとも2つの機械的な共振器をケーシング波の拡散方向で直列に配置することにより、ケーシングの第1の領域からケーシングの第3の領域、及びケーシングの第3の領域からケーシングの第1の領域に達するために、ケーシング波は全共振器を横断しなければならない、ということになる。両共振器の弱い連結により、共振器はケーシング波に対して全体として、共振器自体が同じ振動特性を有していたとしても強く連結された共振器の場合よりも大きな妨害となる。強い機械的な連結時には、1つの共振器の振動は間接的に隣接する共振器に有利に伝播される。このことは、隣接する共振器の間に機械的な交番作用が当然に与えられてはいるものの、弱い機械的な連結時には当てはまらない。
本発明の有利な構成において、共振器の固有周波数はケーシング波の周波数範囲内にある。これにより振動可能なシステムの共振効果に基づき、ケーシング波の可能限り多くのエネルギが共振器の振動において結合することが保証されている。種々異なる固有周波数を形成する共振器では、広幅な周波数範囲のケーシング波を抑えることができる。このことは特に、広帯域の超音波信号の放射又は放出時には重要である。従ってケーシングの第2の領域に設けられている弱く連結された機械的な共振器は、有利には、1つの帯域消去フィルタ(又は複数の帯域消去フィルタ)として、超音波変換器の第1の領域から超音波変換器の第3の領域への伝播経路において働く。
本発明の別の有利な構成において、ケーシングの第1の領域及び/又はケーシングの第3の領域は、ケーシングの第1の領域及び/又はケーシングの第3の領域の共振周波数が、設計上是認しうる範囲において、ケーシングの第2の領域の弱く連結された共振器の固有周波数から可能な限り十分に離れている、ひいては超音波変換器の作業周波数から可能な限り十分に離間されているように設計されている。
超音波変換器は、ケーシングの第2の領域において軸線方向の延在方向でよくスリーブ状に構成されている。ケーシングの第1の領域における超音波窓は、スリーブを端面として媒体に対して閉鎖する。ケーシングのスリーブ状に形成された第2の領域は、大抵円筒状である。ケーシングの第1の領域に相対している、ケーシングの第3の領域は、例えばフランジ状の接続部材であってよいか、又はスリーブの単に開放した端部領域であってもよい。上述のように構成された超音波変換器の場合、ケーシング波は既にケーシングを介して全体として軸線方向の経過方向でも伝播する。本発明の更に別の有利な構成によれば、上述のように構成された超音波変換器では、少なくとも1つの共振器は、上側の平坦壁と、下側の平坦壁と、上側の平坦壁及び下側の平坦壁を結合する端壁とを備えた、中空リング又は段部として形成されているようになっている。中空リング又は段部である1つの共振器の構成は、両構造が製造技術的に極めて簡単で、高い精度をもって、例えば切削加工による回転により固形物からワンピースで製造可能であるので有利である。上側の平坦壁と、下側の平坦壁と、上側の平坦壁及び下側の平坦壁を結合する端壁とにより制限された極めて低く、平坦壁の延在方向に十分に拡張している中空室を有する比較的大きな中空リングは、複数の部材からの構成により、場合によっては比較的簡単に製造することができる。
本発明の更に別の有利な構成では、中空リングは、ケーシングの第2の領域の軸線方向のほぼ経過方向に方向付けられている。ケーシングの第2の領域は、中空リングの領域では軸線方向の経過方向で、特にメアンダ形状に延在する壁横断面を有している。この記載は、ケーシングの第1の領域からケーシングの第3の領域に達するためにケーシング波は、直列された共振器を必然的に通過しなければならず、つまり共振器は強制的に連続して励振し、いずれにしても超音波変換器のケーシングに当てはまる場合には、共振器を避けて通ることはできない、ということを明らかにしている。
上記超音波変換器において、第1の平坦壁の剛性及び/又は第2の平坦壁の剛性よりも、中空リング又は段部の端壁の剛性が軸線方向の経過方向において大きい場合には、特に有利である。この手段により、共振器の振動は軸線方向の経過方向において極めて簡単に可能であり、簡単に励振できる。既述したように共振器がばね質量系と見なされる場合、端壁は、質量の実質的な部分に寄与する共振器の構成要素であり、第1の平坦壁及び/又は第2の平坦壁は、実質的にばね質量系のばね弾性的な特性を変換する。隣り合う共振器の間の弱い連結を達成するために、端壁の剛性が、軸線方向の延在方向で見て、少なくとも1つのサイズオーダだけ、それどころか又は2以上のサイズオーダだけ、第1の平坦壁の剛性及び/又は第2の平坦壁の剛性よりも大きいと有利である。
本発明の別の、とりわけ独立した構成によれば、冒頭で述べた超音波変換器における上記課題は、ケーシングの第2の領域が軸線方向の経過方向でスリーブ状に形成されていて、ケーシングの第2の領域に少なくとも1つの機械的な共振器が形成されていることにより解決されている。共振器は、上側の平坦壁と、下側の平坦壁と、上側の平坦壁及び下側の平坦壁を結合する端壁とを備えた、中空リング又は段部として構成されている。確かに実務上、ケーシングの仲介する第2の領域に1つの機械的な共振器を有している超音波変換器は出願人には公知であるが、超音波変換器は更に複雑に構成されていて、それに応じて簡単には製造することはできない。これに対して中空リング又は段部としての共振器の構成は、製造技術的に極めて簡単で、ひいては廉価に実現することができる。振動可能なシステムのばね質量パラメータ−共振周波数、減衰量ひいては等級−は、極めて簡単に調節可能である。パラメータの調節は、有利には、平坦壁の肉厚−ばね定数−及び端壁の肉厚−質量−の適切な選択により行われる。弱く連結された共振器の有利な全構成は、伝播可能である限りは、唯一の共振器の有利な構成でもある。
詳しくは、本発明による超音波変換器を構成し且つ改良する種々異なる手段がある。このために請求項1及び請求項8に従属している請求項、及び図面に関連した本発明の有利な実施の形態の記載が参照される。
2つの機械的な共振器を備えた本発明に係る超音波変換器の概略的な横断面図である。 図a及び図bは、異なる励振モードにおける本発明に係る超音波変換器の概略的な横断面の部分図である。 本発明に係る超音波変換器の別の実施の形態の概略的な横断面図である。 円錐状に延びている共振器を備えた本発明に係る別の超音波変換器の概略的な横断面図である。 段状の共振器を備えた本発明に係る別の超音波変換器の概略的な横断面図である。 減衰エレメントであるOリングを備えた本発明に係る超音波変換器の概略的な横断面図である。 減衰エレメントである注型質量体を備えた本発明に係る超音波変換器の概略的な横断面図である。
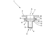
図1〜7にはそれぞれ超音波変換器1が記載されている。超音波変換器1は、ケーシング2と、ケーシング2の第1の領域3内に設けられている、超音波変換器1の内室と超音波変換器1の外室との間の超音波の伝播のための超音波窓4とを備えている。超音波自体は記載されていない。
更に記載された全超音波変換器1は、ケーシング2内において超音波窓4に隣接して配置されている変換エレメント5を有している。変換エレメント5は図示の実施の形態ではそれぞれ圧電結晶である。図面は、本発明を理解するために必要なエレメントだけを示す限りは、概略的に記載できる。従って、例えば変換エレメント5の励振に、及び変換エレメント5からの電気的な信号の選別に必要な電気的な配線は完全に省かれている。ケーシング2の第1の領域3の詳細な構造及び超音波窓4の構成については詳しく記載しない。第1の領域3及び超音波窓4は、極めて複雑に構成されていることがある。しかし本発明においては根本的に重要でない。本発明では、超音波変換器1のケーシング2が第1の領域3において1つの部材から形成されているか、又は複数の部材から形成されているかも重要ではない。種々異なる実施の形態が考慮可能であり、先行技術から種々異なる構成が公知である。
超音波変換器1が送信器として働く事例では、変換エレメント5により形成された超音波をケーシング2の内室から超音波窓4を介して超音波変換器1の外室に伝播することは、記載の超音波変換器1の優先的な目標である。変換エレメント5の励振に使う超音波の形式のエネルギの可能な限り大部分をケーシング2の外室に伝播することは極めて重要である。なぜならばこれによって実際の有効信号は最大であり、良好な信号対雑音比が達成される。
しかしながら超音波の一部分はケーシング波Gとして、ケーシング2の第1の領域3と、ケーシング2の仲介する第2の領域6を介して、ケーシング2の第1の領域3に相対している、ケーシング2の第3の領域7との間を伝播される、且つ伝播可能であることは回避できない。ケーシング波Gは実際に重要となる有効信号を提供する出力を減じるだけでなく、測定構造(図示せず)の別の構成要素にクロストークし、更に伝播されることがあり、直接伝播された有効超音波に別の場所で重畳することがある。このことは有効超音波の評価を困難にする。
ケーシング2の第3の領域は、記載された全実施の形態においてはフランジとして構成されている。図1ではケーシング波Gの可能な伝播方向が示されている。双方向矢印は、ケーシング波Gがケーシング2の第1の領域3からのみ出発して放射しているだけではなく、ケーシング2の第3の領域7内にも入力でき、ケーシング2の仲介する第2の領域6を介してケーシング2の第1の領域3に伝播することもできることを示している。
記載の超音波変換器は、ケーシング2の第2の領域6に、弱く連結された2つの機械的な共振器8,9が形成されていることを特徴とする。共振器8,9はケーシング波Gの拡散方向に直列に配置されている。記載の実施の形態では、ケーシング2の第1の領域3からケーシング2の第3の領域7、及びケーシング2の第3の領域7からケーシング2の第1の領域3に到達するために、ケーシング波Gは共振器8,9を介して及び通じて経過しなければならない、ということが強要されるので、機械的な共振器8,9はケーシング2内に形成されている。ケーシング波Gが機械的な共振器8,9に到達するやいなや、ケーシング波Gのエネルギは、少なくとも部分的に共振器8,9に蓄積される。なぜならば機械的な共振器8,9は励振されて振動するからである。従ってケーシング波Gと共に伝播されるエネルギを、少なくとも部分的に差し当たり局地的に限定することができる。従って、ケーシング波Gは妨害されずに、超音波変換器1のケーシング2の一方の端部からケーシング2の他方の端部に達することができるという目標が達成されている。まずエネルギは共振器8,9において「緩衝」され、次いで遅滞して比較的長い期間を介して再び放出される。これにより信号対雑音比は著しく改善される。実際の各共振器も減衰されているので、ケーシング波Gのエネルギの一部分は共振器8,9において熱に変換される。いずれにしても超音波の形式のエネルギとしてはもはや放出されない。
共振器8,9の挙動は、特に、超音波変換器1もしくは変換エレメント5が、特に共振器振動が再び次第に消滅する間隔を置いて、周期的にインパルスにより励振される使用事例においては有利である。
図1〜7に記載の超音波変換器1は、機械的な共振器8,9を有している。共振器8,9の固有周波数はケーシング波Gの周波数範囲内にある。これにより、ケーシング波Gの選択的な周波数部分を吸収することができるか、もしくはケーシング波Gの、ケーシング2の第1の領域3からケーシング2の第3の領域7への伝播、及びケーシング2の第3の領域7からケーシング2の第1の領域3への伝播を和らげることができる。
図1〜7において判るように、ケーシング2の仲介している第2の領域6は、軸線方向の経過方向Aにおいてスリーブ状に形成されている。経過方向Aにおいて、ケーシング波Gも超音波変換器1のケーシング2内で実質的に拡散する。図1〜4及び図6,7において、それぞれ記載されている両共振器8,9は、中空リングとして形成されている。各共振器8,9は上側の平坦壁10と、下側の平坦壁11と、上側の平坦壁10及び下側の平坦壁11を結合する端壁12とを有している。端壁12は、上側の平坦壁10と下側の平坦壁11とをそれぞれ環状に結合する。その結果、ケーシング2はケーシング2の第3の領域7において適切な接続部(図示せず)によって閉鎖される場合、記載の超音波変換器1のケーシング2は全体として密である。
図5には、段部として形成された共振器8と、中空リングとして形成された共振器9とを有する超音波変換器1が記載されている。段部として形成された共振器8では、上側の平坦壁10と下側の平坦壁11とは、軸線方向の経過方向Aで見て、スリーブ状に形成されたケーシングの直径拡幅部もしくは直径縮小部をもたらす。これに対して中空リングとして形成された共振器9においては、軸線方向の経過方向Aで、上側の平坦壁10と下側の平坦壁11とが相対している。
図1〜7において、中空リングとして形成された共振器8,9は、中空リングの配向を特徴付ける面法線が、各中空リングが平坦側で位置している平面に対して垂直になっているということから出発している場合、実質的にケーシング2の第2の領域6の経過方向Aに方向付けられているという点が共通している。面法線は、図示の実施の形態では、図面では軸線方向の経過方向Aに対して同軸的に特徴付けられている中心線と一致している。従って、ケーシング2の第2の領域は、中空リングの領域において軸線方向の経過方向Aでメアンダ形状に延在している壁横断面を有している。ケーシング2の第1の領域3と、ケーシング2の第3の領域7との間で、共振器8,9がいわゆる単に「懸架」されている場所に直接的な結合部が存在しないということが重要である。なぜならばケーシング波Gは既述のように構成された共振器においてはいわゆる「真っ直ぐに経過(entlangstreifen)」できるから、この事例では共振器は効果的に使用することはできないからである。記載の実施の形態では、ケーシング波Gは機械的な共振器8,9を有効に通過するはずである。
図1〜7に記載の実施の形態は概略的であり、絶対的に寸法通りではない。特に、図面においては、上側の平坦壁10及び下側の平坦壁11の肉厚と、結合する端壁12の肉厚とがそれぞれどのくらいの比率にあるか寸法通りに記載されてはいない。実際には、超音波変換器1は実施の形態において、軸線方向の経過方向Aにおいて、端壁12の剛性は上側の平坦壁10の剛性及び下側の平坦壁11の剛性よりも大きく構成されている。記載の実施の形態では共振器8,9の前記エレメントの剛性はほぼ300係数だけ、つまり端壁12の剛性は、各共振器8,9の上側の平坦壁10の剛性及び下側の平坦壁11の剛性よりも約300係数だけ大きい。これにより共振器8,9はケーシング2の軸線方向の経過方向Aにおいて振動可能であり、ひいてはケーシング波Gの進行方向で振動可能である。
結合する端壁12に対する上側の平坦壁10と下側の平坦壁11との適当な寸法設定は、軸線方向の経過方向Aに関する前記エレメントの剛性の計算のために、ベースボディの第2のオーダの断面二次モーメントを考慮することにより、極めて簡単にもたらされる。このことは上側の平坦壁10と下側の平坦壁11との場合には、周面で緊締された円環状ディスクであり、結合する端壁12の場合には簡単にはビームである。
図2a及び図2bにはそれぞれ、2つの共振器8,9を備えた超音波変換器1が記載されていて、共振器8,9は振動している状態にある。図2aでは共振器8,9は第1の振動モードにおいて励振されている。上側の平坦壁10と下側の平坦壁11とは同じように振動し、これに対して図2bにおける共振器8,9は第2の振動モードにおいて励振されている。つまり上側の平坦壁10と下側の平坦壁11とはそれぞれ、互いに逆方向に運動する。
図6及び図7記載の超音波変換器1は、減衰されている共振器8,9を有している。図6による実施の形態では、超音波変換器1のケーシング2の外部領域に減衰エレメント13としてOリングが設けられている。減衰エレメント13は共振器8,9の間に配置されているのではなく、1つの共振器8,9と、共振器8,9の隣接するケーシング部分との間にそれぞれ配置されている。これにより各共鳴振動を同時に効果的に減衰しつつ、共振器8,9の間の連結の補強は回避される。
図7では減衰エレメント13は注型材料により形成される。注型材料は、共振器8,9もしくは中空リングとして形成されている共振器8,9の中空室を充填する。減衰エレメント13により共振器8,9の間の連結は補強されない。共振器8,9もしくは共振器の間の介在スペースから減衰エレメント13が押し出され得ないということを保証できる場合、粘弾性の材料が減衰エレメント13として適している。Oリングのために、実質的に弾性的な材料、つまりエラストマが使用される。
1 超音波変換器、 2 ケーシング、 3 第1の領域、 4 超音波窓、 5 変換エレメント、 6 第2の領域、 7 第3の領域、 8,9 共振器、 10 上側の平坦壁、 11 下側の平坦壁、 12 結合する端壁、 13 減衰エレメント

Claims (9)

  1. 超音波変換器であって、ケーシング(2)を備えており、該ケーシング(2)の第1の領域(3)内に設けられている、前記超音波変換器の内室と前記超音波変換器の外室との間における超音波の伝播のための超音波窓(4)を備えており、ケーシング(2)内で超音波窓(4)に隣接して配置されている変換エレメント(5)を備えており、超音波はケーシング波(G)として、ケーシング(2)の第1の領域(3)と、ケーシング(2)の少なくとも1つの仲介する第2の領域(6)を介して、ケーシング(2)の第1の領域(3)に相対する、ケーシング(2)の第3の領域(7)との間を伝播可能である、超音波変換器において、
    ケーシング(2)の第2の領域(6)に、弱く連結されている少なくとも2つの機械的な共振器(8,9)が形成されており、該共振器(8,9)はケーシング波(G)の拡散方向でほぼ直列に配置されていることを特徴とする、超音波変換器。
  2. 共振器(8,9)の固有周波数は、ケーシング波(G)の周波数範囲内にある、請求項1記載の超音波変換器。
  3. ケーシング(2)の第2の領域(6)は軸線方向の経過方向(A)でスリーブ状に形成されており、少なくとも1つの共振器(8,9)は、上側の平坦壁(10)と、下側の平坦壁(11)と、上側の平坦壁(10)及び下側の平坦壁(11)を結合する端壁(12)とを備えた、中空リング又は段部として形成されている、請求項1又は2記載の超音波変換器。
  4. 前記中空リングは、ケーシング(2)の第2の領域(6)のほぼ軸線方向の経過方向(A)に方向付けられており、特にケーシング(2)の第2の領域(6)は前記中空リングの領域において、経過方向(A)でメアンダ形状に延在している壁横断面を有している、請求項3記載の超音波変換器。
  5. 軸線方向の経過方向(A)で端壁(12)の剛性は、上側の平坦壁(10)の剛性及び/又は下側の平坦壁(11)の剛性よりも大きく、特に少なくとも1つのサイズオーダだけ大きく、有利には少なくとも2つのサイズオーダだけ大きく設定されている、請求項3又は4記載の超音波変換器。
  6. 少なくとも1つの共振器(8,9)は、特に1つの共振器(8,9)内に配置されている且つ/又は2つの共振器(8,9)の間に配置されている、又は1つの共振器(8,9)に隣接して配置されている少なくとも1つの減衰エレメント(13)により減衰されている、請求項1から5までのいずれか一項記載の超音波変換器。
  7. 減衰エレメント(13)は少なくとも1つのOリング又は注型材料であり、特に弾性的又は粘弾性的な材料から成っている、請求項6記載の超音波変換器。
  8. 超音波変換器であって、ケーシング(2)を備えており、該ケーシング(2)の第1の領域(3)内に設けられている、前記超音波変換器の内室と前記超音波変換器の外室との間における超音波の伝播のための超音波窓(4)を備えており、ケーシング(2)内で超音波窓(4)に隣接して配置されている変換エレメント(5)を備えており、超音波はケーシング波(G)として、ケーシング(2)の第1の領域(3)と、ケーシング(2)の少なくとも1つの仲介する第2の領域(6)を介して、ケーシング(2)の第1の領域(3)に相対する、ケーシング(2)の第3の領域(7)との間を伝播可能である、超音波変換器において、
    ケーシング(2)の第2の領域(6)は軸線方向の経過方向(A)においてスリーブ状に形成されており、ケーシング(2)の第2の領域(6)に少なくとも1つの機械的な共振器(8,9)が形成されており、共振器(8,9)は、上側の平坦壁(10)と、下側の平坦壁(11)と、上側の平坦壁(10)及び下側の平坦壁(11)を結合する端壁(12)とを備えた、中空リング又は段部として形成されていることを特徴とする、超音波変換器。
  9. 共振器は、請求項2又は3から6までのいずれか一項記載の特徴部に基づいて形成されている、請求項8記載の超音波変換器。
JP2009167031A 2008-07-15 2009-07-15 超音波変換器 Active JP5355268B2 (ja)

Applications Claiming Priority (2)

Application Number Priority Date Filing Date Title
DE102008033098.1 2008-07-15
DE102008033098.1A DE102008033098C5 (de) 2008-07-15 2008-07-15 Ultraschallwandler

Publications (2)

Publication Number Publication Date
JP2010028815A true JP2010028815A (ja) 2010-02-04
JP5355268B2 JP5355268B2 (ja) 2013-11-27

Family

ID=41401890

Family Applications (1)

Application Number Title Priority Date Filing Date
JP2009167031A Active JP5355268B2 (ja) 2008-07-15 2009-07-15 超音波変換器

Country Status (6)

Country Link
US (1) US7973453B2 (ja)
EP (1) EP2148322B2 (ja)
JP (1) JP5355268B2 (ja)
CN (1) CN101676693B (ja)
CA (1) CA2672058C (ja)
DE (1) DE102008033098C5 (ja)

Cited By (1)

* Cited by examiner, † Cited by third party
Publication number Priority date Publication date Assignee Title
JP2014145769A (ja) * 2013-01-28 2014-08-14 Krohne A.G. 超音波変換器

Families Citing this family (19)

* Cited by examiner, † Cited by third party
Publication number Priority date Publication date Assignee Title
DE102010064117A1 (de) 2010-12-23 2012-06-28 Endress + Hauser Flowtec Ag Ultraschallwandler
CN102879044A (zh) * 2011-07-15 2013-01-16 上海一诺仪表有限公司 超声波换能器壳体结构
CN103959018B (zh) * 2011-09-23 2016-08-24 卡姆鲁普股份有限公司 具有突伸的换能器的流量计
DE102011090082A1 (de) * 2011-12-29 2013-07-04 Endress + Hauser Flowtec Ag Ultraschallwandler für ein Durchflussmessgerät
DE102013020497B4 (de) 2013-01-28 2018-10-11 Krohne Ag Baueinheit aus einem Ultraschallwandler und einen Wandlerhalter
DE102013211606A1 (de) * 2013-06-20 2014-12-24 Robert Bosch Gmbh Umfeldsensiereinrichtung mit Ultraschallwandler, und Kraftfahrzeug mit einer derartigen Umfeldsensiereinrichtung
JP6693941B2 (ja) 2014-07-11 2020-05-13 マイクロテック メディカル テクノロジーズ リミテッド マルチセル・トランスデューサー
DE102014115589A1 (de) 2014-10-27 2016-04-28 Endress + Hauser Flowtec Ag Anordnung zum Aussenden und/oder Empfangen eines Ultraschall-Nutzsignals und Ultraschall-Durchflussmessgerät
DE102014115592A1 (de) 2014-10-27 2016-04-28 Endress + Hauser Flowtec Ag Anordnung zum Aussenden und/oder Empfangen eines Ultraschall-Nutzsignals und Ultraschall-Durchflussmessgerät
DE102015103486A1 (de) * 2015-03-10 2016-09-15 Endress + Hauser Flowtec Ag Anordnung und Feldgerät der Prozessmesstechnik
DE102015106352A1 (de) 2015-04-24 2016-10-27 Endress + Hauser Flowtec Ag Anordnung und Ultraschall-Durchflussmessgerät
LT3178570T (lt) * 2015-12-07 2019-03-25 Danfoss A/S Ultragarsinis keitlys ir ultragarsinio keitlio gamybos būdas
EP3273210B1 (de) 2016-07-18 2022-05-18 VEGA Grieshaber KG Vibrationsgrenzstandsschalter und verfahren zur herstellung eines vibrationsgrenzstandsschalter
DE102017214370A1 (de) * 2017-08-17 2019-02-21 Landis + Gyr Gmbh Schallkopf für einen Durchflussmesser mit gestufter Seitenwand
DE102018213853A1 (de) * 2018-08-17 2020-02-20 Zf Friedrichshafen Ag System zum Messen eines Füllstands
CN110801297B (zh) * 2019-12-05 2025-02-14 深圳市凡超科技有限公司 超声波换能结构及手持式洁牙器
CN114257935A (zh) * 2020-09-25 2022-03-29 克洛纳测量技术有限公司 超声变换器和其运行方法、超声流量测量仪和其运行方法
EP4170296B1 (de) 2021-10-22 2023-10-11 Krohne AG Ultraschallwandler und ultraschalldurchflussmessgerät
DE102022114985B3 (de) * 2022-06-14 2023-10-05 Krohne Ag Ultraschalldurchflussmessgerät

Citations (6)

* Cited by examiner, † Cited by third party
Publication number Priority date Publication date Assignee Title
JPS5927870U (ja) * 1982-08-16 1984-02-21 ティーディーケイ株式会社 音響変換器
JPH01168825U (ja) * 1988-05-20 1989-11-28
JPH04231820A (ja) * 1990-05-19 1992-08-20 Flowtec Ag 流量測定装置用超音波送受変換素子
JPH09508202A (ja) * 1994-01-03 1997-08-19 パナメトリクス インコーポレイテッド 一時的クロストーク分離手段を持つ超音波変換装置
JPH1015491A (ja) * 1996-06-28 1998-01-20 Arutekusu:Kk 超音波振動用共振器の支持装置
JP2001330485A (ja) * 2000-05-23 2001-11-30 Fuji Electric Co Ltd 超音波流量計

Family Cites Families (14)

* Cited by examiner, † Cited by third party
Publication number Priority date Publication date Assignee Title
IL65625A0 (en) 1982-04-27 1982-07-30 Mantel Juval Sonic vibration isolators
US4770038A (en) * 1986-02-13 1988-09-13 The United States Of America As Represented By The Administrator Of National Aeronautics And Space Administration Ultrasonic depth gauge for liquids under high pressure
DE3941634A1 (de) 1989-12-15 1991-06-20 Siemens Ag Schallisolierte halterung eines ultraschallwandlers
DE59007347D1 (de) * 1990-05-19 1994-11-03 Flowtec Ag Messerwertaufnehmer für ein Ultraschall-Volumendurchfluss-Messgerät.
US5275060A (en) * 1990-06-29 1994-01-04 Panametrics, Inc. Ultrasonic transducer system with crosstalk isolation
US5515733A (en) * 1991-03-18 1996-05-14 Panametrics, Inc. Ultrasonic transducer system with crosstalk isolation
JP3569799B2 (ja) * 1998-12-17 2004-09-29 株式会社泉技研 超音波流量計
WO2000072000A1 (en) * 1999-05-24 2000-11-30 Joseph Baumoel Transducer for sonic measurement of gas flow and related characteristics
DE19951874C2 (de) * 1999-10-28 2003-05-22 Krohne Ag Basel Ultraschall-Durchflußmeßgerät
DE10153297C2 (de) * 2001-09-14 2003-09-25 Krohne Ag Basel Meßgerät
DE10205545B4 (de) * 2001-11-28 2005-09-15 Krohne Ag Durchflußmeßgerät
EP1316780B1 (de) * 2001-11-28 2016-12-28 Krohne AG Ultraschall-Durchflussmessgerät
DE50202211D1 (de) * 2002-03-01 2005-03-17 Sick Engineering Gmbh Ultraschallwandleranordnung mit Ultraschallfilter
JP2007142967A (ja) 2005-11-21 2007-06-07 Denso Corp 超音波センサ

Patent Citations (6)

* Cited by examiner, † Cited by third party
Publication number Priority date Publication date Assignee Title
JPS5927870U (ja) * 1982-08-16 1984-02-21 ティーディーケイ株式会社 音響変換器
JPH01168825U (ja) * 1988-05-20 1989-11-28
JPH04231820A (ja) * 1990-05-19 1992-08-20 Flowtec Ag 流量測定装置用超音波送受変換素子
JPH09508202A (ja) * 1994-01-03 1997-08-19 パナメトリクス インコーポレイテッド 一時的クロストーク分離手段を持つ超音波変換装置
JPH1015491A (ja) * 1996-06-28 1998-01-20 Arutekusu:Kk 超音波振動用共振器の支持装置
JP2001330485A (ja) * 2000-05-23 2001-11-30 Fuji Electric Co Ltd 超音波流量計

Cited By (1)

* Cited by examiner, † Cited by third party
Publication number Priority date Publication date Assignee Title
JP2014145769A (ja) * 2013-01-28 2014-08-14 Krohne A.G. 超音波変換器

Also Published As

Publication number Publication date
CN101676693A (zh) 2010-03-24
EP2148322A3 (de) 2014-05-14
EP2148322B2 (de) 2024-12-11
CN101676693B (zh) 2012-10-03
US7973453B2 (en) 2011-07-05
DE102008033098B4 (de) 2010-07-01
JP5355268B2 (ja) 2013-11-27
DE102008033098C5 (de) 2016-02-18
EP2148322A2 (de) 2010-01-27
CA2672058C (en) 2015-09-29
US20100011866A1 (en) 2010-01-21
EP2148322B1 (de) 2017-03-01
DE102008033098A1 (de) 2010-01-21
CA2672058A1 (en) 2010-01-15

Similar Documents

Publication Publication Date Title
JP5355268B2 (ja) 超音波変換器
US6983654B2 (en) Liquid level measuring device
JP4233445B2 (ja) 超音波流量計
CN113242959B (zh) 超声仪器
JP3569799B2 (ja) 超音波流量計
JP5504276B2 (ja) 改善された指向性を有する音波変換器及びソナーアンテナ
CN109073431A (zh) 应用于超声流量测量装置或超声料位测量装置的超声换能器
JP3761399B2 (ja) 超音波式流量測定器
CN110560349A (zh) 基于Helmholtz共振腔并减小空气阻尼的接收超声换能器
JP2017223654A (ja) 配管内を流れる流体の流速を測定するための装置及び方法
CN107306372B (zh) 具有放射元件的超声波换能器
JP2012163518A (ja) 超音波式流量計測装置
JP6149250B2 (ja) 超音波流量計
JP5533332B2 (ja) 超音波流速流量計
JP2015230260A (ja) 超音波流量計及び超音波流量計の取付方法
JP2006292381A (ja) 超音波流量計
JP6885839B2 (ja) 超音波センサー
JPS61132822A (ja) 超音波流量計
JP4598747B2 (ja) 測距センサ及びそれを備えた設備機器
JP4545486B2 (ja) 超音波流量計
JP6567392B2 (ja) 防振装置
JP3721404B2 (ja) 超音波流量計
JP2008151666A (ja) 測距センサ及びそれを備えた設備機器
CN114839273A (zh) 一种晶圆级带宽调谐结构制备工艺
CN111307232A (zh) 用于确定流体变量的测量装置

Legal Events

Date Code Title Description
RD04 Notification of resignation of power of attorney

Free format text: JAPANESE INTERMEDIATE CODE: A7424

Effective date: 20101227

RD04 Notification of resignation of power of attorney

Free format text: JAPANESE INTERMEDIATE CODE: A7424

Effective date: 20101228

A621 Written request for application examination

Free format text: JAPANESE INTERMEDIATE CODE: A621

Effective date: 20120712

A977 Report on retrieval

Free format text: JAPANESE INTERMEDIATE CODE: A971007

Effective date: 20130719

TRDD Decision of grant or rejection written
A01 Written decision to grant a patent or to grant a registration (utility model)

Free format text: JAPANESE INTERMEDIATE CODE: A01

Effective date: 20130729

A61 First payment of annual fees (during grant procedure)

Free format text: JAPANESE INTERMEDIATE CODE: A61

Effective date: 20130827

R150 Certificate of patent or registration of utility model

Ref document number: 5355268

Country of ref document: JP

Free format text: JAPANESE INTERMEDIATE CODE: R150

Free format text: JAPANESE INTERMEDIATE CODE: R150

R250 Receipt of annual fees

Free format text: JAPANESE INTERMEDIATE CODE: R250

R250 Receipt of annual fees

Free format text: JAPANESE INTERMEDIATE CODE: R250

R250 Receipt of annual fees

Free format text: JAPANESE INTERMEDIATE CODE: R250

R250 Receipt of annual fees

Free format text: JAPANESE INTERMEDIATE CODE: R250

R250 Receipt of annual fees

Free format text: JAPANESE INTERMEDIATE CODE: R250

R250 Receipt of annual fees

Free format text: JAPANESE INTERMEDIATE CODE: R250

R250 Receipt of annual fees

Free format text: JAPANESE INTERMEDIATE CODE: R250

R250 Receipt of annual fees

Free format text: JAPANESE INTERMEDIATE CODE: R250

R250 Receipt of annual fees

Free format text: JAPANESE INTERMEDIATE CODE: R250

R250 Receipt of annual fees

Free format text: JAPANESE INTERMEDIATE CODE: R250