JP2010028046A - 多層プリント配線板製造方法および導電性バンプ付基板シート製造方法 - Google Patents

多層プリント配線板製造方法および導電性バンプ付基板シート製造方法 Download PDF

Info

Publication number
JP2010028046A
JP2010028046A JP2008191207A JP2008191207A JP2010028046A JP 2010028046 A JP2010028046 A JP 2010028046A JP 2008191207 A JP2008191207 A JP 2008191207A JP 2008191207 A JP2008191207 A JP 2008191207A JP 2010028046 A JP2010028046 A JP 2010028046A
Authority
JP
Japan
Prior art keywords
substrate sheet
conductive
sheet
conductive bumps
flat
Prior art date
Legal status (The legal status is an assumption and is not a legal conclusion. Google has not performed a legal analysis and makes no representation as to the accuracy of the status listed.)
Granted
Application number
JP2008191207A
Other languages
English (en)
Other versions
JP5152659B2 (ja
Inventor
Tsutomu Uchiumi
海 勉 内
Masayuki Nagashima
島 正 幸 長
Hiroyuki Shirogane
金 弘 之 白
Current Assignee (The listed assignees may be inaccurate. Google has not performed a legal analysis and makes no representation or warranty as to the accuracy of the list.)
Dai Nippon Printing Co Ltd
Original Assignee
Dai Nippon Printing Co Ltd
Priority date (The priority date is an assumption and is not a legal conclusion. Google has not performed a legal analysis and makes no representation as to the accuracy of the date listed.)
Filing date
Publication date
Application filed by Dai Nippon Printing Co Ltd filed Critical Dai Nippon Printing Co Ltd
Priority to JP2008191207A priority Critical patent/JP5152659B2/ja
Publication of JP2010028046A publication Critical patent/JP2010028046A/ja
Application granted granted Critical
Publication of JP5152659B2 publication Critical patent/JP5152659B2/ja
Expired - Fee Related legal-status Critical Current
Anticipated expiration legal-status Critical

Links

Images

Landscapes

  • Production Of Multi-Layered Print Wiring Board (AREA)

Abstract

【課題】非導電性シートを突き破った導電性バンプを介して接続される非導電性シートを挟んだ導電性バンプ付基板シート間における抵抗値が小さくなるような多層プリント配線板が得られる多層プリント配線板製造方法および導電性バンプ付基板シートの製造方法を提供する。
【解決手段】多層プリント配線板50を製造するにあたり、まず基板シート10において各導電性バンプ14が形成されるべき各々の箇所にそれぞれ凹部12を予め形成しておく。そして、この基板シート10の各凹部12に導電性バンプ14を形成し、その後、導電性バンプ14が形成された基板シート10の各凹部12を平坦状に戻す。そして、導電性バンプ14付きの基板シート10と、非導電性シート40とを交互に重ね合わせることにより多層プリント配線板50を製造する。
【選択図】図11A

Description

本発明は、多層プリント配線板を製造するための多層プリント配線板製造方法、および複数の導電性バンプが表面に形成された導電性バンプ付基板シートを製造するための導電性バンプ付基板シート製造方法に関する。
従来より、銅箔等の基板シートの表面に複数の略円錐状の導電性バンプが形成された導電性バンプ付基板シートと、プリプレグ等の非導電性シート(絶縁シート)とを交互に重ね合わせることにより形成される多層プリント配線板が知られている。このような多層プリント配線板において、基板シートの表面に形成された導電性バンプが絶縁シートを貫通することによって、当該絶縁シートの両側にある基板シート同士が導電性バンプによって電気的に接続されるようになっている(例えば、特許文献1乃至3等参照)。
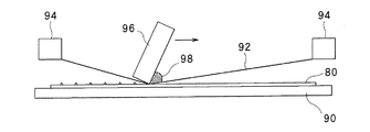
導電性バンプ付基板シートの形成方法について、図13および図14を用いて説明する。基板シートに複数の導電性バンプを形成するにあたり、例えばメタルマスク版等からなるスクリーン版92、およびスキージ96を用いるようなスクリーン印刷方法(孔版印刷方法)が用いられる。
具体的には、まず、図13に示すような平板状の基板シート80を印刷定盤90上に載置し、この平板状の基板シート80の上方にわずかな距離を隔ててスクリーン版92を設置する。この際に、印刷定盤90上に載置された基板シート80に対してスクリーン版92の位置合わせをCCDカメラ(図示せず)等により行い、このスクリーン版92の両端部を保持部材94により保持する。また、図14に示すようにスクリーン版92には、基板シート80に導電性バンプ82が形成されるべき位置に対応して複数の貫通穴(版孔)92aが形成されている。そして、図13および図14に示すように、スキージ96により導電性ペースト98の塗工を行い、この際に図14に示すようにスキージ96がスクリーン版92を下方に押圧してこのスクリーン版92と基板シート80とを当接させることにより、導電性ペースト98はスクリーン版92の貫通穴92aを通過して平板状の基板シート80上に付着する。
ここで、スキージ96によるスクリーン版92を介した導電性ペースト98の塗工原理についてより詳細に説明すると、導電性ペースト98はスキージ96によってスクリーン版92の表面に沿って移動させられるが、スクリーン版92に貫通穴92aが形成されている箇所においてはこの貫通穴92aに導電性ペースト98が入り込む。そして、図14に示すようにスキージ96がスクリーン版92を基板シート80に向かって押圧することによって、貫通穴92aに入った導電性ペースト98の一部が基板シート80上に付着することとなる。
スキージ96を用いたスクリーン印刷方法により基板シート80上に導電性ペースト98を付着させた後、この基板シート80の乾燥を行う。このことにより、図15に示すように基板シート80上の導電性ペースト98が熱硬化して略円錐状の導電性バンプ82が形成されることとなる。
ここで、基板シート80に形成される導電性バンプ82は、当該基板シート80の厚さ方向(図15の上下方向)において絶縁シート(図示せず)を貫通させるのに十分な高さが必要とされる。また、多層プリント配線板のファインピッチ化を行う場合には、略円錐状の導電性バンプ82について、同じ高さであっても底面積が小さくなるような形状、すなわちいわゆるアスペクト比の高い略円錐状とする必要がある。
また、他のスクリーン印刷方法としては、例えば特許文献4等に示すようなものが知られている。特許文献4に開示されるスクリーン印刷方法においては、表面に凹凸のある印刷基板の凸部頂点にのみペースト類を転写するようになっている。具体的には、スクリーン版と印刷基板との間に、ゴムまたは軟質樹脂で形成された弾性ロールを介在させ、スクリーン版上のペースト類をいったん弾性ロールに転写し、弾性ロールを回転させながら当該弾性ロールに転写されたペースト類を印刷基板の凸部頂点に転写するようになっている。
特許第3167840号 特開2004−6577号公報 特開2002−305376号公報 特開2004−268266号公報
しかしながら、従来の導電性バンプ付基板シートの製造方法においては、平板状の基板シート80上に導電性バンプ82を形成するにあたり、スクリーン印刷工程1回あたりの基板シート80に付着する導電性ペースト98の量はスクリーン版92の貫通穴92aにより定められるため、この導電性ペースト98の量が十分ではなく1回のスクリーン印刷工程では導電性バンプ82の高さが絶縁シートを貫通させるのに十分な高さに達しない場合が多い。図面を用いてより詳細に説明すると、図15(a)〜(d)は、従来の方法により基板シート80に導電性バンプ82が形成される過程を示す図であって、(a)は1回目のスクリーン印刷工程および乾燥工程後の導電性バンプ82の形状を示し、(b)は2回目のスクリーン印刷工程および乾燥工程後の導電性バンプ82の形状を示している。また、図15(c)は3回目のスクリーン印刷工程および乾燥工程後の導電性バンプ82の形状を示し、(d)は4回目のスクリーン印刷工程および乾燥工程後の導電性バンプ82の形状を示している。
ここで、導電性バンプ82により絶縁シートを貫通させる際に、図15(d)に示すような高さを有する略円錐状の導電性バンプ82が求められる。このため、図13に示すようなスクリーン印刷工程を複数回、具体的には例えば4回繰り返して行うことが必要とされる。しかしながら、スクリーン印刷工程を1回行うたびに基板シート80の乾燥工程およびCCDカメラ等によるスクリーン版92の位置合わせ工程が必要となり、十分な高さの導電性バンプ82が形成されるまでこれらの工程を何度も繰り返す必要があった。また、上述のようなスクリーン印刷工程の回数を減らした場合には、基板シート80に形成された導電性バンプ82の先端形状が細くなり、基板シート80と絶縁シートとを交互に重ね合わせたときに、絶縁シートを突き破った導電性バンプ82の先端部分とこの絶縁シートに当接する他の基板シートとが接触する面積が小さくなり、この導電性バンプ82を介して接続される絶縁シートを挟んだ2つの基板シート間における抵抗値が大きくなるという問題があった。
本発明は、このような点を考慮してなされたものであり、非導電性シートを突き破った導電性バンプの先端部分とこの非導電性シートに当接する他の導電性バンプ付基板シートとが接触する面積が大きくなり、このため導電性バンプを介して接続される非導電性シートを挟んだ導電性バンプ付基板シート間の抵抗値が小さくなるような多層プリント配線板を製造することができる多層プリント配線板製造方法を提供することを目的とする。また、本発明は、上述のような多層プリント配線板製造方法に用いられる導電性バンプ付基板シートの製造方法を提供することを目的とする。
本発明は、複数の導電性バンプが表面に形成された導電性バンプ付基板シートと、非導電性シートとが交互に重ね合わせられており、前記導電性バンプが前記非導電性シートを貫通することにより当該非導電性シートの両側にある導電性バンプ付基板シート同士が前記導電性バンプによって電気的に接続されているような多層プリント配線板を製造するための多層プリント配線板製造方法であって、平板状の基板シートを準備する工程と、前記各導電性バンプが形成されるべき各々の箇所において前記平板状の基板シートを変形させることにより、この基板シートにおいて前記各導電性バンプが形成されるべき各々の箇所にそれぞれ凹部を形成する工程と、複数の凹部が形成された前記基板シートの表面において当該各凹部に導電性バンプを形成する工程と、前記導電性バンプが形成された前記基板シートの各凹部を平坦状に戻すことにより、導電性バンプ付基板シートを製造する工程と、前記基板シートの各凹部が平坦状に戻された前記導電性バンプ付基板シートと、非導電性シートとを交互に重ね合わせることにより多層プリント配線板を製造する工程と、を備えたことを特徴とする多層プリント配線板製造方法である。
このような多層プリント配線板製造方法によれば、基板シートにおいて各導電性バンプが形成されるべき各々の箇所にそれぞれ凹部を予め形成しておき、この基板シートの各凹部の中に導電性バンプを形成し、その後、導電性バンプが形成された基板シートの各凹部を平坦状に戻すことにより導電性バンプ付基板シートを製造し、基板シートの各凹部が平坦状に戻された導電性バンプ付基板シートと、非導電性シートとを交互に重ね合わせることにより多層プリント配線板を製造している。そして、基板シートの各凹部を平坦状に戻したときに、凹部の中に形成された導電性バンプが基板シートの表面からより一層突き出るようになる。このため、非導電性シートを突き破った導電性バンプの先端部分とこの非導電性シートに当接する他の導電性バンプ付基板シートとが接触する面積が大きくなる。このことにより、導電性バンプを介して接続される非導電性シートを挟んだ導電性バンプ付基板シート間における抵抗値が小さくなるような多層プリント配線板を製造することができるようになる。
本発明の多層プリント配線板製造方法においては、前記導電性バンプが形成された前記基板シートの各凹部を平坦状に戻す工程において、前記基板シートに対して前記導電性バンプが形成された面と反対側の面からロール、凸形状に湾曲した板状部材または平板状の板状部材を押し当てることによりこの反対側の面に形成された前記各凹部に対応する各凸部が平坦状に戻され、このことにより前記凹部も平坦状に戻されることが好ましい。
本発明は、複数の導電性バンプが表面に形成された導電性バンプ付基板シートを製造するための導電性バンプ付基板シート製造方法であって、平板状の基板シートを準備する工程と、前記各導電性バンプが形成されるべき各々の箇所において前記平板状の基板シートを変形させることにより、この基板シートにおいて前記各導電性バンプが形成されるべき各々の箇所にそれぞれ凹部を形成する工程と、複数の凹部が形成された前記基板シートの表面において当該各凹部に導電性バンプを形成する工程と、前記導電性バンプが形成された前記基板シートの各凹部を平坦状に戻す工程と、を備えたことを特徴とする導電性バンプ付基板シート製造方法である。
このような導電性バンプ付基板シート製造方法によれば、基板シートの各凹部を平坦状に戻したときに、凹部の中に形成された導電性バンプが基板シートの表面からより一層突き出るようになる。このため、当該導電性バンプ付基板シート製造方法により製造された導電性バンプ付基板シートを用いて多層プリント配線板を製造するにあたり、非導電性シートを突き破った導電性バンプの先端部分とこの非導電性シートに当接する他の導電性バンプ付基板シートとが接触する面積が大きくなる。このことにより、導電性バンプを介して接続される非導電性シートを挟んだ導電性バンプ付基板シート間における抵抗値が小さくなるような多層プリント配線板を製造することができるようになる。
本発明の導電性バンプ付基板シート製造方法においては、前記基板シートの各凹部を平坦状に戻す工程において、前記基板シートに対して前記導電性バンプが形成された面と反対側の面からロール、凸形状に湾曲した板状部材または平板状の板状部材を押し当てることによりこの反対側の面に形成された前記各凹部に対応する各凸部が平坦状に戻され、このことにより前記凹部も平坦状に戻されることが好ましい。
本発明の多層プリント配線板製造方法および導電性バンプ付基板シート製造方法によれば、非導電性シートを突き破った導電性バンプの先端部分とこの非導電性シートに当接する他の導電性バンプ付基板シートとが接触する面積が大きくなり、このため導電性バンプを介して接続される非導電性シートを挟んだ導電性バンプ付基板シート間における抵抗値が小さくなるような多層プリント配線板が得られる。
以下、図面を参照して本発明の実施の形態について説明する。図1乃至図12は、本発明による導電性バンプ付基板シートの製造方法および多層プリント配線板の製造方法の一の実施の形態を示す図である。
このうち、図1は、導電性バンプ付基板シートの製造方法において、平板状の基板シート、および複数の突起が表面に形成された平板状部材を準備したときの状態を示す側面図であり、図2は、図1に示す平板状の基板シートおよび平板状部材を当接させてこの組合せ体を挟圧する方法を示す側面図であり、図3は、図2に示す方法により製造された、複数の凹部が表面に形成された基板シートを示す側面図である。また、図4は、図1に示す平板状の基板シートおよび平板状部材を当接させてこの組合せ体を挟圧する他の方法を示す側面図である。
また、図5乃至図8は、図3に示す基板シートに導電性バンプを形成する動作の一連の流れを順に示す側面図であり、図9は、図7の部分拡大側面図である。また、図10は、図5乃至図8に示す方法により製造された、導電性バンプが形成された基板シートを示す側面図であり、図11A〜図11Eは、図10に示す基板シートの凹部を平坦状に戻す方法を示す側面図である。また、図12は、図11A〜図11Eに示す方法により得られる導電性バンプ付基板シートと非導電性シートとを交互に重ね合わせることにより製造される多層プリント配線板を示す側面図である。
以下、導電性バンプ付基板シートの製造方法および多層プリント配線板の製造方法について順次説明する。
〔導電性バンプ付基板シートの製造方法〕
まず、図1に示すように、平板状の銅箔等の導電性の金属シートからなる基板シート10、および複数の突起22が形成された平板状部材20を準備する。ここで、平板状部材20は、銅、ステンレス、アルミニウム等の金属シートや、PET、PP、PE等のフィルム、あるいは樹脂シート等から構成されている。また、各突起22は、金属や樹脂等から構成されており、平板状部材20に対して後述するスクリーン印刷や、光造型法、エッチング、電鋳加工等を行うことにより形成されるようになっている。平板状部材20における各突起22が形成される位置は、基板シート10に導電性バンプ14(後述)が形成されるべき位置と略同一となるようにする。なお、平板状部材20に対して後述するスクリーン印刷方法(図5乃至図9に示すスクリーン印刷方法と類似の印刷方法)により各突起22を形成した場合は、導電性バンプ14(後述)が形成されるべき位置に対するこの突起22の見当合わせを容易に行うことができるようになる。
次に、平板状の基板シート10の表面(図1における基板シート10の上側の面)と平板状部材20における複数の突起22が形成された表面(図1における平板状部材20の下側の面)とを当接させる。そして、図2に示すように、この基板シート10および平板状部材20の組合せ体を、一対のゴムロール(挟圧ロール)24、26の間で挟圧する。具体的には、各々が連続的に回転する一対のゴムロール24、26の間に基板シート10および平板状部材20の組合せ体を搬送し、図2の矢印に示す方向に当該組合せ体を移動させることにより、基板シート10および平板状部材20の組合せ体は上下方向から挟圧されることとなる。このことにより、基板シート10の表面(図2における基板シート10の下側の面)が平板状部材20の各突起22に押圧され、基板シート10が変形し、図3に示すように基板シート10の表面に複数の凹部12が形成されるとともに基板シート10におけるこの凹部12が形成された部分の裏側(図3における下側の面)が盛り上がって複数の凸部13が形成されるようになる。ここで、平板状部材20における各突起22が形成される位置は、基板シート10に導電性バンプ14が形成されるべき位置と略同一になっているので、基板シート10に形成される各凹部12の位置も、当該基板シート10に導電性バンプ14が形成されるべき位置と略同一になる。
なお、基板シート10を変形させて複数の凹部12を形成する方法は、図2に示すような方法に限定されることはなく、他の様々な方法を用いることができる。例えば、図4に示すように、基板シート10および平板状部材20の組合せ体を印刷定盤28に乗せ、加圧ロール29によりこの印刷定盤28上に載置された基板シート10が下方に押圧されるように印刷定盤28を図4の左右方向に移動させることによって、基板シート10における平板状部材20の各突起22が当接する箇所に複数の凹部12が形成されるようになる。このように、平板状の基板シート10の表面と平板状部材20における各突起22が形成された表面とを当接させてこの組合せ体を挟圧することにより、平板状の基板シート10に凹部12を形成することができるようになる。
次に、図5乃至図8に示すように、複数の凹部12が形成された基板シート10に対してスクリーン印刷を行う。
このようなスクリーン印刷を行う印刷装置は、基板シート10を吸引孔(図示せず)からの吸引力によって保持する印刷定盤30と、所定のパターンからなる複数の貫通穴(版孔)32aが設けられたメタルマスク等のスクリーン版32と、このスクリーン版32を保持する保持部材34とを備えている。ここで、各貫通穴32aは、基板シート10に導電性バンプ14が形成されるべき位置に対応するようスクリーン版32に形成されている。また、印刷装置は、スクリーン版32上で走査し、スクリーン版32に載置された銀ペースト、半田ペーストなどの導電性ペースト38を貫通穴32aを介して基板シート10上に転移させるスキージ36と、スキージ36を支持する支持部材33と、支持部材33を水平方向(図5の左右方向)に移動させるよう案内を行うガイド部材31とを備えている。支持部材33は、スキージ36を図5の下方に進出させたり上方に退避させたりすることができるようになっている。さらに、印刷装置は、印刷定盤30上にある基板シート10の表面の撮像を行うCCDカメラ39を備えている。また、印刷定盤30の下方にはガイド部材30aが配置されている。印刷定盤30は、ガイド部材30aに沿って水平方向(図5の左右方向)に移動可能となっている。
次に、上述のような印刷装置によるスクリーン印刷方法について説明する。まず、図5に示すように、印刷定盤30の上に基板シート10を載置し、吸引孔(図示せず)からの吸引力によって印刷定盤30上に基板シート10を保持させる。このときに、基板シート10に位置合わせマークを予め設けておくことにより、この位置合わせマークをCCDカメラ39で撮像し、撮像された画像における位置合わせマークに基づいて印刷定盤30の位置を微調整することにより、基板シート10に形成された各凹部12の位置と、スクリーン版32の貫通穴32aの位置とを容易に位置合わせすることができるようになる。
そして、図6に示すように、印刷定盤30をガイド部材30aに沿って水平方向(図5の右方)に移動させ、この印刷定盤30をスクリーン版32の下方に位置させる。この際に、スクリーン版32の各貫通穴32aが基板シート10の各凹部12に向き合うようになる。
そして、図7に示すように、スキージ36が支持部材33から下方に進出し、このスキージ36がスクリーン版32を下方に押してスクリーン版32が印刷定盤30上の基板シート10の表面に当接する。そして、図7および図9に示すように、支持部材33をガイド部材31に沿って水平方向(図7の左方向)に移動させることによりスキージ36を水平方向(図7の左方向)に移動させ、このときにスキージ36がスクリーン版32を下方に押し続けるようにする。この際に、導電性ペースト38はスクリーン版32の貫通穴32aを通過して基板シート10の凹部12の中に付着する。
ここで、スキージ36によるスクリーン版32を介した導電性ペースト38の塗工原理についてより詳細に説明すると、導電性ペースト38はスキージ36によってスクリーン版32の表面を移動させられるが、スクリーン版32に貫通穴32aが形成されている箇所においてはこの貫通穴32aに導電性ペースト38が入り込む。そして、図9等に示すようにスクリーン版32の貫通穴32aは基板シート10の凹部12に対応して設けられているので、スキージ36がスクリーン版32を基板シート10に向かって押圧することによって、貫通穴32aに入った導電性ペースト38の一部が基板シート10の凹部12の中に付着することとなる。
そして、図8に示すようにスキージ36による導電性ペースト38の塗工が終了したら、スキージ36が図8の上方に退避し、スクリーン版32が基板シート10から隔離される。このようにして、図10に示すような、導電性バンプ14が各凹部12の中に形成された基板シート10が得られる。この際に、基板シート10の表面に対する導電性バンプ14の先端の高さ(図10における符号aで示す高さ)は、例えば100μm〜130μmの範囲内の大きさとなっている。
具体的には、スキージ36を用いたスクリーン印刷方法により基板シート10の各凹部12の中に導電性ペースト38を付着させた後、この基板シート10の乾燥を行う。このことにより、図10に示すように基板シート10の各凹部12の中に付着した導電性ペースト38が熱硬化して略円錐状の導電性バンプ14が形成されることとなる。
そして、基板シート10の乾燥を行った後に、図11Aに示すように、この基板シート10に対して導電性バンプ14が形成された面と反対側の面からロール60を押し当てる。具体的には、ロール60を連続的に回転させておき、このロール60の外周面に、基板シート10における導電性バンプ14が形成された面と反対側の面を当接させるよう、この基板シート10の一部分をロール60に巻くようにする。このことにより、図11Bに示すように、基板シート10におけるロール60の外周面に当接する裏面に形成された各凸部13が平坦状に戻され、この凸部13の裏側にある凹部12も平坦状に戻される。このようにして、図11Cに示すような、各凹部12が平坦状に戻された、導電性バンプ14付きの基板シート10が得られる。ここで、基板シート10の各凹部12を平坦状に戻したときに、凹部12の中に形成された導電性バンプ14が基板シート10の表面からより一層突き出るようになる。具体的には、基板シート10の表面に対する導電性バンプ14の先端の高さ(図11Cにおける符号bで示す高さ)は、例えば約180μmとなる。
基板シート10における各凹部12を平坦状に戻す方法は、図11A、図11Bに示すようなロール60を用いる方法に限定されることはない。他の方法としては、図11Dに示すように、凸形状に湾曲した板状部材61を用い、基板シート10に対して導電性バンプ14が形成された面と反対側の面からこの湾曲した板状部材61を押し当てることによりこの反対側の面に形成された凸部13を平坦状に戻し、このことによりこの凸部13の裏側にある凹部12も平坦状に戻すようにしてもよい。
更に他の方法としては、図11Eに示すように、平板状の板状部材62を用い、基板シート10に対して導電性バンプ14が形成された面と反対側の面からこの平板状の板状部材62を押し当てることによりこの反対側の面に形成された凸部13を平坦状に戻し、このことによりこの凸部13の裏側にある凹部12も平坦状に戻すようにしてもよい。
また、基板シート10における各凹部12を平坦状に戻す方法としては、図11A、図11B、図11D、図11E以外の方法を用いることもできる。また、基板シート10における各凹部12を平坦状に戻す動作は、基板シート10の乾燥を行う前に行ってもよい。
〔多層プリント配線板の製造方法〕
次に、図12を用いて多層プリント配線板の製造方法について説明する。図12は、図11Cに示す導電性バンプ14付きの基板シート10とプリプレグ等の非導電性シート(絶縁シート)40とを交互に重ね合わせることにより製造される多層プリント配線板50を示す側面図である。
まず、導電性バンプ14付きの基板シート10と非導電性シート40とを交互に重ね合わせる。そして、この重ね合わせ体を一対のロールの間で非常に大きな圧力で挟圧する。あるいは、重ね合わせ体を印刷定盤の上に載せ、押圧ロール等によりこの重ね合わせ体を全面にわたって印刷定盤に向かって非常に大きな圧力で押圧してもよい。重ね合わせ体の挟圧を行う際に、図示しないヒータにより例えば100〜150℃で重ね合わせ体に対して加熱も行うようにする。
このように、導電性バンプ14付きの基板シート10と非導電性シート40との重ね合わせ体が上下方向から挟圧されるとともに加熱されることにより、非導電性シート40の裏面がその下方に設けられた基板シート10の導電性バンプ14の先端部分に押圧され、この非導電性シート40における押圧された箇所が破断される。このことにより導電性バンプ14が非導電性シート40を貫通し、非導電性シート40の上方に設けられた他の基板シート10と導電性バンプ14とが連結されることとなる(図12参照)。このため、一の非導電性シート40の両側にある基板シート10同士が導電性バンプ14によって電気的に接続される。このようにして、多層プリント配線板50が製造される。
以上のように本実施の形態の多層プリント配線板50の製造方法によれば、基板シート10において各導電性バンプ14が形成されるべき各々の箇所にそれぞれ凹部12を予め形成しておき、この基板シート10の各凹部12の中に導電性バンプ14を形成し、その後、導電性バンプ14が形成された基板シート10の各凹部12を平坦状に戻し、基板シート10の各凹部12が平坦状に戻された導電性バンプ14付きの基板シート10と、非導電性シート40とを交互に重ね合わせることにより多層プリント配線板50を製造している。ここで、基板シート10の各凹部12を平坦状に戻したときに、凹部12の中に形成された導電性バンプ14が基板シート10の表面からより一層突き出るようになる。このため、図12に示すように、非導電性シート40を突き破った導電性バンプ14の先端部分とこの非導電性シート40に当接する他の基板シート10(非導電性シート40の上方に位置する基板シート10)とが接触する面積が大きくなる。このことにより、導電性バンプ14を介して接続される非導電性シート40を挟んだ基板シート10間における抵抗値が小さくなるような多層プリント配線板50が得られる。このため、多層プリント配線板50の製造において、高抵抗値を有するような不良品の発生を抑制し、歩留まり率を向上させることができる。
また、本実施の形態の導電性バンプ14付きの基板シート10の製造方法によれば、基板シート10の各凹部12を平坦状に戻したときに、凹部12の中に形成された導電性バンプ14が基板シート10の表面からより一層突き出るようになる。このため、この製造方法により製造された導電性バンプ14付きの基板シート10を用いて多層プリント配線板50を製造するにあたり、非導電性シート40を突き破った導電性バンプ14の先端部分とこの非導電性シート40に当接する他の基板シート10(非導電性シート40の上方に位置する基板シート10)とが接触する面積が大きくなり、このため導電性バンプ14を介して接続される非導電性シート40を挟んだ基板シート10間における抵抗値が小さくなるような多層プリント配線板50を製造することができるようになる。
平板状の基板シート、および複数の突起が表面に形成された平板状部材を準備したときの状態を示す側面図である。 図1に示す平板状の基板シートおよび平板状部材を当接させてこの組合せ体を挟圧する方法を示す側面図である。 図2に示す方法により製造された、複数の凹部が表面に形成された基板シートを示す側面図である。 図1に示す平板状の基板シートおよび平板状部材を当接させてこの組合せ体を挟圧する他の方法を示す側面図である。 図3に示す基板シートに導電性バンプを形成する動作の流れを示す側面図である。 図5に示す状態に引き続く、基板シートに導電性バンプを形成する動作の流れを示す側面図である。 図6に示す状態に引き続く、基板シートに導電性バンプを形成する動作の流れを示す側面図である。 図7に示す状態に引き続く、基板シートに導電性バンプを形成する動作の流れを示す側面図である。 図7の部分拡大側面図である。 図5乃至図8に示す方法により製造された、導電性バンプが形成された基板シートを示す側面図である。 図10に示す基板シートの凹部を平坦状に戻す方法を示す側面図である。 図11Aに示す状態に引き続く、基板シートの凹部を平坦状に戻す方法を示す側面図である。 基板シートの凹部が平坦状に戻されることにより製造される導電性バンプ付基板シートを示す側面図である。 図10に示す基板シートの凹部を平坦状に戻す他の方法を示す側面図である。 図10に示す基板シートの凹部を平坦状に戻す更に他の方法を示す側面図である。 図11A〜図11Eに示す方法により得られる導電性バンプ付基板シートと非導電性シートとを交互に重ね合わせることにより製造される多層プリント配線板を示す側面図である。 基板シートに導電性バンプを形成する従来の方法を示す側面図である。 図13の部分拡大側面図である。 (a)〜(d)は、従来の方法により基板シートに導電性バンプが形成される過程を示す図であって、(a)は1回目のスクリーン印刷工程および乾燥工程後の導電性バンプの形状を示し、(b)は2回目のスクリーン印刷工程および乾燥工程後の導電性バンプの形状を示し、(c)は3回目のスクリーン印刷工程および乾燥工程後の導電性バンプの形状を示し、(d)は4回目のスクリーン印刷工程および乾燥工程後の導電性バンプの形状を示す。
符号の説明
10 基板シート
12 凹部
13 凸部
14 導電性バンプ
20 平板状部材
22 突起
24、26 一対のゴムロール
28 印刷定盤
29 加圧ロール
30 印刷定盤
30a ガイド部材
31 ガイド部材
32 スクリーン版
32a 貫通穴
33 支持部材
34 保持部材
36 スキージ
38 導電性ペースト
39 CCDカメラ
40 非導電性シート
50 多層プリント配線板
60 ロール
61 凸形状に湾曲した板状部材
62 平板状の板状部材
80 基板シート
82 導電性バンプ
90 印刷定盤
92 スクリーン版
92a 貫通穴
94 保持部材
96 スキージ
98 導電性ペースト

Claims (4)

  1. 複数の導電性バンプが表面に形成された導電性バンプ付基板シートと、非導電性シートとが交互に重ね合わせられており、前記導電性バンプが前記非導電性シートを貫通することにより当該非導電性シートの両側にある導電性バンプ付基板シート同士が前記導電性バンプによって電気的に接続されているような多層プリント配線板を製造するための多層プリント配線板製造方法であって、
    平板状の基板シートを準備する工程と、
    前記各導電性バンプが形成されるべき各々の箇所において前記平板状の基板シートを変形させることにより、この基板シートにおいて前記各導電性バンプが形成されるべき各々の箇所にそれぞれ凹部を形成する工程と、
    複数の凹部が形成された前記基板シートの表面において当該各凹部に導電性バンプを形成する工程と、
    前記導電性バンプが形成された前記基板シートの各凹部を平坦状に戻すことにより、導電性バンプ付基板シートを製造する工程と、
    前記基板シートの各凹部が平坦状に戻された前記導電性バンプ付基板シートと、非導電性シートとを交互に重ね合わせることにより多層プリント配線板を製造する工程と、
    を備えたことを特徴とする多層プリント配線板製造方法。
  2. 前記導電性バンプが形成された前記基板シートの各凹部を平坦状に戻す工程において、前記基板シートに対して前記導電性バンプが形成された面と反対側の面からロール、凸形状に湾曲した板状部材または平板状の板状部材を押し当てることによりこの反対側の面に形成された前記各凹部に対応する各凸部が平坦状に戻され、このことにより前記凹部も平坦状に戻されることを特徴とする請求項1記載の多層プリント配線板製造方法。
  3. 複数の導電性バンプが表面に形成された導電性バンプ付基板シートを製造するための導電性バンプ付基板シート製造方法であって、
    平板状の基板シートを準備する工程と、
    前記各導電性バンプが形成されるべき各々の箇所において前記平板状の基板シートを変形させることにより、この基板シートにおいて前記各導電性バンプが形成されるべき各々の箇所にそれぞれ凹部を形成する工程と、
    複数の凹部が形成された前記基板シートの表面において当該各凹部に導電性バンプを形成する工程と、
    前記導電性バンプが形成された前記基板シートの各凹部を平坦状に戻す工程と、
    を備えたことを特徴とする導電性バンプ付基板シート製造方法。
  4. 前記基板シートの各凹部を平坦状に戻す工程において、前記基板シートに対して前記導電性バンプが形成された面と反対側の面からロール、凸形状に湾曲した板状部材または平板状の板状部材を押し当てることによりこの反対側の面に形成された前記各凹部に対応する各凸部が平坦状に戻され、このことにより前記凹部も平坦状に戻されることを特徴とする請求項3記載の導電性バンプ付基板シート製造方法。
JP2008191207A 2008-07-24 2008-07-24 多層導電性バンプ付基板シート積層体製造方法および導電性バンプ付基板シート製造方法 Expired - Fee Related JP5152659B2 (ja)

Priority Applications (1)

Application Number Priority Date Filing Date Title
JP2008191207A JP5152659B2 (ja) 2008-07-24 2008-07-24 多層導電性バンプ付基板シート積層体製造方法および導電性バンプ付基板シート製造方法

Applications Claiming Priority (1)

Application Number Priority Date Filing Date Title
JP2008191207A JP5152659B2 (ja) 2008-07-24 2008-07-24 多層導電性バンプ付基板シート積層体製造方法および導電性バンプ付基板シート製造方法

Publications (2)

Publication Number Publication Date
JP2010028046A true JP2010028046A (ja) 2010-02-04
JP5152659B2 JP5152659B2 (ja) 2013-02-27

Family

ID=41733553

Family Applications (1)

Application Number Title Priority Date Filing Date
JP2008191207A Expired - Fee Related JP5152659B2 (ja) 2008-07-24 2008-07-24 多層導電性バンプ付基板シート積層体製造方法および導電性バンプ付基板シート製造方法

Country Status (1)

Country Link
JP (1) JP5152659B2 (ja)

Citations (5)

* Cited by examiner, † Cited by third party
Publication number Priority date Publication date Assignee Title
JPH1079579A (ja) * 1996-09-05 1998-03-24 Toshiba Corp 印刷配線板、および印刷配線板の製造方法
JP2000168155A (ja) * 1998-12-08 2000-06-20 Kobayashi Kirokushi Co Ltd 箔押し方法
JP2001168252A (ja) * 1999-12-07 2001-06-22 Shibafu Engineering Kk 半導体装置およびその製造方法
JP2001267738A (ja) * 2000-03-17 2001-09-28 Matsushita Electric Ind Co Ltd プリント配線板の製造方法およびプリント配線板
JP2005340230A (ja) * 2004-05-24 2005-12-08 Sony Corp プリント配線板および部品実装体の製造方法

Patent Citations (5)

* Cited by examiner, † Cited by third party
Publication number Priority date Publication date Assignee Title
JPH1079579A (ja) * 1996-09-05 1998-03-24 Toshiba Corp 印刷配線板、および印刷配線板の製造方法
JP2000168155A (ja) * 1998-12-08 2000-06-20 Kobayashi Kirokushi Co Ltd 箔押し方法
JP2001168252A (ja) * 1999-12-07 2001-06-22 Shibafu Engineering Kk 半導体装置およびその製造方法
JP2001267738A (ja) * 2000-03-17 2001-09-28 Matsushita Electric Ind Co Ltd プリント配線板の製造方法およびプリント配線板
JP2005340230A (ja) * 2004-05-24 2005-12-08 Sony Corp プリント配線板および部品実装体の製造方法

Also Published As

Publication number Publication date
JP5152659B2 (ja) 2013-02-27

Similar Documents

Publication Publication Date Title
US7320173B2 (en) Method for interconnecting multi-layer printed circuit board
US20130146218A1 (en) Manufacturing method for wiring board
JP5152659B2 (ja) 多層導電性バンプ付基板シート積層体製造方法および導電性バンプ付基板シート製造方法
JP5152663B2 (ja) 多層導電性バンプ付基板シート積層体製造方法および導電性バンプ付基板シート製造方法
JP5152658B2 (ja) 多層導電性バンプ付基板シート積層体製造方法、導電性バンプ付基板シート製造方法、導電性バンプ付基板シート、および基板シート
JP5120713B2 (ja) 多層プリント配線板製造方法
JP5067666B2 (ja) 印刷装置
JP5067667B2 (ja) 印刷方法
JP5088630B2 (ja) 導電性バンプ付き基板シート製造方法
JP5257782B2 (ja) 導電性バンプ付基板シートの製造方法および多層プリント配線板の製造方法
JP5035668B2 (ja) 導電性バンプ付基板シート製造方法および多層プリント配線板製造方法
JP5034625B2 (ja) 多層プリント配線板製造方法
JP2013021111A (ja) 導電性バンプ付き基板シートの製造装置および製造方法
JP6078910B2 (ja) プリント配線基板製造方法、基板組合せ体およびプリント配線基板
JP5120717B2 (ja) 多層プリント配線板製造方法
JP5077766B2 (ja) 印刷装置および印刷方法
JP4941404B2 (ja) 積層電子部品の製造方法
JP2008262986A (ja) 多層プリント配線板製造方法および多層プリント配線板
JP5067671B2 (ja) 導電性バンプ付き基板シート製造方法
JP5176819B2 (ja) 多層プリント配線板の製造方法
JP2010251681A (ja) 導電性バンプ付基板シートの製造方法、多層プリント配線板の製造方法、および導電性バンプ付基板シート
JP5109900B2 (ja) 導電性バンプ付き基板シート製造方法
JP5262509B2 (ja) 印刷装置
JP5083132B2 (ja) 多層プリント配線板製造方法
JP2005101471A (ja) 積層セラミック電子部品の製造方法

Legal Events

Date Code Title Description
A621 Written request for application examination

Free format text: JAPANESE INTERMEDIATE CODE: A621

Effective date: 20110527

A977 Report on retrieval

Free format text: JAPANESE INTERMEDIATE CODE: A971007

Effective date: 20120809

A131 Notification of reasons for refusal

Free format text: JAPANESE INTERMEDIATE CODE: A131

Effective date: 20120907

A521 Written amendment

Free format text: JAPANESE INTERMEDIATE CODE: A523

Effective date: 20121019

TRDD Decision of grant or rejection written
A01 Written decision to grant a patent or to grant a registration (utility model)

Free format text: JAPANESE INTERMEDIATE CODE: A01

Effective date: 20121109

A61 First payment of annual fees (during grant procedure)

Free format text: JAPANESE INTERMEDIATE CODE: A61

Effective date: 20121122

FPAY Renewal fee payment (event date is renewal date of database)

Free format text: PAYMENT UNTIL: 20151214

Year of fee payment: 3

R150 Certificate of patent or registration of utility model

Free format text: JAPANESE INTERMEDIATE CODE: R150

LAPS Cancellation because of no payment of annual fees