JP2010027775A - コイル部品およびコイル部品の製造方法 - Google Patents

コイル部品およびコイル部品の製造方法 Download PDF

Info

Publication number
JP2010027775A
JP2010027775A JP2008185926A JP2008185926A JP2010027775A JP 2010027775 A JP2010027775 A JP 2010027775A JP 2008185926 A JP2008185926 A JP 2008185926A JP 2008185926 A JP2008185926 A JP 2008185926A JP 2010027775 A JP2010027775 A JP 2010027775A
Authority
JP
Japan
Prior art keywords
winding
pin terminal
thin wire
bobbin
face
Prior art date
Legal status (The legal status is an assumption and is not a legal conclusion. Google has not performed a legal analysis and makes no representation as to the accuracy of the status listed.)
Granted
Application number
JP2008185926A
Other languages
English (en)
Other versions
JP4697676B2 (ja
Inventor
Satoru Kitahara
覚 北原
Kenichi Inoue
謙一 井上
Hiroyuki Uemura
博之 植村
Current Assignee (The listed assignees may be inaccurate. Google has not performed a legal analysis and makes no representation or warranty as to the accuracy of the list.)
TDK Corp
Original Assignee
TDK Corp
Priority date (The priority date is an assumption and is not a legal conclusion. Google has not performed a legal analysis and makes no representation as to the accuracy of the date listed.)
Filing date
Publication date
Application filed by TDK Corp filed Critical TDK Corp
Priority to JP2008185926A priority Critical patent/JP4697676B2/ja
Priority to KR1020090047462A priority patent/KR101077795B1/ko
Publication of JP2010027775A publication Critical patent/JP2010027775A/ja
Application granted granted Critical
Publication of JP4697676B2 publication Critical patent/JP4697676B2/ja
Expired - Fee Related legal-status Critical Current
Anticipated expiration legal-status Critical

Links

Images

Landscapes

  • Coils Of Transformers For General Uses (AREA)
  • Manufacturing Cores, Coils, And Magnets (AREA)
  • Coils Or Transformers For Communication (AREA)

Abstract

【課題】ピン端子と巻線との継線をより確実に行い、ピン端子と巻線との機械的結合強度を強化できるコイル部品及び当該コイル部品の製造方法の提供。
【解決手段】巻線端部103Aは、細線105によってピン端子104の基端部104B近傍に束ねられて細線巻付部106によって固定される。ハンダ付によってハンダフィレット107が、巻線端部103Aの端面103Bと、ピン端子104の先端部104Aの端面104Dとに跨って形成されると共に細線巻付部106を覆うように形成される。また、ハンダが巻線端部103Aとピン端子104との間隙にも浸入するので、巻線端部103Aとピン端子104とが確実に継線される。
【選択図】図2A

Description

本発明は、例えば共振トランスやチョークとして使用されるコイル部品および係るコイル部品の製造方法に関する。
主に薄型テレビ用の共振トランスにおいて、ボビンに巻回したリッツ線などの撚り線をピン端子にハンダ付により継線する場合、撚り線の端部をピン端子に絡め、撚り線端部が絡められたピン端子をハンダ槽に沈めてハンダフィレットを形成する方法が採られている。また、特許文献1には、断面円弧状のピン端子が撚り線の先端部の周面と密接するように細線で撚り線とピン端子とを固定し、細線で固定された撚り線とピン端子とをハンダ槽に沈めてハンダ付を行ってピン端子と撚り線とを継線させる構成及びその方法が開示されている。
特開平8−51043号公報
しかしながら、特許文献1で開示された撚り線及びピン端子の継線構成では、ピン端子と撚り線との間にハンダフィレットが形成されにくく、また、円弧状のピン端子によって撚り線が隙間無く包囲されるために、ピン端子と撚り線との間隙へのハンダの浸入が阻害される。
そこで本発明は、ピン端子と巻線との継線をより確実に行い、ピン端子と巻線との機械的結合強度を強化できるコイル部品及び当該コイル部品の製造方法を提供することを目的とする。
上記目的を達成するために、本発明は、樹脂製のボビンと、該ボビンに巻回される巻線と、該ボビンに収納されるコアと、該ボビンに設けられて巻線端部がハンダによって継線されるピン端子とを有するコイル部品であって、該ピン端子の外周面であって該巻線端部に対向する部分は、該巻線端部の外周面の少なくとも一部を受け入れる凹面を排除した平面若しくは凸面形状をなし、該巻線端部は、該ピン端子に沿うように該ボビンから延出し、該ピン端子の先端部の端面は該巻線端部の端面と面一をなし、該巻線端部と該ピン端子の先端部とを細線により束ねて固定する細線巻付部が設けられ、該巻線端部の端面と該ピン端子の先端部の端面とはそれぞれ該細線巻付部よりも該ボビンに対して突出した位置にあり、該ピン端子の先端部の端面と該巻線端部の端面とに跨ってハンダフィレットが形成されているコイル部品を提供している。
ピン端子の外周面であって該巻線端部に対向する部分は、巻線端部の外周面の少なくとも一部を受け入れる凹面を排除した平面若しくは凸面形状をなし、巻線端部は、ピン端子に沿うようにボビンから延出し、ピン端子の先端部の端面は巻線端部の端面と面一をなし、ピン端子の先端部の端面と巻線端部の端面とに跨ってハンダフィレットが形成されているため、巻線端部がピン端子と確実に電気的に接続される。また、ハンダフィレットにより巻線とピン端子との機械的な接続強度が強化される。
また、巻線端部の端面とピン端子の先端部の端面とはそれぞれ細線巻付部よりもボビンに対して突出した位置にあるため、細線によって締め付けられていないピン端子と巻線端部との間隙にハンダが浸入し易くなるので、巻線とピン端子とがハンダを介して確実に電気的に接続される。また、巻線が複数の線材を撚ってなる撚り線からなる場合は、細線によって締め付けられていない撚り線の線材同士の間隙に巻線端部の端面よりハンダが浸入しやすくなるので、巻線とピン端子との電気的接続や物理的結合をより確実にする。
ここで、該細線は、導電性材料からなることが好ましい。細線は導電性材料からなるため、細線もハンダと接合されるので、ピン端子と巻線との電気的接続がより確実に行われる。
また、該巻線及び該細線は、銅線からなることが好ましい。巻線及び細線は銅線からなり、巻線と細線とは、同じ材料から形成されて熱伝導率が同じであるため、ハンダ付を行う際にハンダ玉の形成が抑制される。
また、該細線巻付部は、該細線が間隔をおいて複数ターン巻回されて形成されることが好ましい。細線巻付部は、細線が間隔をおいて複数ターン巻回されて形成されるため、隣り合う細線のターンは互いに離間しており、ターンの間にハンダが浸入できるので、ピン端子と巻線との電気的接続をより確実に行われる。
また、該巻線端部及び該ピン端子は、長手方向に直交する方向の断面が略円形であり、該ピン端子は、該巻線端部よりも小径であることが好ましい。巻線端部及びピン端子は、長手方向に直交する方向の断面が略円形であり、ピン端子は、巻線端部よりも小径であるため、ピン端子周面の曲率が大きくなるので、ピン端子と巻線端部との間の間隙を大きく提供でき、ハンダ付けを行う際のハンダの熱による巻線の被膜を効率良く除去できる。
また、該巻線端部の端面は、該長手方向に対して交差する方向に延在していることが好ましい。巻線端部の端面は、長手方向に対して交差する方向に延在しているため、巻線端部の端面とハンダとの接触面積が増大するので、ピン端子とのハンダ付がより確実に行われる。
また、本発明は、樹脂製のボビンと、該ボビンに巻回される巻線と、該ボビンに収納されるコアと、該ボビンから突出する一端部と他端部とを有し該一端部は実装基板に実装される外部端子電極をなし該他端部は外周面であって該巻線端部に対向する部分が該巻線端部の外周面の少なくとも一部を受け入れる凹面を排除した平面若しくは凸面形状をなし該巻線がハンダによって該他端部に継線されるピン端子とを有するコイル部品の製造方法であって、該ピン端子の該他端部の基端部に該巻線を導いて該巻線を該ピン端子に沿うように仮固定する工程と、該巻線の端末部を仮固定する工程と、該ピン端子の該他端部の該基端部側で該巻線と該ピン端子とを細線により束ねて固定する細線巻付部を形成する工程と、該巻線端部の端面と該ピン端子の先端部の端面とが面一となるように、該細線巻付部よりも該巻線の末端部側の位置で、該巻線及び該ピン端子の軸方向に交差する方向へ該巻線及び該ピン端子を同一面で切断して、該巻線の切断面を該巻線端部の端面とし該ピン端子の切断面を該ピン端子の先端部の端面とする工程と、少なくとも該巻線端部の端面と該ピン端子の先端部の端面とに跨ってハンダフィレットを形成する工程とを有するコイル部品の製造方法を提供している。
巻線端部の端面とピン端子の先端部の端面とが面一となるように、細線巻付部よりも巻線の末端部側の位置で、巻線及びピン端子の軸方向に交差する方向へ巻線及びピン端子を同一面で切断して、巻線の切断面を巻線端部の端面としピン端子の切断面をピン端子の先端部の端面とする工程と、少なくとも巻線端部の端面とピン端子の先端部の端面とに跨ってハンダフィレットを形成する工程とを有するため、巻線端部がピン端子と確実に電気的に接続される。また、ハンダフィレットにより巻線とピン端子との機械的な接続強度が強化される。さらに、巻線の切断面から細線巻付部までの細線によって締め付けられていない巻線の間隙にハンダが浸入し易くなるので、巻線とピン端子とがハンダによって強固に接続される。
本発明によれば、ピン端子と巻線との継線をより確実に行い、ピン端子と巻線との機械的結合強度を強化できるコイル部品及び当該コイル部品の製造方法を提供することができる。
本発明の第1の実施の形態を添付図面を参照して説明する。コイル部品101は、図1に示されるように、ボビン102と、ボビン102に巻回される巻線103(図2A等)と、強磁性体からなるコア(図示せず)とからなる。ボビン102は、樹脂製であり、中空の胴部102Aと、対をなす鍔部102B、102Bと、巻線103から構成される図示せぬ1次側巻線と2次側巻線とを絶縁する絶縁板102Fと、それぞれの鍔部102B、102Bに設けられた端子台102Cとからなる。胴部102Aにはコアの一部が嵌挿される。端子台102Cには、巻線103と継線される複数のL字状のピン端子104が植設されているとともに、巻線103をピン端子104に案内するガイド溝102Eが形成されている。なお、図1では、説明の便宜上巻線103と、後述の巻線103とピン端子104との継線の部分とについては図示を省略している。
図2A、図2Bを参照して、巻線103とピン端子104との継線について説明する。巻線103は、エナメル線などの細い絶縁された線材の複数を撚り合わせ、撚り合わせた線材の周囲を絶縁被膜によって被覆した半径r101の撚り線(リッツ線)からなる。
ピン端子104の各々は、導電性金属を半径r102の円筒形に成型しL字状としたものであり、端子台102Cに植設され一端部が図1の下方へ向けて突出し、他端部がボビンの軸方向たる図1の左下方又は右上方へ向けて突出している。ピン端子104の他端部は、ボビン102の胴部102Aに巻回された巻線103の本数に応じて巻線103の端部103A(以下、巻線端部103Aと称す)と継線されている。また、ピン端子104の半径r102は、巻線103の半径r101よりも小径であり、巻線103に比較して周面の曲率が大きくなっている。
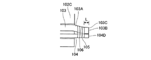
巻線端部103Aは、ピン端子104の長手方向Xに沿うように端子台102Cのガイド溝102Eに沿って直線的に案内されて端子台102Cから延出してピン端子104と並置されている。また、巻線端部103Aの端面103Bから端子台102Cの面102Dまでの最短距離はピン端子104の先端部104Aの端面104Dから端子台102Cの面102Dまでの最短距離と同一であり、巻線端部103Aの端面103Bとピン端子104の先端部104Aの端面104Dとは面一をなす。また、巻線端部103Aの端面103B、ピン端子104の先端部104Aの端面104Dは、それぞれ巻線103、ピン端子104の長手方向に対して交差する方向であって巻線、ピン端子の軸方向に対してそれぞれ垂直をなしている。並置されたピン端子104と巻線端部103Aとは、端子台102Cに植設されているピン端子104の基端部104B近傍を細線105により束ねて固定する細線巻付部106により固定されている。
例えば、図2Aにおいて、細線巻付部106は、ピン端子104の長手方向Xに沿って巻き付けられた細線105の4ターンからなり、巻線端部103Aの端面103Bに最も近接する細線105のターン105aは、巻線端部103Aの端面103B及びピン端子104の先端部104Aの端面104Dよりも長さLだけピン端子104の基部104B側に位置している。すなわち、巻線端部103Aの端面103B及びピン端子104の先端部104Aの端面104Dは、細線巻付部106よりも端子台102Cに対して長さLだけ突出している。また、細線105は、隣り合うターンが長手方向Xにおいて互いに離間するように巻き付けられている。細線105は、表面が電気的絶縁被膜によって被覆されていない銅線である。
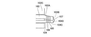
さらに、ピン端子104と巻線103とを継線するために、巻線端部103Aとピン端子104とに跨ると共に細線巻付部106を覆うようにハンダフィレット107が形成されている。ハンダフィレット107は、巻線端部103Aの端面103Bと、ピン端子104の先端部104Aの端面104Dとに跨って形成され、また、互いに対向し合う巻線端部103Aの周面とピン端子104の先端部104Aの周面との間に入込んで形成され、細線巻付部106に至る。
上述のようにハンダフィレット107が、巻線端部103Aの端面103Bとピン端子104の先端部104Aの端面104Dとの間に跨って形成されるために、巻線103がピン端子104と確実に電気的に接続される。また、ハンダフィレット107により巻線103とピン端子104との機械的な接続強度が強化される。
さらに、細線巻付部106が巻線端部103Aの端面103Bより長さLだけ離間しているので、細線105によって締め付けられていない巻線103とピン端子104との間隙にハンダが浸入しやすくなる。また、巻線103そのものについても、細線105によって締め付けられていない端面103Bから細線巻付部106までの部分は、線材同士の間隙が、細線巻付部106に位置する巻線103に比較して広く提供されるので、巻線103の線材同士の間隙に巻線端部の端面よりハンダが浸入しやすくなる。従って、巻線103とピン端子104とがハンダを介して確実に継線される。
また、ピン端子104と巻線端部103Aとは、細線巻付部106によってお互いに並置するように固定されても、ピン端子104の周面104Cと巻線端部103Aの周面とが面状で密着していないので、ハンダの熱により巻線103より剥がれる絶縁被膜を効率良く除去できる。また、巻線端部103Aをピン端子104に絡げずに細線巻付部106によって固定するので、ピン端子106を端子台102Cに対して高密度で植設できる。
さらに、細線105が電気的絶縁被膜のない導電性材料からなるため、細線105もハンダと接合されるので、ピン端子104と巻線103との電気的接続がより確実に行われる。また、細線105は、銅線の表面がむき出しとなるために、ハンダに対して濡れ易いのでハンダとの接触がより良くなる。
さらに、細線105の導電性材料が、巻線103と同じ銅材料から形成されている場合、細線105及び巻線103が共に同一の熱伝導率を有するために、ピン端子104と巻線端部103Aとのハンダ付を行う際にハンダ玉の形成が抑制される。
さらに、細線巻付部106は細線105の複数ターンで構成されているため、隣り合う細線105の互いに離間したターンの間にハンダが浸入でき、ピン端子104と巻線103との電気的接続をより確実に行うことができる。
また、ピン端子104の半径r102は、巻線の半径r101よりも小径であるために、ピン端子104と巻線端部103Aとの間の間隙を大きく提供できる。従って、ピン端子104と巻線103とのハンダ付けを行う際に、ハンダの熱によって巻線103の被膜を効率良く除去できる。
さらに、ピン端子104の断面形状は、円形に限らず、ピン端子104の巻線端部103Aに対向する部分については、巻線103の半径r102の円弧の一部からなる凹面を排除した平面状若しくは凸面形状をなしていても良い。従って、巻線端部103Aに対向していないピン端子104の部分の断面形状は、巻線103の半径r102の円弧の一部からなる凹面を有するような形状をしていてもよい。ピン端子104がこのような断面形状を有することによって、通常、巻線103の断面形状は円形であることから、ピン端子104と巻線103との間の間隙は広く提供され、はんだ付を行う際の巻線の被覆の除去を効率良く行うことができる。
さらに、細線105は、銅に限らず適宜の導電性材料からなる線材でも良い。或いは、細線105は、電気的絶縁性材料からなる線材でも良い。また、細線巻付部106を構成する細線105のターン数は、1ターンでも良い。
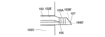
また、図3に示すように、巻線端部103Aの端面103B’、ピン端子104の先端部104Aの端面104D’は、巻線103、ピン端子104の長手方向に対して交差する方向であって巻線、ピン端子の軸方向に対して垂直をなしておらず斜めに形成されていても良い。この構成により、端面103B’及び端面104D’の面積が増大してハンダとの接触面積が増大するとともに、巻線103の被膜から露出している線材の端面の面積も増大するので、巻線端部103Aをピン端子104に確実に継線できる。
なお、上記実施の形態のコイル部品において、巻線103は、複数のUSTC線を撚り合わせてなる撚り線でも良い。さらに、巻線103は、撚り線に代えて表面が絶縁性材料で被覆された導電性材料からなる単一の線材でも良い。
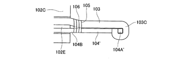
次に、コイル部品の製造方法を説明する。先ず、図1に示されるような状態に、ボビン102と、巻線103(図2A等)と、図示せぬコアとを組み立てる。次に、コイル部品の製造方法を構成する巻線103とピン端子104との継線方法を行う。先ず、図4Aに示すように、先端部104A’が折曲されているピン端子素体104’(図4B参照)に、巻線103を端子台102Cのガイド部102Eを利用して導く。そして、巻線103の端末部103Cを先端部104A’に絡げて仮固定して、ピン端子素体104’に沿わせて巻線103を配置し、ピン端子素体104’の基端部104Bに治具を使用して巻線103を仮固定する。
次に、図5に示すように、ピン端子素体104’の基端部104B側で、巻線103とピン端子素体104’とを束ねるようにして細線105によりピン端子素体104’の長手方向Xに沿って複数ターン巻き上げ、ピン端子素体104’に巻線103を固定する細線巻付部106を形成する。そして、図6に示すように、細線巻付部106よりも図の下側において、ピン端子104となるピン端子素体104’と巻線103とを、ピン端子素体104’及び巻線103の軸方向に垂直をなす面で切断して、ピン端子104に仕上げるとともに端面103Bが形成された巻線端部103Aとする。この切断によりピン端子104の先端部104Aの端面104Dは巻線端部103Aの端面103Bと面一になる。
次に、細線巻付部106によって互いに固定されたピン端子104及び巻線端部103Aをハンダ槽に沈めてハンダ付を行う。このハンダ付により、図7に示すように、ハンダが細線巻付部106を覆うと共にピン端子104と巻線端部103Aとに跨るハンダフィレット107が形成される。このようにして形成されたハンダフィレット107は、ハンダが、巻線端部103Aの端面103Bとピン端子104の先端部104Aの端面とに跨っている。このハンダフィレット107によって、ピン端子104と巻線端部103Aとが継線される。
本実施の形態の方法によれば、ハンダフィレット107が巻線端部103Aの端面103Bとピン端子104の先端部104Aの端面104Dとの間に跨って形成されるために、巻線端部103Aがピン端子104と確実に電気的に接続される。また、ハンダフィレット107により巻線103とピン端子104との機械的な接続強度が強化される。さらに、巻線103の切断面103Cから細線巻付部106までの細線105によって巻線端部103Aとピン端子104との間隙にハンダが浸入し易くなるので、巻線103とピン端子104とがハンダによって強固に接続される。
次に、本発明の第2実施の形態を図8乃至図14を参照して説明する。コイル部品201は、ボビン202と、ボビン202に巻回される巻線203と、強磁性体からなるコア(図示せず)とからなる。ボビン202は、樹脂製であり、中空の胴部202Aと、対をなす鍔部202Bと、一方の鍔部202Bから延在する端子台202Cとからなる。胴部202Aにはコアの一部が嵌挿される。端子台202Cには、胴部202Aとは反対側に巻線203と継線される複数のピン端子204が植設されているとともに、巻線203をピン端子204に案内するガイド溝202Eが形成されている。
図9A、図9Bを参照して、巻線203とピン端子204との継線について説明する。巻線203は、エナメル線などの細い絶縁された線材の複数を撚り合わせ、撚り合わせた線材の周囲を絶縁被膜によって被覆した半径r201の撚り線(リッツ線)からなる。
ピン端子204の各々は、導電性金属を半径r202の円筒形に成型したものであり、端子台202Cの面202Dに植設されて突出している。ピン端子204は、ボビン202の胴部202Aに巻回された巻線203の本数に応じて巻線203の端部203A(以下、巻線端部203Aと称す)と継線されている。また、ピン端子204の半径r202は、巻線203の半径r201よりも小径であり、巻線203に比較して周面の曲率が大きくなっている。
巻線端部203Aは、ピン端子204の長手方向Xに沿うように端子台202Cのガイド溝202Eに沿って直線的に案内されて端子台202Cから延出してピン端子204と並置されている。また、巻線端部203Aの端面203Bは、ピン端子204の先端部204Aよりも、端子台202Cの面202Dに近接して位置している。並置されたピン端子204と巻線端部203Aとは、端子台202Cに植設されているピン端子204の基端部204B近傍を細線205により束ねて固定する細線巻付部206により固定されている。例えば、図9Aにおいて、細線巻付部206は、ピン端子204の長手方向Xに沿って巻き付けられた細線205の4ターンからなり、巻線端部203Aの端面203Bに最も近接する細線205のターン205aは、巻線端部203Aの端面203Bよりも長さLだけピン端子204の基部204B側に位置している。すなわち、巻線端部203Aの端面203Bは、細線巻付部206よりも端子台202Cに対して長さLだけ突出している。また、細線205は、隣り合うターンが長手方向Xにおいて互いに離間するように巻き付けられている。なお、細線205は、表面が電気的絶縁被膜によって被覆されていない銅線である。
さらに、ピン端子204と巻線203とを継線するために、巻線端部203Aとピン端子204とに跨ると共に細線巻付部206を覆うようにハンダフィレット207が形成されている。ハンダフィレット207は、巻線端部203Aの端面203Bと、ピン端子204の周面であって少なくとも端面203Bよりも先端204A側に位置する部分204Cとに接触するように形成されている。
細線205は、銅に限らず適宜の導電性材料からなる線材でも良い。或いは、細線205は、電気的絶縁性材料からなる線材でも良い。また、細線巻付部206を構成する細線205のターン数は、1ターンでも良い。
また、図10に示すように、巻線端部203Aの端面203Bは、巻線203の長手方向に対して交差する方向、すなわち斜めに形成しても良い。この構成により、端面203Bの面積が増大してハンダとの接触面積が増大するとともに、巻線203の被膜から露出している線材の端面の面積も増大するので、巻線端部203Aをピン端子204に確実に継線できる。
また、上記実施の形態のコイル部品において、巻線203は、複数のUSTC線を撚り合わせてなる撚り線でも良い。さらに、巻線203は、撚り線に代えて表面が絶縁性材料で被覆された導電性材料からなる単一の線材でも良い。
次に、コイル部品の製造方法を説明する。先ず、図8に示されるような状態に、ボビン202と、巻線203(図9A等)と、図示せぬコアとを組み立てる。次に、コイル部品の製造方法を構成する巻線203とピン端子204との継線方法を行う。先ず、図11Aに示すように、先端部204A’が折曲されているL字型のピン端子素体204’(図11B参照)に、巻線203を端子台202Cのガイド部202Eを利用して導く。そして、巻線203の端末部203Cを先端部204A’に絡げて仮固定して、ピン端子素体204’に沿わせて巻線203を配置し、ピン端子素体204’の基端部204Bに治具を使用して巻線203を仮固定する。
次に、図12に示すように、ピン端子素体204’の基端部204B側で、巻線203とピン端子素体204’とを束ねるようにして細線205によりピン端子素体204’の長手方向Xに沿って複数ターン巻き上げ、ピン端子素体204’に巻線203を固定する細線巻付部206を形成する。そして、図13に示すように、ピン端子素体204’の先端が巻線203の端面よりも突出するように、先端部204A’を切除してピン端子204に仕上げるとともに、巻線203は、細線巻付部206よりも長さLまでの部分を残して端末部203Cを切除して巻線端面203Bを形成し、巻線端部203Aを形成する。
次に、細線巻付部206によって互いに固定されたピン端子204及び巻線端部203Aをハンダ槽に沈めてハンダ付を行う。このハンダ付により、図14に示すように、ハンダが細線巻付部206を覆うと共にピン端子204と巻線端部203Aとに跨るハンダフィレット207が形成される。このようにして形成されたハンダフィレット207は、ハンダが、巻線端部203Aの端面203Bとピン端子204の周面であって少なくとも巻線203の端面203Bよりも突出している周面204Cとに接触している。このハンダフィレット207によって、ピン端子204と巻線端部203Aとが継線される。
本発明によるコイル部品およびコイル部品の製造方法は、上述した実施の形態に限定されず、特許請求の範囲に記載した範囲で種々の変形や改良が可能である。例えば、上記の実施の形態の方法では、ピン端子素体104’、204’は、先端部がL字型になっていたが、これに限らず、ピン端子素体は棒状であってもよい。また、巻線103、203の端末部103C、203Cは、ピン端子素体104’、204’の先端部104A’、204A’に治具を用いて仮固定してもよい。或いは、ピン端子素体104’、204’に巻線103、203を沿わせるために、治具を利用してピン端子素体104’、204’の先端部近傍に巻線103、203の端末部103C、203Cを並置させてから、細線105、205を巻き付けても良い。さらに、細線巻付部106、206は、細線105、205の1ターンで構成してもよい。また、巻線端部103B、203Bは、巻線103、203の長手方向に対して斜めに形成することもできる。
また、上記実施の形態は、コイル部品1について説明したが、本実施の形態によるピン端子と巻線との継線構造およびその方法は、ピン端子と巻線との継線が必要となる適宜の電子部品に適用できる。
第1の実施の形態であるコイル部品のうち、巻線が巻回されたボビン及びピン端子を示す斜視図である。 第1の実施の形態であるコイル部品において、巻線とピン端子との継線を示す斜視図である。 図2Aの線分A−Aにおける断面図である。 第1の実施の形態であるコイル部品において、巻線とピン端子との他の継線構造を示す正面図である。 第1の実施の形態であるコイル部品の製造方法のうち、ピン端子素体と巻線との仮固定工程を説明する正面図である。 図11Aの側面図である。 第1の実施の形態であるコイル部品の製造方法のうち、細線巻付部の形成工程を説明する正面図である。 第1の実施の形態であるコイル部品の製造方法のうち、ピン端子素体と巻線との切除工程を説明する正面図である。 第1の実施の形態であるコイル部品の製造方法のうち、ピン端子と巻線端部とのはんだ付工程を説明する正面図である。 第2の実施の形態であるコイル部品のうち、巻線が巻回されたボビン及びピン端子を示す斜視図である。 第2の実施の形態であるコイル部品において、巻線とピン端子との継線を示す斜視図である。 図2Aの線分A−Aにおける断面図である。 第2の実施の形態であるコイル部品において、巻線とピン端子との他の継線構造を示す正面図である。 第2の実施の形態であるコイル部品の製造方法のうち、ピン端子素体と巻線との仮固定工程を説明する正面図である。 図11Aの側面図である。 第2の実施の形態であるコイル部品の製造方法のうち、細線巻付部の形成工程を説明する正面図である。 第2の実施の形態であるコイル部品の製造方法のうち、ピン端子素体と巻線との切除工程を説明する正面図である。 第2の実施の形態であるコイル部品の製造方法のうち、ピン端子と巻線端部とのはんだ付工程を説明する正面図である。
符号の説明
101、102 コイル部品
102、202 ボビン
103、203 巻線
103A、203A 巻線端部
103B、203B、104D 端面
104、204 ピン端子
104A、204A 先端部
105、205 細線
106、206 細線巻付部
107、207 ハンダフィレット

Claims (7)

  1. 樹脂製のボビンと、該ボビンに巻回される巻線と、該ボビンに収納されるコアと、該ボビンに設けられて巻線端部がハンダによって継線されるピン端子とを有するコイル部品であって、
    該ピン端子の外周面であって該巻線端部に対向する部分は、該巻線端部の外周面の少なくとも一部を受け入れる凹面を排除した平面若しくは凸面形状をなし、
    該巻線端部は、該ピン端子に沿うように該ボビンから延出し、
    該ピン端子の先端部の端面は該巻線端部の端面と面一をなし、
    該巻線端部と該ピン端子の先端部とを細線により束ねて固定する細線巻付部が設けられ、該巻線端部の端面と該ピン端子の先端部の端面とはそれぞれ該細線巻付部よりも該ボビンに対して突出した位置にあり、
    該ピン端子の先端部の端面と該巻線端部の端面とに跨ってハンダフィレットが形成されていることを特徴とするコイル部品。
  2. 該細線は、導電性材料からなることを特徴とする請求項1に記載のコイル部品。
  3. 該巻線及び該細線は、銅線からなることを特徴とする請求項1記載のコイル部品。
  4. 該細線巻付部は、該細線が間隔をおいて複数ターン巻回されて形成されることを特徴とする請求項1に記載のコイル部品。
  5. 該巻線端部及び該ピン端子は、長手方向に直交する方向の断面が略円形であり、該ピン端子は、該巻線端部よりも小径であることを特徴とする請求項1に記載のコイル部品。
  6. 該巻線端部の端面は、該長手方向に対して交差する方向に延在していることを特徴とする請求項1に記載のコイル部品。
  7. 樹脂製のボビンと、該ボビンに巻回される巻線と、該ボビンに収納されるコアと、該ボビンから突出する一端部と他端部とを有し該一端部は実装基板に実装される外部端子電極をなし該他端部は外周面であって該巻線端部に対向する部分が該巻線端部の外周面の少なくとも一部を受け入れる凹面を排除した平面若しくは凸面形状をなし該巻線がハンダによって該他端部に継線されるピン端子とを有するコイル部品の製造方法であって、
    該ピン端子の該他端部の基端部に該巻線を導いて該巻線を該ピン端子に沿うように仮固定する工程と、
    該巻線の端末部を仮固定する工程と、
    該ピン端子の該他端部の該基端部側で該巻線と該ピン端子とを細線により束ねて固定する細線巻付部を形成する工程と、
    該巻線端部の端面と該ピン端子の先端部の端面とが面一となるように、該細線巻付部よりも該巻線の末端部側の位置で、該巻線及び該ピン端子の軸方向に交差する方向へ該巻線及び該ピン端子を同一面で切断して、該巻線の切断面を該巻線端部の端面とし該ピン端子の切断面を該ピン端子の先端部の端面とする工程と、
    少なくとも該巻線端部の端面と該ピン端子の先端部の端面とに跨ってハンダフィレットを形成する工程とを有することを特徴とするコイル部品の製造方法。
JP2008185926A 2008-05-30 2008-07-17 コイル部品およびコイル部品の製造方法 Expired - Fee Related JP4697676B2 (ja)

Priority Applications (2)

Application Number Priority Date Filing Date Title
JP2008185926A JP4697676B2 (ja) 2008-07-17 2008-07-17 コイル部品およびコイル部品の製造方法
KR1020090047462A KR101077795B1 (ko) 2008-05-30 2009-05-29 코일 부품 및 코일 부품의 제조 방법

Applications Claiming Priority (1)

Application Number Priority Date Filing Date Title
JP2008185926A JP4697676B2 (ja) 2008-07-17 2008-07-17 コイル部品およびコイル部品の製造方法

Publications (2)

Publication Number Publication Date
JP2010027775A true JP2010027775A (ja) 2010-02-04
JP4697676B2 JP4697676B2 (ja) 2011-06-08

Family

ID=41733335

Family Applications (1)

Application Number Title Priority Date Filing Date
JP2008185926A Expired - Fee Related JP4697676B2 (ja) 2008-05-30 2008-07-17 コイル部品およびコイル部品の製造方法

Country Status (1)

Country Link
JP (1) JP4697676B2 (ja)

Cited By (4)

* Cited by examiner, † Cited by third party
Publication number Priority date Publication date Assignee Title
JP2017201658A (ja) * 2016-05-02 2017-11-09 田淵電機株式会社 電磁誘導器及び電磁誘導器の製造方法
JP2020047918A (ja) * 2018-09-20 2020-03-26 株式会社タムラ製作所 コイル装置
JP2020061424A (ja) * 2018-10-05 2020-04-16 株式会社タムラ製作所 コイル部品
JP2023060639A (ja) * 2021-10-18 2023-04-28 Tdk株式会社 はんだ組成物および電子部品

Citations (12)

* Cited by examiner, † Cited by third party
Publication number Priority date Publication date Assignee Title
JPS58153428U (ja) * 1982-04-07 1983-10-14 株式会社東芝 変圧器コイルのタツプ引出し構造
JPS58190009A (ja) * 1982-04-30 1983-11-05 I Raiteingu Syst:Kk 結線方法
JPS6165713U (ja) * 1984-10-04 1986-05-06
JPS61153313U (ja) * 1985-03-13 1986-09-22
JPS6218015A (ja) * 1985-07-17 1987-01-27 Matsushita Electric Ind Co Ltd 変成器
JPH01133718U (ja) * 1988-03-07 1989-09-12
JPH06275446A (ja) * 1993-03-24 1994-09-30 Sanken Electric Co Ltd ボビン端子及びボビン端子付コイル装置
JPH06310359A (ja) * 1993-04-26 1994-11-04 Techno Excel Kk 導線と端子の接続方法
JPH07153631A (ja) * 1993-11-30 1995-06-16 Tokin Corp ピン端子付ボビン
JPH0851043A (ja) * 1994-08-05 1996-02-20 Nittoku Eng Co Ltd 導線の端子への固定方法及び導線固定用端子
JPH0864429A (ja) * 1994-08-22 1996-03-08 Sanken Electric Co Ltd ボビン端子及びボビン端子付コイル装置
JP2009290092A (ja) * 2008-05-30 2009-12-10 Tdk Corp コイル部品およびコイル部品の製造方法

Patent Citations (12)

* Cited by examiner, † Cited by third party
Publication number Priority date Publication date Assignee Title
JPS58153428U (ja) * 1982-04-07 1983-10-14 株式会社東芝 変圧器コイルのタツプ引出し構造
JPS58190009A (ja) * 1982-04-30 1983-11-05 I Raiteingu Syst:Kk 結線方法
JPS6165713U (ja) * 1984-10-04 1986-05-06
JPS61153313U (ja) * 1985-03-13 1986-09-22
JPS6218015A (ja) * 1985-07-17 1987-01-27 Matsushita Electric Ind Co Ltd 変成器
JPH01133718U (ja) * 1988-03-07 1989-09-12
JPH06275446A (ja) * 1993-03-24 1994-09-30 Sanken Electric Co Ltd ボビン端子及びボビン端子付コイル装置
JPH06310359A (ja) * 1993-04-26 1994-11-04 Techno Excel Kk 導線と端子の接続方法
JPH07153631A (ja) * 1993-11-30 1995-06-16 Tokin Corp ピン端子付ボビン
JPH0851043A (ja) * 1994-08-05 1996-02-20 Nittoku Eng Co Ltd 導線の端子への固定方法及び導線固定用端子
JPH0864429A (ja) * 1994-08-22 1996-03-08 Sanken Electric Co Ltd ボビン端子及びボビン端子付コイル装置
JP2009290092A (ja) * 2008-05-30 2009-12-10 Tdk Corp コイル部品およびコイル部品の製造方法

Cited By (5)

* Cited by examiner, † Cited by third party
Publication number Priority date Publication date Assignee Title
JP2017201658A (ja) * 2016-05-02 2017-11-09 田淵電機株式会社 電磁誘導器及び電磁誘導器の製造方法
JP2020047918A (ja) * 2018-09-20 2020-03-26 株式会社タムラ製作所 コイル装置
JP7490346B2 (ja) 2018-09-20 2024-05-27 株式会社タムラ製作所 コイル装置
JP2020061424A (ja) * 2018-10-05 2020-04-16 株式会社タムラ製作所 コイル部品
JP2023060639A (ja) * 2021-10-18 2023-04-28 Tdk株式会社 はんだ組成物および電子部品

Also Published As

Publication number Publication date
JP4697676B2 (ja) 2011-06-08

Similar Documents

Publication Publication Date Title
TWI395238B (zh) Magnetic parts
US9035523B2 (en) Coil for an electric machine and method for producing a coil
JP6394820B2 (ja) コイル部品およびその製造方法
JP2008112753A (ja) 横型低背コイル部品及びその巻線端末のはんだ付け方法
KR101593323B1 (ko) 코일 장치
JP4697676B2 (ja) コイル部品およびコイル部品の製造方法
JP2006121013A (ja) コイル部品の製造方法
JP6645258B2 (ja) コイル部品およびコイル部品の製造方法
JP2009105342A (ja) 横型コイル部品及びボビン、並びに巻線端末の接続固定方法
CN104428953A (zh) 同轴电缆的端部与端子之间的接合结构和接合方法
US7839252B2 (en) Spool, brake and electric motor
JP2004521517A (ja) トランス
JP6736776B2 (ja) アンテナ・セグメント及びマルチ・セグメント・アンテナ
JP4506878B2 (ja) コイル部品およびコイル部品の製造方法
WO2017158784A1 (ja) ステータのインシュレータ及びコイル端末線導入方法
JP2009302492A (ja) 電磁誘導器
JP7490346B2 (ja) コイル装置
KR101077795B1 (ko) 코일 부품 및 코일 부품의 제조 방법
JPH1169690A (ja) 端子ピン付き捲き線部品
CN102833957A (zh) 磁性线圈的焊接方法
US20110234353A1 (en) Magnetic component and method of manufacturing the same
CN110168675A (zh) 热保护器
US9899893B2 (en) Electric motor including terminal formed by electric swaging and electric swaging method
JPH11329864A (ja) 巻線部品およびその製造方法
JP2012210015A (ja) モータのステータ構造

Legal Events

Date Code Title Description
A977 Report on retrieval

Free format text: JAPANESE INTERMEDIATE CODE: A971007

Effective date: 20100409

A131 Notification of reasons for refusal

Free format text: JAPANESE INTERMEDIATE CODE: A131

Effective date: 20100420

A521 Written amendment

Free format text: JAPANESE INTERMEDIATE CODE: A523

Effective date: 20100621

TRDD Decision of grant or rejection written
A01 Written decision to grant a patent or to grant a registration (utility model)

Free format text: JAPANESE INTERMEDIATE CODE: A01

Effective date: 20110207

R150 Certificate of patent or registration of utility model

Ref document number: 4697676

Country of ref document: JP

Free format text: JAPANESE INTERMEDIATE CODE: R150

A61 First payment of annual fees (during grant procedure)

Free format text: JAPANESE INTERMEDIATE CODE: A61

Effective date: 20110220

LAPS Cancellation because of no payment of annual fees