JP2010024714A - 発泡部材及びその製造方法 - Google Patents

発泡部材及びその製造方法 Download PDF

Info

Publication number
JP2010024714A
JP2010024714A JP2008187321A JP2008187321A JP2010024714A JP 2010024714 A JP2010024714 A JP 2010024714A JP 2008187321 A JP2008187321 A JP 2008187321A JP 2008187321 A JP2008187321 A JP 2008187321A JP 2010024714 A JP2010024714 A JP 2010024714A
Authority
JP
Japan
Prior art keywords
slit
side wall
foamed
foamed member
portions
Prior art date
Legal status (The legal status is an assumption and is not a legal conclusion. Google has not performed a legal analysis and makes no representation as to the accuracy of the status listed.)
Granted
Application number
JP2008187321A
Other languages
English (en)
Other versions
JP5270990B2 (ja
Inventor
Susumu Taguchi
進 田口
Yoichiro Tanaka
洋一郎 田中
Current Assignee (The listed assignees may be inaccurate. Google has not performed a legal analysis and makes no representation or warranty as to the accuracy of the list.)
Daicel Novafoam Ltd
Original Assignee
Daicel Novafoam Ltd
Priority date (The priority date is an assumption and is not a legal conclusion. Google has not performed a legal analysis and makes no representation as to the accuracy of the date listed.)
Filing date
Publication date
Application filed by Daicel Novafoam Ltd filed Critical Daicel Novafoam Ltd
Priority to JP2008187321A priority Critical patent/JP5270990B2/ja
Publication of JP2010024714A publication Critical patent/JP2010024714A/ja
Application granted granted Critical
Publication of JP5270990B2 publication Critical patent/JP5270990B2/ja
Active legal-status Critical Current
Anticipated expiration legal-status Critical

Links

Images

Landscapes

  • Building Environments (AREA)
  • Panels For Use In Building Construction (AREA)
  • Manufacture Of Porous Articles, And Recovery And Treatment Of Waste Products (AREA)
  • Extrusion Moulding Of Plastics Or The Like (AREA)
  • Molding Of Porous Articles (AREA)

Abstract

【課題】養生テープにより確実に固定でき、被保護部材(柱、壁など)の角部を保護するのに好適な発泡部材を提供する。
【解決手段】
発泡部材61は、頂部2およびこの頂部2からL字状に延出した2つの側壁部63A,63Bを備えており、これらの側壁部63A,63Bを、側壁部63A,63Bの幅方向の途中部から端部63a,63bに向かって厚みが薄くなる形態で形成する。そして、この発泡部材61では、側壁部63A,63Bの内壁に湾曲状の凹部63c,63dが形成しているとともに、頂部62の外壁に、逆三角形状の凹部62aが形成している。なお、凹部62aの深さは、頂部62(又は発泡部材)の厚みに対してごくわずかである。
【選択図】図8

Description

本発明は、被保護部材(柱、壁など)の角部(例えば、L字状の角部)を保護するのに好適な発泡部材、その製造方法及び前記発泡部材を用いた被保護部材の角部の保護方法、並びに前記発泡部材を製造するためのダイに関する。
柱、壁などの角部は、損傷を受けやすく、例えば、家具などの比較的大型の物品を運搬する際に、損傷する場合がある。また、角部が晒されていると、人や周囲の物体にも損傷を加える場合がある。このような種々の損傷や危険を未然に防ぐために角部を保護するための保護部材(養生材)が利用されている。
このような保護部材としては、例えば、熱可塑性樹脂の発泡体で形成された保護部材が知られている。例えば、実公昭51−37655号公報(特許文献1)には、弾性復元力を有する合成樹脂筒状発泡体の長手方向に沿って切欠部が設けられ、該切欠部における前記筒状体の一方の端縁は他方の端縁よりも内方に巻き込まれてなる物品角部の衝撃緩和材が開示されている。
また、特許第3182403号公報(特許文献2)には、長手方向に連続する割れ目を有し、前記割れ目を形成する両側縁が互いに重なり合う筒状ポリエチレン系樹脂発泡体または筒状ポリプロピレン系樹脂発泡体で構成される建築物用保護材が開示されている。そして、この文献には、この建築物用保護材の作用に関し、柱等の被保護材に取付けた場合に、互いに相重なり合う両側縁が拡開され、その両端縁の反力によって柱等の被保護材を強固に挟持すると記載されている。
しかし、これらの文献の保護部材では、角部の保護効果が十分でない。また、被保護部材を弾性力(反発力)を利用して挟持又は被覆する構造を有しているため、径や一辺が比較的小さいパイプなどを被覆できても、幅の広い柱や壁などの挟持や被覆が困難な部材の角部を有効に保護することができなくなる。また、このような保護部材は、後述の養生テープなどで柱や壁に固定しても、その弾性力によりすぐに剥がれてしまう。
一方、角部そのものを保護するため、L型形状を有する保護部材も知られている。このようなL型形状の保護部材は、角部を被覆した状態で、通常、被保護部材の意匠性や作業性を損なわない(例えば、壁のクロスの剥がれや、壁、柱などの被保護部材に対する粘着剤の付着などを生じない)ようにするため、弱粘着性の養生テープにより被保護部材に固定される。このような保護部材としては、代表的には、被保護部材の角部への衝撃を小さくするため、コーナー部分が外側に向けて凸状に形成されたL字状の硬質プラスチック製部材などが知られている。しかし、このような硬質プラスチック製の保護部材では、角部に作用する衝撃を十分に緩和できない場合がある。また、このような保護部材は、衝撃により割れやすく、耐久性の点でも十分でない。
実公昭51−37655号公報(第2頁右欄第2〜6行) 特許第3182403号公報(特許請求の範囲、段落番号[0031])
従って、本発明の目的は、被保護部材の角部を有効に保護できる発泡部材、この発泡部材の製造方法、および前記発泡部材を用いた被保護部材の保護方法を提供することにある。
本発明の他の目的は、養生テープのような接着力又は固定力の比較的弱い仮止め材であっても被保護部材に確実に固定できる発泡部材、この発泡部材の製造方法、および前記発泡部材を用いた被保護部材の保護方法を提供することにある。
本発明のさらに他の目的は、比較的大きな角部(壁のL型角部など)であっても確実に保護できる発泡部材、この発泡部材の製造方法、および前記発泡部材を用いた被保護部材の保護方法を提供することにある。
本発明の別の目的は、上記のような発泡部材を製造するために有用なダイを提供することにある。
本発明者は、前記課題を達成するため、被保護部材の角部を保護しうるL型の発泡部材について鋭意検討し、まず、単純に全体の厚みが均一(又はほぼ均一)のL型発泡部材(後に示す参考例1で製造した発泡部材)を得た。しかし、このような発泡部材では、発泡部材そのものの厚みにより、被保護部材(被保護部材の固定部位)との間に隙間が生じ、養生テープのような仮止め材では被保護部材に対して十分な強度で固定できず、被保護部材から外れやすいことがわかった。
そこで、前記のような隙間を出来る限り抑えるため、発泡部材の頂部(コーナー部)からL字状に延出した側壁部の両端部を薄肉に形成することを試みた。しかし、このような両端部が薄肉の発泡部材(後に示す参考例2で製造した発泡部材)では、発泡部材の厚みによる隙間を小さくできたものの、均一な厚みの発泡部材に比べてより長手方向の反りが生じやすくなるという問題が生じた。このような反りは、発泡部材の長さが長くなるほど顕著にあらわれ、被保護部材に対する固定部位によっては大きな隙間となり、前記と同様に安定した仮止めを阻害するものであった。
上記のような問題を解決するため、本発明者はさらなる鋭意検討を重ねた結果、頂部からL字状に延出した側壁部の端部を薄肉に形成するとともに、頂部および側壁部の少なくともいずれかに凹部を形成した発泡部材では、長手方向の反りが抑制され、養生テープのような仮止め材によっても確実に被保護部材に固定されて被保護部材(壁、柱など)の角部を有効に保護できることを見出し、本発明を完成した。
すなわち、本発明の発泡部材は、頂部からL字状に延出した2つの側壁部を備えた断面L字形状の発泡部材であって、前記各側壁部の端部(詳細には延出した端部)が薄肉に形成され、かつ前記各側壁部及び/又は前記頂部に、長手方向に沿って凹部が形成されている発泡部材である。
前記発泡部材では、側壁部の幅方向の途中部から端部に向かって厚みが薄くなる形態で側壁部が薄肉に形成されていてもよい。途中部から端部に向かって薄肉に形成すると、端部に向かってなだらかなに厚みを薄くできるので、被保護部材に固定しやすい。また、頂部から途中部までは十分な厚みとすることができ、被保護部材の角部に対する保護性能を低下させることはない。前記発泡部材では、側壁部の幅方向の途中部(例えば、途中部の内壁又は外壁)及び/又は頂部(特に、側壁部の幅方向の途中部及び頂部)に長手方向に沿って凹部が形成されていてもよい。このような部位に凹部を形成すると、長手方向の反りをより抑制しやすい。
前記発泡部材は、通常、熱可塑性樹脂で形成され、特に、柔軟性、復元性、耐衝撃性などの観点から、オレフィン系樹脂(特に、ポリエチレンなど)で形成されていてもよい。
本発明の発砲部材は、前記のように、長手方向の反りが抑制されており、例えば、長さ1.7mに形成した前記発泡部材を側壁部(詳細には各側壁部)の端部が長手方向に沿って水平面に接触するように載置して測定したとき、水平面からの反りの高さが20mm以下であってもよい。このような本発明の発泡部材は、特に、被保護部材(壁など)の角部を保護するための発泡部材であってもよい。
本発明には、ダイから熱可塑性樹脂を押出発泡成形して前記発泡部材を製造する方法であって、前記ダイのリップが、交点部(スリット交点部)からL字状に延出した2つのスリット部からなる断面L字状のスリットを有し、前記各スリット部の端部が幅狭に形成され、かつ前記各スリット部及び/又は前記交点部に、スリット幅を狭める凸部を有するリップである発泡部材の製造方法も含まれる。この方法では、リップが、スリット部の幅方向の途中部から端部に向かって幅狭に形成されていてもよい。また、前記方法では、スリット部の幅方向の途中部及び/又は交点部(特に、スリット部の幅方向の途中部及び交点部)に凸部を有していてもよい。
前記のように、本発明の発泡部材は、被保護部材の角部を保護するための部材として有用である。そのため、本発明には、被保護部材の角部を保護する方法であって、前記発泡部材で、前記角部を被覆する角部の保護方法も含まれる。この方法では、養生テープにより被保護部材に対して発泡部材を固定した状態で角部を被覆してもよい。なお、この方法では、少なくとも角部を被覆すればよく、被保護部材の角部およびその周辺部位を被覆してもよい。本発明の発泡部材は、端部が薄肉に形成されているとともに、長手方向の反りが抑制されているため、養生テープによっても確実に被保護部材に固定できる。
また、本発明には、前記発泡部材を押出発泡成形により製造するためのダイであって、前記ダイのリップが、交点部からL字状に延出した2つのスリット部からなる断面L字状のスリットを有し、前記各スリット部の端部が幅狭に形成され、かつ前記各スリット部及び/又は前記交点部に、スリット幅を狭める凸部を有するダイも含まれる。
本発明の発泡部材は、断面L字状を有し、発泡体で形成されているため、被保護部材の角部を有効に保護できる。特に、本発明の発泡部材は、端部が薄肉に形成され、かつ長手方向の反りが小さいため、養生テープのような接着力又は固定力の比較的弱い仮止め材であっても被保護部材に確実に固定できる。また、本発明の発泡部材は、断面L字状を有しており、養生テープのような仮止め材で固定できるので、比較的大きな角部(壁のL型角部など)であっても確実に保護できる。また、本発明では、上記のような発泡部材を製造するために有用なダイを提供できる。
以下に必要に応じて添付図面を参照しつつ、本発明を詳細に説明する。
図1は、本発明の発泡部材の一例を示す概略断面図である。図1において、断面L字状の発泡部材1は、頂部2およびこの頂部2から略90度の角度(例えば、80〜100度)でL字状に延出した2つの側壁部3A,3Bを備えており、これらの側壁部3A,3Bの各端部3a,3bは薄肉(又は厚みが薄く)に形成されている。詳細には、前記側壁部3A,3Bは、側壁部3A,3Bの幅方向の途中部から端部(延出した端部)3a,3bに向かって厚みが薄くなる形態で形成されている。
そして、この発泡部材1では、側壁部3A,3Bの内壁に、それぞれ凹部3c,3dが形成されている。すなわち、各側壁部3A,3Bのうち、中央部よりも頂部寄りの途中部の内壁(内側)には、湾曲状の凹部(碗状凹部)3c,3dが形成されている。
なお、図1の発泡部材は、発泡倍率20〜25倍程度のポリエチレン製発泡体であり、柔軟性、耐衝撃性、復元性に優れている。また、図1は断面図であるが、発泡部材の頂部および側壁部は発泡部材の長手方向又は断面に垂直な方向に沿って形成されている(以下の図においても同じ)。図2に、図1の発泡部材の概略斜視図を示す。図2からもわかるように、前記凹部3c,3dは、発泡部材の長手方向に沿って凹状溝を形成している。
このような発泡部材では、側壁部の端部が薄肉に形成されている(特に、端部に向かって厚みが小さくなっている)ため、被保護部材に固定する際に、被固定部材との段差を小さくできる。しかも、このように側壁部の端部が薄肉に形成しても、側壁部に凹部が形成されているため、発泡成形において発生する長手方向の反りが比較的小さく抑えられている。そのため、養生テープのような粘着力の弱い仮止め材によっても、確実に被保護部材に固定でき、発泡部材の持つ優れた保護性能を発揮しつつ被保護部材を保護できる。
そして、図1および図2の発泡部材は、以下に示すダイを用いて製造できる。図3は、図1の発泡部材を製造するためのダイの概略断面図である。図3の例では、ダイのリップ10は、断面L字状のスリット11を有しており、このスリット11は、頂部2に対応する交点部(スリット交点部)12と、この交点部12から、略90度の角度でL字状に延出した側壁部3A,3Bに対応する2つのスリット部13A,13Bからなる。そして、これらのスリット部13A,13BCの端部13a,13bは、薄肉の端部3a,3bに対応して、スリット部13A,13Bの幅方向の途中部から端部13a,13bに向かって幅狭に形成されている。
そして、このリップ10は、スリット部13A,13Bの内壁に、湾曲状凹部3c,3dに対応して、スリット幅を狭める凸部13c,13dを有している。すなわち、各スリット部13A,13Bのうち、中間部寄りの途中部の内壁(又は内側)には、コ字状の凸部13c,13dが形成されており、スリット幅が狭められている。
このような形状のリップから熱可塑性樹脂を押出発泡成形すると、図1に対応する断面形状を有し、長手方向に延出した発泡部材(図2の発泡部材)を得ることができる。なお、図3において、リップ10は、部分的に角形部位を有しているが、このようなリップを通過して押出発泡成形されると、全体的に角がとれてやや丸くなった発泡部材が形成される。例えば、コ字状凸部13c,13cを通過して押出発泡成形されると、湾曲状凹部3c,3dが形成される。
図4は、本発明の発泡部材の他の例を示す概略断面図である。図4において、断面L字形状の発泡部材21は、頂部22の外壁に平坦部22aが形成されている以外は、図1の発泡部材と同様の構造を有している。すなわち、発泡部材21は、頂部22からL字状に延出し、各端部23a,23bが薄肉に形成された2つの側壁部23A,23Bからなり、側壁部23A,23Bの内壁にはそれぞれ湾曲状の凹部23c,23dが形成されている。
図4の発泡部材では、頂部22を平坦化する形で、平坦部22Aを設けることにより、図1の発泡部材に比べてより長手方向の反りを抑制することができる。
なお、図5は、図4の発泡部材を製造するためのダイの概略断面図である。図5において、リップ30は、交点部32の外壁にスリット幅を平坦化して狭める平坦部(スリット平坦部)32aを有する以外は、図3のリップと同様の形状を有している。すなわち、リップ30は、頂部22に対応する交点部32および側壁部23A,23Bに対応するスリット部33A,33Bからなるスリット31を有し、前記スリット部33A,33Bには、薄肉の端部23a,23bに対応する幅狭の端部33a,33bおよび湾曲状凹部23c,23dに対応するコ字状凸部33c,33dが形成されている。
図6は、本発明の発泡部材のさらに他の例を示す概略断面図である。図6において、断面L字状の発泡部材41は、図1と同様に、頂部42からL字状に延出し、それぞれの端部43a,43bが薄肉に形成された2つの側壁部43A,43Bを備えている。
そして、図6の例では、頂部42の内壁(頂部内側)に、凹部42aが形成されている。すなわち、前記凹部42aは、頂部42の内壁(内側)にコ字状(又は針状)の切欠部を形成している。この凹部(切欠部)42aは、頂部の耐衝撃性能(保護性能)を低下させないため、幅狭に(針状に)形成されている。なお、前記と同様に、凹部42aは、発泡部材の長手方向に沿って形成されており、発泡部材の長手方向に沿って凹状溝を形成している。
この図の発泡部材では、図1および図4の発泡部材とは異なり、頂部に凹部を形成することにより、長手方向の反りが抑制されているため、同様に仮止め材により確実に被保護部材に固定できる。また、頂部に形成する凹部を幅狭に形成することにより、発泡部材の持つ優れた保護性能を損なうことなく被保護部材を保護できる。
なお、図7は、図6の発泡部材を製造するためのダイの概略断面図である。図7において、リップ50は、図3と同様に、交点部52からL字状に延出し、それぞれの端部52b,52cが幅狭に形成された2つのスリット部53A,53Bからなる断面L字状のスリット51を有している。
そして、前記交点部52の内壁には、図6のコ字状の凹部42aに対応する細幅のコ字状凸部52aを有しており、スリット幅を狭めている。なお、この凸部52aは、リップ50の厚み方向に対して途中部まで形成されている(図示せず)。すなわち、凸部52aは、厚み方向又は押出方向(熱可塑性樹脂を押し出す方向)に対して、リップ上端部から所定の途中部まで形成されており、この途中部からリップ下端部には凸部は形成されていない。このような凸部を形成すると、厚み方向全体に亘って凸部を形成したリップを用いた場合に比べて、発泡成形後に形成される頂部の凹部の幅をより小さくできる。
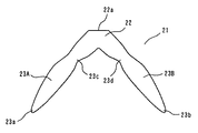
図8は、本発明の発泡部材の別の例を示す概略断面図である。図8において、断面L字状の発泡部材61は、図1と同様に、頂部62からL字状に延出し、それぞれの端部63a,63bが薄肉に形成され、かつ側壁部63A,63Bの内壁にはそれぞれ湾曲状の凹部63c,63dが形成された側壁部63A,63Bを備えている。
そして、図8の例では、さらに、頂部62の外壁(頂部外側)に、凹部62aが形成されている。すなわち、前記凹部62aは、頂部62の外壁に山形状(逆三角形状)の切欠部を形成している。なお、凹部62aの深さは、頂部62(又は発泡部材)の厚みに対してわずか(頂部62の厚みを1とするとき、深さ約0.1〜0.2程度)である。
図8の発泡部材では、頂部および側壁部の両方に凹部が形成されており、長手方向の反りを小さくする効果が非常に大きい。また、頂部の凹部の深さが小さいため、耐衝撃性能を損なうことがなく、保護部材として好適に使用できる。
なお、図9は、図8の発泡部材を製造するためのダイの概略断面図である。図9において、リップ70は、図3と同様に、交点部72からL字状に延出し、それぞれの端部72b,72cが幅狭に形成され、かつ内壁にコ字状凸部73c,73dが形成されている2つのスリット部73A,73Bからなる断面L字状のスリット71を有している。
そして、図9の例では、さらに、スリット交点部72Aの外壁に、凹部62aに対応する山形状(三角形状)の凸部72aが形成されており、この凸部72aにおいてスリット幅が狭められている。
[発泡部材]
本発明の発泡部材(保護部材)は、頂部からL字状に延出した2つの側壁部を備えた断面L字状の発泡部材であり、前記各側壁部及び/又は前記頂部には、長手方向に沿って凹部が形成されている。
本発明の発泡部材の厚み(凹部などが形成されていない部分の厚み、最大厚み)は、被保護部材の種類に応じて、十分な保護性能を有する範囲で選択でき、例えば、3mm〜5cm、好ましくは5mm〜3cm、さらに好ましくは7mm〜2cm(例えば、8mm〜1.5cm)程度であってもよい。
また、発泡部材の側壁部の幅方向(延出方向)の長さ(又は発泡部材の断面における一辺の長さ)は、例えば、3〜15cm、好ましくは3.5〜10cm、さらに好ましくは4〜8cm程度であってもよい。なお、発泡部材の2つの側壁部は、頂部から延出している限り、図1〜図4のように頂部を境にして対称的な(又はほぼ対称的な)形状であってもよく、非対称な形状であってもよい。例えば、発泡部材において、一方の側壁部の長さと他方の側壁部の長さとが異なっていてもよい。
前記のように、本発明の発泡部材は、頂部および側壁部が長手方向に延出した部材である。発泡部材の長手方向の長さは、被保護部材の角部の長さにもよるが、例えば、30cm〜4m(例えば、50cm〜3m)、好ましくは1〜2.5m(例えば、1.2〜2m)、さらに好ましくは1.5〜1.9m程度であってもよい。
また、発泡部材の断面形状は、L字状であるが、L字状とは角度90度をなす形状のみを意味するものではなく、例えば、50〜130度(例えば、60〜120度)、好ましくは70〜110度(例えば、80〜100度)程度をなす形状であってもよい。なお、本明細書では、便宜上、三角形状のような角形を示す用語を使用しているが、発泡部材に対して用いるこのような用語は、通常、完全な角形を意味するものではなく、角形の角がとれてやや丸まった形状を意味する場合が多い。
そして、本発明の発泡部材では、前記各側壁部の端部(側壁部の各端部)が薄肉に形成されているとともに、前記側壁部及び/又は前記頂部に凹部が形成されている。このような薄肉の端部と側壁部及び/又は頂部の凹部とを組み合わせることにより、被固定部材との段差を小さくできるとともに、反りの著しく抑制された発泡部材とすることができる。
前記側壁部の端部(側壁部の延出方向の端部)は、被保護部材との段差を小さくして固定できる範囲で薄肉に形成されていればよい。そのため、少なくとも端部が薄肉に形成されていればよく、頂部から端部に向かって薄肉に形成されていてもよく、前記図の例のように側壁部の幅方向の途中部から端部に沿って(端部に向かうにつれて)厚みが小さくなる形態で薄肉に形成されていてもよく、端部(又はその付近)のみ薄肉に形成されていてもよい。養生テープによる仮止めを容易にするという観点からは、側壁部の幅方向の途中部から端部に沿って厚みが小さくなる形態がより好ましい。
凹部のうち、発泡部材の側壁部に形成する凹部の形成位置は、側壁部の少なくとも一方の面であればよく、側壁部の内壁(内壁面)に限定されず、側壁部の外壁(外壁面)であってもよく、内壁(内壁面)および外壁(外壁面)の両方であってもよい。また、側壁部に形成する凹部の形成位置は、通常、側壁部の幅方向の途中部(側壁部のうち端部を除く部分)である場合が多く、側壁部の幅方向において、例えば、中央部と頂部との間、中央部、中央部と端部との間などであってもよい。さらに、前記図の例のように、側壁部に形成する2つの凹部の形成位置は、頂部を境にして互いに対称的な(ほぼ対称的)な位置に限定されず、非対称な位置であってもよい。例えば、発泡部材において、一方の凹部を側壁部の幅方向の中間部に形成し、他方の凹部を側壁部の幅方向の中間部と端部との間に形成してもよい。
側壁部に形成する凹部の断面形状は、湾曲状(碗状)に限定されず、山形状(逆三角形状)、コ字状、V字状などであってもよい。また、側壁部に形成する凹部の最大深さ(くぼみの最大深さ)は、側壁部の厚み(又は発泡部材の最大厚み)を1とするとき、例えば、0.1〜0.8、好ましくは0.12〜0.7、さらに好ましくは0.15〜0.6程度であってもよい。具体的には、側壁部に形成する凹部の最大深さは、発泡部材(又は側壁部)の厚みよりも小さい範囲で、例えば、1〜10mm、好ましくは1.5〜7mm、さらに好ましくは2〜6mm(例えば、2.5〜5mm)程度であってもよい。
また、側壁部に形成する凹部の最大幅(くぼみの最大幅)は、側壁部の幅方向の長さを1とするとき、例えば、0.03〜0.5、好ましくは0.05〜0.4、さらに好ましくは0.08〜0.3程度であってもよい。具体的には、側壁部に形成する凹部の最大幅(くぼみの最大幅)は、例えば、2mm〜3cm、好ましくは3mm〜2cm(例えば、5mm〜1.5cm)程度であってもよい。
頂部に凹部を形成する場合、その形状は、前記図の例に特に限定されない。例えば、頂部内壁(頂部内側)に、凹部を形成する場合、その断面形状は、コ字状(針状)に限定されず、山形状、V字状などであってもよい。また、頂部外壁(頂部外側)に、凹部を形成する場合、その断面形状は、逆三角形状に限定されず、コ字状、V字状、湾曲状などであってもよい。いずれの場合も、頂部の凹部は、被保護部材の角部を保護するという観点から、深さ(くぼみの深さ)が大きくなりすぎないように形成するのが好ましい。そのため、頂部に形成する凹部の最大深さ(くぼみの最大深さ)は、頂部の厚み(又は発泡部材の厚み)を1とするとき、例えば、0.08〜0.7、好ましくは0.1〜0.5、さらに好ましくは0.15〜0.3程度であってもよい。また、頂部に形成する凹部の最大幅(くぼみの最大幅)は、例えば、0.5〜7mm、好ましくは0.7〜5mm(例えば、1〜3mm)程度であってもよい。
なお、頂部の凹部の深さは、その形成する部位や形状、幅などによっても調整することができる。例えば、図3の例のように、凹部を幅狭に形成する場合には、側壁部が頂部の保護性能を補強可能な形状となっているため、比較的大きな深さで凹部を形成しても、保護性能を維持できる場合がある。
なお、頂部に形成する凹部の形成位置は、外壁又は内壁に限定されず、外壁および内壁の双方に形成してもよい。通常、頂部は、被保護部材を保護するという観点から、外壁又は内壁のいずれか、特に外壁に形成する場合が多い。
頂部の形状は、L字状(角状)であってもよく、異形状であってもよい。例えば、頂部は、平坦化されていたり、膨出部が形成されていてもよい。頂部を異形状に形成すると、反りを小さくする効果がより一層大きくなる場合がある。
側壁部及び/又は頂部に凹部を形成すると、押出発泡成形に伴って、凹部の位置と厚み方向に対して反対側の位置にも凹部に対応した形状を有する小さな凹部(くぼみ)が形成される場合がある。例えば、側壁部の内壁側に凹部を形成すると、厚み方向反対側に位置する外壁側がやや小さくくぼむ場合がある。このような小さな凹部の形成は、発泡成形に特有の現象である。そのため、本発明の発泡部材は、このような凹部の形成により生成する小さな凹部を有していてもよい。
なお、長手方向に沿って形成する凹部は、前記のように、各側壁部及び頂部のうち少なくともいずれかに形成すればよく、特に、各側壁部および頂部の双方に形成してもよい。双方に形成すると、反りを小さくする効果が非常に大きく、長手方向に比較的長い[例えば、長手方向の長さが1m以上(例えば、1〜2.5m)の]発泡部材を形成しても、ほぼ反りのない発泡部材を得ることができる。
本発明の発泡部材は、長手方向の反りが小さく抑えられている。例えば、本発明の発泡部材は、長さ1.7mに形成した発泡部材を側壁部の端部が長手方向に沿って水平面に接触するように載置して測定したとき、水平面からの反りの高さが、40mm以下(例えば、0〜35mm)、好ましくは30mm以下(例えば、0.5〜25mm)、さらに好ましくは20mm以下(例えば、1〜15mm)、特に10mm以下(例えば、1.5〜7mm程度)であってもよい。なお、「反りの高さ」とは、発泡部材の端部と水平面との最大距離を意味する。すなわち、1.7mの発泡部材を、側壁部の端部を長手方向に沿って水平面に接触するように(又は頂部を上にして)、水平面に押圧することなく載置したとき、発泡部材の端部が水平面より離れた距離を意味し、端部によって距離が異なる場合には、その最大距離を意味する。
なお、本発明の発泡部材は、前記のように、頂部および側壁部は長手方向に延出した構造を有しており、凹部や薄肉に形成された端部もまた対応して長手方向に沿って形成されている。このような凹部や薄肉の端部は、通常、長手方向に沿って連続的に形成されているが、スリットの形状などによっては、発泡部材は長手方向のごく一部において凹部が形成されていない部分を有していなくてもよい。例えば、前記図3のように、幅狭の凹部を形成した場合、周囲の熱可塑性樹脂が発泡に伴って凹部をふさぎ、長手方向のごく一部において凹部が形成されていない部位を生成する場合がある。
本発明の発泡部材は、連続気泡体又は独立気泡体であってもよいが、特に独立気泡体であってもよい。
なお、本発明の発泡部材の目付は、例えば、10〜100g/m、好ましくは15〜70g/m、さらに好ましくは20〜50g/m(例えば、25〜45g/m)程度であってもよい。
また、本発明の発泡部材の発泡倍率は、例えば、2〜80倍(例えば、10〜70倍)、好ましくは12〜60倍(例えば、15〜55倍)、さらに好ましくは18〜50倍(例えば、20〜40倍)程度であってもよい。
[発泡部材の製造方法]
本発明の発泡部材は、通常、発泡部材に対応した形状のリップ(口金)を有するダイから熱可塑性樹脂を押出発泡成形することにより製造できる。すなわち、前記リップは、交点部からL字状に延出した2つのスリット部からなる断面L字状のスリットを有し、前記各スリット部の端部が幅狭に形成され、かつ前記各スリット部及び/又は前記交点部に、スリット幅を狭める凸部(スリット凸部)を有している。
リップにおいて、スリット(又はスリット部又は交点部)の厚み(断面方向の厚み)は、発泡部材の厚みおよび発泡倍率などに応じて選択でき、例えば、0.5〜5mm、好ましくは0.8〜4mm、さらに好ましくは1〜3mm(例えば、1.2〜2mm)程度であってもよい。また、スリット部の幅(又はスリットの断面の一辺の長さ)は、例えば、1〜12cm、好ましくは1.5〜8cm、さらに好ましくは2〜5cm程度であってもよい。
交点部の凸部(例えば、交点部の外壁の凸部)の最大高さは、交点部(又はスリット)の厚みを1とするとき、例えば、0.1〜0.95、好ましくは0.2〜0.9、さらに好ましくは0.3〜0.85程度であってもよい。なお、通常、交点部の凸部の幅はスリット部に対してごく小さい幅である。そのため、凸部の最大高さを上記のように比較的大きくしても、スリット凸部近傍の熱可塑性樹脂の発泡に伴う膨張により、発泡部材において形成される頂部の凹部は、頂部の厚みに対してごく小さい範囲(前記範囲)とすることができる。
交点部の凸部の最大幅は、その形成位置にもよるが、例えば、0.1〜3mm、好ましくは0.2〜2mm(例えば、0.3〜1.5mm)程度であってもよい。特に、交点部の外壁に凸部を形成する場合には、幅が大きすぎると発泡部材において反りを生成しやすくなるため、交点部の凸部の最大幅は、例えば、0.1〜1.2mm、好ましくは0.2〜1mm(例えば、0.3〜0.8mm)程度としてもよい。
また、スリット部の凸部の最大高さは、スリット部(又はスリット)の厚みを1とするとき、例えば、0.05〜0.8、好ましくは0.1〜0.7、さらに好ましくは0.2〜0.6程度であってもよい。また、スリット部の凸部の最大幅は、例えば、0.1mm〜2cm、好ましくは0.5mm〜1.5cm(例えば、1mm〜1cm)程度であってもよい。
なお、スリットの押出方向の厚みは、例えば、3mm〜10cm、好ましくは5mm〜7cm、さらに好ましくは1〜5cm程度であってもよい。また、スリット凸部は、発泡部材に形成される凹部の幅や深さを小さくするため、前記の例のように、リップの押出方向に対してリップ途中部まで形成されていてもよい。このようなリップ途中部までスリット凹部を形成する場合、スリット凸部の押出方向(又はリップの断面に垂直な方向)の厚みは、リップの押出方向の厚みを1とするとき、0.1〜0.8、好ましくは0.2〜0.7程度であってもよい。
押出発泡成形は、上記のようなリップを有するダイを備えた押出機を用いて行うことができ、押出機としては、例えば、単軸押出機(例えば、ベント式押出機など)、二軸押出機(例えば、同方向二軸押出機、異方向二軸押出機など)、多段押出機(タンデム押出機など)などが挙げられる。
発泡部材は、通常、熱可塑性樹脂で形成されていてもよい。熱可塑性樹脂としては、例えば、オレフィン系樹脂(例えば、ポリエチレン系樹脂、ポリプロピレン系樹脂、メチルペンテン樹脂など)、ポリスチレン系樹脂[例えば、ポリスチレン(GPPS)、耐衝撃性ポリスチレン(HIPS)、スチレン−アクリロニトリル共重合体(AS樹脂)、スチレン−アクリロニトリル−ブタジエン共重合体(ABS樹脂)など]、塩化ビニル系樹脂(例えば、ポリ塩化ビニル、塩化ビニル−酢酸ビニル共重合体など)、酢酸ビニル系樹脂[例えば、ポリ酢酸ビニル、酢酸ビニル−エチレン共重合体(EVA樹脂)など]、ポリビニルアルコール系樹脂[例えば、ポリビニルアルコール(PVA)、エチレン−ビニルアルコール共重合体(EVOH樹脂)など]、アクリル系樹脂[例えば、メタクリル酸メチル樹脂(PMMA)、メタクリル酸メチル−ブタジエン−スチレン共重合体(MBS樹脂)など]、ポリエステル系樹脂[例えば、ポリアルキレンアリレート(ポリエチレンテレフタレート、ポリブチレンテレフタレート、ポリエチレンナフタレートなど)など]、ポリカーボネート樹脂、ポリアミド系樹脂(例えば、ポリアミド6、ポリアミド6−6など)などが挙げられる。また、前記熱可塑性樹脂は、例えば、熱可塑性ポリイミド系樹脂、ポリアセタール系樹脂、(変性)ポリフェニレンエーテル系樹脂(PPE)、ポリフェニレンスルフィド系樹脂(PPS)、ポリエーテルエーテルケトン(PEEK)などであってもよく、さらに、前記熱可塑性樹脂の構成成分を含む熱可塑性エラストマーも含まれる。これらの樹脂は単独又は二種以上組み合わせてもよい。
これらの樹脂のうち、発泡部材に優れた柔軟性(可撓性)、反撥弾性(復元性)、耐衝撃性などを付与するため、通常、軟質樹脂、例えば、オレフィン系樹脂(特に、ポリエチレン系樹脂など)を使用する場合が多い。
オレフィン系樹脂には、オレフィン系単量体の単独又は共重合体、オレフィン系単量体と他の共重合性単量体との共重合体が含まれる。オレフィン系単量体は、鎖状オレフィン単量体であってもよく、環状オレフィン単量体であってもよいが、通常、鎖状オレフィン単量体(例えば、エチレン、プロピレン、1−ブテン、イソブテン、1−ペンテン、4−メチル−1−ペンテンなどのα−C2−20鎖状オレフィン、特に、α−C2−4鎖状オレフィン)を用いる。これらのオレフィン系単量体は、単独で又は二種以上組み合わせて使用できる。
より具体的に、オレフィン系単量体の単独又は共重合体としては、例えば、ポリエチレン(高密度ポリエチレン、低密度ポリエチレン、直鎖状低密度ポリエチレンなどのポリエチレン)、ポリプロピレンなどのα−C2−20鎖状オレフィン(特に、α−C2−4鎖状オレフィン)単独重合体、エチレン−プロピレン共重合体などのα−C2−20鎖状オレフィン(特に、α−C2−4鎖状オレフィン)共重合体が例示できる。また、オレフィン系単量体と他の共重合性単量体との共重合体としては、例えば、α−C2−20鎖状オレフィンと他の共重合性単量体との共重合体[例えば、エチレン−酢酸ビニル共重合体(EVA樹脂)、エチレン−(メタ)アクリル酸エステル共重合体、エチレン−(メタ)アクリル酸共重合体及びその金属塩などのエチレンと他の共重合性単量体との共重合体などのα−C2−4鎖状オレフィンと他の共重合性単量体との共重合体など]などが例示できる。
これらのオレフィン系樹脂のうち、ポリエチレン(高密度ポリエチレン、低密度ポリエチレン、直鎖状低密度ポリエチレンなどのポリエチレン)、エチレン−プロピレン共重合体、エチレン−酢酸ビニル共重合体(EVA樹脂)などのエチレン系樹脂が好ましく、特に、ポリエチレン(高密度ポリエチレン、低密度ポリエチレン、直鎖状低密度ポリエチレンなどのポリエチレン)が好ましい。
これらのオレフィン系樹脂は、単独で又は二種以上組み合わせて使用してもよい。
押出発泡成形に使用できる発泡剤は、揮発性発泡剤(物理発泡剤)と分解性発泡剤(化学発泡剤)とに大別される。揮発性発泡剤としては、例えば、窒素、二酸化炭素、酸素、空気、水などの無機系発泡剤や、プロパン、ブタン(n−ブタン、イソブタン)、ペンタン(n−ペンタン、イソペンタンなど)、ヘキサン(n−ヘキサンなど)などの低級脂肪族炭化水素、シクロペンタン、シクロヘキサンなどの脂環族炭化水素、トルエン、ベンゼンなどの芳香族炭化水素、塩化メチル、塩化エチルなどの塩化炭化水素、フロンなどのフッ化炭化水素、メタノール、2−プロパノールなどのアルコール類、ジメチルエーテル、メチルエチルエーテル、石油エーテルなどのエーテル類、ホルムアルデヒドなどのアルデヒド類、アセトン、メチルエチルケトンなどのケトン類などの有機系発泡剤が挙げられる。また、分解性発泡剤としては、例えば、重炭酸ナトリウム、炭酸アンモニウムなどの無機炭酸塩、クエン酸などの有機酸、2,2′−アゾビスイソブチロニトリル、アゾジカルボンアミドなどのアゾ化合物、ベンゼンスルホニルヒドラジド、p−トルエンスルホニルヒドラジドなどのスルホニルヒドラジド化合物、N,N′−ジニトロソペンタメチレンテトラミン(DNPT)などのニトロソ化合物、テレフタルアジドなどのアジド化合物などが挙げられる。これらの発泡剤は、単独で又は二種以上組み合わせて使用してもよい。
発泡剤の割合は、発泡剤の種類、所望の発泡倍率などに応じて選択でき、前記熱可塑性樹脂100重量部に対して、例えば、0.01〜30重量部、好ましくは0.1〜25重量部、さらに好ましくは1〜20重量部、特に5〜15重量部程度であってもよい。
さらに、押出発泡成形において、発泡部材を形成するために熱可塑性樹脂に他の添加剤を含有させてもよい。他の添加剤としては、例えば、発泡核剤(発泡助剤)、収縮防止剤、気泡調整剤、安定剤(熱安定化剤、紫外線吸収剤など)、ブロッキング防止剤、防曇剤、酸化防止剤、帯電防止剤、着色剤(染料、顔料など)、カップリング剤、硬化剤、難燃剤、滑剤、離型剤、芳香剤、可塑剤、バイオサイド(殺菌剤、静菌剤、抗かび剤、防腐剤、防虫剤など)、粘度調節剤、分散剤、充填剤(炭酸カルシウム、炭素繊維など)などが挙げられる。これらの添加剤は単独で又は二種以上組み合わせて使用してもよい。
発泡核剤(発泡助剤)としては、例えば、タルク、シリカ、ゼオライトなどのケイ素化合物、炭酸金属塩又は炭酸水素金属塩(炭酸カルシウム、炭酸マグネシウム、炭酸水素ナトリウムなど)などの無機酸金属塩、クエン酸などの有機酸(脂肪酸)及びその金属塩(クエン酸ナトリウム、ステアリン酸カルシウム、ステアリン酸アルミニウム、ステアリン酸亜鉛など)などの有機酸塩、酸化亜鉛、酸化アルミニウムなどの金属酸化物、水酸化アルミニウムなどの金属水酸化物などが挙げられる。これらの発泡核剤(発泡助剤)は単独で又は二種以上組み合わせて使用してもよい。発泡核剤(発泡助剤)の割合は、例えば、熱可塑性樹脂100重量部に対して0.01〜10重量部、好ましくは0.05〜5重量部、さらに好ましくは0.1〜3重量部、特に0.2〜2重量部(例えば、0.1〜1重量部)程度であってもよい。また、発泡核剤の割合は、例えば、前記発泡剤100重量部に対して0.1〜500重量部、好ましくは1〜100重量部、さらに好ましくは5〜50重量部(例えば、10〜30重量部)程度であってもよい。
また、収縮防止剤としては、例えば、脂肪酸と多価アルコールとのエステル、脂肪酸アミドなどが挙げられる。より具体的に、脂肪酸(例えば、ラウリン酸、ミリスチン酸、パルミチン酸、ステアリン酸など)と多価アルコール(例えば、グリセリン、キシリトール、ソルビトール、マンニトールなど)とのエステルとしては、例えば、パルミチン酸モノ乃至トリグリセリド、ステアリン酸モノ乃至トリグリセリドなどが挙げられる。脂肪酸アミドとしては、例えば、パルミチン酸アミド、ステアリン酸アミドなどが挙げられる。これらの収縮防止剤は単独で又は二種以上組み合わせて使用してもよい。収縮防止剤の割合は、例えば、熱可塑性樹脂100重量部に対して0.01〜30重量部、好ましくは0.05〜20重量部、さらに好ましくは0.1〜15重量部、特に0.5〜10重量部(例えば、1〜5重量部)程度であってもよい。また、収縮防止剤の割合は、例えば、前記発泡剤100重量部に対して0.01〜5重量部、好ましくは0.02〜3重量部、さらに好ましくは0.05〜2重量部(例えば、0.1〜1重量部)程度であってもよい。
前記発泡剤及び他の添加剤(例えば、発泡核剤、収縮防止剤など)は、必要に応じて成形工程において適宜添加又は注入してもよい。例えば、前記発泡剤及び他の添加剤は、それぞれ前記熱可塑性樹脂と予め混合して押出発泡成形してもよく、押出機で溶融混練した熱可塑性樹脂に注入してもよい。
本発明の発泡部材は、L字状を有しており、被保護部材の角部を保護するための発泡部材(保護部材)として有用である。特に、本発明の発泡部材は、側壁部の端部が薄肉に形成されているとともに、長手方向の反りが抑えられているため、養生テープのような粘着力(接着力)の弱い仮止め材によっても、剥がれることなく、確実に被保護部材に固定できる。
そのため、本発明には、被保護部材の角部を保護する方法であって、前記発泡部材で前記角部を被覆し、保護する方法も含まれる。この方法では、特に、養生テープにより被保護部材に対して発泡部材を固定した状態で被覆してもよい。なお、被保護部材としては、柱、壁、ドア、間仕切り材、家具、機器(電気機器など)などの角部(特にL字状の角部)を有する部材が挙げられる。
以下に、実施例に基づいて本発明をより詳細に説明するが、本発明はこれらの実施例によって限定されるものではない。
なお、実施例において、「反りの高さ」は、前記のように、長さ1.7mに形成した発泡部材を水平面に載置して測定した。
(実施例1)
図3のダイを用いて図1の発泡部材(独立気泡体)を製造した。タンデム型押出機(1段目65mm、2段目90mm)を使用し、低密度ポリエチレン(LDPE)((株)東ソー製、ペトロセン173R、密度=0.924g/cm、MFR=0.3)100重量部、収縮防止剤(ベーリンガーインゲルハイムケミカルズ(株)製、アクティベックス325)3.0重量部、核剤(重曹・クエン酸系、永和化成(株)製、EE275)1.0重量部を溶融混合し、1段目の押出機の中央部から発泡ガス(n−ブタン)9重量部を注入し、ダイから押出発泡成形した。
なお、ダイのリップ10において、断面L字状のスリット11の厚みは1.5mm、スリットの断面の一辺の長さは15mmであり、スリット部の端部13a,13bは半径0.4mmに形成されており、凸部13c,13dの最大高さは0.5mm、凸部13c,13dの最大幅は3.2mm、ダイ(リップ10)の押出方向の厚みは7.0mmであった。
得られた発泡部材において、目付は34.3g/m、発泡倍率は23.2倍、断面における一辺の長さは58.7mm、凹部3c,3dの最大幅は1.8mm、凹部3c,3dの最大深さは8mm、厚みは10.4mmであり、反りの高さは15mm(N=5の平均値)であった。
(実施例2)
図5のダイを用いて図4の発泡部材(独立気泡体)を製造した。発泡成形に使用した材料および押出発泡成形条件はすべて実施例1と同様とした。
なお、ダイのリップ30において、断面L字状のスリット31の厚みは1.5mm、スリットの断面の一辺の長さは15mmであり、スリット部の端部33a,33bは半径0.4mmに形成されており、凸部33c,33dの最大高さは0.5mm、凸部33c,33dの最大幅は3.2mm、平坦部32aの幅は1.2mm、ダイ(リップ31)の押出方向の厚みは7.0mmであった。
得られた発泡部材において、目付は33.0g/m、発泡倍率は22.9倍、断面における一辺の長さは59.2mm、凹部23c,23dの最大幅は1.8mm、凹部23c,23dの最大深さは8mm、厚みは10.2mmであり、反りの高さは10mm(N=5の平均値)であった。
(実施例3)
図7のダイを用いて図6の発泡部材(独立気泡体)を製造した。発泡成形に使用した材料および押出発泡成形条件はすべて実施例1と同様とした。
なお、ダイのリップ50において、断面L字状のスリット51の厚みは1.5mm、スリットの断面の一辺の長さは15mmであり、スリット部の端部53a,53bは半径0.4mmに形成されており、凸部52aの最大幅は0.6mm、凸部52aの最大高さは3mm、ダイ(リップ50)の押出方向の厚みは7.0mm、凸部52aの押出方向の厚みは3.0mmであった。
得られた発泡部材において、目付は36.9g/m、発泡倍率は23.5倍、断面における一辺の長さは56.7mm、凹部42aの最大幅は9.2mm、凹部42aの最大深さは2.0mm、厚みは11.4mmであり、反りの高さは5mm(N=5の平均値)であった。
(実施例4)
図9のダイを用いて図8の発泡部材(独立気泡体)を製造した。発泡成形に使用した材料および押出発泡成形条件はすべて実施例1と同様とした。
なお、ダイのリップ70において、断面L字状のスリット71の厚みは1.5mm、スリットの断面の一辺の長さは15mmであり、スリット部の端部は半径0.4mmに形成されており、凸部72aの山形の一辺は0.56mm、山形凸部72aの最大高さは0.8mm、凸部73c,73dの最大高さは0.5mm、ダイ(リップ71)の押出方向の厚みは7.0mmであった。
得られた発泡部材において、目付は33.5g/m、発泡倍率は22.4倍、断面における一辺の長さは57.2mm、凹部62aの最大幅は8.9mm、凹部62aの最大深さは1.85mm、凹部63c,63dの最大幅は7.5mm、凹部63c,63dの最大深さは1.6mm、厚みは10.2mmであり、反りの高さは2.5mm(N=5の平均値)であった。
(参考例1)
図3において、端部13a,13bがそれぞれ幅狭に形成されておらず、かつ凸部13c,13dが形成されていないダイを用いて発泡部材(独立気泡体)を製造した。発泡成形に使用した材料および押出発泡成形条件はすべて実施例1と同様とした。
得られた発泡部材において、目付は37.0g/m、発泡倍率は23.1倍、断面における一辺の長さは58.5mm、厚みは8.8mmであり、反りの高さは10mm(N=5の平均値)であった。
(参考例2)
図3において、凸部13c,13dが形成されていないダイを用いて発泡部材(独立気泡体)を製造した。発泡成形に使用した材料および押出発泡成形条件はすべて実施例1と同様とした。
得られた発泡部材において、目付は37.2g/m、発泡倍率は24.5倍、断面における一辺の長さは58.5mm、厚みは11.3mmであり、反りの高さは60.3mmであった。
(発泡部材の固定力評価)
実施例4、参考例1、参考例2で得られた発泡部材を用いて、養生テープを用いた被保護部材(壁)に対する固定性を以下のようにして評価した。
長手方向の長さ1.7mの発泡部材で、壁の角部を被覆し、養生テープ(光洋化学(株)製、カットエース25mm幅、接着力750g/25mm)により固定し、養生テープが剥がれるまでの時間を測定した。
なお、養生テープは、長さ5cmにカットしたものを4つ用意し、発泡部材の上端および下端からそれぞれ5cmの部分に、発泡部材の側壁部と壁との貼付部位の長さが同じになるよう(すなわち、2.5cm)貼り付けた。
以上の条件で測定した結果、実施例4で得られた発泡部材は、48時間経過しても養生テープが剥がれなかったが、参考例1の発泡部材では5時間で、参考例2の発泡部材では2.5時間でそれぞれ養生テープが剥がれた。
図1は本発明の発泡部材の一例を示す概略断面図である。 図2は、図1の発泡部材の概略斜視図である。 図3は、図1の発泡部材を製造するためのダイの概略断面図である。 図4は本発明の発泡部材の他の例を示す概略断面図である。 図5は、図4の発泡部材を製造するためのダイの概略断面図である。 図6は本発明の発泡部材のさらに他の例を示す概略断面図である。 図7は、図6の発泡部材を製造するためのダイの概略断面図である。 図8は本発明の発泡部材の別の例を示す概略断面図である。 図9は、図8の発泡部材を製造するためのダイの概略断面図である。
符号の説明
1,21,41,61…発泡部材
2,22,42,62…頂部
3A,3B,23A,23B,43A,43B,63A,63B…側壁部
3a,3b,23a,23b,43a,43b,63a,63b…側壁部の端部
3c,3d,23c,23d,63c,63d…側壁部の凹部
22a…平坦部
42a,62a…頂部の凹部
10,30,50,70…リップ
11,31,51,71…スリット
12,32,52,72…交点部
13A,13B,33A,33B,53A,53B,73A,73B…スリット部
13a,13b,33a,33b,53a,53b,73a,73b…スリット部の端部
13c,13d,33c,33d,73c,73d…スリット部の凸部
32a…スリット平坦部
52a,72a…交点部の凸部

Claims (12)

  1. 頂部からL字状に延出した2つの側壁部を備えた断面L字形状の発泡部材であって、前記各側壁部の端部が薄肉に形成され、かつ前記各側壁部及び/又は前記頂部に、長手方向に沿って凹部が形成されている発泡部材。
  2. 側壁部の幅方向の途中部から端部に向かって厚みが薄くなる形態で側壁部が薄肉に形成され、側壁部の幅方向の途中部及び/又は頂部に長手方向に沿って凹部が形成されている請求項1記載の発泡部材。
  3. 側壁部の幅方向の途中部及び頂部に長手方向に沿って凹部が形成されている請求項1又は2記載の発泡部材。
  4. オレフィン系樹脂で形成されている請求項1〜3のいずれかに記載の発泡部材。
  5. 長さ1.7mに形成した発泡部材を側壁部の端部が長手方向に沿って水平面に接触するように載置して測定したとき、水平面からの反りの高さが20mm以下である請求項1〜4のいずれかに記載の発泡部材。
  6. 被保護部材の角部を保護するための発泡部材である請求項1〜5のいずれかに記載の発泡部材。
  7. ダイから熱可塑性樹脂を押出発泡成形して請求項1記載の発泡部材を製造する方法であって、前記ダイのリップが、交点部からL字状に延出した2つのスリット部からなる断面L字状のスリットを有し、前記各スリット部の端部が幅狭に形成され、かつ前記各スリット部及び/又は前記交点部に、スリット幅を狭める凸部を有するリップである発泡部材の製造方法。
  8. リップが、スリット部の幅方向の途中部から端部に向かって幅狭に形成され、スリット部の幅方向の途中部及び/又は交点部に凸部を有する請求項7記載の製造方法。
  9. リップが、スリット部の幅方向の途中部及び交点部に凸部を有する請求項7又は8に記載の製造方法。
  10. 被保護部材の角部を保護する方法であって、請求項1〜6のいずれかに記載の発泡部材で、前記角部を被覆する角部の保護方法。
  11. 養生テープにより被保護部材に対して発泡部材を固定した状態で角部を被覆する請求項10記載の方法。
  12. 請求項1記載の発泡部材を押出発泡成形により製造するためのダイであって、前記ダイのリップが、交点部からL字状に延出した2つのスリット部からなる断面L字状のスリットを有し、前記各スリット部の端部が幅狭に形成され、かつ前記各スリット部及び/又は前記交点部に、スリット幅を狭める凸部を有するダイ。
JP2008187321A 2008-07-18 2008-07-18 発泡部材及びその製造方法 Active JP5270990B2 (ja)

Priority Applications (1)

Application Number Priority Date Filing Date Title
JP2008187321A JP5270990B2 (ja) 2008-07-18 2008-07-18 発泡部材及びその製造方法

Applications Claiming Priority (1)

Application Number Priority Date Filing Date Title
JP2008187321A JP5270990B2 (ja) 2008-07-18 2008-07-18 発泡部材及びその製造方法

Publications (2)

Publication Number Publication Date
JP2010024714A true JP2010024714A (ja) 2010-02-04
JP5270990B2 JP5270990B2 (ja) 2013-08-21

Family

ID=41730795

Family Applications (1)

Application Number Title Priority Date Filing Date
JP2008187321A Active JP5270990B2 (ja) 2008-07-18 2008-07-18 発泡部材及びその製造方法

Country Status (1)

Country Link
JP (1) JP5270990B2 (ja)

Cited By (5)

* Cited by examiner, † Cited by third party
Publication number Priority date Publication date Assignee Title
JP2013071309A (ja) * 2011-09-27 2013-04-22 Dm Novafoam Ltd 発泡体及びその製造方法並びにその用途
JP5572272B1 (ja) * 2013-10-21 2014-08-13 キョーセー株式会社 平形コーナ材の冷却平坦化装置
JP2017172137A (ja) * 2016-03-22 2017-09-28 テクサジャパン株式会社 脚立保護材
JP2020097687A (ja) * 2018-12-18 2020-06-25 株式会社カネカ 無架橋ポリエチレン系樹脂押出発泡ボードおよびその製造方法
KR20220022996A (ko) * 2020-08-20 2022-03-02 주식회사 지엠테크 코너 마감재

Citations (3)

* Cited by examiner, † Cited by third party
Publication number Priority date Publication date Assignee Title
JPS5286234A (en) * 1976-01-09 1977-07-18 Naka Tech Lab Joiner for outside angle
JPS53118860U (ja) * 1977-02-28 1978-09-21
JP2000274081A (ja) * 1999-03-25 2000-10-03 Nishi Nippon Nobafuoomu Kk 構築物保護材及びその製造方法並びに構築物保護方法及び人体保護方法

Patent Citations (3)

* Cited by examiner, † Cited by third party
Publication number Priority date Publication date Assignee Title
JPS5286234A (en) * 1976-01-09 1977-07-18 Naka Tech Lab Joiner for outside angle
JPS53118860U (ja) * 1977-02-28 1978-09-21
JP2000274081A (ja) * 1999-03-25 2000-10-03 Nishi Nippon Nobafuoomu Kk 構築物保護材及びその製造方法並びに構築物保護方法及び人体保護方法

Cited By (10)

* Cited by examiner, † Cited by third party
Publication number Priority date Publication date Assignee Title
JP2013071309A (ja) * 2011-09-27 2013-04-22 Dm Novafoam Ltd 発泡体及びその製造方法並びにその用途
JP5572272B1 (ja) * 2013-10-21 2014-08-13 キョーセー株式会社 平形コーナ材の冷却平坦化装置
JP2015155213A (ja) * 2013-10-21 2015-08-27 キョーセー株式会社 押出成形装置
JP2020001395A (ja) * 2013-10-21 2020-01-09 キョーセー株式会社 押出成形用金型
JP2021035719A (ja) * 2013-10-21 2021-03-04 キョーセー株式会社 コーナ材の穿孔装置
JP2017172137A (ja) * 2016-03-22 2017-09-28 テクサジャパン株式会社 脚立保護材
JP2020097687A (ja) * 2018-12-18 2020-06-25 株式会社カネカ 無架橋ポリエチレン系樹脂押出発泡ボードおよびその製造方法
JP7229754B2 (ja) 2018-12-18 2023-02-28 株式会社カネカ 無架橋ポリエチレン系樹脂押出発泡ボードおよびその製造方法
KR20220022996A (ko) * 2020-08-20 2022-03-02 주식회사 지엠테크 코너 마감재
KR102420128B1 (ko) * 2020-08-20 2022-07-12 주식회사 지엠테크 벽지 도배용 코너 마감재

Also Published As

Publication number Publication date
JP5270990B2 (ja) 2013-08-21

Similar Documents

Publication Publication Date Title
JP5270990B2 (ja) 発泡部材及びその製造方法
JP6916008B2 (ja) 複合吸音材及びその製造方法並びに吸音性の向上方法
JP6916009B2 (ja) 複合吸音材及びその製造方法並びに吸音性の向上方法
JP5755987B2 (ja) 発泡体及びその製造方法並びにその用途
JP6916007B2 (ja) 吸音材及びその製造方法並びに吸音性の向上方法
JP2015199830A (ja) ポリオレフィン樹脂発泡シート及びその製造方法
JP7534015B2 (ja) 巾木及び巾木巻回体
JP4881010B2 (ja) 連続気泡発泡体用樹脂組成物及びそれを用いた連続気泡発泡体
JP7114241B2 (ja) 案内部材の保護材
JP4951375B2 (ja) 保護カバーの製造方法及びその保護カバー
JP7420434B2 (ja) 巾木及び巾木巻回体
ES2987386T3 (es) Un perfil compuesto de poliestireno y método para fabricar dichos perfiles
JP7645672B2 (ja) 保護材及び保護方法
JP4737730B2 (ja) ポリプロピレン系樹脂押出発泡体
JP2006265294A (ja) 穴あき熱可塑性樹脂発泡体とその製造方法及びその利用
JP2016027235A (ja) 発泡樹脂製保護材及びその製造方法並びに保護方法
JP4442840B2 (ja) ポリエチレン系樹脂押出発泡体及びその製造方法
JP7171178B2 (ja) 枠状被保護体の保護材及びその製造方法
JP2000170385A (ja) 保護材
JP2001182331A (ja) 保護材
JP6635091B2 (ja) 床材
JP4221122B2 (ja) 積層体
WO2020012988A1 (ja) ワイヤーハーネスプロテクタ
JP5285755B2 (ja) 連続気泡発泡体用樹脂組成物及びそれを用いた連続気泡発泡体
JPH06297536A (ja) スチレン系樹脂押出発泡シート

Legal Events

Date Code Title Description
A625 Written request for application examination (by other person)

Free format text: JAPANESE INTERMEDIATE CODE: A625

Effective date: 20110329

A977 Report on retrieval

Free format text: JAPANESE INTERMEDIATE CODE: A971007

Effective date: 20120831

A131 Notification of reasons for refusal

Free format text: JAPANESE INTERMEDIATE CODE: A131

Effective date: 20120904

A521 Request for written amendment filed

Free format text: JAPANESE INTERMEDIATE CODE: A523

Effective date: 20121030

TRDD Decision of grant or rejection written
A01 Written decision to grant a patent or to grant a registration (utility model)

Free format text: JAPANESE INTERMEDIATE CODE: A01

Effective date: 20130507

A61 First payment of annual fees (during grant procedure)

Free format text: JAPANESE INTERMEDIATE CODE: A61

Effective date: 20130510

R150 Certificate of patent or registration of utility model

Free format text: JAPANESE INTERMEDIATE CODE: R150

Ref document number: 5270990

Country of ref document: JP

Free format text: JAPANESE INTERMEDIATE CODE: R150

R250 Receipt of annual fees

Free format text: JAPANESE INTERMEDIATE CODE: R250