JP2010023378A - 画像形成装置 - Google Patents

画像形成装置 Download PDF

Info

Publication number
JP2010023378A
JP2010023378A JP2008189184A JP2008189184A JP2010023378A JP 2010023378 A JP2010023378 A JP 2010023378A JP 2008189184 A JP2008189184 A JP 2008189184A JP 2008189184 A JP2008189184 A JP 2008189184A JP 2010023378 A JP2010023378 A JP 2010023378A
Authority
JP
Japan
Prior art keywords
head
droplets
module
image forming
base member
Prior art date
Legal status (The legal status is an assumption and is not a legal conclusion. Google has not performed a legal analysis and makes no representation as to the accuracy of the status listed.)
Granted
Application number
JP2008189184A
Other languages
English (en)
Other versions
JP4979648B2 (ja
Inventor
Akira Saito
亮 斎藤
Current Assignee (The listed assignees may be inaccurate. Google has not performed a legal analysis and makes no representation or warranty as to the accuracy of the list.)
Ricoh Co Ltd
Original Assignee
Ricoh Co Ltd
Priority date (The priority date is an assumption and is not a legal conclusion. Google has not performed a legal analysis and makes no representation as to the accuracy of the date listed.)
Filing date
Publication date
Application filed by Ricoh Co Ltd filed Critical Ricoh Co Ltd
Priority to JP2008189184A priority Critical patent/JP4979648B2/ja
Priority to CN200980128934.0A priority patent/CN102099195A/zh
Priority to PCT/JP2009/062265 priority patent/WO2010010804A1/en
Priority to US13/003,905 priority patent/US8449071B2/en
Priority to EP09800318.9A priority patent/EP2300234B1/en
Publication of JP2010023378A publication Critical patent/JP2010023378A/ja
Application granted granted Critical
Publication of JP4979648B2 publication Critical patent/JP4979648B2/ja
Expired - Fee Related legal-status Critical Current
Anticipated expiration legal-status Critical

Links

Images

Classifications

    • BPERFORMING OPERATIONS; TRANSPORTING
    • B41PRINTING; LINING MACHINES; TYPEWRITERS; STAMPS
    • B41JTYPEWRITERS; SELECTIVE PRINTING MECHANISMS, i.e. MECHANISMS PRINTING OTHERWISE THAN FROM A FORME; CORRECTION OF TYPOGRAPHICAL ERRORS
    • B41J2/00Typewriters or selective printing mechanisms characterised by the printing or marking process for which they are designed
    • B41J2/005Typewriters or selective printing mechanisms characterised by the printing or marking process for which they are designed characterised by bringing liquid or particles selectively into contact with a printing material
    • B41J2/01Ink jet
    • B41J2/135Nozzles
    • B41J2/145Arrangement thereof
    • B41J2/155Arrangement thereof for line printing
    • BPERFORMING OPERATIONS; TRANSPORTING
    • B41PRINTING; LINING MACHINES; TYPEWRITERS; STAMPS
    • B41JTYPEWRITERS; SELECTIVE PRINTING MECHANISMS, i.e. MECHANISMS PRINTING OTHERWISE THAN FROM A FORME; CORRECTION OF TYPOGRAPHICAL ERRORS
    • B41J2/00Typewriters or selective printing mechanisms characterised by the printing or marking process for which they are designed
    • B41J2/005Typewriters or selective printing mechanisms characterised by the printing or marking process for which they are designed characterised by bringing liquid or particles selectively into contact with a printing material
    • B41J2/01Ink jet
    • B41J2/135Nozzles
    • B41J2/165Prevention or detection of nozzle clogging, e.g. cleaning, capping or moistening for nozzles
    • B41J2/16585Prevention or detection of nozzle clogging, e.g. cleaning, capping or moistening for nozzles for paper-width or non-reciprocating print heads
    • BPERFORMING OPERATIONS; TRANSPORTING
    • B41PRINTING; LINING MACHINES; TYPEWRITERS; STAMPS
    • B41JTYPEWRITERS; SELECTIVE PRINTING MECHANISMS, i.e. MECHANISMS PRINTING OTHERWISE THAN FROM A FORME; CORRECTION OF TYPOGRAPHICAL ERRORS
    • B41J2/00Typewriters or selective printing mechanisms characterised by the printing or marking process for which they are designed
    • B41J2/485Typewriters or selective printing mechanisms characterised by the printing or marking process for which they are designed characterised by the process of building-up characters or image elements applicable to two or more kinds of printing or marking processes
    • B41J2/505Typewriters or selective printing mechanisms characterised by the printing or marking process for which they are designed characterised by the process of building-up characters or image elements applicable to two or more kinds of printing or marking processes from an assembly of identical printing elements
    • B41J2/515Typewriters or selective printing mechanisms characterised by the printing or marking process for which they are designed characterised by the process of building-up characters or image elements applicable to two or more kinds of printing or marking processes from an assembly of identical printing elements line printer type
    • BPERFORMING OPERATIONS; TRANSPORTING
    • B41PRINTING; LINING MACHINES; TYPEWRITERS; STAMPS
    • B41JTYPEWRITERS; SELECTIVE PRINTING MECHANISMS, i.e. MECHANISMS PRINTING OTHERWISE THAN FROM A FORME; CORRECTION OF TYPOGRAPHICAL ERRORS
    • B41J25/00Actions or mechanisms not otherwise provided for
    • B41J25/001Mechanisms for bodily moving print heads or carriages parallel to the paper surface
    • BPERFORMING OPERATIONS; TRANSPORTING
    • B41PRINTING; LINING MACHINES; TYPEWRITERS; STAMPS
    • B41JTYPEWRITERS; SELECTIVE PRINTING MECHANISMS, i.e. MECHANISMS PRINTING OTHERWISE THAN FROM A FORME; CORRECTION OF TYPOGRAPHICAL ERRORS
    • B41J2202/00Embodiments of or processes related to ink-jet or thermal heads
    • B41J2202/01Embodiments of or processes related to ink-jet heads
    • B41J2202/19Assembling head units
    • BPERFORMING OPERATIONS; TRANSPORTING
    • B41PRINTING; LINING MACHINES; TYPEWRITERS; STAMPS
    • B41JTYPEWRITERS; SELECTIVE PRINTING MECHANISMS, i.e. MECHANISMS PRINTING OTHERWISE THAN FROM A FORME; CORRECTION OF TYPOGRAPHICAL ERRORS
    • B41J2202/00Embodiments of or processes related to ink-jet or thermal heads
    • B41J2202/01Embodiments of or processes related to ink-jet heads
    • B41J2202/20Modules

Landscapes

  • Ink Jet (AREA)
  • Particle Formation And Scattering Control In Inkjet Printers (AREA)

Abstract

【課題】同一色を吐出する複数のヘッドを2つ以上のヘッドモジュールに分けて配置できるようにしてモジュールの交換コストを低減する。
【解決手段】同じ色の液滴を吐出する複数のヘッド101を一列にモジュールベース部材102A、102B上に並べて配置したヘッドモジュール51A、51Bが共通のアレイベース部材52に固定配置され、アレイベース部材52にはヘッドモジュール51A、51Bの長手方向両端部に対応しての位置決めピン部材111、112が設けられ、ヘッドモジュール51A、51Bは同一の位置決めピン部材111、112によって位置決めされて配置されている。
【選択図】図3

Description

本発明は画像形成装置に関し、特に液滴を吐出する記録ヘッドを備える画像形成装置に関する。
プリンタ、ファクシミリ、複写装置、プロッタ、これらの複合機等の画像形成装置として、例えばインク液滴を吐出する記録ヘッドを用いた液体吐出記録方式の画像形成装置としてインクジェット記録装置などが知られている。この液体吐出記録方式の画像形成装置は、記録ヘッドからインク滴を、搬送される用紙(紙に限定するものではなく、OHPなどを含み、インク滴、その他の液体などが付着可能なものの意味であり、被記録媒体あるいは記録媒体、記録紙、記録用紙などとも称される。)に対して吐出して、画像形成(記録、印字、印写、印刷も同義語で使用する。)を行なうものであり、記録ヘッドが主走査方向に移動しながら液滴を吐出して画像を形成するシリアル型画像形成装置と、記録ヘッドが移動しない状態で液滴を吐出して画像を形成するライン型ヘッドを用いるライン型画像形成装置がある。
なお、本願において、「画像形成装置」は、紙、糸、繊維、布帛、皮革、金属、プラスチック、ガラス、木材、セラミックス等の媒体に液体を吐出して画像形成を行う装置を意味し、また、「画像形成」とは、文字や図形等の意味を持つ画像を媒体に対して付与することだけでなく、パターン等の意味を持たない画像を媒体に付与すること(単に液滴を媒体に着弾させること)をも意味する。また、「インク」とは、インクと称されるものに限らず、記録液、定着処理液、液体などと称されるものなど、画像形成を行うことができるすべての液体の総称として用い、例えば、DNA試料、レジスト、パターン材料なども含まれる。
このような画像形成装置としては、上述したように搬送される用紙の全幅に相当するノズル列を配置したライン型ヘッドを備えるライン型画像形成装置が知られている。ここで、ライン型の記録ヘッドとして、例えば、液滴を吐出するノズルを並べたノズル列を有する短尺のヘッドを複数個、ノズル配列方向に沿って配置したもの(これを「ヘッドモジュール」といい、ヘッドモジュールを複数並べたものを「記録ヘッドユニット」又は「マルチアレイヘッド」という。)が用いられている。
このようなヘッドモジュールでは、複数のヘッドを並べて配置するために、各ヘッドを高精度に位置決めする必要があり、また、複数のヘッドモジュールを配置する記録ヘッドユニットでは、各ヘッドモジュールを高精度に位置決めする必要がある。
そこで、例えば特許文献1には記録ヘッドの位置調整を行う際に記録ヘッドからのインク吐出方向における位置ずれを防止して仮止め時の位置で記録ヘッドを固定できるようにし、高精細な画像記録を実現できる記録ヘッド位置調整方法を提供する目的で、ヘッドをモジュールベースに固定する際に、吐出方向位置規制を兼ねたノズル列方向位置調整機構(テーパーピン)と傾き調整機構(偏心カム)にて位置調整し固定する構成、同様な調整機構をヘッドモジュールの固定にも適用して位置調整しネジで固定する構成が開示されている。
特開2006−188013号公報
また、長尺ヘッドにおけるサーマル型ヘッドの熱膨張による吐出口の位置変化を低減する構成として特許文献2に記載されている構成がある。
特開2004−098473号公報
ところで、複数のヘッドを配列したヘッドモジュールを使用してラインヘッドを構成する場合、一般的には、同じ色の液滴を1ライン分吐出するためには複数のヘッドを千鳥状に二列配置して1つのヘッドモジュールを構成している。そして、ヘッドモジュール毎に所定の基準に対して位置合せをし、固定することによって、記録ヘッドユニットを構成している。
このように複数のヘッドを並べたヘッドモジュールを複数並べた記録ヘッドユニットにあっては、個々のヘッドを交換することが困難であることから、モジュール単位で交換できるようにすることが好ましい。
しかしながら、例えば、同じ色の液滴を吐出する複数(10個)のヘッドを千鳥配列して1つのヘッドモジュールを構成した場合、そのうちの1個のヘッドに不良が発生してヘッドモジュールの交換が必要になると、当該1つのヘッドの不良のために残り良品ヘッド9個と更に10ヘッド分のインク及び電気接続部品などを破棄することとなり交換コストが高くなるという課題がある。
そこで、同じ色の液滴を吐出する複数のヘッドが千鳥配列されたヘッドモジュールを二分割して、一列単位でヘッドモジュールを構成すると、交換するヘッド数及び付随するインクや電気接続部品が1/2となって、交換コストを低減することが可能になる。
しかしながら、このように同一色を吐出する複数のヘッドを2つのヘッドモジュールに分けて配置した場合、2つのヘッドモジュールを共通のベース部材(アレイベース部材という。)に高精度に位置決めは位置しなければならない。つまり、同一色を吐出する複数のヘッドをすべて1つのベース部材(これを「モジュールベース部材」という。)に配置するときには画像処理などの位置決めによって個々のヘッドを高精度に位置決めすることができるが、2つのヘッドモジュールに分けて配置した場合には、モジュール単位での交換を容易にするためにこのような画像処理による位置決めを行うことができないという課題がある。
また、複数のヘッドを並べて配置したヘッドモジュールではなく、1ライン分のノズル列を有する1つのヘッドからなるライン型ヘッドを用いる場合であっても、用紙搬送方向における少なくとも2つのライン型ヘッドによって同じ色の液滴を吐出することで画素密度を高くする構成など、複数のライン型ヘッドを並べて記録ヘッドユニットとする構成を採用したときには、2つのライン型ヘッドを共通のアレイベース部材に高精度に位置決めすることが高画質画像を形成する上で重要である。
しかしなら、従来の構成にあっては、2つ以上のヘッドモジュール又は2つ以上のヘッドで同じ色の液滴を吐出できるようにした上で、ヘッドモジュール毎又はヘッド毎の交換を行うことは位置精度の再現性が悪いという課題がある。
本発明は上記の課題に鑑みてなされたものであり、複数のヘッドモジュール間又は複数のヘッド間における位置決めを高精度に行えるようにして、ヘッドモジュール毎又はヘッド毎の交換を可能にすることを目的とする。
上記の課題を解決するため、本発明に係る画像形成装置は、
液滴を吐出する複数のヘッドを一列にモジュールベース部材上に並べて配置した複数のヘッドモジュールが、共通のアレイベース部材に取り付けられ、
同じ色の液滴を少なくとも2つのヘッドモジュールの各ヘッドから吐出させる構成であって、
前記同じ色の液滴を吐出するヘッドモジュールは前記アレイベース部材に同一の基準部材によって位置決めされて配置されている
構成とした。
ここで、前記同じ色の液滴を吐出するヘッドモジュールは、前記アレイベース部材に対して取り外しに取り付けられ、かつ、取り外し方向で重複する部分がない構成とできる。
また、前記基準部材は前記アレイベース部材に設けられたピン部材である構成とできる。
また、前記同じ色の液滴を吐出するヘッドモジュールのモジュールベース部材は同じ形状である構成とできる。
本発明に係る画像形成装置は、
液滴を吐出する複数のヘッドが、共通のアレイベース部材に取り付けられ、
同じ色の液滴を用紙搬送方向に並ぶ少なくとも2つのヘッドから吐出させる構成であって、
前記同じ色の液滴を吐出するヘッドは前記アレイベース部材に同一の基準部材によって位置決めされて配置されている
構成とした。
本発明に係る画像形成装置によれば、同じ色の液滴を吐出する2以上のヘッドモジュールはアレイベース部材に同一の基準部材によって位置決めされて配置されているので、基準部材の位置精度に影響されずに、複数のヘッドモジュール間の位置決めを高精度に行うことができ、モジュール毎の交換が可能になる。
本発明に係る画像形成装置によれば、同じ色の液滴を吐出する2以上のヘッドはアレイベース部材に同一の基準部材によって位置決めされて配置されているので、基準部材の位置精度に影響されずに、複数のヘッド間の位置決めを高精度に行うことができ、ヘッド毎の交換が可能になる。
以下、本発明の実施の形態について添付図面を参照して説明する。まず、本発明に係る画像形成装置の一例について図1及び図2を参照して説明する。なお、図1は同画像形成装置の全体構成を説明する概略構成図、図2は同装置の模式的平面説明図である。
この画像形成装置はライン型画像形成装置であり、装置本体1と、用紙Pを積載し給紙する給紙トレイ2と、印刷された用紙Pを排紙積載する排紙トレイ3と、用紙Pを給紙トレイ2から排紙トレイ3まで搬送する搬送ユニット4と、搬送ユニット4によって搬送される用紙Pに液滴を吐出し印字する本発明におけるヘッドモジュール51を含む画像形成ユニット5と、印刷終了後又は所要のタイミングで画像形成ユニット5の各記録ヘッドの維持回復を行う維持回復機構であるクリーニング装置6と、クリーニング装置6を開閉する搬送ガイド部7と、画像形成ユニット5のヘッドモジュール51にインクを供給するインクタンクユニット8と、インクタンクユニット8にインクを供給するメインタンクユニット9とを備えている。
装置本体1は、図示しない前後側板及びステーなどで構成されており、給紙トレイ2上に積載されている用紙Pは、分離ローラ21及び給紙ローラ22によって1枚ずつ搬送ユニット4に給紙される。
搬送ユニット4は、搬送駆動ローラ41Aと搬送従動ローラ41Bと、これらのローラ41A、41B間に掛け回された無端状の搬送ベルト43とを備えている。この搬送ベルト43の表面には複数の図示しない穴が形成されており、搬送ベルト43の下部には用紙Pを吸引する吸引ファン44が配置されている。また、搬送駆動ローラ41A、搬送従動ローラ41B上部には、それぞれ搬送ガイドローラ42A、42Bが図示しないガイドに保持されて、自重にてベルト43に当接している。
搬送ベルト43は、搬送駆動ローラ41Aが図示しないモータにより回転されることで周回移動し、用紙Pは搬送ベルト43上に吸引ファン44により吸い付けられ、搬送ベルト43の周回移動によって搬送される。なお、搬送従動ローラ41B、搬送ガイドローラ42A、42Bは搬送ベルト43に従動して回転する。
搬送ユニット4の上部には用紙Pに印字する液滴を吐出する複数のヘッドモジュール51で構成される画像形成ユニット5が矢示A方向(及び逆方向)に移動可能に配置されている。この画像形成ユニット5は、維持回復動作時(クリーニング時)にはクリーニング装置6上方まで移動され、画像形成時には図1の位置に戻される。
画像形成ユニット5は、液滴を吐出する複数のノズルを配列したノズル列を二列有する複数のヘッドを一列に配列したヘッドモジュール51A、51B、51C、51Dが、用紙搬送方向に沿って並べてアレイベース部材52上に配置された記録ヘッドユニット50を備えている。ここでは、ヘッドモジュール51A、51Bの2つのノズル列の一方でイエロー(Y)の液滴を、他方でマゼンタ(M)の液滴を吐出し、また、ヘッドモジュール51C、51Dの2つのノズル列の一方でシアン(C)の液滴を、他方でブラック(K)の液滴を吐出する。
つまり、この画像形成ユニット5の記録ヘッドユニット50は、同じ色の液滴を吐出する2つのヘッドモジュール51が用紙搬送方向に並べて配置され、2つのヘッドモジュール51で用紙幅相当の1列分のノズル列が構成されている構成としている。
この画像形成ユニット5の上流側にはインクタンクユニット8のインクタンク81(図示の都合上1つのインクタンクのみ符号を付している。)が配置され、供給チューブ82を介して各ヘッドモジュールユニット51に供給され、インクタンク81とヘッドモジュール51との水頭差によりヘッドモジュール51の各ヘッドに対する負圧が形成される。このインクタンクユニット8は画像形成ユニット5とともに矢示A方向に移動可能に配置されている。なお、インクタンク81からヘッドモジュール51に対する供給チューブ82は分かり易くするためヘッドモジュール51の上方から接続して状態で図示しているが、実際にはヘッドモジュール51の長手方向(用紙搬送方向と直交する方向)の端部に接続される。
さらに、インクタンク81の上流側にはメインタンクユニット9が配置され、メインタンク91から供給チューブ92を介してインクがインクタンク81に供給される。
搬送ユニット4の下流側には用紙Pを排紙トレイ3に排紙する搬送ガイド部7が設けられている。搬送ガイド部7にて案内されて搬送される用紙Pは排紙トレイ3に排紙される。排紙トレイ3は、用紙Pの幅方向を規制する対のサイドフェンス31と用紙Pの先端を規制するエンドフェンス32を備えている。
維持回復機構(クリーニング装置)6は、画像形成ユニット5の各ヘッドモジュール51に対応して、4列分のクリーニング手段61A〜61Dが配置され、1つのクリーニング手段61はヘッドモジュール51の各ヘッドに対応するキャップ部材62及び図示しないがワイパ部材などで構成されている。なお、各クリーニング手段61のキャップ部材62は各列ごとに独立して上下動させることができる構成としている。さらに、クリーニング手段61の下方には、キャップ部材62でヘッドモジュール51のノズル面をキャッピングした状態でノズルからインクを吸引するための吸引ポンプ63A〜63Dが配置されている。
また、この画像形成装置においては、印刷終了後、液滴を吐出するヘッドモジュール51の各ヘッドのノズル面をクリーニング手段61でキャッピングした状態でノズルからインクを吸引する場合、あるいは、ヘッドモジュール51の各ヘッドのノズル面に付着したインクをワイピング部材で清掃する場合は、図1にも示すように、印刷停止後、搬送ユニット4全体が搬送従動ローラ41Bを支点に矢印B方向に回動し、画像形成ユニット5との間の空間を画像形成時よりも大きくすることで、画像形成ユニット5の移動スペースを確保するようにしている。このとき、クリーニング装置6上部に配置されている搬送ガイド部7も支点71にて矢印C方向上方に回動され、クリーニング装置6の上方が開放される。
そして、搬送ユニット4と搬送ガイド部7がそれぞれ解放(解除)された後に、画像形成ユニット5が用紙通紙方向(矢示A方向)に移動し、クリーニング装置6上方で停止され、クリーニング手段61が上昇して各ヘッドモジュール51のクリーニング動作(維持回復動作)に移行する。
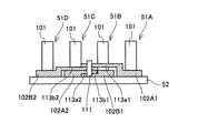
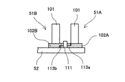
次に、本発明の第1実施形態について図3及び図4を参照して説明する。なお、図3は同実施形態の説明に供する記録ヘッドユニットの要部模式的平面説明図、図4は同じく拡大側断面説明図である。
各ヘッドモジュール51A、51Bは、前述したように、液滴を吐出する複数のノズルを配列したノズル列を二列有する複数(この例では3個とするが、2個でも、4個以上でもよい。)のヘッド101をモジュールベース部材102A、102Bにそれぞれ高精度に位置決めして配置したものであり、ヘッドモジュール51Aの各ヘッド101の1つのノズル列とヘッドモジュール51Bの各ヘッド101の1つのノズル列とによって同じ色の液滴を吐出する1ライン分のノズル列が構成されている。なお、ヘッド101は、ここでは、図23に示すように、ノズル板302に液滴を吐出する複数のノズル301を2列配列したノズル列301a、301bを有している。
そして、ヘッドモジュール51A,51Bの各モジュールベース部材102A、102Bは、長手方向(ヘッド101の並び方向)端部側に設けたモジュール固定穴103を通じて図示しない締結具(ねじなど)によって共通のアレイベース部材52に固定されている。
ここで、アレイベース部材52にはヘッドモジュール51A、51Bの長手方向両端部に対応して,基準部材としての位置決めピン部材111、112が設けられている。
一方、ヘッドモジュール51A、51Bのモジュールベース部材102A、102Bの両端部には、位置決めピン部材111、112の軸方向で上下に重なる重ね合せ部113a、113b、114a、114bがそれぞれ形成され、一方の重ね合せ部113には位置決めピン部材111に嵌め込む位置決め穴115が、他方の重ね合せ部114には位置決めピン部材112に嵌め込む長穴形状の位置決め穴116がそれぞれ形成されている。
したがって、同じ色の液滴を吐出するヘッドモジュール51A、51Bはアレイベース部材52に同一の位置決めピン部材111、112によって位置決めされて配置される。これにより、位置決めピン部材111、112の位置精度によらずにヘッドモジュール51A、51Bの位置関係を高精度に合わせることができる。
この結果、1つのヘッドモジュールを取り外しても位置精度を再現することができるようになり、同じ色の液滴を吐出する複数のヘッドを2つのヘッドモジュールに分配して配置し、ヘッドモジュール単位で交換可能とすることができる。
このように、同じ色の液滴を吐出するヘッドモジュールはアレイベース部材に同一の基準部材によって位置決めされて配置されている構成とすることで、基準部材の位置精度に影響されずに、複数のヘッドモジュール間の位置決めを高精度に行うことができる。
次に、本発明の第2実施形態について図5及び図6を参照して説明する。なお、図5は同実施形態の説明に供する記録ヘッドユニットの要部模式的平面説明図、図6は同じく拡大側断面説明図である。
この実施形態では、ヘッドモジュール51A、51Bのモジュールベース部材102A、102Bの両端部の用紙搬送方向の一方の端面には、位置決めピン部材111に矢示方向から当接する平面形状で略V字形状の位置決めV溝121a、121bと、位置決めピン部材112に図5の矢示方向から当接する切り欠き形状の位置決め凹部122a、122bが形成されている。
そして、モジュールベース部材102A、102Bは図示しない付勢力付与手段(例えばばね部材や弾性部材)によって図5の矢示方向に付勢されて、位置決めV溝121a、121b及び位置決め凹部122a、122bは位置決めピン部材111、112に押圧接触している。
これにより、ヘッドモジュール51A及び51Bの一方を交換するときに、他方を取り外すことなく交換することができる。
つまり、前記第1実施形態の構成では、例えば位置決めピン部材111,112に嵌め合わせる構成であるために重ね合せ部が下側になるヘッドモジュール(上記の例ではヘッドモジュール51A)を交換するときには、重ね合せ部が上側になるヘッドモジュール(上記の例ではヘッドモジュール51B)を取り外した後でなければ交換することができない。これに対し、本実施形態では一方のヘッドモジュールのみをいずれも単独で取り外すことができて、ヘッドモジュールの交換がより容易になる。
次に、本発明の第3実施形態について図7及び図8を参照して説明する。なお、図7は同実施形態の説明に供する記録ヘッドユニットの要部模式的平面説明図、図8は同じく拡大側断面説明図である。
この実施形態では、上記第2実施形態と同様に、ヘッドモジュール51A、51Bのモジュールベース部材102A、102Bの両端部の用紙搬送方向の一方の端面には、位置決めピン部材111に矢示方向から当接する平面形状で略V字形状の位置決めV溝121a、121bと、位置決めピン部材112に矢示方向から当接する切り欠き形状の位置決め凹部122a、122bが形成されているとともに、両端部の用紙搬送方向の他方の端面にも位置決めV溝123a、123b及び位置決め凹部124a、124bが形成されている。
ここで、モジュールベース部材102Aの位置決めV溝121a、123aは長手方向で反対側に位置し、同じく、位置決め凹部122a、124aも長手方向反対側に位置して形成されている。同様に、モジュールベース部材102Bの位置決めV溝121b、123bは長手方向で反対側に位置し、同じく、位置決め凹部122b、124bも長手方向反対側に位置して形成されている。
これにより、モジュールベース部材102A、102Bは、表裏反転し、かつ、180度回転した状態で、同じ形状になるので、複数のヘッドモジュール51で同じモジュールベース部材を使用することができる。
次に、本発明の第4実施形態について図9及び図10を参照して説明する。なお、図9は同実施形態の説明に供する記録ヘッドユニットの模式的平面説明図、図10は同じく拡大側断面説明図である。また、モジュールベース部材の位置決め穴については図を見易くするために符号の図示を省略しているが、前記第1実施形態と同様である(以下の実施形態でも同様とする。)。
本実施形態では、同じ色の液滴を吐出する4つのヘッドモジュール51A1、51B1、51A2、51B2を用紙搬送方向に並べて配置したものである。
この場合、ヘッドモジュール51A1、51B1は同一の基準部材である位置決めピン部材111a、112aで位置決めされてアレイベース部材52に配置され、ヘッドモジュール51A2、51B2は同一の基準部材である位置決めピン部材111b、112bで位置決めされてアレイベース部材52に配置されている。そして、ヘッドモジュール51A1、51B1に対してヘッドモジュール51A2、51B2はノズル並び方向に1/2ノズルピッチ(ノズル間隔)だけノズル位置をずらして配置している。
これにより、2つのヘッドモジュールを用いた場合に対して2倍の解像度で記録を行うことができる。
次に、本発明の第5実施形態について図11及び図12を参照して説明する。なお、図11は同実施形態の説明に供する記録ヘッドユニットの模式的平面説明図、図12は同じく拡大側断面説明図である。
この実施形態では、前記第4実施形態と同様に、同じ色の液滴を吐出する4つのヘッドモジュール51A1、51B1、51A2、51B2を用紙搬送方向に並べて配置している。
そして、ここでは、各モジュール51A1、51B1、51A2、51B2のモジュールベース部材102A1、102B1、102A2、102B2の両端部にそれぞれ重ね合せ部113a1、113b1、113a2、113b2及び114a1、114b1、114a2、114b2を一体に形成して、これらの重ね合せ部113a1、113b1、113a2、113b2に形成した位置決め基準穴をアレイベース部材52に設けた位置決めピン部材111、112に嵌め込むことで、4つのモジュール51A1、51B1、51A2、51B2を共通の位置決めピン部材111、112よって位置決めして配置している。
このように構成することで、同じ色の液滴を吐出する4つのヘッドモジュール51A1、51B1、51A2、51B2を前記第4実施形態よりも高精度に位置決めすることができる。
次に、本発明の第6実施形態について図13及び図14を参照して説明する。なお、図13は同実施形態の説明に供する記録ヘッドユニットの模式的平面説明図、図14は同じく拡大側断面説明図である。
本実施形態では、前記第4実施形態と同様な構成において、上流側の2つのヘッドモジュール51A、51Bが同じ色の液滴を吐出するヘッドモジュール、下流側の2つのヘッドモジュール51C、51Dが同じ色の液滴を吐出するヘッドモジュールであり、ヘッドモジュール51A、51Bとヘッドモジュール51C、51Dとは異なる色の液滴を吐出する構成としている(前記図1及び図2の構成で説明した形態である。)。
次に、本発明の第7実施形態について図15及び図16を参照して説明する。なお、図15は同実施形態の説明に供する記録ヘッドユニットの模式的平面説明図、図16は同じく拡大側断面説明図である。
この実施形態では、前記第5実施形態と同様な構成において、上流側の2つのヘッドモジュール51A、51Bが同じ色の液滴を吐出するヘッドモジュール、下流側の2つのヘッドモジュール51C、51Dが同じ色の液滴を吐出するヘッドモジュールであり、ヘッドモジュール51A、51Bとヘッドモジュール51C、51Dとは異なる色の液滴を吐出する構成としている。
そして、これら4つのヘッドモジュール51A、51B、51C、51Dを共通の基準部材である位置決めピン部材111、112によって位置決めしてアレイベース部材52上に配置している。
次に、本発明の第8実施形態について図17及び図18を参照して説明する。なお、図17は同実施形態の説明に供する記録ヘッドユニットの模式的平面説明図、図18は同じく拡大側断面説明図である。
この実施形態では、同じ色の液滴を吐出するヘッドモジュール51E、51Fにそれぞれ複数のヘッド101を千鳥状に配列して、1つのヘッドモジュールで1ライン分のノズル列を構成したものである。なお、2つのヘッドモジュール51E、51Fの位置決め配置の構成は前記第1実施形態で説明したヘッドモジュール51A、51Bの位置決め配置構成と同様である。
次に、本発明の第9実施形態について図19及び図20を参照して説明する。なお、図19は同実施形態の説明に供する記録ヘッドユニットの要部模式的平面説明図、図20は同じく拡大側断面説明図である。
この実施形態では、1ライン分のノズル列を有するヘッド201をそれぞれヘッドベース部材202A、202Bに取り付け、これらの2つのヘッドベース部材202A、202Bを共通のアレイベース部材203に同じ基準部材である位置決めピン211、212と位置決め穴で位置決めして配置したものである。
次に、本発明の第10実施形態について図21及び図22を参照して説明する。なお、図21は同実施形態の説明に供する記録ヘッドユニットの要部模式的平面説明図、図22は同じく拡大側断面説明図である。
本実施形態では、前記第2実施形態において、モジュールベース部材102A、102Bの位置決めピン部材111に当接する側を位置決めV溝121a、121bに代えて位置決め凹部(切り欠き部)125a、125bを形成し、図示しない付勢力付与手段にて長手方向でも矢示方向に押圧付勢する構成としたものである。
本発明に係る画像形成装置の一例の全体構成を説明する側面概略説明図である。 同じく要部平面説明図である。 本発明の第1実施形態の説明に供する記録ヘッドユニットの要部模式的平面説明図である。 同じく拡大側断面説明図である。 本発明の第2実施形態の説明に供する記録ヘッドユニットの要部模式的平面説明図である。 同じく拡大側断面説明図である。 本発明の第3実施形態の説明に供する記録ヘッドユニットの要部模式的平面説明図である。 同じく拡大側断面説明図である。 本発明の第4実施形態の説明に供する記録ヘッドユニットの模式的平面説明図である。 同じく拡大側断面説明図である。 本発明の第5実施形態の説明に供する記録ヘッドユニットの模式的平面説明図である。 同じく拡大側断面説明図である。 本発明の第6実施形態の説明に供する記録ヘッドユニットの模式的平面説明図である。 同じく拡大側断面説明図である。 本発明の第7実施形態の説明に供する記録ヘッドユニットの模式的平面説明図である。 同じく拡大側断面説明図である。 本発明の第8実施形態の説明に供する記録ヘッドユニットの模式的平面説明図である。 同じく拡大側断面説明図である。 本発明の第9実施形態における同じ色の液滴を吐出する4つのヘッドモジュールの部分を説明する要部模式的平面説明図である。 同じく拡大側断面説明図である。 本発明の第10実施形態における同じ色の液滴を吐出する4つのヘッドモジュールの部分を説明する要部模式的平面説明図である。 同じく拡大側断面説明図である。 各実施形態におけるヘッドの一例を示す説明図である。
符号の説明
1…装置本体
4…搬送ユニット(搬送部)
5…画像形成ユニット
6…クリーニング装置(維持回復機構)
7…搬送ガイド部
8…インクタンクユニット
9…メインタンクユニット
51A〜51C…ヘッドモジュール
52…アレイベース部材
101…ヘッド
102…モジュールベース部材
111、112…位置決めピン部材

Claims (5)

  1. 液滴を吐出する複数のヘッドを一列にモジュールベース部材上に並べて配置した複数のヘッドモジュールが、共通のアレイベース部材に取り付けられ、
    同じ色の液滴を少なくとも2つのヘッドモジュールの各ヘッドから吐出させる構成であって、
    前記同じ色の液滴を吐出するヘッドモジュールは前記アレイベース部材に同一の基準部材によって位置決めされて配置されている
    ことを特徴とする画像形成装置。
  2. 請求項1に記載の画像形成装置において、前記同じ色の液滴を吐出するヘッドモジュールは、前記アレイベース部材に対して取り外しに取り付けられ、かつ、取り外し方向で重複する部分がないことを特徴とする画像形成装置。
  3. 請求項1又は2に記載の画像形成装置において、前記基準部材は前記アレイベース部材に設けられたピン部材であることを特徴とする画像形成装置。
  4. 請求項1ないし3のいずれかに記載の画像形成装置において、前記同じ色の液滴を吐出するヘッドモジュールのモジュールベース部材は同じ形状であることを特徴とする画像形成装置。
  5. 液滴を吐出する複数のヘッドが、共通のアレイベース部材に取り付けられ、
    同じ色の液滴を用紙搬送方向に並ぶ少なくとも2つのヘッドから吐出させる構成であって、
    前記同じ色の液滴を吐出するヘッドは前記アレイベース部材に同一の基準部材によって位置決めされて配置されている
    ことを特徴とする画像形成装置。
JP2008189184A 2008-07-22 2008-07-22 画像形成装置 Expired - Fee Related JP4979648B2 (ja)

Priority Applications (5)

Application Number Priority Date Filing Date Title
JP2008189184A JP4979648B2 (ja) 2008-07-22 2008-07-22 画像形成装置
CN200980128934.0A CN102099195A (zh) 2008-07-22 2009-06-30 图像形成设备
PCT/JP2009/062265 WO2010010804A1 (en) 2008-07-22 2009-06-30 Image forming apparatus
US13/003,905 US8449071B2 (en) 2008-07-22 2009-06-30 Image forming apparatus
EP09800318.9A EP2300234B1 (en) 2008-07-22 2009-06-30 Image forming apparatus

Applications Claiming Priority (1)

Application Number Priority Date Filing Date Title
JP2008189184A JP4979648B2 (ja) 2008-07-22 2008-07-22 画像形成装置

Publications (2)

Publication Number Publication Date
JP2010023378A true JP2010023378A (ja) 2010-02-04
JP4979648B2 JP4979648B2 (ja) 2012-07-18

Family

ID=41570268

Family Applications (1)

Application Number Title Priority Date Filing Date
JP2008189184A Expired - Fee Related JP4979648B2 (ja) 2008-07-22 2008-07-22 画像形成装置

Country Status (5)

Country Link
US (1) US8449071B2 (ja)
EP (1) EP2300234B1 (ja)
JP (1) JP4979648B2 (ja)
CN (1) CN102099195A (ja)
WO (1) WO2010010804A1 (ja)

Cited By (4)

* Cited by examiner, † Cited by third party
Publication number Priority date Publication date Assignee Title
WO2015037529A1 (ja) * 2013-09-13 2015-03-19 富士フイルム株式会社 プリントヘッドユニット及びインクジェット記録装置
JP2016168798A (ja) * 2015-03-13 2016-09-23 株式会社ミヤコシ インクジェット記録装置
JP2017094712A (ja) * 2015-11-18 2017-06-01 株式会社リコー ヘッドユニット、液体を吐出する装置
JP2023146038A (ja) * 2022-03-29 2023-10-12 セイコーエプソン株式会社 液体噴射ヘッド、支持体及び液体噴射装置

Families Citing this family (13)

* Cited by examiner, † Cited by third party
Publication number Priority date Publication date Assignee Title
JP6142570B2 (ja) 2013-02-28 2017-06-07 株式会社リコー ヘッド脱着治具、ヘッド交換治具
JP5990488B2 (ja) * 2013-05-15 2016-09-14 富士フイルム株式会社 インクジェット記録装置及びインクジェットヘッドのヘッドモジュール交換方法
JP6330136B2 (ja) * 2013-07-22 2018-05-30 パナソニックIpマネジメント株式会社 ラインヘッド
JPWO2015129544A1 (ja) * 2014-02-28 2017-03-30 コニカミノルタ株式会社 インクジェット記録装置
EP3148811B1 (en) * 2014-05-30 2021-09-08 Hewlett-Packard Development Company, L.P. Printhead assembly module
JP2016117234A (ja) * 2014-12-22 2016-06-30 キヤノン株式会社 液体吐出ヘッド、液体吐出装置及び液体の吐出方法
US9688071B2 (en) 2015-06-11 2017-06-27 Ricoh Company, Ltd. Head array and image forming apparatus incorporating same
US9527319B1 (en) * 2016-05-24 2016-12-27 Eastman Kodak Company Printhead assembly with removable jetting module
CN206718727U (zh) 2017-01-19 2017-12-08 广州晶绘实业有限公司 一种多主机共平台打印机机构
US10052868B1 (en) * 2017-05-09 2018-08-21 Eastman Kodak Company Modular printhead assembly with rail assembly having upstream and downstream rod segments
DE102017212987B4 (de) * 2017-07-27 2020-09-03 Koenig & Bauer Ag Bogendruckmaschine
KR102322672B1 (ko) * 2018-10-31 2021-11-05 세메스 주식회사 잉크젯 헤드 어셈블리 및 이를 포함하는 기판 처리 장치
CN219427744U (zh) * 2023-01-10 2023-07-28 驱动数码电子(广东)有限公司 一种喷墨打印结构

Citations (4)

* Cited by examiner, † Cited by third party
Publication number Priority date Publication date Assignee Title
JP2002086695A (ja) * 2000-08-25 2002-03-26 Hewlett Packard Co <Hp> ワイドアレイインクジェットプリントヘッドアセンブリのための担体の位置決め
WO2003080345A1 (en) * 2002-03-25 2003-10-02 Olympus Corporation Method of assembling ink jet head unit
JP2004306578A (ja) * 2003-02-17 2004-11-04 Fuji Xerox Co Ltd 記録装置
JP2007021909A (ja) * 2005-07-15 2007-02-01 Sony Corp 液体吐出ヘッド及び液体吐出装置

Family Cites Families (12)

* Cited by examiner, † Cited by third party
Publication number Priority date Publication date Assignee Title
US5098503A (en) 1990-05-01 1992-03-24 Xerox Corporation Method of fabricating precision pagewidth assemblies of ink jet subunits
US5160945A (en) * 1991-05-10 1992-11-03 Xerox Corporation Pagewidth thermal ink jet printhead
US5198054A (en) * 1991-08-12 1993-03-30 Xerox Corporation Method of making compensated collinear reading or writing bar arrays assembled from subunits
US5581284A (en) * 1994-11-25 1996-12-03 Xerox Corporation Method of extending the life of a printbar of a color ink jet printer
JP2004098473A (ja) 2002-09-10 2004-04-02 Ricoh Co Ltd インクジェット記録装置
JP4517654B2 (ja) 2004-01-30 2010-08-04 コニカミノルタエムジー株式会社 インクジェット記録装置
JP2006188013A (ja) 2005-01-07 2006-07-20 Konica Minolta Medical & Graphic Inc 記録ヘッド位置調整構造、インクジェット記録装置及び記録ヘッド位置調整方法
JP5044229B2 (ja) 2007-02-06 2012-10-10 日本プラスト株式会社 エアバッグ装置
US8205964B2 (en) 2008-01-08 2012-06-26 Ricoh Company, Ltd. Head array unit, image forming apparatus including same, and method for manufacturing the head array unit
JP5181686B2 (ja) 2008-01-15 2013-04-10 株式会社リコー 画像形成装置
JP5169324B2 (ja) 2008-03-05 2013-03-27 株式会社リコー 画像形成装置
EP2373488B1 (en) 2008-12-02 2013-02-27 OCE-Technologies B.V. Method of manufacturing an ink jet print head

Patent Citations (4)

* Cited by examiner, † Cited by third party
Publication number Priority date Publication date Assignee Title
JP2002086695A (ja) * 2000-08-25 2002-03-26 Hewlett Packard Co <Hp> ワイドアレイインクジェットプリントヘッドアセンブリのための担体の位置決め
WO2003080345A1 (en) * 2002-03-25 2003-10-02 Olympus Corporation Method of assembling ink jet head unit
JP2004306578A (ja) * 2003-02-17 2004-11-04 Fuji Xerox Co Ltd 記録装置
JP2007021909A (ja) * 2005-07-15 2007-02-01 Sony Corp 液体吐出ヘッド及び液体吐出装置

Cited By (6)

* Cited by examiner, † Cited by third party
Publication number Priority date Publication date Assignee Title
WO2015037529A1 (ja) * 2013-09-13 2015-03-19 富士フイルム株式会社 プリントヘッドユニット及びインクジェット記録装置
JPWO2015037529A1 (ja) * 2013-09-13 2017-03-02 富士フイルム株式会社 プリントヘッドユニット及びインクジェット記録装置
JP2016168798A (ja) * 2015-03-13 2016-09-23 株式会社ミヤコシ インクジェット記録装置
JP2017094712A (ja) * 2015-11-18 2017-06-01 株式会社リコー ヘッドユニット、液体を吐出する装置
JP2023146038A (ja) * 2022-03-29 2023-10-12 セイコーエプソン株式会社 液体噴射ヘッド、支持体及び液体噴射装置
US12409654B2 (en) 2022-03-29 2025-09-09 Seiko Epson Corporation Liquid ejecting head, support body, and liquid ejecting apparatus

Also Published As

Publication number Publication date
CN102099195A (zh) 2011-06-15
US8449071B2 (en) 2013-05-28
JP4979648B2 (ja) 2012-07-18
EP2300234A1 (en) 2011-03-30
EP2300234A4 (en) 2011-08-24
US20110128323A1 (en) 2011-06-02
WO2010010804A1 (en) 2010-01-28
EP2300234B1 (en) 2013-10-30

Similar Documents

Publication Publication Date Title
JP4979648B2 (ja) 画像形成装置
US8342644B2 (en) Inkjet printhead for use in image forming apparatus
JP5181686B2 (ja) 画像形成装置
JP5169324B2 (ja) 画像形成装置
JP4513874B2 (ja) 印刷ヘッドのキャリッジへの取り付け位置の調整が可能な印刷装置
JP5365278B2 (ja) 画像形成装置
US8205964B2 (en) Head array unit, image forming apparatus including same, and method for manufacturing the head array unit
JP4513875B2 (ja) 印刷ヘッドのキャリッジへの取り付け位置の調整が可能な印刷装置
US20100026752A1 (en) Method of manufacturing liquid ejecting head and liquid ejecting apparatus
JP5228710B2 (ja) 画像形成装置
JP4960721B2 (ja) 印字ヘッド、及び印字ヘッドの単位ヘッドの位置調整方法
JP2010064466A (ja) 画像形成装置
JP5515469B2 (ja) 液滴吐出ヘッド及びその製造方法並びに画像形成装置
US8414109B2 (en) Head array unit, image forming apparatus and head replacing method
JP2009178848A (ja) 記録装置
JP5751313B2 (ja) 液体吐出ヘッドユニット及び画像形成装置
JP6010934B2 (ja) ヘッド交換治具及びヘッド交換方法
JP2010058367A (ja) 画像形成装置
JP5015757B2 (ja) 画像形成装置
JP5381064B2 (ja) ヘッドアレイユニットの製造方法、画像形成装置
US20220288958A1 (en) Image forming apparatus and head unit positioning method
JP4919841B2 (ja) 画像形成装置
JP2010214819A (ja) 画像形成装置
JP2013059942A (ja) 液滴吐出ヘッド及びその製造方法、液滴吐出ヘッド一体型カートリッジおよび画像形成装置
JP5593874B2 (ja) 滴吐出状態検出装置、ヘッドアレイユニット及び画像形成装置

Legal Events

Date Code Title Description
A621 Written request for application examination

Free format text: JAPANESE INTERMEDIATE CODE: A621

Effective date: 20110324

A131 Notification of reasons for refusal

Free format text: JAPANESE INTERMEDIATE CODE: A131

Effective date: 20110921

A521 Request for written amendment filed

Free format text: JAPANESE INTERMEDIATE CODE: A523

Effective date: 20111116

A131 Notification of reasons for refusal

Free format text: JAPANESE INTERMEDIATE CODE: A131

Effective date: 20120131

A521 Request for written amendment filed

Free format text: JAPANESE INTERMEDIATE CODE: A523

Effective date: 20120307

TRDD Decision of grant or rejection written
A01 Written decision to grant a patent or to grant a registration (utility model)

Free format text: JAPANESE INTERMEDIATE CODE: A01

Effective date: 20120403

A01 Written decision to grant a patent or to grant a registration (utility model)

Free format text: JAPANESE INTERMEDIATE CODE: A01

A61 First payment of annual fees (during grant procedure)

Free format text: JAPANESE INTERMEDIATE CODE: A61

Effective date: 20120417

FPAY Renewal fee payment (event date is renewal date of database)

Free format text: PAYMENT UNTIL: 20150427

Year of fee payment: 3

R150 Certificate of patent or registration of utility model

Ref document number: 4979648

Country of ref document: JP

Free format text: JAPANESE INTERMEDIATE CODE: R150

Free format text: JAPANESE INTERMEDIATE CODE: R150

LAPS Cancellation because of no payment of annual fees