JP2010023347A - 画像形成装置 - Google Patents

画像形成装置 Download PDF

Info

Publication number
JP2010023347A
JP2010023347A JP2008187344A JP2008187344A JP2010023347A JP 2010023347 A JP2010023347 A JP 2010023347A JP 2008187344 A JP2008187344 A JP 2008187344A JP 2008187344 A JP2008187344 A JP 2008187344A JP 2010023347 A JP2010023347 A JP 2010023347A
Authority
JP
Japan
Prior art keywords
signal
identification
data
control
line
Prior art date
Legal status (The legal status is an assumption and is not a legal conclusion. Google has not performed a legal analysis and makes no representation as to the accuracy of the status listed.)
Granted
Application number
JP2008187344A
Other languages
English (en)
Other versions
JP5359081B2 (ja
Inventor
Yoshinobu Takeyama
佳伸 竹山
Current Assignee (The listed assignees may be inaccurate. Google has not performed a legal analysis and makes no representation or warranty as to the accuracy of the list.)
Ricoh Co Ltd
Original Assignee
Ricoh Co Ltd
Priority date (The priority date is an assumption and is not a legal conclusion. Google has not performed a legal analysis and makes no representation as to the accuracy of the date listed.)
Filing date
Publication date
Application filed by Ricoh Co Ltd filed Critical Ricoh Co Ltd
Priority to JP2008187344A priority Critical patent/JP5359081B2/ja
Publication of JP2010023347A publication Critical patent/JP2010023347A/ja
Application granted granted Critical
Publication of JP5359081B2 publication Critical patent/JP5359081B2/ja
Expired - Fee Related legal-status Critical Current
Anticipated expiration legal-status Critical

Links

Images

Landscapes

  • Accessory Devices And Overall Control Thereof (AREA)
  • Cleaning In Electrography (AREA)
  • Facsimiles In General (AREA)

Abstract

【課題】I/O識別制御手段の異なる装置搭載時の制御不良を防ぐこと。
【解決手段】複数の検出手段から制御ボード51へ入力される検出信号または制御ボード51から複数の駆動手段へ出力する駆動制御信号を伝達する1つのデータ線と、このデータ線の入出力を特定する信号と、複数の検出手段及び駆動手段から1つの検出手段又は駆動手段を特定する信号を伝達する識別信号線と、データ線のデータ有効期間及び識別信号線における信号の有効期間を定める期間信号線と、識別信号から該当する検出手段又は駆動手段を識別し、データ線上のデータを該当する検出手段又は駆動手段のデータとして有効にするI/O識別制御手段10と、I/O識別制御手段10を制御するための識別信号線及び期間信号線を生成して送出するコントローラ30と、を備え、コントローラ30に制御信号の周波数可変機能を設けるようにした。
【選択図】図6

Description

本発明は、複数の検出手段のデータ信号を1つの信号線に載せ共有(多重)化することで、検出手段のデータ信号線数を削減した画像形成装置に関する。
従来技術として、特許文献1には、検出データを画像形成制御手段へ供給する1つのデータ線と、複数の検出手段のうち1つの検出手段を特定する識別信号を画像形成制御手段から供給する1つの識別信号線と、識別信号の有効期間と検出データの有効期間を特定する期間信号を画像形成制御手段から供給する1つの期間信号線と、識別信号と期間信号に基づき該当する検出手段を識別し、識別した検出手段の検出データのみを有効として画像形成制御手段にデータ線を介して供給する検出識別制御手段とを設けた画像形成装置が開示されている。
また特許文献2には、パラレル信号をシングルエンド信号に変換するパラレル/シリアル変換部と、パラレル/シリアル変換部からのシングルエンド信号をLVDS出力に変換するLVDSドライバと、LVDS信号をシングルエンド信号に変換するLVDSレシーバと、LVDSレシーバからのシングルエンド信号をパラレル信号に変換するパラレル/シリアル変換部と、を有する機能ブロックを備え、データ送信はパラレル/シリアル変換部とLVDSドライバを用い、データ受信はLVDSレシーバとシリアル/パラレル変換部を用い、機能ブロックを1つのパッケージに搭載し、機能ブロックの伝送方向機能を切り替える伝送方向制御信号によって、パラレル信号のLVDSによる双方向通信を実現するインターフェース装置及びそれを備えた画像形成装置が開示されている。
また特許文献3には、印字ヘッドデータ転送装置からは、FPCケーブルを介して、記録ヘッドに搭載される各印字ヘッドに対応するドライバICに対し、転送クロック及びシリアル転送データを転送し、ドライバIC側にシリアル転送クロックをリセット信号、及びシリアル転送データをシリアルデータラッチ信号反転トリガとして用いて、シリアルデータラッチ信号を内部生成するシリアルデータラッチ信号生成回路を設け、画像シリアルデータと制御信号を共通のデータ信号線で転送するヘッドデータ転送装置が開示されている。
特開2008−012830公報 特開2007−249942公報 特開2006−218682公報
ところで、上記したような画像形成装置では、画像を形成するにあたり、装置の多くの個所の状態や動作状態を検出し、それに応じて装置内のアクチュエータを細かく制御する必要がある。
画像形成装置をそのような状態にするために、ボードに入力される信号線、及びボードから出力される信号線数は膨大となり装置が複雑化し小型化が困難になっている。
そこで、複数のセンサからの信号、または複数のアクチュエータへの駆動制御信号を1つの信号線を共有化して載せるI/O(Input/Output)制御法を用いることで、膨大となる画像形成装置のデータ入出力線を削減すると同時に、センサ並びにアクチュエータの増減により画像形成システム構成が変更になった場合でも信号線数を増大させることなく対応できるよう、汎用性を持たせることが考えられる。
しかしながら、I/O制御法は、複数のI/O識別制御手段と接続する可能性があり、信号線路長が長くなり浮遊容量、並びに負荷容量が増大するという問題点があった。
また、ある基準周波数の制御信号を用いた場合、あるシステム(装置)では動作しても異なるシステムでは動作しないという問題が生じるおそれがあった。
また、それら容量を見込んで制御信号の周波数を予め下げた場合は、不要な低速化を招く問題点があった。
本発明は上記した問題点を鑑みてなされたものでありI/O識別制御手段の異なる装置搭載時の制御不良、及びI/O識別制御の不要な低速化を防ぎ、汎用性を持たせることができる画像形成装置を提供することを目的とする。
上記目的を達成するため、請求項1に記載の発明は、状態を検出する複数の検出手段と、複数の駆動手段と、を有する画像形成装置において、画像形成制御を行う画像形成制御手段と、前記複数の検出手段から前記画像形成制御手段へ入力される検出信号、または前記画像形成制御手段から前記複数の駆動手段へ出力する駆動制御信号を伝達する1つのデータ線と、該1つのデータ線の入出力を特定する信号と、前記複数の検出手段及び前記複数の駆動手段から1つの検出手段、または1つの駆動手段を特定する信号を伝達する識別信号線と、前記データ線のデータ有効期間、及び前記識別信号線における信号の有効期間を定める期間信号線と、前記識別信号から該当する前記検出手段または前記駆動手段を識別し、前記データ線上のデータを該当する前記検出手段又は前記駆動手段のデータとして有効にする識別制御手段と、前記識別制御手段を制御するための制御信号として、前記識別信号線、及び前記期間信号線を生成して送出するコントローラと、を備え、前記コントローラは、前記制御信号の周波数可変機能を有することを特徴する。
請求項2に記載の発明は、前記識別信号線のデータ有効期間内に発生するパルス信号のみを抽出し、前記コントローラに出力する帰還信号線を前記制御信号に付加した請求項1に記載の画像形成装置を特徴とする。
請求項3に記載の発明は、前記識別制御手段の数、及び前記各信号線の信号線長に応じて、前記コントローラが送出する制御信号の周波数を予め変更する請求項1又は2に記載の画像形成装置を特徴とする。
請求項4に記載の発明は、前記識別制御手段に接続された前記検出手段、又は前記駆動手段に応じて、前記識別信号線のデータ有効期間内に生成する信号の周波数を変化させる請求項1乃至3の何れか1項に記載の画像形成装置を特徴とする。
本発明では、識別制御手段の制御信号を生成するコントローラに信号周波数可変機能を設けたことで、搭載された装置に最適な制御信号を生成できるので、識別制御手段の異なる装置に搭載した場合でも制御不良が発生することがない。また、識別制御の不要な低速化を防ぎ汎用性を持たせることができる。
以下、本発明の画像形成装置の実施形態について説明する。
図1は本実施形態の画像形成装置の基本的なエンジン周りのシステム構成の一例を示す図である。
この図1に示す画像形成装置は、CPU31を備える画像形成制御ボード(以下、単に「制御ボード」と称する)51に定着ユニット52、給紙カセット53、トナー濃度センサ54、紙サイズセンサ55、中間転写ユニット56、感光体ユニット57、現像ユニット58、温湿度センサ59及び接離センサ60等が接続されている。
制御ボード51には、複数の着脱(交換)ユニット、例えば定着ユニット52や現像ユニット58等があり、ユニットと装置本体との着脱状態を示す信号が、各ユニットに設けられたセンサ(検出手段)から制御ボード51へInput信号(入力信号)として入力される。他の入力信号としては、装置内外の温湿度を検出する温湿度センサ59、画像形成時に駆動される接離機構並びに記録媒体などの位置/状態情報を検出する接離センサ60、あるいはトナー濃度センサ54などからの検出信号がある。
紙サイズセンサ55や給紙カセット53のセンサなどは、信号線が複数ビットにもなり、信号線数を大きく増大させる。図示していないが、高圧電源からのフィードバック信号等もある。
また、各ユニットには、モータ、ソレノイドやクラッチなどのアクチュエータが複数あり、制御ボード51からは、それらを駆動する駆動信号が駆動手段へOutput信号(出力信号)として出力される。
近年、画像形成装置のカラー化や高性能/多機能化で、センサ(検出手段)からの入力信号やアクチュエータ(駆動手段)の増大でこれら信号線数は増大する傾向にある。また、これらセンサやアクチュエータを使用するには、検出結果信号や駆動信号(データ信号)のほかに電源供給も必要となる。これら多数のセンサからの検出信号及びアクチュエータへの駆動信号を制御ボード51に入出力するために、多数の信号線及び電源線が必要であり、制御ボード51が大型化してしまう。
また、制御ボード51は、これら各ユニットや各種センサとは離れた位置に設置されるため、多数の信号線が装置内を這いまわり、装置の簡素化/小型化並びに低コスト化に対する大きな障壁となっている。
そこで、本実施形態の画像形成装置においては、画像形成装置内を這い回るセンサ等の検出手段の検出結果、またはアクチュエータ等の駆動手段への駆動信号を伝送するデータ信号線を削減した上で、装置の違いによるセンサやアクチュエータ(以下、これらを総称して「I/O手段」と言う)の制御不良及び時間の不要な長期化を防ぐようにした点に特徴がある。
図2は、本実施形態の画像形成装置の主要な構成を示した図である。
本実施形態の画像形成装置では、画像形成装置のエンジン周りの制御を司る制御ボード51とI/O識別制御手段10とが3つの信号線(期間信号線、識別信号線、データ線)により接続される。制御ボード51からは識別信号と期間信号がI/O識別制御手段10に入力される。また、データ線を介して複数の検出手段A、B、・・・Xの検出結果が検出データとしてI/O識別制御手段10から制御ボード51に入力され、複数の駆動手段1、2、・・・Nの駆動制御信号が駆動制御データとして制御ボード51からI/O識別制御手段10に出力される。
また、複数の検出手段A、B、・・・X及び駆動手段1、2、・・・Nと、その近傍に設置されたI/O識別制御手段10との間では、複数の検出手段A、B、・・・Xの夫々が検出すべき対象の状態を検出した結果である2値データ(「1」または「0」)、またはADコンバータ(ADC)の複数ビットのシリアルデータと、複数の駆動手段1、2・・・Nの夫々が駆動すべき対象への駆動信号が送受信される。
図3は、I/O識別制御手段の制御信号のタイミングの一例を示した図である。
I/O識別制御手段10では、期間信号のp1〜p4の間でI/O手段の識別制御を行う。また、期間信号p1〜p2の間で識別信号の状態を判定し、データの入出力を特定するためのIn/Out判定期間を定める。また、期間信号p2〜p3の間でI/O手段を識別するための識別信号のパルスを有効とする識別有効期間、期間信号p3〜p4の間でデータ線のデータを有効とする期間をそれぞれ定める。
I/O識別制御手段10は、In/Out判定期間における識別信号線の状態によって、データ線のデータ有効期間におけるデータの入出力を制御する。
In/Out期間における識別信号線にパルス信号を生成した場合は、識別信号で識別された該当駆動手段の駆動データ(出力信号)として制御ボード51がデータ線のデータを該当駆動手段に出力する。パルスを生成しない場合は、データ線のデータは制御ボード51への入力信号で該当手段は検出手段となり、データ有効期間に制御ボード51が該当検出手段の検出信号としてデータを取り込む。
また、I/O識別制御手段10は、識別有効期間内に発生する識別信号のパルス数をカウントすることで識別を要するI/O手段群の中から該当するI/O手段を識別する。
図4は、I/O識別制御手段における識別の一例を示した図である。
例えば、識別有効期間Aにおいて識別信号のパルス数がpnAであった場合、第1のI/O手段を識別選択し、有効期間Bにおいてパルス数がpnBの場合は第2のI/O手段を選択するといったように、予め制御ボード51とI/O識別制御手段10との間で、I/O手段に対応したパルス数を定めておく。
図3に示すように、In/Out判定期間を識別期間の直前に設けることで、識別信号(識別するためのパルス数)を検出手段と駆動手段で共用することができる。識別信号のパルス数を抑え識別期間を短くできると同時に、制御ブロックのカウンタ規模を小さく出来る。例えば、識別パルス数がnの時、検出手段は「n」、または駆動手段は「n」となり、In/Out期間の識別信号によって、検出手段nまたは駆動手段nのどちらかを識別する。
図5は、本実施形態のI/O識別制御手段の機能ブロックを示した図である。
この図5に示すコントローラ11は、期間信号を受けて、図3に示す/Reset信号、Detect信号、In/Out期間信号を生成する。また図示していないがコントローラ11は、検出手段のデータを有効とするアウトプットイネーブル信号(O.E)等も生成する。
判定手段(judge)12は、In/Out期間における識別信号線のパルスの有無によって、データ線のデータ有効期間におけるデータの入出力を制御する。
カウンタ13は、コントローラ11で生成された/Reset信号、Detect信号で定まる識別信号有効期間内に、識別線の識別データであるパルス数をカウントしカウント値をデコーダ14へ出力する。
判定手段12がデータ線のデータを入力と判定した場合には、デコーダ14はカウンタ値に従い複数のデータ線(inA〜inX)から予め定められた1つの検出手段のデータを識別選択する。選択された検出データは、前述のO.E信号によって制御ボード51に接続されたデータ線上にデータ有効期間出力される。
I/O識別制御手段10は、上述のようにデータ線を共有することで、複数のI/O手段のデータを制御ボード51と授受する。つまりデータ線を共有するために、識別選択されたI/O手段のデータ線のみをデータ線と接続するようにしている。
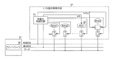
図6は、本実施形態のI/O識別制御手段に備えられているデータ共有制御の機能図である。
本実施形態のI/O識別制御手段10には多重化制御回路21が備えられている。
多重化制御回路21は、制御ボード51のコントローラ30から送出される識別信号によって識別選択されるI/O手段のデータ線のみをデータ線に接続する。例えば、Sens1が識別選択されるとスイッチSW0をONする。識別選択しない時は全てのI/O手段の接続スイッチをOffする。
[第1の実施の形態]
図7はI/O識別制御手段の制御信号を生成するコントローラの構成を示した図である。
この図7に示すコントローラ30は、識別対象とするI/O手段を指示するCPU31と、CPU31によって設定されるパラメータに基づいて、CPU31が指示したI/O手段を制御するのに必要な制御信号を生成するI/O識別制御信号生成部32から成る。
CPU31は、指示するI/O手段を識別制御するための制御信号を生成するのに必要なパラメータを、識別制御開始と同時にI/O識別制御信号生成部32に設けた複数のレジスタ33に順次設定する。全てのパラメータ設定が終了すると設定完了をI/O識別制御信号生成部32に通知する。
I/O識別制御信号生成部32には、複数のレジスタ33が用意され、CPU31が設定するパラメータをレジスタ33に保持する。レジスタ33の設定が終了すると、レジスタ値に基づいてI/O識別制御手段10の制御信号を生成して出力する。
そして、本実施形態では、I/O識別制御信号生成部32に設けたレジスタ33に周波数の設定パラメータを保持するためのレジスタを割り当てておき、割り当てられたレジスタ33に書き込まれた値に従い、I/O識別制御信号生成部32は、周波数(識別制御期間)の異なる制御信号を生成するようにした点に特徴がある。
I/O識別制御信号生成部32は、基準クロックと分周器を有しており、基準クロックを分周した複数の基準信号(クロック)の中から、周波数を設定するレジスタ33により設定された基準信号に基づいて制御信号を生成する。
このようにI/O識別制御信号生成部32は、選択した基準クロックを用いて計数を行い、予め設定されたカウント値に従いパルスを生成することで、図3に示すような各制御信号(パルス)を生成する。
例えば、周波数設定パラメータ格納用のレジスタ33は、2ビットで構成され、レジスタ33の値によって、図8に示すように基準クロックを変更して制御信号を生成する。このとき、基準クロックの周波数は、CLK0>CLK1>CLK2>CLK3となっており、CPU31が周波数設定レジスタ33に設定した値に基づいて選択したCLKを用いて制御信号を生成する。
図9は、本実施形態のI/O識別制御手段の制御信号のタイミングの一例を模式的に示した図であり、(a)はCLK1を、(b)はCLK0を、(c)はCLK3を用いた例が示されている。実験ではCLK0=12MHz、CLK1=6MHz、CLK2=3MHz、CLK3=1.5MHzとした。
このように本実施形態ではI/O識別制御手段10の制御信号を生成するコントローラ30に信号周波数可変機能を設けることで、搭載された装置に最適な制御信号を生成することができるようになる。
なお、本実施形態では、基準クロックを変更することで制御信号の周波数変更を実現しているが、基準クロックはそのままで制御信号パルスを生成するためのカウント値を変更することで、制御信号の周波数変更を行うようにしてもよい。
[第2の実施の形態]
また本実施形態では、I/O識別制御手段10のADC22を識別制御する場合、期間信号のP3〜P4(データ有効)期間に生成する識別信号のパルスをADC転送パルスとして用い、転送パルスでデータ線上にADCのデータを読み出す。
コントローラ30は、転送パルスとして用いたパルスの立下りエッジでデータ線上のデータを読取る。
図10は、ADC(パラレル型)データ読み取り時の制御信号タイミングの一例を示した図である。
I/O識別制御手段10が、データ有効期間における識別信号パルスから図10に示すsclkを抽出し、転送パルスとして生成、接続されたADC22に出力する。
ADCはリーディングパルス(ここでは3パルス)の後データを出力する。I/O識別制御手段10は、リーディングパルスの後のパルスでADC22のパラレルデータ(mビット)を出力データ用レジスタにラッチする。
レジスタにラッチされたADCデータは、ラッチ後のsclkパルスの立ち上がりエッジに同期して上位ビットより順次データ線に読み出される。データ線に読み出されたデータをコントローラ30がデータ有効期間における識別信号パルスの立下りエッジで読み込むことで、ADCのデータを取得する。このとき線路長によってデータ到達までの遅延量に違いが発生する。
図10に示すR1_sig_dataのように識別信号のデータ有効期間での転送パルス(データ読み込みパルス)幅>遅延量D1の時は、データを正確に読取ることができる。線路長が長く、コントローラが識別信号パルスを出力し、そのパルスを用いてI/O識別制御手段10が転送パルスを生成し、データ線上にADCデータを出力した後コントローラ側のデータ線端にADCデータが到達するまでの時間(遅延量D2)>転送パルス幅の場合は、正しいデータを読取ることが出来ない。
そこで、本実施形態では、I/O識別制御手段10が識別信号から抽出した転送パルス(R_sclk)をコントローラ30へ出力する制御線(帰還信号線)を設けるようにしている。
図11に示すように、I/O識別制御手段10から画像形成手段51のコントローラへ出力する。帰還信号は図12に示すように、データ有効期間のみパルスを生成する。
帰還信号線のパルスとデータ線のデータは位相の遅れが同じなので、例えば線路長が長く、R2_sig_dataのような大きな遅延が発生したADCデータに対しても帰還信号線のパルス(R_sclk)を用いることで図10に示すように帰還信号線のパルスの立下りエッジでコントローラがADC出力データを正確に読み込むことができる。つまり線路長に関係なく、検出手段のデータを正確に読み取ることができる。
なお、コントローラ30は、識別制御対象がADC以外の場合には、帰還信号を用いない。
[第3の実施の形態]
本実施形態のI/O識別制御手段10は、画像形成装置の構成または配置レイアウトに応じて機能ユニット毎または配置レイアウト毎にI/O手段をある程度まとめた状態で設ける。
I/O手段をある程度まとめた結果、図13に示すように、装置内をI/O識別制御手段10a、10b、10cがシリーズに繋がるような構成、或いは図14に示すようにI/O識別制御手段10a、10b、10cがスター状に繋がる構成の場合、またI/O数が少ない場合は、一つのI/O識別制御手段で間に合う場合もある。このように画像形成装置によってI/O識別制御手段の構成ならびに接続形態が異なるので、線路長及びI/O識別制御手段の接続数の違いによる信号線の容量ばらつきで、制御信号受信端(I/O識別制御手段側)での制御信号劣化が生じる。
そこで、信号劣化の影響を低減するために、構成配置に適した制御信号周波数に予め変更すると共に、周波数設定用レジスタの値を装置の構成ならびに接続形態によって固定する。
上記第1及び第2の実施の形態では、コントローラ30がダイナミック(I/O識別制御を実行するたび)に周波数設定レジスタ33の値を変更するのに対して、第3の形態では、周波数設定レジスタ33の値を変更することなく識別制御を行うようにした(装置起動時に設定、もしくはI/O識別制御のたびに同じ値を設定)。
このように構成すれば、画像形成装置の構成/規模に適したI/O制御を行うことができる。
[第4の実施の形態]
本実施形態のI/O識別制御手段10には、制御対象としてADCが接続可能である。ADCは適正な変換をするために必要な転送パルス周波数が定められている。現状の装置構成におけるADCの読み出しが正しく行える最高周波数以下の制御信号から生成される転送パルスで駆動できるADCを選択使用する。使用ADCの適正転送パルス周波数が、初期設定で定められた周波数よりも低い場合は、初期値よりも周波数の低い基準CLKを用いて制御信号周波数を変化させて(落として)生成するようにする。
この場合、識別信号のデータ有効期間(P3〜P4)のパルスのみADCに適した周波数に変化させる。ADCのデータ転送パルス生成は前述したように識別信号を用いるので、ADCに見合った識別信号の周波数に変化させる。
例えば、ADC1の転送パルス周波数f1、ADC2の転送パルス周波数f2とした(f1>f2)場合、ADC1を識別制御するときは、CLK1を用いて、ADC2を識別制御するときはCLK2を用いて識別信号におけるデータ有効期間内(P3〜P4)のパルスを生成する。
I/O識別パルスは、パルス数が認識できれば識別可能であるが、ADCの転送パルスには50%デューティのパルスが要求される。制御信号パルスデューティが略50%となる周波数をデータ期間のみ設定する。
このように構成すれば、I/O手段を確実に識別し、I/O識別制御手段10に接続されたI/O手段に適した周波数で制御し、適正なデータを得ることができる。
本実施形態の画像形成装置の基本的なエンジン周りのシステム構成の一例を示す図である。 本実施形態の画像形成装置の主要な構成を示した図である。 I/O識別制御手段の制御信号のタイミングの一例を模式的に示した図である。 I/O識別制御手段における識別の一例を示した図である。 I/O識別制御手段の機能ブロックを示した図である。 本実施形態のI/O識別制御手段に備えられているデータ共有制御の機能図である。 I/O識別制御手段の制御信号を生成するコントローラの構成を示した図である。 レジスタの値と基準クロックとの関係を示した図である。 本実施形態のI/O識別制御手段の制御信号のタイミングの一例を模式的に示した図であり、(a)はCLK1、(b)はCLK0、(c)はCLK3を用いた例が示されている。 ADC(パラレル型)データ読み取り時の制御信号タイミングの一例を示した図である。 駆動手段の設定判別を行う際に用いる制御信号の一例を示した図である。 帰還信号を含む制御信号の一例を示した図である。 本実施形態の画像形成装置の配置レイアウトの一例を示した図である。 本実施形態の画像形成装置の配置レイアウトの一例を示した図である。
符号の説明
10…I/O識別制御手段、11…コントローラ、12…判定手段、13…カウンタ、14…デコーダ、21…多重化制御回路、22…ADC、30…コントローラ、31…CPU、32…I/O識別制御信号生成部、33…レジスタ、51…画像形成手段(制御ボード)、52…定着ユニット、53…給紙カセット、54…トナー濃度センサ、55…紙サイズセンサ、56…中間転写ユニット、57…感光体ユニット、58…現像ユニット、59…温湿度センサ、60…接離センサ

Claims (4)

  1. 状態を検出する複数の検出手段と、複数の駆動手段と、を有する画像形成装置において、
    画像形成制御を行う画像形成制御手段と、
    前記複数の検出手段から前記画像形成制御手段へ入力される検出信号、または前記画像形成制御手段から前記複数の駆動手段へ出力する駆動制御信号を伝達する1つのデータ線と、
    該1つのデータ線の入出力を特定する信号と、
    前記複数の検出手段及び前記複数の駆動手段から1つの検出手段、または1つの駆動手段を特定する信号を伝達する識別信号線と、
    前記データ線のデータ有効期間、及び前記識別信号線における信号の有効期間を定める期間信号線と、前記識別信号から該当する前記検出手段または前記駆動手段を識別し、前記データ線上のデータを該当する前記検出手段又は前記駆動手段のデータとして有効にする識別制御手段と、
    前記識別制御手段を制御するための制御信号として、前記識別信号線、及び前記期間信号線を生成して送出するコントローラと、を備え、
    前記コントローラは、前記制御信号の周波数可変機能を有することを特徴する画像形成装置。
  2. 前記識別信号線のデータ有効期間内に発生するパルス信号のみを抽出し、前記コントローラに出力する帰還信号線を前記制御信号に付加したことを特徴とする請求項1に記載の画像形成装置。
  3. 前記識別制御手段の数、及び前記各信号線の信号線長に応じて、前記コントローラが送出する制御信号の周波数を予め変更することを特徴とする請求項1又は2に記載の画像形成装置。
  4. 前記識別制御手段に接続された前記検出手段、又は前記駆動手段に応じて、前記識別信号線のデータ有効期間内に生成する信号の周波数を変化させることを特徴とする請求項1乃至3の何れか1項に記載の画像形成装置。
JP2008187344A 2008-07-18 2008-07-18 画像形成装置 Expired - Fee Related JP5359081B2 (ja)

Priority Applications (1)

Application Number Priority Date Filing Date Title
JP2008187344A JP5359081B2 (ja) 2008-07-18 2008-07-18 画像形成装置

Applications Claiming Priority (1)

Application Number Priority Date Filing Date Title
JP2008187344A JP5359081B2 (ja) 2008-07-18 2008-07-18 画像形成装置

Publications (2)

Publication Number Publication Date
JP2010023347A true JP2010023347A (ja) 2010-02-04
JP5359081B2 JP5359081B2 (ja) 2013-12-04

Family

ID=41729637

Family Applications (1)

Application Number Title Priority Date Filing Date
JP2008187344A Expired - Fee Related JP5359081B2 (ja) 2008-07-18 2008-07-18 画像形成装置

Country Status (1)

Country Link
JP (1) JP5359081B2 (ja)

Citations (10)

* Cited by examiner, † Cited by third party
Publication number Priority date Publication date Assignee Title
JP2005259071A (ja) * 2004-03-15 2005-09-22 Fuji Xerox Co Ltd 画像形成装置及び通信制御方法
JP2006218682A (ja) * 2005-02-09 2006-08-24 Ricoh Co Ltd ヘッドデータ転送装置及び画像形成装置
JP2006254201A (ja) * 2005-03-11 2006-09-21 Canon Inc 画像形成装置
JP2006271195A (ja) * 2005-03-23 2006-10-05 Samsung Electronics Co Ltd 高電圧発生装置,高電圧発生方法,asicチップおよび画像形成装置
JP2007112022A (ja) * 2005-10-20 2007-05-10 Seiko Epson Corp 情報処理装置
JP2007249942A (ja) * 2006-02-16 2007-09-27 Ricoh Co Ltd インターフェース装置及びそれを備えた画像形成装置
JP2007316054A (ja) * 2006-05-25 2007-12-06 Tektronix Inc 信号分析システムの信号パス校正方法
JP2008012830A (ja) * 2006-07-07 2008-01-24 Ricoh Co Ltd 画像形成装置
JP2008071018A (ja) * 2006-09-13 2008-03-27 Matsushita Electric Ind Co Ltd メモリインターフェース回路
JP2008158355A (ja) * 2006-12-25 2008-07-10 Ricoh Co Ltd 画像形成装置

Patent Citations (10)

* Cited by examiner, † Cited by third party
Publication number Priority date Publication date Assignee Title
JP2005259071A (ja) * 2004-03-15 2005-09-22 Fuji Xerox Co Ltd 画像形成装置及び通信制御方法
JP2006218682A (ja) * 2005-02-09 2006-08-24 Ricoh Co Ltd ヘッドデータ転送装置及び画像形成装置
JP2006254201A (ja) * 2005-03-11 2006-09-21 Canon Inc 画像形成装置
JP2006271195A (ja) * 2005-03-23 2006-10-05 Samsung Electronics Co Ltd 高電圧発生装置,高電圧発生方法,asicチップおよび画像形成装置
JP2007112022A (ja) * 2005-10-20 2007-05-10 Seiko Epson Corp 情報処理装置
JP2007249942A (ja) * 2006-02-16 2007-09-27 Ricoh Co Ltd インターフェース装置及びそれを備えた画像形成装置
JP2007316054A (ja) * 2006-05-25 2007-12-06 Tektronix Inc 信号分析システムの信号パス校正方法
JP2008012830A (ja) * 2006-07-07 2008-01-24 Ricoh Co Ltd 画像形成装置
JP2008071018A (ja) * 2006-09-13 2008-03-27 Matsushita Electric Ind Co Ltd メモリインターフェース回路
JP2008158355A (ja) * 2006-12-25 2008-07-10 Ricoh Co Ltd 画像形成装置

Also Published As

Publication number Publication date
JP5359081B2 (ja) 2013-12-04

Similar Documents

Publication Publication Date Title
US8203976B2 (en) Interface device and image forming apparatus
US8190038B2 (en) Image formation apparatus capable of reducing the number of output signal lines
US8102550B2 (en) Image-forming apparatus utilizing reduced signal lines
JP5359081B2 (ja) 画像形成装置
JP5665364B2 (ja) 記録素子基板
EP1965608A1 (en) Control circuit for automatically generating latch signal to control LED device according to input data signal and clock signal
JP4929794B2 (ja) 光書込みヘッド
US8004548B2 (en) Thermal head and image forming apparatus using the same
JP2010049356A (ja) パラレル−シリアル変換装置、パラレル−シリアル変換システム、パラレル−シリアル変換制御方法、パラレル−シリアル変換制御プログラム及び記録媒体
JP5182611B2 (ja) 画像形成装置
JP4963898B2 (ja) 駆動装置、ledヘッド、及び画像形成装置
JP2010101961A (ja) 画像形成装置
JP4874841B2 (ja) 画像形成装置
US8432303B2 (en) Electronic apparatus and control method of the same
JP5672904B2 (ja) 負荷駆動装置と画像読取装置および画像形成装置
US8275274B2 (en) Image forming apparatus
JP2009003863A (ja) インターフェイス装置及び画像形成装置
JP2783949B2 (ja) Ledプリンタ
JP6199225B2 (ja) 画像形成装置
JP2010038933A (ja) 画像形成装置
JP2710432B2 (ja) プリンタ及びプリントヘッド
JP2017028600A (ja) 信号伝達装置および信号伝達方法
US20180295252A1 (en) Printing apparatus
JP2000174944A (ja) 画像データ転送方法
JP2019164553A (ja) 情報処理装置及び回路装置

Legal Events

Date Code Title Description
A621 Written request for application examination

Free format text: JAPANESE INTERMEDIATE CODE: A621

Effective date: 20110408

A977 Report on retrieval

Free format text: JAPANESE INTERMEDIATE CODE: A971007

Effective date: 20121031

A131 Notification of reasons for refusal

Free format text: JAPANESE INTERMEDIATE CODE: A131

Effective date: 20121106

A521 Request for written amendment filed

Free format text: JAPANESE INTERMEDIATE CODE: A523

Effective date: 20121226

A131 Notification of reasons for refusal

Free format text: JAPANESE INTERMEDIATE CODE: A131

Effective date: 20130521

A521 Request for written amendment filed

Free format text: JAPANESE INTERMEDIATE CODE: A523

Effective date: 20130704

TRDD Decision of grant or rejection written
A01 Written decision to grant a patent or to grant a registration (utility model)

Free format text: JAPANESE INTERMEDIATE CODE: A01

Effective date: 20130806

A61 First payment of annual fees (during grant procedure)

Free format text: JAPANESE INTERMEDIATE CODE: A61

Effective date: 20130819

LAPS Cancellation because of no payment of annual fees