JP2010023171A - ステープル打ち用釘打機 - Google Patents

ステープル打ち用釘打機 Download PDF

Info

Publication number
JP2010023171A
JP2010023171A JP2008187146A JP2008187146A JP2010023171A JP 2010023171 A JP2010023171 A JP 2010023171A JP 2008187146 A JP2008187146 A JP 2008187146A JP 2008187146 A JP2008187146 A JP 2008187146A JP 2010023171 A JP2010023171 A JP 2010023171A
Authority
JP
Japan
Prior art keywords
staple
guide
staples
nose
nailing machine
Prior art date
Legal status (The legal status is an assumption and is not a legal conclusion. Google has not performed a legal analysis and makes no representation as to the accuracy of the status listed.)
Granted
Application number
JP2008187146A
Other languages
English (en)
Other versions
JP5125842B2 (ja
Inventor
Norimitsu Sekiguchi
則満 関口
Koji Kubo
浩二 窪
Toshimichi Arai
利道 新井
Current Assignee (The listed assignees may be inaccurate. Google has not performed a legal analysis and makes no representation or warranty as to the accuracy of the list.)
Max Co Ltd
Original Assignee
Max Co Ltd
Priority date (The priority date is an assumption and is not a legal conclusion. Google has not performed a legal analysis and makes no representation as to the accuracy of the date listed.)
Filing date
Publication date
Application filed by Max Co Ltd filed Critical Max Co Ltd
Priority to JP2008187146A priority Critical patent/JP5125842B2/ja
Publication of JP2010023171A publication Critical patent/JP2010023171A/ja
Application granted granted Critical
Publication of JP5125842B2 publication Critical patent/JP5125842B2/ja
Active legal-status Critical Current
Anticipated expiration legal-status Critical

Links

Images

Landscapes

  • Portable Nailing Machines And Staplers (AREA)

Abstract

【課題】ノーズ部2の前部を開放しつつステープルsを確実にガイドする。
【解決手段】釘打機本体の内部に設けられた打撃機構によって駆動されるドライバ8を、釘打機本体の下部に設けられたノーズ部2の射出口6に摺動自在に案内するとともに、クラウン部の両端から平行な脚部13を屈曲形成してなるステープルsをノーズ部2の後部に設けられたマガジン3のステープルガイド4から上記射出口6に供給し、ドライバ8によってステープルsをノーズ部2から下方に打ち込むステープルs打ち用釘打機において、射出口6に供給されたステープルsの両脚部13の後方下部の、両脚部13の間に対応する位置に、これら両脚部13の内側面を打ち込み方向に案内するインサイドガイド14を設けた。
【選択図】図4

Description

本発明は、建築、土木の関連分野においてステープルを釘打機によって主に木材に打ち込むときに、ステープルの脚部をガイドして打ち込むステープル打ち用釘打機に関する。
例えば、下地材(根太木)の上に中間材を介してフロア材を施工する場合、各フロア材の雄ざねから斜めにステープルを打ち込み、さらに中間部材を貫通してさらに下地材(根太木)に打ち込むことが行われる場合、50mm程度の脚部の長いステープルを使用する必要がある。しかも、ステープル打ち込み時には、座屈が生じないにように打ち込むことのほかに、打ち込み後にフロア材が下地材から浮き上がらないように引き抜き耐力が十分に確保されることが重要である。
ところが、従来のステープルは打ち込み時の脚部の貫入抵抗が小さくなるように、各脚部の先端には角度が付けられている。そして、その角度によって脚部が内側に窄まるか、あるいは外側に開くようになる。特に脚部間の間隔が狭いステープルの場合には、ステープルを木材に打ち込んだときに脚部は内側に窄まる傾向がある。打ち込み時に脚部が窄まると、脚部の先端同士がぶつかり合って座屈が発生する可能性も高くなる。
そこで、このような窄まり現象を防止するため、より確実に打ち込み時のステープル脚部の進入方向を有効に制御することにより、座屈の発生を防止するとともに引き抜き耐力を確保することができるステープル打ち用釘打機が提案されている(特許文献3参照)。これはノーズ部の前部にガイド部材を設け、このガイド部材をノーズ部内のステープルの脚部の間に設けることにより、打ち出されたステープルの脚部が内側に窄まらないようにしようとするものである。
特開平6−285811号 実用新案登録第3005271号公報 特開2008−36756
しかしながら、従来のものはノーズ部の前方からステープルをガイドしようとするものであり、隅打ちをする場合は、ノーズ部の前部にガイド部材が突出するから、ガイド部材が邪魔になることがあり、隅打ちには必ずしも万全とはいえなかった。
本発明は上記問題点を解消し、ノーズ部の前部を開放しつつステープルを確実にガイドすることができるステープル打ち用釘打機を提供することをその課題とする。
上記課題を解決するため、請求項1に係る発明は、釘打機本体の内部に設けられた打撃機構によって駆動されるドライバを、上記釘打機本体の下部に設けられたノーズ部の射出口に摺動自在に案内するとともに、クラウン部の両端から平行な脚部を屈曲形成してなるステープルを上記ノーズ部の後部に設けられたマガジンのステープルガイドから上記射出口に供給し、上記ドライバによって上記ステープルをノーズ部から下方に打ち込むステープル打ち用釘打機において、上記射出口に供給されたステープルの両脚部の後方下部の、上記両脚部の間に対応する位置に、これら両脚部の内側面を打ち込み方向に案内するインサイドガイドを設けたことを特徴とする。
請求項2に係る発明は、請求項1において、上記インサイドガイドは、上記ステープルガイドに前後に回動可能に設けられ、上記インサイドガイドの下端は常時上記射出口側に付勢されていることを特徴とする。
請求項3に係る発明は、請求項1又は2において、上記インサイドガイドの両側には、打ち込まれたステープルの脚部の先端を拾いこんでノーズ部の射出口側に案内するガイド部が形成されていることを特徴とする。
請求項4に係る発明は、請求項1〜3のいずれかにおいて、上記ノーズ部の前部には除針機構を設けたことを特徴とする。
請求項1に係る発明によれば、ステープルの両脚部の内側面を打ち込み方向に案内するインサイドガイドを設けたので、ステープルの両脚部はインサイドガイドにより打ち込み方向に案内され、互いに内側に接近して窄まることが確実に防止される。したがって、座屈の発生を防止するとともに引き抜き耐力を確保することができる。
また、インサイドガイドは射出口に供給されたステープルの両脚部の後ろ側の、上記両脚部の間に対応する位置に設けられているので、ノーズ部の前方にガイドのための部品を設ける必要がなくなり、その分だけノーズ部を壁際に近づけることができる。したがって、隅打ち性能を格段に向上させることができる。
請求項2に係る発明によれば、インサイドガイドは、上記ステープルガイドに前後に回動可能に設けられ、上記インサイドガイドの下端は常時上記射出口側に付勢されている。したがって、インサイドガイドは確実にステープルの両脚部が互いに内側に接近して窄まることを防止することができるとともに、インサイドガイドは固定されたものではないから、ドライバが射出口を通るときの障害になることがない。
請求項3に係る発明によれば、インサイドガイドの両側には、打ち込まれたステープルの脚部の先端を拾いこんでノーズ部の射出口側に案内するガイド部が形成されているから、打ち出されたステープルが何らかの原因により、脚部が後方に移動するように傾いたときは、両側ガイド部のガイド面が脚部を拾って再び前側にガイドするので、ステープルは正しい姿勢で打ち込まれる。したがって、ステープルの座屈を防止することができる。また、ステープルの脚部をガイドする部材を別途設ける必要がないから、部品点数を節減することができる。
請求項4に係る発明によれば、ノーズ部の前部には除針機構が設けられているので、ステープルの打ち込み不良等によりノーズ部内に詰まったステープルを除去することができるので便利である。
図1はステープル打ち用釘打機の斜視図で、同図において釘打機本体1の下部にはノーズ部2が設けられている。ノーズ部2の後方にはステープルを収納するマガジン3が配設されている。なお、釘打機本体1には空気圧を駆動源とした打撃機構等が設けられているが、これらは特許文献1等に示されているものと同じ公知のものでよいから、ここでは省略する。
マガジン3の内部には図2及び図3に示されるように、細長板状のステープルガイド4が設けられ、ステープルガイド4にはコ字形のステープルsを接着連結してなる連結ステープルsが跨るようにして装填されている。ステープルガイド4の前端はノーズ部2の射出口6に開口しており、連結ステープルsはプッシャ5によって常時射出口6側に付勢され、先頭ステープルsはプッシャ5により射出口6に送り込まれるように付勢されている。そして、トリガ7(図1参照)を引き操作することによりドライバ8が打撃機構により駆動されてノーズ部2の射出口6内を摺動するときに射出口6内の先頭のステープルs1を打撃してノーズ部2の下端から打ち出し、打ち出し後ドライバ8が上昇すると、次位の先頭ステープルsがプッシャ5によって射出口6に送り出されるのである。
ところで、図4に示されるように、ノーズ部2は釘打機本体1の下部に固定された固定ノーズ部2aと、固定ノーズ部2の下方に打ち込み方向に摺動自在に設けられたコンタクトノーズ2bとから構成され、固定ノーズ部2にはドライバ8のみが摺動可能に収容されるので、固定ノーズ部2の断面もドライバ8の外形に沿うように形成されている。
コンタクトノーズ2bの射出口6は断面が略凹字状に形成され、開口部の上部はマガジン3のステープルガイド4の先端に向き合うように配置されている。これにより、ステープルガイド4に保持された連結ステープルsの先頭ステープルs1を、上記ステープルガイド4の先端を越えて射出口6の内側に送り込むことができる。また、コンタクトノーズ2bの下端部の裏側にはガイドブロック10が一体に形成され、射出口6の開口部はこのガイドブロック10により閉じられている。ガイドブロック10の上部両側にはステープルsの脚部をノーズ部2側にガイドするガイド用斜面11が形成されている。
なお、コンタクトノーズ2bは常時下方に突出するようにバネ付勢されている。コンタクトノーズ2bの上部はトリガ7と関連しており、コンタクトノーズ2bが被打ち込み材に押し付けられたときにバネに抗して押し込まれてノーズ部2に対して相対的に上動したときにのみトリガ7の作動が有効となるように安全装置を構成している。
次に、上記コンタクトノーズ2bの後ろ側のマガジン3の中央には図3に示すようにステープルガイド4が配置されている。そして、ステープルガイド4はマガジン本体3aに摺動自在に取り付けられたスライダ9に溶接され、マガジン3の長手方向に沿って摺動自在に配置されている。
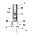
ステープルガイド4には、上記射出口6に供給されたステープルs1の両脚部の間に対応する位置に、両脚部13の内側面を打ち込み方向に案内するインサイドガイド14が配置されている。すなわち、インサイドガイド14は図5〜図7に示されるように、細長の中央ガイド部15の中間部の両側には両側ガイド部16を形成し、中央ガイド部15の上部に取付片17(図4等参照)を形成したもので、中央ガイド部15の厚さはステープルsの両脚部13間の間隔と同じである。また、両側ガイド部16には傾斜したガイド面を有するガイド溝18が形成されている。ガイド溝18の溝幅はステープルsの脚部13の幅に対応するように形成されている。
上記インサイドガイド14の構成に対応し、ステープルガイド4の前端下部のコーナー部には、前端面と下端面に開口する切欠き溝20が形成されている。そして、図7に示されるように、インサイドガイド14の取付片17をステープルガイド4の切欠き溝20に嵌合し、切欠き溝20の両側の溝壁と取付片17とをWSピン、段付きピン等の回転軸19により連結し、これによりインサイドガイド14は、上記ステープルガイド4の前端下部に前後に回動可能になっている。なお、図6の回転軸19はWSピンであり、図7の回転軸19は段付きピンである。また、図6は幅狭の、図7は幅広のステープルのインサイドガイドを示す。
なお、インサイドガイド14がステープルガイド4に取り付けられたとき、インサイドガイド14の中央ガイド部15はステープルガイド4に保持された連結ステープルsの脚部13の下端と同じかそれよりも上方にあり、これに対し、両側ガイド部16の上端は上記脚部13の下端よりも下方になるように配置される。
上記ステープルガイド4の前部下方にはバネ受け部材21が固定され、このバネ受け部材21とインサイドガイド14の下部背面との間にはバネ22が配置されている。これにより、インサイドガイド14の下端は常時上記射出口6側に付勢されている。
ところで、プッシャ5によって射出口6内に送り出される際、先頭ステープルs1の両側の脚部13は、射出口6内に進入したインサイドガイド14の中央ガイド部15の両外側に案内されるように送り出される。
なお、インサイドガイド14は、射出口6内に送られた先頭ステープルs1の両側脚部の内側にあればよく、必ずしもその先端が射出口6の内面に当接する必要はない。ステープルs1のクラウン部13aとドライバ8とが通るときにインサイドガイド14に当たり、その衝撃でステープルs1が傾くおそれがあるからである。インサイドガイド14の回動は適宜の手段によって一定の範囲に規制するのが好ましい。同様の理由により、中央ガイド部15の前面の上部15aは射出口6に進入するが、下部15bは射出口6から後退ぎみに傾斜するように形成するのがよい。
上記構成によれば、ステープルsの打ち込みにあたり、被打ち込み材P(図1参照)にコンタクトノーズ2bの先端を押し付けることにより、コンタクトノーズ2bのガイドブロック10はインサイドガイド14と近接した位置まで上昇移動する。
次に、トリガ7を操作して打撃機構を作動させると、ドライバ8が下動してノーズ部2に供給された先頭ステープルs1を打撃して下方に打ち出す。図5に示されるように、ステープルs1は下方に移動するとき、脚部13の一方又は両方が外側に振られるような力を受けると、脚部13の内側は射出口6の両側壁6aに沿うように案内される。また、脚部13の一方又は両方が内側に振られるような力を受けると、脚部13の内側先端はインサイドガイド14の中央ガイド部15の外側面に沿って移動するように案内される。したがって、内側に振られた脚部13も中央ガイド部15に沿って移動するうちにやがて外側に押出されて所定の幅に広げられ、最後に中央ガイド部15の下部と射出口6の側壁との間の隙間を通るように案内される。そして、最終的にこの状態が保持されて射出口6から打ち出されて被打ち込み材Pに進入する。
なお、打ち出されたステープルs1が何らかの原因により、脚部13の先端が後方に移動するように傾いたときは、インサイドガイド14の両側ガイド部16のガイド溝18が脚部13を拾って再び前側にガイドするので、ステープルs1は正しい姿勢で打ち込まれる。したがって、ステープルs1の座屈を有効に防止することができる。
また、ドライバ8とステープルs1のクラウン部が中央ガイド部15を通過するとき、中央ガイド部15はドライバ8によって押し出され、バネ22に抗して回動し、最終的には中央ガイド部15は射出口6から退避するが、このときは既にステープルs1は十分に被打ち込み材中に打ち込まれているから、脚部13の進入方向が変わることはない。打ち込み終了後、ドライバ8が上方に移動すると、インサイドガイド14は再び、バネにより図1の状態となり、次の釘打ち込みが準備される。
以上のように、インサイドガイド14はノーズ部2の後方に配置されているので、ノーズ部2の前方にガイドのための部品を設ける必要がなくなり、図2に示されるように、その分だけノーズ部2を壁23に近づけることができる。したがって、隅打ち性能を格段に向上させることができる。
また、ステープルs1は、射出口6の側壁6aとインサイドガイド14の中央ガイド部15にガイドされて打ち込まれるので、ステープルs1の両脚部13が互いに内側に接近して窄まることが確実に防止される。したがって、確実に打ち込み時のステープル脚部13の進入方向を有効に制御することにより、座屈の発生を防止するとともに引き抜き耐力を確保することができる。
さらに、打ち込み時にはインサイドガイド14の中央ガイド部15の上端部はノーズ部2に供給された先頭ステープルs1の脚部13の下端と略同じ位置に移動するので、実際に射出口6に進入する部分はそれよりも多少下にあっても、中央ガイド部15の上部は狭く形成されているので、打ち込み時にはステープルs1の脚部13の内側面と中央ガイド部15との間には間隔があるので、脚部13が多少左右にぶれて窄まっても、中央ガイド部15に確実にとらえられるので、両脚部13が窄まるのを有効に防止できる。
さらに、インサイドガイド14の両側には、打ち込まれたステープルs1の脚部13の先端を拾いこんでノーズ部2の射出口6側に案内するガイド面が形成されているから、ステープルsの脚部13をガイドする部材を別途設ける必要がなく、部品点数を節減することができる。
なお、上記実施形態においては、インサイドガイド14をステープルガイド4に取り付けられているが、インサイドガイド14は射出口に供給されたステープルの両脚部の後方下部の、両脚部の間に対応する位置に設けられる構成であれば、どこに取り付けてもよいのであって、ステープルガイドに限定されるものではない。例えば、図4のバネ受け部材21に取り付けてもよい。
これに関連し、ステープルはマガジンの上方、下方あるいは後方から装填する方式があるが、インサイドガイドはステープルの装填方式に制約されるものではない。
また、上記インサイドガイド構成によれば、図2に示されるように、ノーズ部2の先端を壁23の際に当てたとき、釘打機本体1は傾いているので、ノーズ部2の前方に一定のスペース24が確保される。そこで、図8のように、ノーズ部2の前部には上記スペースに除針機構25を設けることができる。
この除針機構25は、レバー26を前方に倒すことにより、ノーズ部2の開口部(図示せず)を開いて射出口の内部に詰まったステープルを除去することができるようにしたものである。
ステープル打ち用釘打機の1つの実施形態の斜視図 図1の釘打機の要部の断面図 図2のX−X線上の断面図 図2の一部拡大図 図4のY−Y線上の断面図 ステープルガイドにインサイドガイドを取り付けた状態の断面図 ステープルガイドに他の回転軸によりインサイドガイドを取り付けた状態の断面図 他の実施形態の要部の断面図
符号の説明
s ステープル
1 釘打機本体
2 ノーズ部
4 ステープルガイド
6 射出口
8 ドライバ
13 脚部
14 インサイドガイド
15 中央ガイド部

Claims (4)

  1. 釘打機本体の内部に設けられた打撃機構によって駆動されるドライバを、上記釘打機本体の下部に設けられたノーズ部の射出口に摺動自在に案内するとともに、クラウン部の両端から平行な脚部を屈曲形成してなるステープルを上記ノーズ部の後部に設けられたマガジンのステープルガイドから上記射出口に供給し、上記ドライバによって上記ステープルをノーズ部から下方に打ち込むステープル打ち用釘打機において、
    上記射出口に供給されたステープルの両脚部の後方下部の、上記両脚部の間に対応する位置に、これら両脚部の内側面を打ち込み方向に案内するインサイドガイドを設けたことを特徴とするステープル打ち用釘打機。
  2. 上記インサイドガイドは、上記ステープルガイドに前後に回動可能に設けられ、上記インサイドガイドの下端は常時上記射出口側に付勢されていることを特徴とする、請求項1に記載のステープル打ち用釘打機。
  3. 上記インサイドガイドの両側には、打ち込まれたステープルの脚部の先端を拾いこんでノーズ部の射出口側に案内するガイド部が形成されていることを特徴とする、請求項1又は2に記載のステープル打ち用釘打機。
  4. 上記ノーズ部の前部には除針機構を設けたことを特徴とする、請求項1〜3のいずれかに記載のステープル打ち用釘打機。
JP2008187146A 2008-07-18 2008-07-18 ステープル打ち用釘打機 Active JP5125842B2 (ja)

Priority Applications (1)

Application Number Priority Date Filing Date Title
JP2008187146A JP5125842B2 (ja) 2008-07-18 2008-07-18 ステープル打ち用釘打機

Applications Claiming Priority (1)

Application Number Priority Date Filing Date Title
JP2008187146A JP5125842B2 (ja) 2008-07-18 2008-07-18 ステープル打ち用釘打機

Publications (2)

Publication Number Publication Date
JP2010023171A true JP2010023171A (ja) 2010-02-04
JP5125842B2 JP5125842B2 (ja) 2013-01-23

Family

ID=41729490

Family Applications (1)

Application Number Title Priority Date Filing Date
JP2008187146A Active JP5125842B2 (ja) 2008-07-18 2008-07-18 ステープル打ち用釘打機

Country Status (1)

Country Link
JP (1) JP5125842B2 (ja)

Families Citing this family (1)

* Cited by examiner, † Cited by third party
Publication number Priority date Publication date Assignee Title
DE3734279C1 (de) 1987-10-09 1989-03-23 Kannegiesser H Gmbh Co Vorrichtung zum Verbinden flaechenfoermiger Textilstuecke oder Materialbahnen

Citations (6)

* Cited by examiner, † Cited by third party
Publication number Priority date Publication date Assignee Title
JPH0343163A (ja) * 1989-06-19 1991-02-25 Duo Fast Corp ファスナー打込み工具
JPH1199486A (ja) * 1997-09-30 1999-04-13 Kanematsu Nissan Norin Kk ステープル打込機
JP2003263467A (ja) * 2002-03-11 2003-09-19 Matsushita Electric Ind Co Ltd 回路設計方法、リフロー炉運転方法、回路設計装置、基板設計装置および回路基板
US20060071047A1 (en) * 2004-10-06 2006-04-06 Stanley Fastening Systems, L.P. Variable outward clinch stapler
US20080023517A1 (en) * 2006-07-27 2008-01-31 Black & Decker Inc. Pusher bearing and pusher block for magazine feeder
JP2008068329A (ja) * 2006-09-12 2008-03-27 Hitachi Koki Co Ltd 留め具打込機

Patent Citations (6)

* Cited by examiner, † Cited by third party
Publication number Priority date Publication date Assignee Title
JPH0343163A (ja) * 1989-06-19 1991-02-25 Duo Fast Corp ファスナー打込み工具
JPH1199486A (ja) * 1997-09-30 1999-04-13 Kanematsu Nissan Norin Kk ステープル打込機
JP2003263467A (ja) * 2002-03-11 2003-09-19 Matsushita Electric Ind Co Ltd 回路設計方法、リフロー炉運転方法、回路設計装置、基板設計装置および回路基板
US20060071047A1 (en) * 2004-10-06 2006-04-06 Stanley Fastening Systems, L.P. Variable outward clinch stapler
US20080023517A1 (en) * 2006-07-27 2008-01-31 Black & Decker Inc. Pusher bearing and pusher block for magazine feeder
JP2008068329A (ja) * 2006-09-12 2008-03-27 Hitachi Koki Co Ltd 留め具打込機

Also Published As

Publication number Publication date
JP5125842B2 (ja) 2013-01-23

Similar Documents

Publication Publication Date Title
JP4348995B2 (ja) 釘打機における釘の打出し案内機構
JP2001293667A (ja) 釘打機のノーズ部に対する釘の案内構造
JP6183071B2 (ja) 打込み工具
JP4270238B2 (ja) ステープル打ち用釘打機
JP5125842B2 (ja) ステープル打ち用釘打機
JP5354839B2 (ja) フロア施工用釘打機
JP2008036756A5 (ja)
JP4752899B2 (ja) ステープル打ち用釘打機
JP4525585B2 (ja) フロア施工用釘打機の除釘機構
JP2009061555A (ja) 打込機
JP2009255272A (ja) 打ち込み工具
JP7367729B2 (ja) 打ち込み工具
JP5125844B2 (ja) ステープル打ち用釘打機
JP4941001B2 (ja) ステープル打ち込み用ドライバ
JP2008279572A (ja) 動力駆動釘打機
JP2592358Y2 (ja) ステープル打込み機におけるステープル打込み制御装置
JP4670703B2 (ja) 釘打機の釘送り機構
JP5138415B2 (ja) 打ち込み工具
JP5201402B2 (ja) 打込機
JP2006123064A (ja) 釘打機のマガジンにおける釘ガイド機構
JP5422933B2 (ja) 打込機
JP2004122319A (ja) 釘打機のマガジンユニット
JP2000202783A (ja) タッカ―
JP2008279571A (ja) 動力駆動釘打機
JP2002239942A (ja) 釘打機における連結釘供給機構

Legal Events

Date Code Title Description
A621 Written request for application examination

Free format text: JAPANESE INTERMEDIATE CODE: A621

Effective date: 20100922

A131 Notification of reasons for refusal

Free format text: JAPANESE INTERMEDIATE CODE: A131

Effective date: 20120717

A521 Written amendment

Free format text: JAPANESE INTERMEDIATE CODE: A523

Effective date: 20120906

TRDD Decision of grant or rejection written
A01 Written decision to grant a patent or to grant a registration (utility model)

Free format text: JAPANESE INTERMEDIATE CODE: A01

Effective date: 20121002

A01 Written decision to grant a patent or to grant a registration (utility model)

Free format text: JAPANESE INTERMEDIATE CODE: A01

A61 First payment of annual fees (during grant procedure)

Free format text: JAPANESE INTERMEDIATE CODE: A61

Effective date: 20121015

R150 Certificate of patent or registration of utility model

Free format text: JAPANESE INTERMEDIATE CODE: R150

Ref document number: 5125842

Country of ref document: JP

Free format text: JAPANESE INTERMEDIATE CODE: R150

FPAY Renewal fee payment (event date is renewal date of database)

Free format text: PAYMENT UNTIL: 20151109

Year of fee payment: 3