JP2010019720A - 反射膜用組成物、反射膜、およびx線検出器 - Google Patents
反射膜用組成物、反射膜、およびx線検出器 Download PDFInfo
- Publication number
- JP2010019720A JP2010019720A JP2008181122A JP2008181122A JP2010019720A JP 2010019720 A JP2010019720 A JP 2010019720A JP 2008181122 A JP2008181122 A JP 2008181122A JP 2008181122 A JP2008181122 A JP 2008181122A JP 2010019720 A JP2010019720 A JP 2010019720A
- Authority
- JP
- Japan
- Prior art keywords
- reflective film
- composition
- reflective
- film
- scintillator layer
- Prior art date
- Legal status (The legal status is an assumption and is not a legal conclusion. Google has not performed a legal analysis and makes no representation as to the accuracy of the status listed.)
- Granted
Links
Images
Classifications
-
- G—PHYSICS
- G01—MEASURING; TESTING
- G01T—MEASUREMENT OF NUCLEAR OR X-RADIATION
- G01T1/00—Measuring X-radiation, gamma radiation, corpuscular radiation, or cosmic radiation
- G01T1/16—Measuring radiation intensity
- G01T1/20—Measuring radiation intensity with scintillation detectors
- G01T1/2002—Optical details, e.g. reflecting or diffusing layers
-
- C—CHEMISTRY; METALLURGY
- C08—ORGANIC MACROMOLECULAR COMPOUNDS; THEIR PREPARATION OR CHEMICAL WORKING-UP; COMPOSITIONS BASED THEREON
- C08K—Use of inorganic or non-macromolecular organic substances as compounding ingredients
- C08K3/00—Use of inorganic substances as compounding ingredients
- C08K3/18—Oxygen-containing compounds, e.g. metal carbonyls
- C08K3/20—Oxides; Hydroxides
- C08K3/22—Oxides; Hydroxides of metals
-
- C—CHEMISTRY; METALLURGY
- C08—ORGANIC MACROMOLECULAR COMPOUNDS; THEIR PREPARATION OR CHEMICAL WORKING-UP; COMPOSITIONS BASED THEREON
- C08K—Use of inorganic or non-macromolecular organic substances as compounding ingredients
- C08K5/00—Use of organic ingredients
- C08K5/04—Oxygen-containing compounds
- C08K5/15—Heterocyclic compounds having oxygen in the ring
- C08K5/151—Heterocyclic compounds having oxygen in the ring having one oxygen atom in the ring
- C08K5/1515—Three-membered rings
-
- C—CHEMISTRY; METALLURGY
- C08—ORGANIC MACROMOLECULAR COMPOUNDS; THEIR PREPARATION OR CHEMICAL WORKING-UP; COMPOSITIONS BASED THEREON
- C08K—Use of inorganic or non-macromolecular organic substances as compounding ingredients
- C08K5/00—Use of organic ingredients
- C08K5/54—Silicon-containing compounds
- C08K5/541—Silicon-containing compounds containing oxygen
- C08K5/5435—Silicon-containing compounds containing oxygen containing oxygen in a ring
-
- C—CHEMISTRY; METALLURGY
- C09—DYES; PAINTS; POLISHES; NATURAL RESINS; ADHESIVES; COMPOSITIONS NOT OTHERWISE PROVIDED FOR; APPLICATIONS OF MATERIALS NOT OTHERWISE PROVIDED FOR
- C09D—COATING COMPOSITIONS, e.g. PAINTS, VARNISHES OR LACQUERS; FILLING PASTES; CHEMICAL PAINT OR INK REMOVERS; INKS; CORRECTING FLUIDS; WOODSTAINS; PASTES OR SOLIDS FOR COLOURING OR PRINTING; USE OF MATERIALS THEREFOR
- C09D5/00—Coating compositions, e.g. paints, varnishes or lacquers, characterised by their physical nature or the effects produced; Filling pastes
- C09D5/004—Reflecting paints; Signal paints
-
- C—CHEMISTRY; METALLURGY
- C09—DYES; PAINTS; POLISHES; NATURAL RESINS; ADHESIVES; COMPOSITIONS NOT OTHERWISE PROVIDED FOR; APPLICATIONS OF MATERIALS NOT OTHERWISE PROVIDED FOR
- C09D—COATING COMPOSITIONS, e.g. PAINTS, VARNISHES OR LACQUERS; FILLING PASTES; CHEMICAL PAINT OR INK REMOVERS; INKS; CORRECTING FLUIDS; WOODSTAINS; PASTES OR SOLIDS FOR COLOURING OR PRINTING; USE OF MATERIALS THEREFOR
- C09D7/00—Features of coating compositions, not provided for in group C09D5/00; Processes for incorporating ingredients in coating compositions
- C09D7/40—Additives
- C09D7/60—Additives non-macromolecular
- C09D7/61—Additives non-macromolecular inorganic
-
- C—CHEMISTRY; METALLURGY
- C09—DYES; PAINTS; POLISHES; NATURAL RESINS; ADHESIVES; COMPOSITIONS NOT OTHERWISE PROVIDED FOR; APPLICATIONS OF MATERIALS NOT OTHERWISE PROVIDED FOR
- C09D—COATING COMPOSITIONS, e.g. PAINTS, VARNISHES OR LACQUERS; FILLING PASTES; CHEMICAL PAINT OR INK REMOVERS; INKS; CORRECTING FLUIDS; WOODSTAINS; PASTES OR SOLIDS FOR COLOURING OR PRINTING; USE OF MATERIALS THEREFOR
- C09D7/00—Features of coating compositions, not provided for in group C09D5/00; Processes for incorporating ingredients in coating compositions
- C09D7/40—Additives
- C09D7/66—Additives characterised by particle size
- C09D7/67—Particle size smaller than 100 nm
-
- C—CHEMISTRY; METALLURGY
- C09—DYES; PAINTS; POLISHES; NATURAL RESINS; ADHESIVES; COMPOSITIONS NOT OTHERWISE PROVIDED FOR; APPLICATIONS OF MATERIALS NOT OTHERWISE PROVIDED FOR
- C09D—COATING COMPOSITIONS, e.g. PAINTS, VARNISHES OR LACQUERS; FILLING PASTES; CHEMICAL PAINT OR INK REMOVERS; INKS; CORRECTING FLUIDS; WOODSTAINS; PASTES OR SOLIDS FOR COLOURING OR PRINTING; USE OF MATERIALS THEREFOR
- C09D7/00—Features of coating compositions, not provided for in group C09D5/00; Processes for incorporating ingredients in coating compositions
- C09D7/40—Additives
- C09D7/66—Additives characterised by particle size
- C09D7/68—Particle size between 100-1000 nm
-
- C—CHEMISTRY; METALLURGY
- C09—DYES; PAINTS; POLISHES; NATURAL RESINS; ADHESIVES; COMPOSITIONS NOT OTHERWISE PROVIDED FOR; APPLICATIONS OF MATERIALS NOT OTHERWISE PROVIDED FOR
- C09D—COATING COMPOSITIONS, e.g. PAINTS, VARNISHES OR LACQUERS; FILLING PASTES; CHEMICAL PAINT OR INK REMOVERS; INKS; CORRECTING FLUIDS; WOODSTAINS; PASTES OR SOLIDS FOR COLOURING OR PRINTING; USE OF MATERIALS THEREFOR
- C09D7/00—Features of coating compositions, not provided for in group C09D5/00; Processes for incorporating ingredients in coating compositions
- C09D7/40—Additives
- C09D7/66—Additives characterised by particle size
- C09D7/69—Particle size larger than 1000 nm
Landscapes
- Chemical & Material Sciences (AREA)
- Organic Chemistry (AREA)
- Engineering & Computer Science (AREA)
- Life Sciences & Earth Sciences (AREA)
- Wood Science & Technology (AREA)
- Materials Engineering (AREA)
- Health & Medical Sciences (AREA)
- Polymers & Plastics (AREA)
- Medicinal Chemistry (AREA)
- Chemical Kinetics & Catalysis (AREA)
- Nanotechnology (AREA)
- Physics & Mathematics (AREA)
- General Physics & Mathematics (AREA)
- High Energy & Nuclear Physics (AREA)
- Molecular Biology (AREA)
- Spectroscopy & Molecular Physics (AREA)
- Inorganic Chemistry (AREA)
- Measurement Of Radiation (AREA)
- Compositions Of Macromolecular Compounds (AREA)
Abstract
【解決手段】ポリビニルアセタール樹脂、エポキシ化植物油、溶媒、カップリング剤、および酸化チタンを含むことを特徴とする、反射膜用組成物が提供される。
【選択図】図1
Description
以下、本発明の第1の実施の形態について説明する。本実施の形態における反射膜用組成物は、主に、ポリビニルアセタール樹脂、エポキシ化植物油、溶媒、カップリング剤、および酸化チタン等から構成されている。
ポリビニルアセタール樹脂としては、例えば、ポリビニルブチラール樹脂、ポリビニルホルマール樹脂、ポリビニルアセトアセタール樹脂、ポリビニルプロピアナール樹脂、ポリビニルヘキシラール樹脂等が挙げられる。これらの中でも、耐水性、成膜性の点からポリビニルブチラール樹脂が優れている。また、ポリビニルブチラール樹脂は、塗膜にクラックを生じ難く、高品位の反射膜を形成できる点においても優れている。
エポキシ化植物油としては、構造鎖中の飽和二重結合を内部エポキシ化したものが好ましい。具体的には、エポキシ化亜麻仁油、エポキシ化桐油、エポキシ化大豆油が特に好ましく、特に耐熱性、耐水性の点からエポキシ化亜麻仁油が好ましい。
溶媒はポリビニルアセタール樹脂、エポキシ化植物油を均一に溶解し、液状化させるものであればアルコール系、ケトン系、セルソルブ系、エステル系、アミド系、芳香族系、エーテル系などいかなるものも使用可能であるが、これらの中でも後述するシンチレータ層の水分による劣化を極力抑えるため、特に非水系溶媒が好ましい。具体的には、例えばシクロヘキサノン、メチルシクロヘキサノン、トルエン、キシレンなどが特に好ましく、また二種以上の溶媒を混合し、使用することも可能である。なお、成膜性、作業性から適宜選択して使用することができることは言うまでもない。
カップリング剤としては、例えばエポキシシランカップリング剤が挙げられる。エポキシシランカップリング剤としては、例えば2−(3,4−エポキシシクロヘキシル)エチルトリメトキシシラン、3−グリシジルオキシプロピル(ジメトキシ)メチルシラン、3−グリシジルオキシプロピルトリメトキシシラン、3−グリシジルオキシプロピルトリエトキシシラン、3−グリシジルオキシプロピルメチル締ジメトキシラン、ジエトキシ(3−グリシジルオキシプロピル)メチルシランなどが挙げられる。
酸化チタンは、光の反射性能を付与するためのものである。酸化チタンの結晶構造としては、ルチル型、アナターゼ型どちらでも使用できるが、樹脂の屈折率との比率が大きく、高輝度を達成できる点からルチル型が好ましい。
上記成分の他、発生する応力を低減させるため、本組成物の弾性率を下げる目的で熱性熱可塑性樹脂、ゴム成分、各種オリゴマーなどを添加してもよい。
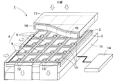
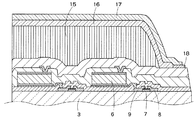
以下、本発明の第2の実施の形態について図面を参照しながら説明する。本実施の形態では、第1の実施の形態で説明した反射膜用組成物をX線検出器の反射膜に使用した例について説明する。図1は第2の実施の形態に係るX線検出器の模式的な構成図であり、図2は第2の実施の形態に係るX線検出器の縦断面図である。
(実施例1)
まず、攪拌装置を備え、かつシクロヘキサノン(関東化学(株)社製)が仕込まれているフラスコにポリビニルブチラール樹脂A(商品名「エスレックBH−S」:積水化学工業(株)社製、分子量6.6×104)を1/4に分けて投入し、600回転/分で分散させた。次いで、エポキシ化亜麻仁油A(商品名「O-180P」:ADEKA(株)社製、オキシラン酸素濃度9.1%)を添加し、60℃加熱混合により異物を確認して、透明な均一なバインダーを作製した。さらにルチル型の酸化チタンA(商品名「CR-50」:石原産業(株)社製、平均粒径0.25μm)、カップリング剤(商品名「Z-6040」:東レ・ダウコーニング社製、3−グリシドキシプロピルトリメトキシシラン)を添加し、自公転式混合機を用いて自転400回転/分、公転2000回転/分で、3分間均一に混合した。最後に、三本ロールにより、200回転/分で混合し、実施例1の反射膜用組成物を作製した。
実施例1と同様の手法により反射膜用組成物を作製した。ただし、実施例2、3においては、ブチラール樹脂Aおよびエポキシ化亜麻仁油Aの投入量を変更した。
実施例1と同様の手法により反射膜用組成物を作製した。ただし、実施例4においては、エポキシ化亜麻仁油Aの代わりにエポキシ化大豆油(商品名「O-130P」:ADEKA(株)社製、オキシラン酸素濃度6.9%)を用いた。
実施例1と同様の手法により反射膜用組成物を作製した。ただし、実施例5、6においては、エポキシ化亜麻仁油Aの代わりに実施例4と同じエポキシ化大豆油を用い、かつブチラール樹脂Aの投入量を変更した。
実施例1と同様の手法により反射膜用組成物を作製した。ただし、実施例7においては、ポリビニルブチラール樹脂Aの代わりにポリビニルブチラール樹脂B(商品名「エスレックBH−3」:積水化学工業(株)社製、分子量11×104)を用い、かつエポキシ化亜麻仁油Aの投入量を変更した。
実施例1と同様の手法により反射膜用組成物を作製した。ただし、実施例8においては、ポリビニルブチラール樹脂Aの代わりにポリビニルブチラール樹脂Bを用い、エポキシ化亜麻仁油Aの代わりに実施例4等と同じエポキシ化大豆油を用い、かつ酸化チタンAの代わりにルチル型の酸化チタンB(商品名「CR-60」:石原産業(株)社製、平均粒径0.21μm)を用いた。
実施例1と同様の手法により反射膜用組成物を作製した。ただし、実施例9においては、ポリビニルブチラール樹脂Aの代わりにポリビニルブチラール樹脂C(商品名「エスレックBL−1」:積水化学工業(株)社製、分子量1.9×104)を用い、かつエポキシ化亜麻仁油Aの投入量を変更した。
実施例1と同様の手法により反射膜用組成物を作製した。ただし、実施例10においては、エポキシ化亜麻仁油Aの代わりにエポキシ化亜麻仁油B(オキシラン酸素濃度2%)を用い、かつポリビニルブチラール樹脂Aの投入量を変更した。
実施例1と同様の手法により反射膜用組成物を作製した。ただし、比較例1においては、エポキシ化亜麻仁油Aのみならずエポキシ化植物油自体を投入しなかった。また、ポリビニルブチラール樹脂Aの投入量を変更した。
実施例1と同様の手法により反射膜用組成物を作製した。ただし、比較例2においては、エポキシ化亜麻仁油Aのみならずエポキシ化植物油自体を投入しなかった。また、ポリビニルブチラール樹脂Aの代わりにポリビニルブチラール樹脂Bを用いた。
(1)つぶゲージによる分散性評価
JIS K 5600に準じて、つぶゲージを用いて各組成物中の酸化チタンの分散状態を確認した。
E型粘度計(東機産業社製)を用いて、25℃における各組成物の粘度測定を行った。
平均粒子径は、レーザー回折法により測定した。具体的には、株式会社島津製作所製のSALD−DS21型測定装置(商品名)により、ヘキサン分散媒として測定した。
ガラス基板に各組成物を塗布して、塗膜を形成し、顕微鏡観察により各塗膜の表面を観察して、ボイドの発生、剥離箇所の発生の有無、塗膜の均一性を観察した。
ガラス基材に対する塗膜の密着性を評価するため、クロスカット法による密着性テストを行った。
塗膜の弾性率測定として、押し込み弾性率の測定をダイナミック超微小硬度計DUH-211S(島津製作所社製)を用いて試験モード負荷-除荷試験により、試験力200mNにおける弾性率を算出した。
プラスチック硬度計TYPE Aを用いて塗膜の表面硬度を測定した。
シリコンウェハにデイペンサーを用いて反射膜塗布エリア(70mm角)に実施例および比較例の各組成物を塗布し、乾燥させてから、膜厚130μmで基板のそりを表面粗さ計であるタリサーフにより測定した。
反射膜用組成物を25℃の状況下に放置して、初期粘度の2倍値となる日数を調べた。
ガラス基板上にCsI:TIから構成されたシンチレータ層を形成し、その上に実施例および比較例の各組成物からなる反射膜を形成した。そして、このような各サンプルの外観を観察した。
上記(10)で使用した各サンプルにおいて、ガラス基板側からシンチレータ層が剥離しているか否かを観察した。
ガラス基板上にCsI:TIから構成されたシンチレータ層を形成し、その上に実施例および比較例の各組成物を使用して反射膜を形成した。次いで、ガラス基板の周辺にディスペンサーを用いてシール剤を塗布して、その上から厚さ80μmのアルミニウム合金製のキャップを被せ、圧力20g/cm2、UV照射条件72mW/cm2、120秒により硬化を行った。なお、UV照射はガラス基板側から行った。最後に、80℃で1時間の熱処理を行い、X線検出器を模した簡易的なサンプルを作製した。
17インチのガラス基板(商品名「コーニング1737」:コーニング社製)上にシンチレータ層を形成し、その上に実施例および比較例の各組成物を使用して反射膜を形成した。このサンプルをそれぞれ20サンプルずつ作製し、信頼性試験としてX線曝射試験、冷熱衝撃試験、高温高湿試験を実施した。ここで、輝度及び解像度を測定して、増感紙に対する相対輝度2.0以下、解像度40%以下のサンプルを不良とした。
各サンプルに25000RのX線を照射し、特性変化から不良サンプルとなった個数を測定した。
−20℃で1時間放置する条件と、50℃で1時間(室温5分)放置する条件との間を行き来させる試験を、200サイクルまで行い、不良サンプルとなった個数を測定した。
60℃、湿度90%において1000時間後までに不良サンプルとなった個数を測定した。
Claims (11)
- ポリビニルアセタール樹脂、
エポキシ化植物油、
溶媒、
カップリング剤、および
酸化チタン
を含むことを特徴とする、反射膜用組成物。 - 前記エポキシ化植物油がエポキシ化亜麻仁油である、請求項1に記載の反射膜用組成物。
- 前記ポリビニルアセタール樹脂に対する前記エポキシ化亜麻仁油が30重量%以上の変性率を有する、請求項2に記載の反射膜用組成物。
- 前記エポキシ化亜麻仁油が5%以上のオキシラン酸素濃度を有する、請求項2または3に記載の反射膜用組成物。
- 前記ポリビニルアセタール樹脂がポリビニルブチラール樹脂である、請求項1ないし4のいずれか1項に記載の反射膜用組成物。
- 前記ポリビニルブチラール樹脂の重量平均分子量が3×104以上である、請求項5に記載の反射膜組成物。
- 前記カップリング剤がエポキシシランである、請求項1ないし6のいずれか1項に記載の反射膜用組成物。
- 前記酸化チタンの平均粒径が5μm以下である、請求項1ないし7のいずれか1項に記載の反射膜用組成物。
- 前記酸化チタンがルチル型の結晶構造を有する、請求項1ないし8のいずれか1項に記載の反射用組成物。
- 請求項1ないし9のいずれか1項に記載の反射用組成物を用いて形成されたことを特徴とする、反射膜。
- 基板と、
前記基板上に形成され、入射する光を信号電荷に変換する光電変換素子と、
前記光電変換素子上に形成され、入射するX線を蛍光に変換するシンチレータ層と、
前記シンチレータ層上に、請求項1ないし9のいずれか1項に記載の反射膜用組成物を用いて形成され、前記シンチレータ層から発せられた蛍光を反射する反射膜と
を具備することを特徴とする、X線検出器
Priority Applications (7)
| Application Number | Priority Date | Filing Date | Title |
|---|---|---|---|
| JP2008181122A JP4825848B2 (ja) | 2008-07-11 | 2008-07-11 | 反射膜用組成物、反射膜、およびx線検出器 |
| PCT/JP2009/062672 WO2010005100A1 (ja) | 2008-07-11 | 2009-07-13 | 反射膜用組成物、反射膜、およびx線検出器 |
| KR1020107025796A KR101226826B1 (ko) | 2008-07-11 | 2009-07-13 | 반사막용 조성물, 반사막 및 x선 검출기 |
| US13/003,711 US9158006B2 (en) | 2008-07-11 | 2009-07-13 | Composition for reflective film, reflective film, and X-ray detector |
| EP09794543.0A EP2306220B1 (en) | 2008-07-11 | 2009-07-13 | Composition for reflective film, reflective film, and x-ray detector |
| CN200980122304.2A CN102084268B (zh) | 2008-07-11 | 2009-07-13 | 反射膜用组合物、反射膜及x射线检测器 |
| US14/244,950 US9223032B2 (en) | 2008-07-11 | 2014-04-04 | Composition for reflective film, reflective film, and X-ray detector |
Applications Claiming Priority (1)
| Application Number | Priority Date | Filing Date | Title |
|---|---|---|---|
| JP2008181122A JP4825848B2 (ja) | 2008-07-11 | 2008-07-11 | 反射膜用組成物、反射膜、およびx線検出器 |
Publications (2)
| Publication Number | Publication Date |
|---|---|
| JP2010019720A true JP2010019720A (ja) | 2010-01-28 |
| JP4825848B2 JP4825848B2 (ja) | 2011-11-30 |
Family
ID=41507208
Family Applications (1)
| Application Number | Title | Priority Date | Filing Date |
|---|---|---|---|
| JP2008181122A Active JP4825848B2 (ja) | 2008-07-11 | 2008-07-11 | 反射膜用組成物、反射膜、およびx線検出器 |
Country Status (6)
| Country | Link |
|---|---|
| US (2) | US9158006B2 (ja) |
| EP (1) | EP2306220B1 (ja) |
| JP (1) | JP4825848B2 (ja) |
| KR (1) | KR101226826B1 (ja) |
| CN (1) | CN102084268B (ja) |
| WO (1) | WO2010005100A1 (ja) |
Cited By (6)
| Publication number | Priority date | Publication date | Assignee | Title |
|---|---|---|---|---|
| JP2011232224A (ja) * | 2010-04-28 | 2011-11-17 | Toshiba Corp | シンチレータ部材、放射線検出器及び放射線モニタ |
| KR101220224B1 (ko) | 2011-11-03 | 2013-01-21 | 에스케이씨 주식회사 | 반사율이 우수한 폴리비닐아세탈 필름 및 이의 제조방법 |
| WO2013080565A1 (ja) * | 2011-12-01 | 2013-06-06 | 株式会社 東芝 | シンチレータアレイとそれを用いたx線検出器およびx線検査装置 |
| JP2015001397A (ja) * | 2013-06-13 | 2015-01-05 | 株式会社東芝 | 放射線検出器及びその製造方法 |
| JP2017161407A (ja) * | 2016-03-10 | 2017-09-14 | コニカミノルタ株式会社 | シンチレータおよび放射線検出器 |
| WO2019244610A1 (ja) * | 2018-06-22 | 2019-12-26 | 富士フイルム株式会社 | 放射線検出器及び放射線画像撮影装置 |
Families Citing this family (10)
| Publication number | Priority date | Publication date | Assignee | Title |
|---|---|---|---|---|
| US8981306B2 (en) * | 2012-12-17 | 2015-03-17 | General Electric Company | Scintillator arrays and methods of making scintillator arrays |
| TW201438204A (zh) | 2013-03-19 | 2014-10-01 | Univ Nat Chiao Tung | 平板型x光偵測器的tft-pin陣列基板及組裝結構 |
| US20160163901A1 (en) * | 2014-12-08 | 2016-06-09 | Benjamin Ian Hsia | Laser stop layer for foil-based metallization of solar cells |
| JP2016128779A (ja) * | 2015-01-09 | 2016-07-14 | 株式会社東芝 | 放射線検出器及びその製造方法 |
| CN106147427A (zh) * | 2015-04-16 | 2016-11-23 | 深圳市通为信电路科技有限公司 | 反射层制备方法 |
| US9513383B1 (en) * | 2015-06-03 | 2016-12-06 | Perkinelmer Holdings, Inc. | Scintillator sealing with foil |
| JP2017161408A (ja) * | 2016-03-10 | 2017-09-14 | コニカミノルタ株式会社 | シンチレータ、シンチレータパネルおよび放射線画像変換パネル |
| JP6985882B2 (ja) * | 2017-10-13 | 2021-12-22 | 株式会社小糸製作所 | シンチレータ材料および放射線検出器 |
| CN110007332B (zh) * | 2019-04-28 | 2023-11-28 | 沈阳智核医疗科技有限公司 | 晶体阵列、探测器、医疗检测设备及晶体阵列的制造方法 |
| JP2022081177A (ja) * | 2020-11-19 | 2022-05-31 | キヤノン電子管デバイス株式会社 | 放射線検出パネル |
Citations (3)
| Publication number | Priority date | Publication date | Assignee | Title |
|---|---|---|---|---|
| JPS61221219A (ja) * | 1985-03-27 | 1986-10-01 | Toshiba Corp | 半導体装置封止用エポキシ樹脂組成物 |
| JP2005189234A (ja) * | 2003-11-20 | 2005-07-14 | Ge Medical Systems Global Technology Co Llc | 放射線検出器用のシンチレータ・アレイ及び製造方法 |
| JP2006028522A (ja) * | 1995-05-12 | 2006-02-02 | Asahi Denka Kogyo Kk | 光学的立体造形用樹脂組成物および光学的立体造形法 |
Family Cites Families (18)
| Publication number | Priority date | Publication date | Assignee | Title |
|---|---|---|---|---|
| JPS60149944A (ja) | 1984-01-17 | 1985-08-07 | Meidensha Electric Mfg Co Ltd | シヤシダイナモメ−タ |
| JP2883360B2 (ja) | 1989-08-21 | 1999-04-19 | 富士写真フイルム株式会社 | 感光材料の処理方法 |
| WO1996035756A1 (fr) * | 1995-05-12 | 1996-11-14 | Asahi Denka Kogyo Kabushiki Kaisha | Composition a base de resines stereolithographiques et procede de stereolithographie |
| JP3405706B2 (ja) | 1997-02-14 | 2003-05-12 | 浜松ホトニクス株式会社 | 放射線検出素子 |
| CN1133881C (zh) | 1997-02-14 | 2004-01-07 | 浜松光子学株式会社 | 放射线检测元件及其制造方法 |
| JP4150834B2 (ja) * | 1999-03-04 | 2008-09-17 | Jsr株式会社 | 感光性樹脂組成物、感光性樹脂膜およびこれらを用いたバンプ形成方法 |
| JP3734735B2 (ja) * | 2000-11-02 | 2006-01-11 | 株式会社リコー | 電子写真感光体 |
| TWI228639B (en) * | 2000-11-15 | 2005-03-01 | Vantico Ag | Positive type photosensitive epoxy resin composition and printed circuit board using the same |
| US20040157078A1 (en) * | 2001-01-25 | 2004-08-12 | Takahiro Yoshida | Polyvinyl acetal, polyvinyl acetal composition, ink coating material, dispersant, heat-developable photosensitive material,ceramic green sheet, primer for plastic lens, recording agent for water-based ink and adhesive for metal foil |
| US7029825B2 (en) * | 2001-09-05 | 2006-04-18 | Asahi Kasei Chemicals Corporation | Photosensitive resin compositive for printing plate precursor capable of laser engraving |
| WO2003067282A1 (en) * | 2002-02-08 | 2003-08-14 | Kabushiki Kaisha Toshiba | X-ray detector and method for producing x-ray detector |
| CN1937960A (zh) * | 2004-07-07 | 2007-03-28 | 株式会社东芝 | X-射线检查方法及x-射线检查装置 |
| KR101321838B1 (ko) * | 2005-07-20 | 2013-10-25 | 가부시키가이샤 아데카 | 알칼리현상형 감광성 착색조성물 |
| DE102005035421A1 (de) * | 2005-07-28 | 2007-02-08 | Siemens Ag | Formbares und aushärtendes Reflektormaterial mit erhöhter Reflektivität |
| US8790853B2 (en) * | 2006-03-01 | 2014-07-29 | Xerox Corporation | Charge generating composition |
| WO2008015889A1 (en) * | 2006-07-31 | 2008-02-07 | Konica Minolta Opto, Inc. | Process for producing optical film, optical film, and polarization plate or image display unit utilizing the same |
| CN101154550A (zh) * | 2006-09-29 | 2008-04-02 | 株式会社东芝 | 旋转阳极x-射线管组件 |
| JP2008224729A (ja) * | 2007-03-08 | 2008-09-25 | Ricoh Co Ltd | 画像形成装置、画像形成方法、及びプロセスカートリッジ |
-
2008
- 2008-07-11 JP JP2008181122A patent/JP4825848B2/ja active Active
-
2009
- 2009-07-13 US US13/003,711 patent/US9158006B2/en active Active
- 2009-07-13 WO PCT/JP2009/062672 patent/WO2010005100A1/ja not_active Ceased
- 2009-07-13 EP EP09794543.0A patent/EP2306220B1/en active Active
- 2009-07-13 KR KR1020107025796A patent/KR101226826B1/ko active Active
- 2009-07-13 CN CN200980122304.2A patent/CN102084268B/zh active Active
-
2014
- 2014-04-04 US US14/244,950 patent/US9223032B2/en active Active
Patent Citations (3)
| Publication number | Priority date | Publication date | Assignee | Title |
|---|---|---|---|---|
| JPS61221219A (ja) * | 1985-03-27 | 1986-10-01 | Toshiba Corp | 半導体装置封止用エポキシ樹脂組成物 |
| JP2006028522A (ja) * | 1995-05-12 | 2006-02-02 | Asahi Denka Kogyo Kk | 光学的立体造形用樹脂組成物および光学的立体造形法 |
| JP2005189234A (ja) * | 2003-11-20 | 2005-07-14 | Ge Medical Systems Global Technology Co Llc | 放射線検出器用のシンチレータ・アレイ及び製造方法 |
Cited By (9)
| Publication number | Priority date | Publication date | Assignee | Title |
|---|---|---|---|---|
| JP2011232224A (ja) * | 2010-04-28 | 2011-11-17 | Toshiba Corp | シンチレータ部材、放射線検出器及び放射線モニタ |
| KR101220224B1 (ko) | 2011-11-03 | 2013-01-21 | 에스케이씨 주식회사 | 반사율이 우수한 폴리비닐아세탈 필름 및 이의 제조방법 |
| WO2013080565A1 (ja) * | 2011-12-01 | 2013-06-06 | 株式会社 東芝 | シンチレータアレイとそれを用いたx線検出器およびx線検査装置 |
| US9217794B2 (en) | 2011-12-01 | 2015-12-22 | Kabushiki Kaisha Toshiba | Scintillator array, and X-ray detector and X-ray examination device using scintillator array |
| JP2015001397A (ja) * | 2013-06-13 | 2015-01-05 | 株式会社東芝 | 放射線検出器及びその製造方法 |
| JP2017161407A (ja) * | 2016-03-10 | 2017-09-14 | コニカミノルタ株式会社 | シンチレータおよび放射線検出器 |
| WO2019244610A1 (ja) * | 2018-06-22 | 2019-12-26 | 富士フイルム株式会社 | 放射線検出器及び放射線画像撮影装置 |
| JPWO2019244610A1 (ja) * | 2018-06-22 | 2021-07-08 | 富士フイルム株式会社 | 放射線検出器及び放射線画像撮影装置 |
| US11633162B2 (en) | 2018-06-22 | 2023-04-25 | Fujifilm Corporation | Radiation detector and radiographic imaging apparatus |
Also Published As
| Publication number | Publication date |
|---|---|
| EP2306220A1 (en) | 2011-04-06 |
| JP4825848B2 (ja) | 2011-11-30 |
| US20140217296A1 (en) | 2014-08-07 |
| EP2306220B1 (en) | 2017-08-23 |
| US20110114847A1 (en) | 2011-05-19 |
| CN102084268B (zh) | 2014-12-10 |
| CN102084268A (zh) | 2011-06-01 |
| KR20110008238A (ko) | 2011-01-26 |
| US9158006B2 (en) | 2015-10-13 |
| KR101226826B1 (ko) | 2013-01-25 |
| US9223032B2 (en) | 2015-12-29 |
| WO2010005100A1 (ja) | 2010-01-14 |
| EP2306220A4 (en) | 2014-04-16 |
Similar Documents
| Publication | Publication Date | Title |
|---|---|---|
| JP4825848B2 (ja) | 反射膜用組成物、反射膜、およびx線検出器 | |
| JP4886245B2 (ja) | 放射線検出器 | |
| EP2194401B1 (en) | Radiation detector and method for manufacturing the same | |
| US20080302970A1 (en) | Radiation ray detector | |
| TWI518352B (zh) | Radiation detector and manufacturing method thereof | |
| KR101302277B1 (ko) | 무기산화물 투명 분산액과 무기산화물 입자 함유 수지조성물, 발광소자 밀봉용 조성물 및 발광소자,하드코트막과 광학 기능막 및 광학 부품, 그리고무기산화물 입자 함유 수지 조성물의 제조 방법 | |
| US7982190B2 (en) | Radiation detector and method for producing the same | |
| KR101325812B1 (ko) | 방사선 검출기와 그 제조 방법 | |
| KR102702009B1 (ko) | 신틸레이터 패널, 방사선 검출기 및 신틸레이터 패널의 제조 방법 | |
| US20080290285A1 (en) | Scintillation panel and radiation detector | |
| TW201241466A (en) | Radiation detector | |
| JP2009235217A (ja) | エポキシ樹脂シール剤およびx線検出器 | |
| DE102006022138A1 (de) | Szintillatorplatte | |
| US11828889B2 (en) | Scintillator unit and radiation detector | |
| KR101216587B1 (ko) | 신틸레이터 패널 및 상기 패널을 포함하는 방사선 이미지 센서 | |
| KR102492247B1 (ko) | 센서 모듈 제조방법 및 이로부터 제조된 센서 모듈을 포함하는 x선 디텍터 | |
| WO2010087290A1 (ja) | 反射防止フィルム | |
| KR20190079566A (ko) | 우수한 방투습 성능을 갖는 유색 수지 조성물 | |
| JP2010123271A (ja) | 充填層用粘着性樹脂組成物、充填層用粘着テープ、及び有機el表示素子 | |
| KR20140078107A (ko) | 엑스레이 디텍터의 반사재 및 그 제조방법 |
Legal Events
| Date | Code | Title | Description |
|---|---|---|---|
| A621 | Written request for application examination |
Free format text: JAPANESE INTERMEDIATE CODE: A621 Effective date: 20110617 |
|
| TRDD | Decision of grant or rejection written | ||
| A01 | Written decision to grant a patent or to grant a registration (utility model) |
Free format text: JAPANESE INTERMEDIATE CODE: A01 Effective date: 20110812 |
|
| A01 | Written decision to grant a patent or to grant a registration (utility model) |
Free format text: JAPANESE INTERMEDIATE CODE: A01 |
|
| A61 | First payment of annual fees (during grant procedure) |
Free format text: JAPANESE INTERMEDIATE CODE: A61 Effective date: 20110912 |
|
| R150 | Certificate of patent or registration of utility model |
Ref document number: 4825848 Country of ref document: JP Free format text: JAPANESE INTERMEDIATE CODE: R150 Free format text: JAPANESE INTERMEDIATE CODE: R150 |
|
| FPAY | Renewal fee payment (event date is renewal date of database) |
Free format text: PAYMENT UNTIL: 20140916 Year of fee payment: 3 |
|
| S111 | Request for change of ownership or part of ownership |
Free format text: JAPANESE INTERMEDIATE CODE: R313117 |
|
| R350 | Written notification of registration of transfer |
Free format text: JAPANESE INTERMEDIATE CODE: R350 |
|
| S533 | Written request for registration of change of name |
Free format text: JAPANESE INTERMEDIATE CODE: R313533 |
|
| R350 | Written notification of registration of transfer |
Free format text: JAPANESE INTERMEDIATE CODE: R350 |
