JP2010019410A - 手動変速機付車両の制御装置 - Google Patents

手動変速機付車両の制御装置 Download PDF

Info

Publication number
JP2010019410A
JP2010019410A JP2008239473A JP2008239473A JP2010019410A JP 2010019410 A JP2010019410 A JP 2010019410A JP 2008239473 A JP2008239473 A JP 2008239473A JP 2008239473 A JP2008239473 A JP 2008239473A JP 2010019410 A JP2010019410 A JP 2010019410A
Authority
JP
Japan
Prior art keywords
shift
double clutch
determination
time
clutch operation
Prior art date
Legal status (The legal status is an assumption and is not a legal conclusion. Google has not performed a legal analysis and makes no representation as to the accuracy of the status listed.)
Granted
Application number
JP2008239473A
Other languages
English (en)
Other versions
JP4687764B2 (ja
Inventor
Tadanao Okubo
忠直 大久保
Current Assignee (The listed assignees may be inaccurate. Google has not performed a legal analysis and makes no representation or warranty as to the accuracy of the list.)
Toyota Motor Corp
Original Assignee
Toyota Motor Corp
Priority date (The priority date is an assumption and is not a legal conclusion. Google has not performed a legal analysis and makes no representation as to the accuracy of the date listed.)
Filing date
Publication date
Application filed by Toyota Motor Corp filed Critical Toyota Motor Corp
Priority to JP2008239473A priority Critical patent/JP4687764B2/ja
Priority to AT09251510T priority patent/ATE519050T1/de
Priority to EP09251510A priority patent/EP2133603B1/en
Publication of JP2010019410A publication Critical patent/JP2010019410A/ja
Application granted granted Critical
Publication of JP4687764B2 publication Critical patent/JP4687764B2/ja
Expired - Fee Related legal-status Critical Current
Anticipated expiration legal-status Critical

Links

Images

Classifications

    • FMECHANICAL ENGINEERING; LIGHTING; HEATING; WEAPONS; BLASTING
    • F16ENGINEERING ELEMENTS AND UNITS; GENERAL MEASURES FOR PRODUCING AND MAINTAINING EFFECTIVE FUNCTIONING OF MACHINES OR INSTALLATIONS; THERMAL INSULATION IN GENERAL
    • F16HGEARING
    • F16H63/00Control outputs from the control unit to change-speed- or reversing-gearings for conveying rotary motion or to other devices than the final output mechanism
    • F16H63/40Control outputs from the control unit to change-speed- or reversing-gearings for conveying rotary motion or to other devices than the final output mechanism comprising signals other than signals for actuating the final output mechanisms
    • F16H63/42Ratio indicator devices
    • FMECHANICAL ENGINEERING; LIGHTING; HEATING; WEAPONS; BLASTING
    • F16ENGINEERING ELEMENTS AND UNITS; GENERAL MEASURES FOR PRODUCING AND MAINTAINING EFFECTIVE FUNCTIONING OF MACHINES OR INSTALLATIONS; THERMAL INSULATION IN GENERAL
    • F16HGEARING
    • F16H59/00Control inputs to control units of change-speed- or reversing-gearings for conveying rotary motion
    • F16H59/50Inputs being a function of the status of the machine, e.g. position of doors or safety belts
    • F16H59/56Inputs being a function of the status of the machine, e.g. position of doors or safety belts dependent on signals from the main clutch

Landscapes

  • Engineering & Computer Science (AREA)
  • General Engineering & Computer Science (AREA)
  • Mechanical Engineering (AREA)
  • Control Of Transmission Device (AREA)
  • Arrangement And Mounting Of Devices That Control Transmission Of Motive Force (AREA)

Abstract

【課題】ダブルクラッチ操作に関連して発生する変速指示装置の誤点灯を防止する手動変速機付車両の電子制御装置を提供する。
【解決手段】
手動変速機18と、シフトレバーの変速操作を運転者に指示する変速指示装置43とを備えた手動変速機付車両の電子制御装置42であって、ダブルクラッチ操作を判定するダブルクラッチ操作判定手段68と、ダブルクラッチ操作が判定された場合には、変速指示装置43による指示出力を一時的に停止させる変速指示停止手段70とを含むことから、ダブルクラッチ操作に起因する変速指示器26のアップ指示灯38およびダウンシフト指示灯40の誤点灯の発生を抑制することができる。
【選択図】図3

Description

本発明は、シフトレバーの変速操作により変速段が切り換えられる手動変速機と、そのシフトレバーの変速操作を運転者に指示する変速指示装置とを備えた手動変速機付車両の制御装置に関し、特に、ダブルクラッチ操作時における上記変速指示装置の誤指示の発生を抑制する技術に関するものである。
クラッチペダルが操作されている間にシフトレバーによる変速操作が行われることで変速段が切り換えられる手動変速機と、予め記憶された関係から車両状態に基づいて目標ギヤ段を算出すると共に、手動変速機の入力軸回転速度と出力軸回転速度とに基づいて実際のギヤ段を判定し、目標ギヤ段と実際のギヤ段とが一致しない場合には、目標ギヤ段側へのシフトレバーの変速操作を運転者に指示する変速指示装置とを備えた手動変速機付車両の制御装置が知られている。例えば特許文献1に記載されたものがそれである。
特開2007−225096号公報
上記特許文献1に記載された変速指示装置は、車速とアクセル開度との予め設定された関係すなわち所謂変速線図に従って、運転者に対して変速操作を指示するようになっている。通常、上記変速線図は、自動車の性能を充分引き出しつつ燃費の良い状態で運転可能なように設定されている。そのため、上記変速指示装置によれば、運転者は、その変速指示装置の指示に従って上記シフトレバーの変速操作を行うことにより、自動車の性能を充分引き出しつつ燃費の良い状態で車両を運転することができる。
ところで、手動変速機を備えた車両では、変速に際して、1回目のクラッチペダルの踏込み時にシフトレバーをニュートラルポジションへ操作し、そのニュートラルポジションにてクラッチペダルを戻してクラッチを継合させた状態でアクセルペダルのあおり操作によってエンジン回転速度を適宜上昇させた後、再度クラッチペダルを踏み込んで所望の変速段に応じたシフトポジションへシフトレバーを操作し、再度クラッチペダルを戻してクラッチを継合させて変速を完了させる、所謂ダブルクラッチ操作が行われることがある。このダブルクラッチ操作を行うことにより、上記所望の変速段に応じたシフトポジションに切り換える時には、既に、手動変速機の入力軸回転速度と出力軸回転速度とが略同期状態にさせられており、上記所望の変速段に応じたシフトポジションにてクラッチを継合させる時には、既に、エンジン回転速度と手動変速機の入力軸回転速度とが略同期状態にさせられている。このため、シンクロ機構等の同期装置の負担を軽減させつつ、走行中の変速ショックを抑制させることが可能である。
しかしながら、前記従来の変速指示装置においては、上記ダブルクラッチ操作に起因して変速操作の誤指示が発生するという問題があった。すなわち、変速の途中において、ニュートラルポジションにてクラッチを継合させた状態でエンジン回転速度を上昇させるという所謂あおり操作によって、所定の車速に対してアクセル開度が瞬間的に変動させられるために、手動変速機の入力軸回転速度と出力軸回転速度とに基づいて実際のギヤ段を判定する形式の変速指示装置では、違和感のある指示を行う場合があった。
本発明は以上の事情を背景としてなされたものであり、その目的とするところは、ダブルクラッチ操作に関連する変速指示装置の誤指示の発生を抑制する手動変速機付車両の制御装置を提供することにある。
すなわち、請求項1にかかる発明の要旨とするところは、(1) クラッチペダルが操作されている間にシフトレバーによる変速操作が行われることで変速段が切り換えられる手動変速機と、前記シフトレバーの変速操作を運転者に指示する変速指示装置とを備えた手動変速機付車両の制御装置であって、(2) 前記運転者によるダブルクラッチ操作を判定するダブルクラッチ操作判定手段と、(3) そのダブルクラッチ操作判定手段によりダブルクラッチ操作が判定された場合には、前記変速指示装置による指示出力を一時的に停止させる変速指示停止手段とを、含むことにある。
また、請求項2にかかる発明の要旨とするところは、請求項1に係る発明において、前記変速指示装置は、前記手動変速機の入力軸回転速度と出力軸回転速度とに基づいて実際のギヤ段を算出するとともに、車速およびアクセル開度に基づいて要求ギヤ段を算出し、その実際のギヤ段をその要求ギヤ段とするための変速操作の指示を表示するものであることにある。
また、請求項3にかかる発明の要旨とするところは、請求項1または2に係る発明において、前記ダブルクラッチ操作判定手段は、前記クラッチペダルの踏込みおよび戻し操作直後にアクセルペダルのあおり操作があったことに基づいて、前記ダブルクラッチ操作を判定するものであることにある。
また、請求項4にかかる発明の要旨とするところは、請求項1または2に係る発明において、前記ダブルクラッチ操作判定手段は、前記クラッチペダルの踏込みおよび戻し操作後の予め設定された判定時間の間にアクセルペダルのあおり操作があったことに基づいて前記ダブルクラッチ操作を判定するものであって、そのダブルクラッチ操作が判定されるまでの時間が前記判定時間に比較して短い場合には、その判定時間を短くするように学習補正するものであることにある。
また、請求項5にかかる発明の要旨とするところは、請求項1または2に係る発明において、前記ダブルクラッチ操作判定手段は、前記クラッチペダルの踏込みおよび戻し操作後の予め設定された判定時間の間にアクセルペダルのあおり操作があったことに基づいて前記ダブルクラッチ操作を判定するものであって、所定時間内にそのダブルクラッチ操作が判定された回数が少ないほどその判定時間を短くするように学習補正するものであることにある。
また、請求項6にかかる発明の要旨とするところは、請求項4または5に係る発明において、車両のメインスイッチがオン操作またはオフ操作された場合に前記判定時間を予め設定された初期値に戻す判定時間初期化手段を備えることにある。
また、請求項7にかかる発明の要旨とするところは、請求項4乃至6のいずれか1に係る発明において、前記判定時間は、前記手動変速機の変速段毎に設定されるものであることにある。
また、請求項8にかかる発明の要旨とするところは、請求項2乃至7のいずれか1に係る発明において、前記変速指示停止手段は、前記ダブルクラッチ操作判定手段によって前記ダブルクラッチ操作が判定されてから所定時間の間、前記変速指示装置による実際のギヤ段の算出を中止させるものであることにある。
また、請求項9にかかる発明の要旨とするところは、請求項2乃至7のいずれか1に係る発明において、前記変速指示停止手段は、前記ダブルクラッチ操作判定手段によって前記ダブルクラッチ操作が判定されてから所定のアクセル操作が行われるまでの間、前記変速指示装置による実際のギヤ段の算出を中止させるものであることにある。
請求項1にかかる手動変速機付車両の制御装置によれば、クラッチペダルが操作されている間にシフトレバーによる変速操作が行われることで変速段が切り換えられる手動変速機と、前記シフトレバーの変速操作を運転者に指示する変速指示装置とを備えた手動変速機付車両の制御装置であって、前記運転者によるダブルクラッチ操作を判定するダブルクラッチ操作判定手段と、そのダブルクラッチ操作判定手段によりダブルクラッチ操作が判定された場合には、前記変速指示装置による指示出力を一時的に停止させる変速指示停止手段とを、含むことから、ダブルクラッチ操作に関連する変速指示装置の誤指示の発生を抑制することができる。
また、請求項2にかかる手動変速機付車両の制御装置によれば、前記変速指示装置は、前記手動変速機の入力軸回転速度と出力軸回転速度とに基づいて実際のギヤ段を算出するとともに、車速およびアクセル開度に基づいて要求ギヤ段を算出し、その実際のギヤ段をその要求ギヤ段とするための変速操作の指示を表示するものであることから、ダブルクラッチ操作に関連して実際のギヤ段を要求ギヤ段とするための変速操作の誤指示が発生することを抑制することができる。
また、請求項3にかかる手動変速機付車両の制御装置によれば、前記ダブルクラッチ操作判定手段は、前記クラッチペダルの踏込みおよび戻し操作直後にアクセルペダルのあおり操作があったことに基づいて、前記ダブルクラッチ操作を判定するものであることから、変速の途中において、ニュートラルポジションにてクラッチを継合させた状態でエンジン回転速度を上昇させるという所謂あおり操作によって、所定の車速に対してアクセル開度が瞬間的に変動させられることによる変速指示装置の違和感のある指示の発生を抑制することができる。
また、請求項4にかかる手動変速機付車両の制御装置によれば、前記ダブルクラッチ操作判定手段は、前記クラッチペダルの踏込みおよび戻し操作後の予め設定された判定時間の間にアクセルペダルのあおり操作があったことに基づいて前記ダブルクラッチ操作を判定するものであって、そのダブルクラッチ操作が判定されるまでの時間が前記判定時間に比較して短い場合には、その判定時間を短くするように学習補正するものであることから、判定時間が不必要に長く設定されることがなくなるので、ダブルクラッチ操作中のあおり操作に起因する変速指示装置の誤指示の発生を抑制しつつ、変速操作指示が停止される時間を短くすることができる。特に、通常操作におけるあおり操作によって、ダブルクラッチ操作が判定されて変速操作指示が停止されることが好適に抑制できる。
また、請求項5にかかる手動変速機付車両の制御装置によれば、前記ダブルクラッチ操作判定手段は、前記クラッチペダルの踏込みおよび戻し操作後の予め設定された判定時間の間にアクセルペダルのあおり操作があったことに基づいて前記ダブルクラッチ操作を判定するものであって、所定時間内にそのダブルクラッチ操作が判定された回数が少ないほどその判定時間を短くするように学習補正するものであることから、判定時間が不必要に長く設定されることがなくなるので、ダブルクラッチ操作中のあおり操作に起因する変速指示装置の誤指示の発生を抑制しつつ、変速操作指示が停止される時間を短くすることができる。
また、請求項6にかかる手動変速機付車両の制御装置によれば、車両のメインスイッチがオン操作またはオフ操作された場合に前記判定時間を予め設定された初期値に戻す判定時間初期化手段を備えることから、運転者の個性や走行条件、あるいは環境等に応じて判定時間が改めて設定されることにより判定時間が不必要に長く設定されることがなくなるので、ダブルクラッチ操作中のあおり操作に起因する変速指示装置の誤指示の発生を抑制しつつ、変速操作指示が停止される時間を好適に短くすることができる。
また、請求項7にかかる手動変速機付車両の制御装置によれば、前記判定時間は、前記手動変速機の変速段毎に設定されるものであることから、変速段に応じて判定時間が設定されることにより判定時間が不必要に長く設定されることがなくなるので、ダブルクラッチ操作中のあおり操作に起因する変速指示装置の誤指示の発生を抑制しつつ、変速操作指示が停止される時間を好適に短くすることができる。
また、請求項8にかかる手動変速機付車両の制御装置によれば、前記変速指示停止手段は、前記ダブルクラッチ操作判定手段によって前記ダブルクラッチ操作が判定されてから所定時間の間、前記変速指示装置による実際のギヤ段の算出を中止させるものであることから、ダブルクラッチ操作が判定されてから所定時間の間、変速指示装置による指示出力が一次的に停止させられるので、ダブルクラッチ操作に関連する変速指示装置の誤指示の発生を抑制することができる。
また、請求項9にかかる手動変速機付車両の制御装置によれば、前記変速指示停止手段は、前記ダブルクラッチ操作判定手段によって前記ダブルクラッチ操作が判定されてから所定のアクセル操作が行われるまでの間、前記変速指示装置による実際のギヤ段の算出を中止させるものであることから、ダブルクラッチ操作が判定されてから所定のアクセル操作すなわちアクセルペダルによる加速操作が行われるまでの間、変速指示装置による指示出力が一次的に停止させられるので、ダブルクラッチ操作に関連する変速指示装置の誤指示の発生を抑制することができる。
ここで、前記車両のメインスイッチとは、車両の制御装置に電源を供給して作動可能状態にしたり(オン操作)、その制御装置への電源の供給を遮断して制御装置を作動不可能状態にしたり(オフ操作)するスイッチであって、例えばエンジン駆動車両におけるイグニッションスイッチなどに相当するものである。オン操作するスイッチとオフ操作するスイッチとを別々に設けることもできる。
以下、本発明の一実施例を図面を参照して詳細に説明する。なお、以下の実施例において図は適宜簡略化或いは変形されており、各部の寸法比および形状等は必ずしも正確に描かれていない。
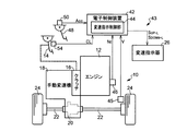
図1は、本発明の一実施例が適用された車両の動力伝達機構10およびその車両に設けられた制御系統を示す図である。図1において、動力伝達機構10は、FF(フロントエンジン・フロントドライブ)車両用のものであり、走行用の動力源としてのエンジン12と、クラッチペダル14が踏込み操作されることでエンジン12と後述の手動変速機18との間の動力伝達を遮断するクラッチ16と、クラッチペダル14が操作されている間に図示しないシフトレバーによる変速操作が行われることで変速段を切り換える手動変速機18と、回転差を許容しつつ左右一対の駆動軸22を回転駆動する差動歯車装置20と、一対の駆動軸22と、一対の駆動輪(前輪)24とを備えている。エンジン16で発生された動力は、クラッチ16、手動変速機18、差動歯車装置20、および一対の駆動軸22をそれぞれ介して、一対の駆動輪24へそれぞれ伝達される。
変速指示器26は、運転席の近傍に設けられ、運転者に対する前記シフトレバーによる変速操作の指示を表示するものである。図2は、図1の変速指示器26を含む表示器28を示す図である。図2に示すように、表示器28は、上記変速指示器26の他に、車速V[km/h]を表示する速度計(スピードメータ)30、エンジン回転速度N[rpm]を表示する回転速度計(タコメータ)32、燃料メータ34、および水温メータ36等を備えている。
変速指示器26は、運転者に対してアップシフトを指示するために後述の電子制御装置42からのアップシフト指示信号SUP−Lの供給に応じて点灯させられる、運転者から見て上方向すなわち図2の紙面の上方向に一角が向けられた三角形状のアップシフト指示灯38と、運転者に対してダウンシフトを指示するために後述の電子制御装置42からのダウンシフト指示信号SDOWN−Lの供給に応じて点灯させられる、運転者から見て下方向すなわち図2の紙面の下方向に一角が向けられた三角形状のダウンシフト指示灯40とを備えている。なお、アップシフト指示灯38およびダウンシフト指示灯40が両方とも消灯している場合は、運転者に対して現在の変速段の維持を指示していることを意味する。上記アップシフト指示灯38およびダウンシフト指示灯40は、例えば、電流を流すと発光する半導体素子すなわち発光ダイオード(LED:Light Emitting Diode)により構成される。
図1に戻って、電子制御装置(制御装置)42は、手動変速機18と、変速指示器26を有して前記シフトレバーの変速操作を運転者に指示する変速指示装置(GSI)43とを備えた手動変速機付車両の制御装置として機能するものである。すなわち、電子制御装置42は、CPU、RAM、ROM、入出力インターフェイス等を備えた所謂マイクロコンピュータを含んで構成されており、RAMの一時記憶機能を利用しつつ予めROMに記憶されたプログラムに従って信号処理を行うことにより、エンジン12の出力制御や変速指示器26のアップシフト指示灯38およびダウンシフト指示灯40の点灯を制御する変速指示制御等を実行するようになっている。本実施例における電子制御装置42は、上記変速指示制御用としての変速指示制御部44を含んで構成されている。
上記変速指示装置43は、変速指示器26および変速指示制御部44を備えており、手動変速機18の入力軸回転速度に対応するエンジン回転速度Nと、手動変速機18の出力軸回転速度に対応する車速Vとに基づいて実際のギヤ段すなわち実ギヤ段GREALを算出するとともに、車速Vおよびアクセル開度Accに基づいて要求ギヤ段(目標ギヤ段)GREQUESTを算出し、実ギヤ段GREALを要求ギヤ段GREQUESTとするための変速操作の指示を表示するものである。
図1に示すように、電子制御装置42には、車速Vを検出する車速センサ45、エンジン12のエンジン回転速度Nを検出するエンジン回転速度センサ46、アクセルペダル48の操作量すなわちアクセル開度Acc[%]を検出するアクセル開度センサ50、およびクラッチペダル14が操作されたことを表すクラッチ操作信号CLを検出するクラッチスイッチ54等から、車速V、エンジン回転速度N、アクセル開度Acc、クラッチ操作信号CL等を表す信号が供給される。
また、電子制御装置42からは、アップシフト指示灯38を点灯するためのアップシフト指示信号SUP−Lあるいはダウンシフト指示灯40を点灯するためのダウンシフト指示信号SDOWN−Lなどが出力される。
図3は、変速指示制御部44を含む電子制御装置42の制御機能の要部を説明する機能ブロック線図である。図3において、要求ギヤ段算出手段60は、例えば図4に示すような車速軸とアクセル開度軸との二次元座標内において設定された複数本の変速線から構成される予め記憶された変速線図(変速マップ)から、実際の車速Vおよびアクセル開度Accに基づいて手動変速機18が変速すべき要求ギヤ段GREQUESTを算出する。上記変速線図は、自動車の性能を充分引き出しつつ燃費の良い状態で運転可能なように、予め実験的に求められたものである。なお、要求ギヤ段GREQUESTの算出は、スロットル弁開度や吸入空気量や路面勾配などに基づいて行われる等、種々の態様が可能である。
図4において、点線で示す減速側変速線(ダウンシフト線)は、減速側への変速タイミングを規定するものであり、各ギヤ段間毎に定められている。すなわち、実際の車速Vおよびアクセル開度Accに基づいて変速線図上で特定される車両状態を示す位置が、減速側変速線の右側の領域から左側の領域へ移動すると、要求ギヤ段算出手段60は、減速側へ変速すべきであると判定し、その減速側変速線に対応するギヤ段を要求ギヤ段GREQUESTとする。具体的には、上記実際の車速Vおよびアクセル開度Accに基づいて変速線図上で特定される位置が、例えば図4のうちの2→1変速線を右から左へ横切ると、要求ギヤ段算出手段60は、第2ギヤ段から第1ギヤ段へ変速すべきであると判定し、第1ギヤ段を要求ギヤ段GREQUESTとする。なお、上記変速線図上で特定される位置が、3→2変速線、4→3変速線、5→4変速線、または6→5変速線を右から左へ横切ると、要求ギヤ段算出手段60は、第2ギヤ段、第3ギヤ段、第4ギヤ段、または第5ギヤ段を要求ギヤ段GREQUESTとする。
また、図4において、実線で示す増速側変速線(アップシフト線)は、増速側への変速タイミングを規定するものであり、各ギヤ段間毎に定められている。すなわち、実際の車速Vおよびアクセル開度Accに基づいて変速線図上で特定される車両状態を示す位置が、増速側変速線の左側の領域から右側の領域へ移動すると、要求ギヤ段算出手段60は、増速側へ変速すべきであると判定し、その増速側変速線に対応するギヤ段を要求ギヤ段GREQUESTとする。具体的には、上記実際の車速Vおよびアクセル開度Accに基づいて変速線図上で特定される位置が、例えば図4のうちの1→2変速線を左から右へ横切ると、要求ギヤ段算出手段60は、第1ギヤ段から第2ギヤ段へ変速すべきであると判定し、第2ギヤ段を要求ギヤ段GREQUESTとする。なお、上記変速線図上で特定される位置が、2→3変速線、3→4変速線、4→5変速線、または5→6変速線を左から右へ横切ると、要求ギヤ段算出手段60は、第3ギヤ段、第4ギヤ段、第5ギヤ段、または第6ギヤ段を要求ギヤ段GREQUESTとする。
図3に戻って、実ギヤ段算出手段62は、例えば図5に示すようなエンジン回転速度軸とNVR軸との二次元座標内において設定された複数の判定領域から構成される予め記憶された関係、すなわち実ギヤ段算出マップから、実際のエンジン回転速度Nおよび車速Vに基づいて手動変速機18の実際のギヤ段すなわち実ギヤ段GREALを算出する。図5において、横軸は、エンジン回転速度Nを示しており、縦軸は、エンジン回転速度Nを車速Vで除した値すなわちNVR値を示している。また、上記関係は、予め実験的に求められたものである。なお、エンジン回転速度Nおよび車速Vは、それぞれ手動変速機18の入力軸回転速度および出力軸回転速度に対応しており、実ギヤ段算出手段62は、上記入力軸回転速度および出力軸回転速度をパラメータとして予め記憶された関係(マップ)から、実際の手動変速機18の入力軸回転速度および出力軸回転速度に基づいて実ギヤ段GREALを算出する等、種々の態様が可能である。
図5に示す実ギヤ段算出マップにおいて、前記複数の判定領域は、各ギヤ段毎に定められている。実際のエンジン回転速度Nおよび車速Vに基づいて実ギヤ段算出マップ上で特定される位置が、例えば上記複数の判定領域のうちの第1ギヤ段判定領域内にあれば、実ギヤ段算出手段62は、手動変速機18の実ギヤ段GREALが第1ギヤ段であると判定し、第1ギヤ段を実ギヤ段GREALとする。また、上記実ギヤ段算出マップ上で特定される位置が、第2ギヤ段判定領域内、第3ギヤ段判定領域内、第4ギヤ段判定領域内、第5ギヤ段判定領域内、または第6ギヤ段判定領域内にあれば、実ギヤ段算出手段62は、第2ギヤ段、第3ギヤ段、第4ギヤ段、第5ギヤ段、または第6ギヤ段を実ギヤ段GREALとする。なお、図5の実ギヤ段算出マップでは、第1ギヤ段判定領域および第2ギヤ段判定領域を示しており、第3ギヤ段判定領域乃至第6ギヤ段判定領域の図示が省略されている。
図3に戻って、変速指示判定手段64は、要求ギヤ段算出手段60にて算出された要求ギヤ段GREQUESTおよび実ギヤ段算出手段62にて算出された実ギヤ段GREALに基づいて、予め定められた関係から、変速指示器26に対して所定信号の出力を行うか否かを判定する。上記所定信号には、アップシフト指示灯を点灯するためのアップシフト指示信号SUP−Lまたはダウンシフト指示灯を点灯するためのダウンシフト指示信号SDOWN−Lが相当する。具体的には、変速指示判定手段64は、実ギヤ段GREALが要求ギヤ段GREQUESTに比較して小さい場合、変速指示器26に対してアップシフト指示信号SUP−Lを出力する。また、変速指示判定手段64は、実ギヤ段GREALが要求ギヤ段GREQUESTに比較して大きい場合、変速指示器26に対してダウンシフト指示信号SDOWN−Lを出力する。また、変速指示判定手段64は、実ギヤ段GREALが要求ギヤ段GREQUESTと同じである場合、変速指示器26に対してアップシフト指示信号SUP−Lおよびダウンシフト指示信号SDOWN−Lを出力しない。これにより、アップシフト指示灯およびダウンシフト指示灯が両方とも消灯させられる。また、変速指示判定手段64は、実ギヤ段GREALまたは要求ギヤ段GREQUESTの少なくとも一方が不定である場合、変速指示器26に対してアップシフト指示信号SUP−Lおよびダウンシフト指示信号SDOWN−Lを出力しない。これにより、実ギヤ段GREALまたは要求ギヤ段GREQUESTの少なくとも一方が不定である間は、変速指示器26による指示出力が一時的に停止させられる。
クラッチ操作判定手段66は、クラッチ操作信号CLの有無に基づいて、クラッチ16の継合状態を判定する。すなわち、クラッチ操作判定手段66は、クラッチ操作信号CLがクラッチスイッチ54から出力されたことに基づいて、クラッチ16が遮断状態にあると判定し、クラッチ操作信号CLがクラッチスイッチ54から出力されていないことに基づいて、クラッチ16が継合状態にあると判定する。
ダブルクラッチ操作判定手段68は、クラッチペダル14の踏込みおよび戻し操作直後にアクセルペダル48のあおり操作があったことに基づいて、ダブルクラッチ操作の開始を判定する。具体的には、ダブルクラッチ操作判定手段68は、クラッチ操作判定手段66によりクラッチ16が遮断状態から継合状態へ切り換えられたと判定された時から、第1待機時間T1[s]が経過する間に、上記アクセルペダル48のあおり操作があった場合に、ダブルクラッチ操作が行われたと判定する。上記第1待機時間T1は、例えば1[s]程度に設定される。また、上記あおり操作とは、一定時間内にアクセルペダル48が急開操作された後に急閉操作される操作のことである。本実施例のダブルクラッチ操作判定手段68では、アクセル開度センサ50から出力されるアクセル開度Accの一定時間あたりの増減量により算出されるアクセル開速度VACCに基づいて、一定値以上の正のアクセル開速度VACCが検出された後に、一定値以上の負のアクセル開速度VACCが検出された場合に、あおり操作があったと判定する。
変速指示停止手段70は、ダブルクラッチ操作判定手段68によってダブルクラッチ操作が判定されてから、第2待機時間(所定時間)T2[s]が経過するかあるいは所定のアクセル操作が行われるまで、実ギヤ段算出手段62による実ギヤ段GREALの算出、および要求ギヤ段算出手段60による要求ギヤ段GREQUESTの算出を中止させ、それらの実ギヤ段GREALおよび要求ギヤ段GREQUESTを不定とするものである。上記所定のアクセル操作とは、アクセルペダルによる加速操作のことであり、例えば1[s]程度の所定時間の間、アクセルペダル48が踏込み操作され続ける操作のことである。変速指示停止手段70により実ギヤ段GREALおよび要求ギヤ段GREQUESTが不定とされた場合には、前述のように、前記変速指示判定手段64により変速指示器26に対してアップシフト指示信号SUP−Lおよびダウンシフト指示信号SDOWN−Lが出力されない。このため、変速指示停止手段70は、ダブルクラッチ操作判定手段68によりダブルクラッチ操作が判定された場合には、変速指示装置43による指示出力を一時的に停止させるものである。
図6および図7は、電子制御装置42の信号処理によって実行される制御作動の要部を説明するフローチャートである。これらのフローチャートは、実ギヤ段GREALを要求ギヤ段GREQUESTとするためのシフトレバーの変速操作を指示する一連の手順であって、たとえば数msec〜数十msecの所定の周期ごとにそれぞれのルーチンが同時並行にて繰り返し実行される。
先ず、図6について説明する。図6において、先ず、クラッチ操作判定手段66に対応するステップS1(以下、ステップを省略する)では、クラッチ16が遮断状態から継合状態へ切り換えられたか否かが判定される。
S1の判断が否定される場合には、S1以下が繰り返し実行されるが、肯定される場合には、ダブルクラッチ操作判定手段68に対応するS2において、T1タイマのタイムカウントが開始される。
次いで、ダブルクラッチ操作判定手段68に対応するS3では、クラッチ16が遮断状態から継合状態へ切り換えられた時点から、第1待機時間T1が未経過であるか否か、すなわちT1タイマのタイムカウント値が第1待機時間T1以下であるか否かが判定される。
S3の判断が否定される場合には、後述のS9が実行されるが、肯定される場合には、ダブルクラッチ操作判定手段68に対応するS4において、あおり操作があったか否かが判定される。本実施例では、アクセル開度センサ50から出力されるアクセル開度Accの一定時間あたりの増減量により算出されるアクセル開速度VACCに基づいて、一定以上の正のアクセル開速度VACCが検出された後に、一定以上の負のアクセル開速度VACCが検出された場合に、S4の判定が肯定される。
S4の判断が否定される場合には、S3以下が繰り返し実行されるが、肯定される場合には、変速指示停止手段70に対応するS5において、T2タイマのタイムカウントが開始される。
次いで、変速指示停止手段70に対応するS6では、実ギヤ段GREALおよび要求ギヤ段GREQUESTの算出を中止するためにフラグFが1とされ、上記実ギヤ段GREALおよび要求ギヤ段GREQUESTが不定とされる。
次いで、クラッチ操作判定手段66に対応するS7では、クラッチ16が継合状態であるか否かが判定される。
S7の判断が否定される場合には、S1以下が繰り返し実行されるが、肯定される場合には、変速指示停止手段70に対応するS8において、あおり操作があったと判定された時点からアクセルペダル48が1[s]以上踏込み操作されたか或いはT2タイマのタイムカウント値が第2待機時間T2以上であるか否かが判定される。
S8の判断が否定される場合には、S6以下が繰り返し実行されるが、S8の判断が肯定される場合またはS3の判断が否定される場合には、変速指示停止手段70に対応するS9において、実ギヤ段算出を復帰させるためにフラグFが0とされ、T1タイマおよびT2タイマがリセットされて、本ルーチンは終了させられる。
続いて、図7について説明する。図7において、先ず、変速指示判定手段64に対応するS10では、実ギヤ段GREALおよび要求ギヤ段GREQUESTの算出を中止するためにフラグFが1とされたか否かが判定される。ここで、フラグFが1であることと、実ギヤ段GREALあるいは要求ギヤ段GREQUESTが不定であることは同義である。
S10の判断が肯定される場合には、後述のS16が実行されるが、否定される場合には、実ギヤ段算出手段62に対応するS11において、図5に示すような予め記憶された実ギヤ段算出マップから、実際のエンジン回転速度Nおよび車速Vに基づいて手動変速機18の実際のギヤ段すなわち実ギヤ段GREALが算出される。
次いで、要求ギヤ段算出手段60に対応するS12において、図4に示すような予め記憶された変速線図から、実際の車速Vおよびアクセル開度Accに基づいて手動変速機18が変速すべき要求ギヤ段GREQUESTが算出される。
次いで、変速指示判定手段64に対応するS13において、S11にて算出された要求ギヤ段GREQUESTおよびS12にて算出された実ギヤ段GREALの大小関係が、3つの場合すなわちCASE1、CASE2、またはCASE3のいずれであるかが判断される。すなわち、実ギヤ段GREALが要求ギヤ段GREQUESTに比較して小さい場合は、CASE1であると判断される。また、実ギヤ段GREALが要求ギヤ段GREQUESTに比較して大きい場合は、CASE2であると判断される。また、実ギヤ段GREALが要求ギヤ段GREQUESTと同じである場合は、CASE3であると判断される。
S13においてCASE1であると判断されたときには、変速指示判定手段64に対応するS14において、変速指示器26に対してアップシフト指示信号SUP−Lが出力され、アップシフト指示灯が点灯させられて、本ルーチンが終了させられる。
S13においてCASE2であると判断されたときには、変速指示判定手段64に対応するS15において、変速指示器26に対してダウンシフト指示信号SDOWN−Lが出力され、ダウンシフト指示灯が点灯させられて、本ルーチンが終了させられる。
S13においてCASE3であると判断されたとき、またはS10における判定が肯定されたときには、変速指示判定手段64に対応するS16において、変速指示器26に対してアップシフト指示信号SUP−Lおよびダウンシフト指示信号SDOWN−Lが出力されず、アップシフト指示灯およびダウンシフト指示灯が共に消灯させられて、本ルーチンが終了させられる。
図8は、図6に示す電子制御装置42の制御作動を説明するタイムチャートであり、ダブルクラッチ操作が実施される際のクラッチ操作信号CL、エンジン回転速度N、およびアクセル開度Accの一例を時系列的に示す図である。図8において、横軸は、時間t[s]を示しており、t1時点は、クラッチペダル14が踏込み操作されてクラッチ16が遮断状態にされた時点を示している。これにより、クラッチスイッチ54からクラッチ操作信号CLが出力され、エンジン回転速度Nがアイドリング時のエンジン回転速度NE−IDLE付近まで低下させられている。なお、t1時点からt2時点までの間において、シフトレバーが、動力伝達経路を遮断するニュートラルポジションに対応するN位置に操作される。
t2時点は、クラッチペダル14が戻し操作されてクラッチ16が継合状態にされた時点を示している。これにより、クラッチスイッチ54からのクラッチ操作信号CLの出力が停止され、エンジン回転速度Nが所定の回転速度まで上昇させられている。このt2時点において、図6のS1の判定が肯定され、その直後に図6のS2乃至S4が速やかに実施される。t6時点は、t2時点から第1待機時間T1が経過した時点を示しており、t2時点からt6時点直前までの間は、図6のS3の判定が肯定される。
t3時点からt4時点までは、アクセルペダル48が急開操作された後に急閉操作される所謂あおり操作が行われている時点を示している。すなわち、t3時点は、上記アクセルペダル48の急開操作が開始された時点を示しており、t4時点は、上記アクセルペダル48の急閉操作が終了した時点を示している。このあおり操作に伴って、適宜エンジン回転速度Nが上昇させられている。本例では、t4時点において図6のS4の判定が肯定されており、その直後に図6のS5乃至S7が速やかに実施される。t5時点は、クラッチペダル14の2回目の操作が開始される時点を示している。
上述のように、本実施例の電子制御装置42によれば、クラッチペダル14が操作されている間にシフトレバーによる変速操作が行われることで変速段が切り換えられる手動変速機18と、前記シフトレバーの変速操作を運転者に指示する変速指示装置43とを備えた手動変速機付車両の電子制御装置42であって、前記運転者によるダブルクラッチ操作を判定するダブルクラッチ操作判定手段68と、そのダブルクラッチ操作判定手段68によりダブルクラッチ操作が判定された場合には、変速指示装置43による指示出力を一時的に停止させる変速指示停止手段70とを、含むことから、ダブルクラッチ操作に起因する変速指示器26のアップ指示灯38およびダウンシフト指示灯40の誤点灯の発生を抑制することができる。
また、本実施例の電子制御装置42によれば、変速指示装置43は、変速指示器26および変速指示制御部44を備えており、手動変速機18の入力軸回転速度に対応するエンジン回転速度Nと、手動変速機18の出力軸回転速度に対応する車速Vとに基づいて実際のギヤ段すなわち実ギヤ段GREALを算出するとともに、車速Vおよびアクセル開度Accに基づいて要求ギヤ段GREQUESTを算出し、実ギヤ段GREALを要求ギヤ段GREQUESTとするための変速操作の指示を表示するものであることから、ダブルクラッチ操作が行われることにより手動変速機16のエンジン回転速度Nと車速Vとに基づいて実ギヤ段GREALを算出する形式の変速指示装置43において、ダブルクラッチ操作に起因する変速指示器26のアップ指示灯38およびダウンシフト指示灯40の誤点灯の発生を抑制することができる。
また、本実施例の電子制御装置42によれば、ダブルクラッチ操作判定手段68は、クラッチペダル14の踏込み操作および戻し操作直後にアクセルペダル48が急開操作された後に急閉操作される所謂あおり操作があったことに基づいて、ダブルクラッチ操作を判定するものであることから、変速の途中におけるアクセルペダルのあおり操作によって所定の車速Vに対してアクセル開度Accが瞬間的に変動させられるために、手動変速機16のエンジン回転速度Nと車速Vとに基づいて実ギヤ段GREALを算出する形式の変速指示装置43において発生する、アップ指示灯38およびダウンシフト指示灯40の違和感のある点灯が防止できる。
また、本実施例の電子制御装置42によれば、変速指示停止手段70は、ダブルクラッチ操作判定手段68によってダブルクラッチ操作が判定されてから所定時間すなわち第2待機時間T2の間、変速指示装置43による実ギヤ段GREALの算出を中止させるものであることから、ダブルクラッチ操作が判定されてから第2待機時間T2が経過するまでの間、変速指示装置43による指示出力が一次的に停止させられるので、ダブルクラッチ操作に起因するアップ指示灯38およびダウンシフト指示灯40の誤点灯の発生を抑制することができる。
また、本実施例の電子制御装置42によれば、前記変速指示停止手段70は、前記ダブルクラッチ操作判定手段68によって前記ダブルクラッチ操作が判定されてから所定のアクセル操作が行われるまで、前記変速指示装置43による実際のギヤ段の算出を中止させるものであることから、ダブルクラッチ操作が判定されてからアクセルペダルが一定時間操作され続けられるまでの間、変速指示装置43による指示出力が一次的に停止させられるので、ダブルクラッチ操作に起因するアップ指示灯38およびダウンシフト指示灯40の誤点灯の発生を抑制することができる。
次に、本発明の他の実施例について説明する。なお、以下の実施例の説明において、前述の実施例と重複する部分については、同一の符号を付してその説明を省略する。
本実施例の電子制御装置(制御装置)42には、前実施例の車速V、エンジン回転速度N、アクセル開度Acc、クラッチ操作信号CL等に加え、後述の図9に記載された車両のメインスイッチであるイグニッションスイッチ80から、そのイグニッションスイッチ80がオン操作されていることを表すイグニッション信号IGが供給される。なお、イグニッション信号IGが供給されている間は、イグニッションスイッチ80がオン操作されて車両の制御装置としての電子制御装置42に電源が投入された状態であることを示し、イグニッション信号IGが供給されていない間は、イグニッションスイッチ80がオフ操作されて車両への電源が遮断された状態であることを示す。
図9は、本実施例の電子制御装置42の制御機能の要部を説明する機能ブロック線図である。図9において、ダブルクラッチ操作判定手段82は、クラッチペダル14の踏込みおよび戻し操作後の予め設定された判定時間Tの間にアクセルペダル48のあおり操作があったことに基づいて、ダブルクラッチ操作を判定する。具体的には、ダブルクラッチ操作判定手段82は、第1変速段乃至第6変速段の前進変速段を有する手動変速機18の変速に際して、クラッチ操作判定手段66によりクラッチ16が遮断状態から継合状態へ切り換えられたと判定されたときから、図10に例示するマップのように変速前に成立していた変速段毎に予め設定されて記憶された判定時間T1ST、T2ND、T3RD、T4TH、T5TH、T6TH、およびT(以下、特に区別しないときには判定時間Tと記載する)のうち、実ギヤ段算出手段62によって今回の変速前に成立していたと判定された所定の変速段に対応する判定時間Tが経過するまでの間において、アクセルペダル48のあおり操作があった場合に、ダブルクラッチ操作が行われていると判定する。
上記判定時間T1ST、T2ND、T3RD、T4TH、T5TH、およびT6THは、変速前に成立していた変速段がそれぞれ第1変速段、第2変速段、第3変速段、第4変速段、第5変速段、および第6変速段である場合に用いられる値(閾値)である。また、上記判定時間Tは、変速前に成立していた変速段が不定である場合に用いられる値(閾値)である。なお、これら判定時間T1ST乃至T6TH、およびTは、初期値としてそれぞれ1[s]程度に予め設定されて記憶されている。
上記あおり操作とは、一定時間内にアクセルペダル48が急開操作された後に急閉操作される操作のことである。例えば、本実施例のダブルクラッチ操作判定手段82では、アクセル開度センサ50から出力されるアクセル開度Accの一定時間あたりの増減量により算出されるアクセル開速度VACCに基づいて、一定値以上の正のアクセル開速度VACCが検出された後に、一定値以上の負のアクセル開速度VACCが検出された場合に、あおり操作があったと判定する。
また、ダブルクラッチ操作判定手段82は、上述のようにダブルクラッチ操作が判定された場合、クラッチ16が遮断状態から継合状態へ切り換えられたと判定されたときからあおり操作があったと判定されたときまでの時間すなわちダブルクラッチ操作の検出時間TDCLが、判定時間Tに比較して短い場合には、その判定時間Tを短くして次回に用いられるように学習補正するようになっている。すなわち、上記検出時間TDCLが今回用いられた判定時間TJ−NOWに比較して短い場合には、次回に用いられる判定時間TJ−NEXTを短くするように学習補正するようになっている。具体的には、たとえば、次回に用いられる判定時間TJ−NEXTは、検出時間TDCLおよび今回用いられた判定時間TJ−NOWに基づいて次式(1)に示す関係から算出され、新しい判定時間Tとして設定されて記憶される。ここで、式(1)において、Yは、変速前に成立していた変速段毎に0以上且つ1以下の値に設定される係数であって、本実施例では例えば第1ギヤ段乃至第6ギヤ段において0.1程度に設定される。したがって、ダブルクラッチ操作判定手段82は、判定時間Tを学習補正する学習補正手段としても機能している。
J−NEXT = TJ−NOW −{(TJ−NOW−TDCL) * Y} ・・・(1)
図9に戻って、電源投入判定手段84は、イグニッション信号IGの有無に基づいて、イグニッションスイッチ80がオン操作されたか否か、すなわち車両(電子制御装置42)に電源が投入されたか否かを判定する。また、電源投入判定手段84は、イグニッション信号IGの有無に基づいて、イグニッションスイッチ80がオフ操作されたか否か、すなわち車両(電子制御装置42)への電源が遮断されたか否かを判定する。
判定時間初期化手段86は、電源投入判定手段84においてイグニッションスイッチ80がオン操作されて車両に電源が投入されたと判定された場合に、ダブルクラッチ判定手段82において用いられる判定時間Tを予め設定された初期値に戻す。
図6、図7、および図11は、電子制御装置42の信号処理によって実行される制御作動の要部を説明するフローチャートである。図6および図7のフローチャートは、実ギヤ段GREALを要求ギヤ段GREQUESTとするためのシフトレバーの変速操作を指示する変速操作指示制御ルーチンすなわち一連の手順であり、また、図11は、上記変速操作指示制御ルーチンにおいて用いられる判定時間Tを学習補正するための学習制御ルーチンであって、たとえば数msec〜数十msecの所定の周期ごとにそれぞれのルーチンが同時並行にて繰り返し実行される。なお、本実施例では、図6および図7において、第1待機時間T1に換えて判定時間Tが用いられる他は前述の実施例1と同様である。
図11において、先ず、電源投入判定手段84に対応するステップS20(以下、ステップを省略する)では、イグニッションスイッチ80がオン操作されたか否か、すなわち車両(電子制御装置42)に電源が投入されたか否かが判定される。
S20の判断が否定される場合には、S20以下が繰り返し実行されるが、肯定される場合には、判定時間初期化手段86に対応するS21において、ダブルクラッチ判定手段82すなわち図6のS3および図11の後述のS24において用いられる判定時間T(T1ST乃至T6TH、およびT)が予め設定された初期値の1[s]に戻される。
次いで、クラッチ操作判定手段66に対応するステップS22において、クラッチ16が遮断状態から継合状態へ切り換えられたか否かが判定される。
S22の判断が否定される場合にはS22以下が繰り返し実行されるが、肯定される場合には、ダブルクラッチ操作判定手段82に対応するS23において、電子制御装置42の内部に有するT1タイマによる時間計測(タイムカウント)が開始される。
次いで、ダブルクラッチ操作判定手段82に対応するS24では、クラッチ16が遮断状態から継合状態へ切り換えられた時点から、そのクラッチ16の遮断前に成立していた変速段に対応する所定の判定時間Tが未経過であるか否か、すなわちT1タイマの時間計測値が上記所定の判定時間T以下であるか否かが判定される。
S24の判断が否定される場合には後述のS28が実行されるが、肯定される場合には、ダブルクラッチ操作判定手段82に対応するS25において、あおり操作があったか否かが判定される。本実施例では、アクセル開度センサ50から出力されるアクセル開度Accの一定時間あたりの増減量により算出されるアクセル開速度VACCに基づいて、一定以上の正のアクセル開速度VACCが検出された後に、一定以上の負のアクセル開速度VACCが検出された場合に、S25の判定が肯定される。
S25の判断が否定される場合にはS24以下が繰り返し実行されるが、肯定される場合には、クラッチ操作判定手段66に対応するS26において、クラッチ16が遮断状態であるか否かが判定される。
S26の判断が否定される場合にはS26以下が繰り返し実行されるが、肯定される場合には、ダブルクラッチ操作判定手段82に対応するS27において、S23においてT1タイマの時間計測が開始されてからS25においてあおり操作があったと判定されるまでの時間、すなわちダブルクラッチ操作の検出時間TDCLが、今回のルーチンのS24において用いられた所定の判定時間TJ−NOWに比較して短い場合に、次回のルーチンにおいて用いられるその所定の判定時間TJ−NEXTを式(1)に基づいて短くするように学習補正が行われる。
S30の判断が否定される場合にはS27以下が繰り返し実行されるが、S30の判断が肯定される場合またはS24の判断が否定される場合には、変速指示停止手段70に対応するS31において、図7のS11およびS12における実ギヤ段GREALおよび要求ギヤ段GREQUESTの算出を復帰(実施)させるためにフラグFが0とされ、T1タイマおよびT2タイマがリセットされる。
S27に次いで、またはS24の判断が肯定される場合には、電源投入判定手段84に対応するステップS28において、イグニッションスイッチ80がオフ操作されたか否か、すなわち車両(電子制御装置42)への電源が遮断されたか否かが判定される。
S28の判断が否定される場合にはS22以下が繰り返し実行され、S28の判断が肯定される場合には本ルーチンが終了される。
図12は、手動変速機18の変速に際してダブルクラッチ操作が行われた場合を例として、図11のフローチャートに示す電子制御装置42の制御作動を説明するタイムチャートであって、クラッチ操作信号CL、エンジン回転速度N、アクセル開度Acc、およびT1タイマ値を時系列で例示した図である。
図12において、横軸は、時間t[s]を示しており、t1時点は、クラッチペダル14が踏込み操作されてクラッチ16が遮断状態にされた時点を示している。このt1時点では、クラッチスイッチ54からクラッチ操作信号CLが出力され、エンジン回転速度Nがアイドリング時のエンジン回転速度NE−IDLE付近まで低下されている。なお、t1時点からt2時点までの間において、図示しないシフトレバーが、エンジン12から駆動輪24に至る動力伝達経路を手動変速機18において遮断するニュートラル位置に操作される。
t2時点は、クラッチペダル14が戻し操作されてクラッチ16が継合状態にされた時点を示している。このt2時点では、クラッチスイッチ54からのクラッチ操作信号CLの出力が停止され、エンジン回転速度Nが所定の回転速度まで上昇されている。また、このt2時点では、図6のS1および図11のS22での判定が肯定され、その直後に図6のS2乃至S4、および図11のS23乃至S25が速やかに実施される。図12におけるt6時点は、t2時点から所定の判定時間TJ−NOWが経過した時点を示しており、t2時点からt6時点直前までの間は、図6のS24および図11のS3の判定が肯定される。
t3時点は、上記アクセルペダル48の急開操作が開始された時点を示しており、t4時点は、上記アクセルペダル48の急閉操作が終了した時点を示している。すなわち、t3時点からt4時点までの間は、アクセルペダル48が急開操作された後に急閉操作される所謂あおり操作が行われている時点を示している。このあおり操作に伴って、適宜エンジン回転速度Nが上昇させられている。本一例では、t4時点において図6のS4、および図11のS25の判定が肯定され、その直後に図6のS5乃至7、および図11のS26が速やかに実施される。
t5時点は、クラッチペダル14の2回目の操作が開始される時点を示している。このt5時点以降において、クラッチペダル14が踏み込まれた状態で前記シフトレバーが所望の変速段に応じた操作位置へ操作され、再度クラッチペダル14が戻されることによりクラッチ16が継合されて変速(ダブルクラッチ操作)が完了される。
本実施例では、図12に例示する期間において用いられた判定時間TJ−NOWに基づいて、例えばこの期間以降に変速が行われる際に用いられる判定時間TJ−NEXTが補正され、例えば図12に示すように判定時間TJ−NOWよりも{(TJ−NOW−TDCL)*Y}だけ短い判定時間TJ−NEXTが新しい判定時間Tとして設定されて記憶されるようになっている。
本実施例の電子制御装置42によれば、前述の実施例1と同様に、手動変速機18とその手動変速機18の変速操作指示を行う変速指示装置43とを備えた手動変速機付車両の電子制御装置42であって、図6を用いて前述したような制御機能が適用されるので、実施例1と同様の効果が得られる。
また、本実施例の電子制御装置42によれば、ダブルクラッチ操作判定手段82は、クラッチペダル14の踏込みおよび戻し操作後の予め設定された判定時間Tの間にアクセルペダル48のあおり操作があったことに基づいてダブルクラッチ操作を判定するものであって、クラッチ16が遮断状態から継合状態へ切り換えられたと判定されたときからあおり操作があったと判定されたときまでの時間すなわちダブルクラッチ操作の検出時間TDCLが、判定時間Tに比較して短い場合には、その判定時間Tを短くするように学習補正することから、判定時間Tが不必要に長く設定されることがなくなるので、ダブルクラッチ操作中のあおり操作に起因する変速指示装置43の誤指示の発生を抑制しつつ、その変速指示装置43の変速操作指示が停止される時間を短くすることができる。特に、通常操作におけるあおり操作によって、ダブルクラッチ操作が判定されて変速指示装置43の変速操作指示が停止されることが好適に抑制できる。
また、本実施例の電子制御装置42によれば、車両のメインスイッチとしてのイグニッションスイッチ80がオン操作された場合に前記判定時間Tを予め設定された初期値に戻す判定時間初期化手段86を備えることから、運転者の個性や走行条件、あるいは環境等に応じて判定時間Tが改めて設定されることにより判定時間Tが不必要に長く設定されることがなくなるので、ダブルクラッチ操作中のあおり操作に起因する変速指示装置43の誤指示の発生を抑制しつつ、その変速指示装置43の変速操作指示が停止される時間を好適に短くすることができる。
また、本実施例の電子制御装置42によれば、判定時間Tは、手動変速機18の変速に際してその変速前に成立していた変速段毎に設定されるものであることから、変速段に応じて判定時間Tが設定されることにより判定時間Tが不必要に長く設定されることがなくなるので、ダブルクラッチ操作中のあおり操作に起因する変速指示装置43の誤指示の発生を抑制しつつ、その変速指示装置43の変速操作指示が停止される時間を好適に短くすることができる。
図9において、本実施例におけるダブルクラッチ操作判定手段90は、前述の実施例2のダブルクラッチ操作判定手段82に比較して、以下に説明する判定時間Tの学習補正に関する作動以外は上記ダブルクラッチ操作判定手段82と同様である。すなわち、ダブルクラッチ操作判定手段90は、クラッチペダル14の踏込みおよび戻し操作後の予め設定された判定時間Tの間にアクセルペダル48のあおり操作があったことに基づいて、ダブルクラッチ操作を判定するものであって、所定時間内にダブルクラッチ操作が判定された回数が少ないほどその判定時間Tを短くするように学習補正するものであり、例えば、本実施例では、判定時間T(所定時間)内にダブルクラッチ操作が判定されない場合にはその判定時間Tを短くするように学習補正し、また、判定時間T(所定時間)内にダブルクラッチ操作が判定された場合にはその判定時間Tを長くするように学習補正するようになっている。具体的には、クラッチペダル14の踏込みおよび戻し操作後の判定時間TJ−NOWの間にあおり操作があったと判定された場合には、次回に用いられる判定時間TJ−NEXTは、今回用いられた判定時間TJ−NOWに基づいて次式(2)に示す関係から算出され、新しい判定時間Tとして設定されて記憶される。ここで、式(2)において、増加量△Tは、予め設定されて記憶された値である。また、クラッチペダル14の踏込みおよび戻し操作後の判定時間TJ−NOWの間にあおり操作があったと判定されなかった場合には、次回に用いられる判定時間TJ−NEXTは、今回用いられた判定時間TJ−NOWに基づいて次式(3)に示す関係から算出され、新しい判定時間Tとして設定されて記憶される。ここで、式(3)において、減少量△Tは、予め設定されて記憶された値である。したがって、ダブルクラッチ操作判定手段90は、判定時間Tを学習補正する学習補正手段としても機能している。
J−NEXT = TJ−NOW + △T・・・(2)
J−NEXT= TJ−NOW − △T ・・・(3)
図6、図7および図13は、電子制御装置42の信号処理によって実行される制御作動の要部を説明するフローチャートである。図6および図7のフローチャートは、実ギヤ段GREALを要求ギヤ段GREQUESTとするためのシフトレバーの変速操作を指示する変速操作指示制御ルーチンすなわち一連の手順であり、また、図13は、上記変速操作指示制御ルーチンにおいて用いられる判定時間Tを学習補正するための学習制御ルーチンであって、たとえば数msec〜数十msecの所定の周期ごとにそれぞれのルーチンが同時並行にて繰り返し実行される。なお、本実施例では、図6および図7において、第1待機時間T1に換えて判定時間Tが用いられる他は前述の実施例1と同様である。また、図13において、図11と重複する部分については同一の符号を付してその説明を省略する。
図13において、ダブルクラッチ操作判定手段90に対応するS30において、電子制御装置42の内部に有するT1カウンタのT1カウンタ値Tcがリセットされる(零にされる)。
また、S22における判定が肯定される場合には、変速指示停止手段70に対応するS30において、前記T1カウンタのT1カウンタ値Tcの時間換算値が判定時間T以下であるか否かが判定される。
また、S31における判定が肯定される場合には、変速指示停止手段70に対応するS32において、前記T1カウンタのT1カウンタ値Tcがカウントアップ(+1)される。
また、S25における判定が肯定される場合には、ダブルクラッチ操作判定手段90に対応するS33において、次回に用いられる判定時間T(TJ−NEXT)が今回用いられた判定時間TJ−NOWに基づいて次式(2)に示す関係から算出される。
また、S31における判定が否定される場合には、ダブルクラッチ操作判定手段90に対応するS34において、次回に用いられる判定時間T(TJ−NEXT)が今回用いられた判定時間TJ−NOWに基づいて次式(3)に示す関係から算出される。
本実施例の電子制御装置42によれば、前述の実施例1と同様に、手動変速機18とその手動変速機18の変速操作指示を行う変速指示装置43とを備えた手動変速機付車両の電子制御装置42であって、図6を用いて前述したような制御機能が適用されるので、実施例1と同様の効果が得られる。
また、本実施例の電子制御装置42によれば、ダブルクラッチ操作判定手段90は、クラッチペダル14の踏込みおよび戻し操作後の予め設定された判定時間Tの間にアクセルペダル48のあおり操作があったことに基づいてダブルクラッチ操作を判定するものであって、判定時間T(所定時間)内にダブルクラッチ操作が判定されない場合にはその判定時間Tを短くするように学習補正し、また、判定時間T(所定時間)内にダブルクラッチ操作が判定された場合にはその判定時間Tを長くするように学習補正するものであることから、判定時間が不必要に長く設定されることがなくなるので、ダブルクラッチ操作中のあおり操作に起因する変速指示装置43の誤指示の発生を抑制しつつ、その変速指示装置43変速操作指示が停止される時間を短くすることができる。
以上、本発明の一実施例を図面を参照して詳細に説明したが、本発明はこの実施例に限定されるものではなく、別の態様でも実施され得る。
たとえば、前述の実施例において、変速指示停止手段70は、ダブルクラッチ操作判定手段68によってダブルクラッチ操作が判定されてから、第2待機時間T2が経過するかあるいは所定のアクセル操作が行われるまで、実ギヤ段算出手段62による実ギヤ段GREALの算出、および要求ギヤ段算出手段60による要求ギヤ段GREQUESTの算出を中止させるものであったが、これに限られない。要するに、変速指示停止手段70は、ダブルクラッチ操作判定手段68によりダブルクラッチ操作が判定された場合には、アップシフト指示灯38およびダウンシフト指示灯40の点灯を一時的に停止させるものであればよい。
例えば、変速指示停止手段70は、ダブルクラッチ操作判定手段68によってダブルクラッチ操作が判定されてから、第2待機時間(所定時間)T2[s]が経過するかあるいは所定のアクセル操作が行われるまで、実ギヤ段GREALおよび要求ギヤ段GREQUESTの少なくとも一方の算出を中止させるものであってもよい。また、変速指示停止手段70は、ダブルクラッチ操作判定手段68によってダブルクラッチ操作が判定されてから、第2待機時間(所定時間)T2[s]が経過するまで、電子制御装置42からのアップシフト指示信号SUP−Lおよびダウンシフト指示信号SDOWN−Lの供給を停止するものであってもよい。
また、前述の実施例において、変速指示器26は、表示器28に設けられていたが、必ずしも表示器28に設けられる必要はない。例えば、変速指示器26は、表示器28に対して独立して設けられてもよい。また、変速指示器26は、運転者に対して上方向あるいは下方向に向いた三角形状であり且つ発光ダイオードにより構成されるアップシフト指示灯38およびダウンシフト指示灯40を備えるものであったが、これに限られない。すなわち、運転者がアップシフト指示あるいはダウンシフト指示を判断できるものであればよい。たとえば、アップシフト指示灯38およびダウンシフト指示灯40は、運転者に対して上方向あるいは下方向に向いた矢印の形状を有するものや、実ギヤ段GREALおよび要求ギヤ段GREQUESTを表示するものであってもよい。また、変速指示器26は、上記アップシフト指示灯38およびダウンシフト指示灯40に代えて、液晶ディスプレイ(LCD:liquid crystal display)から構成される変速指示画面を備え、その変速指示画面に前記アップシフト指示およびダウンシフト指示にそれぞれ対応する図形や文字が表示されるようにしてもよい。
また、前述の実施例において、ダブルクラッチ操作判定手段90は、判定時間T(所定時間)内にダブルクラッチ操作が判定されない場合にはその判定時間Tを短くするように学習補正し、また、判定時間T(所定時間)内にダブルクラッチ操作が判定された場合にはその判定時間Tを長くするように学習補正するものであったが、これに限らない。要するに、予め設定された所定時間内にダブルクラッチ操作が判定された回数が少ないほどその判定時間Tを短くするように学習補正するものであればよい。
また、前述の実施例において、ダブルクラッチ操作判定手段90は、クラッチペダル14の踏込みおよび戻し操作後の判定時間TJ−NOWの間にあおり操作があったと判定された場合には、次回に用いられる判定時間TJ−NEXTを今回用いられた判定時間TJ−NOWに基づいて次式(2)に示す関係から算出して新しい判定時間Tとして設定し、また、クラッチペダル14の踏込みおよび戻し操作後の判定時間TJ−NOWの間にあおり操作があったと判定されなかった場合には、次回に用いられる判定時間TJ−NEXTを今回用いられた判定時間TJ−NOWに基づいて次式(3)に示す関係から算出して新しい判定時間Tとして設定するものであったが、これに加えて、判定時間Tが無限に大きくなるか或いは0以下になることのないようにしてもよい。すなわち、例えば、算出された判定時間TJ−NEXTを新しく判定時間Tとして設定する際に、その新しく設定される判定時間Tに対して上限値および下限値の少なくとも一方を設けてもよい。
また、前述の実施例において、判定時間初期化手段86は、電源投入判定手段84においてイグニッションスイッチ80がオン操作されて車両に電源が投入されたと判定された場合に、ダブルクラッチ判定手段82において用いられる判定時間Tを予め設定された初期値に戻すものであったが、電源投入判定手段84によりイグニッションスイッチ80がオフ操作されたと判定された場合に、ダブルクラッチ判定手段82において用いられる判定時間Tを予め設定された初期値に戻すものであってもよい。
また、前述の実施例において、ダブルクラッチ操作判定手段90は、図11のS26の判定が肯定された後のS27において判定時間Tを学習補正するものであったが、これに限らず、例えば図11のS25の判定が肯定された時、またはS25の判定が肯定された後にクラッチ16が継合状態へ切り換えられた時において判定時間Tを学習補正するものであってもよい。
なお、上述したのはあくまでも一実施形態であり、その他一々例示はしないが、本発明は、その主旨を逸脱しない範囲で当業者の知識に基づいて種々変更、改良を加えた態様で実施することができる。
本発明の一実施例が適用された車両の動力伝達機構、およびその車両に設けられた制御系統を示す図である。 図1の変速指示器を含む表示器を示す図である。 変速指示装置の変速指示制御部を含む、図1に示す電子制御装置の制御機能の要部を説明する機能ブロック線図である。 車速軸とアクセル開度軸との二次元座標内において設定された複数本の変速線から構成される予め記憶された変速線図を示す図である。 エンジン回転速度軸とNVR軸との二次元座標内において設定された複数の判定領域から構成される予め記憶された実ギヤ段算出マップを示す図である。 図1の電子制御装置の信号処理によって実行される制御作動の要部を説明するフローチャートである。 図1の電子制御装置の信号処理によって実行される制御作動の要部を説明するフローチャートである。 図1の電子制御装置の制御作動を説明するタイムチャートであり、ダブルクラッチ操作が実施される際のクラッチ操作信号、エンジン回転速度、およびアクセル開度の一例を時系列的に示す図である。 本発明の他の実施例の電子制御装置の制御機能の要部を説明する機能ブロック線図である。 変速段毎に予め設定されて記憶された判定時間を示すマップである。 図9の電子制御装置の信号処理によって実行される制御作動の要部を説明するフローチャートである。 図9の電子制御装置の制御作動を説明するタイムチャートであり、ダブルクラッチ操作が実施される際のクラッチ操作信号、エンジン回転速度、およびアクセル開度の一例を時系列的に示す図である。 本発明の他の実施例の電子制御装置の信号処理によって実行される制御作動の要部を説明するフローチャートである。
符号の説明
14:クラッチペダル
18:手動変速機
42:電子制御装置(制御装置)
43:変速指示装置
48:アクセルペダル
68、82、90:ダブルクラッチ操作判定手段
70:変速指示停止手段
Acc:アクセル開度
CL:クラッチ操作信号
REAL:実ギヤ段
REQUEST:要求ギヤ段
T2:第2待機時間(所定時間)
V:車速

Claims (9)

  1. クラッチペダルが操作されている間にシフトレバーによる変速操作が行われることで変速段が切り換えられる手動変速機と、前記シフトレバーの変速操作を運転者に指示する変速指示装置とを備えた手動変速機付車両の制御装置であって、
    前記運転者によるダブルクラッチ操作を判定するダブルクラッチ操作判定手段と、
    該ダブルクラッチ操作判定手段によりダブルクラッチ操作が判定された場合には、前記変速指示装置による指示出力を一時的に停止させる変速指示停止手段と
    を、含むことを特徴とする手動変速機付車両の制御装置。
  2. 前記変速指示装置は、前記手動変速機の入力軸回転速度と出力軸回転速度とに基づいて実際のギヤ段を算出するとともに、車速およびアクセル開度に基づいて要求ギヤ段を算出し、該実際のギヤ段を該要求ギヤ段とするための変速操作の指示を表示するものである請求項1の手動変速機付車両の制御装置。
  3. 前記ダブルクラッチ操作判定手段は、前記クラッチペダルの踏込みおよび戻し操作直後にアクセルペダルのあおり操作があったことに基づいて、前記ダブルクラッチ操作を判定するものである請求項1または2の手動変速機付車両の制御装置。
  4. 前記ダブルクラッチ操作判定手段は、前記クラッチペダルの踏込みおよび戻し操作後の予め設定された判定時間の間にアクセルペダルのあおり操作があったことに基づいて前記ダブルクラッチ操作を判定するものであって、該ダブルクラッチ操作が判定されるまでの時間が前記判定時間に比較して短い場合には、該判定時間を短くするように学習補正するものであることを特徴とする請求項1または2の手動変速機付車両の制御装置。
  5. 前記ダブルクラッチ操作判定手段は、前記クラッチペダルの踏込みおよび戻し操作後の予め設定された判定時間の間にアクセルペダルのあおり操作があったことに基づいて前記ダブルクラッチ操作を判定するものであって、所定時間内に該ダブルクラッチ操作が判定された回数が少ないほど該判定時間を短くするように学習補正するものであることを特徴とする請求項1または2の手動変速機付車両の制御装置。
  6. 車両のメインスイッチがオン操作またはオフ操作された場合に前記判定時間を予め設定された初期値に戻す判定時間初期化手段を備えることを特徴とする請求項4または5の手動変速機付車両の制御装置。
  7. 前記判定時間は、前記手動変速機の変速段毎に設定されるものであることを特徴とする請求項4乃至6のいずれか1の手動変速機付車両の制御装置。
  8. 前記変速指示停止手段は、前記ダブルクラッチ操作判定手段によって前記ダブルクラッチ操作が判定されてから所定時間の間、前記変速指示装置による実際のギヤ段の算出を中止させるものである請求項2乃至7のいずれか1の手動変速機付車両の制御装置。
  9. 前記変速指示停止手段は、前記ダブルクラッチ操作判定手段によって前記ダブルクラッチ操作が判定されてから所定のアクセル操作が行われるまでの間、前記変速指示装置による実際のギヤ段の算出を中止させるものである請求項2乃至7のいずれか1の手動変速機付車両の制御装置。
JP2008239473A 2008-06-09 2008-09-18 手動変速機付車両の制御装置 Expired - Fee Related JP4687764B2 (ja)

Priority Applications (3)

Application Number Priority Date Filing Date Title
JP2008239473A JP4687764B2 (ja) 2008-06-09 2008-09-18 手動変速機付車両の制御装置
AT09251510T ATE519050T1 (de) 2008-06-09 2009-06-08 Steuervorrichtung und steuerverfahren für ein fahrzeug mit manuellem schaltgetriebe
EP09251510A EP2133603B1 (en) 2008-06-09 2009-06-08 Control apparatus and control method for manual transmission-mounted vehicle

Applications Claiming Priority (3)

Application Number Priority Date Filing Date Title
JP2008151120 2008-06-09
JP2008151120 2008-06-09
JP2008239473A JP4687764B2 (ja) 2008-06-09 2008-09-18 手動変速機付車両の制御装置

Publications (2)

Publication Number Publication Date
JP2010019410A true JP2010019410A (ja) 2010-01-28
JP4687764B2 JP4687764B2 (ja) 2011-05-25

Family

ID=41064621

Family Applications (1)

Application Number Title Priority Date Filing Date
JP2008239473A Expired - Fee Related JP4687764B2 (ja) 2008-06-09 2008-09-18 手動変速機付車両の制御装置

Country Status (3)

Country Link
EP (1) EP2133603B1 (ja)
JP (1) JP4687764B2 (ja)
AT (1) ATE519050T1 (ja)

Families Citing this family (1)

* Cited by examiner, † Cited by third party
Publication number Priority date Publication date Assignee Title
CN102619970B (zh) * 2011-01-28 2015-03-04 同济大学 干式5速双离合器自动变速器电子控制单元及其应用

Citations (10)

* Cited by examiner, † Cited by third party
Publication number Priority date Publication date Assignee Title
JPS59187143A (ja) * 1983-04-06 1984-10-24 Toyota Motor Corp 車両の変速指示装置
JPS60133258U (ja) * 1984-02-17 1985-09-05 日産ディーゼル工業株式会社 車両用自動変速装置
JPS6253235A (ja) * 1985-08-30 1987-03-07 Honda Motor Co Ltd 手動変速機のシフト指示方法
JPS6294427A (ja) * 1985-10-21 1987-04-30 Mazda Motor Corp 自動車の変速時期指示装置
JPH08254262A (ja) * 1995-01-18 1996-10-01 Mitsubishi Motors Corp 自動変速機の変速制御装置
JP2000104821A (ja) * 1998-09-30 2000-04-11 Mitsubishi Motors Corp 自動変速機の変速制御装置
JP2007032341A (ja) * 2005-07-25 2007-02-08 Nissan Motor Co Ltd 車両の変速時の制御装置及び制御方法
JP2007263172A (ja) * 2006-03-27 2007-10-11 Jatco Ltd 自動変速機の変速制御装置
JP2008039111A (ja) * 2006-08-08 2008-02-21 Toyota Motor Corp 変速指示装置
JP2008121701A (ja) * 2006-11-08 2008-05-29 Toyota Motor Corp 変速指示装置

Family Cites Families (4)

* Cited by examiner, † Cited by third party
Publication number Priority date Publication date Assignee Title
US4320381A (en) * 1979-08-03 1982-03-16 The Garrett Corporation Gear ratio indicator
US5941922A (en) * 1996-02-23 1999-08-24 Johnson Manufacturing Company Gear availability and synchronization indicator and method
JP4702099B2 (ja) 2006-02-27 2011-06-15 トヨタ自動車株式会社 変速指示装置
US7468018B2 (en) * 2006-03-06 2008-12-23 Anthony Francis Radich System and method for matching engine speed to vehicle speed with a manual transmission

Patent Citations (10)

* Cited by examiner, † Cited by third party
Publication number Priority date Publication date Assignee Title
JPS59187143A (ja) * 1983-04-06 1984-10-24 Toyota Motor Corp 車両の変速指示装置
JPS60133258U (ja) * 1984-02-17 1985-09-05 日産ディーゼル工業株式会社 車両用自動変速装置
JPS6253235A (ja) * 1985-08-30 1987-03-07 Honda Motor Co Ltd 手動変速機のシフト指示方法
JPS6294427A (ja) * 1985-10-21 1987-04-30 Mazda Motor Corp 自動車の変速時期指示装置
JPH08254262A (ja) * 1995-01-18 1996-10-01 Mitsubishi Motors Corp 自動変速機の変速制御装置
JP2000104821A (ja) * 1998-09-30 2000-04-11 Mitsubishi Motors Corp 自動変速機の変速制御装置
JP2007032341A (ja) * 2005-07-25 2007-02-08 Nissan Motor Co Ltd 車両の変速時の制御装置及び制御方法
JP2007263172A (ja) * 2006-03-27 2007-10-11 Jatco Ltd 自動変速機の変速制御装置
JP2008039111A (ja) * 2006-08-08 2008-02-21 Toyota Motor Corp 変速指示装置
JP2008121701A (ja) * 2006-11-08 2008-05-29 Toyota Motor Corp 変速指示装置

Also Published As

Publication number Publication date
EP2133603B1 (en) 2011-08-03
ATE519050T1 (de) 2011-08-15
JP4687764B2 (ja) 2011-05-25
EP2133603A1 (en) 2009-12-16

Similar Documents

Publication Publication Date Title
CN105829182B (zh) 用于车辆的控制装置
JP4650497B2 (ja) 変速指示装置、変速指示方法およびその方法をコンピュータに実行させるプログラムならびにそのプログラムを記録した記録媒体
US8886420B2 (en) Control method for automatic transmission, and automatic transmission system
JP5573228B2 (ja) 変速指示装置
JP5556965B2 (ja) 車両の運転支援装置
JP2011127640A (ja) 車両の制御装置
KR20120032461A (ko) 작업 차량의 제어장치
JP4277820B2 (ja) 変速機の変速段表示装置
KR100313817B1 (ko) 차량용 자동 변속기의 총합 제어 방법
JP4687764B2 (ja) 手動変速機付車両の制御装置
JP4702099B2 (ja) 変速指示装置
JP2006057691A (ja) 自動変速機の変速制御装置
CN105723129B (zh) 车辆的控制系统
JP2006321364A (ja) 車両の運転状態表示装置及び車両の運転状態表示方法
JP2009191740A (ja) 車両走行制御装置
EP1887262B1 (en) Shift instructing apparatus and shift instructing method
JP2016210376A (ja) 車両の変速指示装置
JP2017024499A (ja) 車両のシフト操作アシスト装置
JP2007138926A (ja) 自動変速機搭載車両の運転状態表示装置
KR101619545B1 (ko) 변속 레인지를 이용한 주행 모드 변환 방법
JP2008121701A (ja) 変速指示装置
JP4893280B2 (ja) 自動変速機付き車両の報知装置
KR101114459B1 (ko) 자동변속기용 파워 오프 다운 시프트 제어방법
CN103717861B (zh) 车辆的驾驶辅助装置
JP6561594B2 (ja) 車両の変速指示装置

Legal Events

Date Code Title Description
A977 Report on retrieval

Free format text: JAPANESE INTERMEDIATE CODE: A971007

Effective date: 20100428

A131 Notification of reasons for refusal

Free format text: JAPANESE INTERMEDIATE CODE: A131

Effective date: 20100518

A521 Request for written amendment filed

Free format text: JAPANESE INTERMEDIATE CODE: A523

Effective date: 20100625

A131 Notification of reasons for refusal

Free format text: JAPANESE INTERMEDIATE CODE: A131

Effective date: 20100803

TRDD Decision of grant or rejection written
A01 Written decision to grant a patent or to grant a registration (utility model)

Free format text: JAPANESE INTERMEDIATE CODE: A01

Effective date: 20110118

A01 Written decision to grant a patent or to grant a registration (utility model)

Free format text: JAPANESE INTERMEDIATE CODE: A01

A61 First payment of annual fees (during grant procedure)

Free format text: JAPANESE INTERMEDIATE CODE: A61

Effective date: 20110131

FPAY Renewal fee payment (event date is renewal date of database)

Free format text: PAYMENT UNTIL: 20140225

Year of fee payment: 3

LAPS Cancellation because of no payment of annual fees