JP2010018436A - 加工機械、特に印刷機に供給される枚葉紙を供給しかつ位置調整するための装置 - Google Patents

加工機械、特に印刷機に供給される枚葉紙を供給しかつ位置調整するための装置 Download PDF

Info

Publication number
JP2010018436A
JP2010018436A JP2009157453A JP2009157453A JP2010018436A JP 2010018436 A JP2010018436 A JP 2010018436A JP 2009157453 A JP2009157453 A JP 2009157453A JP 2009157453 A JP2009157453 A JP 2009157453A JP 2010018436 A JP2010018436 A JP 2010018436A
Authority
JP
Japan
Prior art keywords
sheet
conveyor belt
conveyor belts
outer edge
conveyor
Prior art date
Legal status (The legal status is an assumption and is not a legal conclusion. Google has not performed a legal analysis and makes no representation as to the accuracy of the status listed.)
Granted
Application number
JP2009157453A
Other languages
English (en)
Other versions
JP5393295B2 (ja
Inventor
Andreas Mueller
ミュラー アンドレアス
Burkhard Wolf
ヴォルフ ブルクハルト
Current Assignee (The listed assignees may be inaccurate. Google has not performed a legal analysis and makes no representation or warranty as to the accuracy of the list.)
Heidelberger Druckmaschinen AG
Original Assignee
Heidelberger Druckmaschinen AG
Priority date (The priority date is an assumption and is not a legal conclusion. Google has not performed a legal analysis and makes no representation as to the accuracy of the date listed.)
Filing date
Publication date
Application filed by Heidelberger Druckmaschinen AG filed Critical Heidelberger Druckmaschinen AG
Publication of JP2010018436A publication Critical patent/JP2010018436A/ja
Application granted granted Critical
Publication of JP5393295B2 publication Critical patent/JP5393295B2/ja
Active legal-status Critical Current
Anticipated expiration legal-status Critical

Links

Images

Classifications

    • BPERFORMING OPERATIONS; TRANSPORTING
    • B65CONVEYING; PACKING; STORING; HANDLING THIN OR FILAMENTARY MATERIAL
    • B65HHANDLING THIN OR FILAMENTARY MATERIAL, e.g. SHEETS, WEBS, CABLES
    • B65H9/00Registering, e.g. orientating, articles; Devices therefor
    • B65H9/002Registering, e.g. orientating, articles; Devices therefor changing orientation of sheet by only controlling movement of the forwarding means, i.e. without the use of stop or register wall
    • BPERFORMING OPERATIONS; TRANSPORTING
    • B65CONVEYING; PACKING; STORING; HANDLING THIN OR FILAMENTARY MATERIAL
    • B65HHANDLING THIN OR FILAMENTARY MATERIAL, e.g. SHEETS, WEBS, CABLES
    • B65H11/00Feed tables
    • B65H11/002Feed tables incorporating transport belts
    • B65H11/005Suction belts
    • BPERFORMING OPERATIONS; TRANSPORTING
    • B65CONVEYING; PACKING; STORING; HANDLING THIN OR FILAMENTARY MATERIAL
    • B65HHANDLING THIN OR FILAMENTARY MATERIAL, e.g. SHEETS, WEBS, CABLES
    • B65H5/00Feeding articles separated from piles; Feeding articles to machines
    • B65H5/02Feeding articles separated from piles; Feeding articles to machines by belts or chains, e.g. between belts or chains
    • B65H5/021Feeding articles separated from piles; Feeding articles to machines by belts or chains, e.g. between belts or chains by belts
    • BPERFORMING OPERATIONS; TRANSPORTING
    • B65CONVEYING; PACKING; STORING; HANDLING THIN OR FILAMENTARY MATERIAL
    • B65HHANDLING THIN OR FILAMENTARY MATERIAL, e.g. SHEETS, WEBS, CABLES
    • B65H5/00Feeding articles separated from piles; Feeding articles to machines
    • B65H5/22Feeding articles separated from piles; Feeding articles to machines by air-blast or suction device
    • B65H5/222Feeding articles separated from piles; Feeding articles to machines by air-blast or suction device by suction devices
    • B65H5/224Feeding articles separated from piles; Feeding articles to machines by air-blast or suction device by suction devices by suction belts
    • BPERFORMING OPERATIONS; TRANSPORTING
    • B65CONVEYING; PACKING; STORING; HANDLING THIN OR FILAMENTARY MATERIAL
    • B65HHANDLING THIN OR FILAMENTARY MATERIAL, e.g. SHEETS, WEBS, CABLES
    • B65H2220/00Function indicators
    • B65H2220/09Function indicators indicating that several of an entity are present
    • BPERFORMING OPERATIONS; TRANSPORTING
    • B65CONVEYING; PACKING; STORING; HANDLING THIN OR FILAMENTARY MATERIAL
    • B65HHANDLING THIN OR FILAMENTARY MATERIAL, e.g. SHEETS, WEBS, CABLES
    • B65H2404/00Parts for transporting or guiding the handled material
    • B65H2404/50Surface of the elements in contact with the forwarded or guided material
    • B65H2404/53Surface of the elements in contact with the forwarded or guided material with particular mechanical, physical properties
    • B65H2404/531Surface of the elements in contact with the forwarded or guided material with particular mechanical, physical properties particular coefficient of friction
    • B65H2404/5311Surface with different coefficients of friction
    • BPERFORMING OPERATIONS; TRANSPORTING
    • B65CONVEYING; PACKING; STORING; HANDLING THIN OR FILAMENTARY MATERIAL
    • B65HHANDLING THIN OR FILAMENTARY MATERIAL, e.g. SHEETS, WEBS, CABLES
    • B65H2406/00Means using fluid
    • B65H2406/30Suction means
    • B65H2406/32Suction belts
    • BPERFORMING OPERATIONS; TRANSPORTING
    • B65CONVEYING; PACKING; STORING; HANDLING THIN OR FILAMENTARY MATERIAL
    • B65HHANDLING THIN OR FILAMENTARY MATERIAL, e.g. SHEETS, WEBS, CABLES
    • B65H2406/00Means using fluid
    • B65H2406/30Suction means
    • B65H2406/32Suction belts
    • B65H2406/322Suction distributing means

Landscapes

  • Engineering & Computer Science (AREA)
  • Mechanical Engineering (AREA)
  • Delivering By Means Of Belts And Rollers (AREA)
  • Registering Or Overturning Sheets (AREA)
  • Sheets, Magazines, And Separation Thereof (AREA)

Abstract

【課題】枚葉紙を加工する機械に枚葉紙が供給される間、枚葉紙が傾斜位置に関して補正されると共に、枚葉紙における歪み、特に折り目形成が回避されるような装置を提供する。
【解決手段】本発明による構成では、搬送ベルト(27,28)が、枚葉紙に面した外側の縁領域(27.1,28.1)において、該外側の縁領域(27.1,28.1)の間に配置された、枚葉紙に面した内側領域(27.2,28.2)におけるよりも高い保持力を有しているようにした。
【選択図】図2

Description

本発明は、枚葉紙を加工する機械に枚葉紙を供給すると同時に、供給の間、枚葉紙を整直させるか、もしくは位置調整するための装置に関する。
ドイツ連邦共和国特許第19814141号明細書により、面状の製品、たとえば金属薄板パネルを加工機械に供給するための装置が公知である。面状の製品は、相互間隔を置いて平行に配置された2つのサクションベルトを用いて搬送される。この両サクションベルトは、互いに独立して可変の速度で駆動可能である。
平行に配置された2つのサクションベルトの互いに異なる速度を生ぜしめるために、欧州特許出願公開第0926086号明細書に記載の構成では、サクションベルトのための、駆動可能な軸に支承された変向ローラの円周が、制御可能な伸張エレメントにより変えられる。互いに異なる速度でサクションベルトが駆動されると、搬送したい製品の歪みが生じる恐れがある。
ドイツ連邦共和国特許第19814141号明細書 欧州特許出願公開第0926086号明細書
本発明の根底を成す課題は、冒頭で述べた形式の装置を改良して、枚葉紙を加工する機械に枚葉紙が供給される間、枚葉紙が傾斜位置に関して補正されると共に、枚葉紙における歪み、特に折り目形成が回避されるような装置を提供することである。
この課題を解決するために、本発明の第1の構成では、搬送ベルトが、枚葉紙に面した外側の縁領域において、該外側の縁領域の間に配置された、枚葉紙に面した内側領域におけるよりも高い保持力を有しているようにした。さらに上記課題を解決するために、本発明の第2の構成では、互いに対して平行に配置された3つの搬送ベルトが設けられており、外側の両搬送ベルトが、真ん中に配置された搬送ベルトに比べて高い保持力を有しているようにした。
特に有利な実施形態では、密な間隔を置いて相並んで配置された2つの搬送ベルトが設けられている。これらの搬送ベルトの枚葉紙への保持力は、外縁領域において、該外縁領域の間に位置する内側領域におけるよりも大きく設定されている。
これによって枚葉紙は、真ん中で比較的大きな幅にわたって完全に支持され、かつ傾斜位置補正時に、「滑らかな」内側領域で、搬送ベルトに対して歪みなく移動され得る。
外側の搬送領域における保持力は、搬送ベルト表面の粗さによるか、または有利には吸込み空気負荷によって得られる。第2の構成では、配置された2つの搬送ベルトの間に第3の支持ベルトが配置される。この第3の支持ベルトは、中間の速度で駆動され、搬送ベルトに比べて小さな保持力しか有していない。
特に有利な実施形態では、支持ベルトが、滑らかなコーティング、たとえばテフロンコーティングまたはアルミニウムコーティングを備えていてよい。
以下に本発明を実施するための形態を図面につき詳しく説明する。
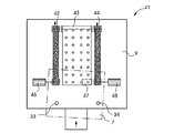
枚葉紙輪転印刷機の概略的な側面図である。 枚葉紙のための搬送装置の斜視図である。 搬送装置を上から見た図である。 第2の実施例の搬送装置を上から見た図である。
シートもしくは枚葉紙7を加工する機械、たとえば印刷機1は、給紙装置2と、少なくとも1つの印刷装置3もしくは印刷装置4と、排紙装置6とを有している。枚葉紙7は、枚葉紙パイル8から取り出されて個別化されるか、またはずれ重なり式に給紙テーブル9を介して、印刷装置3、4に供給される。これらの印刷装置3,4は公知の形式で、それぞれ1つの版胴11,12と、該版胴11,12とそれぞれ協働するゴム胴15,20とを有している。版胴11,12は、フレキシブルな版板を固定するための各1つのクランプ装置13,14を有している。さらに各版胴11,12には、半自動的または全自動的な版板交換のための装置16,17が対応配置されている。
枚葉紙パイル8は、制御されて上昇可能なパイルプレート10に載積されている。枚葉紙7の取出しは、枚葉紙パイル8の上側から、いわゆるサクションヘッド18によって行われる。このサクションヘッド18は、特に、枚葉紙7の個別化のための複数の第1吸19および第2吸21を有している。さらに、上側の枚葉紙層をさばくためのブロー装置22と、パイル追従案内のための検出エレメント23とが設けられている。枚葉紙パイル8、特に枚葉紙パイル8の上側の枚葉紙7を位置調整する、つまり整直させるためには、側方および後方の複数のストッパ24が設けられている。
給紙テーブル9は、ずれ重なり流の搬送のために、平行に配置された少なくとも2つの搬送ベルト27,28を有している。これらの搬送ベルト27,28は、いわゆるサクションベルトとして形成されていて、有利には枚葉紙を加工する機械のタイミングで連続的に、それぞれ1つの駆動モータ31;32によるか、または印刷機の給紙装置により、調節可能な差動伝動装置を用いて個別に調節可能に駆動可能である。
給紙装置の枚葉紙パイル8から供給胴26までの搬送区間に沿って、複数の枚葉紙搬送装置および/または加速装置が設けられていてよい。この場合、少なくとも1つの枚葉紙搬送装置および/または加速装置29は、枚葉紙7の位置調整のために相応して制御可能に形成されている。
枚葉紙搬送装置および/または加速装置29の搬送ベルト27,28は、それぞれ1つの専用の駆動装置もしくは駆動モータ31;32を有している。これらの駆動装置31;32は、センサ33,34を用いて検出された枚葉紙7の位置実際値と、実際値検出に続く目標値・実際値比較とに関連して、制御コンピュータ36を用いて、駆動装置31,32のための駆動データを求める。
この場合、センサ33,34は、枚葉紙7の前縁を検出する。
搬送ベルト27,28は、極めて小さな間隔A(A=たとえば、1ミリメートル)を置いて相並んで配置されているので、これらの搬送ベルト27,28は、枚葉紙7のために比較的大きな閉じられた載着面を提供する。
搬送ベルト27,28の間の間隔Aは、主として、駆動装置31;32を互いに異なって制御した場合の、搬送ベルト27,28の相対運動による摩擦を阻止する。
各搬送ベルト27;28の、それぞれ他方の搬送ベルトとは反対の側の外側の縁領域27.1,28,1は、内側領域27.2,28.2よりも高い保持力(たとえば摩擦力)を有している。
このような高い摩擦係数または高い保持力は、たとえば、搬送ベルト27,28の表面の相応する粗さによるか、または有利には搬送ベルトに設けられた複数のサクション孔27と、これらのサクション孔27の下に位置するサクションボックステーブル39に設けられた、搬送ベルトのサクション孔27に連通するサクション孔38とにより実現され得る。
枚葉紙を位置調整するためには、センサ33,34が、まず枚葉紙前縁の位置を測定する。制御コンピュータ36は、センサ33,34から求められた位置情報から、搬送ベルト27,28のそれぞれの搬送速度のための作動量を算出する。この手段によって、枚葉紙は、枚葉紙搬送方向にも、斜めにも位置調整され得る。
枚葉紙の傾斜位置は、平行な両搬送ベルト27,28のうち一方の搬送ベルトが短時間に別の速度で駆動されることにより補正される。この場合、枚葉紙は、両搬送ベルト27,28の外縁部に位置する比較的小さな2つの面においてのみ高い力(大きな静摩擦および場合によっては高い負圧)により保持される。内側に位置する保持領域27.2,28.2では、枚葉紙を負圧で負荷することもできるが、ただしこの場合、枚葉紙が確実に押さえられるが、しかしこの内側領域27.2,28.2では小さな摩擦係数で運動し得る程度にしか負荷することができない。平行な両搬送ベルト27,28の互いに異なる速度により、互いに対して相対的にねじれ運動を実施する外側の両保持領域27.1,28.1の間の間隔は拡大する。すなわち枚葉紙は、いわばピンと張られることになり、このことはこの領域での折り目形成を防止する。
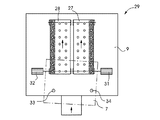
図4に示した第2の実施例では、平行に相並んで配置された3つの搬送ベルト42,43,44を有する搬送装置および/または加速装置41が設けられている。外側の搬送ベルト42,44は、真ん中の搬送ベルト43に比べて、高められた保持力を有している。搬送ベルト42,44は、たとえばサクションベルトとして形成されている。真ん中の搬送ベルト43は、その保持力を減少させるために極めて平滑に形成されているか、またはたとえばテフロンまたはアルミニウムのコーティングを備えていてよい。
全ての搬送ベルト42,43,44は、個別に制御可能な駆動装置46,47,48を有している。この場合、外側の搬送ベルト42;44は、位置補正のために互いに独立して別個に駆動される。真ん中の搬送ベルト43は、中間の速度で駆動されるので、枚葉紙のひずみはできるだけ少なく抑えられる。
センサ33,34は、図2に示した第1の実施例の場合と全く同じように、枚葉紙前縁を検出し、目標値・実際値比較の後に駆動モータ46,47,48を制御する。
もちろん、両実施例においては、搬送ベルトの駆動装置が、制御可能な差動伝動装置を用いて機械の給紙装置または駆動装置から行われるようになっていてもよい。
1 印刷機
2 給紙装置
3 印刷装置
4 印刷装置
6 排紙装置
7 枚葉紙
8 枚葉紙パイル
9 給紙テーブル
10 パイルプレート
11 版胴
12 版胴
13 版板を固定するための装置
14 版板を固定するための装置
16 版板を交換するための装置
17 版板を交換するための装置
18 サクションヘッド
19 第1吸
21 第2吸
22 ブロー装置
23 検出エレメント
24 ストッパ
26 供給胴
27 搬送ベルト
27.1 外縁領域
27.2 内側領域
28 搬送ベルト
28.1 外縁領域
28.2 内側領域
29 枚葉紙搬送装置および/または加速装置
31 駆動装置
32 駆動装置
33 センサ
34 センサ
36 制御コンピュータ
37 サクション孔
38 サクション孔
39 サクションボックステーブル
41 択一的な枚葉紙搬送装置および/または加速装置
42 搬送ベルト
43 搬送ベルト
44 搬送ベルト
46 駆動装置
47 駆動装置
48 駆動装置
A 間隔

Claims (11)

  1. 加工機械に供給される枚葉紙を供給しかつ位置調整するための装置であって、平行に配置されかつ互いに独立して可変の速度で駆動可能な少なくとも2つの搬送ベルトを有している形式のものにおいて、搬送ベルト(27,28)が、枚葉紙に面した外側の縁領域(27.1,28.1)において、該外側の縁領域(27.1,28.1)の間に配置された、枚葉紙に面した内側領域(27.2,28.2)におけるよりも高い保持力を有していることを特徴とする、枚葉紙を供給しかつ位置調整するための装置。
  2. 搬送ベルト(27,28)が、外側の縁領域(27.1,28.1)において高められた粗さを有している、請求項1記載の装置。
  3. 搬送ベルト(27,28;42,44)が、外側の縁領域(27.1,28.1)において、吸込み空気で負荷可能である、請求項1記載の装置。
  4. 搬送ベルト(27,28)が、外側の縁領域(27.1,28.1)において、内側領域(27.2,28.2)におけるよりも高い吸込み空気レベルで負荷可能である、請求項3記載の装置。
  5. 加工機械に供給される枚葉紙を供給しかつ位置調整するための装置であって、平行に配置されかつ互いに独立して可変の速度で駆動可能な少なくとも2つの搬送ベルトを有している形式のものにおいて、互いに対して平行に配置された3つの搬送ベルト(42,43,44)が設けられており、外側の両搬送ベルト(42,44)が、真ん中に配置された搬送ベルト(43)に比べて高い保持力を有していることを特徴とする、枚葉紙を供給しかつ位置調整のための装置。
  6. 外側の両搬送ベルト(42,44)が、真ん中の搬送ベルト(43)に比べて高い表面粗さを有している、請求項5記載の装置。
  7. 外側の両搬送ベルト(42,44)が、吸込み空気で負荷可能である、請求項5記載の装置。
  8. 外側の両搬送ベルト(42,44)が、真ん中の搬送ベルト(43)に比べて高い負圧レベルで負荷可能である、請求項7記載の装置。
  9. 各搬送ベルトに、個別に制御可能な駆動モータ(31,32;46,47,48)が対応配置されている、請求項1から8までのいずれか1項記載の装置。
  10. 真ん中の搬送ベルト(43)が、外側の両搬送ベルト(42,44)の速度から得られる中間の速度で駆動可能である、請求項9記載の装置。
  11. 搬送ベルト(27,28;42,43)の駆動モータ(31,32,46,47)が、センサ(33,34)を用いて検出された枚葉紙の位置データから目標値・実際値比較の後に制御される、請求項9または10記載の装置。
JP2009157453A 2008-07-11 2009-07-02 加工機械、特に印刷機に供給される枚葉紙を供給しかつ位置調整するための装置 Active JP5393295B2 (ja)

Applications Claiming Priority (2)

Application Number Priority Date Filing Date Title
DE102008032755 2008-07-11
DE102008032755.7 2008-07-11

Publications (2)

Publication Number Publication Date
JP2010018436A true JP2010018436A (ja) 2010-01-28
JP5393295B2 JP5393295B2 (ja) 2014-01-22

Family

ID=41412989

Family Applications (1)

Application Number Title Priority Date Filing Date
JP2009157453A Active JP5393295B2 (ja) 2008-07-11 2009-07-02 加工機械、特に印刷機に供給される枚葉紙を供給しかつ位置調整するための装置

Country Status (4)

Country Link
US (1) US8066282B2 (ja)
JP (1) JP5393295B2 (ja)
CN (1) CN101624146B (ja)
DE (1) DE102009025588B4 (ja)

Cited By (8)

* Cited by examiner, † Cited by third party
Publication number Priority date Publication date Assignee Title
JP2011183457A (ja) * 2010-03-09 2011-09-22 Xerox Corp 基材切断用材料搬送システム、及び材料搬送システムにおいて基材を切断する方法
CN103303649A (zh) * 2013-06-18 2013-09-18 宁波大鸿盛自动化设备有限公司 自动差速纠偏装置
JP2016539878A (ja) * 2013-09-23 2016-12-22 トレス アクティーゼルスカブ レジスタ制御装置、及び該装置を調整する方法
JP2017213828A (ja) * 2016-06-02 2017-12-07 住友ゴム工業株式会社 ゴムストリップ搬送装置、及びタイヤの製造方法
JP2018065317A (ja) * 2016-10-20 2018-04-26 住友ゴム工業株式会社 ゴムストリップ搬送装置、及びタイヤの製造方法
JP2019178002A (ja) * 2018-03-30 2019-10-17 セイコーエプソン株式会社 媒体処理装置、後処理装置
JP2021102507A (ja) * 2019-12-25 2021-07-15 セイコーエプソン株式会社 印刷装置
JP2024079816A (ja) * 2019-08-13 2024-06-11 上海旭恒精工機械製造有限公司 シート材料用の自動画像位置決めシステム

Families Citing this family (30)

* Cited by examiner, † Cited by third party
Publication number Priority date Publication date Assignee Title
JP2010269939A (ja) * 2009-04-20 2010-12-02 Konica Minolta Business Technologies Inc 給紙装置及び画像形成システム
US8800753B2 (en) * 2009-09-10 2014-08-12 Bdt Media Automation Gmbh System for conveying an article using vortex suction units
US9079733B2 (en) 2010-05-07 2015-07-14 Bdt Media Automation Gmbh Vortex suction separator device
US9458240B2 (en) 2010-12-10 2016-10-04 Novartis Pharma Ag Anti-BAFFR antibody formulations
WO2012107217A2 (en) 2011-02-11 2012-08-16 Bdt Media Automation Gmbh The present invention relates to a suctioning and conveying system for suctioning and conveying an object
US8408539B2 (en) * 2011-06-20 2013-04-02 Xerox Corporation Sheet transport and hold down apparatus
DE102012017097B4 (de) 2011-09-16 2025-01-23 Heidelberger Druckmaschinen Ag Vorrichtung zum Ausrichten eines Bogens
DE102012003269A1 (de) 2012-02-16 2013-08-22 Heidelberger Druckmaschinen Ag Verfahren und Vorrichtung zum Fördern und/oder Ausrichten eines Bogens
DE102012003270A1 (de) 2012-02-16 2013-08-22 Heidelberger Druckmaschinen Ag Vorrichtung zum Transport und/oder Ausrichten eines Bogens
DE102013010750A1 (de) * 2012-07-23 2014-01-23 Heidelberger Druckmaschinen Ag Bogenanleger und Verfahren zur Schuppenstrombildung
KR20150099589A (ko) * 2012-12-28 2015-08-31 쓰리엠 이노베이티브 프로퍼티즈 컴파니 진공 컨베이어 장치
CN103072843B (zh) * 2013-02-27 2015-06-03 温州宁泰机械有限公司 一种编织袋裁切防皱机构
CN104555503B (zh) * 2013-10-23 2017-10-31 海德堡印刷机械股份公司 用于在页张的前缘处分离页张的方法和装置
US10625521B2 (en) 2014-06-02 2020-04-21 Hewlett-Packard Development Company, L.P. Print media support assembly and print platen assembly
CN104190637B (zh) * 2014-08-08 2016-09-28 苏州中门子科技有限公司 一种用于生产钢球中的分球系统
WO2017067600A1 (en) * 2015-10-22 2017-04-27 Hewlett-Packard Indigo B.V. Sensing an article in a conveyor
US9623678B1 (en) * 2015-10-30 2017-04-18 Hewlett—Packard Development Company, L.P. Movement of a medium
JP6542711B2 (ja) * 2016-05-27 2019-07-10 株式会社ミヤコシ 電子写真方式枚葉両面印刷装置
PL3480143T3 (pl) * 2016-06-30 2025-03-17 Ace Machinery Co., Ltd. Urządzenie transportera
DE102017218930A1 (de) * 2016-11-25 2018-05-30 Heidelberger Druckmaschinen Ag Bogentransportelement einer Druckmaschine
EP3554970B1 (en) * 2016-12-16 2024-10-23 Kimberly-Clark Worldwide, Inc. Vacuum nose roll
JP6976074B2 (ja) * 2017-04-26 2021-12-01 住友化学株式会社 搬送装置および積層体の製造方法
DE102018204762B4 (de) * 2018-03-28 2021-07-29 Heidelberger Druckmaschinen Ag Verfahren zum Bedrucken und Weiterverarbeiten von Bogen aus Bedruckstoff
CN110436230A (zh) * 2019-09-19 2019-11-12 李青安 一种真空运纸卧式模切压痕(烫印)机
IT202100016238A1 (it) * 2021-06-21 2022-12-21 Tecnau Srl Equipaggiamento per impilamento ad alta velocità di fogli cartacei
IT202100016211A1 (it) * 2021-06-21 2022-12-21 Tecnau Srl Equipaggiamento per impilamento fogli
CN115724270A (zh) * 2021-08-31 2023-03-03 台州市一线天新材料科技有限公司 一种多条窄条纸片张力同步控制装置
CN114084593A (zh) * 2021-12-14 2022-02-25 安徽格拉泰科机械有限公司 一种双通道调速调距转弯输送设备
WO2025165397A1 (en) 2024-01-29 2025-08-07 Kohlam, Llc Multi-layer composite alignment device
WO2025181679A1 (en) * 2024-03-01 2025-09-04 G.D S.P.A. Apparatus for feeding pieces of a sheet material and method for feeding pieces of a sheet material

Citations (7)

* Cited by examiner, † Cited by third party
Publication number Priority date Publication date Assignee Title
JPS61130541U (ja) * 1985-02-01 1986-08-15
JPH02124950U (ja) * 1989-03-23 1990-10-15
JPH06328113A (ja) * 1993-05-17 1994-11-29 Kawasaki Steel Corp 剪断シートの搬送方法
JPH107301A (ja) * 1996-06-26 1998-01-13 Noritsu Koki Co Ltd 搬送ベルトとこの搬送ベルトを用いたシート材搬送機構
JPH10186751A (ja) * 1996-12-26 1998-07-14 Konica Corp 画像形成装置の搬送装置
JP2001225989A (ja) * 2000-02-17 2001-08-21 Mitsubishi Heavy Ind Ltd 印刷紙搬送装置
JP2002211788A (ja) * 2001-01-11 2002-07-31 Canon Inc ベルト搬送装置及び画像形成装置

Family Cites Families (26)

* Cited by examiner, † Cited by third party
Publication number Priority date Publication date Assignee Title
US3661245A (en) * 1969-06-18 1972-05-09 A J Sparks & Co Abrasion-resistant conveyor belt
DE2503954A1 (de) * 1975-01-31 1976-08-05 Agfa Gevaert Ag Transport- und fuehrungsvorrichtung mit riemenantrieb
US3984095A (en) * 1975-08-21 1976-10-05 Addressograph Multigraph Corporation Sheet separator
US4135808A (en) * 1976-11-26 1979-01-23 Pitney-Bowes, Inc. Document feeder for a copier
US4432540A (en) * 1981-02-05 1984-02-21 Bell & Howell Company Mail sorting machine with improved conveyor and envelope separating device
US4470591A (en) * 1982-08-12 1984-09-11 Xerox Corporation Variable force document handling system
DE3331662A1 (de) 1983-09-02 1985-03-28 M.A.N.- Roland Druckmaschinen AG, 6050 Offenbach Verfahren und vorrichtung zum passgenauen bogentransport in eine druckmaschine
DE3410029C1 (de) 1984-03-19 1985-08-22 Maschinenbau Oppenweiler Binder GmbH & Co, 7155 Oppenweiler Ausrichtetisch
DE3442135A1 (de) * 1984-11-17 1986-05-28 Heidelberger Druckmaschinen Ag, 6900 Heidelberg Verfahren zum ausrichten von bogen
US4935780A (en) * 1987-02-13 1990-06-19 Konica Corporation Document feeding apparatus and reproducing machine having document feeding apparatus
US4831419A (en) * 1988-02-12 1989-05-16 Xerox Corporation Document handler vacuum belt platen transport clamping system
JPH04161965A (ja) 1990-10-25 1992-06-05 Ricoh Co Ltd 電子写真方式の画像形成装置
US5774153A (en) * 1991-11-15 1998-06-30 Heidelberger Druckmaschinen Aktiengesellschaft Digital precision positioning system
US5794176A (en) 1996-09-24 1998-08-11 Xerox Corporation Adaptive electronic registration system
DE29722737U1 (de) 1997-12-23 1998-02-12 MAN Roland Druckmaschinen AG, 63075 Offenbach Bändertisch für unterschuppte Bogen
DE19814141C2 (de) 1998-03-30 2003-08-14 Ltg Holding Gmbh Verfahren und Vorrichtung zum positionsgenauen Zuführen von flächenförmigen Gütern zu einem Bearbeitungsprozeß
US6216848B1 (en) * 1999-04-09 2001-04-17 Profold, Inc. Vacuum table conveying apparatus and associated methods
DE20214984U1 (de) 2002-09-27 2002-12-05 MAN Roland Druckmaschinen AG, 63075 Offenbach Fördertisch
US6971647B2 (en) 2003-07-22 2005-12-06 Hewlett-Packard Development Company, L.P. Media registration mechanism for image forming device
DE202006001851U1 (de) 2006-02-07 2006-04-06 Man Roland Druckmaschinen Ag Einrichtung zur Bänderführung
JP4810407B2 (ja) * 2006-11-15 2011-11-09 キヤノン株式会社 シート給送装置及び画像形成装置
DE102007009676A1 (de) 2007-02-28 2008-09-04 Koenig & Bauer Aktiengesellschaft Vorrichtung zum Ausrichten eines Bogens auf dem Anlagetisch einer Bogendruckmaschine
JP5282333B2 (ja) * 2008-01-07 2013-09-04 株式会社Isowa 被搬送物の搬送装置
JP5111155B2 (ja) * 2008-02-26 2012-12-26 デュプロ精工株式会社 排紙装置
JP5219675B2 (ja) * 2008-07-31 2013-06-26 キヤノン株式会社 シート搬送装置及び画像形成装置
JP5375250B2 (ja) * 2009-03-25 2013-12-25 富士ゼロックス株式会社 用紙搬送装置及びこれを用いた画像形成装置

Patent Citations (7)

* Cited by examiner, † Cited by third party
Publication number Priority date Publication date Assignee Title
JPS61130541U (ja) * 1985-02-01 1986-08-15
JPH02124950U (ja) * 1989-03-23 1990-10-15
JPH06328113A (ja) * 1993-05-17 1994-11-29 Kawasaki Steel Corp 剪断シートの搬送方法
JPH107301A (ja) * 1996-06-26 1998-01-13 Noritsu Koki Co Ltd 搬送ベルトとこの搬送ベルトを用いたシート材搬送機構
JPH10186751A (ja) * 1996-12-26 1998-07-14 Konica Corp 画像形成装置の搬送装置
JP2001225989A (ja) * 2000-02-17 2001-08-21 Mitsubishi Heavy Ind Ltd 印刷紙搬送装置
JP2002211788A (ja) * 2001-01-11 2002-07-31 Canon Inc ベルト搬送装置及び画像形成装置

Cited By (11)

* Cited by examiner, † Cited by third party
Publication number Priority date Publication date Assignee Title
JP2011183457A (ja) * 2010-03-09 2011-09-22 Xerox Corp 基材切断用材料搬送システム、及び材料搬送システムにおいて基材を切断する方法
CN103303649A (zh) * 2013-06-18 2013-09-18 宁波大鸿盛自动化设备有限公司 自动差速纠偏装置
JP2016539878A (ja) * 2013-09-23 2016-12-22 トレス アクティーゼルスカブ レジスタ制御装置、及び該装置を調整する方法
JP2017213828A (ja) * 2016-06-02 2017-12-07 住友ゴム工業株式会社 ゴムストリップ搬送装置、及びタイヤの製造方法
JP2018065317A (ja) * 2016-10-20 2018-04-26 住友ゴム工業株式会社 ゴムストリップ搬送装置、及びタイヤの製造方法
JP2019178002A (ja) * 2018-03-30 2019-10-17 セイコーエプソン株式会社 媒体処理装置、後処理装置
JP7087588B2 (ja) 2018-03-30 2022-06-21 セイコーエプソン株式会社 媒体処理装置、後処理装置
JP2024079816A (ja) * 2019-08-13 2024-06-11 上海旭恒精工機械製造有限公司 シート材料用の自動画像位置決めシステム
JP7678656B2 (ja) 2019-08-13 2025-05-16 上海旭恒精工機械製造有限公司 シート材料用の自動画像位置決めシステム
JP2021102507A (ja) * 2019-12-25 2021-07-15 セイコーエプソン株式会社 印刷装置
JP7400452B2 (ja) 2019-12-25 2023-12-19 セイコーエプソン株式会社 印刷装置

Also Published As

Publication number Publication date
CN101624146A (zh) 2010-01-13
US20100007082A1 (en) 2010-01-14
DE102009025588A1 (de) 2010-01-14
CN101624146B (zh) 2014-05-07
DE102009025588B4 (de) 2022-02-24
US8066282B2 (en) 2011-11-29
JP5393295B2 (ja) 2014-01-22

Similar Documents

Publication Publication Date Title
JP5393295B2 (ja) 加工機械、特に印刷機に供給される枚葉紙を供給しかつ位置調整するための装置
US10940699B2 (en) Modular machine arrangement for sequential processing of sheets
US10486416B2 (en) Device for overlapping sheets
US20180178551A1 (en) Printing press assembly having a plurality of processing stations for processing sheets and method for operating the printing press assembly
US6131901A (en) Sheet-stacking device, suction conveyor, and suction belt for sheet stackers
JPH0155172B2 (ja)
US8915497B2 (en) Method and apparatus for sheet and carton blank aligning using caster effect
CN111344239B (zh) 片材对齐装置、加工片材的加工机、以及对齐片材的方法
JP5679766B2 (ja) 枚葉紙の位置調整のための装置及び枚葉紙輪転印刷機
CN107531043A (zh) 用于将单张纸以搭接的状态布置在先后跟随的加工站之间的方法和装置
US8167302B2 (en) Paper inverting device
CN100572235C (zh) 输送及同时对齐页张的装置
JP3153775U (ja) 加工機械に枚葉紙を供給するための装置
JP5554861B1 (ja) 回転式打抜機
US8960663B2 (en) Sheet feeder with two suction wheels
US11530102B2 (en) Device for feeding sheets
US6446959B2 (en) Device for aligning sheets laterally
JP6574167B2 (ja) レジスタ制御装置、及び該装置を調整する方法
EP2184166A1 (en) Overlaying device
JP2010076941A (ja) 処理機械のフィーダにおいてエラーシートを導出する方法および装置
US20230391569A1 (en) Sheet-processing machine comprising at least one transport unit and method for the straight-tracking guidance of at least one conveyor belt of a sheet-processing machine
JP2008143708A (ja) シートを処理する機械にシートを供給する方法および装置
CN119460860A (zh) 纸板输送机构、纸板偏转调整装置及纸板加工设备
JP2006089287A (ja) 搬送ベルト
JP2006335570A (ja) シートを処理する機械にシートを搬送する方法および装置

Legal Events

Date Code Title Description
RD04 Notification of resignation of power of attorney

Free format text: JAPANESE INTERMEDIATE CODE: A7424

Effective date: 20101227

A621 Written request for application examination

Free format text: JAPANESE INTERMEDIATE CODE: A621

Effective date: 20120409

RD03 Notification of appointment of power of attorney

Free format text: JAPANESE INTERMEDIATE CODE: A7423

Effective date: 20120409

A977 Report on retrieval

Free format text: JAPANESE INTERMEDIATE CODE: A971007

Effective date: 20130419

A131 Notification of reasons for refusal

Free format text: JAPANESE INTERMEDIATE CODE: A131

Effective date: 20130430

A521 Request for written amendment filed

Free format text: JAPANESE INTERMEDIATE CODE: A523

Effective date: 20130729

TRDD Decision of grant or rejection written
A01 Written decision to grant a patent or to grant a registration (utility model)

Free format text: JAPANESE INTERMEDIATE CODE: A01

Effective date: 20130917

A61 First payment of annual fees (during grant procedure)

Free format text: JAPANESE INTERMEDIATE CODE: A61

Effective date: 20131015

R150 Certificate of patent or registration of utility model

Ref document number: 5393295

Country of ref document: JP

Free format text: JAPANESE INTERMEDIATE CODE: R150

Free format text: JAPANESE INTERMEDIATE CODE: R150

R250 Receipt of annual fees

Free format text: JAPANESE INTERMEDIATE CODE: R250

R250 Receipt of annual fees

Free format text: JAPANESE INTERMEDIATE CODE: R250

R250 Receipt of annual fees

Free format text: JAPANESE INTERMEDIATE CODE: R250

R250 Receipt of annual fees

Free format text: JAPANESE INTERMEDIATE CODE: R250

R250 Receipt of annual fees

Free format text: JAPANESE INTERMEDIATE CODE: R250

R250 Receipt of annual fees

Free format text: JAPANESE INTERMEDIATE CODE: R250

R250 Receipt of annual fees

Free format text: JAPANESE INTERMEDIATE CODE: R250

R250 Receipt of annual fees

Free format text: JAPANESE INTERMEDIATE CODE: R250

R250 Receipt of annual fees

Free format text: JAPANESE INTERMEDIATE CODE: R250

R250 Receipt of annual fees

Free format text: JAPANESE INTERMEDIATE CODE: R250