JP2010017701A - タール含有ガスの改質方法 - Google Patents
タール含有ガスの改質方法 Download PDFInfo
- Publication number
- JP2010017701A JP2010017701A JP2008244851A JP2008244851A JP2010017701A JP 2010017701 A JP2010017701 A JP 2010017701A JP 2008244851 A JP2008244851 A JP 2008244851A JP 2008244851 A JP2008244851 A JP 2008244851A JP 2010017701 A JP2010017701 A JP 2010017701A
- Authority
- JP
- Japan
- Prior art keywords
- tar
- containing gas
- catalyst
- reforming
- gas
- Prior art date
- Legal status (The legal status is an assumption and is not a legal conclusion. Google has not performed a legal analysis and makes no representation as to the accuracy of the status listed.)
- Granted
Links
Images
Classifications
-
- C—CHEMISTRY; METALLURGY
- C01—INORGANIC CHEMISTRY
- C01B—NON-METALLIC ELEMENTS; COMPOUNDS THEREOF; METALLOIDS OR COMPOUNDS THEREOF NOT COVERED BY SUBCLASS C01C
- C01B3/00—Hydrogen; Gaseous mixtures containing hydrogen; Separation of hydrogen from mixtures containing it; Purification of hydrogen
- C01B3/02—Production of hydrogen or of gaseous mixtures containing a substantial proportion of hydrogen
- C01B3/22—Production of hydrogen or of gaseous mixtures containing a substantial proportion of hydrogen by decomposition of gaseous or liquid organic compounds
- C01B3/24—Production of hydrogen or of gaseous mixtures containing a substantial proportion of hydrogen by decomposition of gaseous or liquid organic compounds of hydrocarbons
- C01B3/26—Production of hydrogen or of gaseous mixtures containing a substantial proportion of hydrogen by decomposition of gaseous or liquid organic compounds of hydrocarbons using catalysts
-
- B—PERFORMING OPERATIONS; TRANSPORTING
- B01—PHYSICAL OR CHEMICAL PROCESSES OR APPARATUS IN GENERAL
- B01J—CHEMICAL OR PHYSICAL PROCESSES, e.g. CATALYSIS OR COLLOID CHEMISTRY; THEIR RELEVANT APPARATUS
- B01J35/00—Catalysts, in general, characterised by their form or physical properties
- B01J35/30—Catalysts, in general, characterised by their form or physical properties characterised by their physical properties
- B01J35/34—Mechanical properties
- B01J35/36—Mechanical strength
-
- B—PERFORMING OPERATIONS; TRANSPORTING
- B01—PHYSICAL OR CHEMICAL PROCESSES OR APPARATUS IN GENERAL
- B01J—CHEMICAL OR PHYSICAL PROCESSES, e.g. CATALYSIS OR COLLOID CHEMISTRY; THEIR RELEVANT APPARATUS
- B01J23/00—Catalysts comprising metals or metal oxides or hydroxides, not provided for in group B01J21/00
- B01J23/70—Catalysts comprising metals or metal oxides or hydroxides, not provided for in group B01J21/00 of the iron group metals or copper
- B01J23/76—Catalysts comprising metals or metal oxides or hydroxides, not provided for in group B01J21/00 of the iron group metals or copper combined with metals, oxides or hydroxides provided for in groups B01J23/02 - B01J23/36
- B01J23/78—Catalysts comprising metals or metal oxides or hydroxides, not provided for in group B01J21/00 of the iron group metals or copper combined with metals, oxides or hydroxides provided for in groups B01J23/02 - B01J23/36 with alkali- or alkaline earth metals
-
- B—PERFORMING OPERATIONS; TRANSPORTING
- B01—PHYSICAL OR CHEMICAL PROCESSES OR APPARATUS IN GENERAL
- B01J—CHEMICAL OR PHYSICAL PROCESSES, e.g. CATALYSIS OR COLLOID CHEMISTRY; THEIR RELEVANT APPARATUS
- B01J23/00—Catalysts comprising metals or metal oxides or hydroxides, not provided for in group B01J21/00
- B01J23/90—Regeneration or reactivation
- B01J23/94—Regeneration or reactivation of catalysts comprising metals, oxides or hydroxides of the iron group metals or copper
-
- B—PERFORMING OPERATIONS; TRANSPORTING
- B01—PHYSICAL OR CHEMICAL PROCESSES OR APPARATUS IN GENERAL
- B01J—CHEMICAL OR PHYSICAL PROCESSES, e.g. CATALYSIS OR COLLOID CHEMISTRY; THEIR RELEVANT APPARATUS
- B01J37/00—Processes, in general, for preparing catalysts; Processes, in general, for activation of catalysts
- B01J37/0009—Use of binding agents; Moulding; Pressing; Powdering; Granulating; Addition of materials ameliorating the mechanical properties of the product catalyst
-
- B—PERFORMING OPERATIONS; TRANSPORTING
- B01—PHYSICAL OR CHEMICAL PROCESSES OR APPARATUS IN GENERAL
- B01J—CHEMICAL OR PHYSICAL PROCESSES, e.g. CATALYSIS OR COLLOID CHEMISTRY; THEIR RELEVANT APPARATUS
- B01J37/00—Processes, in general, for preparing catalysts; Processes, in general, for activation of catalysts
- B01J37/02—Impregnation, coating or precipitation
- B01J37/03—Precipitation; Co-precipitation
-
- B—PERFORMING OPERATIONS; TRANSPORTING
- B01—PHYSICAL OR CHEMICAL PROCESSES OR APPARATUS IN GENERAL
- B01J—CHEMICAL OR PHYSICAL PROCESSES, e.g. CATALYSIS OR COLLOID CHEMISTRY; THEIR RELEVANT APPARATUS
- B01J38/00—Regeneration or reactivation of catalysts, in general
- B01J38/04—Gas or vapour treating; Treating by using liquids vaporisable upon contacting spent catalyst
- B01J38/06—Gas or vapour treating; Treating by using liquids vaporisable upon contacting spent catalyst using steam
-
- B—PERFORMING OPERATIONS; TRANSPORTING
- B01—PHYSICAL OR CHEMICAL PROCESSES OR APPARATUS IN GENERAL
- B01J—CHEMICAL OR PHYSICAL PROCESSES, e.g. CATALYSIS OR COLLOID CHEMISTRY; THEIR RELEVANT APPARATUS
- B01J38/00—Regeneration or reactivation of catalysts, in general
- B01J38/04—Gas or vapour treating; Treating by using liquids vaporisable upon contacting spent catalyst
- B01J38/12—Treating with free oxygen-containing gas
-
- C—CHEMISTRY; METALLURGY
- C01—INORGANIC CHEMISTRY
- C01B—NON-METALLIC ELEMENTS; COMPOUNDS THEREOF; METALLOIDS OR COMPOUNDS THEREOF NOT COVERED BY SUBCLASS C01C
- C01B3/00—Hydrogen; Gaseous mixtures containing hydrogen; Separation of hydrogen from mixtures containing it; Purification of hydrogen
- C01B3/02—Production of hydrogen or of gaseous mixtures containing a substantial proportion of hydrogen
- C01B3/32—Production of hydrogen or of gaseous mixtures containing a substantial proportion of hydrogen by reaction of gaseous or liquid organic compounds with gasifying agents, e.g. water, carbon dioxide, air
- C01B3/34—Production of hydrogen or of gaseous mixtures containing a substantial proportion of hydrogen by reaction of gaseous or liquid organic compounds with gasifying agents, e.g. water, carbon dioxide, air by reaction of hydrocarbons with gasifying agents
- C01B3/38—Production of hydrogen or of gaseous mixtures containing a substantial proportion of hydrogen by reaction of gaseous or liquid organic compounds with gasifying agents, e.g. water, carbon dioxide, air by reaction of hydrocarbons with gasifying agents using catalysts
- C01B3/40—Production of hydrogen or of gaseous mixtures containing a substantial proportion of hydrogen by reaction of gaseous or liquid organic compounds with gasifying agents, e.g. water, carbon dioxide, air by reaction of hydrocarbons with gasifying agents using catalysts characterised by the catalyst
-
- C—CHEMISTRY; METALLURGY
- C01—INORGANIC CHEMISTRY
- C01B—NON-METALLIC ELEMENTS; COMPOUNDS THEREOF; METALLOIDS OR COMPOUNDS THEREOF NOT COVERED BY SUBCLASS C01C
- C01B3/00—Hydrogen; Gaseous mixtures containing hydrogen; Separation of hydrogen from mixtures containing it; Purification of hydrogen
- C01B3/50—Separation of hydrogen or hydrogen containing gases from gaseous mixtures, e.g. purification
- C01B3/56—Separation of hydrogen or hydrogen containing gases from gaseous mixtures, e.g. purification by contacting with solids; Regeneration of used solids
- C01B3/58—Separation of hydrogen or hydrogen containing gases from gaseous mixtures, e.g. purification by contacting with solids; Regeneration of used solids including a catalytic reaction
-
- C—CHEMISTRY; METALLURGY
- C10—PETROLEUM, GAS OR COKE INDUSTRIES; TECHNICAL GASES CONTAINING CARBON MONOXIDE; FUELS; LUBRICANTS; PEAT
- C10B—DESTRUCTIVE DISTILLATION OF CARBONACEOUS MATERIALS FOR PRODUCTION OF GAS, COKE, TAR, OR SIMILAR MATERIALS
- C10B53/00—Destructive distillation, specially adapted for particular solid raw materials or solid raw materials in special form
- C10B53/02—Destructive distillation, specially adapted for particular solid raw materials or solid raw materials in special form of cellulose-containing material
-
- C—CHEMISTRY; METALLURGY
- C10—PETROLEUM, GAS OR COKE INDUSTRIES; TECHNICAL GASES CONTAINING CARBON MONOXIDE; FUELS; LUBRICANTS; PEAT
- C10K—PURIFYING OR MODIFYING THE CHEMICAL COMPOSITION OF COMBUSTIBLE GASES CONTAINING CARBON MONOXIDE
- C10K1/00—Purifying combustible gases containing carbon monoxide
- C10K1/34—Purifying combustible gases containing carbon monoxide by catalytic conversion of impurities to more readily removable materials
-
- B—PERFORMING OPERATIONS; TRANSPORTING
- B01—PHYSICAL OR CHEMICAL PROCESSES OR APPARATUS IN GENERAL
- B01J—CHEMICAL OR PHYSICAL PROCESSES, e.g. CATALYSIS OR COLLOID CHEMISTRY; THEIR RELEVANT APPARATUS
- B01J2235/00—Indexing scheme associated with group B01J35/00, related to the analysis techniques used to determine the catalysts form or properties
-
- B—PERFORMING OPERATIONS; TRANSPORTING
- B01—PHYSICAL OR CHEMICAL PROCESSES OR APPARATUS IN GENERAL
- B01J—CHEMICAL OR PHYSICAL PROCESSES, e.g. CATALYSIS OR COLLOID CHEMISTRY; THEIR RELEVANT APPARATUS
- B01J2235/00—Indexing scheme associated with group B01J35/00, related to the analysis techniques used to determine the catalysts form or properties
- B01J2235/15—X-ray diffraction
-
- B—PERFORMING OPERATIONS; TRANSPORTING
- B01—PHYSICAL OR CHEMICAL PROCESSES OR APPARATUS IN GENERAL
- B01J—CHEMICAL OR PHYSICAL PROCESSES, e.g. CATALYSIS OR COLLOID CHEMISTRY; THEIR RELEVANT APPARATUS
- B01J35/00—Catalysts, in general, characterised by their form or physical properties
- B01J35/30—Catalysts, in general, characterised by their form or physical properties characterised by their physical properties
- B01J35/34—Mechanical properties
- B01J35/37—Crush or impact strength
-
- C—CHEMISTRY; METALLURGY
- C01—INORGANIC CHEMISTRY
- C01B—NON-METALLIC ELEMENTS; COMPOUNDS THEREOF; METALLOIDS OR COMPOUNDS THEREOF NOT COVERED BY SUBCLASS C01C
- C01B2203/00—Integrated processes for the production of hydrogen or synthesis gas
- C01B2203/02—Processes for making hydrogen or synthesis gas
- C01B2203/0266—Processes for making hydrogen or synthesis gas containing a decomposition step
- C01B2203/0277—Processes for making hydrogen or synthesis gas containing a decomposition step containing a catalytic decomposition step
-
- C—CHEMISTRY; METALLURGY
- C01—INORGANIC CHEMISTRY
- C01B—NON-METALLIC ELEMENTS; COMPOUNDS THEREOF; METALLOIDS OR COMPOUNDS THEREOF NOT COVERED BY SUBCLASS C01C
- C01B2203/00—Integrated processes for the production of hydrogen or synthesis gas
- C01B2203/04—Integrated processes for the production of hydrogen or synthesis gas containing a purification step for the hydrogen or the synthesis gas
- C01B2203/0435—Catalytic purification
-
- C—CHEMISTRY; METALLURGY
- C01—INORGANIC CHEMISTRY
- C01B—NON-METALLIC ELEMENTS; COMPOUNDS THEREOF; METALLOIDS OR COMPOUNDS THEREOF NOT COVERED BY SUBCLASS C01C
- C01B2203/00—Integrated processes for the production of hydrogen or synthesis gas
- C01B2203/04—Integrated processes for the production of hydrogen or synthesis gas containing a purification step for the hydrogen or the synthesis gas
- C01B2203/0465—Composition of the impurity
- C01B2203/048—Composition of the impurity the impurity being an organic compound
-
- C—CHEMISTRY; METALLURGY
- C01—INORGANIC CHEMISTRY
- C01B—NON-METALLIC ELEMENTS; COMPOUNDS THEREOF; METALLOIDS OR COMPOUNDS THEREOF NOT COVERED BY SUBCLASS C01C
- C01B2203/00—Integrated processes for the production of hydrogen or synthesis gas
- C01B2203/10—Catalysts for performing the hydrogen forming reactions
- C01B2203/1041—Composition of the catalyst
- C01B2203/1047—Group VIII metal catalysts
- C01B2203/1052—Nickel or cobalt catalysts
- C01B2203/1058—Nickel catalysts
-
- C—CHEMISTRY; METALLURGY
- C01—INORGANIC CHEMISTRY
- C01B—NON-METALLIC ELEMENTS; COMPOUNDS THEREOF; METALLOIDS OR COMPOUNDS THEREOF NOT COVERED BY SUBCLASS C01C
- C01B2203/00—Integrated processes for the production of hydrogen or synthesis gas
- C01B2203/10—Catalysts for performing the hydrogen forming reactions
- C01B2203/1041—Composition of the catalyst
- C01B2203/1094—Promotors or activators
-
- Y—GENERAL TAGGING OF NEW TECHNOLOGICAL DEVELOPMENTS; GENERAL TAGGING OF CROSS-SECTIONAL TECHNOLOGIES SPANNING OVER SEVERAL SECTIONS OF THE IPC; TECHNICAL SUBJECTS COVERED BY FORMER USPC CROSS-REFERENCE ART COLLECTIONS [XRACs] AND DIGESTS
- Y02—TECHNOLOGIES OR APPLICATIONS FOR MITIGATION OR ADAPTATION AGAINST CLIMATE CHANGE
- Y02E—REDUCTION OF GREENHOUSE GAS [GHG] EMISSIONS, RELATED TO ENERGY GENERATION, TRANSMISSION OR DISTRIBUTION
- Y02E20/00—Combustion technologies with mitigation potential
- Y02E20/16—Combined cycle power plant [CCPP], or combined cycle gas turbine [CCGT]
-
- Y—GENERAL TAGGING OF NEW TECHNOLOGICAL DEVELOPMENTS; GENERAL TAGGING OF CROSS-SECTIONAL TECHNOLOGIES SPANNING OVER SEVERAL SECTIONS OF THE IPC; TECHNICAL SUBJECTS COVERED BY FORMER USPC CROSS-REFERENCE ART COLLECTIONS [XRACs] AND DIGESTS
- Y02—TECHNOLOGIES OR APPLICATIONS FOR MITIGATION OR ADAPTATION AGAINST CLIMATE CHANGE
- Y02E—REDUCTION OF GREENHOUSE GAS [GHG] EMISSIONS, RELATED TO ENERGY GENERATION, TRANSMISSION OR DISTRIBUTION
- Y02E50/00—Technologies for the production of fuel of non-fossil origin
- Y02E50/10—Biofuels, e.g. bio-diesel
-
- Y—GENERAL TAGGING OF NEW TECHNOLOGICAL DEVELOPMENTS; GENERAL TAGGING OF CROSS-SECTIONAL TECHNOLOGIES SPANNING OVER SEVERAL SECTIONS OF THE IPC; TECHNICAL SUBJECTS COVERED BY FORMER USPC CROSS-REFERENCE ART COLLECTIONS [XRACs] AND DIGESTS
- Y02—TECHNOLOGIES OR APPLICATIONS FOR MITIGATION OR ADAPTATION AGAINST CLIMATE CHANGE
- Y02P—CLIMATE CHANGE MITIGATION TECHNOLOGIES IN THE PRODUCTION OR PROCESSING OF GOODS
- Y02P20/00—Technologies relating to chemical industry
- Y02P20/50—Improvements relating to the production of bulk chemicals
- Y02P20/52—Improvements relating to the production of bulk chemicals using catalysts, e.g. selective catalysts
-
- Y—GENERAL TAGGING OF NEW TECHNOLOGICAL DEVELOPMENTS; GENERAL TAGGING OF CROSS-SECTIONAL TECHNOLOGIES SPANNING OVER SEVERAL SECTIONS OF THE IPC; TECHNICAL SUBJECTS COVERED BY FORMER USPC CROSS-REFERENCE ART COLLECTIONS [XRACs] AND DIGESTS
- Y02—TECHNOLOGIES OR APPLICATIONS FOR MITIGATION OR ADAPTATION AGAINST CLIMATE CHANGE
- Y02P—CLIMATE CHANGE MITIGATION TECHNOLOGIES IN THE PRODUCTION OR PROCESSING OF GOODS
- Y02P20/00—Technologies relating to chemical industry
- Y02P20/50—Improvements relating to the production of bulk chemicals
- Y02P20/584—Recycling of catalysts
Landscapes
- Chemical & Material Sciences (AREA)
- Organic Chemistry (AREA)
- Engineering & Computer Science (AREA)
- Chemical Kinetics & Catalysis (AREA)
- Materials Engineering (AREA)
- Combustion & Propulsion (AREA)
- Inorganic Chemistry (AREA)
- Oil, Petroleum & Natural Gas (AREA)
- General Health & Medical Sciences (AREA)
- Health & Medical Sciences (AREA)
- General Chemical & Material Sciences (AREA)
- Catalysts (AREA)
- Hydrogen, Water And Hydrids (AREA)
- Industrial Gases (AREA)
Abstract
【解決手段】炭素質原料の熱分解タールを改質してガス化するタール改質用触媒において、ニッケルとマグネシウムの溶液に沈殿剤を用いて沈殿物を生成し、当該沈殿物を乾燥及び焼成してニッケルとマグネシウムの酸化物を生成したものに、アルミナと水またはアルミナゾルを加えたものを混合し、当該混合物を少なくとも乾燥及び焼成して製造することを特徴とする。
【選択図】なし
Description
(6) 前記タール含有ガス改質用触媒の存在下又は還元後の前記触媒の存在下において、炭素質原料を熱分解した際に発生するタール含有ガス中の水素、二酸化炭素、及び水蒸気を接触させ
て、前記タール含有ガス中のタールを改質してガス化することを特徴とする(5)に記載のタール改質方法である。また、
(10) 前記タール含有ガスが、石炭を乾留したときに発生する乾留ガスであることを特徴とする(5)〜(9)に記載のタール含有ガスの改質方法である。また、
(13) 前記タール含有ガス改質用触媒に前記タール含有ガスを600〜1000℃で接触させることを特徴とする(5)〜(12)のいずれかに記載のタール含有ガスの改質方法である。また、
炭素析出、硫黄被毒の少なくともいずれかにより性能劣化した場合に、前記触媒に水蒸気、または空気の少なくともいずれかを前記触媒に接触させて前記触媒を再生することを特徴とするタール含有ガスの改質用触媒の再生方法である。
なお、上記乾燥については、下記に示す焼成時の昇温パターンを考慮することにより、焼成と同一の工程で一段で実施することもできる。
硝酸ニッケルと硝酸マグネシウムを各金属元素のモル比が1:9になるように精秤して、60℃の加温で混合水溶液を調製したものに、60℃に加温した炭酸カリウム水溶液を加えて、ニッケルとマグネシウムを水酸化物として共沈させ、スターラーで十分に攪拌した。その後、60℃に保持したまま一定時間攪拌を続けて熟成を行った後、吸引ろ過を行い、80℃の純水で十分に洗浄を行った。洗浄後に得られた沈殿物を120℃で乾燥し粗粉砕した後、空気中600℃で焼成(か焼)したものをビーカーに入れ、アルミナゾルを加えて攪拌羽を取り付けた混合器で十分混合したものをなすフラスコに移してロータリーエバポレーターに取り付け、攪拌しながら吸引することで、水分を蒸発させた。なすフラスコ壁面に付着したニッケルとマグネシウムとアルミナの混合物を蒸発皿に移して120℃で乾燥、600℃でか焼後、粉末を圧縮成形器を用いて3mmφの錠剤状にプレス成型し、錠剤成型体を得た。その成型体を空気中1100℃で焼成を行い、Ni0.1Mg0.9Oにアルミナが50質量%混合した触媒成型体を調製した。その成型体を木屋式硬度計で計測したところ、180Nの高い強度を保持することが分かった。
CO選択率(%)=(COの体積量) /(供給されたメチルナフタレンのC供給量)×100
CO2選択率(%)=(CO2の体積量) /(供給されたメチルナフタレンのC供給量)×100
炭素析出率(%)=(析出炭素重量)/(供給されたメチルナフタレンのC供給量)×100
実施例1と同一の触媒を、950℃で焼成し、30cc用いる他は全て実施例1と同じ方法とし、表2の条件下で触媒活性を評価した。その結果を表2に示す。
Dhkl=Kλ/βcosθ
ニッケルとマグネシウムの酸化物のうち、ニッケルとマグネシウムとアルミナの質量%が表3になるように調製する他は実施例1と同様に触媒を調製した。アルミナが20質量%の場合には、強度は100〜120Nであったが、50質量%の場合には、強度は160〜200N、80質量%の場合には、強度は180〜240Nとアルミナ添加量に伴い強度が増加し、いずれの場合にも比較的高い強度を有すると評価された。また実験条件としては、反応温度800℃、H2S濃度2000ppm、常圧下で実施例1のNo.3の条件で評価した。その結果を表3、4に示す。
反応温度800℃、H2S濃度2000ppm、反応時にH2O、CO2及びO2を表5に示した各条件になるように導入したほかは実施例1と同様に触媒調製、評価を行った。その結果を表5に示す。尚、ここでH2O/C、CO2/C及びO2/CのCは供給されたメチルナフタレンのC供給量を示す。
コークス炉をシミュレートできるバッチ炉に実際のコークス炉で使用している装入炭を80kg充填し、実コークス炉に合わせて800℃に昇温して、実コークス炉ガス及び随伴する実タールを発生させた。その際のタール含有ガス中のタールは、約0.04g/Lであった。そのガスを吸引ポンプで捕集し、実験に用いた。反応温度800℃になるよう昇温した電気炉内部に反応管を配置してその中央部に実施例1と同様の製造方法によりNi0.1Mg0.9Oにアルミナが50質量%混合した酸化物をリング状に成型したもの(強度は約200N)を設置し、水素を10NL/minで2時間還元後、バッチ炉から捕集したガスを触媒層へ流すことにより、実コークス炉ガス及び随伴実タールの触媒分解活性を5時間継続して評価した。入口ガス流量は約10NL/minで、触媒充填量は約1Lであった。尚、入口ガス組成は実コークス炉ガスとほぼ同じ組成であることをガスクロマトグラフィーで確認した。また、そのガス中には硫化水素が2400〜2500ppm含まれていることを確認した。ガス中のタール濃度は、以下の方法で評価した。すなわち、触媒層の入口と出口部に取り付けた開閉可能なコックに、予め真空状態にした1Lの真空捕集瓶を取り付けてコックを開くことにより、各々のガスを捕集する。そして、捕集瓶内をジクロロメタンで洗浄し、常温でジクロロメタンを完全に除去した後の液体成分の質量を定量した。そして、タール分解率は、前記手法で捕集した触媒層入口ガス中タール成分の質量に対する触媒層出口ガス中タール成分の質量の割合から求めた。その結果、タール分解率は反応開始後2時間経過時で88%、水素増幅率は5時間平均で2.2まで到達した。
実施例1のNo.3の条件で8hr継続して反応を進行させた後、原料の投入を停止し、キャリアガスとしてN2 60cc/min、H2Oをガス換算で60cc/minの状況下で触媒層温度を800℃にして5hr保持して触媒上に堆積した炭素や硫黄を除去した後、新たに実施例1と同じ条件で原料の投入を開始したところ、再生前の9割以上の活性を示すことが確認された。また本試験における改質後のガス中の水素濃度も高く、水素、一酸化炭素、メタンが主成分のガスに変換されたことが確認された。
実施例6と同様、実施例1のNo.3の条件で8hr継続して反応を進行させた後、原料の投入を停止し、キャリアガスとしてN2 60cc/min、空気60cc/minの状況下で触媒層温度を800℃にして2hr保持して触媒上に堆積した炭素や硫黄を除去した後、新たに実施例1と同じ条件で原料の投入を開始したところ、再生前の9割以上の活性を示すことが確認された。また本試験における改質後のガス中の水素濃度も高く、水素、一酸化炭素、メタンが主成分のガスに変換されたことが確認された。
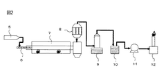
図2に示されるロータリーキルン7を乾留炉として800℃に昇温した後、石炭塊(5cm以下に分級)を充填したホッパー5から定量供給機6を用い、ロータリーキルン7の中に20kg/hの供給速度で石炭塊を導入してタールを含有する乾留ガスを発生させ、誘引通風機11によりガス流量約10Nm3/hになるように流量を調整した状態で、そのタール含有ガス(乾留ガス)を実施例1と同じ触媒組成で外径15mmφ、内径5mmφ、高さ15mmのリング状成型触媒を充填、約800℃に保温した触媒塔8へ導入し、触媒と接触させることにより、タール含有ガスの触媒分解活性を8時間継続して評価した。その後、改質ガスをスクラバー9で水冷、油バブラー10で除塵した後、フレアスタック12で燃焼放散させた。尚、原料投入前に水素5Nm3/hで30分間還元処理を行った。入口ガス流量は約10Nm3/hで、触媒充填量は約15Lであった。その際のタール含有ガス中のタールは、約60g/Nm3であった。尚、入口ガス組成は実コークス炉ガスとほぼ同じ組成であることをガスクロマトグラフィーで確認した。また、そのガス中には、原料である石炭に含まれている約6%の水分が揮発し、水蒸気となって含まれていた。さらに、そのガス中には硫化水素が2000〜2500ppm含まれていることを確認した。ガス中のタール濃度は、触媒層の入口と出口からガスを一定時間吸引してジクロロメタンを充填した五連式インピンジャーを通してガス中のタール成分を捕集した後、ジクロロメタンを除去後の常温で液体の成分を定量することにより評価した。そして、タール分解率は、前記手法で捕集した触媒層入口ガス中タール成分の質量に対する触媒層出口ガス中タール成分の質量の割合から求めた。その結果、タール分解率は反応開始後3時間経過時で約81%、水素増幅率は8時間平均で2.3まで到達し、ベンチプラント規模でのタール含有ガスの触媒ドライガス化反応が進行していることを検証した。
実施例8と同一の設備を用い、その中に10kg/hの供給速度で建築廃材チップ(5cm以下に分級)を供給して800℃に保持したロータリーキルン7で乾留することによりバイオマスタール含有ガス(乾留ガス)を発生させ、そのタール含有ガスを実施例3のNo.18と同じ組成の他は実施例8と同じ成型触媒を充填、約800℃に保温した触媒塔へ導入し、触媒と接触させることにより、タール含有ガスの触媒分解活性を8時間継続して評価した。尚、原料投入前に水素5Nm3/hで30分間還元処理を行った。入口ガス流量は約10Nm3/hで、触媒充填量は約15Lであった。その際のバイオマスタール含有ガス中のタールは、約10g/Nm3であった。尚、入口ガス組成はコークス炉ガスに近く、水素、CO、メタン、CO2を主成分とする組成であることをガスクロマトグラフィーで確認した。また、そのガス中には、原料である建築廃材に含まれている約16%の水分が揮発し、水蒸気となって含まれていた。さらに、そのガス中には硫化水素が約25ppm含まれていることを確認した。尚、タール分解率は、実施例8と同様の手法により触媒層の入口と出口からタール含有ガス中タール成分を捕集し、タール分を定量することにより評価した。その結果、タール分解率は反応開始後3時間経過時で94%、水素増幅率は8時間を通して約6で安定に推移し、ベンチプラント規模でのバイオマスタール含有ガスの触媒ドライガス化反応が安定して進行していることを検証した。
実施例8と同一の設備を用い、その中に10kg/hの供給速度でスーパーマーケット等から集められた食品廃棄物の乾燥塊(5cm以下に分級)を供給して800℃に保持したロータリーキルン7で乾留することによりバイオマスタール含有ガス(乾留ガス)を発生させ、そのタール含有ガスを実施例3のNo.18と同じ組成の他は実施例8と同じ成型触媒を充填、約800℃に保温した触媒塔へ導入し、触媒と接触させることにより、タール含有ガスの触媒分解活性を8時間継続して評価した。尚、原料投入前に水素5Nm3/hで30分間還元処理を行った。入口ガス流量は約10Nm3/hで、触媒充填量は約15Lであった。その際のバイオマスタール含有ガス中のタールは、約23g/Nm3であった。尚、入口ガス組成はコークス炉ガスに近く、水素、CO、メタン、CO2を主成分とする組成であることをガスクロマトグラフィーで確認した。また、そのガス中には、原料である食品廃棄物の乾燥品及び建築廃材の混合品に含まれている約30%の水分が揮発し、水蒸気となって含まれていた。さらに、そのガス中には硫化水素が約400ppm含まれていることを確認した。尚、タール分解率は、実施例8と同様の手法により触媒層の入口と出口からタール含有ガス中タール成分を捕集し、タール分を定量することにより評価した。その結果、タール分解率は反応開始後3時間経過時で88%、水素増幅率は反応初期から徐々に硫黄被毒により低下したが、反応開始後4hr以降約4強で安定に推移し、ベンチプラント規模でのバイオマスタール含有ガスの触媒ドライガス化反応が安定して進行していることを検証した。
実施例8と同一の設備を用い、その中に10kg/hの供給速度で、実施例10と同一の食品廃棄物の乾燥塊(5cm以下に分級)と建築廃材チップ(5cm以下に分級)を重量比で1:2に混合したものを供給して800℃に保持したロータリーキルン7で乾留することによりバイオマスタール含有ガス(乾留ガス)を発生させ、そのタール含有ガスを実施例3のNo.18と同じ組成の他は実施例8と同じ成型触媒を充填、約800℃に保温した触媒塔へ導入し、触媒と接触させることにより、タール含有ガスの触媒分解活性を8時間継続して評価した。尚、原料投入前に水素5Nm3/hで30分間還元処理を行った。入口ガス流量は約10Nm3/hで、触媒充填量は約15Lであった。その際のバイオマスタール含有ガス中のタールは、約14g/Nm3であった。尚、入口ガス組成はコークス炉ガスに近く、水素、CO、メタン、CO2を主成分とする組成であることをガスクロマトグラフィーで確認した。また、そのガス中には、原料である食品廃棄物の乾燥品及び建築廃材の混合品に含まれている約20%の水分が揮発し、水蒸気となって含まれていた。さらに、そのガス中には硫化水素が約200ppm含まれていることを確認した。尚、タール分解率は、実施例8と同様の手法により触媒層の入口と出口からタール含有ガス中タール成分を捕集し、タール分を定量することにより評価した。その結果、タール分解率は反応開始後3時間経過時で87%、水素増幅率は反応初期から徐々に硫黄被毒により低下したが、反応開始後4hr以降約4.4で安定に推移し、ベンチプラント規模でのバイオマスタール含有ガスの触媒ドライガス化反応が安定して進行していることを検証した。
実施例8で8時間改質した後、原料である石炭の供給を停止し、窒素で系内をパージした後、800℃で保持されたロータリーキルン7の入口付近に設置したガス取り込み口より空気を吸い込み、ロータリーキルンで加熱された空気を触媒塔へ約10hr導入することで、改質後の触媒表面上に堆積した析出炭素及び吸着硫黄を酸化除去し、再生した。その後、酸素分を追い出すために窒素で系内をパージした後、再度水素5Nm3/hで30分間還元処理を行った後、原料を同一速度で供給し、触媒と接触させることにより、タール含有ガスの触媒分解活性を8時間継続して評価した。その結果、再生後のタール分解率、水素増幅率は再生前と同様の数値が得られ、空気燃焼による触媒の再生が十分行われたことが検証された。また、このタール含有ガスの触媒分解、その後の触媒再生を5回繰返し行ったが、水素増幅率は再生前と同様の安定した結果が得られ、長期で運転できることがわかった。
実施例9で8時間改質した後、原料である建築廃材チップの供給を停止し、実施例12と同様に窒素で系内をパージした後、800℃で保持されたロータリーキルン7入口付近に設置したガス取り込み口より空気を吸い込み、ロータリーキルンで加熱された空気を触媒塔へ約10hr導入することで、改質後の触媒表面上に堆積した析出炭素及び吸着硫黄を酸化除去し、再生した。その後、酸素分を追い出すために窒素で系内をパージした後、再度水素5Nm3/hで30分間還元処理を行った後、原料を実施例9と同一速度で供給し、触媒と接触させることにより、タール含有ガスの触媒分解活性を8時間継続して評価した。その結果、再生後のタール分解率、水素増幅率は再生前と同様の数値が得られ、建築廃材チップの場合にも空気燃焼による触媒の再生が十分行われたことが検証された。また、このバイオマスタール含有ガスの触媒分解、その後の触媒再生を6回繰返し行ったが、水素増幅率は再生前と同様の安定した結果が得られ、長期で運転できることがわかった。
実施例10で8時間改質した後、原料である食品廃棄物乾燥塊の供給を停止し、実施例12と同様に窒素で系内をパージした後、800℃で保持されたロータリーキルン7入口付近に設置したガス取り込み口より空気を吸い込み、ロータリーキルンで加熱された空気を触媒塔へ約10hr導入することで、改質後の触媒表面上に堆積した析出炭素及び吸着硫黄を酸化除去し、再生した。その後、酸素分を追い出すために窒素で系内をパージした後、再度水素5Nm3/hで30分間還元処理を行った後、原料を実施例10と同一速度で供給し、触媒と接触させることにより、タール含有ガスの触媒分解活性を8時間継続して評価した。その結果、再生後のタール分解率、水素増幅率は再生前と同様の数値が得られ、食品廃棄物乾燥塊の場合にも空気燃焼による触媒の再生が十分行われたことが検証された。また、このバイオマスタール含有ガスの触媒分解、その後の触媒再生を5回繰返し行ったが、水素増幅率は再生前と同様の安定した結果が得られ、長期で運転できることがわかった。
実施例11で8時間改質した後、原料である食品廃棄物乾燥塊と建築廃材チップ混合品の供給を停止し、実施例12と同様に窒素で系内をパージした後、800℃で保持されたロータリーキルン7入口付近に設置したガス取り込み口より空気を吸い込み、ロータリーキルンで加熱された空気を触媒塔へ約10hr導入することで、改質後の触媒表面上に堆積した析出炭素及び吸着硫黄を酸化除去し、再生した。その後、酸素分を追い出すために窒素で系内をパージした後、再度水素5Nm3/hで30分間還元処理を行った後、原料を実施例11と同一速度で供給し、触媒と接触させることにより、タール含有ガスの触媒分解活性を8時間継続して評価した。その結果、再生後のタール分解率、水素増幅率は再生前と同様の数値が得られ、食品廃棄物乾燥塊と建築廃材チップ混合品の場合にも空気燃焼による触媒の再生が十分行われたことが検証された。また、このバイオマスタール含有ガスの触媒分解、その後の触媒再生を5回繰返し行ったが、水素増幅率は再生前と同様の安定した結果が得られ、長期で運転できることがわかった。
実施例1と同じ実験手法で実施例2のNo.8の条件で、触媒として工業触媒の一つであるズードケミー製ナフサ一次リフォーミング触媒(SC11NK;Ni-20質量%担持アルミナ成型品)(強度は500Nと高い)で改質試験を行ったところ、メタン選択率が2.5%、CO選択率が4.2%、CO2選択率が5.9%、炭素析出率が32.8%、分解率45.4%、水素増幅率が1.3となった。
実施例4と同じ試験設備を用い、実施例5と同じ条件で比較例1で用いた工業触媒(SC11NK)を反応管に設置して評価を行った。その結果、タール分解率は反応開始後2時間経過時で22%にとどまり、水素増幅率も5時間平均で約1.5となり、工業触媒は実コークス炉ガス、実タール下での評価でもタール分解率が低いことが判明した。
実施例1と同様にしてニッケルとマグネシウムの沈殿物を調製した後、ろ過、洗浄、乾燥した後、空気中950℃で20時間焼成を行い、ニッケルとマグネシアの化合物を得た。その後、シリカゾルを触媒中のSiO2が50質量%の割合になるように添加し、スラリーを調製した。その後平均粒径が約50μmになるような条件で噴霧乾燥を行い、そこで得られた粉末を空気中950℃で焼成を行った。さらに、得られた固溶体酸化物を実施例1と同じ実験手法で成型、焼成した後、実施例2のNo.8と同じ条件で活性評価を行った。その結果、触媒活性はメチルナフタレンの分解率が15%程度どまりで非常に低く、水素増幅率も1.0と全く増幅しない結果となり、強度が低く、触媒活性も低いことが判明した。
実施例1と同様にしてニッケルとマグネシウムの沈殿物を調製した後、ろ過、洗浄、乾燥した後、空気中950℃で焼成を行い、ニッケルとマグネシアの化合物を得た。その後、アルミナ粉末を50wt%になるように秤量し、両者を乳鉢を用いて物理的に混合した。その混合物を実施例1と同じ実験手法で成型、焼成した後、強度及び実施例2のNo.8と同じ条件で活性評価を行った。その結果、触媒活性はメチルナフタレンの分解率が66.7%程度、水素増幅率も1.6と中程度の触媒活性を示したが、強度が40Nどまりであり、実用上適用困難な強度であることが判明した。
非特許文献1や特許文献8などで公開されているように、ニッケルとマグネシウム及びアルミニウムを含んだ水溶液から沈殿剤により沈殿物を作成、焼成する製法で調製した。即ち、硝酸ニッケルと硝酸マグネシウムと硝酸アルミニウムを、ニッケルとマグネシウムの金属元素のモル比が実施例1と同じ1:9になるようにし、アルミナとして50wt%になるように計算して精秤し、60℃の純水に混合した混合溶液を調製したものに、実施例1と同様60℃に加温した炭酸カリウム水溶液を加え、スターラーで十分に攪拌した。その後、60℃に保持したまま一定時間攪拌を続けて熟成を行った後、吸引ろ過を行い、80℃の純水で十分に洗浄した。その後、この沈殿物を蒸発皿に移して120℃で乾燥、乳鉢で粉砕後、粉末を圧縮成型器を用いて実施例1と同様にプレス成型し、錠剤成型体を得た。その成型体を、空気中、1100℃で焼成を行って触媒成型体を調製した。これを用いて実施例2のNo.8と同じ条件で活性評価を行った。その結果、触媒活性はメチルナフタレンの分解率が62.6%程度(内、炭素析出率が19.9%)、水素増幅率は1.6と中程度の触媒活性しか示さず、炭素析出量が非常に多いことが判明した。
また、実施例2と同様の手法で、反応後の触媒を粉砕し、図4に示す広角X線回折によるNi(200)ピークから求めたNi粒は35nmと算出され、本手法で調製された化合物からはNiが微細に析出することができないために、炭素析出量が多く、また改質活性も低い結果になったと考えられる。
2 安水
3 コークス炉
4 ドライメーン
5 原料ホッパー
6 定量供給機
7 外熱式ロータリーキルン
8 触媒塔
9 水スクラバー
10 油バブラー
11 誘引通風機
12 フレアスタック
(10) 前記タール含有ガスが、石炭を乾留したときに発生する乾留ガスであることを特徴とする(5)〜(9)に記載のタール含有ガスの改質方法である。また、
(9) 前記タール含有ガスが、石炭を乾留したときに発生する乾留ガスであることを特徴とする(1)〜(8)に記載のタール含有ガスの改質方法である。また、
(12) 前記タール含有ガス改質用触媒に前記タール含有ガスを600〜1000℃で接触させることを特徴とする(1)〜(11)のいずれかに記載のタール含有ガスの改質方法である。
Claims (14)
- ニッケル化合物とマグネシウム化合物の溶液に沈殿剤を添加して、ニッケルとマグネシウムを共沈させて沈殿物を生成し、当該沈殿物を乾燥及び焼成してニッケルとマグネシウムの酸化物を生成し、当該酸化物に、アルミナ粉末と水、または、アルミナゾルを加えて混合して混合物を生成し、当該混合物を少なくとも乾燥及び焼成して触媒を製造することを特徴とするタール含有ガスの改質用触媒の製造方法。
- 前記混合物を乾燥及び焼成、又は乾燥、か焼、粉砕、成型及び焼成して触媒を製造することを特徴とする請求項1記載のタール含有ガスの改質用触媒の製造方法。
- 前記製造されたタール含有ガスの改質用触媒が、ニッケル含有量において1〜50質量%、マグネシウム含有量において5〜45質量%、アルミナの含有量において20〜80質量%となるように製造することを特徴とする請求項1または2に記載のタール含有ガスの改質用触媒の製造方法。
- 前記製造されたタール含有ガスの改質用触媒が、ニッケル含有量において1〜35質量%、マグネシウム含有量において10〜25質量%、アルミナの含有量において20〜80質量%となるように製造することを特徴とする請求項1または2に記載のタール含有ガスの改質用触媒の製造方法。
- 請求項1〜4のいずれかに1項に記載の製造方法で製造されるタール含有ガスの改質用触媒を用いたタール含有ガスの改質方法。
- 前記タール含有ガス改質用触媒の存在下又は還元後の前記触媒の存在下において、炭素質原料を熱分解した際に発生するタール含有ガス中の水素、二酸化炭素、及び水蒸気を接触させて、前記タール含有ガス中のタールを改質してガス化することを特徴とする請求項5に記載のタール含有ガスの改質方法。
- 前記熱分解した際に発生するタール含有ガスに、外部から水素、二酸化炭素、水蒸気の少なくともいずれかを接触させて、前記タール含有ガスを改質してガス化することを特徴とする請求項5または6に記載のタール含有ガスの改質方法。
- 前記タール含有ガスが、硫化水素を20ppm以上含むタール含有ガスであることを特徴とする請求項5〜7のいずれか1項に記載のタール含有ガスの改質方法。
- 前記改質用ガスに、更に酸素含有ガスを加えて、タール含有ガスに接触させることを特徴とする請求項5〜8のいずれか1項に記載のタール含有ガスの改質方法。
- 前記タール含有ガスが、石炭を乾留したときに発生する乾留ガスであることを特徴とする請求項5〜9に記載のタール含有ガスの改質方法。
- 前記タール含有ガスがコークス炉から排出されるコークス炉ガスであることを特徴とする請求項5〜9のいずれか1項に記載のタール含有ガスの改質方法。
- 前記タール含有ガスが、木質系バイオマス、食品廃棄物系バイオマスの少なくともいずれかを乾留したときに発生する乾留ガスであることを特徴とする請求項5〜9のいずれか1項に記載のタール含有ガスの改質方法。
- 前記タール含有ガス改質用触媒に前記タール含有ガスを600〜1000℃で接触させることを特徴とする請求項5〜12のいずれか1項に記載のタール含有ガスの改質方法。
- 請求項5〜13のいずれか1項に記載のタール含有ガスの改質方法の実施により、前記触媒が、炭素析出、硫黄被毒の少なくともいずれかにより性能劣化した場合に、前記触媒に水蒸気、または空気の少なくともいずれかを接触させて、前記触媒を再生することを特徴とするタール含有ガスの改質用触媒の再生方法。
Priority Applications (7)
| Application Number | Priority Date | Filing Date | Title |
|---|---|---|---|
| JP2008244851A JP4436424B2 (ja) | 2007-12-27 | 2008-09-24 | タール含有ガスの改質方法 |
| BRPI0821811-0A BRPI0821811B1 (pt) | 2007-12-27 | 2008-12-26 | Method of production of recovery catalyzer of gas containing alcatrão, and method of recovery of gas containing alcatrão |
| EP08866954.4A EP2236204B8 (en) | 2007-12-27 | 2008-12-26 | Process for production of catalyst for use in the reforming of tar-containing gas, method for reforming of tar, and method for regeneration of catalyst for use in the reforming of tar-containing gas |
| PCT/JP2008/073976 WO2009084736A1 (ja) | 2007-12-27 | 2008-12-26 | タール含有ガスの改質用触媒の製造方法、タール改質方法及びタール含有ガスの改質用触媒の再生方法 |
| CN2008801229114A CN101918133B (zh) | 2007-12-27 | 2008-12-26 | 含焦油气体的重整用催化剂的制造方法、焦油重整方法和含焦油气体的重整用催化剂的再生方法 |
| TW097150940A TW200938298A (en) | 2007-12-27 | 2008-12-26 | Production method of reforming catalyst for tar-containing gas, tar reforming method, and regeneration method of reforming catalyst for tar-containing gas |
| KR1020107014057A KR101203229B1 (ko) | 2007-12-27 | 2008-12-26 | 타르 함유 가스의 개질용 촉매의 제조 방법, 타르 개질 방법 및 타르 함유 가스의 개질용 촉매의 재생 방법 |
Applications Claiming Priority (5)
| Application Number | Priority Date | Filing Date | Title |
|---|---|---|---|
| JP2007337311 | 2007-12-27 | ||
| JP2007337311 | 2007-12-27 | ||
| JP2008155887 | 2008-06-13 | ||
| JP2008155887 | 2008-06-13 | ||
| JP2008244851A JP4436424B2 (ja) | 2007-12-27 | 2008-09-24 | タール含有ガスの改質方法 |
Publications (2)
| Publication Number | Publication Date |
|---|---|
| JP2010017701A true JP2010017701A (ja) | 2010-01-28 |
| JP4436424B2 JP4436424B2 (ja) | 2010-03-24 |
Family
ID=40824440
Family Applications (1)
| Application Number | Title | Priority Date | Filing Date |
|---|---|---|---|
| JP2008244851A Active JP4436424B2 (ja) | 2007-12-27 | 2008-09-24 | タール含有ガスの改質方法 |
Country Status (7)
| Country | Link |
|---|---|
| EP (1) | EP2236204B8 (ja) |
| JP (1) | JP4436424B2 (ja) |
| KR (1) | KR101203229B1 (ja) |
| CN (1) | CN101918133B (ja) |
| BR (1) | BRPI0821811B1 (ja) |
| TW (1) | TW200938298A (ja) |
| WO (1) | WO2009084736A1 (ja) |
Cited By (15)
| Publication number | Priority date | Publication date | Assignee | Title |
|---|---|---|---|---|
| JP2010077219A (ja) * | 2008-09-24 | 2010-04-08 | Nippon Steel Corp | タール含有ガスの改質方法 |
| JP2011212598A (ja) * | 2010-03-31 | 2011-10-27 | Nippon Steel Corp | タール含有ガスの改質用触媒及びその製造方法、並びにタール含有ガスの改質方法 |
| JP2011212574A (ja) * | 2010-03-31 | 2011-10-27 | Nippon Steel Corp | タール含有ガスの改質用触媒及びその製造方法、並びにタール含有ガスの改質方法 |
| JP2011212551A (ja) * | 2010-03-31 | 2011-10-27 | Nippon Steel Corp | タール含有ガスの改質用触媒及びその製造方法、並びにタール含有ガスの改質方法 |
| JP2011212553A (ja) * | 2010-03-31 | 2011-10-27 | Nippon Steel Corp | タール含有ガスの改質用触媒及びその製造方法、並びにタール含有ガスの改質方法 |
| JP2011212603A (ja) * | 2010-03-31 | 2011-10-27 | Nippon Steel Corp | タール含有ガスの改質用触媒及びその製造方法、並びにタール含有ガスの改質方法 |
| JP2011212535A (ja) * | 2010-03-31 | 2011-10-27 | Nippon Steel Corp | タール含有ガスの改質用触媒及びその製造方法、並びにタール含有ガスの改質方法 |
| JP2011212552A (ja) * | 2010-03-31 | 2011-10-27 | Nippon Steel Corp | タール含有ガスの改質用触媒及びその製造方法、並びにタール含有ガスの改質方法 |
| JP2012246350A (ja) * | 2011-05-25 | 2012-12-13 | Nippon Steel Corp | 水素富化コークス炉ガス製造システム |
| JP2013237049A (ja) * | 2013-07-22 | 2013-11-28 | Nippon Steel & Sumitomo Metal Corp | タール含有ガスの改質用触媒及びその製造方法、並びにタール含有ガスの改質方法 |
| JP2013237048A (ja) * | 2013-07-22 | 2013-11-28 | Nippon Steel & Sumitomo Metal Corp | タール含有ガスの改質用触媒及びその製造方法、並びにタール含有ガスの改質方法 |
| US9090465B2 (en) | 2008-09-24 | 2015-07-28 | Nippon Steel & Sumitomo Metal Corporation | Method for producing catalyst reforming tar-containing gas, method for reforming tar and method for regenerating catalyst for reforming tar-containing gas |
| KR101660696B1 (ko) * | 2015-09-08 | 2016-09-28 | 주식회사 포스코 | 타르 분해 장치, 용철 제조 장치 및 용철 제조 방법 |
| JP2020055946A (ja) * | 2018-10-02 | 2020-04-09 | 株式会社Ihi | ガス化ガス製造装置、および、ガス化ガスの製造方法 |
| JP2020055947A (ja) * | 2018-10-02 | 2020-04-09 | 株式会社Ihi | ガス化ガス製造装置、および、ガス化ガスの製造方法 |
Families Citing this family (20)
| Publication number | Priority date | Publication date | Assignee | Title |
|---|---|---|---|---|
| CN102427879B (zh) * | 2009-05-19 | 2015-05-13 | 新日铁住金株式会社 | 含焦油气体重整用催化剂、其制造方法、使用了其的含焦油气体重整方法、及其再生方法 |
| DE102009039920A1 (de) | 2009-09-03 | 2011-03-10 | Karl-Heinz Tetzlaff | Verfahren und Vorrichtung zur Nutzung von Sauerstoff bei der Dampfreformierung von Biomasse |
| JP5477561B2 (ja) * | 2009-09-09 | 2014-04-23 | 戸田工業株式会社 | 炭化水素を分解する多孔質触媒体及びその製造方法、炭化水素から水素を含む混合改質ガスを製造する方法、並びに燃料電池システム |
| CN102949994A (zh) * | 2011-08-31 | 2013-03-06 | 中国石油化工股份有限公司 | 高活性烃类蒸汽预转化催化剂 |
| KR102068732B1 (ko) * | 2011-11-09 | 2020-01-21 | 바스프 에스이 | 연료 전지에서 메탄을 스팀 개질하기 위한 촉매 조성물 |
| US8993477B2 (en) | 2011-11-09 | 2015-03-31 | Basf Se | Catalyst composition for the steam reforming of methane in fuel cells |
| KR101353220B1 (ko) * | 2012-09-04 | 2014-01-22 | 재단법인 포항산업과학연구원 | 고온 원소유황 생성촉진용 촉매 및 이의 제조방법 |
| CN103877980A (zh) * | 2014-03-19 | 2014-06-25 | 中国科学院过程工程研究所 | 一种用于催化热解实现焦油轻质化的催化剂及其制备方法 |
| ES2832742T3 (es) * | 2014-12-15 | 2021-06-11 | Haldor Topsoe As | Proceso y sistema para la regeneración de un catalizador de reformador de alquitrán |
| CN105542806A (zh) * | 2016-01-27 | 2016-05-04 | 华东理工大学 | 一种生物质连续炭化生产清洁燃气和生物质炭的装置及方法 |
| CN105665418B (zh) * | 2016-01-28 | 2018-01-30 | 罗红杰 | 一种垃圾无氧裂解设备 |
| CN112007625B (zh) * | 2019-05-28 | 2023-05-30 | 中国石油化工股份有限公司 | 一种α-氧化铝载体及制备方法和银催化剂与应用 |
| US11517892B2 (en) | 2019-12-03 | 2022-12-06 | Saudi Arabian Oil Company | Methods of producing isomerization catalysts |
| US11311869B2 (en) | 2019-12-03 | 2022-04-26 | Saudi Arabian Oil Company | Methods of producing isomerization catalysts |
| CN111592904B (zh) * | 2020-04-29 | 2021-07-02 | 中国科学院广州能源研究所 | 一种利用固废碳基双金属材料去除焦油的方法 |
| CN114073945B (zh) * | 2020-08-21 | 2023-05-26 | 中国石油天然气股份有限公司 | 一种复合氧化铝催化剂及其制备方法和应用 |
| US11679378B2 (en) | 2021-02-25 | 2023-06-20 | Saudi Arabian Oil Company | Methods of producing isomerization catalysts |
| CN113828318A (zh) * | 2021-07-29 | 2021-12-24 | 同济大学 | 一种以镁渣为载体的镍基催化剂及其制备方法 |
| CN113955718B (zh) * | 2021-10-27 | 2023-08-01 | 中冶焦耐(大连)工程技术有限公司 | 一种高温荒煤气非催化部分氧化直接重整工艺及系统 |
| WO2024174155A1 (zh) * | 2023-02-23 | 2024-08-29 | 宁波诺丁汉大学 | 一种焦油裂解催化剂及其制备方法 |
Family Cites Families (12)
| Publication number | Priority date | Publication date | Assignee | Title |
|---|---|---|---|---|
| JPS5550704B2 (ja) | 1972-06-08 | 1980-12-19 | ||
| JPS5311893A (en) * | 1976-07-20 | 1978-02-02 | Fujimi Kenmazai Kougiyou Kk | Catalysts |
| JPS5944346B2 (ja) | 1980-10-17 | 1984-10-29 | 新日本製鐵株式会社 | コ−クス炉発生ガスの熱回収方法 |
| JPS5876487A (ja) | 1981-11-02 | 1983-05-09 | Nippon Steel Chem Co Ltd | コ−クス炉ガス顕熱の回収方法及びその装置 |
| US5516359A (en) | 1993-12-17 | 1996-05-14 | Air Products And Chemicals, Inc. | Integrated high temperature method for oxygen production |
| JP3055405B2 (ja) | 1994-11-07 | 2000-06-26 | 日本鋼管株式会社 | 粗コークス炉ガスの顕熱回収方法 |
| GB9515300D0 (en) * | 1995-07-26 | 1995-09-20 | Ici Plc | Catalyst |
| JP4588268B2 (ja) | 2001-08-20 | 2010-11-24 | 新日本製鐵株式会社 | 粗コークス炉ガスの処理方法及び処理システム |
| JP4222827B2 (ja) * | 2002-03-25 | 2009-02-12 | 新日本製鐵株式会社 | 炭化水素の改質方法 |
| JP4048277B2 (ja) | 2003-08-06 | 2008-02-20 | 国立大学法人東北大学 | バイオマスのガス化方法及びガス化装置 |
| JP2007229548A (ja) * | 2006-02-27 | 2007-09-13 | Nippon Steel Engineering Co Ltd | バイオマス熱分解ガス化過程で使用する改質用触媒とその製造方法、及びその改質用触媒を用いた改質方法とバイオマス熱分解ガス化装置、並びに触媒再生方法 |
| JP2007283209A (ja) | 2006-04-17 | 2007-11-01 | Takuma Co Ltd | ガス化触媒とその製造方法およびガス化処理システム |
-
2008
- 2008-09-24 JP JP2008244851A patent/JP4436424B2/ja active Active
- 2008-12-26 CN CN2008801229114A patent/CN101918133B/zh active Active
- 2008-12-26 EP EP08866954.4A patent/EP2236204B8/en active Active
- 2008-12-26 TW TW097150940A patent/TW200938298A/zh unknown
- 2008-12-26 KR KR1020107014057A patent/KR101203229B1/ko active Active
- 2008-12-26 BR BRPI0821811-0A patent/BRPI0821811B1/pt active IP Right Grant
- 2008-12-26 WO PCT/JP2008/073976 patent/WO2009084736A1/ja not_active Ceased
Cited By (18)
| Publication number | Priority date | Publication date | Assignee | Title |
|---|---|---|---|---|
| US9090465B2 (en) | 2008-09-24 | 2015-07-28 | Nippon Steel & Sumitomo Metal Corporation | Method for producing catalyst reforming tar-containing gas, method for reforming tar and method for regenerating catalyst for reforming tar-containing gas |
| JP2010077219A (ja) * | 2008-09-24 | 2010-04-08 | Nippon Steel Corp | タール含有ガスの改質方法 |
| JP2011212598A (ja) * | 2010-03-31 | 2011-10-27 | Nippon Steel Corp | タール含有ガスの改質用触媒及びその製造方法、並びにタール含有ガスの改質方法 |
| JP2011212574A (ja) * | 2010-03-31 | 2011-10-27 | Nippon Steel Corp | タール含有ガスの改質用触媒及びその製造方法、並びにタール含有ガスの改質方法 |
| JP2011212551A (ja) * | 2010-03-31 | 2011-10-27 | Nippon Steel Corp | タール含有ガスの改質用触媒及びその製造方法、並びにタール含有ガスの改質方法 |
| JP2011212553A (ja) * | 2010-03-31 | 2011-10-27 | Nippon Steel Corp | タール含有ガスの改質用触媒及びその製造方法、並びにタール含有ガスの改質方法 |
| JP2011212603A (ja) * | 2010-03-31 | 2011-10-27 | Nippon Steel Corp | タール含有ガスの改質用触媒及びその製造方法、並びにタール含有ガスの改質方法 |
| JP2011212535A (ja) * | 2010-03-31 | 2011-10-27 | Nippon Steel Corp | タール含有ガスの改質用触媒及びその製造方法、並びにタール含有ガスの改質方法 |
| JP2011212552A (ja) * | 2010-03-31 | 2011-10-27 | Nippon Steel Corp | タール含有ガスの改質用触媒及びその製造方法、並びにタール含有ガスの改質方法 |
| JP2012246350A (ja) * | 2011-05-25 | 2012-12-13 | Nippon Steel Corp | 水素富化コークス炉ガス製造システム |
| JP2013237048A (ja) * | 2013-07-22 | 2013-11-28 | Nippon Steel & Sumitomo Metal Corp | タール含有ガスの改質用触媒及びその製造方法、並びにタール含有ガスの改質方法 |
| JP2013237049A (ja) * | 2013-07-22 | 2013-11-28 | Nippon Steel & Sumitomo Metal Corp | タール含有ガスの改質用触媒及びその製造方法、並びにタール含有ガスの改質方法 |
| KR101660696B1 (ko) * | 2015-09-08 | 2016-09-28 | 주식회사 포스코 | 타르 분해 장치, 용철 제조 장치 및 용철 제조 방법 |
| WO2017043736A1 (ko) * | 2015-09-08 | 2017-03-16 | 주식회사 포스코 | 타르 분해 장치, 용철 제조 장치 및 용철 제조 방법 |
| JP2020055946A (ja) * | 2018-10-02 | 2020-04-09 | 株式会社Ihi | ガス化ガス製造装置、および、ガス化ガスの製造方法 |
| JP2020055947A (ja) * | 2018-10-02 | 2020-04-09 | 株式会社Ihi | ガス化ガス製造装置、および、ガス化ガスの製造方法 |
| JP7110885B2 (ja) | 2018-10-02 | 2022-08-02 | 株式会社Ihi | ガス化ガス製造装置、および、ガス化ガスの製造方法 |
| JP7135686B2 (ja) | 2018-10-02 | 2022-09-13 | 株式会社Ihi | ガス化ガス製造装置、および、ガス化ガスの製造方法 |
Also Published As
| Publication number | Publication date |
|---|---|
| EP2236204B8 (en) | 2019-07-24 |
| CN101918133B (zh) | 2013-11-20 |
| JP4436424B2 (ja) | 2010-03-24 |
| BRPI0821811B1 (pt) | 2017-10-24 |
| CN101918133A (zh) | 2010-12-15 |
| KR101203229B1 (ko) | 2012-11-20 |
| WO2009084736A1 (ja) | 2009-07-09 |
| BRPI0821811A2 (pt) | 2015-06-16 |
| EP2236204A4 (en) | 2012-08-08 |
| KR20100087237A (ko) | 2010-08-03 |
| EP2236204A1 (en) | 2010-10-06 |
| EP2236204B1 (en) | 2019-05-22 |
| TW200938298A (en) | 2009-09-16 |
Similar Documents
| Publication | Publication Date | Title |
|---|---|---|
| JP4436424B2 (ja) | タール含有ガスの改質方法 | |
| JP5009419B2 (ja) | タール含有ガスの改質用触媒の製造方法、タール改質方法及びタール含有ガスの改質用触媒の再生方法 | |
| JP5494135B2 (ja) | タール含有ガスの改質用触媒及びその製造方法、並びにタール含有ガスの改質方法 | |
| JP4897112B2 (ja) | タール含有ガス改質用触媒、タール含有ガス改質用触媒の製造方法、タール含有ガス改質用触媒を用いたタール含有ガス改質方法、及びタール含有ガス改質用触媒の再生方法 | |
| JP5659537B2 (ja) | タール含有ガスの改質用触媒及びその製造方法、並びにタール含有ガスの改質方法 | |
| JP5659536B2 (ja) | タール含有ガスの改質用触媒及びその製造方法、並びにタール含有ガスの改質方法 | |
| JP5780271B2 (ja) | タール含有ガスの改質用触媒及びその製造方法、並びにタール含有ガスの改質方法 | |
| JP6460879B2 (ja) | タール含有ガス改質用触媒の再生方法 | |
| JP5659534B2 (ja) | タール含有ガスの改質用触媒及びその製造方法、並びにタール含有ガスの改質方法 | |
| JP5511169B2 (ja) | タール含有ガスの改質方法 | |
| JP5659532B2 (ja) | タール含有ガスの改質用触媒及びその製造方法、並びにタール含有ガスの改質方法 | |
| JP5720107B2 (ja) | タール含有ガスの改質用触媒及びその製造方法、並びにタール含有ガスの改質方法 | |
| JP2019162619A (ja) | タール含有ガス改質用触媒、タール含有ガス改質用触媒の製造方法、及び、タール含有ガス改質用触媒を用いたタール含有ガスの改質方法 | |
| JP5659533B2 (ja) | タール含有ガスの改質用触媒及びその製造方法、並びにタール含有ガスの改質方法 | |
| JP5776737B2 (ja) | タール含有ガスの改質用触媒及びその製造方法、並びにタール含有ガスの改質方法 |
Legal Events
| Date | Code | Title | Description |
|---|---|---|---|
| A521 | Request for written amendment filed |
Free format text: JAPANESE INTERMEDIATE CODE: A523 Effective date: 20091026 |
|
| TRDD | Decision of grant or rejection written | ||
| A01 | Written decision to grant a patent or to grant a registration (utility model) |
Free format text: JAPANESE INTERMEDIATE CODE: A01 Effective date: 20091201 |
|
| A01 | Written decision to grant a patent or to grant a registration (utility model) |
Free format text: JAPANESE INTERMEDIATE CODE: A01 |
|
| A61 | First payment of annual fees (during grant procedure) |
Free format text: JAPANESE INTERMEDIATE CODE: A61 Effective date: 20091225 |
|
| R151 | Written notification of patent or utility model registration |
Ref document number: 4436424 Country of ref document: JP Free format text: JAPANESE INTERMEDIATE CODE: R151 |
|
| FPAY | Renewal fee payment (event date is renewal date of database) |
Free format text: PAYMENT UNTIL: 20130108 Year of fee payment: 3 |
|
| S533 | Written request for registration of change of name |
Free format text: JAPANESE INTERMEDIATE CODE: R313533 |
|
| FPAY | Renewal fee payment (event date is renewal date of database) |
Free format text: PAYMENT UNTIL: 20130108 Year of fee payment: 3 |
|
| R350 | Written notification of registration of transfer |
Free format text: JAPANESE INTERMEDIATE CODE: R350 |
|
| FPAY | Renewal fee payment (event date is renewal date of database) |
Free format text: PAYMENT UNTIL: 20140108 Year of fee payment: 4 |
|
| S533 | Written request for registration of change of name |
Free format text: JAPANESE INTERMEDIATE CODE: R313533 |
|
| R350 | Written notification of registration of transfer |
Free format text: JAPANESE INTERMEDIATE CODE: R350 |
