JP2010017406A - 超音波診断装置 - Google Patents
超音波診断装置 Download PDFInfo
- Publication number
- JP2010017406A JP2010017406A JP2008181726A JP2008181726A JP2010017406A JP 2010017406 A JP2010017406 A JP 2010017406A JP 2008181726 A JP2008181726 A JP 2008181726A JP 2008181726 A JP2008181726 A JP 2008181726A JP 2010017406 A JP2010017406 A JP 2010017406A
- Authority
- JP
- Japan
- Prior art keywords
- ultrasonic
- reception
- transmission
- data
- harmonic component
- Prior art date
- Legal status (The legal status is an assumption and is not a legal conclusion. Google has not performed a legal analysis and makes no representation as to the accuracy of the status listed.)
- Granted
Links
Images
Classifications
-
- G—PHYSICS
- G01—MEASURING; TESTING
- G01S—RADIO DIRECTION-FINDING; RADIO NAVIGATION; DETERMINING DISTANCE OR VELOCITY BY USE OF RADIO WAVES; LOCATING OR PRESENCE-DETECTING BY USE OF THE REFLECTION OR RERADIATION OF RADIO WAVES; ANALOGOUS ARRANGEMENTS USING OTHER WAVES
- G01S15/00—Systems using the reflection or reradiation of acoustic waves, e.g. sonar systems
- G01S15/88—Sonar systems specially adapted for specific applications
- G01S15/89—Sonar systems specially adapted for specific applications for mapping or imaging
- G01S15/8906—Short-range imaging systems; Acoustic microscope systems using pulse-echo techniques
- G01S15/8959—Short-range imaging systems; Acoustic microscope systems using pulse-echo techniques using coded signals for correlation purposes
- G01S15/8963—Short-range imaging systems; Acoustic microscope systems using pulse-echo techniques using coded signals for correlation purposes using pulse inversion
-
- A—HUMAN NECESSITIES
- A61—MEDICAL OR VETERINARY SCIENCE; HYGIENE
- A61B—DIAGNOSIS; SURGERY; IDENTIFICATION
- A61B8/00—Diagnosis using ultrasonic, sonic or infrasonic waves
- A61B8/06—Measuring blood flow
-
- A—HUMAN NECESSITIES
- A61—MEDICAL OR VETERINARY SCIENCE; HYGIENE
- A61B—DIAGNOSIS; SURGERY; IDENTIFICATION
- A61B8/00—Diagnosis using ultrasonic, sonic or infrasonic waves
- A61B8/08—Clinical applications
- A61B8/0833—Clinical applications involving detecting or locating foreign bodies or organic structures
-
- A—HUMAN NECESSITIES
- A61—MEDICAL OR VETERINARY SCIENCE; HYGIENE
- A61B—DIAGNOSIS; SURGERY; IDENTIFICATION
- A61B8/00—Diagnosis using ultrasonic, sonic or infrasonic waves
- A61B8/48—Diagnostic techniques
- A61B8/481—Diagnostic techniques involving the use of contrast agents, e.g. microbubbles introduced into the bloodstream
-
- A—HUMAN NECESSITIES
- A61—MEDICAL OR VETERINARY SCIENCE; HYGIENE
- A61B—DIAGNOSIS; SURGERY; IDENTIFICATION
- A61B8/00—Diagnosis using ultrasonic, sonic or infrasonic waves
- A61B8/48—Diagnostic techniques
- A61B8/483—Diagnostic techniques involving the acquisition of a 3D volume of data
-
- G—PHYSICS
- G01—MEASURING; TESTING
- G01S—RADIO DIRECTION-FINDING; RADIO NAVIGATION; DETERMINING DISTANCE OR VELOCITY BY USE OF RADIO WAVES; LOCATING OR PRESENCE-DETECTING BY USE OF THE REFLECTION OR RERADIATION OF RADIO WAVES; ANALOGOUS ARRANGEMENTS USING OTHER WAVES
- G01S7/00—Details of systems according to groups G01S13/00, G01S15/00, G01S17/00
- G01S7/52—Details of systems according to groups G01S13/00, G01S15/00, G01S17/00 of systems according to group G01S15/00
- G01S7/52017—Details of systems according to groups G01S13/00, G01S15/00, G01S17/00 of systems according to group G01S15/00 particularly adapted to short-range imaging
- G01S7/52023—Details of receivers
- G01S7/52036—Details of receivers using analysis of echo signal for target characterisation
- G01S7/52038—Details of receivers using analysis of echo signal for target characterisation involving non-linear properties of the propagation medium or of the reflective target
-
- G—PHYSICS
- G01—MEASURING; TESTING
- G01S—RADIO DIRECTION-FINDING; RADIO NAVIGATION; DETERMINING DISTANCE OR VELOCITY BY USE OF RADIO WAVES; LOCATING OR PRESENCE-DETECTING BY USE OF THE REFLECTION OR RERADIATION OF RADIO WAVES; ANALOGOUS ARRANGEMENTS USING OTHER WAVES
- G01S7/00—Details of systems according to groups G01S13/00, G01S15/00, G01S17/00
- G01S7/52—Details of systems according to groups G01S13/00, G01S15/00, G01S17/00 of systems according to group G01S15/00
- G01S7/52017—Details of systems according to groups G01S13/00, G01S15/00, G01S17/00 of systems according to group G01S15/00 particularly adapted to short-range imaging
- G01S7/52023—Details of receivers
- G01S7/52036—Details of receivers using analysis of echo signal for target characterisation
- G01S7/52038—Details of receivers using analysis of echo signal for target characterisation involving non-linear properties of the propagation medium or of the reflective target
- G01S7/52039—Details of receivers using analysis of echo signal for target characterisation involving non-linear properties of the propagation medium or of the reflective target exploiting the non-linear response of a contrast enhancer, e.g. a contrast agent
-
- G—PHYSICS
- G01—MEASURING; TESTING
- G01S—RADIO DIRECTION-FINDING; RADIO NAVIGATION; DETERMINING DISTANCE OR VELOCITY BY USE OF RADIO WAVES; LOCATING OR PRESENCE-DETECTING BY USE OF THE REFLECTION OR RERADIATION OF RADIO WAVES; ANALOGOUS ARRANGEMENTS USING OTHER WAVES
- G01S7/00—Details of systems according to groups G01S13/00, G01S15/00, G01S17/00
- G01S7/52—Details of systems according to groups G01S13/00, G01S15/00, G01S17/00 of systems according to group G01S15/00
- G01S7/52017—Details of systems according to groups G01S13/00, G01S15/00, G01S17/00 of systems according to group G01S15/00 particularly adapted to short-range imaging
- G01S7/52046—Techniques for image enhancement involving transmitter or receiver
Landscapes
- Health & Medical Sciences (AREA)
- Physics & Mathematics (AREA)
- Life Sciences & Earth Sciences (AREA)
- Engineering & Computer Science (AREA)
- Radar, Positioning & Navigation (AREA)
- Remote Sensing (AREA)
- Surgery (AREA)
- Heart & Thoracic Surgery (AREA)
- Veterinary Medicine (AREA)
- Public Health (AREA)
- Biophysics (AREA)
- Nuclear Medicine, Radiotherapy & Molecular Imaging (AREA)
- Pathology (AREA)
- Radiology & Medical Imaging (AREA)
- Biomedical Technology (AREA)
- General Health & Medical Sciences (AREA)
- Medical Informatics (AREA)
- Molecular Biology (AREA)
- Animal Behavior & Ethology (AREA)
- General Physics & Mathematics (AREA)
- Computer Networks & Wireless Communication (AREA)
- Nonlinear Science (AREA)
- Acoustics & Sound (AREA)
- Hematology (AREA)
- Ultra Sonic Daignosis Equipment (AREA)
Abstract
【解決手段】送受信部3は、等しい振幅を有し位相が180度異なる第1及び第2の駆動
信号を用いて超音波プローブ2の振動素子を駆動し被検体に対して第1及び第2の送信超
音波を放射する。一方、高調波成分抽出部4は、第1及び第2の送信超音波に対応して送
受信部3から得られる第1及び第2の受信信号の加算処理により高調波成分が抽出された
第3の受信信号を生成し、減算処理部6は、前記第1の受信信号の基本波成分を対数変換
して生成した第1の超音波データと前記第3の受信信号の高調波成分を対数変換して生成
した第2の超音波データとの減算処理によって第3の超音波データを生成する。そして、
画像データ生成部8は、当該被検体に対する3次元走査によって収集した複数からなる第
3の超音波データを処理して3次元画像データを生成する。
【選択図】図1
Description
って発生する高調波成分に基づいて画像データを生成する超音波診断装置に関する。
方向に対する超音波送受信を順次行ない、このとき得られた反射波に基づいて生成した画
像データや時系列データをモニタ上に表示するものである。この装置は、超音波プローブ
の先端部を体表に接触させるだけの簡単な操作で体内の2次元画像データや3次元画像デ
ータをリアルタイムで観測することができるため各種臓器の形態診断や機能診断に広く用
いられている。
小気泡を有した超音波造影剤(以下では、造影剤と呼ぶ。)が開発され、この造影剤を被
検体の心臓内や血管内に注入した状態で超音波検査を行なう、所謂、コントラストエコー
法を適用することによりドプラ効果を用いなくても血流の状態を正確に観察することが可
能となった。特に、血流速度が極めて遅いためにカラードプラ法が使用できない腹部臓器
の組織血流観察に上述のコントラストエコー法を適用することにより腫瘍等の鑑別診断に
おける診断精度の向上が期待されている。
ブル)が強い超音波反射源となるため、血流と共に移動する造影剤からの反射波を検出す
ることにより微弱な組織血流の情報を感度よく観察することができる。しかしながら、良
好なS/Nを有する画像データを収集するために造影剤の微小気泡に対し比較的強い超音
波を照射した場合、微小気泡の破砕に伴なって造影剤の反射強度は著しく低減するという
問題点を有している。
音波を用いた第1の超音波送受信と第2の超音波送受信を所定時間間隔で行ない、第1の
超音波送受信によって得られた受信信号とこの第1の超音波送受信によって微小気泡が破
砕された部位に対する第2の超音波送受信によって得られた受信信号との減算処理(サブ
トラクション)によって造影剤からの反射波を抽出する方法が提案されている(例えば、
特許文献1参照。)。
性に起因して比較的大きな高調波成分が発生し、この高調波成分によって形成される波形
の極性は送信超音波の極性に依存しないことが知られている。このような性質を利用し、
微小気泡の破砕が生じない比較的小さな振幅を有し位相が互いに180度異なる送信超音
波を用いた第1の超音波送受信と第2の超音波送受信を被検体の同一部位に対して行ない
、第1の超音波送受信によって得られた受信信号と第2の超音波送受信によって得られた
受信信号との加算処理によって造影剤の微小気泡に起因した受信信号の高調波成分を抽出
する、所謂、パルスインバージョン法(PI法)が提案されている(例えば、非特許文献
1参照。)。
分に基づく画像データに対し最大値保持演算法を適用して合成することにより血流情報と
臓器情報を同時に観測することが可能な方法も提案されている(例えば、特許文献2参照
。)。
調波成分の抽出が可能となり、この高調波成分の主なる発生源である造影剤の動態を観測
することにより造影剤が投与された血管内の血流情報を把握することができる。例えば、
虚血状態(即ち、組織血流が少ない状態)にある腫瘍組織とこの腫瘍組織の周囲に存在す
る血流に富んだ正常組織の各々から得られた受信信号の高調波成分を上述の方法によって
抽出することにより、血液と共に造影剤が多量に存在している正常組織と造影剤の存在が
少ない腫瘍組織を鑑別することが可能となる。
非線形特性を有しているためこれら生体組織から得られる受信信号にも高調波成分が含ま
れており、特に、腫瘍組織等から得られた受信信号には多くの高調波成分が含まれている
場合が多い。即ち、造影剤が投与された当該被検体の生体組織から得られる受信信号の高
調波成分を抽出することにより造影剤が多量に存在している組織と造影剤の存在が少ない
組織とを鑑別するような場合、造影剤の非線形特性に起因して発生する高調波成分に生体
組織の非線形特性に起因して発生する高調波成分が混入することにより組織内に流入した
造影剤の情報を正確に捉えることが困難になるという問題点を有していた。
た当該被検体の生体組織から得られる受信信号の高調波成分を抽出することにより血流情
報を観察する際、生体組織の非線形特性に起因して発生した高調波成分を前記受信信号の
基本波成分等を用いて抑圧することにより造影剤の情報を正確に捉えることが可能な超音
波診断装置を提供することにある。
ージョン法を適用して抽出した受信信号の高調波成分に基づいて画像データを生成する超
音波診断装置において、被検体に対して複数からなる超音波の送受信方向を設定する送受
信制御手段と、複数の振動素子を有する超音波プローブと、前記送受信方向の各々に対し
極性の異なる複数の駆動信号を用いた超音波送受信を所定時間間隔で行なう送受信手段と
、前記駆動信号の各々による前記振動素子の駆動によって前記送受信手段が順次受信する
複数の受信信号を加算処理して前記受信信号の高調波成分を抽出する高調波成分抽出手段
と、前記受信信号あるいは前記受信信号に含まれる基本波成分を対数変換処理して第1の
超音波データを生成し、前記高調波成分を対数変換処理して第2の超音波データを生成す
る受信信号処理手段と、前記第1の超音波データと前記第2の超音波データを減算処理す
る減算処理手段と、前記送受信方向の各々に対して得られた減算処理後の超音波データに
基づいて画像データを生成する画像データ生成手段とを備えたことを特徴としている。
調波成分を抽出することにより血流情報を観察する際、生体組織の非線形特性に起因して
発生した高調波成分を前記受信信号の基本波成分等を用いて抑圧することにより造影剤の
情報を正確に捉えることが可能となる。このため、診断精度を大幅に向上させることがで
きる。
信号及び第2の駆動信号を用いて超音波プローブ2に設けられた振動素子を所定のレート
間隔で駆動し被検体に対して第1の送信超音波及び第2の送信超音波を放射する。このと
き、第1の送信超音波及び第2の送信超音波に対応して送受信部3から得られる第1の受
信信号及び第2の受信信号の加算処理により高調波成分が抽出された第3の受信信号を生
成し、更に、第1の受信信号の基本波成分を対数変換して生成した第1の超音波データと
前記第3の受信信号の高調波成分を対数変換して生成した第2の超音波データとの減算処
理によって第3の超音波データを生成する。そして、当該被検体に対する3次元走査によ
って収集した複数からなる第3の超音波データを処理して3次元画像データを生成し、得
られた3次元画像データを表示部に表示する。
本実施例における超音波診断装置の構成につき図1乃至図9を用いて説明する。但し、
図1は、超音波診断装置の全体構成を示すブロック図であり、図2、図4及び図9は、こ
の超音波診断装置が備える各種ユニットの具体的な構成を示すブロック図である。
部位を含む3次元領域の所定方向に対し第1の送信超音波(第1の超音波パルス)とこの
第1の送信超音波に対し位相が180度異なる第2の送信超音波(第2の超音波パルス)
を送信し、前記診断対象部位から得られた第1の受信超音波(第1の超音波反射波)及び
第2の受信超音波(第2の超音波反射波)を第1の受信信号群及び第2の受信信号群に変
換する複数の振動素子を備えた超音波プローブ2と、前記3次元領域の所定方向に対し第
1の送信超音波及び第2の送信超音波を送信するための第1の駆動信号及び第2の駆動信
号を超音波プローブ2の前記振動素子に供給し、このとき上述の振動素子から得られる複
数チャンネルの第1の受信信号群及び第2の受信信号群を整相加算して第1の受信信号及
び第2の受信信号を生成する送受信部3と、整相加算によって得られた第1の受信信号と
第2の受信信号との加算処理によりこれらの受信信号に含まれた高調波成分(を抽出して
第3の受信信号を生成する高調波成分抽出部4と、整相加算後の第1の受信信号あるいは
第2の受信信号に対し後述の信号処理を行なって第1の超音波データを生成し、更に、高
調波成分抽出部4によって生成された第3の受信信号に対し同様の信号処理を行なって第
2の超音波データを生成する受信信号処理部5と、上述の第1の超音波データと第2の超
音波データとを減算処理して第3の超音波データを生成する減算処理部6を備えている。
集された複数からなる第3の超音波データに基づいてボリュームデータを生成するボリュ
ームデータ生成部7と、このボリュームデータをレンダリング処理して3次元画像データ
を生成する画像データ生成部8と、生成した3次元データを表示する表示部9と、被検体
情報の入力や画像データ生成条件の設定等を行なう入力部10と、被検体に対する超音波
の送受信方向や駆動信号の極性等を制御する送受信制御部11と、超音波診断装置100
が備える上述の各ユニットを統括的に制御するシステム制御部12を備えている。
る。
に有し、これら振動素子の各々は、Nチャンネルの多芯ケーブルを介して送受信部3の入
出力端子に接続されている。振動素子は電気音響変換素子であり、送信時には電気パルス
(駆動信号)を超音波パルス(送信超音波)に変換し、受信時には超音波反射波(受信超
音波)を電気的な受信信号に変換する機能を有している。尚、超音波プローブ2には、セ
クタ走査対応、リニア走査対応、コンベックス走査対応等があり、操作者は診断部位に応
じて任意に選択することが可能である。本実施例では、N個の振動素子が2次元配列され
たセクタ走査用の超音波プローブ2を用いて3次元画像データを収集する場合について述
べるがこれに限定されない。
超音波に対し位相が180度異なる第2の送信超音波を放射するための第1の駆動信号及
び第2の駆動信号を超音波プローブ2に設けられたN個の振動素子に供給する送信部31
と、第1の送信超音波及び第2の送信超音波の各々に対応して前記振動素子から得られた
Nチャンネルからなる第1の受信信号群及び第2の受信信号群の各々を整相加算(位相合
わせして加算)して第1の受信信号及び第2の受信信号を生成する受信部32を備えてい
る。
備え、レートパルス発生器311は、第1の送信超音波及び第2の送信超音波の繰り返し
周期を決定するレートパルスを、システム制御部12から供給される制御信号に基づいて
生成する。送信遅延回路312は、Nチャンネルの独立な遅延回路から構成され、送受信
制御部11から供給される制御信号に基づいて細いビーム幅を得るために所定の深さに送
信超音波を集束するための遅延時間(集束用遅延時間)と所定の送受信方向(θp、φq
)に送信超音波を放射するための遅延時間(偏向用遅延時間)を前記レートパルスに与え
る。
給される制御信号に基づき、第1の送信超音波を放射するための第1の駆動信号と第2の
送信超音波を放射するための第2の駆動信号を生成して超音波プローブ2に設けられたN
個の振動素子に供給する。具体的には、Nチャンネルからなる第1の駆動信号と、この第
1の駆動信号に対し位相が180度異なる(即ち、波形の極性が反転した)Nチャンネル
からなる第2の駆動信号を前記レートパルスに同期させて生成する。
2と加算器323を備え、第1の送信超音波及び第2の送信超音波に対応した第1の受信
超音波及び第2の受信超音波の各々に基づいて超音波プローブ2の振動素子から供給され
るNチャンネルの第1の受信信号群及び第2の受信信号群はA/D変換器321にてデジ
タル信号に変換される。
間と所定の送受信方向(θp、φq)に対して強い受信指向性を設定するための偏向用遅
延時間を、A/D変換器321から出力されたNチャンネルの受信信号群の各々に与え、
加算器323は、これら受信遅延回路322から供給される夫々の受信信号群を加算合成
して第1の受信信号及び第2の受信信号を生成する。即ち、受信遅延回路322と加算器
323により、所定方向(θp、φq)から得られた受信超音波に対応する第1の受信信
号群及び第2の受信信号群は整相加算される。
波の送受信方向(θp、φq)の関係を示す。例えば、N個の振動素子がx軸方向及びy
軸方向に2次元配列された場合、θp及びφqは、x−z平面及びy−z平面に投影され
た送受信方向を示している。そして、送受信制御部11から供給される走査制御信号に従
って送信部31の送信遅延回路312及び受信部32の受信遅延回路322における遅延
時間が制御され、当該被検体の診断対象部位に対し第1の送信超音波及び第1の受信超音
波と第2の送信超音波及び第2の受信超音波による3次元走査が行なわれる。
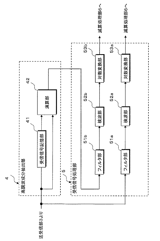
部位から得られた受信信号に含まれている高調波成分を抽出する機能を有し、図4に示す
ように受信信号記憶部41と演算部42を備えている。
用いた超音波送受信と第2の駆動信号を用いた超音波送受信が所定のレート間隔で行なわ
れた場合、先行する第1の駆動信号を用いた超音波送受信において受信部32の加算器3
23が生成した第1の受信信号を一旦保存する。
を用いた超音波送受信において加算器323が生成した第2の受信信号と受信信号記憶部
41に保存された第1の受信信号を加算合成することにより、各々の受信信号に含まれて
いた高調波成分を抽出し第3の受信信号を生成する。
号の高調波成分とその抽出方法につき図5及び図6を用いて説明する。
ペクトラム(図5(a))とこの送信超音波によって得られる受信超音波(第1の受信超
音波あるいは第2の受信超音波)の周波数スペクトラム(図5(b))を模式的に示した
ものであり、例えば、被検体の体内に送信される送信超音波の周波数スペクトラムは図5
(a)に示すように周波数foを中心に分布している。これに対して、図5(b)に示す
受信超音波の周波数スペクトラムは、送信超音波と同様に周波数foを中心に分布する基
本波成分と、周波数2foを中心に分布し基本波成分より小さな高調波成分を有している
。
得られる受信信号の基本波成分及び高調波成分と、高調波成分抽出部4による加算合成を
示したものであり、図6(a)に示す受信信号の基本波成分は、駆動信号が正極性の場合
(a−1)と負極性の場合(a−2)ではその極性が反転するためこれらを加算合成する
ことによって相殺することができる(a−3)。
正極性の場合(b−1)及び負極性の場合(b−2)においてその極性は変らないためこ
れらを加算合成することによって2倍に増大する(b−3)。即ち、位相が180度異な
る第1の駆動信号と第2の駆動信号を用いたパルスインバージョン法を適用して得られる
第1の受信信号と第2の受信信号を加算合成することによって高調波成分のみを抽出する
ことができる。
される受信信号を処理して超音波データ(Bモードデータ)を生成する機能を有し、図4
に示すように2チャンネルからなるフィルタ部51、検波部52及び対数変換部53を備
えている。
信号は受信信号処理部5のフィルタ部51aへ供給され、これらの受信信号に含まれてい
る高調波成分がフィルタリング処理によって除去される。そして、高調波成分が除去され
た第1の受信信号あるいは第2の受信信号は、検波部52a及び対数変換部53aにおい
て包絡線検波と対数変換が行なわれて第1の超音波データが生成される。
給され、第1の受信信号と第2の受信信号の加算処理において残留した基本波成分がフィ
ルタリング処理によって除去される。そして、基本波成分が略完全に除去された第3の受
信信号は、検波部52b及び対数変換部53bにおいて包絡線検波と対数変換が行なわれ
て第2の超音波データが生成される。
ている。前記係数データ保管部には、上述の第1の超音波データと第2の超音波データと
の減算処理に用いる各種の重み係数データが予め保管され、前記記憶部には、受信信号処
理部5において生成された第1の超音波データが保存される。一方、前記演算部は、入力
部10にて設定された重み係数データあるいは入力部10から供給される選択情報に基づ
いて前記係数データ保管部に保管された各種重み係数データの中から選択された重み係数
データを適用した第1の超音波データと第2の超音波データとの減算処理により第3の超
音波データを生成する。
の超音波送受信によって得られた第1の受信信号Sr1及び第2の受信信号Sr2に含ま
れている基本波成分及び高調波成分を夫々Srf、Srhとすれば、高調波成分抽出部4
において生成される第3の受信信号Sr3は式(1)により、又、受信信号処理部5にお
いて生成される第1の超音波データD1及び第2の超音波データD2は式(2)によって
示される。
み係数であり、[Srf]及び[Srh]は、包絡線検波された基本波成分及び高調波成
分を示す。ここで説明を簡単にするために、重み係数W1及びW2をW1=W2=1とし
た場合、式(3)は次式(4)のように変形することができる。
の減算処理によって得られる第3の超音波データD3は、第3の受信信号Sr3における
高調波成分の絶対値[2Srh]を第1の受信信号Sr1あるいは第2の受信信号Sr2
における基本波成分の絶対値[Srf]で除した(規格化した)後対数変換したものと等
価となる。
した本実施例の効果につき図7を用いて説明する。図7(a)は、例えば、豊富な組織血
流を有する正常組織に囲まれた虚血状態の腫瘍組織に対し矢印の方向から超音波を送受信
して得られる受信信号の高調波成分を模式的に示したものであり、この場合、正常組織か
ら得られる高調波成分E1の大部分は、この正常組織内に血液と共に流入した造影剤の非
線形特性に起因するものであり、腫瘍組織から得られる高調波成分E2は、腫瘍組織の非
線形特性に起因するものである。そして、既に述べたように、腫瘍組織から得られる高調
波成分E2と正常組織から得られる高調波成分E1との差異δEが僅少な場合、腫瘍組織
の鑑別診断を行なうことが困難となる。
腫瘍組織から得られる受信信号の基本波成分の大きさに大きく依存することに着目し、こ
の基本波成分を考慮することにより腫瘍組織と正常組織との鑑別を行なう。即ち、腫瘍組
織から得られる受信信号の基本波成分A2が正常組織から得られる受信信号の基本波成分
A1に対しA2>A1の関係にある場合、夫々の組織から得られる高調波成分E1及びE
2を基本波成分A1及びA2で除することにより、基本波成分で規格化された正常組織の
高調波成分F1(F1=E1/A1)と腫瘍組織の高調波成分F2(F2=E2/A2)
との差異δFは、図7(b)に示すように正常組織の高調波成分E1と腫瘍組織の高調波
成分E2との差異δEより大きくなり、従って、腫瘍組織と正常組織の鑑別が容易となる
。
ることができる。特に、受信信号の高調波成分は基本波成分より生体組織における超音波
減衰の影響を受け易い。このような場合、図8に示すように第1の超音波データD1に対
する重み係数W1及び第2の超音波データD2に対する重み係数W2を深さ方向に対し可
変となるように設定し、深部からの高調波成分を相対的に増幅させることによりS/Nに
優れた第3の超音波データを得ることが可能となる。このとき、上述の重み係数W1及び
W2は、送信超音波の中心周波数や観測深度等に基づいて設定あるいは選択される。
換された高調波成分(第2の超音波データ)と対数変換された基本波成分(第1の超音波
データ)との減算処理によって基本成分による規格化を行なっている。
を用いて説明する。
ムデータ記憶部73を備え、超音波データ記憶部71には、被検体の診断対象部位に対す
る3次元走査によって得られた第3の超音波データが送受信方向(θp、φq)を付帯情
報として順次保存される。
データを送受信方向(θp、φq)に対応させて配列することにより時系列的な3次元超
音波データを形成し、更に、この3次元超音波データを構成する不等間隔のボクセルを補
間処理して図3のx方向、y方向及びz方向に対し等方的なボクセルで構成されるボリュ
ームデータを生成する。そして、得られた時系列的なボリュームデータはボリュームデー
タ記憶部73に保存される。
リュームデータをレンダリング処理してボリュームレンダリング画像データやサーフィス
レンダリング画像データ等の3次元画像データを生成する機能を有し、例えば、図示しな
い不透明度・色調設定部とレンダリング処理部を備えている。そして、前記不透明度・色
調設定部は、ボリュームデータのボクセル値等に基づいて各ボクセルの不透明度や色調を
設定し、前記レンダリング処理部は、前記不透明度・色調設定部によって設定された不透
明度及び色調を有するボリュームデータを所定の処理プログラムを用いてレンダリング処
理し時系列的な3次元画像データを生成する。
データ生成部は、画像データ生成部8にて生成された3次元画像データに対し所定表示フ
ォーマットに基づいた座標変換を行ない、更に、被検体情報等の付帯情報を重畳して表示
用データを生成する。一方、前記変換部は、前記表示データ生成部にて生成された表示用
データに対しD/A変換とテレビフォーマット変換を行なって前記モニタに表示する。
デバイスを備えたインターラクティブなインターフェースであり、パルスインバージョン
法の選択を行なうPI法選択機能101及び第1の超音波データと第2の超音波データと
の減算処理における重み係数の選択や設定を行なう重み係数設定機能102を備え、更に
、被検体情報の入力、ボリュームデータ生成条件の設定、画像データ生成条件及び画像デ
ータ表示条件の設定、各種コマンド信号の入力等が上述の表示パネルや入力デバイスを用
いて行なわれる。
条件に基づき、被検体の診断対象部位を含む3次元領域の所望方向に対し超音波の送受信
を可能とする送受信部3の送信遅延回路312及び受信遅延回路322の遅延時間を制御
する。更に、入力部10から供給されるPI法選択情報に基づき、送受信部3の駆動回路
313にて生成される第1の駆動信号及び第2の駆動信号の極性や振幅等を制御する。
10にて選択/設定された上述の各種情報が保存される。そして、前記CPUは、上述の
選択情報及び設定情報に基づいて超音波診断装置100の各ユニットを制御し、造影剤が
投与された当該被検体の診断対象部位に対してPI法を適用した3次元走査を行なう。
次に、本実施例のPI法を適用した画像データの生成手順につき図10のフローチャー
トに沿って説明する。
体情報の入力、ボリュームデータ生成条件の設定、画像データ生成条件及び画像データ表
示条件の設定、PI法の選択等を行なった後、造影剤が投与された当該被検体の体表面に
超音波プローブ2の先端部を配置して画像データの生成開始コマンドを入力する(図10
のステップS1)。
制御部11に対し送受信部3の送信遅延回路312及び受信遅延回路322における遅延
時間と駆動回路313における駆動信号の極性を制御するための指示信号を供給する。更
に、システム制御部12は、送受信部3のレートパルス発生器311に対して指示信号を
供給し、この指示信号を受信したレートパルス発生器311は、所定の繰り返し周期を有
するレートパルスを生成して送信遅延回路312へ供給する。
さに超音波を集束するための集束用遅延時間と最初の送受信方向(θ1、φ1)に超音波
を送信するための偏向用遅延時間を前記レートパルスに与えてNチャンネルのレートパル
スを生成し、これらのレートパルスをNチャンネルの駆動回路313へ供給する。
312から供給されたレートパルスに基づき、例えば、正極性を有したNチャンネルから
なる第1の駆動信号を送信遅延回路312から供給されるレートパルスに同期させて生成
し、この第1の駆動信号を超音波プローブ2に設けられたN個の振動素子へ供給して被検
体内に第1の送信超音波を放射する。
面や組織にて反射し、超音波プローブ2に設けられたN個の振動素子によって受信されて
Nチャンネルからなる電気的な第1の受信信号群に変換される。次いで、この第1の受信
信号群は、受信部32のA/D変換器321においてデジタル信号に変換され、更に、受
信遅延回路322において所定の深さからの受信超音波を収束するための集束用遅延時間
と最初の送受信方向(θ1、φ1)からの受信超音波に対し強い受信指向性を設定するた
めの偏向用遅延時間が送受信制御部11から供給された制御信号に基づいて与えられた後
加算器323にて整相加算されて第1の受信信号が生成される。そして、得られた第1の
受信信号は、高調波成分抽出部4に設けられた受信信号記憶部41に一旦保存されると共
に受信信号処理部5へ供給される(図10のステップS2)。
信信号に含まれている高調波成分をフィルタリング処理によって除去し、検波部52a及
び対数変換部53aは、フィルタリング処理された第1の受信信号に対して包絡線検波と
対数変換を行なって第1の超音波データを生成する。そして、得られた第1の超音波デー
タは減算処理部6に設けられた記憶部に一旦保存される(図10のステップS3)。
6の記憶部における第1の超音波データの保存が終了したならば、同様の手順により同一
の送受信方向(θ1、φ1)に対して負極性を有した第2の送信超音波を放射し、送受信
部3の受信部32は、この第2の送信超音波の放射によって得られたNチャンネルからな
る第2の受信信号群の整相加算によって生成した第2の受信信号を高調波成分抽出部4へ
供給する(図10のステップS4)。
た第1の受信信号を読み出し、この第1の受信信号と送受信部3の受信部32から新たに
供給された第2の受信信号の加算処理により高調波成分が抽出された第3の受信信号を生
成する(図10のステップS5)。そして、得られた第3の受信信号を受信信号処理部5
へ供給する。
に残存している基本波成分をフィルタリング処理することによって除去し、検波部52b
及び対数変換部53bは、フィルタリング処理された第3の受信信号に対して包絡線検波
と対数変換を行なって第2の超音波データを生成する(図10のステップS6)。そして
、得られた第2の超音波データを減算処理部6へ供給する。
て自己の係数データ保管部に保管された各種重み係数データの中から所望の重み係数デー
タを読み出す。次いで、自己の記憶部から読み出した第1の超音波データと受信信号処理
部5から新たに供給された第2の超音波データに上述の重み係数を適用させて減算処理し
第3の超音波データを生成する。そして、得られた第3の超音波データに最初の送受信方
向(θ1、φ1)の情報を付加してボリュームデータ生成部7の超音波データ記憶部71
に保存する(図10のステップS7)。
ならば、送受信制御部11は、送受信部3の送信遅延回路312及び受信遅延回路322
における遅延時間を制御してθ方向にΔθ、φ方向にΔφずつ順次更新した3次元領域の
送受信方向(θp、φq)(θp=θ1+(p−1)Δθ(p=1〜P)、φq=φ1+
(q−1)Δφ(q=1〜Q)、但し、超音波送受信方向(θ1、φ1)を除く)の各々
に対し同様の手順で超音波の送受信を繰り返して3次元走査を行なう。そして、各々の送
受信方向にて得られた第3の超音波データも上述の送受信方向を付帯情報としてボリュー
ムデータ生成部7の超音波データ記憶部71に保存される(図10のステップS2乃至S
7)。
から読み出した複数からなる第3の超音波データを送受信方向(θp、φq)に対応させ
て配列することにより時系列的な3次元超音波データを形成し、更に、この3次元超音波
データを構成する不等間隔のボクセルを補間処理してボリュームデータを生成する。そし
て、得られた時系列的なボリュームデータをボリュームデータ記憶部73に保存する(図
10のステップS8)。
等に基づいて各ボクセルの不透明度や色調を設定する。一方、画像データ生成部8のレン
ダリング処理部は、前記不透明度及び色調を有するボリュームデータに対し所定の処理プ
ログラムを用いたレンダリング処理を行なって3次元画像データを生成し、得られた時系
列的な3次元画像データを表示部9に表示する(図10のステップS9)。
次に、本実施例の変形例について説明する。上述の実施例では、等しい振幅を有し位相
が180度異なる第1の駆動信号及び第2の駆動信号を用いて超音波プローブ2に設けら
れたNチャンネルの振動素子を駆動し、このとき得られた第1の受信信号及び第2の受信
信号の加算処理によって抽出した受信信号の高調波成分を第1の受信信号あるいは第2の
受信信号の基本波成分で規格化する場合について述べたが、本変形例では、図11に示す
ように、振幅Boの駆動波形(図11(a))を有する第1の駆動信号と、第1の駆動信
号の駆動波形に対して2倍の振幅を有し位相が180度異なる駆動波形(図11(b))
を有する第2の駆動信号と、第1の駆動信号の駆動波形と同様な駆動波形(図11(c)
)を有する第3の駆動信号を用いてNチャンネルの振動素子を所定のレート間隔で順次駆
動し、このとき得られた第1の受信信号乃至第3の受信信号の加算処理によって抽出した
受信信号の高調波成分を第2の受信信号の基本波成分で規格化する場合について述べる。
本変形例のPI法を適用した画像データの生成手順につき図12のフローチャートに沿
って説明する。
体情報の入力、ボリュームデータ生成条件の設定、画像データ生成条件及び画像データ表
示条件の設定、PI法の選択等を行なった後、造影剤が投与された当該被検体の体表面に
超音波プローブ2の先端部を配置して画像データの生成開始コマンドを入力する(図12
のステップS11)。
信制御部11に対し送受信部3の送信遅延回路312及び受信遅延回路322における遅
延時間と駆動回路313における駆動信号の極性及び振幅を制御するための指示信号を供
給し、更に、送信部31のレートパルス発生器311に対して指示信号を供給する。そし
て、送信部31は、送受信制御部11から供給される制御信号に基づいて生成した、例え
ば、正極性を有する振幅Boの第1の駆動信号(図11(a)参照)を超音波プローブ2
の振動素子へ供給して被検体内の最初の送受信方向(θ1、φ1)に対し第1の送信超音
波を放射する。
射に伴なって前記振動素子が検出した第1の受信信号群を整相加算して第1の受信信号を
生成し、高調波成分抽出部4の受信信号記憶部41に保存する(図12のステップS12
)。
御部11から供給される制御信号に基づいて負極性を有する振幅2Boの第2の駆動信号
(図11(b)参照)を超音波プローブ2の振動素子へ供給し、同一の送受信方向(θ1
、φ1)に対して第2の送信超音波を放射する。このとき受信部32において生成された
第2の受信信号は高調波成分抽出部4の受信信号記憶部41に保存され、更に、受信信号
処理部5へ供給される(図12のステップS13)。
信号に含まれている高調波成分をフィルタリング処理によって除去し、検波部52a及び
対数変換部53aは、フィルタリング処理された第2の受信信号に対し包絡線検波と対数
変換を行なって第1の超音波データを生成する。そして、得られた第1の超音波データは
減算処理部6に設けられた記憶部に一旦保存される(図12のステップS14)。
1の駆動信号と同様な正極性と振幅Boを有する第3の駆動信号(図11(c)参照)を
超音波プローブ2の振動素子へ供給して送受信方向(θ1、φ1)に対し第3の送信超音
波を放射し、このとき受信部32が生成した第3の受信信号を高調波成分抽出部4へ供給
する(図12のステップS15)。
た第1の受信信号及び第2の受信信号を読み出し、この第1の受信信号及び第2の受信信
号と送受信部3の受信部32から新たに供給された第3の受信信号の加算処理により高調
波成分が抽出された第4の受信信号を生成する(図12のステップS16)。そして、得
られた第4の受信信号を受信信号処理部5へ供給する。
に残存している基本波成分をフィルタリング処理によって除去し、検波部52b及び対数
変換部53bは、フィルタリング処理された第4の受信信号に対して包絡線検波と対数変
換を行なって第2の超音波データを生成する(図12のステップS17)。そして、得ら
れた第2の超音波データを減算処理部6へ供給する。
係数データ保管部に保管された各種重み係数データの中から所望の重み係数データを読み
出す。次いで、自己の記憶部から読み出した第1の超音波データと受信信号処理部5から
新たに供給された第2の超音波データに上述の重み係数を適用させて減算処理し第3の超
音波データを生成する(図12のステップS18)。そして、得られた第3の超音波デー
タに送受信方向(θ1、φ1)の情報を付加してボリュームデータ生成部7の超音波デー
タ記憶部71に保存する。
ならば、送受信制御部11は、送受信部3の送信遅延回路312及び受信遅延回路322
における遅延時間を制御してθ方向にΔθ、φ方向にΔφずつ順次更新した3次元領域の
送受信方向の各々に対し同様の手順で超音波の送受信を繰り返す。そして、各々の送受信
方向にて得られた第3の超音波データも上述の送受信方向を付帯情報としてボリュームデ
ータ生成部7の超音波データ記憶部71に保存される(図12のステップS12乃至S1
8)。
から読み出した複数からなる第3の超音波データを送受信方向(θp、φq)に対応させ
て配列することにより時系列的な3次元超音波データを形成し、更に、この3次元超音波
データを構成する不等間隔のボクセルを補間処理してボリュームデータを生成する。そし
て、得られた時系列的なボリュームデータをボリュームデータ記憶部73に保存する(図
12のステップS19)。
等に基づいて各ボクセルの不透明度や色調を設定する。一方、レンダリング処理部は、前
記不透明度及び色調を有するボリュームデータに対し所定の処理プログラムを用いたレン
ダリング処理を行なって3次元画像データを生成し、得られた時系列的な3次元画像デー
タを表示部9に表示する(図12のステップS20)。
生体組織から得られる受信信号の高調波成分を抽出することにより血流情報を観察する際
、造影剤の非線形特性に起因した高調波成分に混入する生体組織の非線形特性に起因した
高調波成分を前記受信信号の基本波成分を用いて抑圧することにより造影剤の情報を正確
に捉えることが可能となる。このため、診断精度を大幅に向上させることができる。
成分を基本波成分によって規格化しているため、基本波成分に大きく依存する生体組織の
高調波成分を効果的に抑圧することができる。又、基本波成分による規格化は、対数変換
された受信信号の高調波成分と基本波成分との減算処理によって行なっているため容易か
つ正確な規格化が可能となる。
鑑別等に好適なコントラス比を得ることができ、更に、深さ方向に可変な重み係数を設定
することにより超音波減衰の影響を受け易い高調波成分を補償することができるためS/
Nに優れた良好な画像データを得ることが可能となる。
乃至第3の受信信号に基づいてPI法を適用した画像データの収集が可能となるため、高
調波成分の駆動信号振幅に対する依存性を考慮することにより更に診断能に優れた画像デ
ータの収集を行なうことができる。
のではなく、変形して実施することが可能である。例えば、上述の実施例における超音波
データの減算処理に用いる重み係数データは、入力部10から供給される重み係数選択情
報に基づき、減算処理部6の係数データ保管部に予め保管された各種重み係数データの中
から選択する場合について述べたが、操作者が入力部10において任意に設定しても構わ
ない。
W2は、夫々独立に設定あるいは選択する場合について述べたが、例えば、W1=1−W
2のような関係を予め設定しておけば、重み係数W1あるいは重み係数W2の何れかを検
査に際して設定すればよく、従って、重み係数の設定に要する時間が短縮され操作者の負
担が軽減される。
高調波成分が基本波成分に対して著しく少ない場合には、基本波成分と高調波成分が含ま
れた受信信号を用いて規格化を行なってもよい。
算処理によって得られた第3の超音波データに基づく画像データの生成とその表示につい
て述べたが、第1の超音波データや第2の超音波データに基づいて生成された画像データ
の表示を必要に応じて行なってもよい。特に、これらの画像データを同一モニタ上に並列
表示あるいは重畳表示することにより、更に多くの有益な診断情報を得ることができる。
あるいは上述の変形例における第1の駆動信号乃至第3の駆動信号による振動素子の駆動
は順序を変更して行なってもよい。
算処理あるいは変形例の高調波成分抽出部4における第1の受信信号乃至第3の受信信号
の加算処理では好適な重み係数を用いてこれら受信信号の加算合成を行なってもよい。こ
の重み付け係数を用いた受信信号の加算処理により、駆動信号の振幅も任意に設定するこ
とが可能となる。例えば、上述の変形例の加算処理に重み係数を適用することにより、第
2の駆動信号と第1の駆動信号の振幅比を既に述べたような整数倍(2倍)に設定する必
要は無く、任意に設定することが可能となる。又、好適な重み係数を有した第1の受信信
号と第2の受信信号との加算合成により、第3の駆動信号を用いた超音波送受信が不要と
なり画像データの生成に要する時間が短縮される。
ったがこれに限定されるものではなく、第1の受信信号あるいは第3の受信信号を用いた
規格化であってもよい。
って収集したボリュームデータに基づいて3次元画像データを生成する場合について述べ
たが、前記ボリュームデータに基づいたMIP(Maximum Intensity Projection)画像デー
タやMPR(Multi Planar Reconstruction)画像データの生成であってもよく、又、2次
元走査による2次元画像データの生成であってもよい。
音波プローブを用いて行なう場合について述べたが、複数の振動素子が1次元配列された
超音波プローブを所定方向へ機械的移動あるいはマニュアル移動させて行なっても構わな
い。
3…送受信部
31…送信部
32…受信部
4…高調波成分抽出部
5…受信信号処理部
6…減算処理部
7…ボリュームデータ生成部
8…画像データ生成部
9…表示部
10…入力部
101…PI法選択機能
102…重み係数設定機能
11…送受信制御部
12…システム制御部
100…超音波診断装置
Claims (11)
- パルスインバージョン法を適用して抽出した受信信号の高調波成分に基づいて画像デー
タを生成する超音波診断装置において、
被検体に対して複数からなる超音波の送受信方向を設定する送受信制御手段と、
複数の振動素子を有する超音波プローブと、
前記送受信方向の各々に対し極性の異なる複数の駆動信号を用いた超音波送受信を所定時
間間隔で行なう送受信手段と、
前記駆動信号の各々による前記振動素子の駆動によって前記送受信手段が順次受信する複
数の受信信号を加算処理して前記受信信号の高調波成分を抽出する高調波成分抽出手段と
、
前記受信信号あるいは前記受信信号に含まれる基本波成分を対数変換処理して第1の超音
波データを生成し、前記高調波成分を対数変換処理して第2の超音波データを生成する受
信信号処理手段と、
前記第1の超音波データと前記第2の超音波データを減算処理する減算処理手段と、
前記送受信方向の各々に対して得られた減算処理後の超音波データに基づいて画像データ
を生成する画像データ生成手段とを
備えたことを特徴とする超音波診断装置。 - 前記送受信手段は、等しい駆動振幅を有し位相が180度異なる第1の駆動信号と第2
の駆動信号を用いて前記振動素子を駆動し、前記高調波成分抽出手段は、前記第1の駆動
信号によって得られた第1の受信信号と前記第2の駆動信号によって得られた第2の受信
信号との加算処理によって前記高調波成分を抽出することを特徴とする請求項1記載の超
音波診断装置。 - 前記送受信手段は、異なる駆動振幅を有し位相が180度異なる複数の駆動信号を用い
て前記振動素子を駆動し、前記高調波成分抽出手段は、前記駆動信号の各々によって得ら
れた前記複数の受信信号を加算処理して前記高調波成分を抽出することを特徴とする請求
項1記載の超音波診断装置。 - 前記高調波成分抽出手段は、複数からなる前記受信信号の少なくとも何れかに対し重み
係数を設定して前記加算処理を行なうことを特徴とする請求項1記載の超音波診断装置。 - 前記送受信手段は、所定の駆動波形を有する第1の駆動信号と、前記第1の駆動信号の
駆動波形に対して2倍の駆動振幅を有し位相が180度異なる駆動波形を有する第2の駆
動信号と、前記第1の駆動信号の駆動波形と同様な駆動波形を有する第3の駆動信号を用
いて前記振動素子を駆動することを特徴とする請求項4記載の超音波診断装置。 - 前記減算処理手段は、前記第1の超音波データあるいは前記第2の超音波データの少な
くとも何れかに対し重み係数を設定して前記減算処理を行なうことを特徴とする請求項1
記載の超音波診断装置。 - 前記減算処理手段は、深さ方向に異なる前記重み係数を前記超音波データに設定して前
記減算処理を行なうことを特徴とする請求項6記載の超音波診断装置。 - 前記減算処理手段は、送信超音波の中心周波数及び観測深度に基づいて設定あるいは選
択された前記重み係数を用いて前記減算処理を行なうことを特徴とする請求項7記載の超
音波診断装置。 - 重み係数設定手段を備え、前記減算処理手段は、前記重み係数設定手段が設定した重み
係数に基づいて前記減算処理を行なうことを特徴とする請求項6記載の超音波診断装置。 - 表示手段を備え、前記表示手段は、前記画像データ生成手段が生成した前記減算処理後
の超音波データに基づく画像データと前記第1の超音波データに基づく画像データあるい
は前記第2の超音波データに基づく画像データの少なくとも何れかを重畳表示あるいは並
列表示することを特徴とする請求項1記載の超音波診断装置。 - 前記送受信制御手段は、前記被検体の3次元領域に対して前記超音波の送受信方向を設
定し、前記画像データ生成手段は、前記送受信方向の各々に対して得られた減算処理後の
超音波データに基づいて3次元画像データ、MIP画像データあるいはMPR画像データ
の少なくとも何れかを生成することを特徴とする請求項1記載の超音波診断装置。
Priority Applications (3)
| Application Number | Priority Date | Filing Date | Title |
|---|---|---|---|
| JP2008181726A JP5322522B2 (ja) | 2008-07-11 | 2008-07-11 | 超音波診断装置 |
| CN200910140066.XA CN101623204B (zh) | 2008-07-11 | 2009-07-10 | 超声波诊断装置 |
| US12/501,993 US8444563B2 (en) | 2008-07-11 | 2009-07-13 | Ultrasound diagnosis apparatus |
Applications Claiming Priority (1)
| Application Number | Priority Date | Filing Date | Title |
|---|---|---|---|
| JP2008181726A JP5322522B2 (ja) | 2008-07-11 | 2008-07-11 | 超音波診断装置 |
Publications (2)
| Publication Number | Publication Date |
|---|---|
| JP2010017406A true JP2010017406A (ja) | 2010-01-28 |
| JP5322522B2 JP5322522B2 (ja) | 2013-10-23 |
Family
ID=41519303
Family Applications (1)
| Application Number | Title | Priority Date | Filing Date |
|---|---|---|---|
| JP2008181726A Active JP5322522B2 (ja) | 2008-07-11 | 2008-07-11 | 超音波診断装置 |
Country Status (3)
| Country | Link |
|---|---|
| US (1) | US8444563B2 (ja) |
| JP (1) | JP5322522B2 (ja) |
| CN (1) | CN101623204B (ja) |
Cited By (6)
| Publication number | Priority date | Publication date | Assignee | Title |
|---|---|---|---|---|
| JP2012135516A (ja) * | 2010-12-27 | 2012-07-19 | Toshiba Corp | 超音波診断装置、医用画像処理方法および医用画像処理プログラム |
| JP2012139464A (ja) * | 2011-01-06 | 2012-07-26 | Konica Minolta Medical & Graphic Inc | 超音波診断装置 |
| CN102793566A (zh) * | 2011-05-24 | 2012-11-28 | 中国科学院深圳先进技术研究院 | 声辐射力的产生系统及方法 |
| KR101510678B1 (ko) | 2013-09-17 | 2015-04-17 | 알피니언메디칼시스템 주식회사 | 고조파 영상 형성 방법과 그를 위한 초음파 의료 장치 |
| JP2015097634A (ja) * | 2013-11-19 | 2015-05-28 | 株式会社東芝 | 超音波診断装置及び超音波診断装置用のプログラム |
| US9398899B2 (en) | 2011-06-06 | 2016-07-26 | Toshiba Medical Systems Corporation | Ultrasonic diagnostic apparatus and medical image processing apparatus |
Families Citing this family (13)
| Publication number | Priority date | Publication date | Assignee | Title |
|---|---|---|---|---|
| CN103126725B (zh) * | 2011-12-01 | 2015-05-13 | 深圳迈瑞生物医疗电子股份有限公司 | 一种超声成像的方法和装置 |
| JP6139184B2 (ja) * | 2012-04-05 | 2017-05-31 | 東芝メディカルシステムズ株式会社 | 超音波診断装置及び制御方法 |
| JP5944749B2 (ja) * | 2012-06-05 | 2016-07-05 | 株式会社東芝 | 超音波診断装置及び超音波イメージングプログラム |
| JP5642910B1 (ja) * | 2013-01-23 | 2014-12-17 | オリンパスメディカルシステムズ株式会社 | 超音波観測装置、超音波観測装置の作動方法および超音波観測装置の作動プログラム |
| JP5906281B2 (ja) * | 2014-06-17 | 2016-04-20 | 日立アロカメディカル株式会社 | 超音波診断装置 |
| US11564659B2 (en) * | 2014-12-15 | 2023-01-31 | Canon Medical Systems Corporation | Ultrasonic diagnostic and image processing apparatus for tissue harmonic imaging by extracting nonlinear components from three signals via addition after phase rotation |
| CN104546005B (zh) * | 2015-01-28 | 2017-03-15 | 声泰特(成都)科技有限公司 | 一种超声非线性成像方法及系统 |
| CN105982695A (zh) * | 2015-02-03 | 2016-10-05 | 无锡祥生医学影像有限责任公司 | 超声成像系统及方法 |
| CN104757999B (zh) * | 2015-04-07 | 2018-03-09 | 声泰特(成都)科技有限公司 | 一种基于超声基波和谐波的非线性成像方法和系统 |
| US10722216B2 (en) | 2015-08-20 | 2020-07-28 | Konica Minolta, Inc. | Ultrasound image diagnostic apparatus |
| CN107320131B (zh) * | 2017-08-21 | 2020-06-26 | 青岛海信医疗设备股份有限公司 | 基波谐波分离方法及装置 |
| CN111836584B (zh) * | 2020-06-17 | 2024-04-09 | 深圳迈瑞生物医疗电子股份有限公司 | 超声造影成像方法、超声成像装置和存储介质 |
| JP2024076243A (ja) * | 2022-11-24 | 2024-06-05 | キヤノンメディカルシステムズ株式会社 | 超音波診断装置 |
Citations (16)
| Publication number | Priority date | Publication date | Assignee | Title |
|---|---|---|---|---|
| JP2001299764A (ja) * | 2000-02-17 | 2001-10-30 | Aloka Co Ltd | 超音波診断装置 |
| JP2002301071A (ja) * | 2001-04-04 | 2002-10-15 | Fuji Photo Film Co Ltd | 超音波撮像方法及び装置 |
| JP2004041324A (ja) * | 2002-07-09 | 2004-02-12 | Aloka Co Ltd | 超音波診断装置 |
| JP2004073620A (ja) * | 2002-08-21 | 2004-03-11 | Toshiba Medical System Co Ltd | 超音波診断装置 |
| JP2004209246A (ja) * | 2002-12-31 | 2004-07-29 | Ge Medical Systems Global Technology Co Llc | 組織で発生される高調波との広帯域周波数合成を用いた超音波スペックル低減の方法及び装置 |
| JP2004222824A (ja) * | 2003-01-21 | 2004-08-12 | Aloka Co Ltd | 超音波診断装置 |
| JP2006141994A (ja) * | 2004-10-20 | 2006-06-08 | Toshiba Corp | 超音波診断装置及び超音波診断装置制御プログラム |
| JP2006217944A (ja) * | 2005-02-08 | 2006-08-24 | Aloka Co Ltd | 超音波診断装置 |
| JP2006271791A (ja) * | 2005-03-30 | 2006-10-12 | Hitachi Medical Corp | 超音波診断装置 |
| JP2006271599A (ja) * | 2005-03-29 | 2006-10-12 | Aloka Co Ltd | 超音波診断装置 |
| JP2007167626A (ja) * | 2005-11-25 | 2007-07-05 | Toshiba Corp | 超音波診断装置、超音波診断装置制御プログラム及び超音波信号処理プログラム |
| JP2007222610A (ja) * | 2006-01-26 | 2007-09-06 | Toshiba Corp | 超音波診断装置および超音波診断装置の制御プログラム |
| JP2007236740A (ja) * | 2006-03-10 | 2007-09-20 | Toshiba Corp | 超音波診断装置及びその制御プログラム |
| JP2007236738A (ja) * | 2006-03-10 | 2007-09-20 | Toshiba Corp | 超音波診断装置及び制御プログラム |
| JP2007236820A (ja) * | 2006-03-10 | 2007-09-20 | Toshiba Corp | 超音波プローブ及び超音波診断装置 |
| WO2008016992A1 (en) * | 2006-08-01 | 2008-02-07 | Scimed Life Systems, Inc. | Pulse inversion sequences for nonlinear imaging |
Family Cites Families (11)
| Publication number | Priority date | Publication date | Assignee | Title |
|---|---|---|---|---|
| US5706819A (en) * | 1995-10-10 | 1998-01-13 | Advanced Technology Laboratories, Inc. | Ultrasonic diagnostic imaging with harmonic contrast agents |
| US6030344A (en) * | 1996-12-04 | 2000-02-29 | Acuson Corporation | Methods and apparatus for ultrasound image quantification |
| US6193662B1 (en) * | 1999-02-17 | 2001-02-27 | Atl Ultrasound | High frame rate pulse inversion harmonic ultrasonic diagnostic imaging system |
| US6228031B1 (en) * | 1999-02-17 | 2001-05-08 | Atl Ultrasound | High frame rate ultrasonic diagnostic imaging systems with motion artifact reduction |
| US6319203B1 (en) * | 2000-07-28 | 2001-11-20 | Atl Ultrasound | Ultrasonic nonlinear imaging at fundamental frequencies |
| US6540683B1 (en) * | 2001-09-14 | 2003-04-01 | Gregory Sharat Lin | Dual-frequency ultrasonic array transducer and method of harmonic imaging |
| JP3908555B2 (ja) * | 2002-02-08 | 2007-04-25 | 株式会社東芝 | 超音波診断装置 |
| JP4405182B2 (ja) * | 2002-10-10 | 2010-01-27 | 株式会社東芝 | 超音波診断装置 |
| JP4477631B2 (ja) * | 2004-06-11 | 2010-06-09 | オリンパス株式会社 | 超音波プローブ装置及び超音波診断装置 |
| US8403852B2 (en) * | 2004-10-20 | 2013-03-26 | Kabushiki Kaisha Toshiba | Ultrasonic diagnostic apparatus and control method thereof |
| US9782146B2 (en) * | 2005-11-25 | 2017-10-10 | Toshiba Medical Systems Corporation | Ultrasonic diagnostic scanner and method for processing ultrasonic signal |
-
2008
- 2008-07-11 JP JP2008181726A patent/JP5322522B2/ja active Active
-
2009
- 2009-07-10 CN CN200910140066.XA patent/CN101623204B/zh active Active
- 2009-07-13 US US12/501,993 patent/US8444563B2/en not_active Expired - Fee Related
Patent Citations (16)
| Publication number | Priority date | Publication date | Assignee | Title |
|---|---|---|---|---|
| JP2001299764A (ja) * | 2000-02-17 | 2001-10-30 | Aloka Co Ltd | 超音波診断装置 |
| JP2002301071A (ja) * | 2001-04-04 | 2002-10-15 | Fuji Photo Film Co Ltd | 超音波撮像方法及び装置 |
| JP2004041324A (ja) * | 2002-07-09 | 2004-02-12 | Aloka Co Ltd | 超音波診断装置 |
| JP2004073620A (ja) * | 2002-08-21 | 2004-03-11 | Toshiba Medical System Co Ltd | 超音波診断装置 |
| JP2004209246A (ja) * | 2002-12-31 | 2004-07-29 | Ge Medical Systems Global Technology Co Llc | 組織で発生される高調波との広帯域周波数合成を用いた超音波スペックル低減の方法及び装置 |
| JP2004222824A (ja) * | 2003-01-21 | 2004-08-12 | Aloka Co Ltd | 超音波診断装置 |
| JP2006141994A (ja) * | 2004-10-20 | 2006-06-08 | Toshiba Corp | 超音波診断装置及び超音波診断装置制御プログラム |
| JP2006217944A (ja) * | 2005-02-08 | 2006-08-24 | Aloka Co Ltd | 超音波診断装置 |
| JP2006271599A (ja) * | 2005-03-29 | 2006-10-12 | Aloka Co Ltd | 超音波診断装置 |
| JP2006271791A (ja) * | 2005-03-30 | 2006-10-12 | Hitachi Medical Corp | 超音波診断装置 |
| JP2007167626A (ja) * | 2005-11-25 | 2007-07-05 | Toshiba Corp | 超音波診断装置、超音波診断装置制御プログラム及び超音波信号処理プログラム |
| JP2007222610A (ja) * | 2006-01-26 | 2007-09-06 | Toshiba Corp | 超音波診断装置および超音波診断装置の制御プログラム |
| JP2007236740A (ja) * | 2006-03-10 | 2007-09-20 | Toshiba Corp | 超音波診断装置及びその制御プログラム |
| JP2007236738A (ja) * | 2006-03-10 | 2007-09-20 | Toshiba Corp | 超音波診断装置及び制御プログラム |
| JP2007236820A (ja) * | 2006-03-10 | 2007-09-20 | Toshiba Corp | 超音波プローブ及び超音波診断装置 |
| WO2008016992A1 (en) * | 2006-08-01 | 2008-02-07 | Scimed Life Systems, Inc. | Pulse inversion sequences for nonlinear imaging |
Cited By (7)
| Publication number | Priority date | Publication date | Assignee | Title |
|---|---|---|---|---|
| JP2012135516A (ja) * | 2010-12-27 | 2012-07-19 | Toshiba Corp | 超音波診断装置、医用画像処理方法および医用画像処理プログラム |
| JP2012139464A (ja) * | 2011-01-06 | 2012-07-26 | Konica Minolta Medical & Graphic Inc | 超音波診断装置 |
| CN102793566A (zh) * | 2011-05-24 | 2012-11-28 | 中国科学院深圳先进技术研究院 | 声辐射力的产生系统及方法 |
| CN102793566B (zh) * | 2011-05-24 | 2014-04-16 | 中国科学院深圳先进技术研究院 | 声辐射力的产生系统及方法 |
| US9398899B2 (en) | 2011-06-06 | 2016-07-26 | Toshiba Medical Systems Corporation | Ultrasonic diagnostic apparatus and medical image processing apparatus |
| KR101510678B1 (ko) | 2013-09-17 | 2015-04-17 | 알피니언메디칼시스템 주식회사 | 고조파 영상 형성 방법과 그를 위한 초음파 의료 장치 |
| JP2015097634A (ja) * | 2013-11-19 | 2015-05-28 | 株式会社東芝 | 超音波診断装置及び超音波診断装置用のプログラム |
Also Published As
| Publication number | Publication date |
|---|---|
| CN101623204B (zh) | 2012-07-18 |
| US8444563B2 (en) | 2013-05-21 |
| US20100016723A1 (en) | 2010-01-21 |
| JP5322522B2 (ja) | 2013-10-23 |
| CN101623204A (zh) | 2010-01-13 |
Similar Documents
| Publication | Publication Date | Title |
|---|---|---|
| JP5322522B2 (ja) | 超音波診断装置 | |
| CN101601590B (zh) | 超声波图像取得装置 | |
| JP5495593B2 (ja) | 超音波診断装置及び穿刺支援用制御プログラム | |
| JP7313902B2 (ja) | 超音波診断装置 | |
| JP2008307087A (ja) | 超音波診断装置 | |
| CN102365054B (zh) | 超声波诊断装置及超声波图像处理装置 | |
| JP2011115457A (ja) | 超音波診断装置及び輝度変化曲線表示用制御プログラム | |
| JP5388416B2 (ja) | 超音波診断装置および超音波診断装置の制御プログラム | |
| JP2011115456A (ja) | 超音波診断装置及び画像データ表示用制御プログラム | |
| JP2009142544A (ja) | 超音波診断装置 | |
| JP2005143733A (ja) | 超音波診断装置、3次元画像データ表示装置及び3次元画像データ表示方法 | |
| JP5087324B2 (ja) | 超音波診断装置 | |
| JP5242092B2 (ja) | 超音波診断装置 | |
| JP2013013452A (ja) | 超音波診断装置及び制御プログラム | |
| JP2012005789A (ja) | 超音波診断装置 | |
| JP4987503B2 (ja) | 超音波診断装置、画像データ表示装置及び画像データ表示用制御プログラム | |
| JP5317391B2 (ja) | 超音波診断装置 | |
| JP4599208B2 (ja) | 超音波診断装置 | |
| JP2007135994A (ja) | 超音波診断装置及び超音波画像データ生成方法 | |
| JP2010110642A (ja) | 超音波診断装置 | |
| JP6188393B2 (ja) | 超音波診断装置及び制御プログラム | |
| JP5416949B2 (ja) | 超音波診断装置、及び超音波診断装置の制御プログラム | |
| JP5503862B2 (ja) | 超音波診断装置 | |
| JP4901273B2 (ja) | 超音波診断装置およびその画像処理プログラム | |
| JP2002224108A (ja) | 超音波撮影装置 |
Legal Events
| Date | Code | Title | Description |
|---|---|---|---|
| A621 | Written request for application examination |
Free format text: JAPANESE INTERMEDIATE CODE: A621 Effective date: 20110711 |
|
| RD02 | Notification of acceptance of power of attorney |
Free format text: JAPANESE INTERMEDIATE CODE: A7422 Effective date: 20111128 |
|
| RD04 | Notification of resignation of power of attorney |
Free format text: JAPANESE INTERMEDIATE CODE: A7424 Effective date: 20111206 |
|
| A977 | Report on retrieval |
Free format text: JAPANESE INTERMEDIATE CODE: A971007 Effective date: 20130227 |
|
| A131 | Notification of reasons for refusal |
Free format text: JAPANESE INTERMEDIATE CODE: A131 Effective date: 20130315 |
|
| A521 | Written amendment |
Free format text: JAPANESE INTERMEDIATE CODE: A523 Effective date: 20130509 |
|
| RD02 | Notification of acceptance of power of attorney |
Free format text: JAPANESE INTERMEDIATE CODE: A7422 Effective date: 20130509 |
|
| A521 | Written amendment |
Free format text: JAPANESE INTERMEDIATE CODE: A821 Effective date: 20130509 |
|
| TRDD | Decision of grant or rejection written | ||
| A01 | Written decision to grant a patent or to grant a registration (utility model) |
Free format text: JAPANESE INTERMEDIATE CODE: A01 Effective date: 20130625 |
|
| A61 | First payment of annual fees (during grant procedure) |
Free format text: JAPANESE INTERMEDIATE CODE: A61 Effective date: 20130716 |
|
| R150 | Certificate of patent or registration of utility model |
Ref document number: 5322522 Country of ref document: JP Free format text: JAPANESE INTERMEDIATE CODE: R150 Free format text: JAPANESE INTERMEDIATE CODE: R150 |
|
| S111 | Request for change of ownership or part of ownership |
Free format text: JAPANESE INTERMEDIATE CODE: R313117 |
|
| R350 | Written notification of registration of transfer |
Free format text: JAPANESE INTERMEDIATE CODE: R350 |
|
| S533 | Written request for registration of change of name |
Free format text: JAPANESE INTERMEDIATE CODE: R313533 |
|
| R350 | Written notification of registration of transfer |
Free format text: JAPANESE INTERMEDIATE CODE: R350 |
