JP2010016101A - 積層型電子部品の製造方法 - Google Patents

積層型電子部品の製造方法 Download PDF

Info

Publication number
JP2010016101A
JP2010016101A JP2008173423A JP2008173423A JP2010016101A JP 2010016101 A JP2010016101 A JP 2010016101A JP 2008173423 A JP2008173423 A JP 2008173423A JP 2008173423 A JP2008173423 A JP 2008173423A JP 2010016101 A JP2010016101 A JP 2010016101A
Authority
JP
Japan
Prior art keywords
external terminal
internal electrode
ceramic
electronic component
distance
Prior art date
Legal status (The legal status is an assumption and is not a legal conclusion. Google has not performed a legal analysis and makes no representation as to the accuracy of the status listed.)
Granted
Application number
JP2008173423A
Other languages
English (en)
Other versions
JP5347350B2 (ja
Inventor
Atsushi Sakanaka
篤 阪中
Current Assignee (The listed assignees may be inaccurate. Google has not performed a legal analysis and makes no representation or warranty as to the accuracy of the list.)
Murata Manufacturing Co Ltd
Original Assignee
Murata Manufacturing Co Ltd
Priority date (The priority date is an assumption and is not a legal conclusion. Google has not performed a legal analysis and makes no representation as to the accuracy of the date listed.)
Filing date
Publication date
Application filed by Murata Manufacturing Co Ltd filed Critical Murata Manufacturing Co Ltd
Priority to JP2008173423A priority Critical patent/JP5347350B2/ja
Priority to US12/485,963 priority patent/US8383195B2/en
Publication of JP2010016101A publication Critical patent/JP2010016101A/ja
Application granted granted Critical
Publication of JP5347350B2 publication Critical patent/JP5347350B2/ja
Active legal-status Critical Current
Anticipated expiration legal-status Critical

Links

Images

Classifications

    • HELECTRICITY
    • H01ELECTRIC ELEMENTS
    • H01GCAPACITORS; CAPACITORS, RECTIFIERS, DETECTORS, SWITCHING DEVICES, LIGHT-SENSITIVE OR TEMPERATURE-SENSITIVE DEVICES OF THE ELECTROLYTIC TYPE
    • H01G4/00Fixed capacitors; Processes of their manufacture
    • H01G4/30Stacked capacitors
    • HELECTRICITY
    • H01ELECTRIC ELEMENTS
    • H01GCAPACITORS; CAPACITORS, RECTIFIERS, DETECTORS, SWITCHING DEVICES, LIGHT-SENSITIVE OR TEMPERATURE-SENSITIVE DEVICES OF THE ELECTROLYTIC TYPE
    • H01G4/00Fixed capacitors; Processes of their manufacture
    • H01G4/002Details
    • H01G4/005Electrodes
    • H01G4/012Form of non-self-supporting electrodes
    • HELECTRICITY
    • H01ELECTRIC ELEMENTS
    • H01GCAPACITORS; CAPACITORS, RECTIFIERS, DETECTORS, SWITCHING DEVICES, LIGHT-SENSITIVE OR TEMPERATURE-SENSITIVE DEVICES OF THE ELECTROLYTIC TYPE
    • H01G4/00Fixed capacitors; Processes of their manufacture
    • H01G4/002Details
    • H01G4/228Terminals
    • H01G4/232Terminals electrically connecting two or more layers of a stacked or rolled capacitor
    • YGENERAL TAGGING OF NEW TECHNOLOGICAL DEVELOPMENTS; GENERAL TAGGING OF CROSS-SECTIONAL TECHNOLOGIES SPANNING OVER SEVERAL SECTIONS OF THE IPC; TECHNICAL SUBJECTS COVERED BY FORMER USPC CROSS-REFERENCE ART COLLECTIONS [XRACs] AND DIGESTS
    • Y10TECHNICAL SUBJECTS COVERED BY FORMER USPC
    • Y10TTECHNICAL SUBJECTS COVERED BY FORMER US CLASSIFICATION
    • Y10T29/00Metal working
    • Y10T29/43Electric condenser making
    • YGENERAL TAGGING OF NEW TECHNOLOGICAL DEVELOPMENTS; GENERAL TAGGING OF CROSS-SECTIONAL TECHNOLOGIES SPANNING OVER SEVERAL SECTIONS OF THE IPC; TECHNICAL SUBJECTS COVERED BY FORMER USPC CROSS-REFERENCE ART COLLECTIONS [XRACs] AND DIGESTS
    • Y10TECHNICAL SUBJECTS COVERED BY FORMER USPC
    • Y10TTECHNICAL SUBJECTS COVERED BY FORMER US CLASSIFICATION
    • Y10T29/00Metal working
    • Y10T29/43Electric condenser making
    • Y10T29/435Solid dielectric type

Landscapes

  • Engineering & Computer Science (AREA)
  • Power Engineering (AREA)
  • Manufacturing & Machinery (AREA)
  • Microelectronics & Electronic Packaging (AREA)
  • Fixed Capacitors And Capacitor Manufacturing Machines (AREA)
  • Ceramic Capacitors (AREA)

Abstract

【課題】セラミック素体の端面と内部電極とのサイドギャップを正確に測定でき、極力小型化を図ることのできる積層型電子部品の製造方法を得る。
【解決手段】複数のセラミック層を積層してセラミック素体を形成するとともに、引出し部がセラミック素体の側面12a,12bに露出した内部電極21,22をセラミック素体の内部に形成し、側面12a,12bにめっきにより内部電極21,22の露出部と電気的に接続された帯状の外部端子電極25,26を形成する積層型電子部品の製造方法。端面13aに最も近い外部端子電極21から端面13aまでの距離G2を測定し、測定された距離G2が所定の基準値を満たさない場合、そのセラミック素体を不良品として選別除去する。
【選択図】図4

Description

本発明は、積層型電子部品の製造方法、特に、複数のセラミック層の間に複数の内部電極を内蔵した積層型セラミックコンデンサアレイなどの積層型電子部品の製造方法に関する。
近年、携帯電話や携帯音楽プレーヤなどの電子機器の小型化に伴い、電子機器に内蔵される配線基板においては、電子部品の高密度実装化が急速に進んでいる。これを受けて、実装スペースや実装部品点数を削減するため、複数の回路素子を1チップ化した電子部品が求められており、コンデンサアレイに代表されるアレイ型電子部品が用いられている。
アレイ型の多端子タイプの電子部品は、直方体形状の積層体を備え、該積層体の側面上には複数の帯状の外部端子電極が形成されている。
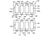
従来の積層型セラミックコンデンサアレイとしては、特許文献1などに代表されるものが知られている。具体的には、図9に、上下のセラミック層105,106上にそれぞれ、第1内部電極111及び第2内部電極112を形成し、各内部電極111,112の引出し部をセラミック素体100の側面102a,102bに露出させるとともに、該側面102a,102bに形成した外部端子電極121,122に電気的に接続している。外部端子電極121,122は、例えば、特許文献2に示されているように、電極ペーストを塗布することにより形成される。
コンデンサアレイでは、近年では大容量化が求められ、内部電極111,112の面積を大きくする必要に迫られている。内部電極111,112の面積を大きくし、かつ、小型化を維持するには容量部とセラミック素体100の端面103a,103bとのギャップGを狭くする必要がある。しかし、サイドギャップGを狭くし過ぎると、セラミック層105,106間の密着性が弱まり、水分が内部電極111,112にまで侵入しやすくなり、ショートなどの故障が発生するおそれがある。
仮に、サイドギャップの限界を見極めて設計寸法を決めたとしても、コンデンサアレイの製造工程においては、積層ずれ、カットずれなどの不良発生要因が存在するため、実際には、サイドギャップが設計値どおりに製造されない。そして、サイドギャップの不良を選別して不良品を除去するために、外部端子電極を形成する前に、個々のセラミック素体について側面の内部電極露出部をカメラなどの撮像手段を用いて観察し、サイドギャップの距離を測定していた。しかし、内部電極露出部は小さく、測定精度が低く、しかも非常に手間の掛かる作業であった。それゆえ、現実的には、サイドギャップの設計寸法を必要以上に大きく設定せざるを得なかった。
特開2004−47707号公報 特開平10−22183号公報
そこで、本発明の目的は、セラミック素体の端面と内部電極とのサイドギャップを正確に測定でき、極力小型化を図ることのできる積層型電子部品の製造方法を提供することにある。
前記目的を達成するため、本発明の一形態である積層型電子部品の製造方法は、
複数のセラミック層を積層し、互いに対向する第1主面及び第2主面と、互いに対向する第1側面及び第2側面と、互いに対向する第1端面及び第2端面と、を有するセラミック素体を形成するとともに、このセラミック素体の内部に、第1側面において該第1側面よりも短い幅の露出部を有する内部電極を形成する工程と、
第1側面上にめっきにより前記内部電極の露出部と電気的に接続された下地めっき膜を有する帯状の外部端子電極を形成する工程と、
第1端面に最も近い外部端子電極から第1端面までの距離を測定し、測定された距離が所定の基準値を満たさない場合、そのセラミック素体を不良品として選別除去する工程と、
を備えたことを特徴とする。
前記積層型電子部品の製造方法において、セラミック素体の第1側面上にはめっきによって外部端子電極が形成される。めっきは内部電極露出部を中心として左右方向に実質的に均等に成長するため、外部端子電極とセラミック素体の第1端面との距離を実際のサイドギャップの距離に置き換えてサイドギャップの良否を選別することができる。外部端子電極は一つの面として観察されるため、画像として認識しやすく、高精度に距離の測定を行うことができる。
また、外部端子電極は第1側面から突出するように形成されるため、第1又は第2主面方向からも外部端子電極と第1端面との距離を測定することが可能である。
本発明によれば、サイドギャップの測定を容易かつ高精度に行うことができ、不良品を効率よく除去することができ、サイドギャップの設計値を小さく設定できるのでセラミック素体の大型化を回避できる。サイドギャップの測定に際して、第1側面方向のみでなく第1又は第2主面方向からも測定できるので、測定方向の自由度が増し、主面方向からの測定では第1及び第2側面において同時に測定することも可能である。
以下、本発明に係る積層型電子部品の製造方法の実施例について添付図面を参照して説明する。
(第1実施例、図1〜図5参照)
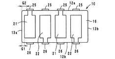
本発明の第1実施例によって製造された積層型セラミックコンデンサアレイについて説明する。この積層型セラミックコンデンサアレイは、図1〜図3に示すように、複数のセラミック層14〜19を積層してセラミック素体10を形成するとともに、このセラミック素体10の内部に第1内部電極21及び第2内部電極22と第1内部導体23及び第2内部導体24を形成したものである。
セラミック素体10は、互いに対向する第1主面11a及び第2主面11bと、互いに対向する第1側面12a及び第2側面12bと、互いに対向する第1端面13a及び第2端面13bと、を有する直方体形状をなしている。第1側面12a及び第2側面12bには、それぞれ、上下方向に延在する帯状の第1外部端子電極25及び第2外部端子電極26が互いに電気的に絶縁された状態で形成されている。
第1内部電極21及び第1内部導体23は第1側面12aまで引き出されて第1外部端子電極25と電気的に接続されている。第2内部電極22及び第2内部導体24は第2側面12bまで引き出されて第2外部端子電極26と電気的に接続されている。
第1及び第2外部端子電極25,26は、それぞれ、下地めっき膜と上層めっき膜とからなり、第1及び第2側面12a,12bに第1及び第2主面11a,11bに回り込むように形成されている。下地めっき膜は、それぞれ、第1及び第2内部電極21,22の露出部を被覆するようにして第1及び第2側面12a,12bに直接めっきにより形成されている。上層めっき膜は下地めっき膜を被覆するようにして形成された第1層と、該第1層を被覆するようにして形成された第2層とからなる。
図3に示すように、第1内部電極21と第2内部電極22は、一のセラミック層16,17上では互いに隣接し、積層方向には互いにセラミック層16を介して対向して容量を形成している。
第1及び第2内部導体23,24は、上下の外層部に配置され、前記下地めっき膜のめっき成長の核として機能するものである。即ち、下地めっき膜が第1及び第2主面11a,11bに向かって成長するのを補助する。なお、第1及び第2内部導体23,24は省略してもよい。即ち、第1及び第2内部電極の21,22の積層枚数が十分に多い場合や、下地めっき膜を上下方向にそれほど成長させる必要がない場合には、第1及び第2内部導体23,24を形成する必要はない。
セラミック層として、例えば、BaTiO3、CaTiO3、SrTiO3、CaZrO3などを主成分とする誘電体セラミックを用いることができる。また、これらの主成分にMn化合物、Fe化合物、Cr化合物、Co化合物、Ni化合物などの副成分を添加したものを用いてもよい。セラミック層の焼成後の厚みは、0.1〜10μmであることが好ましい。
内部電極、内部導体としては、例えば、Ni、Cu、Ag、Pd、Au、又はそれらの合金などを用いることができる。内部電極の焼成後の厚みは、0.1〜2.0μmであることが好ましい。
外部端子電極の下地めっき膜及び上層めっき膜は、例えば、Cu、Ni、Sn、Pb、Au、Ag、Pd、Bi及びZnからなる群から選ばれた1種の金属又は該金属を含む合金からなることが好ましい。例えば、内部電極としてNiを用いた場合、下地めっき膜としてはNiと接合性の良好なCuを用いることが好ましい。また、上層めっき膜の第1層としては、はんだバリア性能を有するNiを用いることが好ましく、第2層としては、はんだ濡れ性の良好なSnやAuを用いることが好ましい。上層めっき膜は必要に応じて形成されるものであり、下地めっき膜1層であってもよい。各めっき膜1層当たりの厚みは、1〜15μmであることが好ましい。
次に、前記積層型セラミックコンデンサアレイの製造方法について説明する。
(工程1)セラミックグリーンシート、内部電極用導電性ペースト、内部導体用導電性ペーストを準備する。セラミックグリーンシートや導電性ペーストに含まれるバインダ及び溶剤は、周知の有機バインダや有機溶剤を用いることができる。
(工程2)セラミックグリーンシート上に、スクリーン印刷などにより所定のパターンで導電性ペーストを印刷し、内部電極パターン及び内部導体パターンを形成する。
(工程3)前記セラミックグリーンシートを所定枚数積層し、マザー積層体を製作する。マザー積層体は、必要に応じて、静水圧プレスなどの手段により積層方向に圧着される。
(工程4)生のマザー積層体を所定のサイズにカットし、生チップを切り出す。
(工程5)前記生チップを焼成する。焼成温度は、セラミックや内部電極などの材料にもよるが、900〜1300℃であることが好ましい。
(工程6)必要に応じて、バレル研磨などの研磨処理を施し、内部電極の露出部の面出しを行う。同時に、積層体の稜線部や角部に丸みが形成される。
(工程7)めっき処理を施して、内部電極及び内部導体の露出部上に下地めっき膜を形成する。電解めっき、無電解めっきのいずれを採用してもよい。無電解めっきはめっき析出速度を向上させるために触媒などによる前処理が必要となり、工程が複雑化する。従って、電解めっきを採用することが好ましい。めっき工法としては、バレルめっきを採用することが好ましい。
(工程8)必要に応じて、下地めっき膜上に1層以上の上層めっき膜を形成する。
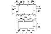
(工程9)前述のごとく作製したコンデンサアレイを選別する。図4に良品であるコンデンサアレイの内部電極21,22の形成状態を示し、図5に不良品であるコンデンサアレイの内部電極21,22の形成状態を示す。
図4における各符号の意味は以下のとおりである。
G1:第1内部電極の容量部と第1端面との距離(サイドギャップ)
G2:第1外部端子電極と第1端面との距離
W1:第1内部電極の中心線Cと容量部側辺との距離
D1:第1内部電極の中心線Cと第1外部端子電極の一方側辺との距離
D2:第1内部電極の中心線Cと第1外部端子電極の他方側辺との距離
本実施例では、外部端子電極25,26が直接めっきにより形成された下地めっき膜を有するため、外部端子電極25,26は内部電極21,22の露出部を中心として左右方向に実質的に均等に成長する。距離W1は内部電極パターンの設計、距離D1はめっき条件に主に左右されるが、ばらつきを比較的小さく抑えることができるため、設計上、距離W1,D1は定数とみなすことができる。よって、実質的に(G1+W1)=(G2+D1)となり、サイドギャップG1の長短を、距離G2の長短を測定することで判別することが可能である。
従って、予め良品となる標準試料群から、サイドギャップG1の良品範囲と距離G2の良品範囲(基準値)を求めておき、距離G2の実測値が良品範囲に含まれるものをサイドギャップ良品と判別し、良品範囲から外れるものをサイドギャップ不良品と判別し、除去することができる。なお、図5では、距離G2が短すぎるために不良品と判別されたものを示している。
距離G2の測定方法としては、例えば、第1側面12aが上方を向くようにコンデンサアレイを整列させ、上方からCCDカメラなどの撮像手段により第1側面12aを観察し、距離G2を測定することが挙げられる。撮像手段の内部処理では、例えば、画像情報が2値化され、外部端子電極25,26とセラミック素体10との境界が認識される。
また、第1主面11aが上方を向くようにしてコンデンサアレイを整列させ、上方からCCDカメラなどの撮像手段により第1側面12aの外部端子電極25の突出状態を観察し、距離G2を測定してもよい。この場合、第2側面12bの状態も同時に観察することができ、選別工程を時間的に短縮することが可能となる。このような測定方法を用いる場合、例えば、光の反射率が外部端子電極25,26及びセラミック素体10と異なる部材の上にコンデンサアレイを載置して観察し、撮像手段の内部処理において画像情報を3値化することにより、外部端子電極25,26、セラミック素体10及び周囲の空間との境界が認識され、距離G2を測定することができる。
(測定不能例、図6参照)
なお、特許文献2に示されているように、外部端子電極25,26をペーストの塗布、焼付けによって形成する方法では、距離G2をサイドギャップG1に置き換えて選別を行うことができない。従来のペースト塗布工法では、内部電極21,22の中心線Cに対して外部端子電極25,26がずれて形成されやすい。これは、ペースト塗布精度に限界があり、目的とする位置に精度よくペーストを塗布することが困難なためである。それゆえ、(G1+W1)=(G2+D1)とみなすことが困難である。例えば、図6に示すようなサイドギャップ不良品であっても、良品と誤認してしまうおそれがある。換言すれば、図5と比較した場合、サイドギャップG1がともに不良であっても距離G2が大きくて良品と判別されるおそれがある。
(第2実施例、図7参照)
図7は、多端子型の低ESL積層型セラミックコンデンサの二つのセラミック層を示す。この積層型セラミックコンデンサにおいて、第1及び第2内部電極21,22はそれぞれ露出部を有する複数の引出し部を備えている。そして、第1及び第2内部電極21,22のそれぞれの露出部は第1及び第2側面12a,12bのそれぞれにおいてオフセットされて配置されている。このような積層型セラミックコンデンサにおいても、外部端子電極25,26を素体10の側面12a,12b上にめっきにより形成することにより、外部端子電極25,26から素体10の端面13a,13bまでの距離G2を測定することでサイドギャップG1の良否を選別することができる。
(第3実施例、図8参照)
図8は、2端子型の積層型セラミックコンデンサの二つのセラミック層を示す。この積層型セラミックコンデンサにおいて、第1及び第2内部電極21,22は長い露出部を有し、第1及び第2側面12a,12bに比較的広い面積の第1及び第2外部端子電極25,26が形成されている。このような積層型セラミックコンデンサにおいても、外部端子電極25,26を素体10の側面12a,12b上にめっきにより形成することにより、外部端子電極25,26から素体10の端面13a,13bまでの距離G2を測定することでサイドギャップG1の良否を選別することができる。
(他の実施例)
なお、本発明に係る積層型電子部品の製造方法は前記実施例に限定するものではなく、その要旨の範囲内で種々に変更することができることは勿論である。
第1実施例にて製造された積層型セラミックコンデンサアレイを示す斜視図である。 図1のA−A断面図である。 前記積層型セラミックコンデンサアレイの各層を分解して示す平面図である。 良品と判別されるサイドギャップを示す平面図である。 不良品と判別されるサイドギャップを示す平面図である。 従来の製造方法によって良品と誤判別されるサイドギャップを示す平面図である。 第2実施例にて製造された積層型セラミックコンデンサの二つの層を示す平面図である。 第3実施例にて製造された積層型セラミックコンデンサの二つの層を示す平面図である。 従来の問題点を示すために積層型セラミックコンデンサアレイの二つの層を示す平面図である。
符号の説明
10…セラミック素体
11a,11b…主面
12a,12b…側面
13a,13b…端面
21,22…内部電極
25,26…外部端子電極
G1…サイドギャップ
G2…外部端子電極−端面間距離

Claims (2)

  1. 複数のセラミック層を積層し、互いに対向する第1主面及び第2主面と、互いに対向する第1側面及び第2側面と、互いに対向する第1端面及び第2端面と、を有するセラミック素体を形成するとともに、このセラミック素体の内部に、第1側面において該第1側面よりも短い幅の露出部を有する内部電極を形成する工程と、
    第1側面上にめっきにより前記内部電極の露出部と電気的に接続された下地めっき膜を有する帯状の外部端子電極を形成する工程と、
    第1端面に最も近い外部端子電極から第1端面までの距離を測定し、測定された距離が所定の基準値を満たさない場合、そのセラミック素体を不良品として選別除去する工程と、
    を備えたことを特徴とする積層型電子部品の製造方法。
  2. 前記内部電極は互いにセラミック層を介して対向する第1内部電極と第2内部電極とからなり、第1内部電極と第2内部電極は一のセラミック層上に隣接して配置されていること、を特徴とする請求項1に記載の積層型電子部品の製造方法。
JP2008173423A 2008-07-02 2008-07-02 積層型電子部品の製造方法 Active JP5347350B2 (ja)

Priority Applications (2)

Application Number Priority Date Filing Date Title
JP2008173423A JP5347350B2 (ja) 2008-07-02 2008-07-02 積層型電子部品の製造方法
US12/485,963 US8383195B2 (en) 2008-07-02 2009-06-17 Production method for laminated electronic component

Applications Claiming Priority (1)

Application Number Priority Date Filing Date Title
JP2008173423A JP5347350B2 (ja) 2008-07-02 2008-07-02 積層型電子部品の製造方法

Publications (2)

Publication Number Publication Date
JP2010016101A true JP2010016101A (ja) 2010-01-21
JP5347350B2 JP5347350B2 (ja) 2013-11-20

Family

ID=41464587

Family Applications (1)

Application Number Title Priority Date Filing Date
JP2008173423A Active JP5347350B2 (ja) 2008-07-02 2008-07-02 積層型電子部品の製造方法

Country Status (2)

Country Link
US (1) US8383195B2 (ja)
JP (1) JP5347350B2 (ja)

Cited By (2)

* Cited by examiner, † Cited by third party
Publication number Priority date Publication date Assignee Title
JP2012114395A (ja) * 2010-11-25 2012-06-14 Samsung Electro-Mechanics Co Ltd 積層型セラミックスキャパシタ
WO2014132823A1 (ja) * 2013-02-28 2014-09-04 デクセリアルズ株式会社 静電容量デバイス、共振回路及び電子機器

Families Citing this family (2)

* Cited by examiner, † Cited by third party
Publication number Priority date Publication date Assignee Title
KR101761938B1 (ko) * 2012-04-26 2017-07-26 삼성전기주식회사 적층 세라믹 전자 부품
KR102057909B1 (ko) * 2013-06-14 2019-12-20 삼성전기주식회사 적층 세라믹 커패시터 및 적층 세라믹 커패시터의 실장 기판

Citations (5)

* Cited by examiner, † Cited by third party
Publication number Priority date Publication date Assignee Title
JPH05226178A (ja) * 1992-02-18 1993-09-03 Taiyo Yuden Co Ltd 積層セラミックコンデンサおよびその製造法
JPH08330178A (ja) * 1995-06-05 1996-12-13 Murata Mfg Co Ltd 積層セラミックコンデンサの製造方法
JP2004312023A (ja) * 2003-04-08 2004-11-04 Avx Corp めっきターミネーション
JP2005175165A (ja) * 2003-12-10 2005-06-30 Murata Mfg Co Ltd 積層セラミックコンデンサおよびその製造方法
JP2008117990A (ja) * 2006-11-07 2008-05-22 Murata Mfg Co Ltd 積層コンデンサ

Family Cites Families (17)

* Cited by examiner, † Cited by third party
Publication number Priority date Publication date Assignee Title
JPH1022183A (ja) 1996-07-01 1998-01-23 Murata Mfg Co Ltd 電子部品の製造方法
US6380619B2 (en) * 1998-03-31 2002-04-30 Tdk Corporation Chip-type electronic component having external electrodes that are spaced at predetermined distances from side surfaces of a ceramic substrate
JP3528719B2 (ja) * 1999-11-18 2004-05-24 株式会社村田製作所 表面実装型電子部品及びその製造方法
US7463474B2 (en) * 2002-04-15 2008-12-09 Avx Corporation System and method of plating ball grid array and isolation features for electronic components
US7177137B2 (en) * 2002-04-15 2007-02-13 Avx Corporation Plated terminations
US7576968B2 (en) * 2002-04-15 2009-08-18 Avx Corporation Plated terminations and method of forming using electrolytic plating
US6960366B2 (en) * 2002-04-15 2005-11-01 Avx Corporation Plated terminations
US7152291B2 (en) * 2002-04-15 2006-12-26 Avx Corporation Method for forming plated terminations
US6982863B2 (en) * 2002-04-15 2006-01-03 Avx Corporation Component formation via plating technology
TWI260657B (en) * 2002-04-15 2006-08-21 Avx Corp Plated terminations
JP2004047707A (ja) 2002-07-11 2004-02-12 Murata Mfg Co Ltd 積層セラミックコンデンサアレイ
US7345868B2 (en) * 2002-10-07 2008-03-18 Presidio Components, Inc. Multilayer ceramic capacitor with terminal formed by electroless plating
US7329976B2 (en) * 2005-04-27 2008-02-12 Kyocera Corporation Laminated electronic component
KR100944099B1 (ko) * 2005-10-28 2010-02-24 가부시키가이샤 무라타 세이사쿠쇼 적층형 전자부품 및 그 제조방법
JP4900382B2 (ja) * 2006-02-27 2012-03-21 株式会社村田製作所 積層型電子部品およびその製造方法
WO2007105395A1 (ja) * 2006-03-14 2007-09-20 Murata Manufacturing Co., Ltd. 積層型電子部品の製造方法
JP5289794B2 (ja) * 2007-03-28 2013-09-11 株式会社村田製作所 積層型電子部品およびその製造方法

Patent Citations (5)

* Cited by examiner, † Cited by third party
Publication number Priority date Publication date Assignee Title
JPH05226178A (ja) * 1992-02-18 1993-09-03 Taiyo Yuden Co Ltd 積層セラミックコンデンサおよびその製造法
JPH08330178A (ja) * 1995-06-05 1996-12-13 Murata Mfg Co Ltd 積層セラミックコンデンサの製造方法
JP2004312023A (ja) * 2003-04-08 2004-11-04 Avx Corp めっきターミネーション
JP2005175165A (ja) * 2003-12-10 2005-06-30 Murata Mfg Co Ltd 積層セラミックコンデンサおよびその製造方法
JP2008117990A (ja) * 2006-11-07 2008-05-22 Murata Mfg Co Ltd 積層コンデンサ

Cited By (5)

* Cited by examiner, † Cited by third party
Publication number Priority date Publication date Assignee Title
JP2012114395A (ja) * 2010-11-25 2012-06-14 Samsung Electro-Mechanics Co Ltd 積層型セラミックスキャパシタ
JP2013239753A (ja) * 2010-11-25 2013-11-28 Samsung Electro-Mechanics Co Ltd 積層型セラミックスキャパシタ
US8619407B2 (en) 2010-11-25 2013-12-31 Samsung Electro-Mechanics Co., Ltd Multilayered ceramic capacitor
WO2014132823A1 (ja) * 2013-02-28 2014-09-04 デクセリアルズ株式会社 静電容量デバイス、共振回路及び電子機器
JP2014167960A (ja) * 2013-02-28 2014-09-11 Dexerials Corp 静電容量デバイス、共振回路及び電子機器

Also Published As

Publication number Publication date
US20100003397A1 (en) 2010-01-07
JP5347350B2 (ja) 2013-11-20
US8383195B2 (en) 2013-02-26

Similar Documents

Publication Publication Date Title
JP5332475B2 (ja) 積層セラミック電子部品およびその製造方法
KR101565641B1 (ko) 적층 세라믹 전자부품 및 그 실장 기판
US8125765B2 (en) Laminated ceramic electronic component
US9136057B2 (en) Ceramic electronic component, method of manufacturing the same, and collective component
KR101548798B1 (ko) 적층 세라믹 전자부품 및 그 실장 기판
US9190213B2 (en) Method of manufacturing multilayer ceramic capacitor and multilayer ceramic capacitor
JP6020503B2 (ja) 積層セラミック電子部品
KR102061507B1 (ko) 적층 세라믹 전자부품 및 적층 세라믹 전자부품 실장 기판
US10340081B2 (en) Ceramic capacitor
KR101927731B1 (ko) 적층 세라믹 콘덴서
US20130141837A1 (en) Multilayer ceramic electronic part
US20160005539A1 (en) Multilayer ceramic capacitor, manufacturing method thereof, and board having the same
JP5589982B2 (ja) 積層セラミック電子部品
US9818538B2 (en) Multilayer ceramic electronic component and board for mounting thereof
US9040840B2 (en) Multilayer ceramic electronic component and mounting board therefor
JP5725678B2 (ja) 積層セラミック電子部品、その製造方法及びその実装基板
KR101434103B1 (ko) 적층 세라믹 전자부품 및 적층 세라믹 전자부품의 실장 기판
CN102110529A (zh) 多层陶瓷电容器及其制造方法
JP5347350B2 (ja) 積層型電子部品の製造方法
KR20140128099A (ko) 적층 세라믹 전자부품 및 적층 세라믹 전자부품 실장 기판
CN111755248B (zh) 层叠陶瓷电容器
JP2004235377A (ja) セラミック電子部品
CN110828173A (zh) 多层陶瓷电容器及制造该多层陶瓷电容器的方法
US9117592B2 (en) Multilayer ceramic electronic component and mounting board therefor
KR20160053682A (ko) 적층 세라믹 커패시터, 적층 세라믹 커패시터의 제조 방법 및 적층 세라믹 커패시터의 실장 기판

Legal Events

Date Code Title Description
A621 Written request for application examination

Free format text: JAPANESE INTERMEDIATE CODE: A621

Effective date: 20110615

A977 Report on retrieval

Free format text: JAPANESE INTERMEDIATE CODE: A971007

Effective date: 20120731

A131 Notification of reasons for refusal

Free format text: JAPANESE INTERMEDIATE CODE: A131

Effective date: 20120821

A521 Request for written amendment filed

Free format text: JAPANESE INTERMEDIATE CODE: A523

Effective date: 20121022

RD02 Notification of acceptance of power of attorney

Free format text: JAPANESE INTERMEDIATE CODE: A7422

Effective date: 20121022

A131 Notification of reasons for refusal

Free format text: JAPANESE INTERMEDIATE CODE: A131

Effective date: 20130312

A521 Request for written amendment filed

Free format text: JAPANESE INTERMEDIATE CODE: A523

Effective date: 20130507

TRDD Decision of grant or rejection written
A01 Written decision to grant a patent or to grant a registration (utility model)

Free format text: JAPANESE INTERMEDIATE CODE: A01

Effective date: 20130723

A61 First payment of annual fees (during grant procedure)

Free format text: JAPANESE INTERMEDIATE CODE: A61

Effective date: 20130805

R150 Certificate of patent or registration of utility model

Ref document number: 5347350

Country of ref document: JP

Free format text: JAPANESE INTERMEDIATE CODE: R150

Free format text: JAPANESE INTERMEDIATE CODE: R150