JP2010015981A - 発光装置の作製方法 - Google Patents

発光装置の作製方法 Download PDF

Info

Publication number
JP2010015981A
JP2010015981A JP2009134813A JP2009134813A JP2010015981A JP 2010015981 A JP2010015981 A JP 2010015981A JP 2009134813 A JP2009134813 A JP 2009134813A JP 2009134813 A JP2009134813 A JP 2009134813A JP 2010015981 A JP2010015981 A JP 2010015981A
Authority
JP
Japan
Prior art keywords
light
layer
substrate
material layer
emitting device
Prior art date
Legal status (The legal status is an assumption and is not a legal conclusion. Google has not performed a legal analysis and makes no representation as to the accuracy of the status listed.)
Granted
Application number
JP2009134813A
Other languages
English (en)
Other versions
JP5161154B2 (ja
JP2010015981A5 (ja
Inventor
Toshio Ikeda
寿雄 池田
Takahiro Ibe
隆広 井辺
Current Assignee (The listed assignees may be inaccurate. Google has not performed a legal analysis and makes no representation or warranty as to the accuracy of the list.)
Semiconductor Energy Laboratory Co Ltd
Original Assignee
Semiconductor Energy Laboratory Co Ltd
Priority date (The priority date is an assumption and is not a legal conclusion. Google has not performed a legal analysis and makes no representation as to the accuracy of the date listed.)
Filing date
Publication date
Application filed by Semiconductor Energy Laboratory Co Ltd filed Critical Semiconductor Energy Laboratory Co Ltd
Priority to JP2009134813A priority Critical patent/JP5161154B2/ja
Publication of JP2010015981A publication Critical patent/JP2010015981A/ja
Publication of JP2010015981A5 publication Critical patent/JP2010015981A5/ja
Application granted granted Critical
Publication of JP5161154B2 publication Critical patent/JP5161154B2/ja
Expired - Fee Related legal-status Critical Current
Anticipated expiration legal-status Critical

Links

Images

Classifications

    • HELECTRICITY
    • H10SEMICONDUCTOR DEVICES; ELECTRIC SOLID-STATE DEVICES NOT OTHERWISE PROVIDED FOR
    • H10KORGANIC ELECTRIC SOLID-STATE DEVICES
    • H10K71/00Manufacture or treatment specially adapted for the organic devices covered by this subclass
    • H10K71/10Deposition of organic active material
    • H10K71/18Deposition of organic active material using non-liquid printing techniques, e.g. thermal transfer printing from a donor sheet
    • HELECTRICITY
    • H10SEMICONDUCTOR DEVICES; ELECTRIC SOLID-STATE DEVICES NOT OTHERWISE PROVIDED FOR
    • H10KORGANIC ELECTRIC SOLID-STATE DEVICES
    • H10K59/00Integrated devices, or assemblies of multiple devices, comprising at least one organic light-emitting element covered by group H10K50/00
    • H10K59/10OLED displays
    • H10K59/12Active-matrix OLED [AMOLED] displays
    • HELECTRICITY
    • H10SEMICONDUCTOR DEVICES; ELECTRIC SOLID-STATE DEVICES NOT OTHERWISE PROVIDED FOR
    • H10KORGANIC ELECTRIC SOLID-STATE DEVICES
    • H10K59/00Integrated devices, or assemblies of multiple devices, comprising at least one organic light-emitting element covered by group H10K50/00
    • H10K59/10OLED displays
    • H10K59/17Passive-matrix OLED displays
    • HELECTRICITY
    • H10SEMICONDUCTOR DEVICES; ELECTRIC SOLID-STATE DEVICES NOT OTHERWISE PROVIDED FOR
    • H10KORGANIC ELECTRIC SOLID-STATE DEVICES
    • H10K59/00Integrated devices, or assemblies of multiple devices, comprising at least one organic light-emitting element covered by group H10K50/00
    • H10K59/30Devices specially adapted for multicolour light emission
    • H10K59/35Devices specially adapted for multicolour light emission comprising red-green-blue [RGB] subpixels

Landscapes

  • Engineering & Computer Science (AREA)
  • Manufacturing & Machinery (AREA)
  • Electroluminescent Light Sources (AREA)
  • Physical Vapour Deposition (AREA)

Abstract

【課題】転写層となる材料層が余分に蒸着されるのを防ぐと共に所望の蒸着パターンを形成することができ、転写中に材料等の劣化が起きにくい方法を用いることにより、高精細で発光特性が高く、長寿命である発光装置の作製方法を提供することを目的とする。
【解決手段】第1の基板の材料層が形成された一方の面から所定の条件式を満たす第1の光を照射することにより、材料層をパターン形成し、次いで第1の基板の他方の面から所定の条件式を満たす第2の光を照射することにより、パターン形成した材料層を被成膜基板である第2の基板上に蒸着させる発光装置の作製方法である。
【選択図】図1

Description

本発明は、蒸着法を用いた発光装置の作製方法に関する。
薄型軽量、高速応答性、直流低電圧駆動などの特徴を有する有機化合物を発光体として用いた発光素子は、次世代のフラットパネルディスプレイへの応用が期待されている。特に、発光素子をマトリクス状に配置した表示装置は、従来の液晶表示装置と比較して、視野角が広く視認性が優れる点に優位性があると考えられている。
発光素子の発光機構は、一対の電極間にEL層を挟んで電圧を印加することにより、陰極から注入された電子および陽極から注入された正孔がEL層の発光中心で再結合して分子励起子を形成し、その分子励起子が基底状態に緩和する際にエネルギーを放出して発光するといわれている。励起状態には一重項励起と三重項励起が知られ、発光はどちらの励起状態を経ても可能であると考えられている。
発光素子を構成するEL層は、少なくとも発光層を有する。また、EL層は、発光層の他に、正孔注入層、正孔輸送層、電子輸送層、電子注入層などを有する積層構造とすることもできる。
また、EL層を形成するEL材料は低分子系(モノマー系)材料と高分子系(ポリマー系)材料に大別される。一般に、低分子系材料は蒸着法を用いて成膜され、高分子系材料はインクジェット法などを用いて成膜されることが多い。
蒸着法の場合に用いられる蒸着装置は、基板を設置する基板ホルダと、EL材料、つまり蒸着材料を封入したルツボ(または蒸着ボート)と、ルツボ内のEL材料を加熱するヒーターと、昇華するEL材料の拡散を防止するシャッターとを有しており、ヒーターにより加熱されたEL材料が昇華し、基板に成膜される構成となっている。
しかし、実際には均一に膜を成膜するために、被成膜基板を回転させることや、基板とルツボとの間の距離を一定以上離すことが必要となる。また、複数のEL材料を用いてメタルマスクなどのマスクを介した塗り分けを行う場合には、異なる画素間の間隔を広く設計し、画素間に設けられる絶縁物からなる隔壁(バンク)の幅を広くすることが必要となるなど発光素子を含む発光装置の高精細化(画素数の増大)及び小型化に伴う各表示画素ピッチの微細化を進める上で大きな課題となっている。
従って、フラットパネルディスプレイとして、より高精細化や高信頼性を図るために、これらの課題を解決すると共に生産性の向上や低コスト化を図ることが要求されている。
これに対して、レーザ熱転写により、発光素子のEL層を形成する方法が提案されている(特許文献1参照)。特許文献1では、支持基板上に、低反射層と高反射層から構成される光熱変換層と、転写層を有する転写用基板について記載されている。このような転写用基板にレーザ光を照射することにより、転写層を素子作成用基板に転写することができる。
特開2006−309995号公報
しかしながら、特許文献1に示すように高反射層および低反射層上に転写層が形成された転写用基板にレーザ光を照射して、被成膜基板上に直接転写層を転写させる場合において、レーザ光の照射時間が長いと低反射層で発生した熱が高反射層まで伝わり、低反射層上の転写層だけでなく、高反射層上の転写層も転写されてしまう可能性が高い。これに対して、レーザ光の照射時間を短くするために瞬間的に出力パワーの高いレーザ光を照射すると、低反射層上の転写層のみ転写され、所有の蒸着パターニングを形成できるものの、レーザ光を照射した瞬間、転写層が高温になるため、転写層を形成する材料の分解や劣化が生じる可能性がある。また、この様にして形成された転写後の膜は、凹凸が多く、膜質が悪くなる可能性が高い。
そこで、本発明の一態様は、転写層となる材料層が余分に蒸着されるのを防ぐと共に所望の蒸着パターンを形成することができ、転写中に材料等の劣化が起きにくい方法を用いることにより、高精細で発光特性が高く、長寿命である発光装置の作製方法を提供することを目的とする。
本発明の一態様は、第1の基板の材料層が形成された一方の面から第1の光を照射することにより、材料層をパターン形成し、次いで第1の基板の他方の面から第2の光を照射することにより、パターン形成した材料層を被成膜基板である第2の基板上に蒸着(または転写)させることを特徴とする発光装置の作製方法である。
本発明の構成は、第1の基板の一方の面に光吸収層を形成し、光吸収層と接して開口部を有する反射層を形成し、光吸収層および反射層と接して材料層を形成し、第1の基板の一方の面側から、光強度がA(W/cm)で、照射時間B(s)のとき、下記一般式(1)
1/A 1.5≦B≦10/A 1.5 かつ B≦10−3(s) (1)
より好ましくは、下記一般式(2)
10/A 1.5≦B≦10/A 1.5 かつ B≦10−3(s) (2)
の範囲にある第1の光を照射して、材料層の一部で反射層の開口部と重なる部分を除去し、第1の基板の一方の面と、第2の基板の被成膜面とを対向させ、かつ近接させた状態で配置し、第1の基板の他方の面側から、光強度がA(W/cm)で、照射時間B(s)のとき、下記一般式(3)
1/A 1.5≦B≦10/A 1.5 かつ B≧10−4(s) (3)
より好ましくは、下記一般式(4)
10/A 1.5≦B≦10/A 1.5 かつ B≧10−4(s) (4)
の範囲にある第2の光を照射して、反射層と重なる位置にある材料層を第2の基板の被成膜面に蒸着させることを特徴とする発光装置の作製方法である。
また、本発明の別の構成は、第1の基板の一方の面に光吸収層を形成し、光吸収層と接して開口部を有する反射層を形成し、光吸収層および反射層と接して材料層を形成し、第1の基板の一方の面側から、光強度がA(W/cm)で、照射時間B(s)のとき、下記一般式(1)
1/A 1.5≦B≦10/A 1.5 かつ B≦10−4(s) (1)
より好ましくは、下記一般式(2)
10/A 1.5≦B≦10/A 1.5 かつ B≦10−3(s) (2)
の範囲にある第1の光を照射して、材料層の一部で反射層の開口部と重なる部分を除去し、第1の基板の一方の面と、第2の基板の被成膜面とを対向させ、かつ近接させた状態で配置し、第1の基板を加熱し、反射層と重なる位置にある材料層を第2の基板の被成膜面に蒸着させることを特徴とする発光装置の作製方法である。
上記各構成において、第1の光は、レーザ光であることを特徴とし、好ましくは450nm以上の波長であることを特徴とする。
上記各構成において、光吸収層は、光に対する反射率が70%以下であることを特徴とし、また、窒化タンタル、窒化チタン、窒化クロム、窒化マンガン、チタン、カーボンのいずれかを含むことを特徴とする。
上記各構成において、反射層は、光に対する反射率が85%以上であることを特徴とし、また、アルミニウム、銀、金、白金、銅、アルミニウムを含む合金、銀を含む合金、または酸化インジウム−酸化スズのいずれかを含むことを特徴とする。
上記各構成において、材料層は有機化合物からなることを特徴とし、さらに、発光性材料またはキャリア輸送性材料の一方または両方を含むことを特徴とする。
また、本発明は、発光素子を有する発光装置だけでなく、発光装置を有する電子機器も範疇に含めるものである。従って、本明細書中における発光装置とは、画像表示デバイス、発光デバイス、もしくは光源(照明装置含む)を指す。また、発光装置にコネクター、例えばFPC(Flexible printed circuit)もしくはTAB(Tape Automated Bonding)テープもしくはTCP(Tape Carrier Package)が取り付けられたモジュール、TABテープやTCPの先にプリント配線板が設けられたモジュール、または発光素子にCOG(Chip On Glass)方式によりIC(集積回路)が直接実装されたモジュールも全て発光装置に含むものとする。
本発明の一態様に係る発光装置の作製方法では、2度の光照射を行うことにより、蒸着用基板上の材料層のパターン形成、および被成膜基板上への成膜が可能である。具体的には、1度目の光照射により蒸着用基板上に形成された材料層をパターン形成し、2度目の光照射によりパターン形成された材料層を被成膜基板上に蒸着(または転写)することから、材料層を精度良く蒸着することができるため、高精細で発光特性が高く、長寿命な発光装置の作製することができる。
なお、1度目の光照射では、高い光強度を瞬時に与える光源に用いるため、照射時間を短くすることができ、熱の伝導によるパターニング領域のズレを防止することができる。但し、1度目の光照射は、第1の基板に材料層が形成される表面側から行われる為、裏面側から光照射する場合に比べて低い光強度とすることができる。従って、材料層が、光照射により劣化を受けるのを防ぐことができる。
また、2度目の光照射では、1度目の光照射により蒸着基板上の材料層をパターン形成していることから、蒸着に最低限必要となる光強度を与える光源を用いればよい。従って、被成膜基板上に蒸着(または転写)される材料層が、光照射により劣化を受けるのを防ぐことができる。
なお、2度目の光照射において、ランプ光を光源として用いる場合には、大面積を一括して成膜することができる為、発光装置の生産性を向上させることが可能である。また、本発明では、2度目の光照射は、パターン形成された材料層を被成膜基板に蒸着(または転写)させればよい為、光照射の代わりに蒸着用基板を直接、又は間接的に加熱するといった簡便な方法を組み合わせることもできる。
本発明の一態様である蒸着用基板の作製方法を説明する図。 本発明の一態様である蒸着用基板の作製方法を説明する図。 本発明の一態様である蒸着用基板及び成膜方法を説明する図。 レーザ光を光源とする装置について説明する図。 ランプ光を光源とする装置について説明する図。 フルカラー用の蒸着用基板、およびEL層の画素配列について説明する図。 フルカラー用の蒸着用基板、およびEL層の画素配列について説明する図。 発光素子について説明する図。 パッシブマトリクス型の発光装置を示す図。 パッシブマトリクス型の発光装置を示す図。 アクティブマトリクス型の発光装置を示す図。 電子機器を示す図。 電子機器を示す図。 第1の光、および第2の光となる条件を満たす領域を示す図。 シミュレーションに用いた基板の構造を示す図。 シミュレーション結果を示す図。
以下、本発明の実施の態様について図面を用いて詳細に説明する。但し、本発明は以下の説明に限定されず、本発明の趣旨及びその範囲から逸脱することなくその形態及び詳細を様々に変更し得ることが可能である。従って、本発明は以下に示す実施の形態の記載内容に限定して解釈されるものではない。
(実施の形態1)
本実施の形態1では、本発明にかかる蒸着用基板を用いた成膜方法について説明する。なお、本実施の形態1では、蒸着用基板上に蒸着材料をパターン形成し、これを用いて発光素子のEL層を形成する場合について説明する。
本発明に用いる蒸着用基板について、図1を用いて説明する。図1(A)に示すように、支持基板である第1の基板101上に光吸収層102が形成されており、光吸収層102上には、開口部103を有する反射層104が形成されており、光吸収層102および反射層104上には、材料層105が形成されている。なお、材料層105の一部は、開口部103を埋めるように形成されている。
図1(A)において、光吸収層102、開口部103を有する反射層104、および材料層105は、それぞれ第1の基板101の全面に形成されている。
なお、第1の基板101としては、ガラス基板、石英基板、無機材料を含むプラスチック基板などの他、モリブデン、タングステンからなる基板を用いることができる。
光吸収層102は、蒸着の際に照射された光を吸収する層である。よって、光吸収層102は、照射する光に対して低い反射率を有し、高い吸収率を有する材料で形成されていることが好ましい。具体的には、光吸収層102は、照射される光に対して、70%以下の反射率を示すことが好ましい。
また、光吸収層102に用いることができる材料としては、例えば、窒化チタン、窒化タンタル、窒化モリブデン、窒化タングステン、窒化クロム、窒化マンガンなどの金属窒化物や、モリブデン、チタン、タングステン、カーボンなどを用いることが好ましい。なお、光吸収層102は一層に限らず複数の層により構成されていてもよい。
このように、照射される光の波長により、光吸収層102に好適な材料の種類は変化することから、適宜材料を選択する必要がある。
また、光吸収層102は、種々の方法を用いて形成することができる。例えば、スパッタリング法、電子ビーム蒸着法、真空蒸着法などにより形成することができる。
また、光吸収層102の膜厚は、材料によって異なるが、照射した光が透過しない膜厚(好ましくは100nm以上2μm以下の膜厚)であることが好ましい。特に、光吸収層102の膜厚を100nm以上600nm以下とすることで、照射した光を効率良く吸収して発熱させることができる。また、光吸収層102の膜厚を100nm以上600nm以下とすることで、被成膜基板上への成膜を精度良く行うことができる。
なお、光吸収層102は、材料層105に含まれる蒸着材料の昇華温度まで加熱することができるのであれば、照射する光の一部が透過してもよい。ただし、一部が透過する場合には、材料層105に含まれる蒸着材料として、光によって分解しない材料を用いることが必要である。
また、反射層104は、図1(B)に示す第1の光107を材料層105に照射する際、光吸収層102の一部分に選択的に光を照射し、それ以外の部分に照射される光を反射させる層である。よって、反射層104は、第1の光107に対して高い反射率を有する材料で形成されていることが好ましい。具体的には、反射層104は、照射される光に対して、反射率が85%以上、さらに好ましくは、反射率が90%以上であることが好ましい。
また、反射層104に用いることができる材料としては、例えば、アルミニウム、銀、金、白金、銅、アルミニウムを含む合金(例えば、アルミニウム−チタン合金、アルミニウム−ネオジム合金、アルミニウム−チタン合金)、または銀を含む合金(銀−ネオジム合金)などを用いることができる。
なお、反射層104は、種々の方法を用いて形成することができる。例えば、スパッタリング法、電子ビーム蒸着法、真空蒸着法などにより形成することができる。また、反射層104の膜厚は、材料により異なるが、100nm以上とすることが好ましい。100nm以上の膜厚とすることにより、照射した光が反射層を透過することを抑制することができる。
本実施の形態に示す開口部103の形成には、種々の方法を用いることができるが、ドライエッチングを用いることが好ましい。ドライエッチングを用いることにより、開口部103の側壁が鋭くなり、微細なパターンを成膜することができる。
さらに、反射層104と光吸収層102の反射率は差が大きいほど好ましい。具体的には、照射する光の波長に対して、反射率の差が25%以上、より好ましくは30%以上であることが好ましい。
材料層105は、被成膜基板上に蒸着させる蒸着材料を有する層である。そして、蒸着用基板に光を照射することにより、材料層105が加熱され、蒸着材料が昇華するとともに被成膜基板上に蒸着される。
なお、材料層105に含まれる蒸着材料としては、蒸着可能な材料であれば、有機化合物、無機化合物にかかわらず、種々の材料を用いることができるが、本実施の形態で示すように発光素子のEL層を形成する場合には、EL層を形成する蒸着可能な材料を用いることとする。例えば、EL層を形成する発光性材料、キャリア輸送性材料、キャリア注入性材料などの有機化合物の他、発光素子の電極などに用いられる金属酸化物、金属窒化物、ハロゲン化金属、金属単体といった無機化合物を用いることもできる。なお、EL層を形成する蒸着可能な材料の詳細については、実施の形態5において詳述するので、それを参考にすることとし、ここでの説明は省略する。
また、材料層105は、複数の材料を含んでいてもよい。また、材料層105は、単層でもよいし、複数の層が積層されていてもよい。従って、蒸着材料を含む層を複数積層することにより、共蒸着することも可能である。なお、材料層105が積層構造を有する場合には、第1の基板側に昇華温度(または、蒸着可能な温度)の低い蒸着材料を含むように積層することが好ましい。このような構成とすることにより、積層構造を有する材料層105による蒸着を効率良く行うことができる。
また、材料層105は、種々の方法により形成される。例えば、湿式法であるスピンコート法、スプレーコート法、インクジェット法、ディップコート法、キャスト法、ダイコート法、ロールコート法、ブレードコート法、バーコート法、グラビアコート法、又は印刷法等を用いることができる。また、乾式法である真空蒸着法、スパッタリング法等を用いることができる。
湿式法を用いて材料層105を形成する場合には、所望の蒸着材料を溶媒に溶解あるいは分散させ、溶液あるいは分散液を調整すればよい。溶媒は、蒸着材料を溶解あるいは分散させることができ、且つ蒸着材料と反応しないものであれば特に限定されない。例えば、クロロホルム、テトラクロロメタン、ジクロロメタン、1,2−ジクロロエタン、或いはクロロベンゼンなどのハロゲン系溶媒、アセトン、メチルエチルケトン、ジエチルケトン、n−プロピルメチルケトン、或いはシクロヘキサノンなどのケトン系溶媒、ベンゼン、トルエン、或いはキシレンなどの芳香族系溶媒、酢酸エチル、酢酸n−プロピル、酢酸n−ブチル、プロピオン酸エチル、γ−ブチロラクトン、或いは炭酸ジエチルなどのエステル系溶媒、テトラヒドロフラン、或いはジオキサンなどのエーテル系溶媒、ジメチルホルムアミド、或いはジメチルアセトアミドなどのアミド系溶媒、ジメチルスルホキシド、ヘキサン、又は水等を用いることができる。また、これらの溶媒複数種を混合して用いてもよい。湿式法を用いることにより、材料の利用効率を高めることができ、製造コストを低減させることができる。
次に、図1(B)に示すように、第1の基板101の一方の面であって、光吸収層102、反射層104、および材料層105が形成された面から、第1の光107を照射すると、第1の基板101に形成された材料層105を透過した後、反射層104に照射された光は反射されるが、開口部103に照射された光は、光吸収層102に吸収される。そして、光吸収層102は、吸収した光から得た熱を材料層105の蒸着材料に与え、材料層105の一部を昇華させる(図1(C)。)。
以上により、第1の基板101に形成された反射層104と重なる位置に材料層105aを有する蒸着用基板を形成することができる(図1(D)。)。
照射する第1の光107は、レーザ光を光源として用いる。照射する第1の光107は、光強度:A(W/cm)、照射時間:B(s)において、下記一般式(1)、より好ましくは下記一般式(2)を満たす光である。なお、下記一般式(1)は、図14の領域a(1401)に示す範囲である。
1/A 1.5≦B≦10/A 1.5 かつ B≦10−3(s) (1)
10/A 1.5≦B≦10/A 1.5 かつ B≦10−3(s) (2)
照射する第1の光は、材料層105を透過して反射層104または、光吸収層102に届くため、材料層105の劣化を防ぐ為に450nm以上の波長の光を用いることが好ましい。例えば、488nm、514nm、527nm、532nm、561nm、1024nmの波長のレーザ光を用いることができる。また、照射する第1の光の波長は、できるだけ材料層に吸収されないものを選択することが望ましい。レーザ光を光源として用いることにより、短時間の照射でも光吸収層102における熱変換が効率よく行われるため、蒸着材料を部分的に昇華させることにより形成される材料層105aの形状の精度を高めることができる。
また、レーザ光には、Arレーザ、Krレーザ、エキシマレーザなどの気体レーザ、単結晶のYAG、YVO、フォルステライト(MgSiO)、YAlO、GdVO、若しくは多結晶(セラミック)のYAG、Y、YVO、YAlO、GdVOに、ドーパントとしてNd、Yb、Cr、Ti、Ho、Er、Tm、Taのうち1種または複数種添加されているものを媒質とするレーザ、ガラスレーザ、ルビーレーザ、アレキサンドライトレーザ、Ti:サファイアレーザ、ファイバーレーザ等の固体レーザのうち一種または複数種から発振されるものを用いることができる。また、上記固体レーザから発振される第2高調波や第3高調波を用いることもできる。なお、レーザ媒体が固体である固体レーザを用いると、メンテナンスフリーの状態を長く保てるという利点や、出力が比較的に安定している利点を有している。
また、上述したレーザは、パルスレーザ、連続発振(CW:continuous−wave)レーザなどを用いることができる。なお、パルスレーザの場合には、例えば、数Hz〜数100kHZの周波数だけでなく、1MHz以上の周波数のレーザ光を用いることができる。また、レーザスポットの形状は、線状または矩形状とすることが好ましい。
本発明では、照射された光による輻射熱を利用するのではなく、照射された光を吸収した光吸収層102が材料層105に熱を与えることが特徴である。従って、光が照射された部分の光吸収層102から光が照射されていない部分の光吸収層102へ、面方向に熱が伝わることにより、加熱される材料層105の範囲が広がることのないように、光の照射時間は、短くすることが好ましい。特にパルスレーザの場合、レーザスポットの長軸の長さを1m程度まで長くすることができるので、処理時間が短くなり、生産性が向上する。
また、光照射による材料層105のパターン形成は、減圧雰囲気下で行うことが好ましい。従って、処理室内を5×10−3Pa以下、好ましくは10−6Pa以上10−4Pa以下の雰囲気とすることが好ましい。
次に、図1(D)に示した材料層105aを有する第1の基板101を蒸着用基板として用いた成膜方法について、図2を用いて説明する。なお、ここでは、蒸着用基板を用いて発光素子のEL層を成膜する方法について説明する。
図2(A)において、第1の基板101は、光吸収層102、反射層104、および材料層105aが形成された面を被成膜基板である第2の基板201の被成膜面と対向させて配置する。
第2の基板201は、蒸着用基板を用いた蒸着処理により所望の層が成膜される被成膜基板である。なお、ここでは、蒸着用基板を用いて発光素子のEL層を形成する場合について説明するため、第2の基板201上には、発光素子の一方の電極となる第1の電極202が形成されている場合を示す。そして、第1の基板101と第2の基板201とを至近距離、具体的には第1の基板101上の材料層105aの表面と、第2の基板201の表面(具体的には、第1の電極202の表面)との距離dを、0μm以上10μm以下、好ましくは0μm以上5μm以下、さらに好ましくは0μm以上3μm以下となるように近づけて対向させる。
なお、距離dは、第1の基板101の最表面と、第2の基板201の最表面との距離で定義する。従って、図3(A)に示すように第2の基板201上に第1の電極202、および第1の電極202の端部を覆うように絶縁物203が形成されている場合、距離dは、第1の基板101上の材料層105aの表面と、第2の基板201上に形成された絶縁物203の表面との距離で定義する。ただし、第1の基板101上の材料層105aの表面や、第2の基板201上に形成された層の最表面が凹凸を有する場合における距離dは、第1の基板101上の材料層105aの表面と、第2の基板201上に形成された層の最表面との間の最も短い距離で定義することとする。
次に、図2(B)に示すように第1の基板101の裏面(光吸収層102、反射層104、および材料層105aが形成されていない面)側から第2の光204を照射する。第2の光204を照射すると、光吸収層102で生じた熱が反射層104に伝わり、反射層104と重なる位置に形成されている材料層105aが加熱され、第2の基板201上に形成された第1の電極202上に材料層105aの蒸着材料を蒸着させ、発光素子のEL層205を形成することができる。なお、図3の構成の場合も同様であり、図3(B)に示すように第2の基板201の第1の電極202上に発光素子のEL層206が形成される。
照射する第2の光204は、光強度:A(W/cm)と照射時間:B(s)において、下記一般式(3)、より好ましくは下記一般式(4)を満たす光である。なお、下記一般式(3)は、図14の領域b(1402)に示す範囲を満たす。
1/A 1.5≦B≦10/A 1.5 かつ B≧10−4(s) (3)
10/A 1.5≦B≦10/A 1.5 かつ B≧10−4(s) (4)
なお、一般式(3)の範囲にある第2の光を照射することにより、光吸収層102で発生した熱を反射層104に伝えて、反射層104と重なる位置にある材料層105aを第2の基板に蒸着させることができる。
第2の光204としては、大面積を一括して照射することが可能なランプ光を光源として用いることが好ましく、また、光の照射時間は長い方が好ましい。例えば、ハロゲンランプを用いた場合、7s程度照射することで、第1の基板101全体を500℃以上に加熱することができるので、材料層105の蒸着材料を昇華させることができる。
第2の光204の光源としてランプ光を用いる場合には、フラッシュランプ(キセノンフラッシュランプ、クリプトンフラッシュランプなど)、キセノンランプ、メタルハライドランプのような放電灯、ハロゲンランプ、タングステンランプのような発熱灯を用いることができる。フラッシュランプは短時間(0.1ミリ秒乃至10ミリ秒)で大面積への照射が可能である。また、発光させる時間の間隔を変えることによって第2の基板201への光の照射量の制御もできる。また、フラッシュランプは寿命が長く、発光待機時の消費電力が低いため、ランニングコストを低く抑えることができる。
また、光照射による蒸着は、減圧雰囲気下で行うことが好ましい。従って、成膜室内を5×10−3Pa以下、好ましくは10−6Pa以上10−4Pa以下の雰囲気とすることが好ましい。
なお、ここでは、光源からの光を吸収した光吸収層102が材料層105に熱を与える場合について説明したが、これに限られることはなく、光源から照射された光による輻射熱を利用してもよい。従って、光照射だけでなく、ヒーターなどの熱源を用いた直接的な加熱により、材料層105aの蒸着材料を昇華させてもよい。
また、図2(C)に示すように、第1の基板101と第2の基板201との距離dを0mmとしても良い。つまり、第1の基板101上の材料層105aと、第2の基板201上に形成された第1の電極202の表面が接するように対向させても良い。このように距離dを小さくすることで、成膜領域のずれを防止することができるので、被成膜面の成膜パターンのぼけを防ぐことができる。従って、第2の基板201上に発光素子のEL層207を精度良く形成することができる。なお、図3の場合には、第1の基板101と第2の基板201との距離dを0μmとすると、第1の基板101上の材料層105aの表面と、第2の基板201上に形成された絶縁物203の表面とが接するため、成膜領域のずれによる被成膜面の成膜パターンのぼけをより効果的に防ぐことができる。従って、図3(C)に示すように第2の基板201上の第1の電極202と接して発光素子のEL層208を精度良く形成することができる。
なお、本実施の形態では、第2の基板201が、第1の基板101の下方に位置する場合を図示したが、本発明はこれに限定されない。基板の設置する向きは適宜設定することができる。
上述した蒸着用基板を用いた成膜方法では、蒸着用基板上の材料層のパターン形成の際に、第1の光107としてレーザ光を照射することにより、短時間の光照射で、光吸収層における熱変換が効率よく行われるため、蒸着材料を部分的に昇華させて得られる材料層105aの形状の精度を高めることができる。
さらに、パターン形成された材料層を被成膜基板上に蒸着する際に、第2の光204としてランプ光等を光源とする光を照射することにより、大面積を一括して照射することが可能となるため、全面に成膜されている光吸収層102において、効率よく光を吸収させることができるので、被成膜基板上へ蒸着材料を蒸着する際の成膜効率を高めることができる。
また、蒸着用基板上の材料層は、第1の光を照射して部分的に蒸着材料を昇華させることにより所望の形状とした後、被成膜基板上へ蒸着することから、被成膜基板上に蒸着される層の形状の精度を高めることができる。
ここで、図14中に示すX点における条件で第1の光を照射することにより、照射された基板がどの様に温度変化するかシミュレーション計算を行った。なお、X点における条件は照射時間10μs、光強度1.2×10(W/cm)である。
図15にシミュレーション計算を行った基板の構造を示す。なお、図15における基板1501は、膜厚0.7mmのガラス基板とし、吸収層1502は、膜厚150nmのTi、反射層1503は、膜厚600nm、幅120μmのAl、材料層1504は、膜厚50nmの蒸着材料をそれぞれ用いた場合を示す。
図15の基板1501において、反射層1503の中心からの距離が異なるポイントごとの材料層1504表面の温度をシミュレーション計算より求めた。なお、図15中に示すA点は、反射層1503の中心からの距離が200μmであり、B点は、反射層1503の中心からの距離が60.1μmである。また、C点は、反射層1503の中心からの距離が60.0μmであり、D点は、反射層1503の中心からの距離が55.5μmである。
A点とB点における材料層1504は、反射層1503と重ならない位置にあるため、発熱する領域(以下、発熱領域とよぶ)となる。一方、C点とD点は、反射層1503と重なる、若しくは接しているため、発熱しない領域(以下、非発熱領域とよぶ)となる。なお、吸収層1502の吸収率を50%とし、発熱量は6×10(W/cm)とした。また、発熱量は、照射時間10μsの間一定量を与えた。
図16にシミュレーション計算の結果を示す。照射開始時間を0sとする。その結果、A点での最高温度は1063℃、B点では212℃、C点では168℃、D点では130℃となった。従って、発熱領域と非発熱領域の境目であるB点とC点との最高温度の温度差は44℃となった。この結果より、基板1501に照射する第1の光をX点における条件で照射する場合には、昇華温度が200℃程度の蒸着材料を用いることにより、発熱領域の蒸着材料のみを気化させ、十分に材料層1504をパターニングできることが分かった。
(実施の形態2)
本実施の形態2では、実施の形態1で示した蒸着用基板を用いた成膜方法において、蒸着用基板に第1の光の光源としてレーザ光を照射する場合に用いる装置について説明する。
図4はレーザ光を用いる装置の一例を示す斜視図である。射出されるレーザ光はレーザ発振装置403(YAGレーザ装置、エキシマレーザ装置など)から出力され、ビーム形状を矩形状とするための第1の光学系404と、整形するための第2の光学系405と、平行光線にするための第3の光学系406とを通過し、反射ミラー407で光路が第1の基板ステージ409上の蒸着用基板である第1の基板401に対して垂直となる方向に曲げられる。その後、第1の基板401にレーザビームを照射する。
なお、本実施の形態2に示す蒸着用基板の構成は、実施の形態1で説明したものと同様である。すなわち、第1の基板401には、反射層、光吸収層、および材料層が形成された構成を有する。なお、図4に破線で示す領域413には、反射層が形成されている。
また、第1の基板401に照射されるレーザスポットの形状は、矩形状または線状とすることが好ましい。また、大面積基板を用いる場合には、処理時間を短縮するため、レーザスポットの長辺を20cm〜100cmとすることが好ましい。また、図4に示すレーザ発振装置及び光学系を複数設置して大面積の基板を短時間に処理してもよい。具体的には、複数のレーザ発振装置からレーザビームをそれぞれ照射して基板1枚における処理面積を分担してもよい。
なお、図4は一例であり、レーザ光の光路に配置する各光学系や電気光学素子の位置関係は特に限定されない。例えば、レーザ発振装置403を第1の基板401の上方に配置し、レーザ発振装置403から射出するレーザ光が第1の基板401の主平面に垂直な方向となるように配置すれば、反射ミラー407を用いなくともよい。また、各光学系は、集光レンズ、ビームエキスパンダ、ホモジナイザ、または偏光子などを用いればよく、これらを組み合わせてもよい。また、各光学系としてスリットを組み合わせてもよい。
被照射面上でレーザビームの照射領域を2次元的に、適宜、走査させることによって、基板の広い面積に照射を行う。走査するために、レーザビームの照射領域と基板とを相対的に移動させる。ここでは、蒸着用基板である第1の基板401を保持している第1の基板ステージ409をXY方向に移動させる移動手段(図示しない)を制御装置416で制御して走査を行う。なお、制御装置416は、レーザ発振装置403も制御できるように連動させることが好ましい。また、制御装置416は、位置マーカーを認識するための撮像素子を有する位置アライメント機構408と連動させることが好ましい。
図4に示す装置を用いて材料層のパターン形成を行う場合には、少なくとも第1の基板401を真空チャンバー内に配置する。また、図4に示す構成を全て真空チャンバー内に設置してもよい。
図4に示す装置を用いることにより、蒸着用基板の材料層をパターン形成することができる。また、パターン形成の際、蒸着材料を回収して再利用することも可能であり、その場合には製造コストを低減させることができる。
なお、本実施の形態2に示す構成は、実施の形態1に示した構成を適宜組み合わせて用いることができる。
(実施の形態3)
本実施の形態3では、実施の形態1で示した蒸着用基板を用いた成膜方法において、パターン形成された材料層を有する蒸着用基板に第2の光の光源としてランプ光を照射する場合に用いる装置について説明する。
図5(A)において、成膜室501は、真空チャンバーであり、ゲート弁502によって他の処理室と連結され、さらに、排気機構503を備えている。また、成膜室501内には、蒸着用基板である第1の基板511(材料層513を含む)を保持する為の基板ステージ504と、被成膜基板である第2の基板512を保持する為の基板支持機構505と、光源510を少なくとも有している。
なお、基板ステージ504に保持されている第1の基板511は、実施の形態1や2で示す処理を他の処理室で行うことによって材料層がパターン形成されている。すなわち、他の処理室において、第1の基板511の材料層のパターン形成を行った後、これを成膜室501に搬送し、基板ステージ504にセットする。また、第1の基板511における材料層513の形成されている面と、被成膜基板である第2の基板512の被成膜面とが、対向するように、第2の基板512を基板支持機構505に固定する。
また、基板支持機構505を移動させて、第1の基板511と第2の基板512の基板間隔が距離dとなるように近づける。なお、距離dは、第1の基板511上に形成された材料層513の表面と、第2の基板512の表面との距離で定義する。また、第2の基板512上に何らかの層(例えば、電極として機能する導電層や隔壁として機能する絶縁物等)が形成されている場合、距離dは、第1の基板511上の材料層513の表面と、第2の基板512上に形成された層の表面との距離で定義する。ただし、第1の基板511上の材料層513の表面や、第2の基板512或いは第2の基板512上に形成された層の表面に凹凸を有する場合における距離dは、第1の基板511上の材料層513の表面と、第2の基板512或いは第2の基板512上に形成された層の最表面との間の最も短い距離で定義することとする。なお、距離dは、具体的には、0mm以上10μm以下とし、好ましくは0μm以上5μm以下、さらに好ましくは0μm以上3μm以下とする。
ここでは、距離dを2μmとする。また、第2の基板512が石英基板のように硬く、ほとんど変形(反り、撓みなど)しない材料であれば、距離dは0μmを下限として近づけることができる。また、図5(A)では基板間隔の制御は、基板ステージ504を固定し、基板支持機構505を移動させる例を示しているが、基板ステージ504を移動させ、基板支持機構505を固定する構成としてもよい。また、基板ステージ504と基板支持機構505の両方を移動させても良い。なお、図5(A)では、基板支持機構505を移動させて、第1の基板511と第2の基板512を近づけて距離dとした段階の断面を示している。
図5(A)では、基板ステージ504および基板支持機構505は、上下方向だけでなく、XY方向にも移動させる移動手段(図示せず)を備えており、制御装置506により制御して、精密な位置合わせを行う場合について示す。なお、制御装置506は、基板(この場合は、第2の基板512)上の位置マーカーを認識するための撮像素子を有する位置アライメント機構507と連動させることが好ましい。その他、成膜室501内を測定する温度センサや、湿度センサなどを設けてもよい。
そして、第1の基板511の材料層513が形成されていない面側から第2の光を照射する。これにより、短時間に第1の基板511上にパターン形成された材料層513が加熱され、材料層513に含まれる蒸着材料が昇華することで、対向して配置された第2の基板512の被成膜面(即ち、下平面)に蒸着材料が成膜される。図5(A)に示す成膜装置において、予め第1の基板511に材料層513が均一で所望の膜厚を有していれば、膜厚モニターを設置しなくとも、第2の基板512に均一で所望の膜厚となる成膜を行うことができる。また、従来の蒸着装置は、基板を回転させていたが、図5(A)に示す成膜装置は、被成膜基板を固定させた状態で成膜するため、割れやすい大面積のガラス基板への成膜に適している。また、図5(A)に示す成膜装置は、成膜中、蒸着用基板も固定させた状態で成膜する。
なお、均一な加熱が行われるように、光源510と蒸着用基板である第1の基板511は広い面積で対向することが好ましい。
また、待機時の光源からの第1の基板511上の材料層513への熱の影響を緩和するため、待機時(蒸着処理前)は光源510と第1の基板511との間に断熱化のための開閉式のシャッターを設けてもよい。
また、光源510に用いるランプ光としては、フラッシュランプ(キセノンフラッシュランプ、クリプトンフラッシュランプなど)、キセノンランプ、メタルハライドランプのような放電灯、ハロゲンランプ、タングステンランプのような発熱灯を用いることができる。フラッシュランプは短時間(0.1ミリ秒から10ミリ秒)で非常に強度の高い光を繰り返し、大面積に照射することができるため、第1の基板の面積にかかわらず、効率よく均一に加熱することができる。また、発光させる時間の間隔を変えることによって第1の基板511の加熱の制御もできる。また、フラッシュランプは寿命が長く、発光待機時の消費電力が低いため、ランニングコストを低く抑えることができる。また、フラッシュランプを用いることにより、急加熱が容易となり、ヒーターを用いた場合の上下機構やシャッター等を簡略化できる。従って、さらなる成膜装置の小型化を図ることができる。
なお、図5(A)では、光源510を成膜室501内に設置する例を示しているが、成膜室の内壁の一部を透光性部材として、成膜室の外側に光源510を配置させてもよい。成膜室501の外側に光源510を配置すると、光源510のライトバルブの交換などのメンテナンスを簡便なものとすることができる。
また、第2の基板512の温度を調節する機構を備えてもよい。温度を調節する機構として、冷却機構を備える場合には、例えば、基板支持機構505に熱媒体を流すチューブを設け、チューブに熱媒体として冷媒を流すことにより、基板支持機構505をコールドプレートとすることができる。この様に冷却機構を備えることは、異なる材料層を積層する場合に有用である。一方、加熱機構を備える場合には、基板支持機構505にヒーターなどの加熱手段を設ければよい。以上のように第2の基板512の温度を調節する機構(加熱または冷却)を設けることで、基板の反りなどを抑えることもできる。
また、図5(A)で示した光源510の代わりに加熱手段を備える場合には、図5(B)に示すように成膜室501内にヒーター520などを設ければよい。そして、第1の基板511の材料層513が形成されていない面側から加熱する。これにより、第1の基板511上にパターン形成された材料層513が加熱され、材料層513に含まれる蒸着材料が昇華することで、対向して配置された第2の基板512の被成膜面(即ち、下平面)に蒸着材料が成膜される。
なお、図5(A)(B)には、第2の基板512の成膜面が下方となるフェイスダウン方式の成膜装置の例を示したが、第2の基板512の成膜面が上方となるフェイスアップ方式の成膜装置を適用することもできる。さらに、図5(A)(B)では、基板横置き方式の成膜装置の例を示したが、基板縦置き方式の成膜装置を適用することもできる。
このような成膜装置を用いることにより、蒸着用基板上の材料層を被成膜基板上に蒸着させることができる。なお、蒸着用基板上の材料層は、予めパターン形成されていることから、被成膜基板上に精度良く蒸着材料を蒸着させることができる。
なお、光源として、ランプ光を用いることにより大面積を一括して成膜することが可能となるため、タクトタイムの短縮が可能であり、発光装置の製造コストをより低減させることができる。
なお、本実施の形態3に示す構成は、実施の形態1や実施の形態2に示した構成を適宜組み合わせて用いることができる。
(実施の形態4)
本実施の形態4では、実施の形態1で示した蒸着用基板を複数用いて、発光素子のEL層を形成することにより、フルカラー表示が可能な発光装置の作製方法について説明する。
実施の形態1では、1回の成膜工程で、被成膜基板である第2の基板上に全て同一の材料からなるEL層を形成する場合について示したが、本実施の形態4では、第2の基板上の異なる場所に3種類の発光の異なるEL層をそれぞれ形成する場合について説明する。
まず、実施の形態1において図1(D)に示した蒸着用基板である第1の基板を3枚用意する。ただし、それぞれの基板には、発光の異なるEL層を形成するための蒸着材料を含む材料層が形成されている。具体的には、赤色発光を示すEL層(EL層(R))を形成するための材料層(R)を有する第1の基板(R)と、緑色発光を示すEL層(EL層(G))を形成するための材料層(G)を有する第1の基板(G)と、青色発光を示すEL層(EL層(B))を形成するための材料層(B)を有する第1の基板(B)とを用意する。
また、実施の形態1において図2(A)に示した被成膜基板である第2の基板を1枚用意する。なお、第2の基板上には、複数の第1の電極202が形成されている。
まず、1回目の成膜工程として、図2(A)と同様に第2の基板と第1の基板(R)とを重ね、位置合わせをする。なお、第2の基板には、位置合わせ用のマーカーを設けることが好ましい。また、第1の基板(R)にも位置合わせ用のマーカを設けることが好ましい。なお、第1の基板(R)には、光吸収層が設けられているため、位置合わせのマーカ周辺の光吸収層は予め除去しておくことが好ましい。また、第1の基板(R)上の材料層(R)は、反射層(R)601と重なる位置にのみパターン形成されている。
そして、第1の基板(R)の裏面(図2(A)に示す光吸収層102、反射層104、および材料層105aが形成されていない面)側から光を照射する。光吸収層102が、照射された光を吸収し、面方向に伝わる熱を材料層(R)に与えることで、材料層(R)に含まれる蒸着材料を昇華させ、第2の基板201上の第1の電極上にEL層(R)を形成する。そして、1回目の成膜を終えたら、第1の基板(R)は、第2の基板201と離れた場所へ移動させる。
次いで、2回目の成膜工程として、第2の基板201と第1の基板(G)とを重ね、位置合わせをする。なお、第1の基板(G)に形成された材料層(G)は、1回目の成膜時に使用した第1の基板(R)上に形成された材料層(R)よりも1画素分ずらした位置に形成されている。
そして、第1の基板(G)の裏面(図2(A)に示す光吸収層102、反射層104、および材料層105aが形成されていない面)側から光を照射する。光吸収層102が、照射された光を吸収し、面方向に伝わる熱を材料層(G)に与えることで、材料層(G)に含まれる蒸着材料を昇華させ、第2の基板201上であって、1回目の成膜でEL層(R)が形成された第1の電極のとなりの第1の電極上にEL層(G)が形成される。そして、2回目の成膜を終えたら、第1の基板(G)は、第2の基板201と離れた場所へ移動させる。
次いで、3回目の成膜工程として、第2の基板201と第1の基板(B)とを重ね、位置合わせをする。なお、第1の基板(B)に形成された材料層(B)は、1回目の成膜時に使用した第1の基板(R)上に形成された材料層(R)よりも2画素分ずらした位置に形成されている。
そして、第1の基板(B)の裏面(図2(A)に示す光吸収層102、反射層104、および材料層105aが形成されていない面)側から光を照射する。この3回目の成膜を行う直前の様子が図6(A)の上面図に相当する。図6(A)において、反射層(B)604と重なる位置に材料層(B)が形成されており、光吸収層102が、照射された光を吸収し、面方向に伝わる熱を材料層(B)に伝えることで、材料層(B)に含まれる蒸着材料を昇華させ、第2の基板201上であって、2回目の成膜でEL層(G)が形成された第1の電極のとなりの第1の電極上にEL層(B)が形成される。3回目の成膜を終えたら、第1の基板(B)は、第2の基板201と離れた場所へ移動させる。
こうしてEL層(R)611、EL層(G)612、EL層(B)613を一定の間隔をあけて同一の第2の基板上に形成することができる。そして、これらの膜上に第2の電極を形成することによって、発光素子を形成することができる。
以上の工程で、同一基板上に異なる発光を示す発光素子を形成することにより、フルカラー表示が可能な発光装置を形成することができる。
図6では、蒸着用基板である第1の基板上に形成された(反射層(R)601、反射層(G)603、反射層(B)604)の形状を矩形とした例を示したが、特に限定されず、同じ発光色となる発光領域が隣り合う場合に、これらを連続的に(いわゆるライン状に)形成しても良い。なお、ライン状に反射層を形成する場合、同じ発光色となる発光領域の間にも成膜が行われるため、発光領域を形成する第1の電極同士の間に絶縁物等を形成しておくことが好ましい。
また、画素の配列も特に限定されず、図7(A)に示すように、1つの画素形状を多角形、例えば六角形としてもよく、EL層(R)711、EL層(G)712、EL層(B)713を配置してフルカラーの発光装置を実現させることもできる。なお、図7(A)に示す多角形の画素を形成するために、図7(B)に示す多角形の反射層701と重なる位置にパターン形成された材料層(R)を有する第1の基板を用いて成膜すればよい。
また、本実施の形態5に示すフルカラー表示が可能な発光装置の作製において、本発明の蒸着用基板を用いた成膜方法を用いることにより、精度の高い微細なパターン形成が可能となるため、高精細な発光装置を得ることができるだけでなく、その特性の向上を図ることができる。また、材料層をパターン形成する際に不要となる蒸着材料を回収して再利用することが可能であるため、発光装置の製造コストを低減させることができる。
なお、本実施の形態4に示す構成は、実施の形態1〜実施の形態3に示した構成を適宜組み合わせて用いることができる。
(実施の形態5)
本実施の形態では、本発明を適用して、発光素子および発光装置を作製する方法について説明する。
例えば、図8(A)、(B)に示す発光素子を作製することができる。図8(A)に示す発光素子は、基板801上に第1の電極802、発光層813のみで形成されたEL層803、第2の電極804が順に積層して設けられている。第1の電極802及び第2の電極804のいずれか一方は陽極として機能し、他方は陰極として機能する。陽極から注入される正孔及び陰極から注入される電子がEL層803で再結合して、発光を得ることができる。本実施の形態において、第1の電極802は陽極として機能する電極であり、第2の電極804は陰極として機能する電極であるとする。
また、図8(B)に示す発光素子は、図8(A)のEL層803が複数の層が積層された構造である場合を示しており、具体的には、第1の電極802側から正孔注入層811、正孔輸送層812、発光層813、電子輸送層814、および電子注入層815が順次設けられている。なお、EL層803は、図8(A)に示すように少なくとも発光層813を有していれば機能するため、これらの層を全て設ける必要はなく、必要に応じて適宜選択して設ければよい。
図8に示す基板801には、絶縁表面を有する基板または絶縁基板を適用する。具体的には、アルミノシリケートガラス、アルミノホウケイ酸ガラス、バリウムホウケイ酸ガラスのような電子工業用に使われる各種ガラス基板、石英基板、セラミック基板又はサファイヤ基板等を用いることができる。
また、第1の電極802および第2の電極804は、様々な金属、合金、電気伝導性化合物、およびこれらの混合物などを用いることができる。具体的には、例えば、酸化インジウム−酸化スズ(ITO:Indium Tin Oxide)、珪素若しくは酸化珪素を含有した酸化インジウム−酸化スズ、酸化インジウム−酸化亜鉛(IZO:Indium Zinc Oxide)、酸化タングステン及び酸化亜鉛を含有した酸化インジウム等が挙げられる。この他、金(Au)、白金(Pt)、ニッケル(Ni)、タングステン(W)、クロム(Cr)、モリブデン(Mo)、鉄(Fe)、コバルト(Co)、銅(Cu)、パラジウム(Pd)、または金属材料の窒化物(例えば、窒化チタン)等が挙げられる。
これらの材料は、通常スパッタリング法により成膜される。例えば、酸化インジウム−酸化亜鉛は、酸化インジウムに対し1〜20wt%の酸化亜鉛を加えたターゲットを用いてスパッタリング法により形成することができる。また、酸化タングステン及び酸化亜鉛を含有した酸化インジウムは、酸化インジウムに対し酸化タングステンを0.5〜5wt%、酸化亜鉛を0.1〜1wt%含有したターゲットを用いてスパッタリング法により形成することができる。その他、ゾル−ゲル法などを応用して、インクジェット法、スピンコート法などにより作製してもよい。
また、アルミニウム(Al)、銀(Ag)、アルミニウムを含む合金等を用いることができる。その他、仕事関数の小さい材料である、元素周期表の第1族または第2族に属する元素、すなわちリチウム(Li)やセシウム(Cs)等のアルカリ金属、およびマグネシウム(Mg)、カルシウム(Ca)、ストロンチウム(Sr)等のアルカリ土類金属、およびこれらを含む合金(アルミニウム、マグネシウムと銀との合金、アルミニウムとリチウムの合金)、ユーロピウム(Eu)、イッテルビウム(Yb)等の希土類金属およびこれらを含む合金等を用いることもできる。
アルカリ金属、アルカリ土類金属、これらを含む合金の膜は、真空蒸着法を用いて形成することができる。また、アルカリ金属またはアルカリ土類金属を含む合金はスパッタリング法により形成することも可能である。また、銀ペーストなどをインクジェット法などにより成膜することも可能である。また、第1の電極802および第2の電極804は、単層膜に限らず、積層膜で形成することもできる。
なお、EL層803で発光する光を外部に取り出すため、第1の電極802または第2の電極804のいずれか一方、または両方が光を通過するように形成する。例えば、インジウム錫酸化物等の透光性を有する導電材料を用いて形成するか、或いは、銀、アルミニウム等を数nm乃至数十nmの厚さとなるように形成する。また、膜厚を薄くした銀、アルミニウムなどの金属薄膜と、ITO膜等の透光性を有する導電材料を用いた薄膜との積層構造とすることもできる。
なお、本実施の形態で示す発光素子のEL層803(正孔注入層811、正孔輸送層812、発光層813、電子輸送層814又は電子注入層815)は、実施の形態1から実施の形態4で示した方法を適用して形成することができる。
例えば、図8(A)に示す発光素子を形成する場合、実施の形態1で示した蒸着用基板の材料層をEL層803に用いる材料で形成し、この蒸着用基板を用いて基板801上の第1の電極802上にEL層803を形成する。そして、EL層803上に第2の電極804を形成することにより、図8(A)に示す発光素子を得ることができる。
発光層813としては種々の材料を用いることができる。例えば、蛍光を発光する蛍光性化合物や燐光を発光する燐光性化合物を用いることができる。
発光層813に用いることのできる燐光性化合物としては、例えば、青色系の発光材料として、ビス[2−(4’,6’−ジフルオロフェニル)ピリジナト−N,C2’]イリジウム(III)テトラキス(1−ピラゾリル)ボラート(略称:FIr6)、ビス[2−(4’,6’−ジフルオロフェニル)ピリジナト−N,C2’]イリジウム(III)ピコリナート(略称:FIrpic)、ビス[2−(3’,5’ビストリフルオロメチルフェニル)ピリジナト−N,C2’]イリジウム(III)ピコリナート(略称:Ir(CFppy)(pic))、ビス[2−(4’,6’−ジフルオロフェニル)ピリジナト−N,C2’]イリジウム(III)アセチルアセトナート(略称:FIracac)などが挙げられる。また、緑色系の発光材料として、トリス(2−フェニルピリジナト−N,C2’)イリジウム(III)(略称:Ir(ppy))、ビス(2−フェニルピリジナト−N,C2’)イリジウム(III)アセチルアセトナート(略称:Ir(ppy)(acac))、ビス(1,2−ジフェニル−1H−ベンゾイミダゾラト)イリジウム(III)アセチルアセトナート(略称:Ir(pbi)(acac))、ビス(ベンゾ[h]キノリナト)イリジウム(III)アセチルアセトナート(略称:Ir(bzq)(acac))などが挙げられる。また、黄色系の発光材料として、ビス(2,4−ジフェニル−1,3−オキサゾラト−N,C2’)イリジウム(III)アセチルアセトナート(略称:Ir(dpo)(acac))、ビス[2−(4’−パーフルオロフェニルフェニル)ピリジナト]イリジウム(III)アセチルアセトナート(略称:Ir(p−PF−ph)(acac))、ビス(2−フェニルベンゾチアゾラト−N,C2’)イリジウム(III)アセチルアセトナート(略称:Ir(bt)(acac))などが挙げられる。また、橙色系の発光材料として、トリス(2−フェニルキノリナト−N,C2’)イリジウム(III)(略称:Ir(pq))、ビス(2−フェニルキノリナト−N,C2’)イリジウム(III)アセチルアセトナート(略称:Ir(pq)(acac))などが挙げられる。また、赤色系の発光材料として、ビス[2−(2’−ベンゾ[4,5−α]チエニル)ピリジナト−N,C3’]イリジウム(III)アセチルアセトナート(略称:Ir(btp)(acac))、ビス(1−フェニルイソキノリナト−N,C2’)イリジウム(III)アセチルアセトナート(略称:Ir(piq)(acac))、(アセチルアセトナト)ビス[2,3−ビス(4−フルオロフェニル)キノキサリナト]イリジウム(III)(略称:Ir(Fdpq)(acac))、2,3,7,8,12,13,17,18−オクタエチル−21H,23H−ポルフィリン白金(II)(略称:PtOEP)等の有機金属錯体が挙げられる。また、トリス(アセチルアセトナト)(モノフェナントロリン)テルビウム(III)(略称:Tb(acac)(Phen))、トリス(1,3−ジフェニル−1,3−プロパンジオナト)(モノフェナントロリン)ユーロピウム(III)(略称:Eu(DBM)(Phen))、トリス[1−(2−テノイル)−3,3,3−トリフルオロアセトナト](モノフェナントロリン)ユーロピウム(III)(略称:Eu(TTA)(Phen))等の希土類金属錯体は、希土類金属イオンからの発光(異なる多重度間の電子遷移)であるため、燐光性化合物として用いることができる。
発光層813に用いることのできる蛍光性化合物としては、例えば、青色系の発光材料として、N,N’−ビス[4−(9H−カルバゾール−9−イル)フェニル]−N,N’−ジフェニルスチルベン−4,4’−ジアミン(略称:YGA2S)、4−(9H−カルバゾール−9−イル)−4’−(10−フェニル−9−アントリル)トリフェニルアミン(略称:YGAPA)などが挙げられる。また、緑色系の発光材料として、N−(9,10−ジフェニル−2−アントリル)−N,9−ジフェニル−9H−カルバゾール−3−アミン(略称:2PCAPA)、N−[9,10−ビス(1,1’−ビフェニル−2−イル)−2−アントリル]−N,9−ジフェニル−9H−カルバゾール−3−アミン(略称:2PCABPhA)、N−(9,10−ジフェニル−2−アントリル)−N,N’,N’−トリフェニル−1,4−フェニレンジアミン(略称:2DPAPA)、N−[9,10−ビス(1,1’−ビフェニル−2−イル)−2−アントリル]−N,N’,N’−トリフェニル−1,4−フェニレンジアミン(略称:2DPABPhA)、9,10−ビス(1,1’−ビフェニル−2−イル)−N−[4−(9H−カルバゾール−9−イル)フェニル]−N−フェニルアントラセン−2−アミン(略称:2YGABPhA)、N,N,9−トリフェニルアントラセン−9−アミン(略称:DPhAPhA)などが挙げられる。また、黄色系の発光材料として、ルブレン、5,12−ビス(1,1’−ビフェニル−4−イル)−6,11−ジフェニルテトラセン(略称:BPT)などが挙げられる。また、赤色系の発光材料として、N,N,N’,N’−テトラキス(4−メチルフェニル)テトラセン−5,11−ジアミン(略称:p−mPhTD)、7,13−ジフェニル−N,N,N’,N’−テトラキス(4−メチルフェニル)アセナフト[1,2−a]フルオランテン−3,10−ジアミン(略称:p−mPhAFD)などが挙げられる。
また、発光層813として、発光性の高い物質(ドーパント材料)を他の物質(ホスト材料)に分散させた構成を用いることもできる。発光性の高い物質(ドーパント材料)を他の物質(ホスト材料)に分散させた構成を用いることにより、発光層の結晶化を抑制することができる。また、発光性の高い物質の濃度が高いことによる濃度消光を抑制することができる。
発光性の高い物質を分散させる物質としては、発光性の高い物質が蛍光性化合物の場合には、蛍光性化合物よりも一重項励起エネルギー(基底状態と一重項励起状態とのエネルギー差)が大きい物質を用いることが好ましい。また、発光性の高い物質が燐光性化合物の場合には、燐光性化合物よりも三重項励起エネルギー(基底状態と三重項励起状態とのエネルギー差)が大きい物質を用いることが好ましい。
発光層813に用いるホスト材料としては、例えば4,4’−ビス[N−(1−ナフチル)−N−フェニルアミノ]ビフェニル(略称:NPB)、トリス(8−キノリノラト)アルミニウム(III)(略称:Alq)、4,4’−ビス[N−(9,9−ジメチルフルオレン−2−イル)−N−フェニルアミノ]ビフェニル(略称:DFLDPBi)、ビス(2−メチル−8−キノリノラト)(4−フェニルフェノラト)アルミニウム(III)(略称:BAlq)などの他、4,4’−ジ(9−カルバゾリル)ビフェニル(略称:CBP)、2−tert−ブチル−9,10−ジ(2−ナフチル)アントラセン(略称:t−BuDNA)、9−[4−(9−カルバゾリル)フェニル]−10−フェニルアントラセン(略称:CzPA)などが挙げられる。
また、ドーパント材料としては、上述した燐光性化合物や蛍光性化合物を用いることができる。
発光層813として、発光性の高い物質(ドーパント材料)を他の物質(ホスト材料)に分散させた構成を用いる場合には、蒸着用基板上の材料層として、ホスト材料とゲスト材料とを混合した層を形成すればよい。または、蒸着用基板上の材料層として、ホスト材料を含む層とドーパント材料を含む層とが積層した構成としてもよい。このような構成の材料層を有する蒸着用基板を用いて発光層813を形成することにより、発光層813は発光材料を分散させる物質(ホスト材料)と発光性の高い物質(ドーパント材料)とを含み、発光材料を分散させる物質(ホスト材料)に発光性の高い物質(ドーパント材料)が分散された構成となる。なお、発光層813として、2種類以上のホスト材料とドーパント材料を用いてもよいし、2種類以上のドーパント材料とホスト材料を用いてもよい。また、2種類以上のホスト材料及び2種類以上のドーパント材料を用いてもよい。
また、図8(B)に示す発光素子を形成する場合には、EL層803(正孔注入層811、正孔輸送層812、電子輸送層814、および電子注入層815)のそれぞれの層を形成する材料で形成された材料層を有する実施の形態1で示した蒸着用基板を各層毎に用意し、各層の成膜毎に異なる蒸着用基板を用いて、実施の形態1で示した方法により、基板801上の第1の電極802上にEL層803を形成する。そして、EL層803上に第2の電極804を形成することにより、図8(B)に示す発光素子を得ることができる。なお、この場合には、EL層803の全ての層に実施の形態1で示した方法を用いることもできるが、一部の層のみに実施の形態1で示した方法を用いても良い。
例えば、正孔注入層811としては、モリブデン酸化物やバナジウム酸化物、ルテニウム酸化物、タングステン酸化物、マンガン酸化物等を用いることができる。この他、フタロシアニン(略称:HPc)や銅フタロシアニン(略称:CuPc)等のフタロシアニン系の化合物、或いはポリ(3,4−エチレンジオキシチオフェン)/ポリ(スチレンスルホン酸)(PEDOT/PSS)等の高分子等によっても正孔注入層を形成することができる。
また、正孔注入層811として、正孔輸送性の高い物質と電子受容性を示す物質を含む層を用いることができる。正孔輸送性の高い物質と電子受容性を示す物質とを含む層は、キャリア密度が高く、正孔注入性に優れている。また、正孔輸送性の高い物質と電子受容性を示す物質とを含む層を、陽極として機能する電極に接する正孔注入層として用いることにより、陽極として機能する電極材料の仕事関数の大小に関わらず、様々な金属、合金、電気伝導性化合物、およびこれらの混合物などを用いることができる。
正孔輸送性の高い物質と電子受容性を示す物質を含む層は、例えば、正孔輸送性の高い物質を含む層と電子受容性を示す物質を含む層とが積層された材料層を有する蒸着用基板を用いることにより形成することができる。
正孔注入層811に用いる電子受容性を示す物質としては、7,7,8,8−テトラシアノ−2,3,5,6−テトラフルオロキノジメタン(略称:F4−TCNQ)、クロラニル等を挙げることができる。また、遷移金属酸化物を挙げることができる。また元素周期表における第4族から第8族に属する金属の酸化物を挙げることができる。具体的には、酸化バナジウム、酸化ニオブ、酸化タンタル、酸化クロム、酸化モリブデン、酸化タングステン、酸化マンガン、酸化レニウムは電子受容性が高いため好ましい。中でも特に、酸化モリブデンは大気中でも安定であり、吸湿性が低く、扱いやすいため好ましい。
正孔注入層811に用いる正孔輸送性の高い物質としては、芳香族アミン化合物、カルバゾール誘導体、芳香族炭化水素、高分子化合物(オリゴマー、デンドリマー、ポリマー等)など、種々の化合物を用いることができる。なお、正孔注入層に用いる正孔輸送性の高い物質としては、10−6cm/Vs以上の正孔移動度を有する物質であることが好ましい。但し、電子よりも正孔の輸送性の高い物質であれば、これら以外のものを用いてもよい。以下では、正孔注入層811に用いることのできる正孔の輸送性の高い物質を具体的に列挙する。
例えば、正孔注入層811に用いることのできる芳香族アミン化合物としては、例えば、4,4’−ビス[N−(1−ナフチル)−N−フェニルアミノ]ビフェニル(略称:NPB)やN,N’−ビス(3−メチルフェニル)−N,N’−ジフェニル−[1,1’−ビフェニル]−4,4’−ジアミン(略称:TPD)、4,4’,4’’−トリス(N,N−ジフェニルアミノ)トリフェニルアミン(略称:TDATA)、4,4’,4’’−トリス[N−(3−メチルフェニル)−N−フェニルアミノ]トリフェニルアミン(略称:MTDATA)、4,4’−ビス[N−(スピロ−9,9’−ビフルオレン−2−イル)−N―フェニルアミノ]ビフェニル(略称:BSPB)等を用いることができる。また、N,N’−ビス(4−メチルフェニル)(p−トリル)−N,N’−ジフェニル−p−フェニレンジアミン(略称:DTDPPA)、4,4’−ビス[N−(4−ジフェニルアミノフェニル)−N−フェニルアミノ]ビフェニル(略称:DPAB)、4,4’−ビス(N−{4−[N’−(3−メチルフェニル)−N’−フェニルアミノ]フェニル}−N−フェニルアミノ)ビフェニル(略称:DNTPD)、1,3,5−トリス[N−(4−ジフェニルアミノフェニル)−N−フェニルアミノ]ベンゼン(略称:DPA3B)等を挙げることができる。
正孔注入層811に用いることのできるカルバゾール誘導体としては、具体的には、3−[N−(9−フェニルカルバゾール−3−イル)−N−フェニルアミノ]−9−フェニルカルバゾール(略称:PCzPCA1)、3,6−ビス[N−(9−フェニルカルバゾール−3−イル)−N−フェニルアミノ]−9−フェニルカルバゾール(略称:PCzPCA2)、3−[N−(1−ナフチル)−N−(9−フェニルカルバゾール−3−イル)アミノ]−9−フェニルカルバゾール(略称:PCzPCN1)等を挙げることができる。
また、正孔注入層811に用いることのできるカルバゾール誘導体としては、4,4’−ジ(N−カルバゾリル)ビフェニル(略称:CBP)、1,3,5−トリス[4−(N−カルバゾリル)フェニル]ベンゼン(略称:TCPB)、9−[4−(10−フェニル−9−アントリル)フェニル]−9H−カルバゾール(略称:CzPA)、1,4−ビス[4−(N−カルバゾリル)フェニル]−2,3,5,6−テトラフェニルベンゼン等を用いることができる。
また、正孔注入層811に用いることのできる芳香族炭化水素としては、例えば、2−tert−ブチル−9,10−ジ(2−ナフチル)アントラセン(略称:t−BuDNA)、2−tert−ブチル−9,10−ジ(1−ナフチル)アントラセン、9,10−ビス(3,5−ジフェニルフェニル)アントラセン(略称:DPPA)、2−tert−ブチル−9,10−ビス(4−フェニルフェニル)アントラセン(略称:t−BuDBA)、9,10−ジ(2−ナフチル)アントラセン(略称:DNA)、9,10−ジフェニルアントラセン(略称:DPAnth)、2−tert−ブチルアントラセン(略称:t−BuAnth)、9,10−ビス(4−メチル−1−ナフチル)アントラセン(略称:DMNA)、9,10−ビス[2−(1−ナフチル)フェニル]−2−tert−ブチル−アントラセン、9,10−ビス[2−(1−ナフチル)フェニル]アントラセン、2,3,6,7−テトラメチル−9,10−ジ(1−ナフチル)アントラセン、2,3,6,7−テトラメチル−9,10−ジ(2−ナフチル)アントラセン、9,9’−ビアントリル、10,10’−ジフェニル−9,9’−ビアントリル、10,10’−ビス(2−フェニルフェニル)−9,9’−ビアントリル、10,10’−ビス[(2,3,4,5,6−ペンタフェニル)フェニル]−9,9’−ビアントリル、アントラセン、テトラセン、ルブレン、ペリレン、2,5,8,11−テトラ(tert−ブチル)ペリレン等が挙げられる。また、この他、ペンタセン、コロネン等も用いることができる。このように、1×10−6cm/Vs以上の正孔移動度を有し、炭素数14〜42である芳香族炭化水素を用いることがより好ましい。
なお、正孔注入層811に用いることのできる芳香族炭化水素は、ビニル骨格を有していてもよい。ビニル基を有している芳香族炭化水素としては、例えば、4,4’−ビス(2,2−ジフェニルビニル)ビフェニル(略称:DPVBi)、9,10−ビス[4−(2,2−ジフェニルビニル)フェニル]アントラセン(略称:DPVPA)等が挙げられる。
これら正孔輸送性の高い物質を含む層と、電子受容性を示す物質を含む層とが積層された材料層を有する蒸着用基板を用いることで、正孔注入層811を形成することができる。電子受容性を示す物質として金属酸化物を用いた場合には、基板801上に正孔輸送性の高い物質を含む層を形成した後、金属酸化物を含む層を形成することが好ましい。金属酸化物は、正孔輸送性の高い物質よりも分解温度または蒸着温度が高い場合が多いためである。このような構成の蒸着源とすることにより、正孔輸送性の高い物質と金属酸化物とを効率良く昇華させることができる。また、蒸着して形成した膜において局所的な濃度の偏りを抑制することができる。また、正孔輸送性の高い物質と金属酸化物の両方を溶解させるまたは分散させる溶媒は種類が少なく、混合溶液を形成しにくい。よって、湿式法を用いて混合層を直接形成することは困難である。しかし、本発明の成膜方法を用いることにより、正孔輸送性の高い物質と金属酸化物とを含む混合層を容易に形成することができる。
また、正孔輸送性の高い物質と電子受容性を示す物質とを含む層は、正孔注入性だけでなく、正孔輸送性も優れているため、上述した正孔注入層811を正孔輸送層として用いてもよい。
また、正孔輸送層812は、正孔輸送性の高い物質を含む層であり、正孔輸送性の高い物質としては、例えば、4,4’−ビス[N−(1−ナフチル)−N−フェニルアミノ]ビフェニル(略称:NPBまたはα−NPD)やN,N’−ビス(3−メチルフェニル)−N,N’−ジフェニル−[1,1’−ビフェニル]−4,4’−ジアミン(略称:TPD)、4,4’,4’’−トリス(N,N−ジフェニルアミノ)トリフェニルアミン(略称:TDATA)、4,4’,4’’−トリス[N−(3−メチルフェニル)−N−フェニルアミノ]トリフェニルアミン(略称:MTDATA)、4,4’−ビス[N−(スピロ−9,9’−ビフルオレン−2−イル)−N―フェニルアミノ]ビフェニル(略称:BSPB)などの芳香族アミン化合物等を用いることができる。ここに述べた物質は、主に10−6cm/Vs以上の正孔移動度を有する物質である。但し、電子よりも正孔の輸送性の高い物質であれば、これら以外のものを用いてもよい。なお、正孔輸送性の高い物質を含む層は、単層のものだけでなく、上記物質からなる層が二層以上積層したものとしてもよい。
電子輸送層814は、電子輸送性の高い物質を含む層であり、例えば、トリス(8−キノリノラト)アルミニウム(略称:Alq)、トリス(4−メチル−8−キノリノラト)アルミニウム(略称:Almq)、ビス(10−ヒドロキシベンゾ[h]キノリナト)ベリリウム(略称:BeBq)、ビス(2−メチル−8−キノリノラト)(4−フェニルフェノラト)アルミニウム(略称:BAlq)など、キノリン骨格またはベンゾキノリン骨格を有する金属錯体等を用いることができる。また、この他ビス[2−(2−ヒドロキシフェニル)ベンズオキサゾラト]亜鉛(略称:Zn(BOX))、ビス[2−(2−ヒドロキシフェニル)ベンゾチアゾラト]亜鉛(略称:Zn(BTZ))などのオキサゾール系、チアゾール系配位子を有する金属錯体なども用いることができる。さらに、金属錯体以外にも、2−(4−ビフェニリル)−5−(4−tert−ブチルフェニル)−1,3,4−オキサジアゾール(略称:PBD)や、1,3−ビス[5−(p−tert−ブチルフェニル)−1,3,4−オキサジアゾール−2−イル]ベンゼン(略称:OXD−7)、3−(4−ビフェニリル)−4−フェニル−5−(4−tert−ブチルフェニル)−1,2,4−トリアゾール(略称:TAZ01)バソフェナントロリン(略称:BPhen)、バソキュプロイン(略称:BCP)なども用いることができる。ここに述べた物質は、主に10−6cm/Vs以上の電子移動度を有する物質である。なお、正孔よりも電子の輸送性の高い物質であれば、上記以外の物質を電子輸送層として用いても構わない。また、電子輸送層は、単層のものだけでなく、上記物質からなる層が二層以上積層したものとしてもよい。
また、電子注入層815としては、フッ化リチウム(LiF)、フッ化セシウム(CsF)、フッ化カルシウム(CaF)等のようなアルカリ金属化合物、又はアルカリ土類金属化合物を用いることができる。さらに、電子輸送性を有する物質とアルカリ金属又はアルカリ土類金属が組み合わされた層も使用できる。例えばAlq中にマグネシウム(Mg)を含有させたものを用いることができる。なお、電子注入層として、電子輸送性を有する物質とアルカリ金属又はアルカリ土類金属を組み合わせた層を用いることは、第2の電極804からの電子注入が効率良く起こるためより好ましい。
なお、EL層803は、層の積層構造については特に限定されず、電子輸送性の高い物質または正孔輸送性の高い物質、電子注入性の高い物質、正孔注入性の高い物質、バイポーラ性(電子及び正孔の輸送性の高い物質)の物質等を含む層と、発光層とを適宜組み合わせて構成すればよい。
EL層803で得られた発光は、第1の電極802または第2の電極804のいずれか一方または両方を通って外部に取り出される。従って、第1の電極802または第2の電極804のいずれか一方または両方は、透光性を有する電極である。第1の電極802のみが透光性を有する電極である場合、光は第1の電極802を通って基板801側から取り出される。また、第2の電極804のみが透光性を有する電極である場合、光は第2の電極804を通って基板801と逆側から取り出される。第1の電極802および第2の電極804がいずれも透光性を有する電極である場合、光は第1の電極802および第2の電極804を通って、基板801側および基板801と逆側の両方から取り出される。
なお、図8では、陽極として機能する第1の電極802を基板801側に設けた構成について示したが、陰極として機能する第2の電極804を基板801側に設けてもよい。
また、EL層803の形成方法としては、実施の形態1〜実施の形態4で示した成膜方法を用いればよく、他の成膜方法と組み合わせてもよい。また、各電極または各層ごとに異なる成膜方法を用いて形成しても構わない。乾式法としては、真空蒸着法、電子ビーム蒸着法、スパッタリング法などが挙げられる。また、湿式法としては、インクジェット法またはスピンコート法などが挙げられる。
本実施の形態5に係る発光素子は、本発明の蒸着用基板を適用したEL層の形成が可能であり、それにより、高精度な膜が効率よく形成される為、発光素子の特性向上のみならず、歩留まり向上やコストダウンを図ることができる。
(実施の形態6)
本実施の形態6では、実施の形態5で説明した発光素子を用いて形成される発光装置について説明する。
まず、パッシブマトリクス型の発光装置について、図9、図10を用いて説明することとする。
パッシブマトリクス型(単純マトリクス型ともいう)の発光装置は、ストライプ状(帯状)に並列された複数の陽極と、ストライプ状に並列された複数の陰極とが互いに直交するように設けられており、その交差部に発光層が挟まれた構造となっている。従って、選択された(電圧が印加された)陽極と選択された陰極との交点にあたる画素が点灯することになる。
図9(A)は、封止前における画素部の上面図を示す図であり、図9(A)中の鎖線A−A’で切断した断面図が図9(B)であり、鎖線B−B’で切断した断面図が図9(C)である。
基板901上には、下地絶縁層として絶縁層904を形成する。なお、下地絶縁層が必要でなければ特に形成しなくともよい。絶縁層904上には、ストライプ状に複数の第1の電極913が等間隔で配置されている。また、第1の電極913上には、各画素に対応する開口部を有する隔壁914が設けられ、開口部を有する隔壁914は絶縁材料(感光性または非感光性の有機材料(ポリイミド、アクリル、ポリアミド、ポリイミドアミド、レジストまたはベンゾシクロブテン)、またはSOG膜(例えば、アルキル基を含むSiOx膜))で構成されている。なお、各画素に対応する開口部が発光領域921となる。
開口部を有する隔壁914上に、第1の電極913と交差する互いに平行な複数の逆テーパ状の隔壁922が設けられる。逆テーパ状の隔壁922はフォトリソグラフィ法に従い、未露光部分がパターンとして残るポジ型感光性樹脂を用い、パターンの下部がより多くエッチングされるように露光量または現像時間を調節することによって形成する。
開口部を有する隔壁914及び逆テーパ状の隔壁922を合わせた高さは、EL層及び第2の電極916の膜厚より大きくなるように設定する。これにより、複数の領域に分離されたEL層、具体的には赤色発光を示す材料で形成されたEL層(R)(915R)、緑色発光を示す材料で形成されたEL層(G)(915G)、青色発光を示す材料で形成されたEL層(B)(915B)と、第2の電極916とが形成される。なお、複数に分離された領域は、それぞれ電気的に独立している。
第2の電極916は、第1の電極913と交差する方向に伸長する互いに平行なストライプ状の電極である。なお、逆テーパ状の隔壁922上にもEL層及び第2の電極916を形成する導電層の一部が形成されるが、EL層(R)(915R)、EL層(G)(915G)、EL層(B)(915B)、及び第2の電極916とは分断されている。なお、本実施の形態におけるEL層は、少なくとも発光層を含む層であって、発光層の他に正孔注入層、正孔輸送層、電子輸送層、又は電子注入層等を含んでいてもよい。
ここでは、EL層(R)(915R)、EL層(G)(915G)、EL層(B)(915B)を選択的に形成し、3種類(赤(R)、青(G)、緑(B))の発光が得られるフルカラー表示可能な発光装置を形成する例を示している。なお、EL層(R)(915R)、EL層(G)(915G)、EL層(B)(915B)は、それぞれ互いに平行なストライプパターンで形成されている。これらのEL層を形成するには、上記実施の形態1〜実施の形態4に示す方法を適用すればよい。
また、必要であれば、封止缶や封止のためのガラス基板などの封止材を用いて封止する。ここでは、封止基板としてガラス基板を用い、シール材などの接着材を用いて基板と封止基板とを貼り合わせ、シール材などの接着材で囲まれた空間を密閉なものとしている。密閉された空間には、充填材や、乾燥した不活性ガスを充填する。また、発光装置の信頼性を向上させるために、基板と封止材との間に乾燥材などを封入してもよい。乾燥材によって微量な水分が除去され、十分乾燥される。また、乾燥材としては、酸化カルシウムや酸化バリウムなどのようなアルカリ土類金属の酸化物のような化学吸着によって水分を吸収する物質を用いることが可能である。なお、他の乾燥材として、ゼオライトやシリカゲル等の物理吸着によって水分を吸着する物質を用いてもよい。
ただし、発光素子を覆って接する封止材が設けられ、十分に外気と遮断されている場合には、乾燥材は、特に設けなくともよい。
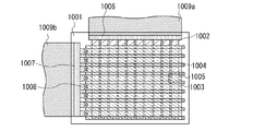
次に、図9に示したパッシブマトリクス型の発光装置にFPCなどを実装した場合の上面図を図10に示す。
図10において、画像表示を構成する画素部は、走査線群とデータ線群が互いに直交するように交差している。
ここで、図9における第1の電極913が、図10の走査線1003に相当し、図9における第2の電極916が、図10のデータ線1002に相当し、逆テーパ状の隔壁922が隔壁1004に相当する。データ線1002と走査線1003の間にはEL層が挟まれており、領域1005で示される交差部が画素1つ分となる。
なお、走査線1003は配線端で接続配線1008と電気的に接続され、接続配線1008が入力端子1007を介してFPC1009bに接続される。また、データ線は入力端子1006を介してFPC1009aに接続される。
また、必要であれば、射出面に偏光板、又は円偏光板(楕円偏光板を含む)、位相差板(λ/4板、λ/2板)、カラーフィルタなどの光学フィルムを適宜設けてもよい。また、偏光板又は円偏光板に反射防止膜を設けてもよい。例えば、表面の凹凸により反射光を拡散し、映り込みを低減できるアンチグレア処理を施すことができる。
なお、図10では、駆動回路を基板上に設けない例を示したが、本発明は特に限定されず、基板上に駆動回路を有するICチップを実装させてもよい。
また、ICチップを実装させる場合、画素部の周辺(外側)の領域に、画素部へ各信号を伝送する駆動回路が形成されたデータ線側IC、走査線側ICをCOG方式によりそれぞれ実装する。COG方式以外の実装技術としてTCPやワイヤボンディング方式を用いて実装してもよい。TCPはTABテープにICを実装したものであり、TABテープを素子形成基板上の配線に接続してICを実装する。データ線側IC、および走査線側ICは、シリコン基板を用いたものであってもよいし、ガラス基板、石英基板もしくはプラスチック基板上にTFTで駆動回路を形成したものであってもよい。また、片側に一つのICを設けた例を説明しているが、片側に複数個に分割して設けても構わない。
次に、アクティブマトリクス型の発光装置の例について、図11を用いて説明する。なお、図11(A)は発光装置を示す上面図であり、図11(B)は図11(A)を鎖線A−A’で切断した断面図である。本実施の形態に係るアクティブマトリクス型の発光装置は、素子基板1110上に設けられた画素部1102と、駆動回路部(ソース側駆動回路)1101と、駆動回路部(ゲート側駆動回路)1103と、を有する。画素部1102、駆動回路部1101、及び駆動回路部1103は、シール材1105によって、素子基板1110と封止基板1104との間に封止されている。
また、素子基板1110上には、駆動回路部1101、及び駆動回路部1103に外部からの信号(例えば、ビデオ信号、クロック信号、スタート信号、又はリセット信号等)や電位を伝達する外部入力端子を接続するための引き回し配線1108が設けられる。ここでは、外部入力端子としてFPC(フレキシブルプリントサーキット)1109を設ける例を示している。なお、ここではFPCしか図示されていないが、このFPCにはプリント配線基板(PWB)が取り付けられていても良い。本明細書における発光装置には、発光装置本体だけでなく、それにFPCもしくはPWBが取り付けられた状態をも含むものとする。
次に、断面構造について図11(B)を用いて説明する。素子基板1110上には駆動回路部及び画素部が形成されているが、ここでは、ソース側駆動回路である駆動回路部1101と、画素部1102が示されている。
駆動回路部1101はnチャネル型TFT1123とpチャネル型TFT1124とを組み合わせたCMOS回路が形成される例を示している。なお、駆動回路部を形成する回路は、種々のCMOS回路、PMOS回路もしくはNMOS回路で形成しても良い。また、本実施の形態では、基板上に駆動回路を形成したドライバー一体型を示すが、必ずしもその必要はなく、基板上ではなく外部に駆動回路を形成することもできる。
また、画素部1102はスイッチング用TFT1111と、電流制御用TFT1112と電流制御用TFT1112の配線(ソース電極又はドレイン電極)に電気的に接続された第1の電極1113とを含む複数の画素により形成される。なお、第1の電極1113の端部を覆って絶縁物1114が形成されている。ここでは、ポジ型の感光性アクリル樹脂を用いることにより形成する。
また、上層に積層形成される膜の被覆性を良好なものとするため、絶縁物1114の上端部または下端部に曲率を有する曲面が形成されるようにするのが好ましい。例えば、絶縁物1114の材料としてポジ型の感光性アクリル樹脂を用いた場合、絶縁物1114の上端部に曲率半径(0.2μm〜3μm)を有する曲面を持たせることが好ましい。また、絶縁物1114として、感光性の光によってエッチャントに不溶解性となるネガ型、或いは光によってエッチャントに溶解性となるポジ型のいずれも使用することができ、有機化合物に限らず無機化合物、例えば、酸化シリコン、酸窒化シリコン等、の両者を使用することができる。
第1の電極1113上には、EL層1100及び第2の電極1116が積層形成されている。なお、第1の電極1113をITO膜とし、第1の電極1113と接続する電流制御用TFT1112の配線として窒化チタン膜とアルミニウムを主成分とする膜との積層膜、或いは窒化チタン膜、アルミニウムを主成分とする膜、窒化チタン膜との積層膜を適用すると、配線としての抵抗も低く、ITO膜との良好なオーミックコンタクトがとれる。なお、ここでは図示しないが、第2の電極1116は外部入力端子であるFPC1109に電気的に接続されている。
EL層1100は、少なくとも発光層が設けられており、発光層の他に正孔注入層、正孔輸送層、電子輸送層又は電子注入層を適宜設ける構成とする。第1の電極1113、EL層1100及び第2の電極1116との積層構造で、発光素子1115が形成されている。
また、図11(B)に示す断面図では発光素子1115を1つのみ図示しているが、画素部1102において、複数の発光素子がマトリクス状に配置されているものとする。画素部1102には、3種類(R、G、B)の発光が得られる発光素子をそれぞれ選択的に形成し、フルカラー表示可能な発光装置を形成することができる。また、カラーフィルタと組み合わせることによってフルカラー表示可能な発光装置としてもよい。
さらにシール材1105で封止基板1104を素子基板1110と貼り合わせることにより、素子基板1110、封止基板1104、およびシール材1105で囲まれた空間1107に発光素子1115が備えられた構造になっている。なお、空間1107には、不活性気体(窒素やアルゴン等)が充填される場合の他、シール材1105で充填される構成も含むものとする。
なお、シール材1105にはエポキシ系樹脂を用いるのが好ましい。また、これらの材料はできるだけ水分や酸素を透過しない材料であることが望ましい。また、封止基板1104に用いる材料としてガラス基板や石英基板の他、FRP(Fiberglass−Reinforced Plastics)、PVF(ポリビニルフロライド)、ポリエステルまたはアクリル等からなるプラスチック基板を用いることができる。
以上のようにして、本発明を適用して発光装置を得ることができる。アクティブマトリクス型の発光装置は、TFTを作製するため、1枚あたりの製造コストが高くなりやすいが、本発明を適用することで、発光素子を形成する際の材料のロスを大幅に低減させることが可能である。よって、製造コストの低減を図ることができる。
本発明を適用することで、発光素子を構成するEL層を容易に形成することができると共に、発光素子を有する発光装置を容易に作製することができる。また、微細なパターン形成が可能となるため、高精細な発光装置を得ることができる。
なお、本実施の形態6に示す構成は、実施の形態1〜実施の形態5に示した構成を適宜組み合わせて用いることができる。
(実施の形態7)
本実施の形態では、本発明を適用して作製した発光装置を用いて完成させた様々な電子機器について、図12を用いて説明する。
本発明に係る発光装置を適用した電子機器として、テレビジョン、ビデオカメラ、デジタルカメラ、ゴーグル型ディスプレイ(ヘッドマウントディスプレイ)、ナビゲーションシステム、音響再生装置(カーオーディオ、オーディオコンポ等)、ノート型コンピュータ、ゲーム機器、携帯情報端末(モバイルコンピュータ、携帯電話、携帯型ゲーム機または電子書籍等)、記録媒体を備えた画像再生装置(具体的にはデジタルビデオディスク(DVD)等の記録媒体を再生し、その画像を表示しうる表示装置を備えた装置)、照明器具などが挙げられる。これらの電子機器の具体例を図12に示す。
図12(A)は表示装置であり、筐体8001、支持台8002、表示部8003、スピーカー部8004、ビデオ入力端子8005等を含む。本発明を用いて形成される発光装置をその表示部8003に用いることにより作製される。なお、表示装置は、パーソナルコンピュータ用、TV放送受信用、広告表示用などの全ての情報表示用装置が含まれる。本発明を適用することで、成膜時における材料の劣化等を防ぎ、パターン形成を精度良く行うことができるで、高精細で発光特性が高く、かつ長寿命な表示装置を提供することができる。
図12(B)はコンピュータであり、本体8101、筐体8102、表示部8103、キーボード8104、外部接続ポート8105、マウス8106等を含む。なお、コンピュータは、本発明を用いて形成される発光装置をその表示部8103に用いることにより作製される。本発明を適用することで、成膜時における材料の劣化等を防ぎ、パターン形成を精度良く行うことができるので、高精細で発光特性が高く、かつ長寿命なコンピュータを提供することができる。
図12(C)はビデオカメラであり、本体8201、表示部8202、筐体8203、外部接続ポート8204、リモコン受信部8205、受像部8206、バッテリー8207、音声入力部8208、操作キー8209、接眼部8210等を含む。なお、ビデオカメラは、本発明を用いて形成される発光装置をその表示部8202に用いることにより作製される。本発明を適用することで、成膜時における材料の劣化等を防ぎ、パターン形成を精度良く行うことができるので、高精細で発光特性が高く、かつ長寿命なビデオカメラを提供することができる。
図12(D)は卓上照明器具であり、照明部8301、傘8302、可変アーム8303、支柱8304、台8305、電源8306を含む。なお、卓上照明器具は、本発明を用いて形成される発光装置を照明部8301に用いることにより作製される。なお、照明器具には天井固定型の照明器具または壁掛け型の照明器具なども含まれる。本発明を適用することで、成膜時における材料の劣化等を防ぎ、パターン形成を精度良く行うことができるので、高精細で発光特性が高く、かつ長寿命な卓上照明器具を提供することができる。
ここで、図12(E)は携帯電話であり、本体8401、筐体8402、表示部8403、音声入力部8404、音声出力部8405、操作キー8406、外部接続ポート8407、アンテナ8408等を含む。なお、携帯電話は、本発明を用いて形成される発光装置をその表示部8403に用いることにより作製される。本発明を適用することで、成膜時における材料の劣化等を防ぎ、パターン形成を精度良く行うことができるので、高精細で発光特性が高く、かつ長寿命な携帯電話を提供することができる。
また、図13も携帯電話であり、図13(A)が正面図、図13(B)が背面図、図13(C)が展開図である。本体1301は、電話と携帯情報端末の双方の機能を備えており、コンピュータを内蔵し、音声通話以外にも様々なデータ処理が可能な所謂スマートフォンである。
本体1301は、筐体1302及び筐体1303の二つの筐体で構成されている。筐体1302には、表示部1304、スピーカー1305、マイクロフォン1306、操作キー1307、ポインティングデバイス1308、カメラ用レンズ1309、外部接続端子1310、イヤホン端子1311等を備え、筐体1303には、キーボード1312、外部メモリスロット1313、カメラ用レンズ1314、ライト1315等を備えている。また、アンテナは筐体1302内部に内蔵されている。
また、上記構成に加えて、非接触ICチップ、小型記録装置等を内蔵していてもよい。
表示部1304には、上記実施例に示される表示装置を組み込むことが可能であり、使用形態に応じて表示の方向が適宜変化する。表示部1304と同一面上にカメラ用レンズ1309を備えているため、テレビ電話が可能である。また、表示部1304をファインダーとし、カメラ用レンズ1314及びライト1315で静止画及び動画の撮影が可能である。スピーカー1305、及びマイクロフォン1306は音声通話に限らず、テレビ電話、録音、再生等が可能である。
操作キー1307では、電話の発着信、電子メール等の簡単な情報入力、画面のスクロール、カーソル移動等が可能である。更に、重なり合った筐体1302と筐体1303(図13(A))は、スライドし、図13(C)のように展開し、携帯情報端末として使用できる。この場合、キーボード1312、ポインティングデバイス1308を用い円滑な操作が可能である。外部接続端子1310はACアダプタ及びUSBケーブル等の各種ケーブルと接続可能であり、充電及びパーソナルコンピュータ等とのデータ通信が可能である。また、外部メモリスロット1313に記録媒体を挿入しより大量のデータ保存及び移動に対応できる。
また、上記機能に加えて、赤外線通信機能、テレビ受信機能等を備えたものであってもよい。
なお、上述した携帯電話は、本発明を用いて形成される発光装置をその表示部1304に用いることにより作製される。本発明を適用することで、成膜時における材料の劣化等を防ぎ、パターン形成を精度良く行うことができるので、高精細で発光特性が高く、かつ長寿命な携帯電話を提供することができる。
以上のようにして、本発明に係る発光装置を適用して電子機器や照明器具を得ることができる。本発明に係る発光装置の適用範囲は極めて広く、あらゆる分野の電子機器に適用することが可能である。
なお、本実施の形態7に示す構成は、実施の形態1〜実施の形態6に示した構成を適宜組み合わせて用いることができる。
101 第1の基板
102 光吸収層
103 開口部
104 反射層
105 材料層
105a 材料層
105b 材料層
107 第1の光
201 第2の基板
202 第1の電極
203 絶縁物
204 第2の光
205 EL層
206 EL層
207 EL層
208 EL層
401 第1の基板
403 レーザ発振装置
404 第1の光学系
405 第2の光学系
406 第3の光学系
407 反射ミラー
408 位置アライメント機構
409 第1の基板ステージ
410 反射層
411 光吸収層
412 材料層
413 領域
416 制御装置
501 成膜室
502 ゲート弁
503 排気機構
504 基板ステージ
505 基板支持機構
506 制御装置
507 位置アライメント機構
510 光源
511 第1の基板
512 第2の基板
513 材料層
601 反射層(R)
602 開口部
603 反射層(G)
604 反射層(B)
611 EL層(R)
612 EL層(G)
613 EL層(B)
614 絶縁物
701 反射層
702 開口部
711 EL層(R)
712 EL層(G)
713 EL層(B)
801 基板
802 第1の電極
803 EL層
804 第2の電極
811 正孔注入層
812 正孔輸送層
813 発光層
814 電子輸送層
815 電子注入層
901 基板
904 絶縁層
913 第1の電極
914 隔壁
915R EL層(赤)
915G EL層(緑)
915B EL層(青)
916 第2の電極
921 発光領域
922 隔壁
1002 データ線
1003 走査線
1004 隔壁
1005 領域
1006 入力端子
1007 入力端子
1008 接続配線
1100 EL層
1101 駆動回路部(ソース側駆動回路)
1102 画素部
1103 駆動回路部(ゲート側駆動回路)
1104 封止基板
1105 シール材
1107 空間
1108 配線
1109 FPC(フレキシブルプリントサーキット)
1110 素子基板
1111 スイッチング用TFT
1112 電流制御用TFT
1113 第1の電極
1114 絶縁物
1115 発光素子
1116 第2の電極
1123 nチャネル型TFT
1124 pチャネル型TFT
1301 本体
1302 筐体
1303 筐体
1304 表示部
1305 スピーカー
1306 マイクロフォン
1307 操作キー
1308 ポインティングデバイス
1309 カメラ用レンズ
1310 外部接続端子
1311 イヤホン端子
1312 キーボード
1313 外部メモリスロット
1314 カメラ用レンズ
1315 ライト
1501 基板
1502 吸収層
1503 反射層
1504 材料層
8001 筐体
8002 支持台
8003 表示部
8004 スピーカー部
8005 ビデオ入力端子
8101 本体
8102 筐体
8103 表示部
8104 キーボード
8105 外部接続ポート
8106 マウス
8201 本体
8202 表示部
8203 筐体
8204 外部接続ポート
8205 リモコン受信部
8206 受像部
8207 バッテリー
8208 音声入力部
8209 操作キー
8210 接眼部
8301 照明部
8302 傘
8303 可変アーム
8304 支柱
8305 台
8306 電源
8401 本体
8402 筐体
8403 表示部
8404 音声入力部
8405 音声出力部
8406 操作キー
8407 外部接続ポート
8408 アンテナ

Claims (10)

  1. 第1の基板の一方の面に光吸収層を形成し、
    前記光吸収層と接して開口部を有する反射層を形成し、
    前記光吸収層および前記反射層と接して材料層を形成し、
    前記第1の基板の一方の面側から、光強度がA(W/cm)で、照射時間B(s)のとき、下記一般式(1)
    1/A 1.5≦B≦10/A 1.5 かつ B≦10−3(s) (1)
    より好ましくは、下記一般式(2)
    10/A 1.5≦B≦10/A 1.5 かつ B≦10−3(s) (2)
    の範囲にある第1の光を照射して、
    前記材料層の一部で前記反射層の開口部と重なる部分を除去し、
    前記第1の基板の一方の面と、
    第2の基板の被成膜面とを対向させ、かつ近接させた状態で配置し、
    前記第1の基板の他方の面側から、光強度がA(W/cm)で、照射時間B(s)のとき、下記一般式(3)
    1/(A1.5≦B≦10/(A1.5 かつ B≧10−4(s) (3)
    より好ましくは、下記一般式(4)
    10/(A1.5≦B≦10/(A1.5 かつ B≧10−4(s) (4)
    の範囲にある第2の光を照射して、
    前記反射層と重なる位置にある前記材料層を前記第2の基板の被成膜面に蒸着させることを特徴とする発光装置の作製方法。
  2. 第1の基板の一方の面に光吸収層を形成し、
    前記光吸収層と接して開口部を有する反射層を形成し、
    前記光吸収層および前記反射層と接して材料層を形成し、
    前記第1の基板の一方の面側から、光強度がA(W/cm)で、照射時間B(s)のとき、下記一般式(1)
    1/A 1.5≦B≦10/A 1.5 かつ B≦10−3(s) (1)
    より好ましくは、下記一般式(2)
    10/A 1.5≦B≦10/A 1.5 かつ B≦10−3(s) (2)
    の範囲にある第1の光を照射して、
    前記材料層の一部で前記反射層の開口部と重なる部分を除去し、
    前記第1の基板の一方の面と、
    第2の基板の被成膜面とを対向させ、かつ近接させた状態で配置し、
    前記第1の基板を加熱し、前記反射層と重なる位置にある前記材料層を前記第2の基板の被成膜面に蒸着させることを特徴とする発光装置の作製方法。
  3. 請求項1または請求項2において、
    前記第1の光は、レーザ光であることを特徴とする発光装置の作製方法。
  4. 請求項1乃至請求項3のいずれか一において、
    前記第1の光は、波長450nm以上の光であることを特徴とする発光装置の作製方法。
  5. 請求項1乃至請求項4のいずれか一において、
    前記光吸収層は、光に対する反射率が70%以下であることを特徴とする発光装置の作製方法。
  6. 請求項1乃至請求項5のいずれか一において、
    前記光吸収層は、窒化タンタル、窒化チタン、窒化クロム、窒化マンガン、チタン、カーボンのいずれかを含むことを特徴とする発光装置の作製方法。
  7. 請求項1乃至請求項6のいずれか一において、
    前記反射層は、光に対する反射率が85%以上であることを特徴とする発光装置の作製方法。
  8. 請求項1乃至請求項7のいずれか一において、
    前記反射層は、アルミニウム、銀、金、白金、銅、アルミニウムを含む合金、銀を含む合金、または酸化インジウム−酸化スズのいずれかを含むことを特徴とする発光装置の作製方法。
  9. 請求項1乃至請求項8のいずれか一において、
    前記材料層は有機化合物からなることを特徴とする発光装置の作製方法。
  10. 請求項1乃至請求項9のいずれか一において、
    前記材料層は、発光性材料またはキャリア輸送性材料の一方または両方を含むことを特徴とする発光装置の作製方法。
JP2009134813A 2008-06-04 2009-06-04 発光装置の作製方法 Expired - Fee Related JP5161154B2 (ja)

Priority Applications (1)

Application Number Priority Date Filing Date Title
JP2009134813A JP5161154B2 (ja) 2008-06-04 2009-06-04 発光装置の作製方法

Applications Claiming Priority (3)

Application Number Priority Date Filing Date Title
JP2008146716 2008-06-04
JP2008146716 2008-06-04
JP2009134813A JP5161154B2 (ja) 2008-06-04 2009-06-04 発光装置の作製方法

Publications (3)

Publication Number Publication Date
JP2010015981A true JP2010015981A (ja) 2010-01-21
JP2010015981A5 JP2010015981A5 (ja) 2012-07-05
JP5161154B2 JP5161154B2 (ja) 2013-03-13

Family

ID=41400683

Family Applications (1)

Application Number Title Priority Date Filing Date
JP2009134813A Expired - Fee Related JP5161154B2 (ja) 2008-06-04 2009-06-04 発光装置の作製方法

Country Status (2)

Country Link
US (1) US7919340B2 (ja)
JP (1) JP5161154B2 (ja)

Cited By (3)

* Cited by examiner, † Cited by third party
Publication number Priority date Publication date Assignee Title
JP2013020767A (ja) * 2011-07-08 2013-01-31 Ulvac Japan Ltd 有機発光デバイスの製造装置及びその製造方法
JP2013020768A (ja) * 2011-07-08 2013-01-31 Ulvac Japan Ltd レーザ転写装置
JP2019530017A (ja) * 2016-08-26 2019-10-17 ネーデルラントセ オルハニサティエ フォール トゥーヘパスト−ナトゥールヴェッテンシャッペリーク オンデルズック テーエヌオー 表面にパターン構造をアプライするための方法およびシステム

Families Citing this family (16)

* Cited by examiner, † Cited by third party
Publication number Priority date Publication date Assignee Title
JP5416987B2 (ja) * 2008-02-29 2014-02-12 株式会社半導体エネルギー研究所 成膜方法及び発光装置の作製方法
JP5775511B2 (ja) * 2010-03-18 2015-09-09 株式会社半導体エネルギー研究所 成膜方法
TW201207526A (en) * 2010-08-03 2012-02-16 Chunghwa Picture Tubes Ltd Pixel array substrate and method of fabricating the same
JP2014026902A (ja) * 2012-07-30 2014-02-06 Sony Corp 表示装置、表示装置の製造方法および電子機器
EP2731126A1 (en) 2012-11-09 2014-05-14 Nederlandse Organisatie voor toegepast -natuurwetenschappelijk onderzoek TNO Method for bonding bare chip dies
KR20140118534A (ko) * 2013-03-29 2014-10-08 삼성디스플레이 주식회사 도너기판 및 이를 이용한 전사패턴 형성방법
KR20150012530A (ko) * 2013-07-25 2015-02-04 삼성디스플레이 주식회사 전사용 도너 기판 및 유기 발광 표시 장치의 제조 방법
EP2884553A1 (en) * 2013-12-11 2015-06-17 Nederlandse Organisatie voor toegepast- natuurwetenschappelijk onderzoek TNO Method and system for providing a carrier with an embedded patterned metal structure
CN104752630B (zh) * 2013-12-25 2017-04-12 清华大学 有机发光二极管阵列的制备方法
CN104752457B (zh) * 2013-12-25 2018-01-19 清华大学 有机发光二极管阵列的制备方法
CN104752459B (zh) * 2013-12-25 2018-04-03 清华大学 有机发光二极管阵列
CN104752611B (zh) * 2013-12-25 2017-09-01 清华大学 有机发光二极管阵列
US9685349B2 (en) * 2015-10-08 2017-06-20 The United States Of America, As Represented By The Secretary Of The Navy Laser-induced forming and transfer of shaped metallic interconnects
HUE051753T2 (hu) * 2017-01-26 2021-03-29 Gross Leander Kilian Eljárás és berendezés kompozit komponens különbözõ anyagrétegeinek szétválasztására
CN115312681A (zh) * 2021-05-06 2022-11-08 三星显示有限公司 显示装置的制造装置
EP4338638B1 (fr) 2022-09-16 2025-10-29 Comadur S.A. Procede de fabrication d'un composant d'habillage d'une montre, d'un article de mode ou d'un article de bijouterie ou de joaillerie

Citations (3)

* Cited by examiner, † Cited by third party
Publication number Priority date Publication date Assignee Title
JP2006309995A (ja) * 2005-04-27 2006-11-09 Sony Corp 転写用基板および表示装置の製造方法ならびに表示装置
JP2007141702A (ja) * 2005-11-21 2007-06-07 Sony Corp 転写用基板および転写方法ならびに表示装置の製造方法
JP2007281159A (ja) * 2006-04-06 2007-10-25 Sony Corp 赤色有機発光素子およびこれを備えた表示装置、ドナー基板およびこれを用いた転写方法、表示装置の製造方法、並びに表示装置の製造システム

Family Cites Families (14)

* Cited by examiner, † Cited by third party
Publication number Priority date Publication date Assignee Title
US4772582A (en) * 1987-12-21 1988-09-20 Eastman Kodak Company Spacer bead layer for dye-donor element used in laser-induced thermal dye transfer
JP3401356B2 (ja) * 1995-02-21 2003-04-28 パイオニア株式会社 有機エレクトロルミネッセンスディスプレイパネルとその製造方法
KR100195175B1 (ko) 1996-12-23 1999-06-15 손욱 유기전자발광소자 유기박막용 도너필름, 이를 이용한 유기전자발광소자의 제조방법 및 그 방법에 따라 제조된 유기전자발광소자
US5937272A (en) * 1997-06-06 1999-08-10 Eastman Kodak Company Patterned organic layers in a full-color organic electroluminescent display array on a thin film transistor array substrate
US5851709A (en) * 1997-10-31 1998-12-22 Eastman Kodak Company Method for selective transfer of a color organic layer
JP3175733B2 (ja) 1998-06-17 2001-06-11 日本電気株式会社 有機el素子の製造方法
US6165543A (en) * 1998-06-17 2000-12-26 Nec Corporation Method of making organic EL device and organic EL transfer base plate
TW501379B (en) 2000-07-25 2002-09-01 Eastman Kodak Co Method of making organic electroluminescent device using laser transfer
US6682863B2 (en) * 2002-06-27 2004-01-27 Eastman Kodak Company Depositing an emissive layer for use in an organic light-emitting display device (OLED)
KR20060017414A (ko) * 2004-08-20 2006-02-23 삼성에스디아이 주식회사 유기 전계 발광 소자의 제조 방법
KR100667069B1 (ko) * 2004-10-19 2007-01-10 삼성에스디아이 주식회사 도너 기판 및 그를 사용한 유기전계발광표시장치의 제조방법
JP4412264B2 (ja) * 2005-09-12 2010-02-10 ソニー株式会社 表示装置および表示装置の製造方法
JP2007173145A (ja) * 2005-12-26 2007-07-05 Sony Corp 転写用基板、転写方法、および有機電界発光素子の製造方法
KR101563237B1 (ko) * 2007-06-01 2015-10-26 가부시키가이샤 한도오따이 에네루기 켄큐쇼 제조장치 및 발광장치 제작방법

Patent Citations (3)

* Cited by examiner, † Cited by third party
Publication number Priority date Publication date Assignee Title
JP2006309995A (ja) * 2005-04-27 2006-11-09 Sony Corp 転写用基板および表示装置の製造方法ならびに表示装置
JP2007141702A (ja) * 2005-11-21 2007-06-07 Sony Corp 転写用基板および転写方法ならびに表示装置の製造方法
JP2007281159A (ja) * 2006-04-06 2007-10-25 Sony Corp 赤色有機発光素子およびこれを備えた表示装置、ドナー基板およびこれを用いた転写方法、表示装置の製造方法、並びに表示装置の製造システム

Cited By (5)

* Cited by examiner, † Cited by third party
Publication number Priority date Publication date Assignee Title
JP2013020767A (ja) * 2011-07-08 2013-01-31 Ulvac Japan Ltd 有機発光デバイスの製造装置及びその製造方法
JP2013020768A (ja) * 2011-07-08 2013-01-31 Ulvac Japan Ltd レーザ転写装置
JP2019530017A (ja) * 2016-08-26 2019-10-17 ネーデルラントセ オルハニサティエ フォール トゥーヘパスト−ナトゥールヴェッテンシャッペリーク オンデルズック テーエヌオー 表面にパターン構造をアプライするための方法およびシステム
US11173737B2 (en) 2016-08-26 2021-11-16 Nederlandse Organisatie Voor Toegepast-Natuurwetenschappelijk Onderzoek Tno Method and system for applying a patterned structure on a surface
JP7029455B2 (ja) 2016-08-26 2022-03-03 ネーデルラントセ オルハニサティエ フォール トゥーヘパスト-ナトゥールヴェッテンシャッペリーク オンデルズック テーエヌオー 表面にパターン構造をアプライするための方法およびシステム

Also Published As

Publication number Publication date
JP5161154B2 (ja) 2013-03-13
US20090305445A1 (en) 2009-12-10
US7919340B2 (en) 2011-04-05

Similar Documents

Publication Publication Date Title
JP5161154B2 (ja) 発光装置の作製方法
JP5132516B2 (ja) 蒸着用基板
JP5247410B2 (ja) 蒸着用基板、蒸着用基板の作製方法、および蒸着方法
JP5112281B2 (ja) 成膜用基板
JP5203994B2 (ja) 成膜方法および発光装置の作製方法
JP5394048B2 (ja) 蒸着用基板
JP5238587B2 (ja) 発光装置の作製方法
JP5112257B2 (ja) 蒸着用基板
JP5180012B2 (ja) 発光装置の作製方法
JP5635737B2 (ja) 成膜方法
JP5728068B2 (ja) 成膜用基板
JP5410791B2 (ja) 成膜方法および発光装置の作製方法
JP2009120946A (ja) 成膜方法および発光装置の作製方法
US8409672B2 (en) Method of manufacturing evaporation donor substrate and method of manufacturing light-emitting device
JP5159689B2 (ja) 発光装置の作製方法
JP2009295574A (ja) 成膜用基板及びその基板を用いた成膜方法、発光装置、照明装置及び電子機器
JP5538642B2 (ja) 成膜方法および発光素子の作製方法
JP5111427B2 (ja) 成膜用基板および成膜方法
JP5367415B2 (ja) 発光装置の作製方法及び成膜用基板
JP2009280909A (ja) 成膜方法および発光装置の作製方法

Legal Events

Date Code Title Description
RD02 Notification of acceptance of power of attorney

Free format text: JAPANESE INTERMEDIATE CODE: A7422

Effective date: 20120322

A521 Request for written amendment filed

Free format text: JAPANESE INTERMEDIATE CODE: A523

Effective date: 20120522

A621 Written request for application examination

Free format text: JAPANESE INTERMEDIATE CODE: A621

Effective date: 20120522

A977 Report on retrieval

Free format text: JAPANESE INTERMEDIATE CODE: A971007

Effective date: 20120912

A131 Notification of reasons for refusal

Free format text: JAPANESE INTERMEDIATE CODE: A131

Effective date: 20120925

A521 Request for written amendment filed

Free format text: JAPANESE INTERMEDIATE CODE: A523

Effective date: 20121023

TRDD Decision of grant or rejection written
A01 Written decision to grant a patent or to grant a registration (utility model)

Free format text: JAPANESE INTERMEDIATE CODE: A01

Effective date: 20121204

A61 First payment of annual fees (during grant procedure)

Free format text: JAPANESE INTERMEDIATE CODE: A61

Effective date: 20121213

R150 Certificate of patent or registration of utility model

Ref document number: 5161154

Country of ref document: JP

Free format text: JAPANESE INTERMEDIATE CODE: R150

Free format text: JAPANESE INTERMEDIATE CODE: R150

FPAY Renewal fee payment (event date is renewal date of database)

Free format text: PAYMENT UNTIL: 20151221

Year of fee payment: 3

FPAY Renewal fee payment (event date is renewal date of database)

Free format text: PAYMENT UNTIL: 20151221

Year of fee payment: 3

R250 Receipt of annual fees

Free format text: JAPANESE INTERMEDIATE CODE: R250

R250 Receipt of annual fees

Free format text: JAPANESE INTERMEDIATE CODE: R250

R250 Receipt of annual fees

Free format text: JAPANESE INTERMEDIATE CODE: R250

R250 Receipt of annual fees

Free format text: JAPANESE INTERMEDIATE CODE: R250

R250 Receipt of annual fees

Free format text: JAPANESE INTERMEDIATE CODE: R250

R250 Receipt of annual fees

Free format text: JAPANESE INTERMEDIATE CODE: R250

LAPS Cancellation because of no payment of annual fees