JP2010014877A - 放射線撮影装置 - Google Patents

放射線撮影装置 Download PDF

Info

Publication number
JP2010014877A
JP2010014877A JP2008173457A JP2008173457A JP2010014877A JP 2010014877 A JP2010014877 A JP 2010014877A JP 2008173457 A JP2008173457 A JP 2008173457A JP 2008173457 A JP2008173457 A JP 2008173457A JP 2010014877 A JP2010014877 A JP 2010014877A
Authority
JP
Japan
Prior art keywords
radiation
detection panel
radiation detection
power supply
disposed
Prior art date
Legal status (The legal status is an assumption and is not a legal conclusion. Google has not performed a legal analysis and makes no representation as to the accuracy of the status listed.)
Granted
Application number
JP2008173457A
Other languages
English (en)
Other versions
JP5171438B2 (ja
Inventor
Naoyuki Nishino
直行 西納
Yasuyoshi Ota
恭義 大田
Yutaka Yoshida
豊 吉田
Keiji Tsubota
圭司 坪田
Takeshi Kamiya
毅 神谷
Current Assignee (The listed assignees may be inaccurate. Google has not performed a legal analysis and makes no representation or warranty as to the accuracy of the list.)
Fujifilm Corp
Original Assignee
Fujifilm Corp
Priority date (The priority date is an assumption and is not a legal conclusion. Google has not performed a legal analysis and makes no representation as to the accuracy of the date listed.)
Filing date
Publication date
Application filed by Fujifilm Corp filed Critical Fujifilm Corp
Priority to JP2008173457A priority Critical patent/JP5171438B2/ja
Publication of JP2010014877A publication Critical patent/JP2010014877A/ja
Application granted granted Critical
Publication of JP5171438B2 publication Critical patent/JP5171438B2/ja
Active legal-status Critical Current
Anticipated expiration legal-status Critical

Links

Images

Landscapes

  • Measurement Of Radiation (AREA)
  • Radiography Using Non-Light Waves (AREA)
  • Apparatus For Radiation Diagnosis (AREA)

Abstract

【課題】放射線検出パネルの外周部に配置された機能素子に対する電源部からのノイズの影響を抑制する。
【解決手段】電源部54は、平面視における放射線検出パネル26の中心部に配置されているので、放射線検出パネル26の外周部に配置された制御部70、通信部52及びA/D変換器48A等の機能素子と電源部54との距離が稼げる。電源部54からのノイズの影響は、距離が離れるほど軽微になるので、これらの機能素子に対する電源部54からのノイズの影響を抑制することができる。
【選択図】図5

Description

本発明は、放射線画像を撮影する放射線撮影装置に関する。
放射線撮影装置は、微小な信号を検出して放射線画像を形成するため、ノイズの影響を最小限にする必要がある。ノイズは、放射線撮影装置自身の電源部のDC−DCコンバータに由来のものも無視できず、特許文献1のように、信号を検出するタイミングにおいてDC−DCコンバータを停止し、ノイズを源から絶つというものがある。
しかしながら、特許文献1の構成では、安定して動作させるために、DC−DCコンバータの出力部に電圧保持機構が不可欠となり、部品点数の増加により小型化・軽量化の妨げになる。
また、撮影画像の出力高速化のニーズもあり、出力手段(ゲート回路)を2セット配置する構成が特許文献2に開示されている。放射線検出パネルの外縁をなす辺の一つに沿って、複数のゲート回路を配置するのは困難であり、対向する対辺など複数の辺に分散させる必要がある。また、そのほかの回路などを考慮すると、放射線検出パネルの外周部に、放射線検出パネルの外縁をなす4辺に沿って種々の機能素子が分散して配置される。
このように、放射線検出パネルの外縁をなす4辺に沿って機能素子が配置される構成においては、それぞれの機能素子に対するノイズのケアが必要となる。
特開2002−341043号公報 特開2007−104219号公報
本発明は、上記事実を考慮し、放射線検出パネルの外周部に配置された機能素子に対する電源部からのノイズの影響を抑制することを目的とする。
本発明の請求項1に係る放射線撮影装置は、放射線を検出する放射線検出パネルと、前記放射線検出パネルの外周部に配置され、所定の機能を有する複数の機能素子と、平面視における前記放射線検出パネルの中心部であって前記放射線検出パネルの裏面に配置され、前記放射線検出パネルを含む構成部の少なくとも一部へ電力を供給する電源部と、を備えている。
この構成によれば、電源部は、平面視における放射線検出パネルの中心部に配置されているので、放射線検出パネルの外周部に配置された複数の機能素子と電源部との距離が稼げる。電源部からのノイズの影響は、距離が離れるほど軽微になるので、機能素子に対する電源部からのノイズの影響を抑制することができる。
本発明の請求項2に係る放射線撮影装置は、請求項1の構成において、前記電源部を間に挟んで配置され、前記電源部によって供給される電力を蓄電する複数の蓄電部を備えている。
この構成によれば、複数の蓄電部が電源部を間に挟んで配置されるので、電源部の周囲がデッドスペースとならず、装置の省スペース化が図れる。また、蓄電部が対称に配置され、装置の重量バランスが良くなるので、放射線撮影装置を持ち運ぶ際に、持ち運びやすくなる。
本発明の請求項3に係る放射線撮影装置は、請求項2の構成において、前記放射線パネルと前記機能素子と前記電源部とを収容する筐体と、一端部及び他端部が前記筐体に取り付けられた把持部と、を備え、前記複数の蓄電部のうち、一方が前記把持部の前記一端部側に配置され、他方が前記把持部の前記他端部側に配置されている。
この構成によれば、把持部の取付端部側のそれぞれに、蓄電部が配置されるので、装置の重量バランスが良くなり、放射線撮影装置を持ち運ぶ際に持ち運びやすくなる。
本発明の請求項4に係る放射線撮影装置は、請求項1〜3のいずれか1項の構成において、前記蓄電部及び前記電源部は、同一平面上に配置されている。
この構成によれば、蓄電部及び電源部が同一平面上に配置されているので、電源部の同一平面上がデッドスペースとならず、装置の省スペース化が図れる。また、装置の重量バランスが良くなるので、放射線撮影装置を持ち運ぶ際に、持ち運びやすくなる。
本発明の請求項5に係る放射線撮影装置は、請求項1〜4のいずれか1項の構成において、前記放射線検出パネルは、平面視にて外縁に4辺を有する四辺形状に形成され、前記機能素子は、前記放射線検出パネルの4辺のそれぞれに沿って配置されている。
この構成のように、機能素子が放射線検出パネルの4辺のそれぞれに沿って配置される場合であっても、電源部は放射線検出パネルの中心部に配置されているため、複数の機能素子と電源部との距離が稼げ、機能素子に対する電源部からのノイズの影響を抑制することができる。
本発明の請求項6に係る放射線撮影装置は、請求項1〜5のいずれか1項の構成において、前記機能素子は、画像情報を担持した電気信号を変換するA/D変換器、又は前記放射線検出パネルを制御する制御部、又は放射線画像を表示可能な表示装置との間で無線通信によりデータの送受信を行うための通信部である。
本発明は、上記構成としたので、放射線検出パネルの外周部に配置された機能素子に対する電源部からのノイズの影響を抑制できる。
以下に、本発明に係る実施形態の一例を図面に基づき説明する。
(本実施形態に係る電子カセッテの構成)
まず、本実施形態に係る電子カセッテの構成を説明する。図1は、放射線画像撮影時における電子カセッテの配置を示す概略図である。図2は、電子カセッテの内部構造を示す概略斜視図である。図3は、電子カセッテ12の概略構成を模式的に示すブロック図である。なお、図3は、各部の機能を説明するための図面であり、必ずしも各部が配置された位置を示すものではない。
本実施形態に係る電子カセッテ12は、可搬性を有し、被写体を透過した放射線源からの放射線を検出し、その検出した放射線により表わされる放射線画像の画像情報を生成し、その生成した画像情報を記憶可能なものであり、具体的には以下に示すように構成されている。
なお、放射線撮影装置としては、電子カセッテ12に限られるものではなく、例えば、可搬性を有さない定置型の放射線撮影装置や、生成した画像情報を記憶しない放射線撮影装置であっても良い。
図1に示すように、電子カセッテ12は、放射線画像の撮影時において、放射線を発生させる放射線源としての放射線発生部14と間隔を空けて配置される。このときの放射線発生部14と電子カセッテ12との間は、被写体16が位置するための撮影位置とされており、放射線画像の撮影が指示されると、放射線発生部14は予め与えられた撮影条件等に応じた放射線量の放射線を射出する。放射線発生部14から射出された放射線は、撮影位置に位置している被写体16を透過することで画像情報を担持した後に電子カセッテ12に照射される。
図2に示すように、電子カセッテ12は、放射線Xを透過させる材料から成り、所定の厚みを有する平板状の筐体20を備えている。筐体20内には、筐体20のうち放射線Xが照射される照射面22側から順に、被写体16を透過することに伴って生ずる放射線Xの散乱線を除去するグリッド24、被写体16を透過した放射線発生部14からの放射線を検出する放射線検出器の一例としての放射線検出パネル26、及び放射線Xのバック散乱線を吸収する鉛板28が収容されている。
電子カセッテ12の放射線検出パネル26は、図3に示すTFTアクティブマトリクス基板32上に、放射線を吸収して電荷に変換する光電変換層が積層されて構成されている。光電変換層は例えばセレンを主成分(例えば含有率50%以上)とする非晶質のa−Se(アモルファスセレン)から成り、放射線が照射されると、照射された放射線量に応じた電荷量の電荷(電子−正孔の対)を内部で発生することで、照射された放射線を電荷へ変換する。
なお、放射線検出パネル26は、アモルファスセレンのような放射線Xを直接的に電荷に変換するX線−電荷変換材料の代わりに、蛍光体材料と光電変換素子(フォトダイオード)を用いて間接的に電荷に変換しても良い。蛍光体材料としては、ガドリニウム硫酸化物(GOS)やヨウ化セシウム(CsI)が良く知られている。この場合、蛍光材料によってX線−光変換を行い、光電変換素子のフォトダイオードによって光−電荷変換を行なう。
また、TFTアクティブマトリクス基板32上には、光電変換層で発生された電荷を蓄積する蓄積容量34と、蓄積容量34に蓄積された電荷を読み出すためのTFT36とを備えた画素部40(図3では個々の画素部40に対応する光電変換層を光電変換部38として模式的に示している)がマトリクス状に多数個配置されており、電子カセッテ12への放射線の照射に伴って光電変換層で発生された電荷は、個々の画素部40の蓄積容量34に蓄積される。これにより、被写体を透過して電子カセッテ12に照射された放射線により表される放射線画像は、電荷による画像情報へ変換されて放射線検出パネル26に保持される。
また、TFTアクティブマトリクス基板32には、一定方向(行方向)に延設され個々の画素部40のTFT36をオンオフさせるための複数本のゲート配線42と、ゲート配線42と直交する方向(列方向)に延設されオンされたTFT36を介して蓄積容量34から蓄積電荷を読み出すための複数本のデータ配線44とが設けられている。個々のゲート配線42はゲート線ドライバ46に接続されており、個々のデータ配線44は信号処理部48に接続されている。
個々の画素部40の蓄積容量34に電荷が蓄積されると、個々の画素部40のTFT36は、ゲート線ドライバ46からゲート配線42を介して供給される信号により行単位で順にオンされ、TFT36がオンされた画素部40の蓄積容量34に蓄積されている電荷は、電荷信号としてデータ配線44を伝送されて信号処理部48に入力される。従って、個々の画素部40の蓄積容量34に蓄積されている電荷は行単位で順に読み出される。
信号処理部48は、個々のデータ配線44毎に設けられた増幅器及びサンプルホールド回路を備えており、個々のデータ配線44を伝送された電荷信号は増幅器で増幅された後にサンプルホールド回路に保持される。また、サンプルホールド回路の出力側には、マルチプレクサと、画像情報を担持した電気信号を変換する電気信号変換部の一例としてのA/D変換器48Aとが、順に接続されている。個々のサンプルホールド回路に保持された電荷信号は、マルチプレクサに順に(シリアルに)入力され、A/D変換器48Aによって、アナログ電気信号がデジタル電気信号に変換される。信号処理部48には画像メモリ50が接続されており、信号処理部48のA/D変換器48Aから出力された画像情報は画像メモリ50に順に記憶される。画像メモリ50は複数フレーム分の画像情報を記憶可能な記憶容量を有しており、放射線画像の撮影が行われる毎に、撮影によって得られた画像情報が画像メモリ50に順次記憶される。
また、電子カセッテ12は、放射線画像を表示可能な表示装置(図示省略)との間で無線通信によりデータの送受信を行うための通信部52と、放射線検出パネル26を制御する制御部の一例としての装置全体の動作を制御する制御部70と、を備えている。
なお、表示装置は、入力手段としてのキーボードやマウス、表示手段としてのディスプレイ、CPU、ROM、RAM等を含むPC(パーソナルコンピュータ)で構成されている。また、電子カセッテ12との間で無線通信によりデータの送受信を行うための通信部を備えている。
制御部70は、電子カセッテ12全体の制御を司るCPU、各種の処理プログラムを記憶した記憶媒体としてのROM、ワークエリアとしてデータを一時格納するRAM、各種情報が記憶された記憶手段としてのメモリを含んだマイクロコンピュータ等で構成されている。
なお、制御部としては、装置全体の動作を制御するものに限られず、装置の構成部の一部の動作を制御するものであっても良い。
また、電子カセッテ12は、放射線検出パネル26を含む構成部の少なくとも一部へ電力を供給する電源部として、電子カセッテ12を動作させるために各種回路・素子の構成部へ電力を供給する電源部54を備えている。
また、電子カセッテ12は、電子カセッテ12の可搬性を損なわないように、電源部54によって供給される電力を蓄電する蓄電部としてのバッテリ(充電可能な二次電池)56を備えている。
電源部54によって供給される電力を蓄電する蓄電部としては、充電可能な二次電池に限られず、ニッケル水素・リチウムイオン・鉛蓄電池・キャパシタなどを用いても良い。キャパシタを用いた場合は、二次電池に比較して充電速度を速くすることができる。
また、燃料電池を用いた場合、例えば、電子カセッテ12及びその充電器であるクレードルを、電子カセッテ12がクレードルに装着された際に、密閉性を保持しつつ、クレードル14から水素、アルコール、又はアンモニアが溶け込んだ水を電子カセッテ12の燃料電池に供給可能な構造にとすると共に、燃料電池で生じた廃液を回収する廃液回収容器を電子カセッテ12の筐体20に着脱自在に設けるようにしても良い。
電源部54は、バッテリ56に接続されており、バッテリ56からの電力を整流、変圧して各種回路・素子へ電力を供給するようになっている。
具体的には、電源部54は、入力電力から必要とされる出力電力を生成する電源回路として、DC−DCコンバータを有しており、DC−DCコンバータによって、バッテリ56からの直流電流を、所望の電圧に変圧して各種回路・素子へ供給する。
DC−DCコンバータは、具体的には、スイッチングレギュレータ方式であり、例えば、数100kHz〜数MHzの周波数で電源のON/OFFを繰り返す(スイッチングする)ことにより、急激に電流が変化して、di/dt(電流の時間変化量)に比例したスパイクノイズが発生する。このように、電源部54は、ノイズを発生されるノイズ源となる。
(電子カセッテ12における各構成部の配置位置)
次に、電子カセッテ12における各構成部の配置位置について説明する。
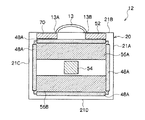
図4(A)は、各構成部の配置位置を示すための電子カセッテの概略平面図であり、図4(B)は、各構成部の配置位置を示すための電子カセッテの概略側面図である。図5は、図4から放射線検出パネル26を省いた電子カセッテの概略平面図である。図6は、バッテリ56の配置を替えた変形例を示す電子カセッテの概略平面図である。
電子カセッテ12の筐体20は、図4(A)に示すように、平面視にて(放射線が照射される照射面側から見て)外縁に4辺(4本の直線)21A、21B、21C、21Dを有する形状、具体的には、四辺形状(四角形状)をしている。より具体的には、電子カセッテ12の筐体20は、長方形状をしている。なお、電子カセッテ12は、角が丸くなった形状をしていても良い。
また、放射線を検出する放射線検出パネル(検出領域)26も電子カセッテ12の形状と同様とされており、平面視にて外縁に4辺(4本の直線)26A、26B、26C、26Dを有する形状、具体的には、四辺形状(四角形状)をしている。より具体的には、電子カセッテ12の筐体20は、長方形状をしている。
放射線検出パネル26は、長方形状をなす電子カセッテ12の長辺21B、21Dに沿って長辺26B、26Dが配置されている。なお、放射線検出パネル26は、長方形状をなす電子カセッテ12の長辺21B、21Dに沿って短辺26A、26Cが配置されていても良い。
筐体20内には、放射線検出パネル26の周囲四方側から囲むように、放射線検出パネル26の外周部に4辺(4本の直線)26A、26B、26C、26Dに沿って、信号処理部48のA/D変換器48Aが配置されている。
なお、A/D変換器48Aは、4辺26A、26B、26C、26Dのうち少なくとも1辺に沿って配置されていれば良い。また、A/D変換器48Aは、4辺26A、26B、26C、26Dのうち2辺に沿って配置される場合には、対向する2辺(例えば、辺26A、辺26C)に沿って配置される構成であっても良く、また、隣接する2辺(例えば、辺26A、辺26B)に沿って配置される構成であってもよい。
また、電子カセッテ12の筐体20には、電子カセッテ12を取り扱う者が把持可能な把持部の一例として、電子カセッテ12を持ち運ぶための取っ手13が設けられている。この取っ手13は、その一端部13A及び他端部13Bが筐体20の辺21Bに取り付けられており、筐体20の辺21Bの長さ方向中央部に配置されている。
また、取っ手13は、U字型形状とされている。なお、把持部としては、T字型の形状、コの字の型形状、丸型等の穴開き形状等であってもよく、把持部として機能する形状であればよい。また、複数の取っ手13が設けられている構成であってもよい。
また、把持部としては、非貫通とされた構成、すなわち、手(指等の手の一部)を差し込む空間を有さない構成であってもよく、例えば、手(指等の手の一部)を引っ掛けるための凹部が形成された把持部や把持可能な凸部が形成された把持部などであっても良い。
放射線検出パネル26の外周部には、制御部70及び通信部52が配置されている。具体的には、制御部70及び通信部52は、取っ手13が配置された辺21Bと、辺26Bに配置されたA/D変換器48Aとの間、すなわち、筐体20内のA/D変換器48Aよりも外側の位置に配置されている。
制御部70は、辺21C側であって取っ手13の筐体20への取付端部13A側に配置され、通信部52は、辺21A側であって取っ手13の筐体20への取付端部13B側に配置されている。
この制御部70、通信部52及び上記のA/D変換器48Aが、ノイズの影響を抑制する必要がある機能素子である。なお、ノイズの影響を抑制する対象となる機能素子は、制御部70、通信部52及びA/D変換器48Aに限られるものではなく、所定の機能を有すると共にその機能がノイズによって低下するものであれば良い。
ノイズ源となる電源部54は、筐体20内であって、図4(B)に示すように、放射線検出パネル26の裏面側に配置されている。放射線検出パネル26の裏面とは、放射線が照射される照射面22(図2参照)とは反対側の反対面をいう。
また、電源部54は、図4(A)及び図5に示すように、平面視における放射線検出パネル26の中心部に配置されている。
ここで、中心部に配置されるとは、対向する辺26A及び辺26Cまでの距離(最短距離)が同一であって、対向する辺26B及び辺26Dまでの距離(最短距離)同一である点(長方形状の放射線検出パネル26の2つ対角線の交点)を中心Cとし、この中心Cが少なくとも電源部54の領域に納まるように、電源部54が配置される場合をいう。
また、電源部54は、その外形が少なくとも放射線検出パネル26よりも小さい。また、各辺26A、26B、26C、26Dから電源部54の外縁までの最短距離と、その外縁から中心Cまでの距離とを比べた場合に、各辺26A、26B、26C、26Dから電源部54の外縁までの最短距離が長いことが望ましい。
また、バッテリ56は、バッテリ56A、56Bを備えて構成されている。バッテリ56A、56Bは、図4(B)及び図5に示すように、電源部54を間に挟んで両側に配置されている。一方のバッテリ56Aは、辺21A側に配置される。具体的には、一方のバッテリ56Aは、通信部52がある側であって、取っ手13の筐体20への取付端部13B側に配置されている。
他方のバッテリ56Bは、辺21C側に配置されている。具体的には、他方のバッテリ56Bは、制御部70がある側であって、取っ手13の筐体20への取付端部13A側に配置されている。
バッテリ56A、56Bは、図4(B)に示すように、側面視にて放射線検出パネル26の裏面に沿って配置されている。バッテリ56A、56B及び電源部54は、同一平面上に配置されている。
なお、バッテリ56A、56Bは、同一電圧であってもよく、また異なる電圧であってもよい。バッテリ56A、56Bが異なる電圧の場合は、DC−DCコンバータを単純化でき、ノイズ抑制につながる。
また、バッテリ56A、56Bが電源部54を間に挟んで両側に配置される構成としては、図6に示すように、一方のバッテリ56Aが、辺21B側に配置され、他方のバッテリ56Bは、辺21D側に配置される構成であってもよい。具体的には、一方のバッテリ56Aは、通信部52、制御部70及び取っ手13がある側に配置され、他方のバッテリ56Bは、その反対側に配置されている。
また、蓄電部として燃料電池を用いる場合には、燃料電池及びその付帯装置(燃料ポンプ・廃液処理部など)を放射線検出パネル26の中心部に配置し、燃料電池を間に挟む両側に燃料タンクを配置する構成とするのが望ましい。
また、廃液タンクをさらに備える構成においては、廃液タンクの配置位置は、放射線検出パネル26の中心部であっても、燃料電池を間に挟む両側の位置であってもよい。
(本実施形態に係る電子カセッテ12の作用)
次に、本実施形態に係る電子カセッテ12の作用を説明する。
本実施形態に係る電子カセッテ12では、図4(A)及び図5に示すように、電源部54は、平面視における放射線検出パネル26の中心部に配置されているので、放射線検出パネル26の外周部に配置された制御部70、通信部52及びA/D変換器48A等の機能素子と電源部54との距離が稼げる。電源部54からのノイズの影響は、距離が離れるほど軽微になるので、これらの機能素子に対する電源部54からのノイズの影響を抑制することができる。
また、取っ手13を把持して電子カセッテ12を持った場合には、電源部54は、取っ手13の下方位置に位置する。また、バッテリ56A及び通信部52は、取っ手13の取付端部13Bの下方位置に位置する。また、バッテリ56B及び制御部70は、取っ手13の取付端部13Aの下方位置に位置する。さらに、バッテリ56A、56B及び電源部54は、同一平面上に配置されている。
このため、取っ手13により電子カセッテ12を持った場合における装置の重量バランスが良くなるので、電子カセッテ12を持ち運ぶ際に、持ち運びやすくなる。
また、バッテリ56A、56Bは、電源部54を間に挟んで配置されると共に、バッテリ56A、56B及び電源部54は、同一平面上に配置されている。
このため、電源部54の周囲がデッドスペースとならず、装置の省スペース化が図れる。本発明は、上記の実施形態に限るものではなく、種々の変形、変更、改良が可能である。
図1は、放射線画像撮影時における電子カセッテの配置を示す概略図である。 図2は、電子カセッテの内部構造を示す概略斜視図である。 図3は、電子カセッテの概略構成を模式的に示すブロック図である。 図4(A)は、各構成部の配置位置を示すための電子カセッテの概略平面図であり、図4(B)は、各構成部の配置位置を示すための電子カセッテの概略側面図である。 図5は、図4から放射線検出パネルを省いた電子カセッテの概略平面図である。 図6は、バッテリの配置を替えた変形例を示す電子カセッテの概略平面図である。
符号の説明
12 電子カセッテ(放射線撮影装置)
13 取っ手(把持部)
20 筐体
26 放射線検出パネル
48A A/D変換器(機能素子)
52 通信部(機能素子)
54 電源部
56 バッテリ(蓄電部)
70 制御部(機能素子)

Claims (6)

  1. 放射線を検出する放射線検出パネルと、
    前記放射線検出パネルの外周部に配置され、所定の機能を有する複数の機能素子と、
    平面視における前記放射線検出パネルの中心部であって前記放射線検出パネルの裏面に配置され、前記放射線検出パネルを含む構成部の少なくとも一部へ電力を供給する電源部と、
    を備えた放射線撮影装置。
  2. 前記電源部を間に挟んで配置され、前記電源部によって供給される電力を蓄電する複数の蓄電部を備えた請求項1に記載の放射線撮影装置。
  3. 前記放射線パネルと前記機能素子と前記電源部とを収容する筐体と、
    一端部及び他端部が前記筐体に取り付けられた把持部と、
    を備え、
    前記複数の蓄電部のうち、一方が前記把持部の前記一端部側に配置され、他方が前記把持部の前記他端部側に配置されている請求項2に記載の放射線撮影装置。
  4. 前記蓄電部及び前記電源部は、同一平面上に配置されている請求項1〜3のいずれか1項に記載の放射線撮影装置。
  5. 前記放射線検出パネルは、平面視にて外縁に4辺を有する四辺形状に形成され、
    前記機能素子は、前記放射線検出パネルの4辺のそれぞれに沿って配置されている請求項1〜4のいずれか1項に記載の放射線撮影装置。
  6. 前記機能素子は、画像情報を担持した電気信号を変換するA/D変換器、又は前記放射線検出パネルを制御する制御部、又は放射線画像を表示可能な表示装置との間で無線通信によりデータの送受信を行うための通信部である請求項1〜5のいずれか1項に記載の放射線撮影装置。
JP2008173457A 2008-07-02 2008-07-02 放射線撮影装置 Active JP5171438B2 (ja)

Priority Applications (1)

Application Number Priority Date Filing Date Title
JP2008173457A JP5171438B2 (ja) 2008-07-02 2008-07-02 放射線撮影装置

Applications Claiming Priority (1)

Application Number Priority Date Filing Date Title
JP2008173457A JP5171438B2 (ja) 2008-07-02 2008-07-02 放射線撮影装置

Related Child Applications (1)

Application Number Title Priority Date Filing Date
JP2011289389A Division JP5143278B2 (ja) 2011-12-28 2011-12-28 放射線撮影装置

Publications (2)

Publication Number Publication Date
JP2010014877A true JP2010014877A (ja) 2010-01-21
JP5171438B2 JP5171438B2 (ja) 2013-03-27

Family

ID=41701056

Family Applications (1)

Application Number Title Priority Date Filing Date
JP2008173457A Active JP5171438B2 (ja) 2008-07-02 2008-07-02 放射線撮影装置

Country Status (1)

Country Link
JP (1) JP5171438B2 (ja)

Cited By (4)

* Cited by examiner, † Cited by third party
Publication number Priority date Publication date Assignee Title
JP2011248158A (ja) * 2010-05-28 2011-12-08 Konica Minolta Medical & Graphic Inc 放射線画像撮影装置
JP2012118081A (ja) * 2011-12-28 2012-06-21 Fujifilm Corp 放射線撮影装置
JP2012177870A (ja) * 2011-02-28 2012-09-13 Fujifilm Corp 放射線撮像装置
JPWO2018159011A1 (ja) * 2017-02-28 2019-07-11 富士フイルム株式会社 放射線照射装置

Citations (11)

* Cited by examiner, † Cited by third party
Publication number Priority date Publication date Assignee Title
JPH07246199A (ja) * 1994-03-11 1995-09-26 Toshiba Corp X線診断装置
JP2002341043A (ja) * 2001-05-11 2002-11-27 Canon Inc 放射線検出装置及びそれを用いた放射線撮像システム
JP2003172783A (ja) * 2001-12-10 2003-06-20 Konica Corp カセッテ型放射線画像検出器
JP2003194951A (ja) * 2001-12-28 2003-07-09 Canon Inc X線撮影装置
JP2004173906A (ja) * 2002-11-27 2004-06-24 Canon Inc X線検査装置
JP2005003755A (ja) * 2003-06-10 2005-01-06 Fuji Photo Film Co Ltd 画像情報検出用カセッテ
JP2005308409A (ja) * 2004-04-16 2005-11-04 Fuji Photo Film Co Ltd 放射線検出用カセッテ
WO2006006567A1 (ja) * 2004-07-12 2006-01-19 Konica Minolta Medical & Graphic, Inc. 放射線画像撮影システム、放射線画像撮影用プログラム及び放射線画像撮影方法
JP2007256176A (ja) * 2006-03-24 2007-10-04 Shimadzu Corp 放射線検出装置
JP2007300996A (ja) * 2006-05-09 2007-11-22 Konica Minolta Medical & Graphic Inc 放射線画像撮影装置
JP2012118081A (ja) * 2011-12-28 2012-06-21 Fujifilm Corp 放射線撮影装置

Patent Citations (11)

* Cited by examiner, † Cited by third party
Publication number Priority date Publication date Assignee Title
JPH07246199A (ja) * 1994-03-11 1995-09-26 Toshiba Corp X線診断装置
JP2002341043A (ja) * 2001-05-11 2002-11-27 Canon Inc 放射線検出装置及びそれを用いた放射線撮像システム
JP2003172783A (ja) * 2001-12-10 2003-06-20 Konica Corp カセッテ型放射線画像検出器
JP2003194951A (ja) * 2001-12-28 2003-07-09 Canon Inc X線撮影装置
JP2004173906A (ja) * 2002-11-27 2004-06-24 Canon Inc X線検査装置
JP2005003755A (ja) * 2003-06-10 2005-01-06 Fuji Photo Film Co Ltd 画像情報検出用カセッテ
JP2005308409A (ja) * 2004-04-16 2005-11-04 Fuji Photo Film Co Ltd 放射線検出用カセッテ
WO2006006567A1 (ja) * 2004-07-12 2006-01-19 Konica Minolta Medical & Graphic, Inc. 放射線画像撮影システム、放射線画像撮影用プログラム及び放射線画像撮影方法
JP2007256176A (ja) * 2006-03-24 2007-10-04 Shimadzu Corp 放射線検出装置
JP2007300996A (ja) * 2006-05-09 2007-11-22 Konica Minolta Medical & Graphic Inc 放射線画像撮影装置
JP2012118081A (ja) * 2011-12-28 2012-06-21 Fujifilm Corp 放射線撮影装置

Cited By (5)

* Cited by examiner, † Cited by third party
Publication number Priority date Publication date Assignee Title
JP2011248158A (ja) * 2010-05-28 2011-12-08 Konica Minolta Medical & Graphic Inc 放射線画像撮影装置
JP2012177870A (ja) * 2011-02-28 2012-09-13 Fujifilm Corp 放射線撮像装置
JP2012118081A (ja) * 2011-12-28 2012-06-21 Fujifilm Corp 放射線撮影装置
JPWO2018159011A1 (ja) * 2017-02-28 2019-07-11 富士フイルム株式会社 放射線照射装置
US10939888B2 (en) 2017-02-28 2021-03-09 Fujifilm Corporation Radiation irradiating apparatus

Also Published As

Publication number Publication date
JP5171438B2 (ja) 2013-03-27

Similar Documents

Publication Publication Date Title
JP5288896B2 (ja) 電子カセッテ
JP5377007B2 (ja) カセッテ収容装置、及び放射線検出システム
US8053738B2 (en) Radiographic image detection device and radiographic image detection system
US20100044574A1 (en) Portable radiation detector
JP5512105B2 (ja) 可搬型放射線検出器
US8735829B2 (en) Radiographic image capturing system, program storage medium, and method
US20100054624A1 (en) Radiographic imaging device, image processing device
EP2412312A1 (en) Radiation image detecting system
EP2380495A1 (en) Radiographic image detection device and radiographic imaging system
JP2010262134A (ja) 放射線検出装置及び放射線画像撮影システム
JP5878286B2 (ja) 収納ケース、装置システム
JP5587035B2 (ja) 可搬型放射線撮影装置システム
JP5171438B2 (ja) 放射線撮影装置
JP2012181044A (ja) 放射線撮像装置
JP2010014531A (ja) 電子機器システム及び画像情報取得方法
JP5289017B2 (ja) 可搬型放射線画像撮影装置及び放射線画像撮影システム
US8362437B2 (en) Radiographic imaging device
JP5143278B2 (ja) 放射線撮影装置
JP2010016977A (ja) 充電システム及び給電装置
JP2012177870A (ja) 放射線撮像装置
JP2012208337A (ja) 可搬型の放射線画像検出装置
JP2010025640A (ja) 可搬型放射線検出器
JP4864034B2 (ja) カセッテ収容装置
JP2011019661A (ja) 放射線画像検出装置及び放射線画像検出システム
JP2012181238A (ja) 放射線撮像装置

Legal Events

Date Code Title Description
A621 Written request for application examination

Free format text: JAPANESE INTERMEDIATE CODE: A621

Effective date: 20110204

A131 Notification of reasons for refusal

Free format text: JAPANESE INTERMEDIATE CODE: A131

Effective date: 20120807

A521 Request for written amendment filed

Free format text: JAPANESE INTERMEDIATE CODE: A523

Effective date: 20120912

A131 Notification of reasons for refusal

Free format text: JAPANESE INTERMEDIATE CODE: A131

Effective date: 20121002

A521 Request for written amendment filed

Free format text: JAPANESE INTERMEDIATE CODE: A523

Effective date: 20121107

TRDD Decision of grant or rejection written
A01 Written decision to grant a patent or to grant a registration (utility model)

Free format text: JAPANESE INTERMEDIATE CODE: A01

Effective date: 20121204

A61 First payment of annual fees (during grant procedure)

Free format text: JAPANESE INTERMEDIATE CODE: A61

Effective date: 20121225

R150 Certificate of patent or registration of utility model

Ref document number: 5171438

Country of ref document: JP

Free format text: JAPANESE INTERMEDIATE CODE: R150

R250 Receipt of annual fees

Free format text: JAPANESE INTERMEDIATE CODE: R250

R250 Receipt of annual fees

Free format text: JAPANESE INTERMEDIATE CODE: R250

R250 Receipt of annual fees

Free format text: JAPANESE INTERMEDIATE CODE: R250

R250 Receipt of annual fees

Free format text: JAPANESE INTERMEDIATE CODE: R250

R250 Receipt of annual fees

Free format text: JAPANESE INTERMEDIATE CODE: R250

R250 Receipt of annual fees

Free format text: JAPANESE INTERMEDIATE CODE: R250

S111 Request for change of ownership or part of ownership

Free format text: JAPANESE INTERMEDIATE CODE: R313111

R360 Written notification for declining of transfer of rights

Free format text: JAPANESE INTERMEDIATE CODE: R360

R360 Written notification for declining of transfer of rights

Free format text: JAPANESE INTERMEDIATE CODE: R360

R371 Transfer withdrawn

Free format text: JAPANESE INTERMEDIATE CODE: R371

R250 Receipt of annual fees

Free format text: JAPANESE INTERMEDIATE CODE: R250

R250 Receipt of annual fees

Free format text: JAPANESE INTERMEDIATE CODE: R250

R250 Receipt of annual fees

Free format text: JAPANESE INTERMEDIATE CODE: R250

R250 Receipt of annual fees

Free format text: JAPANESE INTERMEDIATE CODE: R250

R250 Receipt of annual fees

Free format text: JAPANESE INTERMEDIATE CODE: R250