JP2010013871A - 建築物 - Google Patents

建築物 Download PDF

Info

Publication number
JP2010013871A
JP2010013871A JP2008176014A JP2008176014A JP2010013871A JP 2010013871 A JP2010013871 A JP 2010013871A JP 2008176014 A JP2008176014 A JP 2008176014A JP 2008176014 A JP2008176014 A JP 2008176014A JP 2010013871 A JP2010013871 A JP 2010013871A
Authority
JP
Japan
Prior art keywords
brace
layer
reinforcing frame
building
frame
Prior art date
Legal status (The legal status is an assumption and is not a legal conclusion. Google has not performed a legal analysis and makes no representation as to the accuracy of the status listed.)
Granted
Application number
JP2008176014A
Other languages
English (en)
Other versions
JP5379414B2 (ja
Inventor
Soichiro Kushima
壮一郎 九嶋
Takashi Kono
隆史 河野
Kazuhiro Saburi
和宏 佐分利
Hitoshi Matsushita
仁士 松下
Current Assignee (The listed assignees may be inaccurate. Google has not performed a legal analysis and makes no representation or warranty as to the accuracy of the list.)
Takenaka Komuten Co Ltd
Original Assignee
Takenaka Komuten Co Ltd
Priority date (The priority date is an assumption and is not a legal conclusion. Google has not performed a legal analysis and makes no representation as to the accuracy of the date listed.)
Filing date
Publication date
Application filed by Takenaka Komuten Co Ltd filed Critical Takenaka Komuten Co Ltd
Priority to JP2008176014A priority Critical patent/JP5379414B2/ja
Publication of JP2010013871A publication Critical patent/JP2010013871A/ja
Application granted granted Critical
Publication of JP5379414B2 publication Critical patent/JP5379414B2/ja
Active legal-status Critical Current
Anticipated expiration legal-status Critical

Links

Images

Landscapes

  • Joining Of Building Structures In Genera (AREA)

Abstract

【課題】ブレースによる補強が十分出来ながら、大きな開口部を確保できる建築物を得る。
【解決手段】複層ブレース3は、下端部を梁2の両端夫々に連結すると共に、上端部を梁2の長さ方向の中間部で連結する逆Vの字型ブレースであって、隣接するブレース補強架構面4どうし間で、一方のブレース補強架構面4が他方のブレース補強架構面4に対して、上端と下端が共に高い位置または低い位置に位置ずれさせてある。
【効果】ブレース補強架構面に複層ブレースに干渉されない大きな開口部を形成することが出来、地震時に複層ブレースを設けたブレース補強架構面の柱の上下中間部に、曲げ力が作用する高次の振動モードが発生しても、建物奥行き方向又は横方向に隣接する他のブレース補強架構面により耐力が補われる。
【選択図】図1

Description

本発明は、柱と梁とブレースとで構成される建築物に関する。
従来の柱と梁とで囲まれる架構面のブレースによる補強構造は、単層階に亘る単層ブレースを各階夫々に設けたり、複数階に亘る複層ブレースを複数設けたりする設計が考えられていた(例えば特許文献1参照)。
特開平11−217953号公報
前記ブレースとしては、一般的に上側の梁の両端から下側の梁の両端にかけて夫々対角線上に架け渡すX型か、上端部を梁の両端夫々に連結すると共に、下端部を梁の長さ方向の中間部に連結するVの字型か、下端部を前記梁の両端夫々に連結すると共に、上端部を前記梁の長さ方向の中間部で連結する逆Vの字型が有る。その中でも柱と梁とで囲まれる壁内に、出来るだけ大きな出入り口や採光のための窓等を形成するには、前記逆Vの字型のブレースを設けるのが良いと考えられる。
しかも、図5に示す前記単層ブレース6に比べて、図6に示す複層ブレース3では、少なくとも1階部分において大きな開口7(大きな幅、大きな高さ)を形成し易い。
しかし、複層ブレース3を設けたブレース補強架構では、地震動などの振動が作用する時に、例えば、図7に示すように、複層ブレース3を設けた柱1と梁2とで囲まれるブレース補強架構面の中で、中間階の梁2が連結する柱1の上下中間部が曲がろうとする高次の振動モード(図7の仮想線で示した)が発生すると、単層ブレース6を各階に設けた架構よりも耐力並びに剛性が低くなる。
そこで、複層ブレース3を設けた柱1と梁2とで囲まれるブレース補強架構面が、併設する柱1間で上下方向に重なるように、複数の複層ブレース3の下端部と上端部を、夫々各階に連結する構造を取ることが考えられている。しかし、この場合は、高次の振動モードに対する耐力を強化できるが、やはり大きな開口部を設けることが出来なくなる。
本発明の目的は、ブレースによる補強が十分出来ながら、大きな開口部を確保でき建築物を得ることを目的とする。
本発明の第1特徴構成は、柱と梁とブレースとで構成される建築物であって、
前記ブレースを設けるに、複数階に亘る複層ブレースとその複層ブレースを架け渡した前記柱と梁とで囲まれるブレース補強架構面の複数が、併設する前記柱間では重ならず、建物奥行き方向視又は横方向視の少なくとも一方で高さ方向に部分的に重なりあって、且つ、夫々の上端と下端の少なくとも一方を高さ方向に位置ずれさせて取り付けてあることにある。
〔作用及び効果〕
本構成によればブレース補強架構面の複数が、併設する柱間では重ならないので、ブレース補強架構面に複層ブレースに干渉されない大きな開口部を形成することが出来る。その上、ブレース補強架構面が、建物奥行き方向視又は横方向視の少なくとも一方で高さ方向に部分的に重なり合って、且つ、夫々の上端と下端の少なくとも一方を高さ方向に位置ずれさせて取付けることにより、地震時に複層ブレースを設けたブレース補強架構面の柱の上下中間部に、曲げ力が作用する高次の振動モードが発生しても、建物奥行き方向又は横方向に隣接する他のブレース補強架構面により建築物全体の耐力が補われ、全体として、地震に対する耐震強度を上げるべくブレース補強を有効にしながら、近年、特に高齢者や障害者の移動等の促進のための開口部を大きくする設計、又は改築の自由度が上がるようになった。
本発明の第2特徴構成は、前記複層ブレースは、その長さ方向の中間部で前記梁と交差する箇所を、夫々前記梁と一体に連結してあることにある。
〔作用及び効果〕
前記複層ブレースの長さ方向の中間部が、交差する梁と一体に連結されることによって、連結しない構造に比べて高次振動モード時に発生するブレース補強架構面の柱に作用する曲げ力に、より対抗することが出来る。
本発明の第3特徴構成は前記複層ブレースは、下端部を前記梁の両端夫々に連結すると共に、上端部を前記梁の長さ方向の中間部で連結する逆Vの字型ブレースであって、隣接する前記ブレース補強架構面どうし間で、一方の前記ブレース補強架構面が他方の前記ブレース補強架構面に対して、上端と下端が共に高い位置または低い位置に位置ずれさせてあることにある。
〔作用及び効果〕
前記複層ブレースの中でも逆Vの字型ブレースによって、左右両横方向の外力が作用してもブレースの軸力強度により対抗できながら、逆Vの字の内方に大きな開口が形成でき、しかも、ブレース補強架構面どうしで、一方のブレース補強架構面が他方のブレース補強架構面に対して、上端と下端とを共に高い位置又は低い位置に位置ずれさせることにより、夫々の複層ブレースにより補強されたブレース補強架構面の柱の上下中間部に、隣接するブレース補強架構面の複層ブレースの上端又は下端が位置する。このために、前述のように複層ブレースの弱点となる上下中間位置の柱部分に曲げ力が作用しても、隣接する複層ブレースにより補強でき、結果として、建物全体の耐力を上げることが出来た。
本発明の第4特徴構成は、複数の前記柱と複数の前記梁とを設けた一つの大架構面内で、横方向に並ぶ前記複数のブレース補強架構面が互いに上下に位置ずれさせてあって、前記ブレース補強架構面の複層ブレースの横に、単層階に亘る単層ブレースを配設してあることにある。
〔作用及び効果〕
前記複層ブレースの横に単層ブレースを配置することにより、複層ブレースにより補強されるブレース補強架構面の柱上下中間部に作用する曲げ力を、単層ブレースが受け止め、広い開口部を確保できながら、建物の耐震補強も出来るようになった。
以下に本発明の実施の形態を図面に基づいて説明する。
〔第1実施形態〕
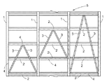
図1に示すように、本実施形態の建築物は、併設する複数の柱1を設けると共に、その複数の柱1間に亘る梁2を上下複数階夫々に設け、柱1と梁2とで囲まれた空間内にブレースを設けて耐震補強するものである。具体的には、複数階に亘るブレースの下端部を梁2の両端部に夫々連結すると共に、上端部を梁2の長さ方向の中間部に連結し、複数階に亘り架け渡した逆Vの字型の複層ブレース3に形成してある。その複層ブレース3を複数設けて全体を耐震補強の建築物としてある。
それらの複層ブレース3は、その長さ方向の中間部で中間階の梁2と交差する箇所を、夫々梁2と一体に連結してある。これにより、外力の作用に基づく複層ブレース3の軸力方向に働く力の一部を、中間階の梁2を介して柱1に伝達できるようにしてある。
前記複層ブレース3は、その複層ブレース3を架け渡した柱1と梁2とで囲まれるブレース補強架構面4の複数が、併設する柱1間では重ならず、横に隣接するブレース補強架構面4どうしが、建物横方向視で高さ方向に部分的に重なりあって、且つ、夫々の上端と下端の少なくとも一方を高さ方向に位置ずれするように取り付けてある。このため、地震動に基づく高次の振動モード即ち、複層ブレース3を設けた柱1と梁2で囲まれたブレース補強架構面4の中間階で柱1の上下中間に作用する横曲げ力が作用しても、上下中間階での柱1が曲げ変形するのを防止することができる。
また、前記複層ブレース3は、逆Vの字型の形状故に、その内方に出入り口や採光窓などの広い開口7を複数設けることができる。従って、採光や新築時の平面計画の他、リフォームやリノベーションなどの際の間取りの変更に自由度が増す。
〔第2実施形態〕
図2に示すように、複数の柱1と複数の梁2とを設けた一つの大架構面5内には、逆Vの字型の複層ブレース3を、横に隣接するものどうしの間で、一方の前記ブレース補強架構面4が他方の前記ブレース補強架構面4に対して、上端と下端が共に高い位置または低い位置に位置ずれさせて取付けてあると共に、ブレース補強架構面4の複層ブレース3の横に、単層階に亘る単層ブレース6を配設してあってもよい。
〔第3実施形態〕
図3に示すように、複層ブレース3は、2層階に亘って設けるもの以外に、3層以上の複層階に亘って設けてもよい。その場合も、複層階の中間階に併設するブレースの下端又は上端が梁2に連結するように上下位置をずらせて、全体として耐震補強するのが好ましい。
〔第4実施形態〕
図4に示すように、上下高さ方向に位置ずれさせる複層ブレース3のブレース補強架構面4は、併設する柱1間で重ならなければよく、建物の奥行き方向に分散させて配置してあっても、本願の目的を果たす耐震補強効果が期待できる。
本発明の建築物の架構構造を示す概略正面図 別実施形態の架構構造を示す概略正面図 別実施形態の架構構造を示す概略正面図 別実施形態の架構構造を示す概略斜視図 従来の単層ブレースを設けた架構構造の一部を示す概略正面図 従来の複層ブレースを設けた架構構造の一部を示す概略正面図 複層ブレースを設けた架構の概略作用図
符号の説明
1 柱
2 梁
3 複層ブレース
4 ブレース補強架構面
5 大架構面

Claims (4)

  1. 柱と梁とブレースとで構成される建築物であって、
    前記ブレースを設けるに、複数階に亘る複層ブレースとその複層ブレースを架け渡した前記柱と梁とで囲まれるブレース補強架構面の複数が、併設する前記柱間では重ならず、建物奥行き方向視又は横方向視の少なくとも一方で高さ方向に部分的に重なりあって、且つ、夫々の上端と下端の少なくとも一方を高さ方向に位置ずれさせて取り付けてある建築物。
  2. 前記複層ブレースは、その長さ方向の中間部で前記梁と交差する箇所を、夫々前記梁と一体に連結してある請求項1記載の建築物。
  3. 前記複層ブレースは、下端部を前記梁の両端夫々に連結すると共に、上端部を前記梁の長さ方向の中間部で連結する逆Vの字型ブレースであって、隣接する前記ブレース補強架構面どうし間で、一方の前記ブレース補強架構面が他方の前記ブレース補強架構面に対して、上端と下端が共に高い位置または低い位置に位置ずれさせてある請求項1又は2記載の建築物。
  4. 複数の前記柱と複数の前記梁とを設けた一つの大架構面内で、横方向に並ぶ前記複数のブレース補強架構面が互いに上下に位置ずれさせてあって、前記ブレース補強架構面の複層ブレースの横に、単層階に亘る単層ブレースを配設してある請求項1〜3のいずれかに記載の建築物。
JP2008176014A 2008-07-04 2008-07-04 建築物 Active JP5379414B2 (ja)

Priority Applications (1)

Application Number Priority Date Filing Date Title
JP2008176014A JP5379414B2 (ja) 2008-07-04 2008-07-04 建築物

Applications Claiming Priority (1)

Application Number Priority Date Filing Date Title
JP2008176014A JP5379414B2 (ja) 2008-07-04 2008-07-04 建築物

Publications (2)

Publication Number Publication Date
JP2010013871A true JP2010013871A (ja) 2010-01-21
JP5379414B2 JP5379414B2 (ja) 2013-12-25

Family

ID=41700213

Family Applications (1)

Application Number Title Priority Date Filing Date
JP2008176014A Active JP5379414B2 (ja) 2008-07-04 2008-07-04 建築物

Country Status (1)

Country Link
JP (1) JP5379414B2 (ja)

Cited By (1)

* Cited by examiner, † Cited by third party
Publication number Priority date Publication date Assignee Title
KR101909096B1 (ko) * 2018-03-06 2018-10-17 (주)한국방재기술 벽식 아파트 철골 프레임 시스템 보강공법

Citations (2)

* Cited by examiner, † Cited by third party
Publication number Priority date Publication date Assignee Title
JPH0510051A (ja) * 1991-07-01 1993-01-19 Ohbayashi Corp 制振機能を持つ偏心ブレース構造
JPH11256869A (ja) * 1998-03-06 1999-09-21 Kajima Corp 制震構造物

Patent Citations (2)

* Cited by examiner, † Cited by third party
Publication number Priority date Publication date Assignee Title
JPH0510051A (ja) * 1991-07-01 1993-01-19 Ohbayashi Corp 制振機能を持つ偏心ブレース構造
JPH11256869A (ja) * 1998-03-06 1999-09-21 Kajima Corp 制震構造物

Non-Patent Citations (1)

* Cited by examiner, † Cited by third party
Title
JPN6012065956; 古橋剛、光阪勇治、安川勝: '東京逓信病院管理棟 2層制震ブレース構法による制震改修' structure 第85号, 200301, 22頁-23頁, 社団法人 日本建築構造技術者協会 *

Cited By (1)

* Cited by examiner, † Cited by third party
Publication number Priority date Publication date Assignee Title
KR101909096B1 (ko) * 2018-03-06 2018-10-17 (주)한국방재기술 벽식 아파트 철골 프레임 시스템 보강공법

Also Published As

Publication number Publication date
JP5379414B2 (ja) 2013-12-25

Similar Documents

Publication Publication Date Title
JP4247496B2 (ja) 耐震補強構造
JP4105191B2 (ja) 柱・梁架構
JP5379414B2 (ja) 建築物
JP2013189802A (ja) 既存建物の耐震補強構造
JP5940416B2 (ja) 建物
JP2008208612A (ja) 外部耐震補強構造
JP5503200B2 (ja) ユニット建物
JP3211098U (ja) 既設鉄骨建築物における耐震補強構造体
JP6951851B2 (ja) 高層耐震建物
JP5378242B2 (ja) 建物の架構構造
JP2011149229A (ja) 構造体、耐震補強方法
JP3951054B2 (ja) 開口付き耐震壁
JP4800166B2 (ja) 集合住宅
JP6184338B2 (ja) 最上階側架構と下層階架構とが互いに異なる建物
JP4595880B2 (ja) 建物ユニット及びこれを用いたユニット建物
JP4220938B2 (ja) 既設建物の補強構造
JP5806843B2 (ja) 建物の耐震構造及び建物
JP5001775B2 (ja) 建物ユニット
JP2014231700A (ja) 建物の耐震面補強構造
JP7379800B2 (ja) 建物
JP7281165B2 (ja) 柱梁架構および骨組
JP2024155179A (ja) 建築物の設計方法
JP2011127405A (ja) 建築物の補強構造
JP3679748B2 (ja) 木構造における耐震性フレーム
JP2013249726A (ja) 既設鉄骨建築物における耐震補強構造体等

Legal Events

Date Code Title Description
A621 Written request for application examination

Free format text: JAPANESE INTERMEDIATE CODE: A621

Effective date: 20110624

A977 Report on retrieval

Free format text: JAPANESE INTERMEDIATE CODE: A971007

Effective date: 20121031

A131 Notification of reasons for refusal

Free format text: JAPANESE INTERMEDIATE CODE: A131

Effective date: 20121220

A521 Written amendment

Free format text: JAPANESE INTERMEDIATE CODE: A523

Effective date: 20130214

A02 Decision of refusal

Free format text: JAPANESE INTERMEDIATE CODE: A02

Effective date: 20130404

A521 Written amendment

Free format text: JAPANESE INTERMEDIATE CODE: A523

Effective date: 20130704

A521 Written amendment

Free format text: JAPANESE INTERMEDIATE CODE: A821

Effective date: 20130704

A911 Transfer of reconsideration by examiner before appeal (zenchi)

Free format text: JAPANESE INTERMEDIATE CODE: A911

Effective date: 20130726

TRDD Decision of grant or rejection written
A01 Written decision to grant a patent or to grant a registration (utility model)

Free format text: JAPANESE INTERMEDIATE CODE: A01

Effective date: 20130905

A61 First payment of annual fees (during grant procedure)

Free format text: JAPANESE INTERMEDIATE CODE: A61

Effective date: 20130927

R150 Certificate of patent or registration of utility model

Ref document number: 5379414

Country of ref document: JP

Free format text: JAPANESE INTERMEDIATE CODE: R150

Free format text: JAPANESE INTERMEDIATE CODE: R150