JP2010010659A - 基板及び照明器具 - Google Patents

基板及び照明器具 Download PDF

Info

Publication number
JP2010010659A
JP2010010659A JP2009071276A JP2009071276A JP2010010659A JP 2010010659 A JP2010010659 A JP 2010010659A JP 2009071276 A JP2009071276 A JP 2009071276A JP 2009071276 A JP2009071276 A JP 2009071276A JP 2010010659 A JP2010010659 A JP 2010010659A
Authority
JP
Japan
Prior art keywords
substrate
main body
attachment
screw
holes
Prior art date
Legal status (The legal status is an assumption and is not a legal conclusion. Google has not performed a legal analysis and makes no representation as to the accuracy of the status listed.)
Granted
Application number
JP2009071276A
Other languages
English (en)
Other versions
JP5391767B2 (ja
Inventor
Iwatomo Moriyama
厳與 森山
Kazunari Higuchi
一斎 樋口
Sumio Hashimoto
純男 橋本
Shinichi Kamishiro
真一 神代
Current Assignee (The listed assignees may be inaccurate. Google has not performed a legal analysis and makes no representation or warranty as to the accuracy of the list.)
Toshiba Lighting and Technology Corp
Original Assignee
Toshiba Lighting and Technology Corp
Priority date (The priority date is an assumption and is not a legal conclusion. Google has not performed a legal analysis and makes no representation as to the accuracy of the date listed.)
Filing date
Publication date
Application filed by Toshiba Lighting and Technology Corp filed Critical Toshiba Lighting and Technology Corp
Priority to JP2009071276A priority Critical patent/JP5391767B2/ja
Priority to CN2013100149242A priority patent/CN103148460A/zh
Priority to CN2009101430538A priority patent/CN101592323B/zh
Priority to EP09007089A priority patent/EP2128519A3/en
Priority to US12/473,447 priority patent/US8556460B2/en
Publication of JP2010010659A publication Critical patent/JP2010010659A/ja
Priority to US13/590,804 priority patent/US8545051B2/en
Priority to US13/665,227 priority patent/US8668355B2/en
Application granted granted Critical
Publication of JP5391767B2 publication Critical patent/JP5391767B2/ja
Priority to US14/158,246 priority patent/US9410685B2/en
Priority to US14/158,207 priority patent/US9303855B2/en
Priority to US14/158,144 priority patent/US9279575B2/en
Expired - Fee Related legal-status Critical Current
Anticipated expiration legal-status Critical

Links

Images

Classifications

    • FMECHANICAL ENGINEERING; LIGHTING; HEATING; WEAPONS; BLASTING
    • F21LIGHTING
    • F21VFUNCTIONAL FEATURES OR DETAILS OF LIGHTING DEVICES OR SYSTEMS THEREOF; STRUCTURAL COMBINATIONS OF LIGHTING DEVICES WITH OTHER ARTICLES, NOT OTHERWISE PROVIDED FOR
    • F21V29/00Protecting lighting devices from thermal damage; Cooling or heating arrangements specially adapted for lighting devices or systems
    • FMECHANICAL ENGINEERING; LIGHTING; HEATING; WEAPONS; BLASTING
    • F21LIGHTING
    • F21SNON-PORTABLE LIGHTING DEVICES; SYSTEMS THEREOF; VEHICLE LIGHTING DEVICES SPECIALLY ADAPTED FOR VEHICLE EXTERIORS
    • F21S8/00Lighting devices intended for fixed installation
    • F21S8/02Lighting devices intended for fixed installation of recess-mounted type, e.g. downlighters
    • F21S8/026Lighting devices intended for fixed installation of recess-mounted type, e.g. downlighters intended to be recessed in a ceiling or like overhead structure, e.g. suspended ceiling
    • FMECHANICAL ENGINEERING; LIGHTING; HEATING; WEAPONS; BLASTING
    • F21LIGHTING
    • F21VFUNCTIONAL FEATURES OR DETAILS OF LIGHTING DEVICES OR SYSTEMS THEREOF; STRUCTURAL COMBINATIONS OF LIGHTING DEVICES WITH OTHER ARTICLES, NOT OTHERWISE PROVIDED FOR
    • F21V19/00Fastening of light sources or lamp holders
    • F21V19/001Fastening of light sources or lamp holders the light sources being semiconductors devices, e.g. LEDs
    • F21V19/003Fastening of light source holders, e.g. of circuit boards or substrates holding light sources
    • F21V19/0055Fastening of light source holders, e.g. of circuit boards or substrates holding light sources by screwing
    • FMECHANICAL ENGINEERING; LIGHTING; HEATING; WEAPONS; BLASTING
    • F21LIGHTING
    • F21VFUNCTIONAL FEATURES OR DETAILS OF LIGHTING DEVICES OR SYSTEMS THEREOF; STRUCTURAL COMBINATIONS OF LIGHTING DEVICES WITH OTHER ARTICLES, NOT OTHERWISE PROVIDED FOR
    • F21V21/00Supporting, suspending, or attaching arrangements for lighting devices; Hand grips
    • FMECHANICAL ENGINEERING; LIGHTING; HEATING; WEAPONS; BLASTING
    • F21LIGHTING
    • F21VFUNCTIONAL FEATURES OR DETAILS OF LIGHTING DEVICES OR SYSTEMS THEREOF; STRUCTURAL COMBINATIONS OF LIGHTING DEVICES WITH OTHER ARTICLES, NOT OTHERWISE PROVIDED FOR
    • F21V29/00Protecting lighting devices from thermal damage; Cooling or heating arrangements specially adapted for lighting devices or systems
    • F21V29/50Cooling arrangements
    • FMECHANICAL ENGINEERING; LIGHTING; HEATING; WEAPONS; BLASTING
    • F21LIGHTING
    • F21VFUNCTIONAL FEATURES OR DETAILS OF LIGHTING DEVICES OR SYSTEMS THEREOF; STRUCTURAL COMBINATIONS OF LIGHTING DEVICES WITH OTHER ARTICLES, NOT OTHERWISE PROVIDED FOR
    • F21V29/00Protecting lighting devices from thermal damage; Cooling or heating arrangements specially adapted for lighting devices or systems
    • F21V29/50Cooling arrangements
    • F21V29/70Cooling arrangements characterised by passive heat-dissipating elements, e.g. heat-sinks
    • F21V29/74Cooling arrangements characterised by passive heat-dissipating elements, e.g. heat-sinks with fins or blades
    • HELECTRICITY
    • H05ELECTRIC TECHNIQUES NOT OTHERWISE PROVIDED FOR
    • H05KPRINTED CIRCUITS; CASINGS OR CONSTRUCTIONAL DETAILS OF ELECTRIC APPARATUS; MANUFACTURE OF ASSEMBLAGES OF ELECTRICAL COMPONENTS
    • H05K1/00Printed circuits
    • H05K1/02Details
    • H05K1/0271Arrangements for reducing stress or warp in rigid printed circuit boards, e.g. caused by loads, vibrations or differences in thermal expansion
    • FMECHANICAL ENGINEERING; LIGHTING; HEATING; WEAPONS; BLASTING
    • F21LIGHTING
    • F21VFUNCTIONAL FEATURES OR DETAILS OF LIGHTING DEVICES OR SYSTEMS THEREOF; STRUCTURAL COMBINATIONS OF LIGHTING DEVICES WITH OTHER ARTICLES, NOT OTHERWISE PROVIDED FOR
    • F21V17/00Fastening of component parts of lighting devices, e.g. shades, globes, refractors, reflectors, filters, screens, grids or protective cages
    • F21V17/10Fastening of component parts of lighting devices, e.g. shades, globes, refractors, reflectors, filters, screens, grids or protective cages characterised by specific fastening means or way of fastening
    • F21V17/12Fastening of component parts of lighting devices, e.g. shades, globes, refractors, reflectors, filters, screens, grids or protective cages characterised by specific fastening means or way of fastening by screwing
    • FMECHANICAL ENGINEERING; LIGHTING; HEATING; WEAPONS; BLASTING
    • F21LIGHTING
    • F21VFUNCTIONAL FEATURES OR DETAILS OF LIGHTING DEVICES OR SYSTEMS THEREOF; STRUCTURAL COMBINATIONS OF LIGHTING DEVICES WITH OTHER ARTICLES, NOT OTHERWISE PROVIDED FOR
    • F21V19/00Fastening of light sources or lamp holders
    • F21V19/001Fastening of light sources or lamp holders the light sources being semiconductors devices, e.g. LEDs
    • F21V19/003Fastening of light source holders, e.g. of circuit boards or substrates holding light sources
    • F21V19/0035Fastening of light source holders, e.g. of circuit boards or substrates holding light sources the fastening means being capable of simultaneously attaching of an other part, e.g. a housing portion or an optical component
    • FMECHANICAL ENGINEERING; LIGHTING; HEATING; WEAPONS; BLASTING
    • F21LIGHTING
    • F21YINDEXING SCHEME ASSOCIATED WITH SUBCLASSES F21K, F21L, F21S and F21V, RELATING TO THE FORM OR THE KIND OF THE LIGHT SOURCES OR OF THE COLOUR OF THE LIGHT EMITTED
    • F21Y2115/00Light-generating elements of semiconductor light sources
    • F21Y2115/10Light-emitting diodes [LED]
    • HELECTRICITY
    • H05ELECTRIC TECHNIQUES NOT OTHERWISE PROVIDED FOR
    • H05KPRINTED CIRCUITS; CASINGS OR CONSTRUCTIONAL DETAILS OF ELECTRIC APPARATUS; MANUFACTURE OF ASSEMBLAGES OF ELECTRICAL COMPONENTS
    • H05K1/00Printed circuits
    • H05K1/02Details
    • H05K1/0201Thermal arrangements, e.g. for cooling, heating or preventing overheating
    • H05K1/0203Cooling of mounted components
    • H05K1/0204Cooling of mounted components using means for thermal conduction connection in the thickness direction of the substrate
    • H05K1/0206Cooling of mounted components using means for thermal conduction connection in the thickness direction of the substrate by printed thermal vias
    • HELECTRICITY
    • H05ELECTRIC TECHNIQUES NOT OTHERWISE PROVIDED FOR
    • H05KPRINTED CIRCUITS; CASINGS OR CONSTRUCTIONAL DETAILS OF ELECTRIC APPARATUS; MANUFACTURE OF ASSEMBLAGES OF ELECTRICAL COMPONENTS
    • H05K2201/00Indexing scheme relating to printed circuits covered by H05K1/00
    • H05K2201/09Shape and layout
    • H05K2201/09009Substrate related
    • H05K2201/09063Holes or slots in insulating substrate not used for electrical connections
    • HELECTRICITY
    • H05ELECTRIC TECHNIQUES NOT OTHERWISE PROVIDED FOR
    • H05KPRINTED CIRCUITS; CASINGS OR CONSTRUCTIONAL DETAILS OF ELECTRIC APPARATUS; MANUFACTURE OF ASSEMBLAGES OF ELECTRICAL COMPONENTS
    • H05K2201/00Indexing scheme relating to printed circuits covered by H05K1/00
    • H05K2201/10Details of components or other objects attached to or integrated in a printed circuit board
    • H05K2201/10007Types of components
    • H05K2201/10106Light emitting diode [LED]
    • HELECTRICITY
    • H05ELECTRIC TECHNIQUES NOT OTHERWISE PROVIDED FOR
    • H05KPRINTED CIRCUITS; CASINGS OR CONSTRUCTIONAL DETAILS OF ELECTRIC APPARATUS; MANUFACTURE OF ASSEMBLAGES OF ELECTRICAL COMPONENTS
    • H05K2201/00Indexing scheme relating to printed circuits covered by H05K1/00
    • H05K2201/10Details of components or other objects attached to or integrated in a printed circuit board
    • H05K2201/10227Other objects, e.g. metallic pieces
    • H05K2201/10409Screws
    • HELECTRICITY
    • H05ELECTRIC TECHNIQUES NOT OTHERWISE PROVIDED FOR
    • H05KPRINTED CIRCUITS; CASINGS OR CONSTRUCTIONAL DETAILS OF ELECTRIC APPARATUS; MANUFACTURE OF ASSEMBLAGES OF ELECTRICAL COMPONENTS
    • H05K2201/00Indexing scheme relating to printed circuits covered by H05K1/00
    • H05K2201/10Details of components or other objects attached to or integrated in a printed circuit board
    • H05K2201/10431Details of mounted components
    • H05K2201/10598Means for fastening a component, a casing or a heat sink whereby a pressure is exerted on the component towards the PCB

Landscapes

  • Engineering & Computer Science (AREA)
  • General Engineering & Computer Science (AREA)
  • Microelectronics & Electronic Packaging (AREA)
  • Non-Portable Lighting Devices Or Systems Thereof (AREA)
  • Led Device Packages (AREA)
  • Arrangement Of Elements, Cooling, Sealing, Or The Like Of Lighting Devices (AREA)
  • Fastening Of Light Sources Or Lamp Holders (AREA)

Abstract

【課題】取付部材への取付け状態を安定に保ち、変形を抑制することができる基板及びその基板を用いた照明器具を提供することを目的とする。
【解決手段】本発明は、熱伝導性の本体2と、この本体2に複数の固定手段11、12によって取付けられ、この固定手段11、12間を結ぶ直線上であって、当該直線と直交する方向に形成された熱膨張吸収手段としてのスリット4sを有する複数の発光素子10が配設された基板4とを具備する照明器具である。
【選択図】図2

Description

本発明は、LED等の発光素子を用いた照明器具に適する基板及びその基板を用いた照明器具に関する。
近年、LED等の発光素子を基板に配設し、光源として用いる照明器具が開発されており、この種、照明器具においては、基板を器具本体に取付けるに際し、取付け状態の安定性を保ち、また、器具本体への密着性を良好にするため、基板の複数個所をねじ等を用いて器具本体に固定することが行われている。一方、このような場合、発光素子は使用中に熱が発生し、その点灯、消灯により、基板は、熱を受け、また、冷却され、これらのヒートサイクルで膨張、収縮を繰り返し、応力を受ける環境下にある。したがって、基板に反りや変形が生じ、半田部分にクラックが生じる等の不具合を含んでいる。
ところで、薄型化された半導体パッケージに、ソリが発生したり強度不足による破損や実装不良が発生したりすることを防止するために、半導体パッケージを形成する際、基板上における複数の半導体素子が実装される面に、複数の半導体素子を取り囲むように補強部材を配置し、この補強部材を半導体素子とともに封止部材で封止するものが提案されている(特許文献1、図4参照)。
特開2006−228932号公報(図4)
しかしながら、特許文献1に示されたものでは、基板、補強部材及び封止部材の線膨張率が異なると、却って、基板に反りや変形を生じることとなり、これら材料の選択が複雑となる課題が存在する。また、複数の半導体素子を取り囲むような補強部材を別部材として用意しなければならず、その製造工程も煩雑となる問題もある。
本発明は、上記事情に基づきなされたもので、取付部材への取付け状態を安定に保ち、変形を抑制することができる基板及びその基板を用いた照明器具を提供することを目的とする。
請求項1に記載の基板は、複数の実装された発光素子と;取付部材に取付けるための複数の取付部位と;この取付部位間を結ぶ直線上に配設された熱膨張吸収手段と;を具備することを特徴とする。
本発明及び以下の発明において、特に指定しない限り用語の定義及び技術的意味は次による。発光素子とは、LEDや有機EL等の固体発光素子である。発光素子の実装は、チップ・オン・ボード方式や表面実装方式によって実装するのが好ましいが、本発明の性質上、実装方式は特に限定されない。また、発光素子の実装個数には特段制限はない。取付部材とは、基板が取付けられる部材をいい、いわゆる本体、ケースあるいはカバー、放熱部材等と指称されるものを含む。熱膨張吸収手段は、複数の取付部位間の全てに設ける必要はなく、熱膨張吸収作用との関係で、取付部位間の全てに設けるか、又は部分的に設けるかは、設計上、適宜選択すればよい。また、熱膨張吸収手段は、例えば、基板に形成したスリット等の開口部であってもよいし、基板の一部の材質を弾性体等の別部材で形成したものでもよい。
請求項2に記載の照明器具は、本体と;この本体に取付けられる請求項1に記載の基板と;を具備することを特徴とする。本体とは、いわゆる本体、ケースあるいはカバー等と指称されるものを含む。要は、基板が取付けられる器具側の手段を意味する。
請求項3に記載の照明器具は、熱伝導性の本体と;この本体に複数の固定手段によって取付けられ、この固定手段間を結ぶ直線上であって、当該直線と直交する方向に形成されたスリットを有する複数の発光素子が配設された基板と;を具備することを特徴とする。
請求項1に記載の発明によれば、取付け状態を安定に保ち、また、取付部材への密着性を良好にすることができ、さらに、変形を抑制でき、半田部分にクラック等が生じることを軽減できる基板を提供できる。
請求項2に記載の発明によれば、前記基板の効果を奏する照明器具を提供できる。
請求項3に記載の発明によれば、基板の取付け状態を安定に保ち、また、熱伝導性の本体への密着性を良好にすることができ、さらに、基板の変形を抑制できるので、基板の本体への密着性を維持することが可能となる。したがって、放熱が効果的に行え、基板の半田部分にクラック等が生じることを軽減できる照明器具を提供することができる。
本発明の実施形態に係る照明器具を示す斜視図である。 同基板を示す平面図である。 同反射体を示す平面図である。 図3のA−A線に沿う断面図である。 基板の取付け状態を示す要部の断面図である。 本発明の第2の実施形態に係る基板を示す平面図である。 本発明の第3の実施形態に係る基板を示す平面図である。 本発明の第4の実施形態に係る基板を示す平面図である。 本発明の第5の実施形態に係る基板を示す平面図である。 本発明の第6の実施形態に係る基板を示す平面図である。 同基板を示す部分拡大断面図である。
以下、本発明の第1の実施形態に係る基板及び照明器具について図1乃至図5を参照して説明する。図1は、照明器具を示す斜視図、図2は、基板を示す平面図、図3は、反射体を示す平面図、図4は、図3のA−A線に沿う断面図、図5は、基板の取付け状態を示す要部の断面図である。
図1において、照明器具として天井埋込形のダウンライト1を示している。ダウンライト1は、熱伝導性の筒状本体2と、この筒状本体2に取付けられた化粧枠3と、同じく筒状本体2に取付けられ、発光素子としてのLEDが実装された基板4と、筒状本体2内に収納された点灯回路装置を含む電源ユニット5と、反射体6及び反射体6の前方に配設された透光性カバー7とを備えている。また、筒状本体2の外面には、端子台8が配置されており、化粧枠3には、一対の取付け用板ばね9が装着されている。
筒状本体2は、アルミダイカスト製の熱伝導良好な材料で形成されており、その外面が白色のメラミン樹脂系塗料によって焼付塗装されている。なお、勿論、熱伝導性を担保できれば、他の材料で形成してもよい。筒状本体2には、電源ユニット5が収納されており、回路基板に制御用IC、トランス、コンデンサ等の部品を実装して構成されており、その電源ユニット5の点灯回路によって発光素子を点灯制御するものである。なお、電源ユニット5は、端子台8に電気的に接続されており、端子台8は、商用電源に接続されるようになっている。また、筒状本体2の外面には、縦方向に延びる複数の放熱フィン2cが形成されている。
化粧枠3は、ABS樹脂で略傘状に形成され、末広がり状の開口端部には、環状のフランジ3aが形成されており、他端部側は、筒状本体2に取付けられている。加えて、外周面には、一対の取付け用板ばね9が装着されている。
図2に示すように、基板4の表面側には、光源となるLED10・・・が表面実装方式で複数個、具体的には中央部に3個、その周囲部に9個の合計12個が実装されている。基板4は、絶縁材又は金属の略円形の平板からなり、取付部材としての筒状本体2へ取付けるための複数の取付部位、すなわち、中央部にねじ貫通孔4a、周囲に120度の間隔を空けて3個のねじ貫通孔4b、4c、4dが形成されている。また、中央部のねじ貫通孔4aとその周囲のねじ貫通孔4b、4c、4dとの間には、基板4の熱膨張による伸縮を吸収する熱膨張吸収手段として、中央部を中心とするなだらかな円弧状のスリット4s・・・が同心円上に形成されている。つまり、スリット4s・・・は、中央部のねじ貫通孔4aと周囲のねじ貫通孔4b、中央部のねじ貫通孔4aと周囲のねじ貫通孔4c、中央部のねじ貫通孔4aと周囲のねじ貫通孔4d、とをそれぞれ結ぶ直線上に、その直線と略直交する方向に形成されている。
なお、スリットは、周囲のねじ貫通孔4bと4c、4cと4d、4bと4dとをそれぞれ結ぶ直線上に、その直線と略直交する方向に形成してもよい。また、基板4の材料は、絶縁材とする場合には、放熱特性が比較的良好で、耐久性に優れたセラミック材料又は合成樹脂材料を適用できる。合成樹脂材料を用いる場合には、例えば、ガラスエポキシ樹脂等で形成できる。また、金属製とする場合は、アルミニウム等の熱伝導性が良好で放熱性に優れた材料を適用するのが好ましい。
以上の構成により、基板4は、詳細を後述するように、ねじ貫通孔4a、4b、4c、4dを介して固定手段により筒状本体2へ取付けられる。この取付け状態において、発光素子の点灯、消灯により、基板4は、熱を受け、また、冷却され、これらのヒートサイクルで膨張、収縮を繰り返し、応力を受ける。しかしながら、熱膨張による図示矢印方向の応力は、スリット4s・・・によって吸収することができ、この応力が基板4に作用することを軽減でき、ひいては基板4の反りや変形を抑制することができる。なお、ねじ貫通孔4aから4b、4c、4d方向以外の放射方向は、自由端になっているため、応力が作用する程度が小さい。
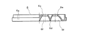
続いて、基板4の表面側には、白色のポリカーボネートやASA樹脂等によって形成された反射体6が配設されている。反射体6は、LEDから放射される光を配光制御し、効率的に照射する機能をなしている。図3及び図4に示すように、反射体6は、円板状をなし、隔壁の稜線部によって複数の投光開口6a・・・が前記基板4に実装されたLED10・・・と対向して形成されている。反射体6の外周にはリング状に外周縁部6bが形成されており、中央部から外周部、すなわち、外周縁部6bに向かって、それぞれ約120度の間隔を空けて放射状に放射状隔壁6cが形成されている。また、中央部から外周縁部6bの間には、前記放射状隔壁6cを二分するように円形状の内周隔壁6dが形成されている。さらに、各放射状隔壁6cの間に位置する内周隔壁6dの外側壁からは、外周縁部6bに向かって、それぞれ2つの分割隔壁6e・・・が延出している。
このように構成された反射体6は、各投光開口6a・・・に対応する各隔壁、すなわち、放射状隔壁6c、内周隔壁6d及び分割隔壁6e・・・が形成する反射面6f・・・が図4に示すように、略椀状となって、投光開口6a・・・から稜線部に向かって拡開しており、各投光開口6a・・・ごとに反射面6f・・・を構成している。なお、放射状隔壁6cと対向する裏面側の外周縁部6b近傍にはリブを形成して3つのねじ穴6gが形成されている。
次に、基板4の照明器具への取付けについて図5を参照して説明する。図5に示すように(図示上取付け用板ばね9は省略している。)、筒状本体2の底壁2aには、基板4の裏面側が面接触して密着するように配設されている。また、基板4の表面側には、反射体6の裏面が当接されるようにして配設されている。これら基板4及び反射体6の底壁2aへの取付けにあたっては、まず、基板4を表面側から中央部のねじ貫通孔4aを貫通し底壁2aにねじ込まれる固定手段としての取付けねじ11によって締付ける。続いて、筒状本体2の内側から固定手段としての3本の取付けねじ12(2本のみを示し、内1本を仮想線で示している。)を底壁2a、基板4のねじ貫通孔4b、4c、4dを貫通させ、反射体6の裏側から放射状隔壁6cと対向した位置のねじ穴6gにねじ込み締付ける。この場合、取付けねじ12の締付け力は、反射体6を底壁2a側へ引っ張る方向に働くので、基板4の中央部の取付けねじ11と周囲側の取付けねじ12との締付け力が協働して、基板4の底壁2aへの密着性を高めることができる。
この基板4の取付け状態では、反射体6の投光開口6a・・・は、基板4の各LED10・・・と対向配置されるようになっており、また、反射体6の裏面が基板4の表面側に押圧当接され、基板4の裏面側は筒状本体2の底壁2aに密着するようになる。また、化粧枠3は、筒状本体2に取付けねじ13によって取付けられている。そして、フランジ3aは、天井面Cの埋込み穴より大径であり、ダウンライト1が天井面Cに設置された状態で埋込み穴の周縁に下方から引っ掛かるようになっている。さらに、化粧枠3の内周側には、開口を覆うアクリル樹脂等からなる透光性のカバー7が設けられており、反射体6の前方に配設されるようになっている。なお、透光性のカバー7は、拡散性を有する部材で形成することができ、例えば、乳白色、半透明の部材で形成してもよい。
以上のような構成において、電源ユニット5に通電されると、点灯回路が動作して基板4に電力が供給され、LED10・・・が発光する。各LED10・・・から出射された光の多くは直接透光性カバー7を透過して前方に照射され、一部の光は反射体6の各反射面6f・・・に反射されて配光制御され透光性カバー7を透過して前方に照射される。一方、これに伴いLED10・・・から発生する熱は、主として基板4の裏面から筒状本体2の底壁2aへ伝わり、さらに、筒状本体2の全体へ伝導され、その伝導過程での放熱を伴いながら放熱される。ここで、基板4は、LED10・・・から発生する熱で膨張するが、この熱膨張による応力は、スリット4s・・・によって吸収することができ、基板4の反りや変形を抑制することができる。したがって、基板4の裏面側と筒状本体2の底壁2aとの密着性が保たれ、熱伝導を良好に保つことが可能となる。加えて、反射体6の裏面が基板4の表面側に押圧当接されているので、これによっても基板4の変形を抑制することができ、基板4の裏面側は筒状本体2の底壁2aに密着するよう維持される。なお、スリット4s・・・は、基板4の製造過程におけるリフロー工程においても、熱膨張による変形を抑制する機能を発揮している。
なお、本実施形態では、熱膨張吸収手段として、スリット4s・・・を形成したものについて説明したが、これに限らず、例えば、基板4に貫通孔を形成し、この貫通孔を埋めるように弾性材料を設けるように構成してもよく、したがって、熱膨張を吸収できればその構成は特段限定されるものではない。
以上のように本実施形態によれば、複数の固定手段としての取付けねじ11、12によって基板4を筒状本体2に取付けるようにしたので、基板4の取付け状態を安定に保ち、また、筒状本体2への密着性を良好にすることができ、さらに、基板4の変形を抑制できるので、基板4の筒状本体2への密着性を維持することが可能となる。したがって、放熱が効果的に行え、基板4の半田部分にクラック等が生じることを軽減できる。さらに、基板4の放熱を効果的に行うことによって、基板4全体を均熱化させることができ、点灯中の各LED10・・・の温度が一定となり、色、明るさ、寿命等のばらつきが低減される。
次に、本発明の第2の実施形態に係る基板について図6を参照して説明する。図6は、基板を示す平面図である。なお、以降第1の実施形態と同一又は相当部分には、同一符号を付し重複した説明は省略する。本実施形態では、第1の実施形態とは、基板4の筒状本体2への取付け方法が異なる。本実施形態では、基板4の表面側から取付けねじ11、12を筒状本体2側へねじ込み締付けて基板4を筒状本体2の底壁2aへ固定するものである。
本実施形態によれば、取付けねじ11と12間にスリット4s・・・が形成されているので、第1の実施形態と同様に基板4の取付け状態を安定に保ち、また、筒状本体2への密着性を良好にすることができ、基板4の変形を抑制することが可能で、基板4の筒状本体2への密着性を維持することができる。
次に、本発明の第3の実施形態に係る基板について図7を参照して説明する。図7は、基板を示す平面図である。本実施形態では、基板4の中央部にねじ貫通孔を形成しない形態である。したがって、ねじ貫通孔4b、4c、4dが形成されており、その間を結ぶ直線上に略長方形のスリット4s-3・・・を形成したものである。本実施形態によれば、第1の実施形態と同様な効果を奏することができる。
さらに、本発明の第4の実施形態に係る基板について図8を参照して説明する。図8は、基板を示す平面図である。本実施形態では、基板4の周縁部の4箇所にねじ貫通孔4b、4c、4d、4eを形成し、その間を結ぶ直線上に略長方形のスリット4s-4・・・を形成したものである。なお、ねじ貫通孔4bと4d、4cと4eを結ぶ各対角線上にスリット4s-4・・・を形成してもよい。本実施形態によれば、第1の実施形態と同様な効果を奏することができる。
次に、本発明の第5の実施形態に係る基板について図9を参照して説明する。図9は、基板を示す平面図である。本実施形態では、第1の実施形態とは、スリットの形状が異なる。スリット4s-5・・・を略円形に形成したものである。本実施形態によっても、各取付部位である中央部のねじ貫通孔4aとその周囲のねじ貫通孔4b、4c、4dとの間には、スリット4s-5・・・が形成されているので、応力を吸収することが可能で第1の実施形態と同様な効果を奏することができる。
続いて、本発明の第6の実施形態に係る基板について図10及び図11を参照して説明する。図10は、基板を示す平面図、図11は、基板の一部を拡大して模式的に示す断面図である。本実施形態では、基板4に熱膨張吸収手段として、いわゆるバイアホール4vを形成したものである。
図10に示すように、基板4には、多数の小孔からなるバイアホール4v・・・が形成されており、このバイアホール4v・・・は、少なくとも取付部位である中央部のねじ貫通孔4aとその周囲のねじ貫通孔4b、4c、4dとの間に配設されるようになっている。
図11に示すように、基板4は、ガラスエポキシ樹脂からなるベース板40、このベース板40の表面側に形成された配線パターン層41、この配線パターン層41の上に適宜施されたレジスト層及びベース板40の裏面側の一面に形成された放熱層42を備えている。配線パターン層41は、LED10・・・に電源からの電力を供給するために、銅箔等の導電性を有する材料で形成されている。ここで、具体的には、この配線パターン層41は、実際にLED10・・・等の電気部品が接続されて電力が供給され、導電する導電層41aと、電気的には接続されず、導電されない非導電層41bとから構成されている。この非導電層41bは、基板4の表面側に適宜形成され、基板4の熱を放熱し、また、基板4の面を均熱化する機能を担うものである。また、放熱層42は、銅箔等の熱伝導性の良好な材料で形成されている。
LED10・・・は、表面実装型のLEDパッケージであり、基板4の表面側にはんだ結合されている。LEDパッケージは、概略的にはセラミックスで形成された本体10aと、この本体10aに実装されたLEDチップと、このLEDチップを封止するエポキシ系樹脂やシリコーン系樹脂等のモールド用の透光性樹脂とから構成されている。この透光性樹脂には、LEDチップの発光を吸収して黄色系の光を発生する蛍光体が分散されている。また、本体10aからはLEDチップに接続された一対のアノード端子10b及びカソード端子10cが水平方向に突出しており、これらアノード端子10b及びカソード端子10cは、前記導電層41aと電気的に接続されている。
次に、本実施形態のバイアホール4v・・・は、配線パターン層41の非導電層41bから放熱層42に亘って貫通する貫通穴に銅めっき処理を施して形成されている。したがって、このバイアホール4v・・・は、基板4の表裏の層、すなわち、非導電層41bと放熱層42とを電気的に接続するものではなく、放熱、均熱化のために熱伝導的に接続されたものである。
このような構成によれば、LED10・・・から発生する熱は、配線パターン層41や放熱層42へ伝導され放熱される。また、バイアホール4v・・・によって、非導電層41bから放熱層42へ効率的に熱伝導され、放熱とともに基板4面の温度状態の差が少なくなり均熱化される。さらに、基板4は、LED10・・・から発生する熱で膨張するが、バイアホール4v・・・が取付部位である中央部のねじ貫通孔4aとその周囲のねじ貫通孔4b、4c、4dとの間に存在するので、熱膨張による応力は、バイアホール4v・・・によって吸収することができ、基板4の反りや変形を抑制することができる。なお、バイアホール4v・・・は、少なくとも取付部位間に存在するように配設すればよく、具体的な配設位置や個数は、放熱特性、熱膨張の吸収の程度を考慮して適宜選択すればよい。
以上のように本実施形態によれば、バイアホール4v・・・を形成したので、第1の実施形態の効果に加え、基板4の放熱、均熱化を促進することが可能となる。
1・・・照明器具(ダウンライト)、2・・・取付部材(本体)、4・・・基板、
4a、4b、4c、4d・・・取付部位、4s・・・熱膨張吸収手段(スリット)、
4v・・・熱膨張吸収手段(バイアホール)、10・・・発光素子(LED)、
11、12・・・固定手段(取付けねじ)

Claims (3)

  1. 複数の実装された発光素子と;
    取付部材に取付けるための複数の取付部位と;
    この取付部位間を結ぶ直線上に配設された熱膨張吸収手段と;
    を具備することを特徴とする基板。
  2. 本体と;
    この本体に取付けられる請求項1に記載の基板と;
    を具備することを特徴とする照明器具。
  3. 熱伝導性の本体と;
    この本体に複数の固定手段によって取付けられ、この固定手段間を結ぶ直線上であって、当該直線と直交する方向に形成されたスリットを有する複数の発光素子が配設された基板と;
    を具備することを特徴とする照明器具。
JP2009071276A 2008-05-30 2009-03-24 発光装置及び照明器具 Expired - Fee Related JP5391767B2 (ja)

Priority Applications (10)

Application Number Priority Date Filing Date Title
JP2009071276A JP5391767B2 (ja) 2008-05-30 2009-03-24 発光装置及び照明器具
CN2013100149242A CN103148460A (zh) 2008-05-30 2009-05-25 基板、模块基板及照明器具
CN2009101430538A CN101592323B (zh) 2008-05-30 2009-05-25 基板及照明器具
EP09007089A EP2128519A3 (en) 2008-05-30 2009-05-27 Lighting apparatus and substrate having plurality of light-emitting elements mounted thereon and incorporated in this lighting apparatus
US12/473,447 US8556460B2 (en) 2008-05-30 2009-05-28 Lighting apparatus and light-emitting element mounting substrate having stress absorbing means
US13/590,804 US8545051B2 (en) 2008-05-30 2012-08-21 Lighting apparatus with heat conductive substrate
US13/665,227 US8668355B2 (en) 2008-05-30 2012-10-31 Light emitting module having heat conductive substrate
US14/158,246 US9410685B2 (en) 2008-05-30 2014-01-17 Light emitting module having heat conductive substrate
US14/158,207 US9303855B2 (en) 2008-05-30 2014-01-17 Light emitting module having heat conductive substrate
US14/158,144 US9279575B2 (en) 2008-05-30 2014-01-17 Light emitting module having heat conductive substrate

Applications Claiming Priority (3)

Application Number Priority Date Filing Date Title
JP2008142063 2008-05-30
JP2008142063 2008-05-30
JP2009071276A JP5391767B2 (ja) 2008-05-30 2009-03-24 発光装置及び照明器具

Related Child Applications (2)

Application Number Title Priority Date Filing Date
JP2013075683A Division JP2013179052A (ja) 2008-05-30 2013-04-01 発光装置および照明器具
JP2013216460A Division JP5686266B2 (ja) 2008-05-30 2013-10-17 発光装置および照明器具

Publications (2)

Publication Number Publication Date
JP2010010659A true JP2010010659A (ja) 2010-01-14
JP5391767B2 JP5391767B2 (ja) 2014-01-15

Family

ID=40983350

Family Applications (1)

Application Number Title Priority Date Filing Date
JP2009071276A Expired - Fee Related JP5391767B2 (ja) 2008-05-30 2009-03-24 発光装置及び照明器具

Country Status (4)

Country Link
US (6) US8556460B2 (ja)
EP (1) EP2128519A3 (ja)
JP (1) JP5391767B2 (ja)
CN (2) CN101592323B (ja)

Cited By (5)

* Cited by examiner, † Cited by third party
Publication number Priority date Publication date Assignee Title
JP2012054163A (ja) * 2010-09-02 2012-03-15 Sumitomo Bakelite Co Ltd 光源装置および電子機器
JP2014091971A (ja) * 2012-11-05 2014-05-19 Hokkai Giken Kogyo Kk 屋根材押さえプレート
JP2015073131A (ja) * 2015-01-05 2015-04-16 ローム株式会社 Led発光体およびled電球
WO2017209149A1 (ja) * 2016-05-31 2017-12-07 シチズン電子株式会社 発光装置
JP2019169278A (ja) * 2018-03-22 2019-10-03 三菱電機株式会社 車載用灯具及び車載用灯具の製造方法

Families Citing this family (34)

* Cited by examiner, † Cited by third party
Publication number Priority date Publication date Assignee Title
JP5391767B2 (ja) * 2008-05-30 2014-01-15 東芝ライテック株式会社 発光装置及び照明器具
EP2302298A1 (en) * 2009-09-25 2011-03-30 Toshiba Lighting & Technology Corporation Lighting apparatus
JP5623062B2 (ja) 2009-11-13 2014-11-12 シャープ株式会社 発光装置およびその製造方法
KR20120104277A (ko) * 2009-12-04 2012-09-20 오스람 아게 공동?몰딩된 광 센서를 갖는 led 조명 모듈
DE102009047489B4 (de) * 2009-12-04 2013-07-11 Osram Gmbh Leuchtmodul
US8235549B2 (en) * 2009-12-09 2012-08-07 Tyco Electronics Corporation Solid state lighting assembly
TWD138802S1 (zh) * 2009-12-24 2011-01-21 新燈源科技有限公司 Led燈具
JP2011151268A (ja) 2010-01-22 2011-08-04 Sharp Corp 発光装置
EP2604912A4 (en) * 2010-08-09 2014-01-01 Toshiba Lighting & Technology LIGHTING EQUIPMENT
US9057811B2 (en) * 2010-09-07 2015-06-16 Nec Display Solutions, Ltd. Cooling structure for light emitting elements for liquid crystal panel
JP5582305B2 (ja) * 2010-11-18 2014-09-03 東芝ライテック株式会社 ランプ装置および照明器具
US8459846B2 (en) * 2011-03-14 2013-06-11 Artled Technology Corp. Heat-dissipating downlight lamp holder
US9863629B2 (en) * 2011-08-09 2018-01-09 Pentair Water Pool And Spa, Inc. Pendant or accent light with thermal expansion accommodation heat sink
US9004710B2 (en) * 2011-08-12 2015-04-14 Sharp Kabushiki Kaisha Illumination device, display device, television receiving device
EP2572992B1 (en) * 2011-09-26 2014-07-30 Goodrich Lighting Systems GmbH Aircraft light
JP2013131744A (ja) * 2011-11-25 2013-07-04 Citizen Electronics Co Ltd 発光素子の実装方法及び発光素子を有する発光装置
US9234647B2 (en) 2012-05-03 2016-01-12 Abl Ip Holding Llc Light engine
US20130314920A1 (en) * 2012-05-25 2013-11-28 Myung Ho Park Direct Heat Sink Technology for LEDs and Driving Circuits
WO2014007426A1 (ko) * 2012-07-04 2014-01-09 주식회사 포스코엘이디 광 반도체 조명장치
TW201411030A (zh) * 2012-09-12 2014-03-16 Apm Communication Inc 光源模組及球泡燈
JP6195747B2 (ja) * 2012-10-22 2017-09-13 株式会社小糸製作所 灯具ユニット及び車両用灯具
WO2014065099A1 (ja) * 2012-10-23 2014-05-01 オリンパス株式会社 撮像装置、内視鏡、半導体装置、及び半導体装置の製造方法
JP5979494B2 (ja) * 2012-12-20 2016-08-24 パナソニックIpマネジメント株式会社 照明装置及び発光モジュール
JP6108304B2 (ja) * 2013-03-12 2017-04-05 パナソニックIpマネジメント株式会社 照明用光源及び照明装置
US9004728B2 (en) 2013-03-15 2015-04-14 Abl Ip Holding Llc Light assembly
AT515070B1 (de) * 2013-10-30 2020-01-15 Melecs Ews Gmbh & Co Kg Verfahren zur Kontaktierung und Befestigung von keramischen Drucksensoren auf einer Leiterplatte
US9243786B1 (en) 2014-08-20 2016-01-26 Abl Ip Holding Llc Light assembly
TWM498990U (zh) * 2014-10-21 2015-04-11 Lustrous Technology Ltd 具突波保護功能的ac led模組
TWI578416B (zh) * 2015-09-18 2017-04-11 旭德科技股份有限公司 封裝載板及其製作方法
KR102417439B1 (ko) * 2015-10-20 2022-07-07 쑤저우 레킨 세미컨덕터 컴퍼니 리미티드 조명 장치
US20170175990A1 (en) * 2015-12-16 2017-06-22 Jitendra Patel Led array apparatus
USD848054S1 (en) * 2016-06-01 2019-05-07 Fuzhou F&V Photographic Equipment Co., Ltd. Spotlight
DE102016124270A1 (de) * 2016-12-13 2018-06-14 Infineon Technologies Ag Halbleiter-package und verfahren zum fertigen eines halbleiter-package
USD877956S1 (en) * 2017-09-28 2020-03-10 Hubbell Incorporated Luminaire

Citations (5)

* Cited by examiner, † Cited by third party
Publication number Priority date Publication date Assignee Title
JP2006179443A (ja) * 2004-12-20 2006-07-06 Gen Terao 放熱性に優れた照明用ledの実装基盤、及び筐体
JP2006521699A (ja) * 2003-03-28 2006-09-21 ゲルコアー リミテッド ライアビリティ カンパニー Ledパワー・パッケージ
JP2007096235A (ja) * 2005-09-30 2007-04-12 Toshiba Lighting & Technology Corp 発光装置
JP2007294847A (ja) * 2006-03-27 2007-11-08 Matsushita Electric Works Ltd 表面実装型発光装置
JP2007299679A (ja) * 2006-05-01 2007-11-15 Kokubu Denki Co Ltd 照明装置

Family Cites Families (85)

* Cited by examiner, † Cited by third party
Publication number Priority date Publication date Assignee Title
BE632250A (ja) 1962-05-21
US3539801A (en) * 1967-04-03 1970-11-10 Mitchell Bobrick Light fixture
US3566005A (en) 1969-03-04 1971-02-23 North American Rockwell Circuit board with weld locations and process for producing the circuit board
US4254453A (en) * 1978-08-25 1981-03-03 General Instrument Corporation Alpha-numeric display array and method of manufacture
US4434321A (en) 1981-02-09 1984-02-28 International Computers Limited Multilayer printed circuit boards
US4400673A (en) 1981-12-21 1983-08-23 Kiddo Consumer Durables Corporation Thermal switch housing
US4641222A (en) * 1984-05-29 1987-02-03 Motorola, Inc. Mounting system for stress relief in surface mounted components
JPH0621080A (ja) 1992-06-29 1994-01-28 Nippon Telegr & Teleph Corp <Ntt> 半導体装置の製法
US5400229A (en) * 1994-06-08 1995-03-21 Formosa Industrial Computing, Inc. Receptacle apparatus for light emitting diodes
US5519596A (en) * 1995-05-16 1996-05-21 Hewlett-Packard Company Moldable nesting frame for light emitting diode array
JPH09312357A (ja) * 1996-05-21 1997-12-02 Fuji Electric Co Ltd 半導体装置
US6095663A (en) 1997-07-02 2000-08-01 Truck-Lite Co., Inc. Combination clearance and marker light assembly
US6552658B1 (en) * 1997-10-17 2003-04-22 Truck Lite Co Light emitting diode flashing directional warning lamp
JP3591285B2 (ja) 1998-03-26 2004-11-17 松下電工株式会社 照明器具
JP2000149610A (ja) 1998-11-17 2000-05-30 Transportation Systems Electric Corp 多灯形色灯信号機
IT1308709B1 (it) 1999-02-17 2002-01-10 Velamp Sicurezza S R L Dispositivo di illuminazione
US6498708B2 (en) * 1999-05-27 2002-12-24 Emerson Electric Co. Method and apparatus for mounting printed circuit board components
US6367949B1 (en) 1999-08-04 2002-04-09 911 Emergency Products, Inc. Par 36 LED utility lamp
DE10012734C1 (de) * 2000-03-16 2001-09-27 Bjb Gmbh & Co Kg Illuminationsbausatz für Beleuchtungs-, Anzeige- oder Hinweiszwecke sowie Steckverbinder für einen solchen Illuminationsbausatz
JP2001313260A (ja) 2000-04-28 2001-11-09 Kyocera Corp 円盤状ヒータおよびウエハ処理装置
US6641284B2 (en) * 2002-02-21 2003-11-04 Whelen Engineering Company, Inc. LED light assembly
CA2373874C (en) 2002-02-28 2007-10-02 Canlyte Inc. Light fixture assembly
JP4056301B2 (ja) * 2002-06-11 2008-03-05 株式会社東海理化電機製作所 コネクタ及びコネクタの取付構造
US6840654B2 (en) 2002-11-20 2005-01-11 Acolyte Technologies Corp. LED light and reflector
CN2639704Y (zh) 2003-09-01 2004-09-08 东莞市星锐灯饰有限公司 灯具结构
US7018070B2 (en) 2003-09-12 2006-03-28 Dekko Technologies, Inc. Fluorescent lampholder with disconnectable plug on back
CN2665920Y (zh) * 2003-10-15 2004-12-22 深圳市世峰科技有限公司 散热型pcb板
US20050116235A1 (en) * 2003-12-02 2005-06-02 Schultz John C. Illumination assembly
US7281818B2 (en) 2003-12-11 2007-10-16 Dialight Corporation Light reflector device for light emitting diode (LED) array
JP4419059B2 (ja) 2004-02-12 2010-02-24 東芝ライテック株式会社 天井埋込形照明器具
US7357541B2 (en) 2004-04-05 2008-04-15 Genlyte Thomas Group, Llc Enclosure for socket cup for snap-in electrical quick connectors
US7932909B2 (en) * 2004-04-16 2011-04-26 Apple Inc. User interface for controlling three-dimensional animation of an object
DE102004028211A1 (de) * 2004-06-09 2005-12-29 Robert Bosch Gmbh Streßoptimierte Leiterplatte
DE102004042337A1 (de) 2004-09-01 2006-03-30 Innovavent Gmbh Vorrichtung und Verfahren zum Homogenisieren von Laserstrahlung sowie eine Laseranlage unter Verwendung einer solchen Vorrichtung und eines solchen Verfahrens
DE102004051449A1 (de) 2004-10-22 2006-04-27 Thompson, Choy Wing Chee, Pat Heung Leuchte und Verfahren zum Wechsel eines Leuchtmittels
US7207695B2 (en) 2004-11-22 2007-04-24 Osram Sylvania Inc. LED lamp with LEDs on a heat conductive post and method of making the LED lamp
JP4466354B2 (ja) 2004-12-15 2010-05-26 パナソニック電工株式会社 照明器具
DE102004062989A1 (de) 2004-12-22 2006-07-06 Patent-Treuhand-Gesellschaft für elektrische Glühlampen mbH Beleuchtungseinrichtung mit mindestens einer Leuchtdiode und Fahrzeugscheinwerfer
JP2006185602A (ja) 2004-12-24 2006-07-13 Toshiba Lighting & Technology Corp 天井埋込形器具及び天井埋込形照明器具
JP2006228932A (ja) 2005-02-17 2006-08-31 Matsushita Electric Ind Co Ltd 半導体パッケージ
TWI262342B (en) 2005-02-18 2006-09-21 Au Optronics Corp Device for fastening lighting unit in backlight module
JP2006260986A (ja) 2005-03-17 2006-09-28 Koowa:Kk 天井埋込型照明器具
US7758223B2 (en) 2005-04-08 2010-07-20 Toshiba Lighting & Technology Corporation Lamp having outer shell to radiate heat of light source
US7918591B2 (en) 2005-05-13 2011-04-05 Permlight Products, Inc. LED-based luminaire
GB0510494D0 (en) 2005-05-23 2005-06-29 Aurora Ltd Improvements to fire related downlights
KR101002430B1 (ko) * 2005-06-07 2010-12-21 가부시키가이샤후지쿠라 발광소자 실장용 법랑 기판, 발광소자 모듈, 조명 장치,표시 장치 및 교통 신호기
JP2007059072A (ja) 2005-08-22 2007-03-08 Mitsubishi Electric Corp 端子台及びこの端子台を備える照明器具
CN101300450B (zh) 2005-09-09 2011-08-10 威斯莱兹公司 手电筒
US7588359B2 (en) 2005-09-26 2009-09-15 Osram Sylvania Inc. LED lamp with direct optical coupling in axial arrangement
ITMI20051874A1 (it) 2005-10-05 2007-04-06 Terza Luce S R L Lampada a led di potenza ad elevata integrazione
KR100752009B1 (ko) * 2006-03-06 2007-08-28 삼성전기주식회사 Led가 구비된 백라이트유닛
US7303310B2 (en) * 2006-03-23 2007-12-04 Opto Tech Corp. Structure for a high efficiency and water-proof lighting device
US7549772B2 (en) * 2006-03-31 2009-06-23 Pyroswift Holding Co., Limited LED lamp conducting structure with plate-type heat pipe
US7494249B2 (en) 2006-07-05 2009-02-24 Jaffe Limited Multiple-set heat-dissipating structure for LED lamp
US7738235B2 (en) * 2006-07-31 2010-06-15 B/E Aerospace, Inc. LED light apparatus
WO2008036873A2 (en) 2006-09-21 2008-03-27 Cree Led Lighting Solutions, Inc. Lighting assemblies, methods of installing same, and methods of replacing lights
JP4853278B2 (ja) 2006-12-25 2012-01-11 パナソニック電工株式会社 照明装置
ITMI20070120A1 (it) 2007-01-26 2008-07-27 Piper Lux S R L Faretto a led
CN201078678Y (zh) * 2007-04-04 2008-06-25 吴云肖 一种大功率led灯散热阵列
US7473011B2 (en) 2007-05-04 2009-01-06 Ruud Lighting, Inc. Method and apparatus for mounting an LED module to a heat sink assembly
US7677766B2 (en) 2007-05-07 2010-03-16 Lsi Industries, Inc. LED lamp device and method to retrofit a lighting fixture
CN201072101Y (zh) 2007-07-05 2008-06-11 武良举 一种筒形防火灯具
US8333490B2 (en) 2007-07-05 2012-12-18 Liangju Wu Fireproof light fixture
US7665866B2 (en) 2007-07-16 2010-02-23 Lumination Llc LED luminaire for generating substantially uniform illumination on a target plane
US7914162B1 (en) * 2007-08-23 2011-03-29 Grand General Accessories Manufacturing LED light assembly having heating board
JP4894688B2 (ja) 2007-09-05 2012-03-14 東芝ライテック株式会社 照明装置
USD595452S1 (en) 2007-10-10 2009-06-30 Cordelia Lighting, Inc. Recessed baffle trim
CN101413652B (zh) * 2007-10-16 2010-11-10 富士迈半导体精密工业(上海)有限公司 发光二极管光源装置
US7866850B2 (en) 2008-02-26 2011-01-11 Journée Lighting, Inc. Light fixture assembly and LED assembly
TWI419357B (zh) * 2008-03-12 2013-12-11 Bright Led Electronics Corp Manufacturing method of light emitting module
CN101545614B (zh) * 2008-03-26 2012-05-23 富准精密工业(深圳)有限公司 发光二极管灯具
CN101556032B (zh) * 2008-04-09 2010-09-29 富准精密工业(深圳)有限公司 发光二极管灯具
US8011809B2 (en) * 2008-05-16 2011-09-06 Yun Chang Liao Light-emitting diode module with heat dissipating structure and lamp with light-emitting diode module
US7845829B2 (en) * 2008-05-20 2010-12-07 Abl Ip Holding Llc Enclosures for LED circuit boards
JP5391767B2 (ja) * 2008-05-30 2014-01-15 東芝ライテック株式会社 発光装置及び照明器具
US7824077B2 (en) 2008-06-30 2010-11-02 Che-Kai Chen Lamp structure
JP5077693B2 (ja) 2008-08-28 2012-11-21 東芝ライテック株式会社 照明器具
CN101709857B (zh) 2008-09-16 2012-01-25 东芝照明技术株式会社 光源单元以及使用此光源单元的照明器具
US7832909B2 (en) 2008-10-08 2010-11-16 Ceramate Technical Co., Ltd. Combinational inset lamp exempt from a shielding cylinder
EP2180241B1 (en) 2008-10-22 2012-08-29 Toshiba Lighting & Technology Corporation Lighting Apparatus
US7717590B1 (en) 2008-11-07 2010-05-18 Chia-Mao Li LED lamp with reflecting casings
JP2010129227A (ja) 2008-11-25 2010-06-10 Toshiba Lighting & Technology Corp 埋込形照明装置
US8602601B2 (en) 2009-02-11 2013-12-10 Koninklijke Philips N.V. LED downlight retaining ring
EP2302298A1 (en) 2009-09-25 2011-03-30 Toshiba Lighting & Technology Corporation Lighting apparatus
US9068719B2 (en) 2009-09-25 2015-06-30 Cree, Inc. Light engines for lighting devices

Patent Citations (5)

* Cited by examiner, † Cited by third party
Publication number Priority date Publication date Assignee Title
JP2006521699A (ja) * 2003-03-28 2006-09-21 ゲルコアー リミテッド ライアビリティ カンパニー Ledパワー・パッケージ
JP2006179443A (ja) * 2004-12-20 2006-07-06 Gen Terao 放熱性に優れた照明用ledの実装基盤、及び筐体
JP2007096235A (ja) * 2005-09-30 2007-04-12 Toshiba Lighting & Technology Corp 発光装置
JP2007294847A (ja) * 2006-03-27 2007-11-08 Matsushita Electric Works Ltd 表面実装型発光装置
JP2007299679A (ja) * 2006-05-01 2007-11-15 Kokubu Denki Co Ltd 照明装置

Cited By (5)

* Cited by examiner, † Cited by third party
Publication number Priority date Publication date Assignee Title
JP2012054163A (ja) * 2010-09-02 2012-03-15 Sumitomo Bakelite Co Ltd 光源装置および電子機器
JP2014091971A (ja) * 2012-11-05 2014-05-19 Hokkai Giken Kogyo Kk 屋根材押さえプレート
JP2015073131A (ja) * 2015-01-05 2015-04-16 ローム株式会社 Led発光体およびled電球
WO2017209149A1 (ja) * 2016-05-31 2017-12-07 シチズン電子株式会社 発光装置
JP2019169278A (ja) * 2018-03-22 2019-10-03 三菱電機株式会社 車載用灯具及び車載用灯具の製造方法

Also Published As

Publication number Publication date
US9303855B2 (en) 2016-04-05
US9410685B2 (en) 2016-08-09
JP5391767B2 (ja) 2014-01-15
EP2128519A3 (en) 2011-02-16
CN101592323A (zh) 2009-12-02
US20120314432A1 (en) 2012-12-13
CN103148460A (zh) 2013-06-12
US9279575B2 (en) 2016-03-08
US8668355B2 (en) 2014-03-11
US20140133166A1 (en) 2014-05-15
EP2128519A2 (en) 2009-12-02
CN101592323B (zh) 2013-06-12
US20140133167A1 (en) 2014-05-15
US20130058109A1 (en) 2013-03-07
US20090296414A1 (en) 2009-12-03
US20140133165A1 (en) 2014-05-15
US8556460B2 (en) 2013-10-15
US8545051B2 (en) 2013-10-01

Similar Documents

Publication Publication Date Title
JP5391767B2 (ja) 発光装置及び照明器具
JP5077693B2 (ja) 照明器具
JP4569683B2 (ja) 発光素子ランプ及び照明器具
JP5287547B2 (ja) 発光素子ランプ及び照明器具
JP5218771B2 (ja) 反射体及び照明器具
JP2010097939A (ja) 光源ユニット及び照明器具
JP2010153044A (ja) 光源ユニット及び照明器具
CN102032482B (zh) 照明装置
JP4406854B2 (ja) 発光素子ランプ及び照明器具
JP5245806B2 (ja) 光源ユニット及び照明器具
JP2010282986A (ja) 発光素子ランプ及び照明器具
JP2013037852A (ja) 照明器具
JP2010170903A (ja) 光源用ソケット及び照明器具
JP5019264B2 (ja) 発光素子ランプ及び照明器具
JP5294044B2 (ja) 照明器具
JP2011134454A (ja) 照明装置
JP2010129275A (ja) ランプ装置および照明器具
JP5686266B2 (ja) 発光装置および照明器具
JP5888624B2 (ja) 照明器具
JP2013051118A (ja) 照明装置
JP2010055939A (ja) 光源ユニット及び照明装置
JP6264714B2 (ja) 照明器具
JP5448011B2 (ja) 発光素子ランプ及び照明器具
JP2011129469A (ja) 照明器具
JP2018120763A (ja) 照明器具

Legal Events

Date Code Title Description
A621 Written request for application examination

Free format text: JAPANESE INTERMEDIATE CODE: A621

Effective date: 20110915

RD03 Notification of appointment of power of attorney

Free format text: JAPANESE INTERMEDIATE CODE: A7423

Effective date: 20120814

A977 Report on retrieval

Free format text: JAPANESE INTERMEDIATE CODE: A971007

Effective date: 20121226

A131 Notification of reasons for refusal

Free format text: JAPANESE INTERMEDIATE CODE: A131

Effective date: 20130129

A521 Request for written amendment filed

Free format text: JAPANESE INTERMEDIATE CODE: A523

Effective date: 20130401

RD02 Notification of acceptance of power of attorney

Free format text: JAPANESE INTERMEDIATE CODE: A7422

Effective date: 20130807

TRDD Decision of grant or rejection written
A01 Written decision to grant a patent or to grant a registration (utility model)

Free format text: JAPANESE INTERMEDIATE CODE: A01

Effective date: 20130917

A61 First payment of annual fees (during grant procedure)

Free format text: JAPANESE INTERMEDIATE CODE: A61

Effective date: 20130930

R151 Written notification of patent or utility model registration

Ref document number: 5391767

Country of ref document: JP

Free format text: JAPANESE INTERMEDIATE CODE: R151

LAPS Cancellation because of no payment of annual fees