JP2010009633A - 光学モジュール及び光ピックアップ装置 - Google Patents

光学モジュール及び光ピックアップ装置 Download PDF

Info

Publication number
JP2010009633A
JP2010009633A JP2008164136A JP2008164136A JP2010009633A JP 2010009633 A JP2010009633 A JP 2010009633A JP 2008164136 A JP2008164136 A JP 2008164136A JP 2008164136 A JP2008164136 A JP 2008164136A JP 2010009633 A JP2010009633 A JP 2010009633A
Authority
JP
Japan
Prior art keywords
base plate
light emitting
light
emitting element
optical module
Prior art date
Legal status (The legal status is an assumption and is not a legal conclusion. Google has not performed a legal analysis and makes no representation as to the accuracy of the status listed.)
Granted
Application number
JP2008164136A
Other languages
English (en)
Other versions
JP4586896B2 (ja
Inventor
Kazuhiko Nemoto
和彦 根本
Current Assignee (The listed assignees may be inaccurate. Google has not performed a legal analysis and makes no representation or warranty as to the accuracy of the list.)
Sony Corp
Original Assignee
Sony Corp
Priority date (The priority date is an assumption and is not a legal conclusion. Google has not performed a legal analysis and makes no representation as to the accuracy of the date listed.)
Filing date
Publication date
Application filed by Sony Corp filed Critical Sony Corp
Priority to JP2008164136A priority Critical patent/JP4586896B2/ja
Priority to US12/489,740 priority patent/US7929076B2/en
Priority to CN2009101502625A priority patent/CN101615399B/zh
Publication of JP2010009633A publication Critical patent/JP2010009633A/ja
Application granted granted Critical
Publication of JP4586896B2 publication Critical patent/JP4586896B2/ja
Expired - Fee Related legal-status Critical Current
Anticipated expiration legal-status Critical

Links

Images

Classifications

    • GPHYSICS
    • G11INFORMATION STORAGE
    • G11BINFORMATION STORAGE BASED ON RELATIVE MOVEMENT BETWEEN RECORD CARRIER AND TRANSDUCER
    • G11B7/00Recording or reproducing by optical means, e.g. recording using a thermal beam of optical radiation by modifying optical properties or the physical structure, reproducing using an optical beam at lower power by sensing optical properties; Record carriers therefor
    • G11B7/12Heads, e.g. forming of the optical beam spot or modulation of the optical beam
    • G11B7/123Integrated head arrangements, e.g. with source and detectors mounted on the same substrate
    • H10W72/5445
    • H10W72/5522
    • H10W90/00
    • H10W90/754

Landscapes

  • Physics & Mathematics (AREA)
  • Optics & Photonics (AREA)
  • Optical Head (AREA)
  • Led Device Packages (AREA)

Abstract

【課題】光学モジュールのベース板を中継して集積回路素子とフレキシブルプリント配線基板を電気的に接続していたので、ベース板の材料や構造に制約があった。
【解決手段】本発明に係る光学モジュールは、ベース板1と、発光素子22を有するとともに、ベース板1に実装された発光装置3と、ベース板1にダイボンディングによって実装され、発光素子22から出射された光の戻り光を受光部で受光する受光素子内蔵型の集積回路素子4と、光透過用の窓11を有し、この窓11を通して受光部が露出する状態で集積回路素子4に接続されたフレキシブルプリント配線基板9とを備える。
【選択図】図1

Description

本発明は、光学モジュール及び光ピックアップ装置に関する。詳しくは、発光素子と受光素子を集積化した光学モジュールとそれを用いた光ピックアップ装置に関する。
光ディスク記録再生装置は、CD(コンパクト・ディスク:CD−R、CD−RWを含む)やDVD(デジタル・ヴァーサタイル・ディスク)、BD(ブルーレイ・ディスク)などの光ディスクを記録媒体として、データの記録・再生を行なう装置である。光ディスク記録再生装置は、データの記録・再生を光学的に行うための光ピックアップ装置を備えている。光ピックアップ装置としては、小型化や薄型化の要求に応えるために、発光素子と受光素子を集積化した光学モジュール(光集積モジュール)が採用されている(例えば、特許文献1)。
また、各種の光ディスクのなかでも、特に、BD用途の光ピックアップ装置では、発光素子を封止しないと光学的な特性が低下する。このため、BD用途の光ピックアップ装置では、動作の信頼性を維持するために、発光素子を封止した構造が採用されている。
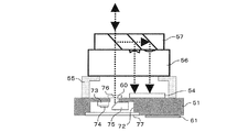
図14は従来の光ピックアップ装置で採用されている光学モジュールの構成例を示す概略図である。また、図15は図14のA−A断面図である。図14及び図15においては、ベース板51の下面側にホルダー部材52を用いて発光装置53が取り付けられている。ベース板51の上面には、受光素子を内蔵したIC(OEIC)チップ54が実装されている。また、ベース板51の上面には、ハウジング55を介してホログラムレンズ56とプリズム(ビームスプリッタ)57が搭載されている。
ICチップ54は、図16に示すように、ベース板51の上面に設けられた複数の電極部58に金線等のワイヤ59を介して電気的に接続(結線)されている。ベース板51には、発光装置53から出射された光を通過させる開口部60が設けられている。また、ベース板51の下面にはフレキシブルプリント配線基板(以下、「FPC基板」とも記す)61が取り付けられている。ICチップ54は接合層62(図15を参照)を介してベース板51の上面に接合されている。FPC基板61は、はんだ接合部63を介してベース板51に電気的かつ機械的に接続されている。ICチップ54は、その主面上に受光部64を有している。FPC基板61の長手方向の端部には複数の外部接続用の端子部65が形成されている。
発光装置53は、CANパッケージ構造を有している。具体的には、ステム66上に設けられたヒートシンクのブロック67に図示しないサブマウントを介して発光素子68が実装されている。発光素子68は、当該発光素子68を取り囲む状態でステム66の上面に取り付けられた金属製のキャップ部材69と、このキャップ部材69に設けられた開口を塞ぐ光取り出し窓70とによって封止されている。また、ステム66には、発光素子68とワイヤボンディング等によって電気的に接続される複数の端子ピン71が取り付けられている。
上記構成からなる光学モジュールにおいては、発光素子68を起点として発光装置53の光取り出し窓70から出射された光が、ベース板51の開口部60を通してホログラム56に入射する。さらに、ホログラム56に入射した光はプリズム57を透過した後、外部の対象物(光ディスクなど)に照射される。また、外部の対象物で反射した光(戻り光)は、プリズム57とホログラム56で分光されて、ICチップ54の受光部64に照射される。
従来の光ピックアップ装置で採用されている光学モジュールの他の構成としては、図17に示すように、ベース板51に凹部72を一体に形成し、この凹部72にサブマウント73を介して発光素子74を実装し、かつ立ち上げミラー75を実装したものがある。発光素子74が実装されている凹部72内の空間は、ベース板51の開口部60を塞ぐ透過窓76とその反対側を塞ぐ蓋体77で封止されている。これ以外の構成については、上記図14に示す光学モジュールと共通である。
上記構成からなる光学モジュールにおいては、発光素子74から出射された光の進行方向が立ち上げミラー75で直角に反射された後、透過窓76を透過してホログラム56に入射する。さらに、ホログラム56に入射した光はプリズム57を透過した後、外部の対象物(光ディスクなど)に照射される。また、外部の対象物で反射した光(戻り光)は、プリズム57とホログラム56で分光されて、ICチップ54の受光部に照射される。
特開2007−18583号公報
上記従来の光ピックアップ装置で採用されている光学モジュールでは、戻り光をICチップ54で受光するために、受光部64を上側に向けてICチップ54をベース板51に実装している。また、ベース板51を介してICチップ54とFPC基板61を電気的に接続するために、ベース基板51とICチップ54をワイヤボンディングで接続している。したがって、ベース板51の上面には、ICチップ54が実装される領域の外側に、ワイヤボンディングのための領域(換言すると、複数の電極部58を形成するための領域)を確保する必要がある。
また、ICチップ54の電極数が多くなると、それに応じて、ベース板51の上面に形成される電極部58の数や、ベース板51の下面に形成される電極部の数が多くなる。そうした場合、ベース板51の上面側では、電極数の増加に伴って、ワイヤボンディングのための領域を大きく確保する必要がある。また、ベース板51の下面側では、電極数の増加に伴って、図18(A)に示すように、複数の電極部58をコの字形の配列で配置する形態から、図18(B)に示すように、複数の電極部58をグリッド形の配列で配置する形態に変更する必要が生じる。そうした場合、図18(A)に示す電極配置では、はんだ付けの状態を目視確認できるが、図18(B)に示す電極配置では、はんだ付けの状態を目視確認できなくなる。
また従来では、ベース板51として、積層構造のセラミックス板を用いている。積層構造のセラミック板を用いる理由は、ベース板51の上面及び下面において、電極形成の設計自由度が高いためである。ところが、逆に考えると、ベース板51の材料としては、積層構造が可能な材料しか選べないという制約があった。このため、金属などのように放熱効果が高くて安価な材料を用いることができなかった。
本発明に係る光学モジュールは、ベース板と、前記ベース板に実装された発光素子と、前記ベース板にダイボンディングによって実装され、前記発光素子から出射された光の戻り光を受光部で受光する受光素子内蔵型の集積回路素子と、光透過用の窓を有し、当該窓を通して前記受光部が露出する状態で前記集積回路素子に接続された回路基板とを備えるものである。
本発明に係る光学モジュールにおいては、光透過用の窓を有する回路基板を、受光部が露出するように集積回路素子に実装するとともに、当該集積回路素子をダイボンディングによってベース板に実装した構成となっている。このため、ベース板にワイヤボンディングのための領域を確保する必要がなくなる。また、ベース板に電極部や導通路を設ける必要もなくなる。
本発明によれば、光学モジュールの小型化、薄型化を図ることができる。また、ベース板の材料や構造の制限を大幅に緩和することができる。
以下、本発明の具体的な実施の形態について図面を参照しつつ詳細に説明する。なお、本発明の技術的範囲は以下に記述する実施の形態に限定されるものではなく、発明の構成要件やその組み合わせによって得られる特定の効果を導き出せる範囲において、種々の変更や改良を加えた形態も含む。
<第1の実施の形態>
図1は本発明の第1の実施の形態に係る光学モジュールの構成を示す概略図である。また、図2は図1のA−A断面図である。図1及び図2においては、ベース板1の下面側にホルダー部材2を用いて発光装置3が取り付けられている。ベース板1は、平面視長方形の板状に形成されている。ベース板1の上面にはICチップ4が実装されている。また、ベース板1の上面には、ハウジング5を介して、ホログラムレンズ6とプリズム(ビームスプリッタ)7からなる光学ブロックが搭載されている。ICチップ4は、例えばフォトダイオード等の受光素子を内蔵したICチップ(OEIC)であり、本発明における「集積回路素子」に相当する。
ハウジング5は、ベース板1の厚み方向(光学モジュールの高さ方向)で、発光装置3やICチップ4に対して、ホログラムレンズ6やプリズム7の取り付け位置を決めるスペーサの機能を果たす。ハウジング5は、出射光と戻り光を通過させるための開口を有する門型に形成されている。ハウジング5の下面は、発光装置3の取り付け位置やICチップ4の実装位置よりも外側で、ベース板1の上面に接触している。ハウジング5の内側の領域(ICチップ4が実装されている領域)は、例えば、紙面の奥行き方向が開放された非封止領域となっている。
ベース板1は、例えば金属材料の単板構造となっている。ベース板1は、コスト面や精度面を考慮すると、ダイカスト成形板又はプレス成形板を用いて構成することが望ましい。ベース板1には、発光装置3から出射された光を通過させる開口部8が設けられている。また、ベース板1の下面には、回路基板の一例として、フレキシブルプリント配線基板(以下、「FPC基板」とも記す)9が取り付けられている。
ここで、ICチップ4とFPC基板9の接続構造について図3を用いて説明する。FPC基板9は、例えば矩形(帯状)の樹脂製のフィルムを基材として構成されるものである。FPC基板9の中央部には、光透過用の窓(貫通穴)11が設けられている。FPC基板9の第1面には、複数の電極部12が形成されている。電極部12は、ICチップ4の電極の配置に対応して、窓11の周囲に、例えば2列で配列されている。電極部12の配列方向は、FPC基板9の長手方向に沿う方向となっている。また、FPC基板9の第1面には複数の外部接続用の端子部14が形成されている。端子部14は、FPC基板9の長手方向の両端部に、それぞれ複数個ずつ形成されている。端子部14は、FPC基板9の短手方向に一列に配列されている。このため、FPC基板9の第1面において、電極部12の配列方向と、端子部14の配列方向は、90度異なっている。また、電極部12と端子部14は、FPC基板9に形成された図示しない配線パターンを介して電気的につながっている。
ICチップ4は、受光部をFPC基板9の第1面と向かい合わせた状態(いわゆるフェースダウンの状態)で、FPC基板9の第1面に実装されている。ICチップ4は、バンプ13(図2を参照)を用いた所定の実装方式、例えば、超音波実装、異方導電性実装、はんだ付け実装などにより、FPC基板9に実装されている。バンプ13に関しては、例えば、スタッドバンプ構造でFPC基板9の電極部12に形成するか、当該電極部12の接続先となるICチップ4側の電極部(不図示)に形成するか、両方の電極部に形成すればよい。異方導電性実装とは、ICチップ4とFPC基板9の電気的かつ機械的な接続を、異方導電フィルムや異方導電接着剤などを用いて行なう実装方法である。超音波実装とは、ICチップ4とFPC基板9の電気的かつ機械的な接続を、超音波エネルギーを利用して行なう実装方法である。はんだ付け実装とは、ICチップ4とFPC基板9の電気的かつ機械的な接続を、はんだ付けによって行なう実装方法である。
FPC基板9に実装されたICチップ4の裏面は、例えば銀ペースト等の導電性接着剤からなる接合層16(図2を参照)を介してベース板1の上面にダイボンディングによって取り付けられている。ここで記述する「ダイボンディング」とは、裸のICチップ(ベアチップ)を基板(本形態ではベース板1に相当)にダイレクトに実装することをいう。FPC基板9に形成された窓11は、上方に向けて開口している。ICチップ4の受光部17は、窓11の開口部分に臨む状態で配置されている。また、FPC基板9に対しては、受光部17を上向きにした状態(いわゆるフェースアップの状態で)、ICチップ4が実装されている。このため、ICチップ4と対向する部分では、FPC基板9の第1面が下向きに配置され、かつFPC基板9の第2面が上向きに配置されている。受光部17は、例えばフォトダイオード等によって構成されるものである。FPC基板9の長手寸法は、ベース板1の短手寸法よりも十分に大きくなるように設定されている。ICチップ4が実装された領域から延在するFPC基板9の一方端側と他方端側は、それぞれベース板1の側端面を迂回してベース板1の下面側に垂れ下がった状態に配置されている。なお、ベース板1の長手方向から見たときのFPC基板9の形状(図例ではコの字形)は、FPC基板9を曲げることで自由に変えることが可能である。
発光装置3は、CANパッケージ構造を有している。CANパッケージとは、缶状の金属キャップを用いたパッケージの封止構造をいう。具体的には、ステム20上に設けられたヒートシンクのブロック21に図示しないサブマウントを介して発光素子22が実装されている。発光素子22は、半導体レーザ素子等によって構成されるものである。発光素子22は、当該発光素子22を取り囲む状態でステム21の上面に取り付けられた金属製のキャップ部材23と、このキャップ部材23に設けられた開口を塞ぐ光取り出し窓24とによって封止されている。また、ステム20には複数の端子ピン25が取り付けられている。端子ピン25の一端はステム20の上面側に突出し、端子ピン25の他端はステム20の下面側に突出している。端子ピン25は、発光素子22とワイヤボンディングによって電気的に接続されている。
上記構成からなる光学モジュールにおいては、発光素子22を起点として発光装置3の光取り出し窓24から出射された光が、ベース板1の開口部8を通してホログラム6に入射する。さらに、ホログラム6に入射した光はプリズム7を透過した後、外部の対象物(光ディスクなど)に照射される。また、外部の対象物で反射した光(戻り光)は、プリズム7とホログラム6で分光されて、ICチップ4の受光部17に照射される。
本発明の第1の実施の形態に係る光学モジュールにおいては、受光部17を上向きにしてICチップ4をベース板1に実装するとともに、光透過用の窓11をFPC基板9に形成し、その窓11を通して受光部17が露出するようにICチップ4をFPC基板9に実装している。このため、次の(1)〜(4)の作用効果が得られる。
(1)ベース板1とICチップ4をワイヤボンディングで接続する必要がなくなる。このため、ベース板1上にワイヤボンディングのための領域を確保しなくても済む。したがって、サイズの小型化、薄型化を図ることができる。
(2)ベース板1の上下面に電極部を設けたり、ベース板1にビア等の導通路を設けたりする必要がなくなる。このため、ベース板1の材料や構造の制限を大幅に緩和することができる。したがって、ベース板1の材料の選択範囲が広がる。その結果、ベース板1の材料として、例えば低コストで放熱性の高い金属材料を選ぶことが可能となる。したがって、量産性やコスト面で有利になる。また、材料選択範囲の拡大に伴い、ベース板1の放熱特性を高めやすくなる。このため、高温信頼性等の面でも有利になる。また、ベース板1としては、配線構造をもたない単板の板材で構成することが可能となる。このため、ダイカスト成形板又はプレス成形板として得られる金属板、例えば、亜鉛ダイカスト板、銅板、アルミニウム板、窒化アルミニウム基板など、放熱性やコスト面を考慮して材料選択の自由度が高くなる。
(3)ICチップ4とFPC基板9がダイレクトにつながっているため、余計な配線の引き回し等がなくなる。このため、ICチップ4の広帯域化や低ノイズ化などの性能発揮に有利になる。
(4)ベース板1の下面にFPC基板9をはんだ付けする必要がなくなる。このため、電極数の増加に伴うグリッド形配列での、はんだ付け状態の目視確認不可の問題を解消することができる。また、異方導電性実装や超音波実装を適用してICチップ4をFPC基板9に実装した場合は、はんだ付け実装を採用する場合に比較して、低温でかつダストフリーの実装が可能となる。このため、信頼性や汚れフリーの面で有利である。
<第2の実施の形態>
図4は本発明の第2の実施の形態に係る光学モジュールの構成を示す概略図である。図4においては、ベース板26の上面にIC(OEIC)チップ27がダイボンディングによって実装され、かつICチップ27にFPC基板28が図示しないバンプを用いて接続されている。ベース板26、ICチップ27及びFPC基板28の各構造に関しては、上記第1の実施の形態と同様であるため、詳細な説明を省略する。また、ベース板26に対するICチップ27の取り付け構造や、ICチップ27に対するFPC基板28の取り付け構造に関しても、上記第1の実施の形態と同様であるため、詳細な説明を省略する。また、本発明の第2の実施の形態においては、ホログラムレンズ及びプリズム(ビームスプリッタ)からなる光学ブロックの図示を省略する。
ベース板26の上面には、ICチップ27とともに、発光素子29や立ち上げミラー30が実装されている。発光素子29は、半導体レーザ素子等によって構成されるものである。発光素子29は、第1のサブマウント31及び第2のサブマウント32を介してベース板26の上面に実装されている。立ち上げミラー30は、第2のサブマウント32を介してベース板26の上面に実装されている。つまり、発光素子29と立ち上げミラー30は、共通のサブマウント材となる第2のサブマウント32を介して、ベース板26に実装されている。第2のサブマウント32上においては、発光素子29と立ち上げミラー30が互いに対向する状態、さらに詳述する発光素子29の発光点と立ち上げミラー30の反射面(傾斜面)が対向する状態で配置されている。第1のサブマウント31及び第2のサブマウント32は、例えばAlN(窒化アルミニウム)やシリコン(Si)等を用いて構成されるものである。
さらに、ベース板26の上面には、キャップ部材33が取り付けられている。キャップ部材33は、例えば一般的なCANパッケージと同様のニッケルめっきのコバール(鉄、ニッケル、コバルト等から成る合金)等の金属材料を用いて構成されている。キャップ部材33は、第2のサブマウント32を含む発光素子29と立ち上げミラー30の実装領域を取り囲む状態でベース板26の上面に取り付けられている。キャップ部材33の下面は、例えば抵抗溶接等によってベース板26に接合固定されている。キャップ部材33の上端面には開口部34が設けられている。開口部34は、発光素子29から出射され、かつ立ち上げミラー30で垂直に立ち上げられた光を通過させるためのものである。開口部34は、例えば透明なガラス板からなる蓋体35によって塞がれている。蓋体35は、光透過性を有する材料であればよい。蓋体35は、高い封止性が得られる低融点ガラスや他の接着剤を用いて、金属製のキャップ部材33に接合固定されている。
また、ベース板26には貫通穴36が設けられている。貫通穴36は、ベース板26の上面側が小径に開口し、ベース板26の下面側が大径に開口する段付き構造となっている。貫通穴36は、第2のサブマウント32の隣に設けられている。ベース板26の貫通穴36の部分には電極端子部材37が取り付けられている。ベース板26の貫通穴36は、電極端子部材37によって塞がれている。電極端子部材37は、ベース板26の下面側から貫通穴36の大径部分に嵌り込む状態で、例えば接着等により取り付けられている。これにより、発光素子29、立ち上げミラー30、第1のサブマウント31及び第2のサブマウント32の実装空間は、キャップ部材33、蓋体35及び電極端子部材37によって気密状態に封止されている。
図5に電極端子部材37の詳細な構造を示す。電極端子部材37は、断面逆T字形に形成されている。電極端子部材37は、例えばセラミックスの積層体からなるものである。電極端子部材37の上端面は、当該電極端子部材37の下端面よりも小面積となっている。また、電極端子部材37の上端面は、ベース板26の上面と面一に配置されている。電極端子部材37の上端面には2つの電極部38が設けられ、これに対応して電極端子部材37の下端面にも2つの電極部39が設けられている。また、電極端子部材37の内部には、ビア等の導通路40が設けられている。導通路40は、相対応する電極部38,39同士を電気的に接続するものである。導通路40は、例えばメタル埋め込みによって形成されるものである。
電極端子部材37はワイヤボンディングによって発光素子29に電気的に接続されている。さらに詳述すると、電極端子部材37の上端面に設けられた2つの電極部38のうち、一方の電極部38には金線等のワイヤ41を介して発光素子29が電気的に接続(結線)され、他方のFPC基板28には金線等のワイヤ41を介して第1のサブマウント31が電気的に接続(結線)されている。発光素子29の下面は、導電性を有する接着剤(例えば、金属ペーストなど)を介して第1のサブマウント31に接合されている。このため、発光素子29は、一方のワイヤ41を介して電極端子部材37にダイレクトに電気接続されるとともに、第1のサブマウント31及び他方のワイヤ41を介して電極端子部材37に電気的に接続されている。
上記構成からなる光学モジュールにおいては、発光素子29から出射された光の進行方向が立ち上げミラー30で直角に反射された後、蓋体35を透過して図示しないホログラムに入射する。さらに、ホログラムに入射した光は図示しないプリズムを透過した後、外部の対象物(光ディスクなど)に照射される。また、外部の対象物で反射した光(戻り光)は、図示しないプリズムとホログラムで分光されて、ICチップ27の受光部に照射される。
本発明の第2の実施の形態に係る光学モジュールにおいては、上記第1の実施の形態と同様の作用効果に加えて、次のような作用効果が得られる。すなわち、ベース板26上に実装された発光素子29を、キャップ部材33、蓋体35及び電極端子部材37によって封止した構造を採用しているため、CANタイプのパッケージ構造を採用する場合に比較して、サイズの薄型化を図ることができる。また、ベース板26に貫通穴36を形成し、この貫通穴36に電極端子部材37を取り付けることで、発光素子29を駆動するのに必要な電極部39を外部に取り出しているため、ベース板26に電極部を設ける必要がない。このため、ベース板26の材料選択性の自由度を損なうことがない。また、発光素子29と受光素子内蔵のICチップ27を、共にベース板26の上面側に実装しているため、CANタイプの発光装置を実装する場合に比較して、発光部と受光部の位置関係を精度良く設定することができる。特に、ベース板26を、例えば金属プレス板等を用いた平板構造とすれば、発光部−受光部の相対的な位置の精度を出しやすくなる。
また、発光素子29が実装された第1のサブマウント31と立ち上げミラー30を、共通の第2のサブマウント32に実装しているため、当該第2のサブマウント32上で発光素子29と立ち上げミラー30の光学的な位置合わせを行なうことができる。このため、発光素子29と立ち上げミラー30の位置関係を保証した状態で、それらをベース板26上に実装することができる。したがって、ベース板26上において、発光素子29、立ち上げミラー30及びICチップ27の相対的な位置精度を出しやすくなる。
なお、発光素子29の実装空間を封止する構造としては、キャップ部材33と蓋体35に替えて、例えば、CANパッケージに採用されているガラス窓付きの金属キャップを抵抗溶接等でベース板26の上面に取り付けた構造であってもよい。
また、電極端子部材37としては、セラミックスの積層体に限らず、例えばシリコンの単層体であってもよい。具体的には、図6に示すように、ベース板26の貫通穴36の部分に、シリコンの単層体からなる電極端子部材37を取り付けた構成とする。この場合は、図7に示すように、電極端子部材37の上面と下面にそれぞれ対応する電極部38、39を2つずつ設けるとともに、それらを電気的に接続する導通路40を電極端子部材37の内部に設けた構造とすればよい。
また、電極端子部材37を構成する主材料は、絶縁性を有する材料に限らず、導電性を有する材料とすることも可能である。ただし、その場合は、電極部38、39の形成や、導通路40の形成に際して、電極端子部材37の主材料(導電性を有する材料)との間で電気的な絶縁性を維持するために、例えば絶縁コート処理を施す必要がある。したがって、電極端子部材37の主材料を、絶縁性を有する材料で構成した方が、作製プロセスが容易になる。
続いて、本発明の第2の実施の形態に係る光学モジュールの変形例について説明する。
<第1変形例>
図8は本発明の第2の実施の形態に係る光学モジュールの第1変形例を示す概略図である。この第1変形例においては、前述した第2のサブマウント32を用いることなく、発光素子29を第1のサブマウント31を介してベース板26の上面に実装するとともに、立ち上げミラー30をベース板26の上面に実装している。つまり、発光素子29と立ち上げミラー30を、ベース板26に個別に実装した構成となっている。また、第1のサブマウント31の実装位置と立ち上げミラー30の実装位置との間に貫通穴36を設け、この貫通穴36にセラミックスの積層体からなる電極端子部材37を取り付けて、ワイヤボンディングにより発光素子29と電極端子部材37を電気的に接続している。ワイヤ41の位置は、発光素子29から立ち上げミラー30に向けて出射される光の光路を遮らないように、当該光路に対して、例えば紙面の奥行き方向に位置をずらして設定されている。かかる構成においては、ベース板26上で発光素子29と立ち上げミラー30の光学的な位置合わせを行なうことになる。その場合、周知のレーザカプラの製造プロセスを適用することができる。このため、量産性及び低コスト化の面でメリットがある。
<第2変形例>
図9は本発明の第2の実施の形態に係る光学モジュールの第2変形例を示す概略図である。この第2変形例においては、上記第1変形例と比較して、電極端子部材37の構成が異なる。すなわち、上記第1変形例においては、セラミックスの積層体によって電極端子部材37を構成しているが、第2変形例においては、シリコンの単層体によって電極端子部材37を構成している。なお、以降の変形例では、セラミックスの積層体によって電極端子部材37を構成した場合について例示するが、いずれの変形例においても、シリコンの単層体によって電極端子部材37を構成することが可能である。
<第3変形例>
図10は本発明の第2の実施の形態に係る光学モジュールの第3変形例を示す概略図である。この第3変形例においては、ベース板26に凹部42を形成し、この凹部42内に、前述した発光素子29、立ち上げミラー30、第1のサブマウント31及び第2のサブマウント32を実装している。また、ベース板26には、凹部42の底面に開口する状態で貫通穴36を設け、この貫通穴36に電極端子部材37を取り付けて、ワイヤボンディングにより発光素子29と電極端子部材37を電気的に接続している。
<第4変形例>
図11は本発明の第2の実施の形態に係る光学モジュールの第4変形例を示す概略図である。この第4変形例においては、上記第3変形例と比較して、キャップ部材33を用いることなく、ガラス製の蓋体35を接合層43によりベース板26の上面に直に接合している。接合層43は、高い封止性が得られる低融点ガラスや他の接着剤を用いて形成されている。
<第5変形例>
図12は本発明の第2の実施の形態に係る光学モジュールの第5変形例を示す概略図である。この第5変形例においては、上記第1変形例と同様に、前述した第2のサブマウント32を用いることなく、発光素子29を第1のサブマウント31を介してベース板26の上面に実装するとともに、立ち上げミラー30をベース板26の上面に実装している。また、第1のサブマウント31の実装位置と立ち上げミラー30の実装位置との間に貫通穴36を設け、この貫通穴36にセラミックスの積層体からなる電極端子部材37を取り付けて、ワイヤボンディングにより発光素子29と電極端子部材37を電気的に接続している。また、第5変形例においては、上記第3変形例と同様に、ベース板26に凹部42を形成し、この凹部42内に、前述した発光素子29、立ち上げミラー30、第1のサブマウント31及び第2のサブマウント32を実装している。また、ベース板26には、凹部42の底面に開口する状態で貫通穴36を設け、この貫通穴36に電極端子部材37を取り付けて、ワイヤボンディングにより発光素子29と電極端子部材37を電気的に接続している。
<第6変形例>
図13は本発明の第2の実施の形態に係る光学モジュールの第6変形例を示す概略図である。この第6変形例においては、上記第1変形例と同様に、前述した第2のサブマウント32を用いることなく、発光素子29を第1のサブマウント31を介してベース板26の上面に実装するとともに、立ち上げミラー30をベース板26の上面に実装している。また、第1のサブマウント31の実装位置と立ち上げミラー30の実装位置との間に貫通穴36を設け、この貫通穴36にセラミックスの積層体からなる電極端子部材37を取り付けて、ワイヤボンディングにより発光素子29と電極端子部材37を電気的に接続している。また、第5変形例においては、上記第3変形例と同様に、ベース板26に凹部42を形成し、この凹部42内に、前述した発光素子29、立ち上げミラー30、第1のサブマウント31及び第2のサブマウント32を実装している。また、ベース板26には、凹部42の底面に開口する状態で貫通穴36を設け、この貫通穴36に電極端子部材37を取り付けて、ワイヤボンディングにより発光素子29と電極端子部材37を電気的に接続している。さらに、第6変形例においては、上記第4変形例と同様に、キャップ部材33を用いることなく、ガラス製の蓋体35を接合層43によりベース板26の上面に直に接合している。
本発明は、上記各実施の形態に係る光学モジュールを用いた光ピックアップ装置として実現することも可能である。さらに本発明は、当該光ピックアップ装置を備える光ディスク記録再生装置として実現することも可能である。また本発明は、光ディスク用途に限らず、小型化や薄型化が要求される光学デバイス全般に広く適用可能である。
本発明の第1の実施の形態に係る光学モジュールの構成を示す概略図である。 図1のA−A断面図である。 ICチップとFPC基板の接続構造を説明する図である。 本発明の第2の実施の形態に係る光学モジュールの構成を示す概略図である。 電極端子部材の詳細な構造を示す図である。 電極端子部材の構造が異なる光学モジュールの構成を示す概略図である。 電極端子部材の他の構造例を示す図である。 本発明の第2の実施の形態に係る光学モジュールの第1変形例を示す概略図である。 本発明の第2の実施の形態に係る光学モジュールの第2変形例を示す概略図である。 本発明の第2の実施の形態に係る光学モジュールの第3変形例を示す概略図である。 本発明の第2の実施の形態に係る光学モジュールの第4変形例を示す概略図である。 本発明の第2の実施の形態に係る光学モジュールの第5変形例を示す概略図である。 本発明の第2の実施の形態に係る光学モジュールの第6変形例を示す概略図である。 従来の光ピックアップ装置で採用されている光学モジュールの構成例を示す概略図である。 図14のA−A断面図である。 従来の光学モジュールの部分的な構造を示す斜視図である。 従来の光ピックアップ装置で採用されている光学モジュールの他の構成を示す概略図である。 ベース板とFPC基板の接続構造を示す図である。
符号の説明
1,26…ベース板、2…ホルダー部材、3…発光装置、4,27…ICチップ(集積回路素子)、5…ハウジング、6…ホログラムレンズ、7…プリズム、8…開口部、9,28…FPC基板(フレキシブルプリント配線基板)、10…接合層、11…窓、12…電極部、13…バンプ、14…端子部、16,43…接合層、17…受光部、20…ステム、21…ブロック、22,29…発光素子、23…キャップ部材、24…光取り出し窓、25…端子ピン、30…立ち上げミラー、31…第1のサブマウント、32…第2のサブマウント(サブマウント材)、33…キャップ部材、34…開口部、35…蓋体、36…貫通穴、37…電極端子部材、38,39…電極部、40…導通路、41…ワイヤ、42…凹部

Claims (7)

  1. ベース板と、
    前記ベース板に実装された発光素子と、
    前記ベース板にダイボンディングによって実装され、前記発光素子から出射された光の戻り光を受光部で受光する受光素子内蔵型の集積回路素子と、
    光透過用の窓を有し、当該窓を通して前記受光部が露出する状態で前記集積回路素子に接続された回路基板と
    を備える光学モジュール。
  2. 前記ベース板は貫通穴を有し、
    前記ベース板の貫通穴の部分に当該貫通穴を塞ぐ状態で取り付けられた電極端子部材を備え、
    前記電極端子部材に前記発光素子を電気的に接続してなる
    請求項1記載の光学モジュール。
  3. 前記ベース板を、ダイカスト成形板又はプレス成形板を用いて構成してなる
    請求項1又は2記載の光学モジュール。
  4. 前記集積回路素子と前記回路基板を、超音波実装又は異方導電性実装によって電気的かつ機械的に接続してなる
    請求項1又は2記載の光学モジュール。
  5. 前記発光素子から出射された光を垂直に反射する立ち上げミラーを備え、
    前記発光素子と前記立ち上げミラーは、共通のサブマウント材を介して前記ベース板に実装されている
    請求項2記載の光学モジュール。
  6. 前記発光素子から出射された光を垂直に反射する立ち上げミラーを備え、
    前記発光素子と前記立ち上げミラーは、前記ベース板に個別に実装されている
    請求項2記載の光学モジュール。
  7. ベース板と、
    前記ベース板に実装された発光素子と、
    前記ベース板にダイボンディングによって実装され、前記発光素子から出射された光の戻り光を受光部で受光する受光素子内蔵型の集積回路素子と、
    光透過用の窓を有し、当該窓を通して前記受光部が露出する状態で前記集積回路素子に接続された回路基板と
    を備える光学モジュールを用いた光ピックアップ装置。
JP2008164136A 2008-06-24 2008-06-24 光学モジュール及び光ピックアップ装置 Expired - Fee Related JP4586896B2 (ja)

Priority Applications (3)

Application Number Priority Date Filing Date Title
JP2008164136A JP4586896B2 (ja) 2008-06-24 2008-06-24 光学モジュール及び光ピックアップ装置
US12/489,740 US7929076B2 (en) 2008-06-24 2009-06-23 Optical module and optical pickup apparatus
CN2009101502625A CN101615399B (zh) 2008-06-24 2009-06-23 光学模块和光学拾取装置

Applications Claiming Priority (1)

Application Number Priority Date Filing Date Title
JP2008164136A JP4586896B2 (ja) 2008-06-24 2008-06-24 光学モジュール及び光ピックアップ装置

Publications (2)

Publication Number Publication Date
JP2010009633A true JP2010009633A (ja) 2010-01-14
JP4586896B2 JP4586896B2 (ja) 2010-11-24

Family

ID=41430287

Family Applications (1)

Application Number Title Priority Date Filing Date
JP2008164136A Expired - Fee Related JP4586896B2 (ja) 2008-06-24 2008-06-24 光学モジュール及び光ピックアップ装置

Country Status (3)

Country Link
US (1) US7929076B2 (ja)
JP (1) JP4586896B2 (ja)
CN (1) CN101615399B (ja)

Families Citing this family (3)

* Cited by examiner, † Cited by third party
Publication number Priority date Publication date Assignee Title
JP5338788B2 (ja) * 2010-11-10 2013-11-13 船井電機株式会社 レーザホルダ、及び、それを備えた光ピックアップ
US8469607B2 (en) 2011-05-09 2013-06-25 Hewlett-Packard Development Company, L.P. Opto-electronics with compliant electrical contacts
CN112397107A (zh) * 2019-08-16 2021-02-23 神讯电脑(昆山)有限公司 储存装置的加热及散热结构

Citations (6)

* Cited by examiner, † Cited by third party
Publication number Priority date Publication date Assignee Title
JPH07161065A (ja) * 1993-10-15 1995-06-23 Sanyo Electric Co Ltd 光ピックアップ装置
JP2000048391A (ja) * 1998-07-24 2000-02-18 Fujitsu Ltd 光集積モジュール
JP2000228534A (ja) * 1999-02-05 2000-08-15 Olympus Optical Co Ltd 光半導体実装装置
JP2001351266A (ja) * 2000-04-06 2001-12-21 Fujitsu Ltd 光ピックアップ及び光記憶装置
JP2006048804A (ja) * 2004-08-03 2006-02-16 Matsushita Electric Ind Co Ltd 受光回路実装体
JP2006338848A (ja) * 2005-06-06 2006-12-14 Sharp Corp 光集積モジュールおよび光ピックアップ装置

Family Cites Families (6)

* Cited by examiner, † Cited by third party
Publication number Priority date Publication date Assignee Title
JPH0521655A (ja) * 1990-11-28 1993-01-29 Mitsubishi Electric Corp 半導体装置および半導体装置用パツケージ
JPH11251373A (ja) 1998-02-26 1999-09-17 Nippon Denki Factory Engineering Kk テープキャリアパッケージ
DE19961440A1 (de) * 1999-12-20 2001-06-21 Thomson Brandt Gmbh Gerät zum Lesen und/oder Schreiben optischer Aufzeichnungsträger
JP3517223B2 (ja) * 2001-04-24 2004-04-12 株式会社東芝 光ディスク装置及び光ディスク処理方法
JP3741108B2 (ja) * 2003-03-18 2006-02-01 ソニー株式会社 レーザー発光モジュール
JP2007035884A (ja) 2005-07-26 2007-02-08 Matsushita Electric Ind Co Ltd 半導体レーザ装置及び半導体レーザ装置の製造方法

Patent Citations (6)

* Cited by examiner, † Cited by third party
Publication number Priority date Publication date Assignee Title
JPH07161065A (ja) * 1993-10-15 1995-06-23 Sanyo Electric Co Ltd 光ピックアップ装置
JP2000048391A (ja) * 1998-07-24 2000-02-18 Fujitsu Ltd 光集積モジュール
JP2000228534A (ja) * 1999-02-05 2000-08-15 Olympus Optical Co Ltd 光半導体実装装置
JP2001351266A (ja) * 2000-04-06 2001-12-21 Fujitsu Ltd 光ピックアップ及び光記憶装置
JP2006048804A (ja) * 2004-08-03 2006-02-16 Matsushita Electric Ind Co Ltd 受光回路実装体
JP2006338848A (ja) * 2005-06-06 2006-12-14 Sharp Corp 光集積モジュールおよび光ピックアップ装置

Also Published As

Publication number Publication date
JP4586896B2 (ja) 2010-11-24
CN101615399B (zh) 2011-07-13
US7929076B2 (en) 2011-04-19
CN101615399A (zh) 2009-12-30
US20090315042A1 (en) 2009-12-24

Similar Documents

Publication Publication Date Title
JP4113442B2 (ja) 半導体レーザ、その製法および光ピックアップ装置
US6587491B1 (en) Semiconductor laser
JP3802896B2 (ja) 半導体レーザ
KR20040064644A (ko) 반도체 레이저 장치 및 그 제조 방법
JP7306831B2 (ja) 半導体パッケージ用ステム、半導体パッケージ
TWI261245B (en) Integrated optical device
JP4586896B2 (ja) 光学モジュール及び光ピックアップ装置
JP4215703B2 (ja) 光学デバイスおよびその製造方法
JP2006114096A (ja) 半導体レーザユニットおよびそれを備えた光ピックアップ装置
CN100353623C (zh) 光学装置及其制造方法
JP2007318075A (ja) 光学デバイス,光学デバイスの製造方法および光ピックアップ装置ならびに光ディスクドライブ装置
JP2005142294A (ja) 半導体レーザユニットおよびそれを用いた光ピックアップ装置
JP2005251838A (ja) 半導体レーザ装置
JP2006147751A (ja) 光半導体装置
JP2007019077A (ja) 半導体レーザユニットおよび光ピックアップ装置
JP2009212524A (ja) 半導体レーザ
JP2006324409A (ja) 半導体レーザ装置およびそれを備えた光ピックアップ装置
JP2008243869A (ja) 受光装置
JP2005268443A (ja) 半導体レーザ装置
JP2007035884A (ja) 半導体レーザ装置及び半導体レーザ装置の製造方法
JP2006338785A (ja) 受発光集積装置及び光ディスク装置
JP2005317646A (ja) レーザモジュールおよびその製造方法
JPH10233029A (ja) 光ピックアップ装置及びその製造方法
JPH10256595A (ja) 半導体装置
JP2006303384A (ja) 光半導体素子用ステム及び光半導体装置

Legal Events

Date Code Title Description
RD02 Notification of acceptance of power of attorney

Free format text: JAPANESE INTERMEDIATE CODE: A7422

Effective date: 20091021

A521 Request for written amendment filed

Free format text: JAPANESE INTERMEDIATE CODE: A821

Effective date: 20091026

RD04 Notification of resignation of power of attorney

Free format text: JAPANESE INTERMEDIATE CODE: A7424

Effective date: 20091109

A977 Report on retrieval

Free format text: JAPANESE INTERMEDIATE CODE: A971007

Effective date: 20100405

A131 Notification of reasons for refusal

Free format text: JAPANESE INTERMEDIATE CODE: A131

Effective date: 20100413

A521 Request for written amendment filed

Free format text: JAPANESE INTERMEDIATE CODE: A523

Effective date: 20100607

TRDD Decision of grant or rejection written
A01 Written decision to grant a patent or to grant a registration (utility model)

Free format text: JAPANESE INTERMEDIATE CODE: A01

Effective date: 20100810

A01 Written decision to grant a patent or to grant a registration (utility model)

Free format text: JAPANESE INTERMEDIATE CODE: A01

A61 First payment of annual fees (during grant procedure)

Free format text: JAPANESE INTERMEDIATE CODE: A61

Effective date: 20100823

FPAY Renewal fee payment (event date is renewal date of database)

Free format text: PAYMENT UNTIL: 20130917

Year of fee payment: 3

R250 Receipt of annual fees

Free format text: JAPANESE INTERMEDIATE CODE: R250

R250 Receipt of annual fees

Free format text: JAPANESE INTERMEDIATE CODE: R250

LAPS Cancellation because of no payment of annual fees