JP2010008167A - 歪み検出装置及び歪み検出方法 - Google Patents
歪み検出装置及び歪み検出方法 Download PDFInfo
- Publication number
- JP2010008167A JP2010008167A JP2008166493A JP2008166493A JP2010008167A JP 2010008167 A JP2010008167 A JP 2010008167A JP 2008166493 A JP2008166493 A JP 2008166493A JP 2008166493 A JP2008166493 A JP 2008166493A JP 2010008167 A JP2010008167 A JP 2010008167A
- Authority
- JP
- Japan
- Prior art keywords
- strain
- voltage
- source
- electrode
- drain
- Prior art date
- Legal status (The legal status is an assumption and is not a legal conclusion. Google has not performed a legal analysis and makes no representation as to the accuracy of the status listed.)
- Granted
Links
Images
Landscapes
- Measurement Of Length, Angles, Or The Like Using Electric Or Magnetic Means (AREA)
- Pressure Sensors (AREA)
Abstract
【解決手段】ゲート電極と、ソース電極と、ドレイン電極と、チャネルが形成される圧電材料からなる層と、を有する歪み検出素子と、前記歪み検出素子の前記ゲート電極と前記ソース電極との間にゲートソース間電圧を印加する電圧印加手段と、前記歪み検出素子の前記ドレイン電極と前記ソース電極との間に流れるドレインソース間電流を検出する電流検出手段と、前記電流検出手段の検出結果に基いて歪み量を検出する歪み量検出手段と、を有する歪み検出装置であって、前記ゲートソース間電圧は、前記歪み検出素子に歪みを印加していないときの前記ドレインソース間電流と、前記歪み検出素子に所定の歪みを印加したときの前記ドレインソース間電流との差である電流変化量が所定の値以上になるように印加されていることを特徴とする。
【選択図】図2
Description
本発明に係る歪み検出素子は、ゲート電極と、ソース電極と、ドレイン電極と、チャネルが形成される圧電材料からなる層とを有するトランジスタにより構成される。具体的には、例えば、電界効果トランジスタ(FET)、絶縁ゲート型バイポーラ・トランジスタ(IGBT)、ヘテロ構造電界効果型トランジスタ(HFET)、変調ドープ電界効果型トランジスタ(MODFET)、高電子移動度トランジスタ(HEMT)等により構成される。チャネルが形成される層を構成する圧電材料としては、例えば、AlGaN、GaN等のIII−V族半導体等を用いることができる。
図7は、本発明に係る歪み検出素子に圧縮歪み又は引張り歪みを印加したときのVgs−ΔIds特性を例示する図である。図7において、電流変化量ΔIdsは、圧縮歪み又は引張り歪み印加前の歪み検出素子10のドレイン電極18とソース電極17との間に流れる電流をIds1、圧縮歪み又は引張り歪み印加時の歪み検出素子10のドレイン電極18とソース電極17との間に流れる電流をIds2としたときの、ΔIds=Ids2−Ids1である。
本発明の第2の実施の形態では、本発明の第1の実施の形態と同様に、圧電材料であるAlGaN、GaNを用いて形成した高電子移動度トランジスタ(High Electron Mobility Transistor、HEMT)を用いた歪み検出素子を例にとり、本発明について詳しく説明する。又、係る歪み検出素子を有する歪み検出装置を例にとり、本発明について詳しく説明する。
本発明の第3の実施の形態では、本発明の第1の実施の形態及び第2の実施の形態と同様に、圧電材料であるAlGaN、GaNを用いて形成した高電子移動度トランジスタ(High Electron Mobility Transistor、HEMT)を用いた歪み検出素子を例にとり、本発明について詳しく説明する。又、係る歪み検出素子を有する歪み検出装置を例にとり、本発明について詳しく説明する。
本発明の第4の実施の形態では、本発明の第1の実施の形態〜第3の実施の形態と同様に、圧電材料であるAlGaN、GaNを用いて形成した高電子移動度トランジスタ(High Electron Mobility Transistor、HEMT)を用いた歪み検出素子を例にとり、本発明について詳しく説明する。又、係る歪み検出素子を有する歪み検出装置を例にとり、本発明について詳しく説明する。
本発明の第5の実施の形態では、本発明の第1の実施の形態〜第4の実施の形態と同様に、圧電材料であるAlGaN、GaNを用いて形成した高電子移動度トランジスタ(High Electron Mobility Transistor、HEMT)を用いた歪み検出素子を例にとり、本発明について詳しく説明する。又、係る歪み検出素子を有する歪み検出装置を例にとり、本発明について詳しく説明する。
本発明の第6の実施の形態では、本発明の第1の実施の形態〜第5の実施の形態と同様に、圧電材料であるAlGaN、GaNを用いて形成した高電子移動度トランジスタ(High Electron Mobility Transistor、HEMT)を用いた歪み検出素子を例にとり、本発明について詳しく説明する。又、係る歪み検出素子を有する歪み検出装置を例にとり、本発明について詳しく説明する。
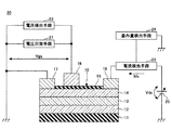
11 基板
12 バッファ層
13 チャネル層
14 キャリア供給層
15 絶縁膜
16 ゲート電極
17 ソース電極
18 ドレイン電極
20,30,40,50,60,70 歪み検出装置
21,61,71,75 電圧印加手段
22,53,62,76 電圧検出手段
23,33,43,63 電流検出手段
24,34,44,54,64,72 歪み量検出手段
25,65,78d 電圧源
36,56 電圧調整手段
45,68,77 定電流源
66,73 補正手段
67 Vds補正用素子
69 ソースフォロワ回路
69a,69b,69c,78a,78b,78c トランジスタ
74 Vgs補正用素子
78 カレントミラー回路
Claims (17)
- ゲート電極と、ソース電極と、ドレイン電極と、チャネルが形成される圧電材料からなる層と、を有する歪み検出素子と、
前記歪み検出素子の前記ゲート電極と前記ソース電極との間にゲートソース間電圧を印加する電圧印加手段と、
前記歪み検出素子の前記ドレイン電極と前記ソース電極との間に流れるドレインソース間電流を検出する電流検出手段と、
前記電流検出手段の検出結果に基いて歪み量を検出する歪み量検出手段と、を有する歪み検出装置であって、
前記ゲートソース間電圧は、前記歪み検出素子に歪みを印加していないときの前記ドレインソース間電流と、前記歪み検出素子に所定の歪みを印加したときの前記ドレインソース間電流との差である電流変化量が所定の値以上になるように印加されていることを特徴とする歪み検出装置。 - 前記所定の値は、前記歪み検出素子に所定の歪みを印加したときの前記電流変化量の最大値又は最小値近傍の値であることを特徴とする請求項1記載の歪み検出装置。
- 更に、前記歪み検出素子に検出すべき歪みを印加したときの前記ドレインソース間電流が、前記歪み検出素子に歪みを印加していないときの前記ドレインソース間電流と等しくなるように前記ゲートソース間電圧を調整する電圧調整手段を有することを特徴とする請求項1又は2記載の歪み検出装置。
- ゲート電極と、ソース電極と、ドレイン電極と、チャネルが形成される圧電材料からなる層と、を有する歪み検出素子と、
前記歪み検出素子の前記ゲート電極と前記ソース電極との間にゲートソース間電圧を印加する電圧印加手段と、
前記歪み検出素子の前記ドレイン電極と前記ソース電極との間のドレインソース間電圧を検出する電圧検出手段と、
前記電圧検出手段の検出結果に基いて歪み量を検出する歪み量検出手段と、を有する歪み検出装置であって、
前記ゲートソース間電圧は、前記歪み検出素子の閾値電圧近傍の値になるように印加されていることを特徴とする歪み検出装置。 - 更に、前記歪み検出素子に検出すべき歪みを印加したときの前記ドレインソース間電圧が、前記歪み検出素子に歪みを印加していないときの前記ドレインソース間電圧と等しくなるように前記ゲートソース間電圧を調整する電圧調整手段を有することを特徴とする請求項4記載の歪み検出装置。
- ゲート電極と、ソース電極と、ドレイン電極と、チャネルが形成される圧電材料からなる層と、を有する歪み検出素子と、
前記歪み検出素子の温度変化による特性変化を補正する補正手段と、
前記歪み検出素子の前記ゲート電極と前記ソース電極との間にゲートソース間電圧を印加する電圧印加手段と、
前記歪み検出素子の前記ドレイン電極と前記ソース電極との間に流れるドレインソース間電流を検出する電流検出手段と、
前記電流検出手段の検出結果に基いて歪み量を検出する歪み量検出手段と、を有する歪み検出装置。 - 前記補正手段は、前記歪み検出素子と同一構造である補正用素子と、
前記補正用素子のドレイン電極とソース電極との間に所定の電流を供給する定電流源と、
前記歪み検出素子と前記補正用素子とを接続する高入力インピーダンス回路と、を有し、
前記歪み検出素子に歪みが印加されていない状態で、前記歪み検出素子の前記ドレイン電極と前記ソース電極との間に流れる前記ドレインソース間電流は、前記所定の電流と同一値であることを特徴とする請求項6記載の歪み検出装置。 - 前記高入力インピーダンス回路は、ソースフォロワ回路を含んで構成されていることを特徴とする請求項7記載の歪み検出装置。
- ゲート電極と、ソース電極と、ドレイン電極と、チャネルが形成される圧電材料からなる層と、を有する歪み検出素子と、
前記歪み検出素子の温度変化による特性変化を補正する補正手段と、
前記歪み検出素子の前記ドレイン電極と前記ソース電極との間のドレインソース間電圧を検出する電圧検出手段と、
前記電圧検出手段の検出結果に基いて歪み量を検出する歪み量検出手段と、を有する歪み検出装置。 - 前記補正手段は、前記歪み検出素子と同一構造である補正用素子と、
前記歪み検出素子及び前記補正用素子のそれぞれのドレイン電極とソース電極との間に同一値の所定の電流を供給するカレントミラー回路と、
前記カレントミラー回路の供給する前記所定の電流を設定する定電流源と、
前記補正用素子のゲート電極と前記ドレイン電極との間にゲートドレイン間電圧を印加する電圧印加手段と、を有し、
前記歪み検出素子に歪みが印加されていない状態で、前記歪み検出素子の前記ドレイン電極と前記ソース電極との間のドレインソース間電圧は、前記補正用素子の前記ドレイン電極と前記ソース電極との間のドレインソース間電圧と同一値であることを特徴とする請求項9記載の歪み検出装置。 - 前記補正手段を構成する前記電圧印加手段は、前記補正用素子の前記ゲート電極と前記ドレイン電極との間に、前記歪み検出素子の閾値電圧と同一値の電圧を印加することを特徴とする請求項10記載の歪み検出装置。
- ゲート電極と、ソース電極と、ドレイン電極と、チャネルが形成される圧電材料からなる層と、を有する歪み検出素子の歪み検出方法であって、
前記歪み検出素子に所定の歪みを印加し、前記ドレイン電極と前記ソース電極との間に流れるドレインソース間電流がピーク又はボトム近傍になるように、前記ゲート電極と前記ソース電極との間に印加するゲートソース間電圧を調整する第1ステップと、
前記歪み検出素子に歪みを印加しないで、前記ドレイン電極と前記ソース電極との間に流れるドレインソース間電流Aを検出する第2ステップと、
前記歪み検出素子に検出すべき歪みを印加し、前記ソース電極と前記ドレイン電極との間に流れるドレインソース間電流Bを検出する第3ステップと、
前記検出すべき歪み量を求める第4ステップとを有することを特徴とする歪み検出方法。 - 前記第4ステップは、前記ドレインソース間電流A及びBから電流変化率(B−A)/Aを算出する第5ステップと、
前記電流変化率(B−A)/Aに基づいて、前記検出すべき歪み量を求める第6ステップとを有することを特徴とする請求項12記載の歪み検出方法。 - 前記第4ステップは、前記ドレインソース間電流Bが前記ドレインソース間電流Aと等しくなるように、前記ゲート電極と前記ソース電極との間に印加する前記ゲートソース間電圧を調整する第7ステップと、
前記第7ステップにおける前記ゲートソース間電圧の調整量に基づいて、前記検出すべき歪み量を求める第8ステップとを有することを特徴とする請求項12記載の歪み検出方法。 - ゲート電極と、ソース電極と、ドレイン電極と、チャネルが形成される圧電材料からなる層と、を有する歪み検出素子の歪み検出方法であって、
前記ゲート電極と前記ソース電極との間に印加するゲートソース間電圧を、前記歪み検出素子の閾値電圧近傍の値に調整する第1ステップと、
前記歪み検出素子に歪みを印加しないで、前記ドレイン電極と前記ソース電極との間のドレインソース間電圧Cを検出する第2ステップと、
前記歪み検出素子に検出すべき歪みを印加し、前記ドレイン電極と前記ソース電極との間のドレインソース間電圧Dを検出する第3ステップと、
前記検出すべき歪み量を求める第4ステップとを有することを特徴とする歪み検出方法。 - 前記第4ステップは、前記ドレインソース間電圧C及びDから、電圧変化率(D−C)/Cを算出する第5ステップと、
前記電圧変化率(D−C)/Cに基づいて、前記検出すべき歪み量を求める第6ステップとを有することを特徴とする請求項15記載の歪み検出方法。 - 前記第4ステップは、前記ドレインソース間電圧Dが前記ドレインソース間電圧Cと等しくなるように、前記ゲート電極と前記ソース電極との間に印加する前記ゲートソース間電圧を調整する第7ステップと、
前記第7ステップにおける前記ゲートソース間電圧の調整量に基づいて、前記検出すべき歪み量を求める第8ステップとを有することを特徴とする請求項15記載の歪み検出方法。
Priority Applications (1)
| Application Number | Priority Date | Filing Date | Title |
|---|---|---|---|
| JP2008166493A JP4968198B2 (ja) | 2008-06-25 | 2008-06-25 | 歪み検出装置及び歪み検出方法 |
Applications Claiming Priority (1)
| Application Number | Priority Date | Filing Date | Title |
|---|---|---|---|
| JP2008166493A JP4968198B2 (ja) | 2008-06-25 | 2008-06-25 | 歪み検出装置及び歪み検出方法 |
Publications (2)
| Publication Number | Publication Date |
|---|---|
| JP2010008167A true JP2010008167A (ja) | 2010-01-14 |
| JP4968198B2 JP4968198B2 (ja) | 2012-07-04 |
Family
ID=41588864
Family Applications (1)
| Application Number | Title | Priority Date | Filing Date |
|---|---|---|---|
| JP2008166493A Expired - Fee Related JP4968198B2 (ja) | 2008-06-25 | 2008-06-25 | 歪み検出装置及び歪み検出方法 |
Country Status (1)
| Country | Link |
|---|---|
| JP (1) | JP4968198B2 (ja) |
Cited By (1)
| Publication number | Priority date | Publication date | Assignee | Title |
|---|---|---|---|---|
| WO2018131170A1 (ja) * | 2017-01-16 | 2018-07-19 | 株式会社村田製作所 | 歪抵抗素子、力学量検知センサおよびマイクロフォン |
Citations (17)
| Publication number | Priority date | Publication date | Assignee | Title |
|---|---|---|---|---|
| JPS58105029A (ja) * | 1981-12-18 | 1983-06-22 | Hitachi Ltd | 圧力−電気変換装置 |
| JPS6027828A (ja) * | 1983-07-26 | 1985-02-12 | Miyagi Kogyo Koutou Senmon Gatsukouchiyou | Mos fetストレインゲ−ジ |
| JPS61100627A (ja) * | 1984-10-24 | 1986-05-19 | Yokogawa Hokushin Electric Corp | 振動式歪センサ |
| JPH02194343A (ja) * | 1989-01-24 | 1990-07-31 | Honda Motor Co Ltd | 半導体応力センサ |
| JPH0324465A (ja) * | 1989-06-21 | 1991-02-01 | Honda Motor Co Ltd | 温度補正装置付歪みセンサ装置 |
| JPH0324467A (ja) * | 1989-06-21 | 1991-02-01 | Honda Motor Co Ltd | 加速度センサの故障診断装置 |
| JPH0324466A (ja) * | 1989-06-21 | 1991-02-01 | Honda Motor Co Ltd | 加速度センサの故障診断装置 |
| JPH04105369A (ja) * | 1990-08-24 | 1992-04-07 | Honda Motor Co Ltd | 半導体センサ |
| JPH04120470A (ja) * | 1990-09-11 | 1992-04-21 | Honda Motor Co Ltd | 加速度センサおよびその故障診断装置 |
| JPH04209575A (ja) * | 1990-12-07 | 1992-07-30 | Toyota Motor Corp | 化合物半導体センサユニット |
| JPH098325A (ja) * | 1995-06-23 | 1997-01-10 | Matsushita Electric Ind Co Ltd | 電気絶縁基板の製造法およびこれを用いた力学量センサ |
| JPH11148946A (ja) * | 1997-11-17 | 1999-06-02 | Asahi Chem Ind Co Ltd | 集積化加速度センサ |
| JPH11163020A (ja) * | 1997-11-28 | 1999-06-18 | Matsushita Electric Works Ltd | 半導体装置 |
| JP2000356505A (ja) * | 1999-06-16 | 2000-12-26 | Toyota Central Res & Dev Lab Inc | 歪検出素子 |
| JP2006098408A (ja) * | 2004-09-28 | 2006-04-13 | Rosemount Aerospace Inc | 圧力センサ |
| WO2007052800A1 (ja) * | 2005-11-07 | 2007-05-10 | Rohm Co., Ltd. | 半導体圧力センサ |
| JP2007530957A (ja) * | 2004-04-01 | 2007-11-01 | キモンダ アクチエンゲゼルシャフト | 有機電界効果トランジスタを備える力センサ、並びに該力センサを用いた圧力センサ、位置センサ、および指紋センサ |
-
2008
- 2008-06-25 JP JP2008166493A patent/JP4968198B2/ja not_active Expired - Fee Related
Patent Citations (17)
| Publication number | Priority date | Publication date | Assignee | Title |
|---|---|---|---|---|
| JPS58105029A (ja) * | 1981-12-18 | 1983-06-22 | Hitachi Ltd | 圧力−電気変換装置 |
| JPS6027828A (ja) * | 1983-07-26 | 1985-02-12 | Miyagi Kogyo Koutou Senmon Gatsukouchiyou | Mos fetストレインゲ−ジ |
| JPS61100627A (ja) * | 1984-10-24 | 1986-05-19 | Yokogawa Hokushin Electric Corp | 振動式歪センサ |
| JPH02194343A (ja) * | 1989-01-24 | 1990-07-31 | Honda Motor Co Ltd | 半導体応力センサ |
| JPH0324465A (ja) * | 1989-06-21 | 1991-02-01 | Honda Motor Co Ltd | 温度補正装置付歪みセンサ装置 |
| JPH0324467A (ja) * | 1989-06-21 | 1991-02-01 | Honda Motor Co Ltd | 加速度センサの故障診断装置 |
| JPH0324466A (ja) * | 1989-06-21 | 1991-02-01 | Honda Motor Co Ltd | 加速度センサの故障診断装置 |
| JPH04105369A (ja) * | 1990-08-24 | 1992-04-07 | Honda Motor Co Ltd | 半導体センサ |
| JPH04120470A (ja) * | 1990-09-11 | 1992-04-21 | Honda Motor Co Ltd | 加速度センサおよびその故障診断装置 |
| JPH04209575A (ja) * | 1990-12-07 | 1992-07-30 | Toyota Motor Corp | 化合物半導体センサユニット |
| JPH098325A (ja) * | 1995-06-23 | 1997-01-10 | Matsushita Electric Ind Co Ltd | 電気絶縁基板の製造法およびこれを用いた力学量センサ |
| JPH11148946A (ja) * | 1997-11-17 | 1999-06-02 | Asahi Chem Ind Co Ltd | 集積化加速度センサ |
| JPH11163020A (ja) * | 1997-11-28 | 1999-06-18 | Matsushita Electric Works Ltd | 半導体装置 |
| JP2000356505A (ja) * | 1999-06-16 | 2000-12-26 | Toyota Central Res & Dev Lab Inc | 歪検出素子 |
| JP2007530957A (ja) * | 2004-04-01 | 2007-11-01 | キモンダ アクチエンゲゼルシャフト | 有機電界効果トランジスタを備える力センサ、並びに該力センサを用いた圧力センサ、位置センサ、および指紋センサ |
| JP2006098408A (ja) * | 2004-09-28 | 2006-04-13 | Rosemount Aerospace Inc | 圧力センサ |
| WO2007052800A1 (ja) * | 2005-11-07 | 2007-05-10 | Rohm Co., Ltd. | 半導体圧力センサ |
Cited By (1)
| Publication number | Priority date | Publication date | Assignee | Title |
|---|---|---|---|---|
| WO2018131170A1 (ja) * | 2017-01-16 | 2018-07-19 | 株式会社村田製作所 | 歪抵抗素子、力学量検知センサおよびマイクロフォン |
Also Published As
| Publication number | Publication date |
|---|---|
| JP4968198B2 (ja) | 2012-07-04 |
Similar Documents
| Publication | Publication Date | Title |
|---|---|---|
| US10712208B2 (en) | Integrated temperature sensor for discrete semiconductor devices | |
| JP5590240B2 (ja) | パワー半導体デバイスの電流補正回路および電流補正方法 | |
| US20160313378A1 (en) | Current sense ratio compensation | |
| JPS6089745A (ja) | 液体中のイオンの活性度を測定する装置および方法 | |
| Brazzini et al. | Investigation of AlInN barrier ISFET structures with GaN capping for pH detection | |
| Wu et al. | Metal piezoelectric semiconductor field effect transistors for piezoelectric strain sensors | |
| Zhu et al. | High-gauge factor strain sensor based on piezoelectric aluminum nitride coupled to MOSFET | |
| US8008691B2 (en) | Ion sensitive field effect transistor and production method thereof | |
| CN107422243A (zh) | 氮化镓hemt器件结温测试装置、测试板、测试系统及其方法 | |
| JP4968198B2 (ja) | 歪み検出装置及び歪み検出方法 | |
| JPWO2012176449A1 (ja) | 双方向スイッチのシミュレーション方法、双方向スイッチのシミュレーション装置、及びプログラム | |
| US10090387B2 (en) | Electronic device with a reverse biased HEMT transistor | |
| JP5413802B2 (ja) | 歪み検出素子 | |
| US20140027782A1 (en) | Semiconductor device and method for reduced bias temperature instability (bti) in silicon carbide devices | |
| Burgmair et al. | Humidity and temperature compensation in work function gas sensor FETs | |
| Edwards et al. | Pressure and temperature dependence of GaN/AlGaN high electron mobility transistor based sensors on a sapphire membrane | |
| US20130099769A1 (en) | Current source circuit with high order temperature compensation and current source system thereof | |
| Moser et al. | Model and simulation of GaN-based pressure sensors for high temperature applications—Part II: Sensor design and simulation | |
| JP2009250901A (ja) | 歪み検出素子、歪み検出装置及び歪み検出方法 | |
| US8082796B1 (en) | Temperature extraction from a pressure sensor | |
| US10605872B2 (en) | Calibration method for a hall effect sensor | |
| TWI247906B (en) | Skew detection device | |
| JP3112599B2 (ja) | イオンセンサ及びイオン測定方法 | |
| US10818785B2 (en) | Sensing device for sensing minor charge variations | |
| JPH1050993A (ja) | 電流検出機能付き半導体装置 |
Legal Events
| Date | Code | Title | Description |
|---|---|---|---|
| A621 | Written request for application examination |
Free format text: JAPANESE INTERMEDIATE CODE: A621 Effective date: 20100723 |
|
| A977 | Report on retrieval |
Free format text: JAPANESE INTERMEDIATE CODE: A971007 Effective date: 20111021 |
|
| A131 | Notification of reasons for refusal |
Free format text: JAPANESE INTERMEDIATE CODE: A131 Effective date: 20111206 |
|
| A521 | Written amendment |
Free format text: JAPANESE INTERMEDIATE CODE: A523 Effective date: 20120130 |
|
| TRDD | Decision of grant or rejection written | ||
| A01 | Written decision to grant a patent or to grant a registration (utility model) |
Free format text: JAPANESE INTERMEDIATE CODE: A01 Effective date: 20120306 |
|
| A01 | Written decision to grant a patent or to grant a registration (utility model) |
Free format text: JAPANESE INTERMEDIATE CODE: A01 |
|
| A61 | First payment of annual fees (during grant procedure) |
Free format text: JAPANESE INTERMEDIATE CODE: A61 Effective date: 20120319 |
|
| FPAY | Renewal fee payment (prs date is renewal date of database) |
Free format text: PAYMENT UNTIL: 20150413 Year of fee payment: 3 |
|
| FPAY | Renewal fee payment (prs date is renewal date of database) |
Free format text: PAYMENT UNTIL: 20150413 Year of fee payment: 3 |
|
| LAPS | Cancellation because of no payment of annual fees |
