JP2010005733A - 電動工具 - Google Patents

電動工具 Download PDF

Info

Publication number
JP2010005733A
JP2010005733A JP2008167791A JP2008167791A JP2010005733A JP 2010005733 A JP2010005733 A JP 2010005733A JP 2008167791 A JP2008167791 A JP 2008167791A JP 2008167791 A JP2008167791 A JP 2008167791A JP 2010005733 A JP2010005733 A JP 2010005733A
Authority
JP
Japan
Prior art keywords
housing
main body
motor
inner housing
body housing
Prior art date
Legal status (The legal status is an assumption and is not a legal conclusion. Google has not performed a legal analysis and makes no representation as to the accuracy of the status listed.)
Granted
Application number
JP2008167791A
Other languages
English (en)
Other versions
JP5171432B2 (ja
Inventor
Masanori Furusawa
正規 古澤
Yoshihiro Kasuya
喜洋 糟谷
Current Assignee (The listed assignees may be inaccurate. Google has not performed a legal analysis and makes no representation or warranty as to the accuracy of the list.)
Makita Corp
Original Assignee
Makita Corp
Priority date (The priority date is an assumption and is not a legal conclusion. Google has not performed a legal analysis and makes no representation as to the accuracy of the date listed.)
Filing date
Publication date
Application filed by Makita Corp filed Critical Makita Corp
Priority to JP2008167791A priority Critical patent/JP5171432B2/ja
Priority to US12/457,777 priority patent/US20090321101A1/en
Priority to AT09008268T priority patent/ATE526120T1/de
Priority to EP11176543.4A priority patent/EP2384860B1/en
Priority to EP09008268A priority patent/EP2138278B1/en
Priority to CN2009101495091A priority patent/CN101612729B/zh
Priority to RU2009124369/03A priority patent/RU2503813C2/ru
Publication of JP2010005733A publication Critical patent/JP2010005733A/ja
Priority to US13/715,516 priority patent/US20130098648A1/en
Application granted granted Critical
Publication of JP5171432B2 publication Critical patent/JP5171432B2/ja
Active legal-status Critical Current
Anticipated expiration legal-status Critical

Links

Images

Landscapes

  • Portable Power Tools In General (AREA)
  • Percussive Tools And Related Accessories (AREA)
  • Drilling And Boring (AREA)

Abstract

【課題】修理等に係る作業性を向上させる。
【解決手段】本体ハウジング20内に、出力部5の後方部分を収容して本体ハウジング20よりも前方へ突出し、左右ハウジング23,24で挟持固定されるインナハウジング22を設ける一方、前側ハウジング21を、インナハウジング22の突出部47に重合させた状態で本体ハウジング20の前面に組み付けて、左右ハウジング23,24と前側ハウジング21との連結部分の剛性を確保しつつ、各ハウジングを夫々単独で取り外し可能とした。
【選択図】図1

Description

本発明は、ハンマードリル等の電動工具に関する。
例えばハンマードリルでは、ハウジング内に、モータと、そのモータの駆動によって動作する出力部(回転打撃機構)とを収容し、出力部の動作によって先端に装着したビットを打撃及び/又は回転動作させるようになっている。このハウジングは、例えば特許文献1に開示のように、モータ等を収容して左右一対の分割ハウジングをネジ等で組み付けてなる本体ハウジングと、その本体ハウジングの前方にネジ等によって組み付けられ、出力部を収容する前側ハウジングとに分割されている。
特開2007−105871号公報
従来のハウジングは、本体ハウジングと前側ハウジングとの分割部分での剛性を確保するために、例えば分割ハウジングの前端で前側ハウジングの後端を挟持させたり、逆に本体ハウジングの前端に前側ハウジングの後端を外嵌させたりして、本体ハウジングと前側ハウジングとを互いに重合する状態で連結している。
このため、例えば本体ハウジング側でモータの修理等を行う際に、前側ハウジングも取り外さないと分割ハウジングの取り外しができなかったり、逆に前側ハウジング側で出力部の修理等を行う際に、本体ハウジングも取り外さないと前側ハウジングの取り外しができなかったりして、修理等に係る作業に手間が掛かっていた。
そこで、本発明は、本体ハウジングと前側ハウジングとの分割部分での剛性を確保しつつ、本体ハウジング側と前側ハウジング側との何れの修理を行う場合も対応するハウジングのみの取り外しを可能として、修理等に係る作業性を向上させることができる電動工具を提供することを目的としたものである。
上記目的を達成するために、請求項1に記載の発明は、本体ハウジング内に、出力部の後方部分を収容して本体ハウジングよりも前方へ突出し、分割ハウジングで挟持固定されるインナハウジングを設ける一方、前側ハウジングを、インナハウジングの突出部に重合させた状態で本体ハウジングの前面に組み付けて、分割ハウジングと前側ハウジングとを夫々単独で取り外し可能としたことを特徴とするものである。
請求項2に記載の発明は、請求項1の構成において、インナハウジングを本体ハウジング内で合理的且つ精度よく組み付けるために、分割ハウジング同士を、互いの内面に突設されて組み付け状態で同軸突き合わせ状となる筒状のボスの位置でネジ止めする一方、インナハウジングに、本体ハウジング内の組み付け位置でボスが貫通する位置決め孔を設けて、分割ハウジングのネジ止めと同時にインナハウジングを位置決め固定可能としたことを特徴とするものである。
請求項3に記載の発明は、請求項1又は2の構成において、モータから出力部への回転伝達を確実に行うために、モータを、インナハウジングの下側で出力軸を上向きに、且つ出力軸の上端よりも下端が前方寄りとなる傾斜姿勢で収容し、出力軸の上端をインナハウジング内に挿入させて出力部の入力端に設けたベベルギヤに噛合させたことを特徴とするものである。
請求項1に記載の発明によれば、本体ハウジングと前側ハウジングとの分割部分での剛性を確保しつつ、本体ハウジング側と前側ハウジング側との何れの修理を行う場合も対応するハウジングのみの取り外しで対応でき、修理等に係る作業性を向上させることができる。
請求項2に記載の発明によれば、請求項1の効果に加えて、インナハウジングを本体ハウジング内で合理的且つ精度よく組み付け可能となる。よって、モータと出力部との位置関係が安定し、回転伝達に支障が生じない。
請求項3に記載の発明によれば、請求項1又は2の効果に加えて、モータから出力部への回転伝達が確実に行える。
以下、本発明の実施の形態を図面に基づいて説明する。
図1は、電動工具の一例であるハンマードリルの全体図で、ハンマードリル1は、後方(図1の左側)下側にバッテリー2を装着し、その前方にモータ3を出力軸4を上向きにして収容して、モータ3の上方に出力部5を設けた構成となっている。出力部5は、まず前後方向に軸支される中間軸6を有し、その中間軸6の前後に、第1ギヤ7とスワッシュベアリング8とを夫々中間軸6と別体回転可能に外装すると共に、第1ギヤ7とスワッシュベアリング8との間にクラッチスリーブ9を、中間軸6と一体回転可能且つ軸方向へスライド可能に設けている。また、中間軸6の上方では、第1ギヤ7と噛合する第2ギヤ11を一体に外装した筒状のツールホルダ10が中間軸6と平行に軸支されており、ツールホルダ10内には、ストライカ13を内設したピストンシリンダ12が進退動可能に遊挿されている。このピストンシリンダ12の後端がスワッシュベアリング8のアーム14と連結されて、ピストンシリンダ12の前方にインパクトボルト15が前後移動可能に収容されている。
よって、図示しない操作ツマミによってクラッチスリーブ9を前方へスライドさせて第1ギヤ7のみと係合させると、中間軸6の回転がクラッチスリーブ9を介して第1ギヤ7に伝わり、第2ギヤ11を介してツールホルダ10に伝わることで、ツールホルダ10の先端に装着した図示しないビットがツールホルダ10と共に回転する(ドリルモード)。また、クラッチスリーブ9を後方へスライドさせてスワッシュベアリング8のみと係合させると、中間軸6の回転がクラッチスリーブ9を介してスワッシュベアリング8に伝わり、アーム14が前後へ揺動してピストンシリンダ12を進退動させ、ストライカ13を連動させてインパクトボルト15を打撃し、ビットを打撃する(ハンマーモード)。さらに、クラッチスリーブ9を第1ギヤ7とスワッシュベアリング8との双方に係合させると、第1ギヤ7とスワッシュベアリング8との双方が回転し、ビットは回転しながら打撃される(ハンマードリルモード)。
そして、ハンマードリル1のハウジングは、出力部5の後方部分からモータ3を含む後方全体を覆う本体ハウジング20と、その本体ハウジング20の前方で出力部5の前方部分を覆う前側ハウジング21とに分割されている。また、出力部5は、本体ハウジング20内に組み付けられたインナハウジング22に後方部分が収容されている。
まず本体ハウジング20は、図4(A)に示すように、分割ハウジングとなる一対の左右ハウジング23,24からなり、左ハウジング23の内面には、ネジ孔を有する筒状のボス25,25・・が突設される一方、右ハウジング24の内面には、左ハウジング23への組み付け状態で各ボス25に外嵌して同軸突き合わせ状態となり、透孔を有する筒状のボス26,26・・が夫々突設されている。よって、左ハウジング23側からボス26にネジ27を貫通させてボス25にねじ込むことで、本体ハウジング20が組み付けられる。なお、本体ハウジング20の後方上側には、モータ3を駆動させるスイッチ16を収容し、押し操作によってスイッチ16をONさせるスイッチレバー17を備えたハンドル28が連結されている。
また、インナハウジング22は、前方を開口させ、後方を閉塞した箱状体で、後方内部に設けたボールベアリング29で中間軸6の後端を軸支する一方、下面の差込口30からモータ3の出力軸4を差し込ませて、出力軸4に外装したボールベアリング31を差込口30に嵌合させることで、出力軸4を軸支するようになっている。ここでのモータ3は、出力軸4の下端が上端よりも前寄りとなる傾斜姿勢で本体ハウジング20内に収容されており、差込口30からインナハウジング22に差し込まれた出力軸4の先端は、中間軸6の後端に固着されて出力部5の入力端に位置するベベルギヤ18と噛合して、出力軸4の回転を中間軸6へ伝達可能としている。
ここで、出力軸4におけるボールベアリング31よりも先端側には、図2にも示すように、差込口30内に保持されたシール部材としてのオイルシール33が摺接するスリーブ32が圧入されて、インナハウジング22内のシールを図っている。34はスリーブ32の先端側で出力軸4に係止された止め輪である。また、出力軸4における差込口30の開口際には、くびれ部35が形成されて、そのくびれ部35に、外装したボールベアリング31の外側端面に当接するストッパリング36が外装されている。
そして、インナハウジング22における差込口30の開口部分には、ベアリングリテーナ37が設けられている。このベアリングリテーナ37は、ボールベアリング31の外側端面の略半周部分に当接する半円状で、外周側の上下に突設したリング状の取付部38,38には、ナット39が夫々固着されると共に、両取付部38,38の間には、ナット39の反対側へL字状に折り返される係止爪40,40が形成されている。
一方、インナハウジング22の上下には、係止爪40,40が係止する厚みを有し、互いの対向端に突起42を夫々突設した一対のネジ止め部41,41が形成されている。
よって、ベアリングリテーナ37の係止爪40,40をネジ止め部41,41に係止させると、係止爪40,40が突起42,42に当接してベアリングリテーナ37の上下方向への移動が規制されて、取付部38及びナット39の中心がネジ止め部41の図示しない貫通孔と一致する取付位置に位置決めされる。この状態でネジ止め部41及び取付部38に夫々止めネジ43を貫通させてナット39にねじ込むと、ベアリングリテーナ37は、差込口30の開口及びボールベアリング31の外側端面に当接する状態で固定されて、ボールベアリング31を差込口30の開口際で抜け止めする。こうして出力軸4に外装されるボールベアリング31に、出力軸4の先端側からスリーブ32に当接させる一方、反対側からはベアリングリテーナ37に当接させることで、出力軸4は軸方向にがたつきなく位置決めされる。
さらに、インナハウジング22の後端の上下二箇所には、本体ハウジング20内の組み付け位置で左ハウジング23のボス25が貫通する位置決め孔45を有した筒部44が形成されている。この位置決め孔45へのボス25の貫通状態で、図6(A)に示すように、筒部44の端面がボス25の外周から左ハウジング23の内面に立設されたリブ46に当接する。こうしてインナハウジング22を左ハウジング23に組み付けた状態で右ハウジング24を組み付けると、右ハウジング24のボス26が筒部44の端面に当接して筒部44を左右方向の中央に位置決めする。すなわち、本体ハウジング20のネジ止めと同時にインナハウジング22をボス25,26によって位置決め固定可能としたものである。
加えて、インナハウジング22の前端は、本体ハウジング20の前端開口よりも前方へ突出して、その突出部47の外面に形成された周方向の凹溝48には、Oリング49が外装されている。
一方、前側ハウジング21は、本体ハウジング20の前端開口に合致する後端開口を有し、インナハウジング22の前方部分からツールホルダ10及び中間軸6の前端まで覆う先細りの筒状体で、内部にはツールホルダ10を軸支する軸受50と、中間軸6の前端を軸支するボールベアリング51とが設けられている。この前側ハウジング21と本体ハウジング20との組付けは、図6(B)に示すように、前側ハウジング21の後端に形成された貫通孔52からネジ53を貫通させて、左右ハウジング23,24の前端に形成されたネジ孔54にねじ込むことで行われる。この組み付け状態で、インナハウジング22の突出部47の外面に突設された突条55が、本体ハウジング20と前側ハウジング21とに挟持されて、Oリング49が前側ハウジング21の内面に当接するようになっている。
56は、モータ3の下方で本体ハウジング20の前方下部に収容されたLEDで、ツールホルダ10に装着されたビットの前方を照射するように前方斜め上を向いた姿勢となっている。特にここでは、モータ3の傾斜姿勢によって本体ハウジング20の下部形状が下方へ行くに従って徐々に前方へ突出する傾斜状となっており、LED56はその傾斜状部分の略突出端に位置する格好となるため、本体ハウジング20の最先端から作業位置を効果的に照射可能となっている。
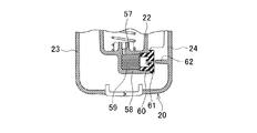
そして、インナハウジング22の後端でピストンシリンダ12の後方には、図7にも示すように、エア抜き孔57が前後方向に穿設され、インナハウジング22の後面には、エア抜き孔57と連通し、軸線がエア抜き孔57と直交して右側に向けて開口する有底の筒部58が形成されている。この筒部58の底側には、フェルト製のフィルタ59が充填される一方、開口側には、フィルタ59側に開口する有底筒状で、閉塞側の軸心に排気孔61を形成したフィルタキャップ60が嵌着されて、フィルタ59を抜け止めしている。また、右ハウジング24の内面には、組み付け状態でフィルタキャップ60の排気孔61に先端が近接する突起62が突設されて、フィルタキャップ60の抜け止めを図っている。
よって、出力部5の作動に伴う発熱でインナハウジング22内の温度が上昇し、内部の空気が膨張すると、エア抜き孔57から筒部58を介してフィルタキャップ60の排気孔61から排出される。このとき、インナハウジング22内の潤滑油(グリス等)が空気と共にエア抜き孔57から筒部58に進入することがあっても、フィルタ59に吸収され、さらにフィルタ59から潤滑油が溢れることがあっても、フィルタキャップ60によってせき止められるため、排気孔61から本体ハウジング20内に出ることがない。
特にここでは、前後方向のエア抜き孔57に対して排気孔61が直交方向の向きに設けられて右ハウジング24側に向いているため、右ハウジング24の組み付けと同時にフィルタキャップ60が突起62によって抜け止めされる合理的な構成となっている。
以上の如く構成されたハンマードリル1においては、ハンドル28を組み付けた左ハウジング23上に、モータ3と、出力部5を収容したインナハウジング22とをセットした状態で、右ハウジング24を上方から被せてネジ止めすると、前述のように本体ハウジング20の組付けと共にインナハウジング22の本体ハウジング20内での位置決め固定がなされる。なお、出力軸4のインナハウジング22への組付けは、ストッパリング36,ボールベアリング31,スリーブ32,止め輪34を夫々組み付けた後、オイルシール33を組み付けた差込口30に差し込んで、ボールベアリング31の前端をボールベアリング31に合わせて差込口30に形成された嵌合部30aに嵌合させ、最後にベアリングリテーナ37を止めネジ43によって固定する手順となる。
その後、出力部5の前方から前側ハウジング21を被せるようにして本体ハウジング20の前面に組付けてネジ止めすると、図1のようにハンマードリル1の組み立てが完了する。この状態で、前側ハウジング21は本体ハウジング20に加えて、インナハウジング22の突出部47とも一体化されるため、本体ハウジング20と前側ハウジング21との連結部分の剛性は確保される。
そして、例えば出力部5において修理やメンテナンスの必要が生じた場合は、前側ハウジング21を固定するネジ53を取り外せば、図4に示すように、本体ハウジング20はそのままで前側ハウジング21のみを取り外すことができ、出力部5の修理等が行える。
一方、例えばモータ3側において修理やメンテナンス等の必要が生じた場合は、左右ハウジング23,24を固定するネジ27と、前側ハウジング21と右ハウジング24とを固定するネジ53とを取り外せば、図5に示すように、前側ハウジング21はそのままで右ハウジング24のみを取り外すことができ、モータ3等の修理等が行える。
このように、上記形態のハンマードリル1によれば、本体ハウジング20内に、出力部5の一部を収容して本体ハウジング20よりも前方へ突出し、左右ハウジング23,24で挟持固定されるインナハウジング22を設ける一方、前側ハウジング21を、インナハウジング22の突出部47に重合させた状態で本体ハウジング20の前面に組み付けて、左右ハウジング23,24と前側ハウジング21とを夫々単独で取り外し可能としたことで、本体ハウジング20と前側ハウジング21との連結部分の剛性を確保しつつ、本体ハウジング20側と前側ハウジング21側との何れの修理を行う場合も対応するハウジングのみの取り外しで対応でき、修理等に係る作業性を向上させることができる。
特にここでは、左右ハウジング23,24同士を、互いの内面に突設されて組み付け状態で同軸突き合わせ状となる筒状のボス25,26の位置でネジ止めする一方、インナハウジング22に、本体ハウジング20内の組み付け位置でボス25が貫通する位置決め孔45を設けて、左右ハウジング23,24のネジ止めと同時にインナハウジング22を位置決め固定可能としているので、インナハウジング22を本体ハウジング20内で合理的且つ精度よく組み付け可能となる。よって、モータ3と出力部5との位置関係が安定し、回転伝達に支障が生じない。
また、モータ3を、インナハウジング22の下側で出力軸4を上向きに、且つ出力軸4の上端よりも下端が前方寄りとなる傾斜姿勢で収容し、出力軸4の上端をインナハウジング22内に挿入させて出力部5の入力端に設けたベベルギヤ18に噛合させたことで、モータ3から出力部5への回転伝達が確実に行える。
なお、上記形態では、本体ハウジングと前側ハウジングとの間にインナハウジングに設けた突条を挟持させているが、突条に限らず、断続的に突設された突起でもよいし、当該挟持構造を採用せずに、単純にインナハウジングの突出部を前側ハウジングの内面に当接させるようにしてもよい。
また、インナハウジングに設ける位置決め孔の数や形状は上記形態に限らず、筒部でなく板状部分に位置決め孔を設けたり、ボスの位置によってはインナハウジングの後部のみでなく上下側にも設けたりしてもよい。勿論位置決め孔を省略して、分割ハウジングの内面に突設したリブや凹設した受け座等でインナハウジングの外面を保持させる構成にとどめることもできる。
さらに、ハンマードリルも、上記形態のように前方下部にモータを傾斜姿勢で収容したタイプに限らない。例えば、モータは傾斜させずに上下方向に収容してもよいし、モータを出力部の後方で前向きに収容してもよい。但し、上記形態では、重量の大きい後方のバッテリーに対してモータが前方へ配置されるので、全体のバランスが良くなる上、ハンドルが出力部のすぐ後方でビットの軸線上に配置されることで、ビットに近い後方軸線上でハンマードリルを前方へ押し操作できる。よって、使い勝手が良好となる利点がある。
その他、出力部にスワッシュベアリングでなくクランク方式を採用したり、ピストンシリンダでなく固定シリンダに対してピストンを往復動させたり、直流電源でなく交流電源を用いたり等、他の形態も適宜設計変更可能である。
一方、本発明はハンマードリルに限らず、本体ハウジングと前側ハウジングとに分割されるタイプであれば、電動ハンマーや電動ドリル、インパクトドライバ等の他の電動工具であっても採用可能である。
ハンマードリルの全体図である。 (A)は出力軸部分の説明図、(B)はA矢視図、(C)はB矢視図である。 出力軸部分の拡大図である。 前側ハウジングを取り外した状態の説明図である。 右ハウジングを取り外した状態の説明図である。 (A)はC−C線断面図、(B)はD−D線断面図である。 インナハウジングの後端部分の横断面図である。
符号の説明
1・・ハンマードリル、3・・モータ、4・・出力軸、5・・出力部、6・・中間軸、10・・ツールホルダ、20・・本体ハウジング、21・・前側ハウジング、22・・インナハウジング、23・・左ハウジング、24・・右ハウジング、25,26・・ボス、27,53・・ネジ、32・・スリーブ、37・・ベアリングリテーナ、40・・係止爪、41・・ネジ止め部、43・・止めネジ、44・・筒部、45・・位置決め孔、47・・突出部。

Claims (3)

  1. ハウジング内に、モータと、そのモータの前方にあって前記モータの駆動によって動作する出力部とを収容し、前記ハウジングを、左右一対の分割ハウジングからなり、前記モータから前記出力部の後方部分までを収容する本体ハウジングと、前記出力部の前方部分を収容する前側ハウジングとに分割した電動工具であって、
    前記本体ハウジング内に、前記出力部の後方部分を収容して前記本体ハウジングよりも前方へ突出し、前記分割ハウジングで挟持固定されるインナハウジングを設ける一方、前記前側ハウジングを、前記インナハウジングの突出部に重合させた状態で前記本体ハウジングの前面に組み付けて、前記分割ハウジングと前側ハウジングとを夫々単独で取り外し可能としたことを特徴とする電動工具。
  2. 前記分割ハウジング同士を、互いの内面に突設されて組み付け状態で同軸突き合わせ状となる筒状のボスの位置でネジ止めする一方、前記インナハウジングに、前記本体ハウジング内の組み付け位置で前記ボスが貫通する位置決め孔を設けて、前記分割ハウジングのネジ止めと同時に前記インナハウジングを位置決め固定可能としたことを特徴とする請求項1に記載の電動工具。
  3. 前記モータを、前記インナハウジングの下側で出力軸を上向きに、且つ前記出力軸の上端よりも下端が前方寄りとなる傾斜姿勢で収容し、前記出力軸の上端を前記インナハウジング内に挿入させて前記出力部の入力端に設けたベベルギヤに噛合させたことを特徴とする請求項1又は2に記載の電動工具。
JP2008167791A 2008-06-26 2008-06-26 電動工具 Active JP5171432B2 (ja)

Priority Applications (8)

Application Number Priority Date Filing Date Title
JP2008167791A JP5171432B2 (ja) 2008-06-26 2008-06-26 電動工具
US12/457,777 US20090321101A1 (en) 2008-06-26 2009-06-22 Power tool
EP11176543.4A EP2384860B1 (en) 2008-06-26 2009-06-24 Power tool housing
EP09008268A EP2138278B1 (en) 2008-06-26 2009-06-24 Handle for a power tool
AT09008268T ATE526120T1 (de) 2008-06-26 2009-06-24 Handgriff für eine werkzeugmaschine
CN2009101495091A CN101612729B (zh) 2008-06-26 2009-06-25 手持式作业工具
RU2009124369/03A RU2503813C2 (ru) 2008-06-26 2009-06-25 Механизированный инструмент
US13/715,516 US20130098648A1 (en) 2008-06-26 2012-12-14 Power tool

Applications Claiming Priority (1)

Application Number Priority Date Filing Date Title
JP2008167791A JP5171432B2 (ja) 2008-06-26 2008-06-26 電動工具

Publications (2)

Publication Number Publication Date
JP2010005733A true JP2010005733A (ja) 2010-01-14
JP5171432B2 JP5171432B2 (ja) 2013-03-27

Family

ID=41492701

Family Applications (1)

Application Number Title Priority Date Filing Date
JP2008167791A Active JP5171432B2 (ja) 2008-06-26 2008-06-26 電動工具

Country Status (2)

Country Link
JP (1) JP5171432B2 (ja)
CN (1) CN101612729B (ja)

Cited By (5)

* Cited by examiner, † Cited by third party
Publication number Priority date Publication date Assignee Title
JP2017213621A (ja) * 2016-05-30 2017-12-07 マックス株式会社 電動工具
JP2018062053A (ja) * 2016-10-07 2018-04-19 株式会社マキタ 電動工具
US10875168B2 (en) 2016-10-07 2020-12-29 Makita Corporation Power tool
JP2021160008A (ja) * 2020-03-31 2021-10-11 工機ホールディングス株式会社 作業機
JP2023035774A (ja) * 2021-09-01 2023-03-13 株式会社マキタ 研削工具

Families Citing this family (5)

* Cited by examiner, † Cited by third party
Publication number Priority date Publication date Assignee Title
JP2013151055A (ja) * 2012-01-26 2013-08-08 Makita Corp 打撃工具
JP6096593B2 (ja) * 2013-05-29 2017-03-15 株式会社マキタ 往復動式作業工具
CN105313080B (zh) * 2014-07-30 2017-04-26 南京久驰机电实业有限公司 一种手持电动工具
JP6502756B2 (ja) * 2014-11-28 2019-04-17 株式会社マキタ 打撃工具
CN109590512B (zh) * 2018-11-22 2020-07-03 台州三麟精密工具股份有限公司 一种膨胀螺栓松动机

Citations (1)

* Cited by examiner, † Cited by third party
Publication number Priority date Publication date Assignee Title
JP2005066804A (ja) * 2003-08-27 2005-03-17 Ryobi Ltd 電動工具

Family Cites Families (3)

* Cited by examiner, † Cited by third party
Publication number Priority date Publication date Assignee Title
DE3122979A1 (de) * 1981-06-10 1983-01-05 Hilti AG, 9494 Schaan Bohr- oder meisselhammer
DE3505181A1 (de) * 1985-02-15 1986-08-21 Hilti Ag, Schaan Schwingungen erzeugendes handwerkzeug
EP1674211A1 (en) * 2004-12-23 2006-06-28 BLACK & DECKER INC. Power tool housing

Patent Citations (1)

* Cited by examiner, † Cited by third party
Publication number Priority date Publication date Assignee Title
JP2005066804A (ja) * 2003-08-27 2005-03-17 Ryobi Ltd 電動工具

Cited By (7)

* Cited by examiner, † Cited by third party
Publication number Priority date Publication date Assignee Title
JP2017213621A (ja) * 2016-05-30 2017-12-07 マックス株式会社 電動工具
JP2018062053A (ja) * 2016-10-07 2018-04-19 株式会社マキタ 電動工具
US10875168B2 (en) 2016-10-07 2020-12-29 Makita Corporation Power tool
JP2021160008A (ja) * 2020-03-31 2021-10-11 工機ホールディングス株式会社 作業機
JP7338535B2 (ja) 2020-03-31 2023-09-05 工機ホールディングス株式会社 作業機
JP2023035774A (ja) * 2021-09-01 2023-03-13 株式会社マキタ 研削工具
JP7738468B2 (ja) 2021-09-01 2025-09-12 株式会社マキタ 研削工具

Also Published As

Publication number Publication date
CN101612729A (zh) 2009-12-30
CN101612729B (zh) 2012-01-18
JP5171432B2 (ja) 2013-03-27

Similar Documents

Publication Publication Date Title
JP5171432B2 (ja) 電動工具
JP4643298B2 (ja) 打撃工具
EP2384860B1 (en) Power tool housing
JP4084319B2 (ja) 電動工具
CN102139482B (zh) 冲击工具
CN109421026B (zh) 作业工具
CN106457544A (zh) 冲击工具
JP2008183633A (ja) ハンマドリル
JP2011245579A (ja) 打撃工具
JP2005040933A (ja) 可搬式電動工具
JP2016129911A (ja) 電動工具
JP2008030126A (ja) 電動工具
JP5002999B2 (ja) 照明ライト付き電動工具
JP6416664B2 (ja) 回転打撃工具
JP2011245590A (ja) 打撃工具
JP5197184B2 (ja) 回転軸の位置決め構造
JP2005066804A (ja) 電動工具
JP2009226538A (ja) 打撃工具
JP2013063494A (ja) 電動工具
US12214429B2 (en) Hand-held power tool with a motor support for a drive motor
JP2019000982A (ja) 動力工具
JP4116467B2 (ja) アングル打撃工具
JP2019022922A (ja) 手持ち式電動工具
JP4872021B1 (ja) 回転式締付機
JP4664253B2 (ja) 打撃工具

Legal Events

Date Code Title Description
A621 Written request for application examination

Free format text: JAPANESE INTERMEDIATE CODE: A621

Effective date: 20101227

A977 Report on retrieval

Free format text: JAPANESE INTERMEDIATE CODE: A971007

Effective date: 20120806

A131 Notification of reasons for refusal

Free format text: JAPANESE INTERMEDIATE CODE: A131

Effective date: 20120904

A521 Request for written amendment filed

Free format text: JAPANESE INTERMEDIATE CODE: A523

Effective date: 20121022

TRDD Decision of grant or rejection written
A01 Written decision to grant a patent or to grant a registration (utility model)

Free format text: JAPANESE INTERMEDIATE CODE: A01

Effective date: 20121204

A61 First payment of annual fees (during grant procedure)

Free format text: JAPANESE INTERMEDIATE CODE: A61

Effective date: 20121225

R150 Certificate of patent or registration of utility model

Ref document number: 5171432

Country of ref document: JP

Free format text: JAPANESE INTERMEDIATE CODE: R150

R250 Receipt of annual fees

Free format text: JAPANESE INTERMEDIATE CODE: R250

R250 Receipt of annual fees

Free format text: JAPANESE INTERMEDIATE CODE: R250

R250 Receipt of annual fees

Free format text: JAPANESE INTERMEDIATE CODE: R250

R250 Receipt of annual fees

Free format text: JAPANESE INTERMEDIATE CODE: R250

R250 Receipt of annual fees

Free format text: JAPANESE INTERMEDIATE CODE: R250

R250 Receipt of annual fees

Free format text: JAPANESE INTERMEDIATE CODE: R250

S111 Request for change of ownership or part of ownership

Free format text: JAPANESE INTERMEDIATE CODE: R313111

R360 Written notification for declining of transfer of rights

Free format text: JAPANESE INTERMEDIATE CODE: R360

R360 Written notification for declining of transfer of rights

Free format text: JAPANESE INTERMEDIATE CODE: R360

R371 Transfer withdrawn

Free format text: JAPANESE INTERMEDIATE CODE: R371

R250 Receipt of annual fees

Free format text: JAPANESE INTERMEDIATE CODE: R250

R250 Receipt of annual fees

Free format text: JAPANESE INTERMEDIATE CODE: R250

R250 Receipt of annual fees

Free format text: JAPANESE INTERMEDIATE CODE: R250

R250 Receipt of annual fees

Free format text: JAPANESE INTERMEDIATE CODE: R250

R250 Receipt of annual fees

Free format text: JAPANESE INTERMEDIATE CODE: R250