JP2010004454A - 灯器及び灯器の製造方法 - Google Patents

灯器及び灯器の製造方法 Download PDF

Info

Publication number
JP2010004454A
JP2010004454A JP2008163235A JP2008163235A JP2010004454A JP 2010004454 A JP2010004454 A JP 2010004454A JP 2008163235 A JP2008163235 A JP 2008163235A JP 2008163235 A JP2008163235 A JP 2008163235A JP 2010004454 A JP2010004454 A JP 2010004454A
Authority
JP
Japan
Prior art keywords
patch
substrate
led
patch element
ground element
Prior art date
Legal status (The legal status is an assumption and is not a legal conclusion. Google has not performed a legal analysis and makes no representation as to the accuracy of the status listed.)
Granted
Application number
JP2008163235A
Other languages
English (en)
Other versions
JP5262340B2 (ja
Inventor
Takashi Yamagishi
傑 山岸
Current Assignee (The listed assignees may be inaccurate. Google has not performed a legal analysis and makes no representation or warranty as to the accuracy of the list.)
Sumitomo Electric Industries Ltd
Original Assignee
Sumitomo Electric Industries Ltd
Priority date (The priority date is an assumption and is not a legal conclusion. Google has not performed a legal analysis and makes no representation as to the accuracy of the date listed.)
Filing date
Publication date
Application filed by Sumitomo Electric Industries Ltd filed Critical Sumitomo Electric Industries Ltd
Priority to JP2008163235A priority Critical patent/JP5262340B2/ja
Publication of JP2010004454A publication Critical patent/JP2010004454A/ja
Application granted granted Critical
Publication of JP5262340B2 publication Critical patent/JP5262340B2/ja
Expired - Fee Related legal-status Critical Current
Anticipated expiration legal-status Critical

Links

Images

Landscapes

  • Traffic Control Systems (AREA)
  • Variable-Direction Aerials And Aerial Arrays (AREA)
  • Details Of Aerials (AREA)
  • Support Of Aerials (AREA)

Abstract

【課題】アンテナ設置用の支柱を不要とでき、かつ、道路の美観を損なうことのない新たな技術的手段を提供する。
【解決手段】LED7、このLEd7が前面8aに実装された基板8、及び、可視光透過性を有しLED7を前方で覆うカバー部材9を有する光学ユニット2と、基板8よりも前方に設けられたグランド素子13、及び、このグランド素子11よりも前方に設けられたパッチ素子11を有しているパッチアンテナ4とを備えている。パッチ素子11とグランド素子12とは両者間で前後方向に間隔dが設けられて光学ユニット2内に格納されている。LED7は、当該LED7の前端39がパッチ素子11よりも前方に位置する前後方向長さを有している。
【選択図】 図4

Description

本発明は、灯器及び灯器の製造方法に関する。
近年、交通安全の促進や交通事故の防止を目的として、高度道路交通システム(ITS:Intelligent Transport System)が提案されている。このITSでは、道路に通信装置(インフラ装置)が設置されており、この通信装置のアンテナから発せられた情報を、道路を走行する車両の車載機が受信し、この情報を活用することにより、車両の走行についての安全性を向上させることができる(特許文献1参照)。
このような路車間通信を無線によって行う場合、無線通信の見通しを確保する観点から、歩道等に設置した支柱から車道側にアームを張り出し、このアーム上に通信装置のアンテナを取り付けている。また、前記アームを設けなくても見通しが確保できる場合、前記支柱にアンテナを取り付けることが可能となる。
特許第2806801号公報
前記通信装置のアンテナを道路に設置するために、アンテナ専用の支柱を新たに設けることは経済的でなく、また、道路の美観の点でも好ましくない。
そこで、道路には車両感知器や光ビーコンのヘッド等が設置されているため、これらを取り付けている支柱やアームにアンテナを併設することが考えられる。しかし、この場合においても、美観の点で好ましくない。
そこで、アンテナ設置用の支柱を不要とでき、かつ、道路の美観を損なうことのない新たな技術的手段を提供することを目的とする。
本発明の灯器は、発光体、この発光体が前面に実装された基板、及び、可視光透過性を有し前記発光体を前方で覆うカバー部材を有する光学ユニットと、前記基板よりも前方に設けられたグランド素子、及び、このグランド素子よりも前方に設けられたパッチ素子を有しているパッチアンテナとを備え、前記パッチ素子と前記グランド素子とは両者間で前後方向に間隔が設けられて前記光学ユニット内に格納され、前記発光体は、当該発光体の前端が前記パッチ素子よりも前方に位置する前後方向長さを有している。
本発明によれば、パッチアンテナが光学ユニット内に格納されているため、パッチアンテナを目立たなくすることができ、また、アンテナ設置専用の支柱を不要とすることができる。
また、基板が前記パッチアンテナによる電波の送受信の妨げになるのを防止するためには、グランド素子及びパッチ素子は、基板よりも前方に設けられている必要があり、また、このパッチアンテナが所望の性能を発揮するためには、パッチ素子とグランド素子との間に前後方向の所定の間隔を設ける必要がある。しかし、基板の前面に実装されている従来の発光体は、前記間隔よりも、前後方向の長さが短いことから、発光体の前端よりもパッチ素子が前方に位置することとなる。この結果、パッチ素子が発光体による前方への発光(灯光)の妨げになることがある。
一方、パッチ素子が発光体による前方への発光の妨げとならないために、パッチ素子を発光体の前端よりも後方に配置すると、従来の発光体は前後方向の長さが短いために、基板よりも前方に設けられているグランド素子と、パッチ素子との間の前後方向の間隔を、小さい値でしか設定できず、パッチアンテナは所望の性能を発揮することができなくなるおそれがある。
そこで、本発明の灯器が備えている発光体の前後方向長さによれば、基板よりも前方にグランド素子及びパッチ素子を配置し、これらグランド素子とパッチ素子とを所望の間隔としても、このパッチ素子よりも前方に発光体の前端を位置させることができる。したがって、パッチアンテナに所望の性能を発揮させることができると共に、パッチ素子が発光体による前方への発光の妨げになることを防止することができる。
また、前記パッチアンテナを700MHz帯周波数で使用するためには、パッチ素子とグランド素子との前後方向の間隔を、広く設定する必要がある(例えば20mm〜40mmに設定する必要がある)。さらに、基板がパッチアンテナによる電波の送受信の妨げになるのを防止するためには、グランド素子及びパッチ素子は基板よりも前方に設けられている必要がある。しかし、基板の前面に実装されている従来の発光体は前後方向の長さが短いことから、前記のように前記間隔を広く設定すると、パッチ素子は発光体の前端よりも前方に位置することとなり、パッチ素子が発光体による前方への発光の妨げになることがある。
しかし、本発明の灯器が備えている発光体の前後方向長さによれば、グランド素子とパッチ素子との間隔を、700MHz帯周波数で使用するための広い間隔としても、パッチ素子よりも前方に発光体の前端を位置させることができる。したがって、パッチアンテナに700MHz帯周波数で使用できる性能を発揮させることができると共に、パッチ素子が発光体による前方への発光の妨げになることを防止することができる。
また、前記灯器において、前記発光体は、LED素子を有する発光本体と、この発光本体から後方へ延び前記基板と接続されている二本のリード線とを有する発光ダイオードであり、前記リード線は、前記発光ダイオードの前端が前記パッチ素子よりも前方に位置するように、前記基板から前記発光本体までが長く設定されている場合、リード線同士が接触しやすくなる。そこで、この場合、前記二本のリード線間に絶縁材からなる短絡防止部材が介在しているのが好ましい。
この場合において、前記短絡防止部材を、前記リード線それぞれを単独で挿通させる孔が形成された板部材とすることができ、または、前記短絡防止部材を、前記リード線を被覆する被覆部材とすることができる。
これにより、短絡防止部材は、リード線同士の接触を防ぐことができ、短絡を防止することができる。
さらに、発光体が発光ダイオードであり、前記板部材が設けられている灯器において、前記グランド素子には、前記リード線を挿通させる開口部が形成されており、この開口部は、前記孔の開口よりも広い領域で開口して形成されているのが好ましい。
発光ダイオードが前面に実装された基板の前方で、かつ、当該発光ダイオードの前端よりも後方にパッチ素子及びグランド素子を設けるためには、パッチ素子及びグランド素子に、発光ダイオードを挿通させる開口部を形成する必要がある。そこで、グランド素子に形成された開口部と、前記板部材に形成された前記孔とが同じ大きさであると、発光ダイオードのリード線が、グランド素子の前記開口部に接触してしまうおそれがある。しかし、本発明によれば、グランド素子の開口部は板部材の孔の開口よりも広い領域で開口して形成されているため、リード線が、絶縁材からなる板部材の孔に接触しても、グランド素子の開口部に接触することを防止することができる。
また、前記灯器は、前記光学ユニット外部の所定の方向から入射する光が前記基板及び前記発光体の少なくとも一方により反射するのを防止するため、前記基板の前方に当該基板に対向して設けられた板状の反射防止部材を更に備え、前記パッチ素子は、前記反射防止部材の後方に設けられているのが好ましい。
灯器が、交通信号用の灯器として用いられる場合、基板や発光体に照りつけた西日や朝日が地上へ反射し、その反射光によって、灯器が見づらくなったり、点灯していない灯器が点灯しているように見える「擬似点灯」が生じたりする。しかし、光学ユニット外部の所定の方向から入射(西日や朝日のように斜め上方から入射)する光が基板や発光体により反射するのを、反射防止部材が防止するので、灯器が見づらくなったり擬似点灯が生じたりするのを防止することができる。そして、パッチ素子及びグランド素子は、板状である反射防止部材の後方に設けられていることから、反射防止部材はパッチ素子及びグランド素子を隠すことができる。さらに、入射する光(日光)が発光体で反射するのを防止するように反射防止部材が設けられている場合は特に、当該反射防止部材によって、発光体に日光が直接的に当ることを抑制することができ、発光体の温度の上昇を抑え、発光体の寿命が短くなることを防止することができる。
また、前記灯器において、前記パッチ素子と前記グランド素子との間に、比誘電率が空気よりも大きい誘電体が設けられているのが好ましい。この灯器によれば、パッチアンテナの大きさを小さくすることができる。このため、光学ユニット内に、例えば別のアンテナを更に格納することができる。
本発明は、前方側にあるLED素子と後方へ延びているリード線と前記LED素子を被覆するモールド部とを有する発光ダイオード、この発光ダイオード用の基板、及び、可視光透過性を有し前記発光ダイオードを前方で覆うカバー部材を有する光学ユニットと、前記基板よりも前方に設けられたグランド素子、このグランド素子よりも前方に設けられたパッチ素子、及び、前記グランド素子と前記パッチ素子との間に介在した誘電体を有しているパッチアンテナとを備えた灯器の製造方法であって、前記パッチ素子及び前記グランド素子に、前記リード線を挿通させる開口部をそれぞれ形成すると共に、前記誘電体に、前記リード線それぞれを単独で挿通させる孔を形成し、前記基板の前面側に、前記グランド素子、前記誘電体及び前記パッチ素子を設け、前記リード線を前記開口部及び前記孔に挿通させ、前記発光ダイオードの前端を前記パッチ素子よりも前方に位置させた状態で、前記リード線を前記基板に接続し、前記発光ダイオードを当該基板の前面に実装させ、前記パッチアンテナを前記光学ユニット内に格納する。
本発明によって製造された灯器は、パッチアンテナが光学ユニット内に格納されているため、パッチアンテナを目立たなくすることができ、また、アンテナ設置専用の支柱を不要とすることができる。そして、誘電体に形成した孔にリード線それぞれを単独で挿通させ、発光ダイオードを基板の前面に実装させるので、隣接するリード線同士の接触を防ぎ、当該接触による短絡を防止することができる。
本発明によれば、パッチアンテナは灯器の光学ユニット内に格納されるため、パッチアンテナ設置用の支柱を不要とでき、かつ、道路の美観を損なうことがない。さらに、パッチアンテナを光学ユニット内に格納しても、パッチ素子とグランド素子との間に前後方向の所定の間隔を設けた状態で、かつ、このパッチ素子よりも前方に発光体の前端が位置することができるので、パッチアンテナに所望の性能を発揮させることができると共に、パッチ素子が発光体による前方への発光の妨げになることを防止することができる。
以下、本発明の実施の形態を図面に基づいて説明する。
図1は本発明の灯器の実施の一形態を示す正面図である。図1の灯器は道路に設置される交通信号灯器1(以下、単に信号灯器又は灯器という)であり、車両用のものである。歩道等の路側に支柱40が設置され、この支柱40から車道側にアーム41が張り出されて設けられており、このアーム41に信号灯器1が取り付けられている。
信号灯器1は、複数(図例では三つ)の光学ユニット2と、これら光学ユニット2を組み込んでいる筐体3とを有している。三つの光学ユニット2は、赤、黄、青の灯光色を有している。各光学ユニット2にはひさし(図示せず)が取り付けられる。また、支柱40には、信号灯器1を制御する制御装置5が取り付けられている。なお、信号灯器1の設置構造は図示しているもの以外であってもよく、図示しないが前記支柱40及び前記アーム41の形態が異なっていてもよく、また、信号灯器1は歩道橋に架設されたものであってもよい。また、前記制御装置5は、信号灯器1の筐体3内に設けられていてもよい。
信号灯器1の点灯等を制御する制御装置5が、後述するアンテナ4を利用した無線通信制御を行うことができる。または、点灯等を制御する制御装置5と、アンテナ4による無線通信用の制御装置とは、別々であっても良い。これら両制御装置が別々である場合、両制御装置を同一の前記筐体3内に内蔵させることができる。または、無線通信用の制御装置を、信号灯器1の点灯等を制御する制御装置5の近傍(同一の支柱40)に設置することができる。
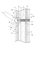
図2、図3及び図4は、1つの光学ユニット2の斜視図、正面図及び断面図である。光学ユニット2は、発光体としての発光ダイオード7(以下LED7という)と、複数のLED7が前面8aに実装されたLED基板8(以下、基板8という)と、収容部材6と、カバー部材9とを有している。また、本実施の形態の光学ユニット2は、基板8やLED7による太陽光の反射を防止するための反射防止部材(遮光部材)10を有している。
基板8は、円形の板状に形成されている。基板8の裏面には配線パターンが形成されており、この配線パターンはLED7のリード線(端子)7c,7dと繋がっている。基板8上には複数のLED7が面状に広がって配設されている。
図5は、LED7及びその周辺部を示している拡大断面図である。LED7は、LED素子7b及びモールド部7eを有する発光本体7fと、この発光本体7fから後方へ延びている二本のリード線7c,7dとを有している。モールド部7eは、LED素子7bを被覆している。また、モールド部7eはレンズ部となる。このモールド部7eの前端がLED7の前端39となる。
図4において、収容部材6は、鋼板、アルミ又は合成樹脂材により形成され、底部(底壁)6aと、この底部6aの周縁から立設した側部(側壁)6bとを有している皿形状であり、前方に開口している。側部6bの開口側の内周には段部6cが形成され、この段部6cに、カバー部材9が着脱可能に取り付けられている。収容部材6とカバー部材9との間に収容空間部Sが形成されており、この収容空間部SにLED7及び基板8が収容されている。基板8は収容部材6に反射防止部材10を介して固定されている。収容空間部Sのうち、基板8よりも前方が前空間部S1であり、基板8よりも後方が後空間部S2である。
カバー部材9は、ガラス又は樹脂製で可視光透過性を有しており(可視光に対して透明であり)複数のLED7を前方で覆っている。カバー部材9の後面(背面)9aは凹曲面であり、前面9bは凸曲面である。信号灯器1がLED灯器であるため、カバー部材9をレンズではなく、後面9a及び前面9bが平面であるガラス等の平板とすることもできる。なお、この光学ユニット2において、前方とは光の投光側であり(カバー部材9側であり)、後方とは収容部材6の底部6a側である。
反射防止部材10は、基板8の前面8aやLED7内の反射鏡7a(図5参照)に対して西日や朝日等の太陽光が入射するのを制限することにより、基板8や反射鏡7aによる反射で信号灯器1が見づらくなったり、点灯していない信号灯器1が点灯しているように見える「擬似点灯」が生じたりすることを防止するものである。また、反射防止部材10は、基板8や、後述するアンテナ4を支持する支持部材としての機能を有している。
反射防止部材10は、絶縁材(不導体)からなる合成樹脂材により板状として形成され、基板8よりも前方に、当該基板8に(アンテナ4を挟んで)対向して配置されている。反射防止部材10は、円形の板状(面状)に形成された板状部10aを備え、この板状部10aは、LED7の前端39よりも後方に配置されている。板状部10aには、LED7の配置に対応して、LED7を挿通させるための複数の挿通孔10bが形成されている。板状部10aは、主に基板8に対して太陽光が直接当たることを防止している。反射防止部材10は、黒色の合成樹脂材により形成されるか、少なくとも板状部10aの前面が黒色に塗装され、太陽光の反射が防止されている。反射防止部材10は、板状部10aの外周部を前記段部6cに嵌合させ、収容部材6に固定されている。
板状部10aの後面にはボス部10c(図4参照)が後方突出状に形成されている。基板8は、ボス部10cのネジ穴に螺合されたネジ25によって、板状部10aに固定されている。板状部10aと基板8との間には、ボス部10cの高さに相当する間隔が設けられている。
図2〜図5に示すように、反射防止部材10の前記挿通孔10bの上縁には、庇部10hが前方に突出するように形成されている。庇部10h(図5参照)は、西日や朝日などの斜め上方から照りつける太陽光OがLED7の反射鏡7aに入射することを防止している。庇部10hの前端は、LED7の前端39よりも突出している。反射防止部材10の挿通孔10bは、LED7のモールド部7eよりも直径が僅かに大きく、当該挿通孔10bは、モールド部7eの外周面を囲い、基板8から前方へ立設させたLED7の姿勢を保持する機能を有している。なお、反射防止部材10は、基板8による太陽光の反射を防止する機能のみを有するものであってもよく、LED7による太陽光の反射を防止する機能のみを有するものであってもよい。
反射防止部材10を、図6に示すような構造とすることもできる。この反射防止部材10には庇部が設けられておらず、反射防止部材10の板状部10aはLED7の前端39に略一致する位置(板状部10aの厚さ内にLED7の前端39が含まれる位置)に配置されている。また、円形である挿通孔10bの中心はLED7の中心よりもやや下側に配置されている。この構造により、庇部がなくても斜め上方から照りつける太陽光Oが反射鏡7aによって反射されるのを好適に防止することができる。
そして、図2〜図5に示しているように、光学ユニット2にアンテナが組み込まれている。アンテナはパッチアンテナ4であり、パッチ素子11とグランド素子12とを有している。グランド素子12は基板8よりも前方に設けられており、パッチ素子11はグランド素子12よりも前方に設けられている。パッチ素子11とグランド素子12とは、前記収容空間部Sに収容されている。また、パッチ素子11及びグランド素子12は、反射防止部材10の後方に設けられているため、反射防止部材10は、パッチ素子11及びグランド素子12を隠すことができ、前方から見えなくすることができる。
パッチ素子11は平面状(例えば、矩形や円形等)に形成されている。パッチ素子11は、例えば図示しないがボルト及びナットよりなる締結具によって反射防止部材10の板状部10aに取り付けられている。図4では、パッチ素子11は、板状部10aの後方側に設けられている。パッチ素子11は、基板8から前方へ離れて設けられているが、LED7の前端39よりも後方に位置している。
グランド素子12は、平面状(平板状)に形成されており、基板8の前面8a側において反射防止部材10に取り付けられている。具体的には、図4に示すように、反射防止部材10の後面にボス部10fが形成されており、グランド素子12はボス部10fにネジ26によって固定されている。グランド素子12は、前後方向について基板8とLED7の前端39との間の位置であり、かつ、パッチ素子11の後方に設けられている。グランド素子12の輪郭形状はパッチ素子11の輪郭形状よりも大きくなっている。なお、グランド素子12の形状を任意とすることができ、円形の他に、矩形とすることができるが、光学ユニット2が正面視において円形である場合、グランド素子12も円形とするのが好ましい。すなわち、光学ユニット2の輪郭形状とグランド素子12の輪郭形状とを同じ(相似形)とするのが好ましい。これは、グランド素子12の面積を、矩形とする場合よりも大きくする(最大とする)ことができるためである。また、グランド素子12の面積を、パッチ素子11の面積よりも(ある程度)大きくすることにより、グランド方向(バック方向)への電波の放射を少なくすることができる。すなわち、効率良く電波を前方へ発することができる。
パッチ素子11及びグランド素子12は金属板から形成することができる。パッチ素子11及びグランド素子12の材質としては、導電性があり、導電率の高い材料が好ましく、例えば、銅、真鍮などの銅合金、アルミが好ましく、鉄、ニッケル又はその他の金属とすることもできる。また、高周波は表面に電流が流れることから、樹脂製等の不導体からなる板部材に、金属蒸着したものや、金属メッキ(金や銀のメッキ)を施したものであってもよい(図示せず)。
グランド素子12とパッチ素子11との間には、比誘電率が空気よりも大きい誘電体(誘電部材)が介在していてもよく、又は、前記誘電体を省略して空気が介在していてもよい。すなわち、グランド素子12とパッチ素子11との間の全部又は一部に、誘電体を挿入する形態が可能である。図5では、パッチ素子11とグランド素子12との間に誘電体13が設けられている。誘電体13は、例えば樹脂製又はセラミックス製の板部材である。樹脂製の場合の具体例としては、フッ素樹脂、ポリエチレン、ガラスエポキシ、FRP、ポリアセタール、ABS樹脂、又は、ポリエチレンテレフタラートである。
パッチ素子11とLED7とは前後方向の位置について重複していることから、パッチ素子11には、LED7を挿通させる開口部として孔34(図5参照)が形成されている。孔34の配置は、LED7の配置と一致しており、パッチ素子11は網目構造となっている。同様に、グランド素子12とLED7とは前後方向の位置について重複していることから、グランド素子12にはLED7(リード線7c,7d)を挿通させる開口部として孔14が形成されている。孔14の配置は、LED7の配置と一致しており、グランド素子12は網目構造となっている。この網目構造には、例えば練炭のように平板に孔がいくつか空けられた構造が含まれる。
LED7を孔34及び孔14に挿し入れることにより、パッチ素子11及びグランド素子12はLED7に干渉することがなく、パッチ素子11及びグランド素子12を所定の位置に設置することができる。
また、パッチ素子11及びグランド素子12をメッシュ構造とすることもできる。この場合、パッチ素子11及びグランド素子12を導線によって(導線を編んで)形成する。そして、パッチ素子11及びグランド素子12に形成している前記開口部は、孔34及び孔14ではなく、図示しないが、素子の導線(導体部分)を蛇行状に配置(導線を一筆書きとなるように配置)し、導線間の部分として形成されたものとなる。この開口部により、素子と干渉しないようにLED7を配置することができる。
また、誘電体13についても、LED7と前後方向の位置について重複していることから、誘電体13にはLED7を挿通させる孔24が形成されている。孔24の配置は、LED7の配置と一致している。LED7を誘電体13の孔24に挿し入れることにより、誘電体13はLED7に干渉することがなく、誘電体13を所定の位置に設置することができる。また、誘電体13の孔24は、LED7を外周から囲い、基板8から前方へ立設させたLED7の姿勢を保持する機能を有している。これにより、誘電体13の孔24は、LED7のリード線7c,7dが曲がってしまうことを抑制することができる。
図4において、収容部材6(底部6a)には、アンテナ4用の同軸ケーブル15を接続させる端子部19が取り付けられており、この端子部19に、図1の制御装置5側から延びる同軸ケーブル15を接続することができる。そして、端子部19から後空間部S2へ延びる同軸ケーブル15aが、パッチアンテナ4に接続されている。同軸ケーブル15aは、内導体15b、絶縁体15c、外導体15d及び被覆部15eを有しており、内導体15bがパッチ素子11に接続されており、外導体15dがグランド素子12に接続されている。
また、図1の制御装置5側から延びるLED7用の電源ケーブル(図示せず)が、収容部材6の底部6aに取り付けた端子部(図示せず)を介して、基板8と接続されている。
以上の構成により、グランド素子12とパッチ素子11とが、前空間部S1内であって、基板8の前面8aからLED7の前端39までの範囲Aに設けられた構成となる(図4参照)。そして、グランド素子12とパッチ素子11とが、前後方向に対向した配置となり、このアンテナ4の指向性は信号灯器1から前方へ向かう方向となる。これにより光学ユニット2による投光方向と、アンテナ指向性とを略一致させることができる。信号灯器1は車両に対して見通しが良い位置に設置されることから、前記アンテナ指向性によって、車両の車載機(図示せず)との間で、良好な通信状態が得られる。
なお、この実施の形態の灯器1を製造するための、パッチアンテナ4を光学ユニット2内に格納する組み立て工程について説明する。LED7を基板8に半田によって実装させる。また、反射防止部材10にパッチ素子11、誘電体13及びグランド素子12を取り付ける。そして、LED7が実装された基板8と、パッチアンテナ4を有する反射防止部材10とを一体とし、この一体品を収納部材6に取り付ける。基板8と反射防止部材10とを一体とする際、パッチ素子11等に設けた孔34等に、LED7を挿通させる。そして、カバー部材9を収容部材6に取り付ける。これにより、パッチアンテナ4を光学ユニット2内に格納することができる。
前記実施の形態の信号灯器1によれば、パッチ素子11とグランド素子12とは、両者間で前後方向に間隔d(図5参照)が設けられた状態で、光学ユニット2内に格納されている。そして、LED7の前端39がパッチ素子11よりも前方に位置しているため、パッチ素子11がLED7による前方への発光(灯光)の妨げになることを防止することができる。また、グランド素子12及びパッチ素子11は基板8よりも前方に設けられているため、基板8がパッチアンテナ4による電波の送受信の妨げになるのを、防止することができる。
さらに、このパッチアンテナ4を格納した信号灯器1を、路車間で無線通信を行う高度道路交通システム(ITS)に利用するために、パッチアンテナ4の使用周波数は700MHz帯周波数(715MHz〜725MHz)に設定されている。このアンテナ性能(帯域特性、VSWR特性)をパッチアンテナ4に備えさせるために、図5において、パッチ素子11とグランド素子12との前後方向の間隔dの値を、広く設定する必要がある。例えば、パッチ素子11を正方形としその一辺を170mm程度とし、比誘電率が空気よりも大きい誘電体13を設けると、グランド素子12とパッチ素子11との前後方向の間隔dは、およそ20mm〜40mmに設定される。なお、この間隔dは、誘電体13の有無、及び、誘電体13の種類に応じて設定される。
このように、パッチ素子11とグランド素子12とを700MHz帯周波数で使用するために、基板8よりも前方のグランド素子12とパッチ素子11との前記間隔dを大きな値とする必要があり、かつ、このパッチ素子11よりも前方にLED7の前端39を位置させるために、LED7は従来のものよりも前後方向に長い形状を有している。つまり、700MHz帯周波数で使用するパッチアンテナ4を基板8よりも前方として格納している光学ユニット2のLED7は、当該LED7の前端39がパッチ素子11よりも前方に位置する前後方向長さを有している。具体的に説明すると、リード線7c,7dは、LED7の前端39がパッチ素子11よりも前方に位置するように、基板8から前記発光本体(モールド部7e)までが長く設定されており、LED7は、従来のものよりも、リード線7c,7dが長いものとなっている。
このように、LED7の前後方向長さが、従来のLEDの前後方向長さよりも長くなっていることから、基板8よりも前方にグランド素子12及びパッチ素子11を配置し、これらグランド素子12とパッチ素子11との間隔dを広くしても、このパッチ素子11よりも前方にLED7の前端39を位置させることができる。したがって、パッチアンテナ4に所望の性能を発揮させることができると共に、パッチ素子11がLED7による前方への発光の妨げになることを防止することができる。
また、図5において、700MHz帯周波数で使用するためにパッチ素子11とグランド素子12との前後方向の前記間隔d(第一の間隔)を確保する共に、反射防止部材10の裏面とパッチ素子11の表面との間にも、第二の間隔eが設けられている。この第二の間隔eは、同軸ケーブル15aの内導体15bをパッチ素子11と接続するためのスペースである。つまり、パッチ素子11の前面には、内導体15bを接続するための半田部(取付部)15fが設けられ、この半田部15fはパッチ素子11の前面から突出する。そこで、第二の間隔eに半田部15fを配置することにより、反射防止部材10の後方にパッチ素子11を設けることができる。つまり、反射防止部材10に、半田部15fを収納するための孔や窪み部を形成しなくてもよい。
そして、第一の間隔d及び第二の間隔eを確保しつつ、LED7の前端39を、パッチ素子11及び反射防止部材10よりも前方に位置させることができるように、LED7は前後方向に長い形状を有している。
前記のとおり、LED7の前後方向長さを従来のものよりも長くするために、二本のリード線7c,7dが従来よりも前後方向に長くなっている。この場合、リード線7c,7d同士が接触しやすくなる。そこで、二本のリード線7c,7d間に絶縁材からなる短絡防止部材が介在している。前記短絡防止部材を、リード線7c,7dを被覆する被覆部材とすることができる。被覆部材としては、図5に示しているように、リード線7c,7dのそれぞれを単独で挿通させている樹脂製のチューブ16とすることができる。具体的には、熱収縮チューブとすることができる。このチューブ16によって、リード線7c,7dが従来よりも長くなっても、リード線7c,7d同士の接触を防ぎ、リード線7c,7d間の短絡を防止することができる。
また、前記被覆部材の変形例を図7に示している。LED7が有しているモールド部7eが、被覆部材としての機能を有している。すなわち、図7では、モールド部7eが、従来よりも、基板8側に長くなっている。モールド部7eのうちの、LED素子7bから先端39までの長さは従来のものと同じであるが、LED素子7bからリード線7c,7d側(基板8側)の長さが、従来のものよりも長くなっている。モールド部7eの後方(基板8側)への長さは、グランド素子12よりも後方へ越え、基板8の前面8a(前面8aの近傍位置)にまで達している。このため、リード線7c,7dの内の、基板8からモールド部7eまでの露出している部分の長さを短くすることができ、この露出しているリード線7c,7dの部分同士の接触を防ぎ、リード線7c,7d間の短絡を防止することができる。
図8は、前記短絡防止部材の別の構造を示している図である。図8の実施の形態では、前記短絡防止部材は、基板8の前方に設けられている共にリード線7c,7dそれぞれを単独で挿通させる孔が形成された誘電体13(板部材)としている。誘電体13に、第1(カソード側)のリード線7cを単独で挿通させる第一の孔24a、及び、第2(アノード側)のリード線7dを単独で挿通させる第二の孔24bが形成されている。これら孔24a,24bは、LED7毎に、誘電体13に前後方向に貫通して設けられている。この構成によれば、孔24a,24bとの間には、絶縁材(不導体)からなる誘電体13の一部13aが介在する。したがって、LED7のリード線7c,7dが前後方向に長くなっても、リード線7c,7dを孔24a,24bにそれぞれ単独で挿通させることで、リード線7c,7d同士の接触を防ぎ、短絡を防止することができる。なお、孔24aと孔24bとの間(リード線7c,7dの間)には、誘電体13の一部13aが介在するが、この間には、グランド素子12の一部(及びパッチ素子11の一部)が存在していないのが好ましい。
さらに、図8において、前記のとおり、グランド素子12には、リード線7c,7dを挿通させる開口部としての孔14が形成されている。なお、パッチ素子11には、LED7のモールド部7eを挿通させる開口部としての孔34が形成されている。
図9(a)は、図8のグランド素子12の孔14及び誘電体13の孔24a,24bを孔貫通方向に見た図である。図8と図9(a)とにおいて、グランド素子12に形成された孔14は、誘電体13の孔24a,24bの開口よりも広い領域で開口して形成されている。図8と図9(a)では、一つのLED7のために、グランド素子12に一つの孔14が形成されているのに対し、誘電体13には二つの孔24a,24bが形成されている。そして、一つの孔14の開口が、二つの孔24a,24bが形成されている領域よりも、広くなっている。
なお、図9(b)に示しているように、グランド素子12に、リード線7c,7dのそれぞれを単独で挿通させる二つの孔14,14が形成されていてもよい。この場合であっても、グランド素子12に形成された二つの孔14,14は、誘電体13の孔24a,24bの開口よりもそれぞれ広い領域で開口して形成されている。
LED7が前面8aに実装された基板8の前方で、かつ、LED7の前端39よりも後方にパッチ素子11及びグランド素子12を設けるためには、前記のとおり、パッチ素子11及びグランド素子12に、開口部として孔34,14を形成する必要がある。仮にグランド素子12の孔14と、誘電体13の孔24a,24bとが同じ大きさであると、リード線7c,7dが、グランド素子12の孔14に接触してしまうおそれがある。しかし、図8及び図9の構成によれば、グランド素子12の孔14は、誘電体13の孔24a,24bの開口よりも広い領域で開口して形成されているため、リード線7c,7dが、誘電体13の孔24a,24bに接触しても、グランド素子12の孔14に接触することを防止することができ、LED7とグランド素子12とが接触してしまうことを防止することができる。
図8に示した灯器の製造方法について説明する。図10は光学ユニット2にパッチアンテナ4を格納する際の組み立て工程を説明する説明図である。なお、図8ではパッチ素子11と誘電体13とは前後方向に離れており、両者の間には空気が介在しているが、図10では、パッチ素子11を誘電体13の前面に近接させた状態として示している。
パッチ素子11、グランド素子12及び誘電体13を光学ユニット2に組み込む前に、パッチ素子11に、LED7のリード線7c,7dを挿通させる開口部として前記孔34を形成し、グランド素子12に、LED7のリード線7c,7dを挿通させる開口部として前記孔14を形成すると共に、誘電体13に、リード線7c,7dのそれぞれを単独で挿通させる前記孔24a,24bを形成する。なお、一つのLED7に対し、孔34,14及び孔24a,24bが、一つずつ設けられている。誘電体13の孔24a,24bは、リード線7c,7dの断面形状よりも僅かに大きい程度の大きさであり、リード線7c,7dに対して不要に大きいものではない。
そして、図10に示しているように、基板8の前面8a側に、グランド素子12、誘電体13及びパッチ素子11を設ける。グランド素子12、誘電体13及びパッチ素子11をそれぞれ別体としてこれらを順に、基板8の前面側に設けてもよいし、グランド素子12、誘電体13及びパッチ素子11を積層状態として組み立てることにより一つのアンテナユニットとして予め構成し、このアンテナユニットを基板8の前面8aに設けてもよい。また、誘電体13を挟んで前面にパッチ素子11、後面にグランド素子12を配置させた両面基板としてアンテナユニットを構成し、このアンテナユニットを基板8の前面8aに設けてもよい。この場合、組み立てが容易となる。さらに、前記アンテナユニットと、基板8とを一つの多層基板として予め構成してもよい。なお、基板8とグランド素子12との間は絶縁されており、このために、グランド素子12を基板8の前面8aに配置する前に、両者間にスペーサ又は絶縁材などが取り付けられている。
そして、グランド素子12、誘電体13及びパッチ素子11を基板8の前面8aに設けてから、LED7を前面側からパッチ素子12へと接近させ、リード線7c,7dを、順に、パッチ素子11の孔34に挿通させ、誘電体13の孔24a,24bに挿通させ、グランド素子12の孔14に挿通させ、LED7の前端39をパッチ素子11よりも前方に位置させた状態で、前記リード線7c,7dを基板8に半田によって接続し、当該LED7を基板8の前面に実装させる。そして、この基板8、反射防止部材10及びカバー部材(図4参照)を収容部材(図4参照)に取り付け、パッチアンテナ4を、光学ユニット2内に格納した状態とする。
なお、基板8の前面にジャンパーケーブル等による配線が必要な場合、LED7を基板8に実装する前に、当該配線作業を済ませておく。
この製造方法によって製造された灯器によれば、誘電体13に形成した孔24a,24bに、リード線7c,7dを単独で挿通させ、LED7を基板8の前面に実装させるので、隣接するリード線7c,7d同士の接触を防ぎ、当該接触による短絡を防止することができる。また、孔24a,24bは、リード線7c,7dが曲がってしまうのを防止することができる。
また、前記のとおり、パッチ素子11とグランド素子12との間に、比誘電率が空気よりも大きい誘電体13が設けられている。誘電体13は、図5に示しているように、パッチ素子11とグランド素子12との間の前後方向の全域にわたって設けられていてもよく、図8に示しているように、部分的に設けられていてもよい。
図11は、誘電体13の比誘電率εrと、パッチ素子11の外形及びパッチ素子11の位置等との関係を示した表である。この表は、720MHz帯で使用される図2に示した灯器1をモデル化してシミュレーションを行なった結果を示している。このモデル化にあたり、パッチ素子11及びグランド素子12を正方形とし、LED7、LED7挿通用の孔及び反射防止部材10は、素子外形及び素子の位置に関しての影響が小さいため、省略している。また、同軸ケーブル15aの入力部を、パッチ素子11の上端から下方へ1mm下の位置としている。
図11において、素子外形は、正方形としたパッチ素子11及びグランド素子12の一辺の長さを示しており、素子高さは、パッチ素子11とグランド素子12との前後方向の間隔d(図5参照)の値を示している。比誘電率εrが1である場合、つまり、パッチ素子11とグランド素子12との間が空気である場合、素子外形は170.5mmであり、素子高さは25.0mmであるのに対し、比誘電率εrが空気よりも大きい誘電体13が介在している場合、素子外形は小さくなり、素子高さは大きくなる。
このように、パッチ素子11とグランド素子12との間に、比誘電率εrが空気よりも大きい誘電体13が設けられていることにより、パッチ素子11(パッチアンテナ4)の大きさを小さくすることができる。これは、素子内の波長短縮率が大きくなるためであると考えられる。このように、パッチアンテナ4を小さくすることができるため、光学ユニット2内に、別のアンテナを更に格納することができる。別のアンテナとしては、例えば、携帯電話等の移動体通信用のアンテナがあり、前記パッチアンテナ4とは異なる周波数帯(2.4GHz帯)で使用されるものであってもよい。
また、灯器1に格納するパッチアンテナ4用の誘電体13の比誘電率εrは、下限が2(2以上)であるのが好ましい。また、比誘電率εrは、上限が5(5以下)であるものが好ましい。具体的には、フッ素樹脂、ポリエチレン、ガラスエポキシ、FRP、ポリアセタール、ABS樹脂、又は、ポリエチレンテレフタラートとするのが、価格面、加工性の面で好ましい。
以上の各実施形態の灯器によれば、パッチ素子11及びグランド素子12を有するパッチアンテナ4は光学ユニット2内に格納されたものとなる。なお、図1の信号灯器1は三つの光学ユニット2を有しており、それぞれの光学ユニット2にアンテナ4が格納されている。これにより、アンテナ4を目立たなくして信号灯器1に設置することができ、道路の美観を損なうことがない。そして、アンテナ4が光学ユニット2内に格納されていることから、アンテナ設置用の専用の支柱を不要とすることができる。また、アンテナ4は基板8よりも前方に設けられているため、基板8がアンテナ4による電波の送受信の妨げになるのを、防止することができる。
また、パッチアンテナ4を700MHz帯周波数(715MHz〜725MHz)で使用するためには、パッチ素子11とグランド素子12との前後方向の間隔dが、所定の値(例えば20mm〜40mm)に設定される。したがって、このパッチアンテナ4を基板8よりも前方として光学ユニット2内に格納すると、基板8から前方に離れた位置にパッチ素子11が存在することとなる。しかし、この場合であっても、本発明によれば、LED7が有している前後方向長さによれば、LED7の前端39が、基板8から前方に離れた前記パッチ素子11よりも前方に位置することができる。このため、パッチアンテナ4を700MHz帯周波数で通信するためのアンテナとして機能させることができると共に、パッチ素子11及びこれの後方にあるグランド素子12はLED7の前端39よりも後方に設けられているため、パッチ素子11及びグランド素子12が、LED7による前方への発光(灯光)の妨げになることを防止することができる。
このように、パッチ素子11が前方への発光(灯光)の妨げになることを、防止するために、パッチ素子11はLED7の前端39よりも後方に設けられているが、この「前端39よりも後方」には、パッチ素子11の前面11aとLED7の前端39との前後方向の位置が、略一致している場合を含む。なお、この略一致とは、LED7の前端39の前後方向の位置が、パッチ素子11の厚さ方向の範囲内に存在している場合である。
さらに、パッチアンテナ4が露出した状態(灯器筐体より突出した状態)にないため、信号灯器1を取り付けるための支柱40及びアーム41(図1)の設計において、アンテナ4が受ける風荷重を追加的に考慮する必要がない。また、アンテナ4に対する防錆、防塵についても追加的に考慮する必要がない。
また、交通用の信号灯器1は、車両のドライバによる視認性を考慮して道路に設置されているため、各実施の形態の信号灯器を道路の所定位置に設置することで、アンテナ4と車両の車載機との間で無線通信を行う上で、見通しが良好な状態が自然と得られる。これにより、信号灯器1の光学ユニット2に組み込んだアンテナ4を、路車間で無線通信を行う高度道路交通システム(ITS)に活用することができ、また、良好な通信状態が得られる。
なお、グランド素子12とパッチ素子11とは平行に配置されていてもよいが、アンテナ指向性を調整するために、パッチ素子11及びグランド素子12の一方又は双方が、基板8に対して傾いて配置されていてもよい。
なお、信号灯器1はドライバへの視認性に鑑みて、通常、基板8自体を少し下方に傾けて設置してある。そのため、パッチ素子11及びグランド素子12を基板8に平行に取り付けることによって、アンテナ4の指向性も下方に向くが、路車間での無線通信領域を限定的としたり確実性を増したりすることを目的として、基板8よりもさらに下方に傾けるようにしても良い。
また、本発明の灯器は、前記実施の形態に限定されるものではない。前記各実施形態では、パッチ素子11を反射防止部材10の後方として説明したが、図12に示しているように、パッチ素子11は反射防止部材10の前方であってもよい。この場合であっても、LED7は、当該LED7の前端39がパッチ素子11よりも前方に位置する前後方向長さを有している。そして、パッチ素子11を反射防止部材10の前面に設ける場合、パッチ素子11を前記前面に貼り付けたり、止めネジによって取り付けたりすることができる。また、この場合、パッチ素子11を反射防止部材10と同一色に塗装するのが好ましい。これにより、パッチ素子11が目立たなくなる。さらに、反射防止部材10の前面には、太陽光を乱反射させるため(太陽光を鏡のように一定の方向へ反射させないため)、梨地処理等の微細な凹凸を付けた表面処理を施している。そこで、パッチ素子11にも、同じ表面処理(粗さが同じ処理)を施すのが好ましく、これにより、パッチ素子11をより一層目立たなくすることができる。
また、信号灯器は車両用以外にも、歩行者用のものであってもよい。また、信号灯器が有する発光体はLED以外に電球であってもよい。また、この発明は、信号灯器以外に道路の照明用の照明灯器であってもよい。この場合、発光体として水銀灯やナトリウムランプがある。
本発明の灯器の実施の一形態を示す正面図である。 光学ユニットの斜視図である。 光学ユニットの正面図である。 光学ユニットの断面図である。 LED及びその周辺部を示している拡大断面図である。 LED及びその周辺部の別の形態を示している拡大断面図である。 LED及びその周辺部の別の形態を示している拡大断面図である。 LED及びその周辺部の別の形態を示している拡大断面図である。 (a)は、図8のグランド素子の孔及び誘電体の孔を孔貫通方向に見た図であり、(b)は、別のグランド素子に形成された孔を説明する図である。 光学ユニットにパッチアンテナを格納する際の組み立て工程を説明する説明図である。 誘電体の比誘電率と、パッチ素子の外形及びパッチ素子の位置等との関係を示した表である。 本発明の灯器の他の実施形態に係る光学ユニットの断面図である。
符号の説明
1 交通信号灯器(灯器)
2 光学ユニット
4 パッチアンテナ
7 発光ダイオード(LED)
7b LED素子
7c,7d リード線
7e モールド部
7f 発光本体
8 基板
8a 前面
9 カバー部材
10 反射防止部材
11 パッチ素子
12 グランド素子
13 誘電体(板部材)
14 孔(開口部)
16 チューブ
24 孔
24a 孔
24b 孔
34 孔(開口部)
39 前端
d 間隔

Claims (9)

  1. 発光体、この発光体が前面に実装された基板、及び、可視光透過性を有し前記発光体を前方で覆うカバー部材を有する光学ユニットと、
    前記基板よりも前方に設けられたグランド素子、及び、このグランド素子よりも前方に設けられたパッチ素子を有しているパッチアンテナと、
    を備え、
    前記パッチ素子と前記グランド素子とは両者間で前後方向に間隔が設けられて前記光学ユニット内に格納され、
    前記発光体は、当該発光体の前端が前記パッチ素子よりも前方に位置する前後方向長さを有していることを特徴とする灯器。
  2. 前記パッチ素子と前記グランド素子との前後方向の間隔は、700MHz帯周波数で使用する間隔に設定されている請求項1に記載の灯器。
  3. 前記発光体は、LED素子を有する発光本体と、この発光本体から後方へ延び前記基板と接続されている二本のリード線とを有する発光ダイオードであり、前記リード線は、前記発光ダイオードの前端が前記パッチ素子よりも前方に位置するように、前記基板から前記発光本体までが長く設定されており、
    前記二本のリード線間に絶縁材からなる短絡防止部材が介在している請求項1又は2に記載の灯器。
  4. 前記短絡防止部材は、前記リード線それぞれを単独で挿通させる孔が形成された板部材である請求項3に記載の灯器。
  5. 前記短絡防止部材は、前記リード線を被覆する被覆部材である請求項3に記載の灯器。
  6. 前記グランド素子には、前記リード線を挿通させる開口部が形成されており、
    この開口部は、前記孔の開口よりも広い領域で開口して形成されている請求項4に記載の灯器。
  7. 前記光学ユニット外部の所定の方向から入射する光が前記基板及び前記発光体の少なくとも一方により反射するのを防止するため、前記基板の前方に当該基板に対向して設けられた板状の反射防止部材を更に備え、
    前記パッチ素子は、前記反射防止部材の後方に設けられている請求項1〜6のいずれか一項に記載の灯器。
  8. 前記パッチ素子と前記グランド素子との間に、比誘電率が空気よりも大きい誘電体が設けられている請求項1〜7のいずれか一項に記載の灯器。
  9. 前方側にあるLED素子と後方へ延びているリード線と前記LED素子を被覆するモールド部とを有する発光ダイオード、この発光ダイオード用の基板、及び、可視光透過性を有し前記発光ダイオードを前方で覆うカバー部材を有する光学ユニットと、
    前記基板よりも前方に設けられたグランド素子、このグランド素子よりも前方に設けられたパッチ素子、及び、前記グランド素子と前記パッチ素子との間に介在した誘電体を有しているパッチアンテナと、を備えた灯器の製造方法であって、
    前記パッチ素子及び前記グランド素子に、前記リード線を挿通させる開口部をそれぞれ形成すると共に、前記誘電体に、前記リード線それぞれを単独で挿通させる孔を形成し、
    前記基板の前面側に、前記グランド素子、前記誘電体及び前記パッチ素子を設け、前記リード線を前記開口部及び前記孔に挿通させ、前記発光ダイオードの前端を前記パッチ素子よりも前方に位置させた状態で、前記リード線を前記基板に接続することで、前記発光ダイオードを当該基板の前面に実装させ、前記パッチアンテナを前記光学ユニット内に格納することを特徴とする灯器の製造方法。
JP2008163235A 2008-06-23 2008-06-23 灯器及び灯器の製造方法 Expired - Fee Related JP5262340B2 (ja)

Priority Applications (1)

Application Number Priority Date Filing Date Title
JP2008163235A JP5262340B2 (ja) 2008-06-23 2008-06-23 灯器及び灯器の製造方法

Applications Claiming Priority (1)

Application Number Priority Date Filing Date Title
JP2008163235A JP5262340B2 (ja) 2008-06-23 2008-06-23 灯器及び灯器の製造方法

Publications (2)

Publication Number Publication Date
JP2010004454A true JP2010004454A (ja) 2010-01-07
JP5262340B2 JP5262340B2 (ja) 2013-08-14

Family

ID=41585746

Family Applications (1)

Application Number Title Priority Date Filing Date
JP2008163235A Expired - Fee Related JP5262340B2 (ja) 2008-06-23 2008-06-23 灯器及び灯器の製造方法

Country Status (1)

Country Link
JP (1) JP5262340B2 (ja)

Citations (10)

* Cited by examiner, † Cited by third party
Publication number Priority date Publication date Assignee Title
JPS57115294U (ja) * 1981-01-08 1982-07-16
JPH02134879A (ja) * 1988-11-16 1990-05-23 Fujitsu Ltd 発光ダイオードの実装構造
JPH0531320U (ja) * 1991-09-27 1993-04-23 旭硝子株式会社 車輛用警告灯一体型平面アンテナ
JPH0550815U (ja) * 1991-12-06 1993-07-02 旭硝子株式会社 車両用警告灯一体型の平面アンテナ
JPH0685426A (ja) * 1992-08-31 1994-03-25 Fujitsu Ltd 電子部品の組立スペーサ
JPH0715042A (ja) * 1993-06-22 1995-01-17 Rohm Co Ltd 発光ダイオードランプ
JPH0958050A (ja) * 1995-08-24 1997-03-04 Ricoh Co Ltd 発光ダイオードアレイヘッド
JPH11265499A (ja) * 1998-01-12 1999-09-28 Nichia Chem Ind Ltd Led表示器及びled信号灯
JPH11305689A (ja) * 1998-04-22 1999-11-05 Sony Corp 発光表示装置
JP2001056647A (ja) * 1999-06-09 2001-02-27 Sony Corp 発光表示装置

Patent Citations (10)

* Cited by examiner, † Cited by third party
Publication number Priority date Publication date Assignee Title
JPS57115294U (ja) * 1981-01-08 1982-07-16
JPH02134879A (ja) * 1988-11-16 1990-05-23 Fujitsu Ltd 発光ダイオードの実装構造
JPH0531320U (ja) * 1991-09-27 1993-04-23 旭硝子株式会社 車輛用警告灯一体型平面アンテナ
JPH0550815U (ja) * 1991-12-06 1993-07-02 旭硝子株式会社 車両用警告灯一体型の平面アンテナ
JPH0685426A (ja) * 1992-08-31 1994-03-25 Fujitsu Ltd 電子部品の組立スペーサ
JPH0715042A (ja) * 1993-06-22 1995-01-17 Rohm Co Ltd 発光ダイオードランプ
JPH0958050A (ja) * 1995-08-24 1997-03-04 Ricoh Co Ltd 発光ダイオードアレイヘッド
JPH11265499A (ja) * 1998-01-12 1999-09-28 Nichia Chem Ind Ltd Led表示器及びled信号灯
JPH11305689A (ja) * 1998-04-22 1999-11-05 Sony Corp 発光表示装置
JP2001056647A (ja) * 1999-06-09 2001-02-27 Sony Corp 発光表示装置

Also Published As

Publication number Publication date
JP5262340B2 (ja) 2013-08-14

Similar Documents

Publication Publication Date Title
CN101743573B (zh) 灯装置、用于灯装置的天线单元、通信系统以及交通信号控制器
US7741782B2 (en) Lighting fixtures incorporating Rf antennae
JP5239842B2 (ja) 交通信号灯器
JP4967910B2 (ja) 通信システム、歩行者用交通信号灯器及び交通信号制御機
JP5092737B2 (ja) 灯器、交通信号灯器、交通信号制御機、及びアンテナユニット
JP4985597B2 (ja) パッチアンテナ、灯器および交通信号灯器
JP5228906B2 (ja) 交通信号灯器
JP5262340B2 (ja) 灯器及び灯器の製造方法
JP5228871B2 (ja) 交通信号灯器
JP5287209B2 (ja) 交通信号灯器
JP4556969B2 (ja) 通信システム及び交通信号制御機
JP5246412B2 (ja) 灯器
JP5088129B2 (ja) 灯器、交通信号灯器、交通信号制御機、及びアンテナユニット
JP5194821B2 (ja) 灯器、交通信号灯器、交通信号制御機、及びアンテナユニット
JP5050942B2 (ja) 灯器
JP5119776B2 (ja) 交通信号灯器用のアンテナユニット、交通信号灯器及び交通信号制御機
JP2010170373A (ja) 灯器、交通信号灯器、及び灯器の反射防止ユニット
JP5109831B2 (ja) アンテナユニット、灯器、交通信号灯器及び交通信号制御機
JP5152000B2 (ja) 交通信号設備
JP4655069B2 (ja) アンテナユニット、灯器、交通信号灯器及び交通信号制御機
JP2010176233A (ja) 灯器、交通信号灯器、及び灯器の反射防止ユニット
HK1144028A (en) Lighting apparatus, antenna unit for lighting apparatus, communication system and traffic signal control apparatus
JP2012230772A (ja) 車両用灯具用反射ユニットおよび車両用灯具
JP4983966B2 (ja) 交通信号灯器

Legal Events

Date Code Title Description
A621 Written request for application examination

Free format text: JAPANESE INTERMEDIATE CODE: A621

Effective date: 20110126

A977 Report on retrieval

Free format text: JAPANESE INTERMEDIATE CODE: A971007

Effective date: 20120523

A131 Notification of reasons for refusal

Free format text: JAPANESE INTERMEDIATE CODE: A131

Effective date: 20120529

A521 Written amendment

Free format text: JAPANESE INTERMEDIATE CODE: A523

Effective date: 20120713

A131 Notification of reasons for refusal

Free format text: JAPANESE INTERMEDIATE CODE: A131

Effective date: 20121106

A521 Written amendment

Free format text: JAPANESE INTERMEDIATE CODE: A523

Effective date: 20121221

TRDD Decision of grant or rejection written
A01 Written decision to grant a patent or to grant a registration (utility model)

Free format text: JAPANESE INTERMEDIATE CODE: A01

Effective date: 20130402

A61 First payment of annual fees (during grant procedure)

Free format text: JAPANESE INTERMEDIATE CODE: A61

Effective date: 20130415

R150 Certificate of patent or registration of utility model

Free format text: JAPANESE INTERMEDIATE CODE: R150

Ref document number: 5262340

Country of ref document: JP

Free format text: JAPANESE INTERMEDIATE CODE: R150

R250 Receipt of annual fees

Free format text: JAPANESE INTERMEDIATE CODE: R250

R250 Receipt of annual fees

Free format text: JAPANESE INTERMEDIATE CODE: R250

R250 Receipt of annual fees

Free format text: JAPANESE INTERMEDIATE CODE: R250

R250 Receipt of annual fees

Free format text: JAPANESE INTERMEDIATE CODE: R250

R250 Receipt of annual fees

Free format text: JAPANESE INTERMEDIATE CODE: R250

LAPS Cancellation because of no payment of annual fees