JP2010004392A - 折り畳み式携帯端末および携帯端末 - Google Patents

折り畳み式携帯端末および携帯端末 Download PDF

Info

Publication number
JP2010004392A
JP2010004392A JP2008162274A JP2008162274A JP2010004392A JP 2010004392 A JP2010004392 A JP 2010004392A JP 2008162274 A JP2008162274 A JP 2008162274A JP 2008162274 A JP2008162274 A JP 2008162274A JP 2010004392 A JP2010004392 A JP 2010004392A
Authority
JP
Japan
Prior art keywords
plate
portable terminal
hinge
housing
antenna
Prior art date
Legal status (The legal status is an assumption and is not a legal conclusion. Google has not performed a legal analysis and makes no representation as to the accuracy of the status listed.)
Granted
Application number
JP2008162274A
Other languages
English (en)
Other versions
JP4463312B2 (ja
JP2010004392A5 (ja
Inventor
Takeshi Sekine
武史 関根
Shingo Kume
信吾 粂
Current Assignee (The listed assignees may be inaccurate. Google has not performed a legal analysis and makes no representation or warranty as to the accuracy of the list.)
Panasonic Corp
Original Assignee
Panasonic Corp
Priority date (The priority date is an assumption and is not a legal conclusion. Google has not performed a legal analysis and makes no representation as to the accuracy of the date listed.)
Filing date
Publication date
Application filed by Panasonic Corp filed Critical Panasonic Corp
Priority to JP2008162274A priority Critical patent/JP4463312B2/ja
Priority to CN2009801282445A priority patent/CN102100054A/zh
Priority to US12/999,549 priority patent/US20110128194A1/en
Priority to PCT/JP2009/000391 priority patent/WO2009153899A1/ja
Publication of JP2010004392A publication Critical patent/JP2010004392A/ja
Publication of JP2010004392A5 publication Critical patent/JP2010004392A5/ja
Application granted granted Critical
Publication of JP4463312B2 publication Critical patent/JP4463312B2/ja
Expired - Fee Related legal-status Critical Current
Anticipated expiration legal-status Critical

Links

Images

Classifications

    • HELECTRICITY
    • H04ELECTRIC COMMUNICATION TECHNIQUE
    • H04MTELEPHONIC COMMUNICATION
    • H04M1/00Substation equipment, e.g. for use by subscribers
    • H04M1/02Constructional features of telephone sets
    • H04M1/18Telephone sets specially adapted for use in ships, mines, or other places exposed to adverse environment
    • HELECTRICITY
    • H01ELECTRIC ELEMENTS
    • H01QANTENNAS, i.e. RADIO AERIALS
    • H01Q1/00Details of, or arrangements associated with, antennas
    • H01Q1/12Supports; Mounting means
    • H01Q1/22Supports; Mounting means by structural association with other equipment or articles
    • H01Q1/24Supports; Mounting means by structural association with other equipment or articles with receiving set
    • H01Q1/241Supports; Mounting means by structural association with other equipment or articles with receiving set used in mobile communications, e.g. GSM
    • H01Q1/242Supports; Mounting means by structural association with other equipment or articles with receiving set used in mobile communications, e.g. GSM specially adapted for hand-held use
    • H01Q1/243Supports; Mounting means by structural association with other equipment or articles with receiving set used in mobile communications, e.g. GSM specially adapted for hand-held use with built-in antennas
    • HELECTRICITY
    • H01ELECTRIC ELEMENTS
    • H01QANTENNAS, i.e. RADIO AERIALS
    • H01Q9/00Electrically-short antennas having dimensions not more than twice the operating wavelength and consisting of conductive active radiating elements
    • H01Q9/04Resonant antennas
    • H01Q9/16Resonant antennas with feed intermediate between the extremities of the antenna, e.g. centre-fed dipole
    • HELECTRICITY
    • H04ELECTRIC COMMUNICATION TECHNIQUE
    • H04MTELEPHONIC COMMUNICATION
    • H04M1/00Substation equipment, e.g. for use by subscribers
    • H04M1/02Constructional features of telephone sets
    • H04M1/0202Portable telephone sets, e.g. cordless phones, mobile phones or bar type handsets
    • H04M1/0206Portable telephones comprising a plurality of mechanically joined movable body parts, e.g. hinged housings
    • H04M1/0208Portable telephones comprising a plurality of mechanically joined movable body parts, e.g. hinged housings characterized by the relative motions of the body parts
    • H04M1/0214Foldable telephones, i.e. with body parts pivoting to an open position around an axis parallel to the plane they define in closed position
    • H04M1/0216Foldable in one direction, i.e. using a one degree of freedom hinge
    • HELECTRICITY
    • H04ELECTRIC COMMUNICATION TECHNIQUE
    • H04MTELEPHONIC COMMUNICATION
    • H04M1/00Substation equipment, e.g. for use by subscribers
    • H04M1/02Constructional features of telephone sets
    • H04M1/0202Portable telephone sets, e.g. cordless phones, mobile phones or bar type handsets
    • H04M1/026Details of the structure or mounting of specific components
    • H04M1/0277Details of the structure or mounting of specific components for a printed circuit board assembly

Landscapes

  • Engineering & Computer Science (AREA)
  • Signal Processing (AREA)
  • Computer Networks & Wireless Communication (AREA)
  • Telephone Set Structure (AREA)

Abstract

【課題】確実な防水性が得られる折り畳み式携帯端末および携帯端末を提供する。
【解決手段】折り畳み式携帯端末装置10は、上筐体14の長手方向におけるヒンジ部側端部23Aに、上プリント基板28の導電部28Aに接続される第一接続部41と、第一接続部と接続されるとともに、第1突出部53がヒンジケース31内に配置された導電性を有する板状部材42と、ヒンジケース内において板状部材に対して弾性的に接続されるとともに、第1接触部57でヒンジ部32に接続して給電する第二接続部44と、板状部材に密着し、ヒンジケースから上筐体14に対して防水する防水部材45とを備えている。
【選択図】図14

Description

本発明は、折り畳み式携帯端末および携帯端末に関するものである。
防水型の折り畳み式携帯端末において、アンテナを構成する場合、アンテナを防水されたエリアに配置することが理想的である(例えば、特許文献1参照)。
しかしながら、アンテナの性能や構成上、筐体の表面近傍やヒンジといった非防水エリアに配置するほうが好ましいケースもある。
例えば、ヒンジをアンテナの一部として、筐体ダイポールアンテナを構成する場合、ヒンジに給電し、筐体のフレームまたはプリント基板のグランドパターンなどをアンテナとして構成している(例えば、特許文献2参照)。ヒンジ部そのものを導電性とし、給電線の代わりにヒンジ部を給電経路に用いることが可能としたことにより、給電線をヒンジ部に通すための工程が不要となり、組立工数を削減することができる。また、給電線を備える携帯無線機では給電線がヒンジ部内部で変形することによるアンテナ性能の劣化が生じたが、本発明に係る携帯無線機ではそれを原理的に抑えることができるので、高いアンテナ性能を安定して確保することができる。
特開20007−53718号公報 特許3596774号公報
しかしながら、この構成において、防水対策を行う場合、ヒンジ部は防水エリアではないため、筐体内部に水が浸入しないよう、防水を確保する必要がある。
本発明は、前述した要望を満たすためになされたもので、その目的は、筐体ダイポールアンテナを構成した場合であっても確実な防水性が得られる折り畳み式携帯端末および携帯端末を提供することにある。
本発明の折り畳み式携帯端末は、防水された第一筐体と、第二筐体と、前記第一筐体と前記第二筐体とを連結する非防水の連結部と、を備えた折り畳み式携帯端末装置において、前記連結部は、導電性を有するヒンジ部と、当該ヒンジ部を覆う非防水のヒンジケースと、を備え、前記第一筐体の長手方向における前記ヒンジ部側端部に、プリント基板の導電部に接続される第一接続部と、前記第一接続部と接続されるとともに、その一部が前記ヒンジケース内に配置された導電性を有する板状部材と、前記ヒンジケース内において前記板状部材に対して弾性的に接続されるとともに、他端で前記ヒンジ部に接続して給電する第二接続部と、前記板状部材に密着し、前記ヒンジケースから該第一筐体に対して防水する防水部材と、を備えたことを特徴とする。
第一筐体の長手方向におけるヒンジ部側端部に第一接続部を備え、第一接続部をプリント基板の導電部に接続した。この第一接続部に板状部材を接続した。板状部材の一部はヒンジケース内に配置されて導電性を有している。
ヒンジケース内において板状部材に対して第二接続部を弾性的に接続し、第二接続部の他端をヒンジ部に給電可能に接続した。
板状部材に防水部材を密着させてヒンジケースから第一筐体に対して防水した。
ここで、板状部材、ヒンジ部およびプリント基板の導電部などで筐体ダイポールアンテナを構成する。
これにより、筐体ダイポールアンテナを構成した場合であっても確実な防水性が得られる。
また、本発明は、前記板状部材において、突出部を形成し、当該突出部を、前記ヒンジケース内に配置したことを特徴とする。
板状部材に突出部を形成し、突出部をヒンジケース内に配置することで、アンテナ経路長を確保しつつ、筐体の長手方向の長さが短縮できるので、筐体の小型化が図れる。
さらに、本発明は、前記板状部材は、金属板であることを特徴とする。
板状部材を金属板とすることで、板状部材の導電性が容易に得られる。
また、本発明は、前記板状部材は、フレキシブル基板であることを特徴とする。
板状部材をフレキシブル基板とすることで、設計の自由度を高めることができる。
さらに、本発明は、前記第一接続部または前記第二接続部は板ばねであることを特徴とする。
第一接続部または第二接続部を板ばねとすることで、簡単な構成で接続部を得ることができる。
また、本発明は、前記防水部材は、両面接着テープであって、少なくとも前記板状部材のうち前記第一接続部との接点を取り囲む部位に接着されていることを特徴とする。
防水部材を両面接着テープとし、両面接着テープを板状部材のうち、少なくとも第一接続部との接点を取り囲む部位に接着した。
防水部材として両面接着テープを用いることで、第一接続部との接点の防水を低コストで実施可能で、かつ組立性の容易化が図れる。
さらに、本発明は、前記第一筐体は表示部を備え、前記板状部材は、前記表示部と前記ヒンジ部との間に配置されたことを特徴とする。
本発明においては、板状部材を表示部とヒンジ部との間に配置するとともに、板金部材の一部をヒンジ部に突出させているため、板金部材が例えばアンテナの一部を構成している場合、アンテナ経路長を確保しつつ、第一筐体の長手方向の長さを短縮でき、これにより折り畳み式携帯端末装置の小型化が図れる。
また、本発明は、前記第一筐体のプリント基板の導電部と、前記板状部材と、前記ヒンジ部と、前記第二筐体の内部に配置されたプリント基板の導電部とがアンテナとして動作することを特徴とする。
本発明においては、板状部材を介して第一筐体のプリント基板および第二筐体のプリント基板がアンテナとなるため、換言すれば第一筐体の長手方向寸法および第二筐体の長手方向寸法を合算した長さをアンテナとして使えるため、高感度なアンテナが得られるとともに、ホイップアンテナなどの同等性能のアンテナを別途設ける場合に比較して部品点数を削減できる。さらに、給電線の代わりにヒンジの導電部分を給電経路に用いることで、給電線をヒンジ部に通すための工程が不要となり、組立工数を削減することができる。また、給電線を備える携帯無線機では給電線がヒンジ内部で変形することによるアンテナ性能の劣化が生じたが、本発明に係る携帯無線機ではそれを原理的に抑えることができるので、高いアンテナ性能を安定して確保することができる。
さらに、本発明は、防水された筐体と、前記筐体の外部に配置される面状のアンテナと、前記筐体に収容されたプリント基板の導電部に対して弾性的に接続されるとともに前記アンテナに対して弾性的に接続される接続部と、前記アンテナに密着し、前記アンテナと前記接続部との接続箇所を囲んで防水する防水部材と、を備えたことを特徴とする。
本発明の携帯端末においては、例えば折り畳み式、ストレート式等の形態に関わらず、防水された筐体の外部に面状のアンテナを配置した。筐体に収容されたプリント基板の導電部に対して接続部を弾性的に接続するとともに、この接続部をアンテナに対して弾性的に接続させた。
そして、アンテナに防水部材を密着し、この防水部材で、アンテナと接続部との接続箇所を囲んで防水する。
これにより、アンテナと接続部との接続箇所の確実な防水性が得られる。
また、本発明の携帯端末は、前記接続部を前記筐体の外部に露出される連通孔と、前記アンテナにおける前記接続部との接続箇所を覆う被覆部材を備え、前記被覆部材は、当該被覆部材に設けられた係合爪が前記連通孔の開口縁部に係合されるとともに、前記接続部を支持する支持部材の一部が前記係合爪に隣接配置されることにより、前記開口縁部に対する係合状態を維持されることを特徴とする。
接続部を筐体の外部に露出させる連通孔を覆う被覆部材を備え、この被覆部材で、アンテナにおける接続部との接続箇所を覆うようにした。
被覆部材に係合爪を設け、係合爪に隣接させて支持部材の一部を配置した。
これにより、係合爪を連通孔の開口縁部に係合するとともに、支持部材の一部で接続部を支持することで、開口縁部に対する係合状態を維持し、防水性を維持できる。
本発明の折り畳み式携帯端末および携帯端末によれば、確実な防水性が得られるという効果を有する。
以下、本発明の実施形態に係る折り畳み式携帯端末および携帯端末について、図面を参照して説明する。
図1に示すように、第1実施形態の折り畳み式携帯端末10は、操作部12が設けられた下筐体(第2筐体)11と、表示部15が設けられた上筐体(第1筐体)14と、下筐体11および上筐体14を折畳み自在に連結する非防水の連結部17とを備えている。
下筐体11は、内部に下プリント基板(プリント基板)21(図22参照)が配置され、防水性を備えている。
上筐体14は、舟形状に形成された略矩形状の表カバー23と、表カバー23の開口側に嵌合する裏カバー24と、裏カバー24を覆う化粧パネル25とを備え、防水性を備えている。
表カバー23は、上筐体14の長手方向におけるヒンジ部側端部23Aに、後述する第二接続部44が設けられる取付部位27が備えられている。
裏カバー24は、略矩形状に形成され、表示部15および上プリント基板(プリント基板)28(図4参照)を備えている。
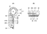
この裏カバー24は、上筐体14の長手方向におけるヒンジ部側端部24Aに非防水のヒンジケース31が設けられ、ヒンジ部側端部24Aに収納凹部34が設けられ、収納凹部34の略中央に突出開口35が設けられ、収納凹部34の壁部34Aに挿通孔37が設けられている。
ヒンジケース31内に導電性を有するヒンジ部32(図14(A)参照)が設けられている。
図14(A)に示すように、ヒンジ部32およびヒンジケース31で連結部17が構成されている。
また、折り畳み式携帯端末10は、上筐体14の長手方向におけるヒンジ部側端部23Aに設けられた第一接続部41と、第一接続部41に接続された導電性を有する板状部材42と、板状部材42およびヒンジ部32に接続された第二接続部44と、ヒンジケース31から上筐体14に対して防水する防水部材45と、板状部材42を受ける受け材47と、アンテナとして動作する筐体ダイポールアンテナとを備えている。
第一接続部41は、図7、図14に示すように、略U字状に弾性変形可能に形成され、下端部41Aに突起51が形成された板ばねである。
第一接続部41を板ばねとすることで、簡単な構成で接続部を得ることができる。
この第一接続部41は、上端部41Bが上プリント基板28の導電部28Aに接続(実装)され、突起51が板状部材42に弾性的に接続されている。
板状部材42は、図10〜図12に示すように、略矩形状に形成され、第1、第2の突出部53,54が設けられた金属板である。
板状部材42を金属板とすることで、板状部材42の導電性が容易に得られる。
この板状部材42は、収納凹部34に配置され、第1突出部(板状部材42の一部(すなわち、突出部))53が挿通孔37に挿通されている。
板状部材42を収納凹部34に配置することで、板状部材42は、表示部15とヒンジ部32(図14(A)参照)との間に配置されている。
板状部材24を表示部15とヒンジ部32との間に配置するとともに、第1の突出部53をヒンジ部32に突出させているため、筐体ダイポールアンテナのアンテナ経路長を確保しつつ、上筐体14の長手方向の長さを短縮でき、これにより折り畳み式携帯端末10の小型化が図れる。
また、第1突出部53が挿通孔37に挿通されることで、第1突出部53(すなわち、板状部材42の一部)がヒンジケース31内に配置されている(差し込まれている)。
なお、第2突出部54は、板状部材42を収納凹部34に組み込む作業の容易化を図るために設けられている。
第二接続部44は、図6に示すように、表カバー23の取付部位27に設けられた板ばねである。
第二接続部44を板ばねとすることで、簡単な構成で接続部を得ることができる。
この第二接続部44は、図6、図7に示すように、取付部位27に係止可能な係止部56と、係止部56から突出されるとともにヒンジ部32に向けて弾性変形可能に折り曲げられた第1接触部(他端)57と、係止部56から突出されるとともに板状部材42に弾性変形可能に向けて折り曲げられた第2接触部58とを備えている。
図14(A)に示すように、第1接触部57は、ヒンジ部32に弾性的に接続された部位である。
第2接触部58は、ヒンジケース31内において第1突出部53に弾性的に接続された部位である。
第1接触部57をヒンジ部32に接続するとともに第2接触部58を第1突出部53に接続することで給電可能とされている。
防水部材45は、図10、図11に示すように、板状部材42に密着し、ヒンジケース31から上筐体14に対して防水する両面接着テープである。
この防水部材45は、略矩形枠状に形成され、板状部材42のうち少なくとも第一接続部41との接点を取り囲む部位42Aに接着されている。
防水部材45として両面接着テープを用いることで、第一接続部41との接点を取り囲む部位42Aの防水を低コストで実施可能で、かつ組立性の容易化が図れる。
受け材47は、図2、図3、図14(B)に示すように、略矩形状に形成され、板状部材42を受けるとともに、板状部材42を好適に押さえるためにクッション性(弾性)を備えている。
筐体ダイポールアンテナは、上筐体14に備えた上プリント基板28の導電部28Aと、板状部材42と、ヒンジ部32と、下筐体11の内部に配置された下プリント基板21の導電部21A(図22参照)とで構成されている。
以上説明したように、第1実施形態の折り畳み式携帯端末10によれば、板状部材42に防水部材45を密着させてヒンジケース31から上筐体14に対して防水した。
これにより、筐体ダイポールアンテナを構成した場合であっても確実な防水性が得られる。
(変形例)
第1実施形態の折り畳み式携帯端末10は、板状部材42として金属板を用いた例について説明したが、これに限らないで、板状部材42をフレキシブル基板とすることも可能である。
板状部材42としてフレキシブル基板を用いることで、設計の自由度を高めることができるという効果が得られる。
(第2実施形態)
つぎに、第2実施形態を図15〜図22に基づいて説明する。なお、第2実施形態において第1実施形態と同一類似部材については同じ符号を付して説明を省略する。
図15〜図16に示すように、第2実施形態の折り畳み式携帯端末70は、下筐体11の外部に配置された面状のアンテナ72と、下プリント基板21の導電部21A(図22参照)およびアンテナ72に対して弾性的に接続される接続部74と、アンテナ72および接続部74の接続箇所74Aを囲んで防水する第1防水部材(防水部材)76と、アンテナ72を覆う被覆部材78とを備えている。
なお、第2実施形態では、折り畳み式携帯端末を例示するが、第2実施形態の構成は例えばストレート式の携帯端末にも適用可能である。
下筐体11は、接続部74のアンテナ接触部89を下筐体11の外部に露出させる連通孔81が設けられている。
アンテナ72は、略矩形状に形成されたベース83と、ベース83から帯状に延出されたアンテナ本体84とを備えている。
ベース83には所定間隔をおいて一対の貫通孔85が形成されている。
アンテナ72は、図20に示すように下筐体11に取り付けられる。
接続部74は、図17に示すように、板ばねを折り曲げて形成された部材である。
この接続部74は、樹脂製の支持部材87に取り付けられた本体部88と、本体部88から突出されるとともにアンテナ72のベース83(図16参照)に向けて弾性変形可能に折り曲げられたアンテナ接触部89とを備えている。
接続部74は、図21、図22に示すように、下筐体11に収容された下プリント基板21の導電部21Aに対してピンコネクタ91(図20も参照)を介して本体部88が弾性的に接続されるとともに、アンテナ72のベース83に対してアンテナ接触部89が弾性的に接続されている。
ピンコネクタ91は、図22に示すように、本体92の基端部92Aが下プリント基板21の導電部21Aに実装され、本体92の先端部92Bに突出部93がコイルばね(図示せず)により突没自在に設けられている。
このピンコネクタ91は、突出部93が接続部74の本体部88で押し付けられた状態で接続されている。
第1防水部材76は、図15、図18に示すように、略矩形枠状に形成され、アンテナ72のベース83の周縁に沿って密着され、ベース83と接続部74のアンテナ接触部89との接続箇所83Aを囲んで防水する両面接着テープである。
被覆部材78は、図15、図19に示すように、連通孔81の開口縁部81A(図22も参照)に係合可能な一対の係合爪95が設けられている。
この被覆部材78は、アンテナ72における接続部74との接続箇所83Aを覆うように略矩形状に形成され、対向する両辺近傍に一対の係合爪95が設けられている。
一対の係合爪95は、図22に示すように、連通孔81の開口縁部81Aに係合可能な部材である。
ここで、接続部74を支持する支持部材87の一部、具体的には、一対の突起87A(図17、図22参照)が一対の係合爪95の背面に隣接配置されている。
よって、開口縁部81Aに対する一対の係合爪95の係合状態を一対の突起87Aで維持することが可能である。
連通孔81の開口縁部81Aに対する一対の係合爪95の係合状態を維持することで、被覆部材が外れることを防いで防水性を維持できる。
被覆部材78には、第2防水部材97が設けられている。
第2防水部材97は、図15、図19に示すように、略矩形枠状に形成され、被覆部材78の周縁に沿って密着され、ベース83と接続部74のアンテナ接触部89との接続箇所83Aを囲んで防水する両面接着テープである。
以上説明したように、第2実施形態の折り畳み式携帯端末70によれば、アンテナ72に第1防水部材76および第1防水部材97を密着し、第1防水部材76および第1防水部材97で、アンテナ72と接続部74との接続箇所83Aを囲んで防水できる。
これにより、アンテナ72と接続部74との接続箇所83Aの確実な防水性が得られる。
なお、前記第1、第2の実施形態では、防水部材45、第1防水部材76および第2防水部材97として両面接着テープを用いた例について説明したが、これに限らないで、パッキン、熱圧着、接着剤などの他の防水部材を用いることも可能である。
また、前記第1、第2の実施形態では、板状部材42として金属板を用いた例を示したが、これに限らないで、樹脂板にメッキを施した部材などを用いることも可能である。
さらに、前記第1、第2の実施形態では、アンテナの構成部材として上プリント基板28の導電部28Aや下プリント基板21の導電部21Aを利用したが、これに限らないで、下筐体11や上筐体14の金属フレームなどの他の導電性を備えた部材をアンテナの構成部材とすることも可能である。
本発明は、表示部を備えた第一筐体および操作部を備えた第二筐体が連結部で折り畳み自在に連結された折り畳み式携帯端末装置および携帯端末への適用に好適である。
(A)は本発明に係る第1実施形態の折り畳み式携帯端末を展開した状態を示す斜視図、(B)は第1実施形態の折り畳み式携帯端末を折り畳んだ状態を示す斜視図 第1実施形態の上筐体を表示部側から見た状態を示す分解斜視図 第1実施形態の上筐体を表カバー側から見た状態を示す分解斜視図 第1実施形態の上筐体を構成する裏カバーを基板側から見た状態を示す分解斜視図 第1実施形態の上筐体を構成する裏カバーを表示部側から見た状態を示す斜視図 図2のA部拡大図 図4のB部拡大図 第1実施形態の裏カバーから板状部材を分解してヒンジケース側から見た状態を示す分解斜視図 第1実施形態の裏カバーから板状部材を分解してヒンジケースの反対側から見た状態を示す分解斜視図 図9のC部拡大図 (A)は第1実施形態の板状部材および防水部材を示す正面図、(B)はその側面図、(C)はその背面図 第1実施形態の板状部材および収納凹部を示す平面図 第1実施形態の板状部材および収納凹部を示す裏面図 (A)は図4のD−D線断面図、(B)は図4のE−E線断面図 第2実施形態の下筐体を裏面側から見た状態を示す分解斜視図 第2実施形態の下筐体を表面側から見た状態を示す分解斜視図 第2実施形態の接続部および支持部材を示す斜視図 第2実施形態の接続部およびアンテナを示す平面図 第2実施形態の被覆部材および第1防水部材を示す斜視図 第2実施形態の下筐体にアンテナを取り付けた状態を示す平面図 図20のF−F線断面図 図20のG−G線断面図
符号の説明
10,70 折り畳み式携帯端末装置
11 下筐体(第2筐体)
14 上筐体(第1筐体)
15 表示部
17 連結部
21 下プリント基板(プリント基板)
21A,28A 導電部
23A ヒンジ部側端部
28 上プリント基板(プリント基板)
31 ヒンジケース
32 ヒンジ部
41 第一接続部
42 板状部材
44 第二接続部
45 防水部材
53 第1突出部(板状部材の一部(すなわち、突出部))
57 第1接触部(他端)
58 第2接触部
72 アンテナ
74 接続部
74A 接続箇所
76 防水部材
78 被覆部材
81 連通孔
81A 開口縁部
87 支持部材
87A 突起(支持部材の一部)
95 係合爪

Claims (10)

  1. 防水された第一筐体と、
    第二筐体と、
    前記第一筐体と前記第二筐体とを連結する非防水の連結部と、を備えた折り畳み式携帯端末装置において、
    前記連結部は、
    導電性を有するヒンジ部と、当該ヒンジ部を覆う非防水のヒンジケースと、を備え、
    前記第一筐体の長手方向における前記ヒンジ部側端部に、プリント基板の導電部に接続される第一接続部と、
    前記第一接続部と接続されるとともに、その一部が前記ヒンジケース内に配置された導電性を有する板状部材と、
    前記ヒンジケース内において前記板状部材に対して弾性的に接続されるとともに、他端で前記ヒンジ部に接続して給電する第二接続部と、
    前記板状部材に密着し、前記ヒンジケースから該第一筐体に対して防水する防水部材と、
    を備えたことを特徴とする折り畳み式携帯端末。
  2. 前記板状部材において、突出部を形成し、当該突出部を、前記ヒンジケース内に配置したことを特徴とする請求項1に記載の折り畳み式携帯端末装置。
  3. 前記板状部材は、金属板であることを特徴とする請求項1記載の折り畳み式携帯端末。
  4. 前記板状部材は、フレキシブル基板であることを特徴とする請求項1に記載の折り畳み式携帯端末。
  5. 前記第一接続部または前記第二接続部は板ばねであることを特徴とした請求項1に記載の折り畳み式携帯端末。
  6. 前記防水部材は、両面接着テープであって、少なくとも前記板状部材のうち前記第一接続部との接点を取り囲む部位に接着されていることを特徴とする請求項1に記載の折り畳み式携帯端末。
  7. 前記第一筐体は表示部を備え、
    前記板状部材は、前記表示部と前記ヒンジ部との間に配置されたことを特徴とする請求項1に記載の折り畳み式携帯端末。
  8. 前記第一筐体のプリント基板の導電部と、
    前記板状部材と、前記ヒンジ部と、
    前記第二筐体の内部に配置されたプリント基板の導電部とがアンテナとして動作することを特徴とする請求項1ないし請求項7に記載の折り畳み式携帯端末。
  9. 防水された筐体と、
    前記筐体の外部に配置される面状のアンテナと、
    前記筐体に収容されたプリント基板の導電部に対して弾性的に接続されるとともに前記アンテナに対して弾性的に接続される接続部と、
    前記アンテナに密着し、前記アンテナと前記接続部との接続箇所を囲んで防水する防水部材と、
    を備えたことを特徴とする携帯端末。
  10. 前記接続部を前記筐体の外部に露出される連通孔と、
    前記アンテナにおける前記接続部との接続箇所を覆う被覆部材を備え、
    前記被覆部材は、当該被覆部材に設けられた係合爪が前記連通孔の開口縁部に係合されるとともに、前記接続部を支持する支持部材の一部が前記係合爪に隣接配置されることにより、前記開口縁部に対する係合状態を維持されることを特徴とする請求項9に記載の携帯端末。
JP2008162274A 2008-06-20 2008-06-20 折り畳み式携帯端末および携帯端末 Expired - Fee Related JP4463312B2 (ja)

Priority Applications (4)

Application Number Priority Date Filing Date Title
JP2008162274A JP4463312B2 (ja) 2008-06-20 2008-06-20 折り畳み式携帯端末および携帯端末
CN2009801282445A CN102100054A (zh) 2008-06-20 2009-02-02 可折叠便携式终端和便携式终端
US12/999,549 US20110128194A1 (en) 2008-06-20 2009-02-02 Foldable portable terminal and portable terminal
PCT/JP2009/000391 WO2009153899A1 (ja) 2008-06-20 2009-02-02 折り畳み式携帯端末および携帯端末

Applications Claiming Priority (1)

Application Number Priority Date Filing Date Title
JP2008162274A JP4463312B2 (ja) 2008-06-20 2008-06-20 折り畳み式携帯端末および携帯端末

Related Child Applications (1)

Application Number Title Priority Date Filing Date
JP2009272334A Division JP4990958B2 (ja) 2009-11-30 2009-11-30 折り畳み式携帯端末および携帯端末

Publications (3)

Publication Number Publication Date
JP2010004392A true JP2010004392A (ja) 2010-01-07
JP2010004392A5 JP2010004392A5 (ja) 2010-02-18
JP4463312B2 JP4463312B2 (ja) 2010-05-19

Family

ID=41433826

Family Applications (1)

Application Number Title Priority Date Filing Date
JP2008162274A Expired - Fee Related JP4463312B2 (ja) 2008-06-20 2008-06-20 折り畳み式携帯端末および携帯端末

Country Status (4)

Country Link
US (1) US20110128194A1 (ja)
JP (1) JP4463312B2 (ja)
CN (1) CN102100054A (ja)
WO (1) WO2009153899A1 (ja)

Cited By (4)

* Cited by examiner, † Cited by third party
Publication number Priority date Publication date Assignee Title
JP2013239879A (ja) * 2012-05-15 2013-11-28 Kyocera Corp 携帯電子機器
JP2014057267A (ja) * 2012-09-13 2014-03-27 Sharp Corp 携帯端末
CN116937209A (zh) * 2023-07-11 2023-10-24 荣耀终端有限公司 一种电子设备
WO2026014726A1 (ko) * 2024-07-08 2026-01-15 삼성전자 주식회사 플렉서블 디스플레이 모듈 및 이를 포함하는 폴더블 전자 장치

Families Citing this family (5)

* Cited by examiner, † Cited by third party
Publication number Priority date Publication date Assignee Title
JP4990958B2 (ja) * 2009-11-30 2012-08-01 パナソニック株式会社 折り畳み式携帯端末および携帯端末
KR101281895B1 (ko) * 2011-08-24 2013-07-03 주식회사 팬택 Fpc 방수 구조체
JP5937147B2 (ja) * 2014-06-26 2016-06-22 原田工業株式会社 アンテナユニット
TW201630510A (zh) * 2015-02-09 2016-08-16 鴻海精密工業股份有限公司 保護套
PL3177119T3 (pl) * 2015-12-01 2019-03-29 Friwo Gerätebau Gmbh Wodoodporna obudowa, układ zasilania, a także sposób montażu

Family Cites Families (14)

* Cited by examiner, † Cited by third party
Publication number Priority date Publication date Assignee Title
JPS62277803A (ja) * 1986-05-26 1987-12-02 Nippon Telegr & Teleph Corp <Ntt> 携帯無線機
JPH07273522A (ja) * 1994-03-31 1995-10-20 Matsushita Electric Ind Co Ltd アンテナ取付け装置
JPH09232841A (ja) * 1996-02-28 1997-09-05 Matsushita Electric Ind Co Ltd アンテナの配置方法
JP3017148B2 (ja) * 1997-11-10 2000-03-06 埼玉日本電気株式会社 アンテナ保持装置、およびアンテナ保持方法
JP3791510B2 (ja) * 2002-05-13 2006-06-28 日本電気株式会社 防水構造を備える折り畳み型携帯端末装置
US7251512B2 (en) * 2002-05-13 2007-07-31 Nec Corporation Water-proof collapsible cellular terminal apparatus
JP3710780B2 (ja) * 2002-11-29 2005-10-26 京セラ株式会社 コネクタ接続部構造及びこれを用いた携帯端末装置
KR100539935B1 (ko) * 2003-08-08 2005-12-28 삼성전자주식회사 휴대 단말기의 그라운드 연결장치
JP2005091082A (ja) * 2003-09-16 2005-04-07 Denso Corp アンテナ一体型ナビゲーション装置
JP4364699B2 (ja) * 2004-03-30 2009-11-18 富士通株式会社 折畳み式電子装置
JP2005348341A (ja) * 2004-06-07 2005-12-15 Casio Comput Co Ltd 携帯用電子機器
JP4300210B2 (ja) * 2004-11-18 2009-07-22 株式会社カシオ日立モバイルコミュニケーションズ 携帯型無線機
JP4227146B2 (ja) * 2005-07-21 2009-02-18 株式会社カシオ日立モバイルコミュニケーションズ 折畳み式携帯無線通信機
US8005517B2 (en) * 2006-10-25 2011-08-23 Lg Electronics Inc. Mobile communication device

Cited By (4)

* Cited by examiner, † Cited by third party
Publication number Priority date Publication date Assignee Title
JP2013239879A (ja) * 2012-05-15 2013-11-28 Kyocera Corp 携帯電子機器
JP2014057267A (ja) * 2012-09-13 2014-03-27 Sharp Corp 携帯端末
CN116937209A (zh) * 2023-07-11 2023-10-24 荣耀终端有限公司 一种电子设备
WO2026014726A1 (ko) * 2024-07-08 2026-01-15 삼성전자 주식회사 플렉서블 디스플레이 모듈 및 이를 포함하는 폴더블 전자 장치

Also Published As

Publication number Publication date
US20110128194A1 (en) 2011-06-02
JP4463312B2 (ja) 2010-05-19
WO2009153899A1 (ja) 2009-12-23
CN102100054A (zh) 2011-06-15

Similar Documents

Publication Publication Date Title
JP4463312B2 (ja) 折り畳み式携帯端末および携帯端末
US9450294B2 (en) Antenna apparatus for portable terminal
JP4762126B2 (ja) 電子機器
US6879849B2 (en) In-built antenna for mobile communication device
KR101332544B1 (ko) 휴대 단말기
US9362611B2 (en) Internal antenna of mobile terminal
JP2010004392A5 (ja)
US8581787B2 (en) Portable electronic device with antenna module
JP2011035822A (ja) 携帯無線機
JP2003249805A (ja) アンテナ実装構造とアンテナを有する情報端末
JP2007074226A (ja) 車載用アンテナ装置
US8254994B2 (en) Wireless communication receiver
JP4990958B2 (ja) 折り畳み式携帯端末および携帯端末
JP5535873B2 (ja) 携帯電子機器
JP2008099024A (ja) 携帯無線装置
JP2010119002A (ja) 携帯端末装置
KR20070117266A (ko) 휴대용 단말기의 내장형 안테나 장치
JP4594368B2 (ja) 携帯無線装置
JP4920546B2 (ja) 携帯端末
JP2010050305A (ja) フレキシブル基板、配線ケーブル保持構造、および配線ケーブル保持方法
JP2010154207A (ja) アンテナ装置
JP4741893B2 (ja) 折畳み式携帯無線通信機
CN108650349B (zh) 电子设备
JP2010147185A (ja) フレキシブルプリント回路基板及びその実装構造並びに携帯端末
JP2005295116A (ja) 通信端末装置及びその組立方法

Legal Events

Date Code Title Description
A521 Request for written amendment filed

Free format text: JAPANESE INTERMEDIATE CODE: A523

Effective date: 20091113

A621 Written request for application examination

Free format text: JAPANESE INTERMEDIATE CODE: A621

Effective date: 20091113

A871 Explanation of circumstances concerning accelerated examination

Free format text: JAPANESE INTERMEDIATE CODE: A871

Effective date: 20091113

A975 Report on accelerated examination

Free format text: JAPANESE INTERMEDIATE CODE: A971005

Effective date: 20091130

A131 Notification of reasons for refusal

Free format text: JAPANESE INTERMEDIATE CODE: A131

Effective date: 20091208

A521 Request for written amendment filed

Free format text: JAPANESE INTERMEDIATE CODE: A523

Effective date: 20091215

TRDD Decision of grant or rejection written
A01 Written decision to grant a patent or to grant a registration (utility model)

Free format text: JAPANESE INTERMEDIATE CODE: A01

Effective date: 20100119

A01 Written decision to grant a patent or to grant a registration (utility model)

Free format text: JAPANESE INTERMEDIATE CODE: A01

A61 First payment of annual fees (during grant procedure)

Free format text: JAPANESE INTERMEDIATE CODE: A61

Effective date: 20100216

FPAY Renewal fee payment (event date is renewal date of database)

Free format text: PAYMENT UNTIL: 20130226

Year of fee payment: 3

R150 Certificate of patent or registration of utility model

Free format text: JAPANESE INTERMEDIATE CODE: R150

FPAY Renewal fee payment (event date is renewal date of database)

Free format text: PAYMENT UNTIL: 20130226

Year of fee payment: 3

FPAY Renewal fee payment (event date is renewal date of database)

Free format text: PAYMENT UNTIL: 20140226

Year of fee payment: 4

LAPS Cancellation because of no payment of annual fees