JP2010003954A - コイル部品及びコイル部品の製造方法 - Google Patents

コイル部品及びコイル部品の製造方法 Download PDF

Info

Publication number
JP2010003954A
JP2010003954A JP2008163125A JP2008163125A JP2010003954A JP 2010003954 A JP2010003954 A JP 2010003954A JP 2008163125 A JP2008163125 A JP 2008163125A JP 2008163125 A JP2008163125 A JP 2008163125A JP 2010003954 A JP2010003954 A JP 2010003954A
Authority
JP
Japan
Prior art keywords
coil
coils
core
hole
main body
Prior art date
Legal status (The legal status is an assumption and is not a legal conclusion. Google has not performed a legal analysis and makes no representation as to the accuracy of the status listed.)
Granted
Application number
JP2008163125A
Other languages
English (en)
Other versions
JP5013322B2 (ja
Inventor
Satoru Kitahara
覚 北原
Kazumi Kobayashi
一三 小林
Current Assignee (The listed assignees may be inaccurate. Google has not performed a legal analysis and makes no representation or warranty as to the accuracy of the list.)
TDK Corp
Original Assignee
TDK Corp
Priority date (The priority date is an assumption and is not a legal conclusion. Google has not performed a legal analysis and makes no representation as to the accuracy of the date listed.)
Filing date
Publication date
Application filed by TDK Corp filed Critical TDK Corp
Priority to JP2008163125A priority Critical patent/JP5013322B2/ja
Publication of JP2010003954A publication Critical patent/JP2010003954A/ja
Application granted granted Critical
Publication of JP5013322B2 publication Critical patent/JP5013322B2/ja
Expired - Fee Related legal-status Critical Current
Anticipated expiration legal-status Critical

Links

Images

Landscapes

  • Manufacturing Cores, Coils, And Magnets (AREA)
  • Coils Of Transformers For General Uses (AREA)

Abstract

【課題】製造工程を簡単にすることができ、且つ、コイルから端子までの電気的な接続の信頼性が高く、且つ抵抗が高くなることを防止したコイル部品及びコイル部品の製造方法の提供。
【解決手段】貫通部32、33は、端子貫通孔80b、80gをそれぞれ貫通し端子81A、81Iにそれぞれ電気的に接続されている。貫通部62、63は、端子貫通孔80c、80gをそれぞれ貫通し端子81B、81Iにそれぞれ電気的に接続されている。貫通部42、43は、端子貫通孔80e、80iをそれぞれ貫通し端子81E、81Hにそれぞれ電気的に接続されている。貫通部52、53は、端子貫通孔80j、80fをそれぞれ貫通し端子81H、81Gにそれぞれ電気的に接続されている。貫通部72、73は、端子貫通孔80h、80dをそれぞれ貫通し端子81C、81Dにそれぞれ電気的に接続されている。
【選択図】図3

Description

本発明はコイル部品及びコイル部品の製造方法に関し、特に電源装置などに用いられるトランスやチョークコイルなどのインダクタンス部品であって、複数のコイルと当該複数のコイルを挿通するコアとを備えるインダクタンス部品等のコイル部品及びコイル部品の製造方法に関する。
トランスやチョークコイル等のインダクタンス部品は、コアとコイルを主要な構成要素とし、コイル間の相互電磁誘導作用に基づいて、交流電圧の変圧を行ったり、入力回路と出力回路との間の絶縁等を行なったりする場合に利用される電子部品たるコイル部品として従来より知られている。このようなコイル部品としては、例えば、複数のコイルが積層され、積層された複数のコイルはスルーホールを介して互いに電気的に接続され、また、コイルはスルーホールを介して、積層された複数のコイルの積層方向における一端又は他端に設けられたランドパターンや端子に電気的に接続された構成のものが知られている。このようなコイル部品は、例えば、特開2004−6897号公報に記載されている。
特開2004−6897号公報
しかし、前述のようにコイルを、スルーホールを介してランドパターンや端子に電気的に接続する構成では、スルーホールを形成したり、トランスとしての用途で大電流をスルーホール内に流すためにスルーホール内に導体を充填したりメッキを形成したりする必要があり、製造工程が複雑になる。
また、コイルとスルーホールとを電気的に接続するため、この電気的な接続の信頼性が問題となる。また上述のように、トランスとしての用途で大電流をスルーホール内に流すためにスルーホール内に導体を充填したりメッキを形成したりする場合に、導体の充填不良やメッキの形成不良が生ずると抵抗が高くなるという問題が生ずる。
そこで、本発明は製造工程を簡単にすることができ、且つ、コイルから端子までの電気的な接続の信頼性が高く、且つ抵抗が高くなることを防止したコイル部品及びコイル部品の製造方法を提供することを目的とする。
上記目的を達成するために、本発明は、中央空間が形成されるように略平面状に導体が渦巻状に配置されてなるコイル本体部と該導体の端部及び端部近傍部をなす貫通部とをそれぞれ有し、該中央空間が略一致した位置関係で互いに積層された複数のコイルと、該複数のコイル間にそれぞれ設けられ、該コイルの該貫通部がそれぞれ貫通するコイル貫通孔と該中央空間に対向する位置に形成されたコア貫通孔とを有する絶縁樹脂層と、該中央空間及び該コア貫通孔を貫通するようにして配置されたコアと、該複数のコイル及び該絶縁樹脂層を収容するケースとを備え、該貫通部は、該コイル本体部を構成する素材と同一の素材からなるコイル部品を提供している。
貫通部は、コイル本体部を構成する素材と同一の素材からなるため、貫通部をコイル貫通孔に貫通させて構成することができ、スルーホール内に導体を充填したりメッキを形成したりする必要がなく、製造工程を簡単にすることができる。また、スルーホール内に導体を充填したりメッキを形成したりしなくて済むため、導体の充填不良やメッキの形成不良が生ずると抵抗が高くなるという問題が生ずることを防止できる。また、コイルとスルーホールとを電気的に接続しなくて済み、この電気的な接続の信頼性を問題にせずに済む。
ここで、該コイルは平角ワイヤにより構成されていることが好ましい。コイルは平角ワイヤにより構成されているため、複数のコイルの積層方向におけるコイル部品の薄型化を図ることができる。
また、該複数のコイルは複数の1次コイルと少なくとも1つの2次コイルとを有し、該複数の1次コイルは該複数のコイルの積層方向において該2次コイルを挟んだ位置関係をなすことが好ましい。
複数のコイルは複数の1次コイルと少なくとも1つの2次コイルとを有し、複数の1次コイルは複数のコイルの積層方向において2次コイルを挟んだ位置関係をなすため、1次コイルと2次コイルの磁気結合を良くすることができ、リーケージインダクタンスを減らすことができる。
また、該複数のコイルは1次コイルと2次コイルとを有し、該1次コイルを構成する該導体の径と該2次コイルを構成する該導体の径とは異なることが好ましい。複数のコイルは1次コイルと2次コイルとを有し、1次コイルを構成する導体の径と2次コイルを構成する導体の径とは異なるため、従来ようにコイルを構成する導体の径に合わせてスルーホールの内径を変える等しなくて済み、太いコイル本体部の導体に対してはコイル本体部の導体と同様に貫通部を構成する導体が太くなり、細いコイル本体部の導体に対してはコイル本体部の導体と同様に貫通部を構成する導体が細くなるようにすることができる。
また、略平面状に導体が渦巻状に配置されてなる該複数のコイル本体部の該平面において該複数のコイル本体部はそれぞれ該コイル本体部の軸心を中心として略点対称形状をなし、略平面状に導体が渦巻状に配置されてなる該複数のコイル本体部の該平面において、該コイル本体部の軸心を通る仮想直線を中心とした線対称の位置関係で該コイル本体部の内側、外側のそれぞれに該絶縁樹脂層の該コイル貫通穴に対向する位置にコイル貫通空間が形成されていることが好ましい。
略平面状に導体が渦巻状に配置されてなる複数のコイル本体部の平面において複数のコイル本体部はそれぞれコイル本体部の軸心を中心として略点対称形状をなし、略平面状に導体が渦巻状に配置されてなる複数のコイル本体部の平面において、コイル本体部の軸心を通る仮想直線を中心とした線対称の位置関係でコイル本体部の内側、外側のそれぞれに絶縁樹脂層のコイル貫通穴に対向する位置にコイル貫通空間が形成されているため、全ての貫通部に対応してコイル貫通孔をプリプレグシートに形成しておくことで、複数のプリプレグシートを全て同一形状として、表裏左右の区別なく共通に使うことができる。
また、該積層された複数のコイルの積層方向における一端に配置され、該コイルの端部をなす該貫通部の部分がそれぞれ電気的に接続された端子を備えることが好ましい。
積層された複数のコイルの積層方向における一端に配置され、コイルの端部をなす貫通部の部分がそれぞれ電気的に接続された端子を備えるため、当該一端の側からまとめて外部端子を容易に引出すことができ、基板実装を容易とすることができる。
また、該貫通部は外部端子をなすことが好ましい。貫通部は外部端子をなすため、端子に貫通部を接続することを不要とすることができ、製造工程を容易にすることができ、コイル部品を構成する部材を少なくすることができる。
また、本発明は、中央空間が形成されるように略平面状に導体が渦巻状に配置されてなるコイル本体部と該コイル本体部から該平面に略垂直の方向へ延出し該導体の端部及び端部近傍部からなる貫通部とをそれぞれ有する複数のコイルを用意する工程と、該コイルの該貫通部がそれぞれ貫通するコイル貫通孔とコア貫通孔とがそれぞれ形成された複数のプリプレグシートを用意する工程と、該貫通部を該コイル貫通孔に貫通させ、該コア貫通孔と該中央空間とが対向するように且つ該複数のコイル間に該プリプレグシートが配置されるように該コイルと該プリプレグシートとを積層する工程と、該積層された複数のコイルの積層方向における一端に複数の端子が設けられた端子台を配置し、該コイルの端部をなす該貫通部の部分をそれぞれ電気的に該端子に接続する工程と、該中央空間及び該コア貫通孔を貫通するようにしてコアを配置するコア配置工程とを有するコイル部品の製造方法を提供している。
中央空間が形成されるように略平面状に導体が渦巻状に配置されてなるコイル本体部とコイル本体部から平面に略垂直の方向へ延出し導体の端部及び端部近傍部からなる貫通部とをそれぞれ有する複数のコイルを用意する工程と、コイルの貫通部がそれぞれ貫通するコイル貫通孔とコア貫通孔とがそれぞれ形成された複数のプリプレグシートを用意する工程と、貫通部をコイル貫通孔に貫通させ、コア貫通孔と中央空間とが対向するように且つ複数のコイル間にプリプレグシートが配置されるようにコイルとプリプレグシートとを積層する工程と、積層された複数のコイルの積層方向における一端に複数の端子が設けられた端子台を配置し、コイルの端部をなす貫通部の部分をそれぞれ電気的に端子に接続する工程とを備えるため、スルーホール内に導体を充填したりメッキを形成したりする必要がなく、製造工程を簡単にすることができる。また、スルーホール内に導体を充填したりメッキを形成したりしなくて済むため、導体の充填不良やメッキの形成不良が生ずると抵抗が高くなるという問題が生ずることを防止できる。また、コイルとスルーホールとを電気的に接続しなくて済み、この電気的な接続の信頼性を問題にせずに済む。
ここで、該コア配置工程よりも前又は該コア配置工程の後に該プリプレグシートを加熱硬化する工程を行うことが好ましい。
コア配置工程よりも前又はコア配置工程の後にプリプレグシートを加熱硬化する工程を行うため、プリプレグシートを硬化させてコイル間の絶縁樹脂層を構成することができる。
また、該コア配置工程と同時に該プリプレグシートを加熱硬化する工程を行うことが好ましい。
コア配置工程と同時にプリプレグシートを加熱硬化する工程を行うため、コイル部品の製造工程を簡単にすることができ、製造に係る時間を短縮することができる。
以上により本発明は、製造工程を簡単にすることができ、且つ、コイルから端子までの電気的な接続の信頼性が高く、且つ抵抗が高くなることを防止したコイル部品及びコイル部品の製造方法を提供することができる。
本発明の実施の形態によるコイル部品及びコイル部品の製造方法について図1乃至図6に基づき説明する。図1に示されるようにコイル部品1は、より具体的には略直方体形状をした65Wのアダプタ用のプレーナトランスであり、図2に示されるように第1の1次巻線30と、第2の1次巻線60と、第1の2次巻線40と、第2の2次巻線50と、樹脂製ケース21と、樹脂製ケース蓋22と、バイアス巻線70(ドライブ巻線)と、絶縁樹脂端子台80と、プリプレグシート90と、第1磁心11と、第2磁心12とを備えている。第1の1次巻線30、第2の1次巻線60、第1の2次巻線40、第2の2次巻線50、バイアス巻線70はコイルに相当し、第1の1次巻線30、第2の1次巻線60は1次コイルに相当し、第1の2次巻線40、第2の2次巻線50、は2次コイルに相当する。樹脂製ケース21及び樹脂製ケース蓋22はケースに相当する。第1磁心11、第2磁心12はコアに相当する。
第1磁心11と第2磁心12とは同一形状であるため第1磁心11についてのみ説明し、第1磁心11の部材と同一の第2磁心12の部材については、後述の第1磁心11の各部材の符号「11」に代えて符号「12」を付して図示するものとする。第1磁心11は、より具他的にはMn−Znからなる導電性フェライトコアである。第1磁心11は、略長方形状の板状をなす平板部11A(図2)を有しており、略長方形状の平板部11Aの一対の短辺全体にわたって平板部11Aの上面から図2の上方へ突出する端縁突出部11Bが設けられている。また、平板部11Aの上面の中央位置には、当該上面から図2の上方へ突出する円柱形状の中央突出部11Cが設けられている。図1に示されるようにコイル部品1が組立てられることにより、図2、図3に示される第1磁心11の端縁突出部11Bの突出端面と第2磁心12の端縁突出部12Bの突出端面とが互いに対向当接し、第1磁心11の中央突出部11Cの突出端面と第2磁心12の中央突出部11Cの突出端面とが互いに対向当接するように構成されている。
樹脂製ケース21は、図2に示されるように、円形状に膨らんだ円形部21Bをその中央部に有する略長方形状の板状をなす樹脂製ケース板状部21Aを有しており、当該円形部21Bの中央には、円形部21Bと同軸的に開口する円形の樹脂製ケース貫通孔21aが形成されている。樹脂製ケース板状部21Aの上面であって樹脂製ケース貫通孔21aの開口の周囲には、開口の周囲全体に渡って樹脂製ケース板状部21Aの上面から図2の上方へ突出する樹脂製ケース開口壁21Cが設けられている。また、円形部21Bの周縁及び樹脂製ケース板状部21Aの周縁には、円形部21B及び樹脂製ケース板状部21Aの上面から図2の上方へ突出する樹脂製ケース縁部壁21Dがそれぞれ設けられている。樹脂製ケース縁部壁21Dの上端は開口部をなす。
第1の1次巻線30、第2の1次巻線60、第1の2次巻線40、第2の2次巻線50、バイアス巻線70それぞれは、導体たる銅板を打抜くことにより断面が略長方形状の平角ワイヤからなる渦巻状とされている。このように平角ワイヤにより構成されているため、第1の1次巻線30、第2の1次巻線60、第1の2次巻線40、第2の2次巻線50、バイアス巻線70の積層方向におけるコイル部品1の薄型化を図ることができる。
図3に示されるように、第1の1次巻線30、第1の2次巻線40、第2の2次巻線50、第2の1次巻線60、バイアス巻線70の渦巻状をなす部分は、それぞれコイル本体部31、41、51、61、71をなし、更に、略平面状に渦巻状に配置された当該コイル本体部31、41、51、61、71からそれぞれ当該平面に垂直の方向へ延出する貫通部32、33、42、43、52、53、62、63、72、73が設けられている。
貫通部32、33とコイル本体部31とは同一の素材で一体で構成されており、貫通部42、43とコイル本体部41とは同一の素材で一体で構成されており、貫通部52、53とコイル本体部51とは同一の素材で一体で構成されており、貫通部62、63とコイル本体部61とは同一の素材で一体で構成されており、貫通部72、73とコイル本体部71とは同一の素材で一体で構成されている。貫通部32、33、42、43、52、53、62、63、72、73は、それぞれコイル本体部31、41、51、61、71に対して折り曲げられた平角ワイヤの端部及び端部近傍部により構成されている。貫通部32、33、42、43、52、53、62、63、72、73は、後述のようにプリプレグシート90のコイル貫通孔90aを貫通可能であり、後述のように第1の1次巻線30、第1の2次巻線40、第2の2次巻線50、第2の1次巻線60、バイアス巻線70、プリプレグシート90が積層される積層方向において絶縁樹脂端子台80の端子貫通孔80b〜80j(図2)に対向する位置に配置され、絶縁樹脂端子台80の方向たる当該積層方向の一端の方向、即ち、図3の上方向に延出している。
より詳細には、第1の1次巻線30、第1の2次巻線40、第2の2次巻線50、第2の1次巻線60、バイアス巻線70のコイル本体部31、41、51、61、71は、それぞれ平面視で樹脂製ケース21の樹脂製ケース板状部21A(図2)と略相似形状をなす渦巻状をしており、樹脂製ケース板状部21Aよりも小さく樹脂製ケース板状部21A内に収容可能である。
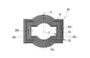
図3に示されるように、当該平面視において第1の1次巻線30、第1の2次巻線40、第2の2次巻線50、第2の1次巻線60、バイアス巻線70のコイル本体部31、41、51、61、71内部の中央位置には円形の中央空間30a、40a、50a、60a、70aと、中央空間30a、40a、50a、60a、70aの直径方向にそれぞれ配置された一対の矩形のコイル貫通空間30b、40b、50b、60b、70bとが形成されている。
コイル貫通空間30bは、図6に示されるように、略平面状に渦巻状に配置されたコイル本体部31の当該平面において中央空間30aの中心に位置する第1の1次巻線30の軸心Cを通り、樹脂製ケース板状部21A(図2)の長手方向に垂直な位置関係をなす仮想直線Aを中心とした線対称の位置関係で配置されている。そして、同様な線対称の位置関係で第1の1次巻線30のコイル本体部31の長手方向たる図6の左右方向の端部の外側にもコイル貫通空間30cが形成されている。第1の2次巻線40、第2の2次巻線50、第2の1次巻線60、バイアス巻線70についても同様に線対称の形状をなし、それぞれコイル貫通空間40b、50b、60b、70b、コイル貫通空間30c、40c、50c、60c、70cが形成されている。
そして、第1の1次巻線30、第1の2次巻線40、第2の2次巻線50、第2の1次巻線60、バイアス巻線70は、当該平面視でそれぞれ全体として軸心Cを中心として点対称の形状をなしている。図2等に示されるように、第1の1次巻線30、第1の2次巻線40、第2の2次巻線50、第2の1次巻線60、バイアス巻線70は、この順で図の下から上に向かって中央空間30a、40a、50a、60a、70a同士、コイル貫通空間30b、40b、50b、60b、70b同士、コイル貫通空間30c、40c、50c、60c、70c同士がそれぞれ略一致した位置関係で互いに積層されている。
このような対称形状としたため、予め全ての貫通部32、33、42、43、52、53、62、63、72、73に対応してコイル貫通孔90aを後述のプリプレグシート90に形成しておくことで、複数のプリプレグシート90を全て同一形状として、表裏左右の区別なく共通に使うことができる。また、このように第1の1次巻線30と第2の1次巻線60とで第1の2次巻線40、第2の2次巻線50を積層方向において挟む位置関係をなすため、1次巻線30、60と2次巻線40、50の磁気結合を良くすることができ、リーケージインダクタンスを減らすことができる。
第1の1次巻線30、第2の1次巻線60の平角ワイヤの断面の寸法は、縦0.1mm、横0.3mm程度であり、第1の2次巻線40、第2の2次巻線50の平角ワイヤの断面の寸法は、縦0.2mm、横1.0mm程度であり、バイアス巻線70の平角ワイヤの断面の寸法は、縦0.1mm、横0.3mm程度である。即ち、第1の2次巻線40、第2の2次巻線50には、第1の1次巻線30、第2の1次巻線60よりも大電流を流すことができるように構成されており、より具体的には、第1の1次巻線30、第2の1次巻線60には240Vで65Wの電力が印加され、第1の2次巻線40、第2の2次巻線50には、20Vで65Wの電力が印加される。
このように平角ワイヤの径を異なるようにしたため、従来のようにコイルを構成する平角ワイヤの径に合わせてスルーホールの内径を変える等しなくて済み、太いコイル本体部41、51の平角ワイヤに対しては当該コイル本体部41、51の平角ワイヤと同様に貫通部42、43、52、53を構成する平角ワイヤが太くなり、細いコイル本体部31、61、71の平角ワイヤに対しては当該コイル本体部31、61、71の平角ワイヤと同様に貫通部32、33、62、63、72、73を構成する平角ワイヤが細くなるようにすることができる。
また、貫通部32、33、42、43、52、53、62、63、72、73は、後述のプリプレグシート90のコイル貫通孔90aをそれぞれ貫通し、絶縁樹脂端子台80の端子81A〜81Hに電気的に接続され、コイル本体部31、41、51、61、71と同一の素材で一体で構成されているため、貫通部32、33、42、43、52、53、62、63、72、73をコイル貫通孔90aに貫通させて構成することができ、従来のようにスルーホール内に導体を充填したりメッキを形成したりする必要がなく、製造工程を簡単にすることができる。また、スルーホール内に導体を充填したりメッキを形成したりしなくて済むため、導体の充填不良やメッキの形成不良が生ずると抵抗が高くなるという問題が生ずることを防止できる。また、コイルとスルーホールとを電気的に接続しなくて済み、この電気的な接続の信頼性を問題にせずに済む。
プリプレグシート90は、樹脂製ケース21の樹脂製ケース板状部21Aと略相似形状をなしており、樹脂製ケース板状部21Aよりもわずかに小さい。プリプレグシート90は繊維が編み込まれた布状のシートに熱硬化性の樹脂を含浸して構成されており、図3等に示されるように、その長手方向両端縁近傍位置に、当該端縁に沿って4つの貫通孔たるコイル貫通孔90aが形成されており、また、長手方向の中央位置に、樹脂製ケース貫通孔21aよりもわずかに大きな円形のコア貫通孔90bが形成されている。コア貫通孔90bの近傍の位置であってプリプレグシート90の長手方向に一致するコア貫通孔90bの直径方向位置には、それぞれ2つずつ貫通孔たるコイル貫通孔90aが形成されている。プリプレグシート90は、コア貫通孔90bの中央を中心とする点対称形状をなしている。
プリプレグシート90は、図2又は図3に示されるように、第1の1次巻線30と第1の2次巻線40との間に3枚、第1の2次巻線40と第2の2次巻線50との間に2枚、第2の2次巻線50と第2の1次巻線60との間に3枚、第2の1次巻線60とバイアス巻線70との間に2枚、バイアス巻線70と後述の絶縁樹脂端子台80との間に3枚重ねられて設けられている。これらのプリプレグシート90は、後述のようにコイル部品1の製造工程中で加熱されて硬化されるため、コイル部品1中では硬化された絶縁樹脂層をなしている。
絶縁樹脂端子台80は、図2に示されるように、円形状に膨らんだ円形部80Bをその中央部に有する略長方形状の板状をなす端子台板状部80Aを有しており、当該円形部80Bの中央には、円形部80Bと同軸的に開口する円形の端子台コア貫通孔80aが形成されている。端子台板状部80Aの長手方向両端縁近傍位置には、当該端縁に沿ってそれぞれ3つの貫通孔、2つの貫通孔たる端子貫通孔80b、80c、80d、80e、80fが形成されており、また、長手方向の中央位置に、樹脂製ケース貫通孔21aよりもわずかに大きな円形の端子台コア貫通孔80aが形成されている。また、端子台コア貫通孔80aの近傍の位置であって端子台板状部80Aの長手方向に一致する端子台コア貫通孔80aの略直径方向位置には、それぞれ2つずつ貫通孔たる端子貫通孔80g、80h、80i、80jが形成されている。
端子貫通孔80b、80c、80h、80d、80e、80fには、それぞれ絶縁樹脂端子台80の長手方向外方へ延出する端子81A、81B、81C、81D、81E、81Gが設けられており、これらの端子81A、81B、81C、81D、81E、81Gの先端部分は、段状に折り曲げられている。また、端子貫通孔80i、80jは端子81Hによって電気的に接続され、端子81Hは絶縁樹脂端子台80の長手方向外方へ延出している。そして端子81Hの先端部分は、段状に折り曲げられて端子81Fを構成する。また、端子貫通孔80gには端子81Iが設けられている。
第1の1次巻線30を構成する平角ワイヤの端部からなる貫通部32、33の部分は、端子貫通孔80b、80gをそれぞれ貫通し、半田付けされることにより端子81A、81Iにそれぞれ電気的に接続されている。第2の1次巻線60を構成する平角ワイヤの端部からなる貫通部62、63の部分は、端子貫通孔80c、80gをそれぞれ貫通し、半田付けされることにより端子81B、81Iにそれぞれ電気的に接続されている。第1の2次巻線40を構成する平角ワイヤの端部からなる貫通部42、43の部分は、端子貫通孔80e、80iをそれぞれ貫通し、半田付けされることにより端子81E、81Hにそれぞれ電気的に接続されている。第2の2次巻線50を構成する平角ワイヤの端部からなる貫通部52、53の部分は、端子貫通孔80j、80fをそれぞれ貫通し、半田付けされることにより端子81H、81Gにそれぞれ電気的に接続されている。バイアス巻線70を構成する平角ワイヤの端部からなる貫通部72、73の部分は、端子貫通孔80h、80dをそれぞれ貫通し、半田付けされることにより端子81C、81Dにそれぞれ電気的に接続されている。
このような絶縁樹脂端子台80を設けたため、第1の1次巻線30、第2の1次巻線60、第1の2次巻線40、第2の2次巻線50、バイアス巻線70の積層方向における一端の側からまとめて外部端子として端子81A、81B、81C、81D、81E、81Gを容易に引出すことができ、基板実装を容易とすることができる。
樹脂製ケース蓋22は、外形がプリプレグシート90と略相似形状をなし、プリプレグシート90よりわずかに大きく、略板状をなしている。プリプレグシート90、第1の1次巻線30、第2の1次巻線60、第1の2次巻線40、第2の2次巻線50、バイアス巻線70が樹脂製ケース21内に収容された状態で、樹脂製ケース縁部壁21Dの上端の開口部に樹脂製ケース蓋22が配置されることにより、当該開口部が閉塞されるように構成されている。以上の構成のコイル部品1は、第1磁心11又は第2磁心12の一部が図示せぬ実装基板に形成された貫通孔に挿入されることにより、段状に折り曲げられた端子81A、81B、81C、81D、81E、81Gの先端部分が図示せぬ実装基板の導電パターンに対向し電気的に接続され継線されるよう構成されている。
コイル部品の製造方法では、先ず、複数のコイルを用意する工程を行う。複数のコイルを用意する工程では、銅板を打抜くことにより、その中央に中央空間30a、40a、50a、60a、70aが形成されるように略平面状に銅線たる平角ワイヤが渦巻状に配置されてなるコイル本体部31、41、51、61、71を形成すると共に、コイル本体部31、41、51、61、71から当該平面に略垂直の方向たる図2の上方向へ折曲げられて延出し平角ワイヤの端部及び端部近傍部からなる貫通部32、33、42、43、52、53、62、63、72、73を形成する。この工程により、第1の1次巻線30、第1の2次巻線40、第2の2次巻線50、第2の1次巻線60、バイアス巻線70が製造される。
次に、複数のプリプレグシート90を用意する工程を行う。プリプレグシート90を用意する工程では、繊維が編み込まれた布状のシートに熱硬化性の樹脂を含浸して構成されたプリプレグシート材にコイル貫通孔90aとコア貫通孔90bとを形成する。この工程により、同一形状の13枚のプリプレグシート90が製造される。
次に、コイルとプリプレグシート90とを積層する工程を行う。コイルとプリプレグシート90とを積層する工程では、図2等に示されるように、第1の1次巻線30、3枚のプリプレグシート90、第1の2次巻線40、2枚のプリプレグシート90、第2の2次巻線50、3枚のプリプレグシート90、第2の1次巻線60、2枚のプリプレグシート90、バイアス巻線70、3枚のプリプレグシート90の順で図の下から上に向かって、中央空間30a、40a、50a、60a、70aとコア貫通孔90bとを互いに対向させ略一致した位置関係となるように互いに積層する。積層の際には、第1の1次巻線30、第1の2次巻線40、第2の2次巻線50、第2の1次巻線60、バイアス巻線70の貫通部32、33、42、43、52、53、62、63、72、73をコイル貫通孔90aへ図の下から上に向かってそれぞれ貫通させる。
次に、コイルとプリプレグシート90とを積層してなる積層体の積層方向の一端たる図2の上端に絶縁樹脂端子台80を対向配置させ、第1の1次巻線30の貫通部32、33を端子貫通孔80b、80gに貫通させ、第1の2次巻線40の貫通部42、43を端子貫通孔80e、80iに貫通させ、第2の2次巻線50の貫通部52、53を端子貫通孔80j、80fに貫通させ、第2の1次巻線60の貫通部62、63を端子貫通孔80c、80gに貫通させ、バイアス巻線70の貫通部72、73を端子貫通孔80h、80dに貫通させる。そして、貫通部32、33の部分を半田付けにより端子81A、81Iにそれぞれ電気的に接続し、貫通部42、43の部分を半田付けにより端子81E、81Hにそれぞれ電気的に接続し、貫通部52、53の部分を半田付けにより端子81H、81Gにそれぞれ電気的に接続し、貫通部62、63の部分を半田付けにより端子81B、81Iにそれぞれ電気的に接続し、貫通部72、73の部分を半田付けにより端子81C、81Dにそれぞれ電気的に接続する。
次に、樹脂製ケース21の樹脂製ケース開口壁21Cを、第1の1次巻線30、第1の2次巻線40、第2の2次巻線50、第2の1次巻線60、バイアス巻線70の中央空間30a、40a、50a、60a、70aと、プリプレグシート90のコア貫通孔90bとに貫通させるようにして、樹脂製ケース21内に第1の1次巻線30、第1の2次巻線40、第2の2次巻線50、第2の1次巻線60、バイアス巻線70、プリプレグシート90を積層してなる積層体を収容し、樹脂製ケース蓋22で、樹脂製ケース縁部壁21Dの上端の開口部を閉塞する。
次に、コア配置工程を行う。コア配置工程では、第1磁心11、第2磁心12の中央突出部11Cを、第1の1次巻線30、第1の2次巻線40、第2の2次巻線50、第2の1次巻線60、バイアス巻線70の中央空間30a、40a、50a、60a、70aと、プリプレグシート90のコア貫通孔90bと、樹脂製ケース21の樹脂製ケース縁部壁21Dの内側の空間とに貫通させ、第1磁心11、第2磁心12の中央突出部11Cの突出端面同士を接着剤で接着すると共に、第1磁心11、第2磁心12の端縁突出部11B、11Bの突出端面同士を熱硬化性の接着剤で接着する。そして、積層体及び第1磁心11、第2磁心12を加熱することにより、第1磁心11と第2磁心12とを接着する接着剤とプレプレグ中の熱硬化性の樹脂とを硬化させて、第1磁心11、第2磁心12を積層体に固定するとともに、プリプレグシート90が固化されてなる絶縁樹脂層を形成する。以上がコア配置工程である。
中央空間30a、40a、50a、60a、70aが形成されるように略平面状に平角ワイヤが渦巻状に配置されてなるコイル本体部31、41、51、61、71とコイル本体部31、41、51、61、71から当該平面に略垂直の方向へ延出し平角ワイヤの端部及び端部近傍部からなる貫通部32、33、42、43、52、53、62、63、72、73とをそれぞれ有する複数のコイルたる第1の1次巻線30、第1の2次巻線40、第2の2次巻線50、第2の1次巻線60、バイアス巻線70を用意する工程と、当該複数のコイルの貫通部32、33、42、43、52、53、62、63、72、73がそれぞれ貫通するコイル貫通孔90aとコア貫通孔90bとがそれぞれ形成された複数のプリプレグシート90を用意する工程と、貫通部32、33、42、43、52、53、62、63、72、73をコイル貫通孔90aに貫通させ、コア貫通孔90bと中央空間30a、40a、50a、60a、70aとが対向するように且つ当該複数のコイル間にプリプレグシート90が配置されるように当該コイルとプリプレグシート90とを積層する工程と、積層された当該複数のコイルの積層方向における一端に複数の端子81A〜81Gが設けられた絶縁樹脂端子台80を配置し、当該コイルの端部をなす貫通部32、33、42、43、52、53、62、63、72、73の部分をそれぞれ電気的に端子81A〜81Gに接続する工程とを備えるため、従来のように、スルーホール内に導体を充填したりメッキを形成したりする必要がなく、製造工程を簡単にすることができる。また、スルーホール内に導体を充填したりメッキを形成したりしなくて済むため、導体の充填不良やメッキの形成不良が生ずると抵抗が高くなるという問題が生ずることを防止できる。また、コイルとスルーホールとを電気的に接続しなくて済み、この電気的な接続の信頼性を問題にせずに済む。
また、コア配置工程と同時にプリプレグシート90を加熱硬化する工程を行うため、コイル部品1の製造工程を簡単にすることができ、製造に係る時間を短縮することができる。
本発明のコイル部品、コイル部品の製造方法は、上述した実施の形態に限定されず、特許請求の範囲に記載した範囲で種々の変形や改良が可能である。例えば、本実施の形態では、コイル部品1には絶縁樹脂端子台80が設けられたが、このような絶縁樹脂端子台80を設けなくてよい。この場合には、貫通部32、33、42、43、52、53、62、63、72、73をより長く構成し、平角ワイヤの端部を構成する貫通部32、33、42、43、52、53、62、63、72、73の部分がそのまま外部端子を構成するようにすればよい。このようにすることで、本実施の形態のような端子81A〜81Gに貫通部32、33、42、43、52、53、62、63、72、73を接続することを不要とすることができ、製造工程を容易にすることができ、コイル部品1を構成する部材を少なくすることができる。
また、コア配置工程では、積層体及び第1磁心11、第2磁心12を加熱することにより接着剤とプレプレグ中の熱硬化性の樹脂とを硬化させたが、この方法に限定されず、例えば、熱硬化性の接着剤ではなく常温で硬化する接着剤を用いて第1磁心11、第2磁心12を積層体に固定した後にプリプレグシート90を加熱して硬化してもよく、または、プリプレグシート90を加熱して硬化した後に、接着剤を用いて第1磁心11、第2磁心12を積層体に固定してもよい。このようにすることで、プリプレグシート90を硬化させてコイル間の絶縁樹脂層を構成することができる。
また、積層体の積層方向において第1の1次巻線30と第2の1次巻線60とで第1の2次巻線40、第2の2次巻線50を挟んだ位置関係をなしていたが、このように挟まない構成としてもよいし、また、第1の1次巻線30と第2の1次巻線60との2つのコイルで1次巻線を構成しなくてもよい。
また、第1の1次巻線30、第2の1次巻線60、第1の2次巻線40、第2の2次巻線50、バイアス巻線70を構成する平角ワイヤの端部からなる貫通部32、33、42、43、52、53、62、63、72、73の部分は、半田付けされることにより端子貫通孔80b〜80jに電気的に接続されていたが、半田付けに限定されず、例えば、超音波溶接やレーザ溶接等を用いてもよい。
また、第1の1次巻線30、第2の1次巻線60、第1の2次巻線40、第2の2次巻線50、バイアス巻線70の芯線部分は、銅板を打抜くことにより構成されたが、これに限定されず、例えば、銅板をエッチングすることにより構成したり、導体からなるワイヤを巻回して構成してもよい。このようにワイヤを巻回して構成する場合、ワイヤには絶縁被覆が施されていてもよい。
また、第1磁心11、第2磁心12は、Mn−Znからなる導電性フェライトコアにより構成されたが、これに限定されない。例えば、金属圧粉磁心などの導電性コアや、Ni系フェライトコアにより構成されてもよい。
本発明のコイル部品は、特に電源装置などに用いられるトランスやチョークコイルなどのインダクタンス部品等の分野において特に有用である。
本発明の実施の形態によるコイル部品を示す斜視図。 本発明の実施の形態によるコイル部品を示す分解斜視図。 本発明の実施の形態によるコイル部品を示す分解斜視図。 本発明の実施の形態によるコイル部品を示す分解正面図。 本発明の実施の形態によるコイル部品を示す分解側面図。 本発明の実施の形態によるコイル部品の第1の1次巻線を示す平面図。
符号の説明
1 コイル部品
11 第1磁心
12 第2磁心
30 第1の1次巻線
30a、40a、50a、60a、70a 中央空間
30b、30c、40b、40c、50b、50c、60b、60c、70b、70c コイル貫通空間
31、41、51、61、71 コイル本体部
32、33、42、43、52、53、62、63、72、73 貫通部
40 第1の2次巻線
50 第2の2次巻線
60 第2の1次巻線
70 バイアス巻線
80A、80B、80C、80D、80E、80F、80G、80H、80I 端子
90 プリプレグシート
90a コイル貫通孔
A 仮想直線
C 軸心

Claims (10)

  1. 中央空間が形成されるように略平面状に導体が渦巻状に配置されてなるコイル本体部と該導体の端部及び端部近傍部をなす貫通部とをそれぞれ有し、該中央空間が略一致した位置関係で互いに積層された複数のコイルと、
    該複数のコイル間にそれぞれ設けられ、該コイルの該貫通部がそれぞれ貫通するコイル貫通孔と該中央空間に対向する位置に形成されたコア貫通孔とを有する絶縁樹脂層と、
    該中央空間及び該コア貫通孔を貫通するようにして配置されたコアと、
    該複数のコイル及び該絶縁樹脂層を収容するケースとを備え、
    該貫通部は、該コイル本体部を構成する素材と同一の素材からなることを特徴とするコイル部品。
  2. 該コイルは平角ワイヤにより構成されていることを特徴とする請求項1記載のコイル部品。
  3. 該複数のコイルは複数の1次コイルと少なくとも1つの2次コイルとを有し、該複数の1次コイルは該複数のコイルの積層方向において該2次コイルを挟んだ位置関係をなすことを特徴とする請求項1又は請求項2記載のコイル部品。
  4. 該複数のコイルは1次コイルと2次コイルとを有し、該1次コイルを構成する該導体の径と該2次コイルを構成する該導体の径とは異なることを特徴とする請求項1又は請求項2記載のコイル部品。
  5. 略平面状に導体が渦巻状に配置されてなる該複数のコイル本体部の該平面において該複数のコイル本体部はそれぞれ該コイル本体部の軸心を中心として略点対称形状をなし、
    略平面状に導体が渦巻状に配置されてなる該複数のコイル本体部の該平面において、該コイル本体部の軸心を通る仮想直線を中心とした線対称の位置関係で該コイル本体部の内側、外側のそれぞれに該絶縁樹脂層の該コイル貫通穴に対向する位置にコイル貫通空間が形成されていることを特徴とする請求項1乃至請求項4のいずれか一記載のコイル部品。
  6. 該積層された複数のコイルの積層方向における一端に配置され、該コイルの端部をなす該貫通部の部分がそれぞれ電気的に接続された端子を備えることを特徴とする請求項1乃至請求項5のいずれか一記載のコイル部品。
  7. 該貫通部は外部端子をなすことを特徴とする請求項1乃至請求項5のいずれか一記載のコイル部品。
  8. 中央空間が形成されるように略平面状に導体が渦巻状に配置されてなるコイル本体部と該コイル本体部から該平面に略垂直の方向へ延出し該導体の端部及び端部近傍部からなる貫通部とをそれぞれ有する複数のコイルを用意する工程と、
    該コイルの該貫通部がそれぞれ貫通するコイル貫通孔とコア貫通孔とがそれぞれ形成された複数のプリプレグシートを用意する工程と、
    該貫通部を該コイル貫通孔に貫通させ、該コア貫通孔と該中央空間とが対向するように且つ該複数のコイル間に該プリプレグシートが配置されるように該コイルと該プリプレグシートとを積層する工程と、
    該積層された複数のコイルの積層方向における一端に複数の端子が設けられた端子台を配置し、該コイルの端部をなす該貫通部の部分をそれぞれ電気的に該端子に接続する工程と、
    該中央空間及び該コア貫通孔を貫通するようにしてコアを配置するコア配置工程とを有することを特徴とするコイル部品の製造方法。
  9. 該コア配置工程よりも前又は該コア配置工程の後に該プリプレグシートを加熱硬化する工程を行うことを特徴とする請求項8記載のコイル部品の製造方法。
  10. 該コア配置工程と同時に該プリプレグシートを加熱硬化する工程を行うことを特徴とする請求項8記載のコイル部品の製造方法。
JP2008163125A 2008-06-23 2008-06-23 コイル部品及びコイル部品の製造方法 Expired - Fee Related JP5013322B2 (ja)

Priority Applications (1)

Application Number Priority Date Filing Date Title
JP2008163125A JP5013322B2 (ja) 2008-06-23 2008-06-23 コイル部品及びコイル部品の製造方法

Applications Claiming Priority (1)

Application Number Priority Date Filing Date Title
JP2008163125A JP5013322B2 (ja) 2008-06-23 2008-06-23 コイル部品及びコイル部品の製造方法

Publications (2)

Publication Number Publication Date
JP2010003954A true JP2010003954A (ja) 2010-01-07
JP5013322B2 JP5013322B2 (ja) 2012-08-29

Family

ID=41585410

Family Applications (1)

Application Number Title Priority Date Filing Date
JP2008163125A Expired - Fee Related JP5013322B2 (ja) 2008-06-23 2008-06-23 コイル部品及びコイル部品の製造方法

Country Status (1)

Country Link
JP (1) JP5013322B2 (ja)

Cited By (5)

* Cited by examiner, † Cited by third party
Publication number Priority date Publication date Assignee Title
JP2016015453A (ja) * 2014-07-03 2016-01-28 富士通株式会社 プレーナトランス、電源ユニット、及びプレーナトランスの製造方法
KR20160031945A (ko) * 2014-09-15 2016-03-23 주식회사 솔루엠 코일 부품과 이를 구비하는 전원 공급 장치
KR20190064495A (ko) * 2017-11-30 2019-06-10 프레모, 에세엘레 환형 자기력 장치
CN111933434A (zh) * 2020-08-10 2020-11-13 西安电子科技大学 一种平面变压器
CN113628835A (zh) * 2020-05-08 2021-11-09 株式会社艾特慕 平面变压器

Citations (4)

* Cited by examiner, † Cited by third party
Publication number Priority date Publication date Assignee Title
JPH07235428A (ja) * 1994-02-25 1995-09-05 Fuji Electric Co Ltd 電源トランス
JPH10125545A (ja) * 1996-10-24 1998-05-15 Matsushita Electric Ind Co Ltd チョークコイル
JP2000306750A (ja) * 1999-04-21 2000-11-02 Tokin Corp チョークコイル
JP2008004823A (ja) * 2006-06-23 2008-01-10 Tdk Corp コイル装置、トランスおよびスイッチング電源

Patent Citations (4)

* Cited by examiner, † Cited by third party
Publication number Priority date Publication date Assignee Title
JPH07235428A (ja) * 1994-02-25 1995-09-05 Fuji Electric Co Ltd 電源トランス
JPH10125545A (ja) * 1996-10-24 1998-05-15 Matsushita Electric Ind Co Ltd チョークコイル
JP2000306750A (ja) * 1999-04-21 2000-11-02 Tokin Corp チョークコイル
JP2008004823A (ja) * 2006-06-23 2008-01-10 Tdk Corp コイル装置、トランスおよびスイッチング電源

Cited By (9)

* Cited by examiner, † Cited by third party
Publication number Priority date Publication date Assignee Title
JP2016015453A (ja) * 2014-07-03 2016-01-28 富士通株式会社 プレーナトランス、電源ユニット、及びプレーナトランスの製造方法
KR20160031945A (ko) * 2014-09-15 2016-03-23 주식회사 솔루엠 코일 부품과 이를 구비하는 전원 공급 장치
KR101690251B1 (ko) 2014-09-15 2016-12-27 주식회사 솔루엠 코일 부품과 이를 구비하는 전원 공급 장치
KR20190064495A (ko) * 2017-11-30 2019-06-10 프레모, 에세엘레 환형 자기력 장치
JP2019102805A (ja) * 2017-11-30 2019-06-24 プレモ・エセ・アPremo, S.A. 環状磁気パワーユニット
KR102145338B1 (ko) 2017-11-30 2020-08-19 프레모, 에세.아. 환형 자기력 장치
CN113628835A (zh) * 2020-05-08 2021-11-09 株式会社艾特慕 平面变压器
CN113628835B (zh) * 2020-05-08 2025-01-28 株式会社艾特慕 平面变压器
CN111933434A (zh) * 2020-08-10 2020-11-13 西安电子科技大学 一种平面变压器

Also Published As

Publication number Publication date
JP5013322B2 (ja) 2012-08-29

Similar Documents

Publication Publication Date Title
US8378777B2 (en) Magnetic electrical device
US9378885B2 (en) Flat coil windings, and inductive devices and electronics assemblies that utilize flat coil windings
US8502633B2 (en) Planar transformer and method of manufacturing the same
JP4802615B2 (ja) Lc複合部品
US20040178489A1 (en) Multilayer circuit and method of manufacturing
CN109285660A (zh) 变压器及包括该变压器的电力供应设备
US20150364245A1 (en) Coil component and power supply unit including the same
JP5013322B2 (ja) コイル部品及びコイル部品の製造方法
CN111128513A (zh) 线圈部件和电子器件
KR101610339B1 (ko) 코일 부품 및 그 제조 방법
JP7472490B2 (ja) コイル装置
JPH056829A (ja) 薄型トランス
KR101858117B1 (ko) 이중 나선형 트랜스포머
JPH05291062A (ja) 薄型トランス及びその組み立て方法
JP5087642B2 (ja) 基板
JP2018029124A (ja) 磁性コア、コイル部品、回路基板、及び電源装置
JP6556114B2 (ja) スイッチング電源装置
WO2018034035A1 (ja) コイル部品、回路基板、及び電源装置
JP6477956B1 (ja) コイル装置
JPH10189355A (ja) 積層トランスおよび電源ユニット用プリント基板
JP4021746B2 (ja) 電源装置用コイル部品の基板実装構造
JP2021005725A (ja) 電子部品
KR20190014727A (ko) 듀얼 코어 평면 트랜스포머
JP2019207953A (ja) 電子部品
JPH07249528A (ja) プレーナ型磁性部品

Legal Events

Date Code Title Description
A621 Written request for application examination

Free format text: JAPANESE INTERMEDIATE CODE: A621

Effective date: 20110428

A977 Report on retrieval

Free format text: JAPANESE INTERMEDIATE CODE: A971007

Effective date: 20120305

A131 Notification of reasons for refusal

Free format text: JAPANESE INTERMEDIATE CODE: A131

Effective date: 20120312

A521 Written amendment

Free format text: JAPANESE INTERMEDIATE CODE: A523

Effective date: 20120418

TRDD Decision of grant or rejection written
A01 Written decision to grant a patent or to grant a registration (utility model)

Free format text: JAPANESE INTERMEDIATE CODE: A01

Effective date: 20120514

A01 Written decision to grant a patent or to grant a registration (utility model)

Free format text: JAPANESE INTERMEDIATE CODE: A01

FPAY Renewal fee payment (event date is renewal date of database)

Free format text: PAYMENT UNTIL: 20150615

Year of fee payment: 3

R150 Certificate of patent or registration of utility model

Ref document number: 5013322

Country of ref document: JP

Free format text: JAPANESE INTERMEDIATE CODE: R150

Free format text: JAPANESE INTERMEDIATE CODE: R150

A61 First payment of annual fees (during grant procedure)

Free format text: JAPANESE INTERMEDIATE CODE: A61

Effective date: 20120527

LAPS Cancellation because of no payment of annual fees