JP2010003048A - タッチパネル付き表示装置 - Google Patents

タッチパネル付き表示装置 Download PDF

Info

Publication number
JP2010003048A
JP2010003048A JP2008160272A JP2008160272A JP2010003048A JP 2010003048 A JP2010003048 A JP 2010003048A JP 2008160272 A JP2008160272 A JP 2008160272A JP 2008160272 A JP2008160272 A JP 2008160272A JP 2010003048 A JP2010003048 A JP 2010003048A
Authority
JP
Japan
Prior art keywords
electrode
electrodes
touch panel
substrate
reference voltage
Prior art date
Legal status (The legal status is an assumption and is not a legal conclusion. Google has not performed a legal analysis and makes no representation as to the accuracy of the status listed.)
Granted
Application number
JP2008160272A
Other languages
English (en)
Other versions
JP5133791B2 (ja
Inventor
Hideo Sato
秀夫 佐藤
Shigeyuki Nishitani
茂之 西谷
Teruaki Saito
照明 斉藤
Norio Manba
則夫 萬場
Current Assignee (The listed assignees may be inaccurate. Google has not performed a legal analysis and makes no representation or warranty as to the accuracy of the list.)
Japan Display Inc
Original Assignee
Hitachi Displays Ltd
Priority date (The priority date is an assumption and is not a legal conclusion. Google has not performed a legal analysis and makes no representation as to the accuracy of the date listed.)
Filing date
Publication date
Application filed by Hitachi Displays Ltd filed Critical Hitachi Displays Ltd
Priority to JP2008160272A priority Critical patent/JP5133791B2/ja
Priority to US12/486,003 priority patent/US20090315858A1/en
Publication of JP2010003048A publication Critical patent/JP2010003048A/ja
Application granted granted Critical
Publication of JP5133791B2 publication Critical patent/JP5133791B2/ja
Expired - Fee Related legal-status Critical Current
Anticipated expiration legal-status Critical

Links

Images

Classifications

    • GPHYSICS
    • G06COMPUTING OR CALCULATING; COUNTING
    • G06FELECTRIC DIGITAL DATA PROCESSING
    • G06F3/00Input arrangements for transferring data to be processed into a form capable of being handled by the computer; Output arrangements for transferring data from processing unit to output unit, e.g. interface arrangements
    • G06F3/01Input arrangements or combined input and output arrangements for interaction between user and computer
    • G06F3/03Arrangements for converting the position or the displacement of a member into a coded form
    • G06F3/041Digitisers, e.g. for touch screens or touch pads, characterised by the transducing means
    • G06F3/044Digitisers, e.g. for touch screens or touch pads, characterised by the transducing means by capacitive means
    • G06F3/0446Digitisers, e.g. for touch screens or touch pads, characterised by the transducing means by capacitive means using a grid-like structure of electrodes in at least two directions, e.g. using row and column electrodes
    • GPHYSICS
    • G06COMPUTING OR CALCULATING; COUNTING
    • G06FELECTRIC DIGITAL DATA PROCESSING
    • G06F3/00Input arrangements for transferring data to be processed into a form capable of being handled by the computer; Output arrangements for transferring data from processing unit to output unit, e.g. interface arrangements
    • G06F3/01Input arrangements or combined input and output arrangements for interaction between user and computer
    • G06F3/03Arrangements for converting the position or the displacement of a member into a coded form
    • G06F3/041Digitisers, e.g. for touch screens or touch pads, characterised by the transducing means
    • G06F3/0416Control or interface arrangements specially adapted for digitisers
    • G06F3/04166Details of scanning methods, e.g. sampling time, grouping of sub areas or time sharing with display driving
    • GPHYSICS
    • G06COMPUTING OR CALCULATING; COUNTING
    • G06FELECTRIC DIGITAL DATA PROCESSING
    • G06F3/00Input arrangements for transferring data to be processed into a form capable of being handled by the computer; Output arrangements for transferring data from processing unit to output unit, e.g. interface arrangements
    • G06F3/01Input arrangements or combined input and output arrangements for interaction between user and computer
    • G06F3/03Arrangements for converting the position or the displacement of a member into a coded form
    • G06F3/041Digitisers, e.g. for touch screens or touch pads, characterised by the transducing means
    • G06F3/044Digitisers, e.g. for touch screens or touch pads, characterised by the transducing means by capacitive means
    • G06F3/0445Digitisers, e.g. for touch screens or touch pads, characterised by the transducing means by capacitive means using two or more layers of sensing electrodes, e.g. using two layers of electrodes separated by a dielectric layer

Landscapes

  • Engineering & Computer Science (AREA)
  • General Engineering & Computer Science (AREA)
  • Theoretical Computer Science (AREA)
  • Human Computer Interaction (AREA)
  • Physics & Mathematics (AREA)
  • General Physics & Mathematics (AREA)
  • Position Input By Displaying (AREA)
  • Devices For Indicating Variable Information By Combining Individual Elements (AREA)

Abstract

【課題】 指タッチ入力及びスタイラスペン入力が可能な信頼性の高い静電容量結合方式のタッチパネル付き表示装置を提供する。
【解決手段】 表示パネルの観察者側の面上に配置される静電容量結合方式のタッチパネルとを備えた表示装置であって、前記タッチパネルは、互いに対向して配置される第1及び第2の基板を有し、前記第1の基板は、前記第2の基板と対向する面側に、第1の方向に延在し、前記第1の方向と交差する第2の方向に並設される複数の第1の電極と、前記第1の電極と交差して前記第2の方向に延在し、前記第1の方向に並設される複数の第2の電極とを有し、前記第2の基板は、前記第1の基板と対向する面側に、前記複数の第1及び第2の電極を覆う面状の第3の電極を有し、前記複数の第1及び第2の電極と前記第3の電極との間には、ゲル状シートが設けられている。
【選択図】 図3

Description

本発明は、タッチパネル付き表示装置に関し、特に、静電容量結合方式のタッチパネルを備えたタッチパネル付き表示装置に適用して有効な技術に関するものである。
近年、モバイル機器の普及において、“人にやさしい”グラフィカルユーザインターフェースを支えるタッチパネル技術が重要となってきている。
このタッチパネル技術として、静電容量結合方式のタッチパネルが知られており、この静電容量結合方式のタッチパネルとして、観察者がタッチした複数のタッチ位置を検出するものが知られている。(下記、特許文献1参照)
下記特許文献1に記載されているタッチパネルは、タブレットの周辺にデマルチプレクサとマルチプレクサを設け、マルチプレクサを順次切り替えてX方向の電極線とY方向の電極線との結合容量を検出して、観察者がタッチした複数のタッチ位置座標を検出している。
なお、本願発明に関連する先行技術文献としては以下のものがある。
特開平8−16307号公報
静電容量結合方式のタッチパネルは、第1の方向(例えばY方向)に延在し、前記第1の方向と交差する第2の方向(例えばX方向)に並設される複数のX電極と、このX電極と交差して前記第2の方向に延在し、前記第1の方向に並設される複数のY電極とを有している。複数のX電極と複数のY電極は、基板上に層間絶縁膜を介して積層されており、例えばITO(Indium Tin Oxide)等の透明性導電材料で形成されている。
一方、静電容量結合方式のタッチパネルにおいては、タッチパネルのタッチ面を観察者の指でタッチしてタッチ位置座標を入力する方法(以下、単に指タッチ入力方法という)と、タッチパネルのタッチ面をスタイラスペンでタッチしてタッチ位置座標を入力する方法(以下、単にスタイラスペン入力方法という)とが知られている。
前述の静電容量結合方式のタッチパネルの場合、タッチ位置座標を検出するには、X電極上及びY電極上を同時に触れる必要がある。指タッチ入力方法では、タッチパネルのタッチ面と観察者の指との接触面積が比較的大きいため特に問題とならない。
しかしながら、スタイラスペン入力方法では、タッチパネルのタッチ面とスタイラスペンとの接触面積が指タッチ入力方式と比較して狭いため、X電極上及びY電極上を同時に触れることが難しく、X電極とY電極との結合容量の容量差の検出が困難となる。
X電極及びY電極を微細化してタッチパネルのタッチ面とスタイラスペンとの接触面積をX電極及びY電極のサイズ以上に広くすればX電極上及びY電極上を同時に触れることができるようになるが、X電極及びY電極を微細化すると感度が低くなりSN比が低下する問題が生じる。
そこで、本発明者は、タッチパネルのタッチ面にスタイラスペンでタッチした時のタッチパネルの変形で静電容量が変化することに着目し、本発明を成した。
本発明の目的は、指タッチ入力及びスタイラスペン入力が可能な信頼性の高い静電容量結合方式のタッチパネル付き表示装置を提供することにある。
本発明の前記並びにその他の目的と新規な特徴は、本明細書の記述及び添付図面によって明らかになるであろう。
本願において開示される発明のうち、代表的なものの概要を簡単に説明すれば、下記のとおりである。
(1)表示パネルと、前記表示パネルの観察者側の面上に配置される静電容量結合方式のタッチパネルとを備えた表示装置であって、
前記タッチパネルは、互いに対向して配置される第1及び第2の基板を有し、
前記第1の基板は、前記第2の基板と対向する面側に、第1の方向に延在し、前記第1の方向と交差する第2の方向に並設される複数の第1の電極と、前記第1の電極と交差して前記第2の方向に延在し、前記第1の方向に並設される複数の第2の電極とを有し、
前記第2の基板は、前記第1の基板と対向する面側に、前記複数の第1及び第2の電極を覆う面状の第3の電極を有し、
前記複数の第1及び第2の電極と前記第3の電極との間には、ゲル状シートが設けられている。
(2)前記(1)において、前記ゲル状シートは、硬度が2以上15以下である。
(3)前記(1)において、前記第1及び第2の基板はガラス基板であり、前記第2の基板の厚さは前記第1の基板の厚さよりも薄い。
(4)前記(1)において、前記第1の基板はガラス基板であり、前記第2の基板はプラスチック基板である。
(5)前記(1)において、前記第1及び第2の基板はプラスチック基板である。
(6)表示パネルと、前記表示パネルの観察者側の面上に配置される静電容量結合方式のタッチパネルとを備えた表示装置であって、
前記タッチパネルは、互いに対向して配置される第1及び第2の基板を有し、
前記第1の基板は、前記第2の基板と対向する面側に、第1の方向に延在し、前記第1の方向と交差する第2の方向に並設される複数の第1の電極を有し、
前記第2の基板は、前記第1の基板と対向する面側に、前記第1の電極と交差して前記第2の方向に延在し、前記第1の方向に並設される複数の第2の電極を有し、
前記複数の第1の電極と前記複数の第2の電極との間には、ゲル状シートが設けられている。
(7)前記(6)において、前記ゲル状シートは、硬度が2以上15以下である。
(8)前記(6)において、第1及び第2の基板はガラス基板であり、前記第2の基板の厚さは前記第1の基板の厚さよりも薄い。
(9)前記(6)において、前記第1の基板はガラス基板であり、前記第2の基板はプラスチック基板である。
(10)前記(6)において、前記第1及び第2の基板はプラスチック基板である。
本願において開示される発明のうち代表的なものによって得られる効果を簡単に説明すれば、下記のとおりである。
本発明によれば、指タッチ入力及びスタイラスペン入力が可能な信頼性の高い静電容量結合方式のタッチパネル付き表示装置を提供できる。
以下、図面を参照して本発明の実施例を詳細に説明する。なお、発明の実施例を説明するための全図において、同一機能を有するものは同一符号を付け、その繰り返しの説明は省略する。
[実施例1]
本実施例1では、表示パネルの一例として液晶表示パネル上にタッチパネルを備えた静電容量結合方式のタッチパネル付き表示装置に本発明を適用した例について説明する。
図1乃至図5は本発明の実施例1のタッチパネル付き表示装置に係る図であり、
図1は、タッチパネル付き表示装置に組み込まれるタッチパネルの概略構成を示す断面図、
図2は、図1のタッチパネルの電極パターンを示す平面図、
図3は、図1の一部を拡大した断面図、
図4は、図1のタッチパネルの駆動回路を示すブロック図である。
図5は、タッチパネル付き表示装置の概略構成を示すブロック図である。
本実施例1のタッチパネル付き表示装置は、図5に示すように、液晶表示パネル600と、液晶液示パネル600の観察者側の面上に配置された静電容量結合方式のタッチパネル400と、液晶表示パネル600の観察者側とは反対側の面下に配置されたバックライト700とを備えている。液晶表示パネル600としては、例えばIPS方式、TN方式、VA方式等の液晶表示パネルが用いられている。
タッチパネル400は、図1に示すように、互いに対向して配置される第1及び第2の基板(100,200)と、第1の基板100と第2の基板200との間に挟持されるゲル状シート300と、第1の基板100の基板対向面(第2の基板200と対向する面)側の一辺側に一端側が固定されるフレキシブル配線基板(FPC)110とを有している。
タッチパネル400は、図2に示すように、第1の方向(例えばY方向)に延在し、前記第1の方向と交差する第2の方向(例えばX方向)に所定の配列ピッチで並設される複数のX電極(X1〜X4)と、このX電極と交差して前記第2の方向に延在し、前記第1の方向に所定の配列ピッチで並設される複数のY電極(Y1〜Y4)とを有している。
X1〜X4のX電極は、タッチパネル領域10において、第1の部分と、この第1の部分の幅よりも広い幅の第2の部分122とが前記第1の方向(例えばY方向)に交互に複数配置された電極パターンで形成されている。
Y1〜Y4のY電極は、タッチパネル領域10において、第1の部分と、この第1の部分の幅よりも広い幅の第2の部分121とが前記第2の方向(例えばX方向)に交互に複数配置された電極パターンで形成されている。
X1〜X4のX電極の各々の第2の部分122は、平面的に見たとき、隣り合う2つのY電極間に配置されている。Y1〜Y4のY電極の各々の第2の部分121は、平面的に見たとき、隣り合う2つのX電極間に配置されている。X1〜X4のX電極の各々の第1の部分は、Y1〜Y4のY電極の各々の第1の部分と平面的に交差している。
第1の基板100は、X1〜X4のX電極とY1〜Y4のY電極とを有し、X1〜X4のX電極とY1〜Y4のY電極は、図3に示すように、第1の基板100の第2の基板200と対向する面側に絶縁膜120を介して積層されている。本実施例では、例えばY電極の方がX電極よりも上層に形成されている。
第2の基板200は、図3に示すように、第1の基板100と向かい合う面側に面状の対向電極201を有している。この対向電極201は、少なくともタッチパネル領域10の全てのX電極及びY電極を覆うようにして形成されている。
X電極(X1〜X4)及びY電極(Y1〜Y4)、並びに対向電極201は、例えばITO(Indium Tin Oxide)等の透明性導電材料で形成されている。
ゲル状シート300は、図3に示すように、第1の基板100のX電極及びY電極と、第2の基板200の対向電極201との間に設けられている。このゲル状シート300は、少なくともタッチパネル領域10の全てのX電極及びY電極を覆うようにして形成されている。本実施例において、ゲル状シート300は、これに限定されないが、例えば第2の基板200側に形成されている。
第1の基板100及び第2の基板200としては、透明な絶縁性基板が用いられている。本実施例では、第1及び第2の基板(100,200)としてガラス基板が用いられており、第2の基板200の厚さは第1の基板100の厚さよりも薄くなっている。
ゲル状シート300としては、例えばパラフィン系オイル、シリコーンゴム系の材料からなるものが用いられている。
図3では、対向電極201とX電極(X4),Y電極(Y3),X電極(X3)との間にC1,C2,C3の容量が形成されていることを模式的に示している。
このような構成にすることにより、図3に示すように、タッチパネル400のタッチ面(第2の基板200のタッチ面)を観察者がスタイラスペン500でタッチすると、第2の基板200が変形し、この変形に追従してゲル状シート300が変位(ゲル状シート300の厚さが変化)して、第1の基板100の電極(X電極又はY電極)と第2の基板200の対向電極201との間の容量が変化する。図3では、Y3のY電極上をスタイラスペン500でタッチしているため、Y3のY電極と対向電極201との間の容量が変化する。この容量変化を検出することで、スタイラスペンがタッチした位置を検出できる。
また、前述の容量変化はゲル状シート300の変位で生ずるので、観察者の指、先端が丸い棒状のものなどでもタッチ入力が可能である。
また、タッチの有無は容量の変化で検出するので、抵抗方式のように電極同士の接触がなく、信頼性の高いタッチパネル400を実現できる。
従って、指タッチ入力及びスタイラスペン入力が可能な信頼性の高い静電容量結合方式のタッチパネル付き表示装置を提供することができる。
なお、必要な容量変化を得るには、ゲル状シート300の硬度は2以上15以下が望ましい。
図4は、タッチパネルの駆動回路を示すブロック図である。図4において、10はタッチパネル領域(タッチセンサ領域)、20は制御回路、30はY駆動回路、40はX検出回路、60は座標検出回路である。また、X1〜X4は第1の方向(図1のY方向)に伸びるX電極、Y1〜Y4は第2の方向(図1のX方向)に伸びるY電極であり、CはX電極及びY電極と対向電極201とで形成される結合容量を示している。
図6は、図4に示すY駆動回路30を示す図である。
図6に示すように、Y駆動回路30は、シフトレジスタ310を有する。シフトレジスタ310の各シフト段の出力がHigh(以下、Hレベルという)となると、pMOSトランジスタ322がオフ、nMOSトランジスタ324がオンとなり、Y1〜Y4のY電極に基準電圧(ここでは、VLの電圧)が供給される。
また、シフトレジスタ310の各シフト段の出力がLow(以下、Lレベルという)となると、pMOSトランジスタ322がオン、nMOSトランジスタ324がオフとなり、Y1〜Y4のY電極に基準電圧より高電位の電圧(ここでは、VHの電圧)が供給される。
図7は、図4に示すX検出回路40を示す図である。
図7に示すように、X検出回路40は、オペアンプ412と積分容量418とで構成される積分回路を有する。積分回路の後段には、サンプルホールド回路422とA/D変換回路424が設けられる。
積分回路は、スイッチング素子414がオンのときに、Y1〜Y4のY電極に供給される電圧が、Hレベル→Lレベル、あるいは、Lレベル→Hレベルに変化したときに、X1〜X4に流れる電流を積分する。また、積分回路の積分容量418は、スイッチング素子416がオンの時にリセットされる。
図8は、図4に示すタッチパネルの動作を説明するためのタイミングチャートである。
Y駆動回路30のシフトレジスタ310には、スタートパルスSTと、クロックCLKとが入力され、Y1〜Y4のY電極に、順次Lレベルの電圧を供給する。
そして、Y1〜Y4のY電極の電圧が、Hレベル→Lレベルに変化した時と、Lレベル→Hレベルに変化した時に、Y1〜Y4のY電極からX1からX4のX電極にそれぞれ電流が流れる。
この電流を、X電極で検出する。例えば、Y1〜Y4のY電極からX1のX電極には、図8のI−11,I−21,I−31、I−41に示す電流が流れる。この結果、X1のX電極には、これらの電流和である図8のI−X1に示す電流が流れる。この電流を、積分回路で積分すると、図8のV−X1に示す電圧を検出することができる。なお、スイッチング素子414はタイミングパルスTG1によりオンとなり、スイッチング素子416はタイミングパルスTG2によりオンとなる。
本実施例において、X電極とY電極との結合容量が同じ場合には、Y1のY電極の電圧が、Lレベル→Hレベルに変化した時と、Y2のY電極がHレベル→Lレベルに変化した時に、X電極に流れる電流は、電流の向きが逆方向で、大きさが同じであるので、積分回路の出力電圧は、0となる。しかしながら、X電極とY電極との結合容量が異なる場合には、Y1のY電極の電圧が、Lレベル→Hレベルに変化した時と、Y2のY電極がHレベル→Lレベルに変化した時に、X電極に流れる電流は、電流の向きが逆方向で、大きさが容量差に応じて異なることになるので、積分回路の出力電圧は、0以外の電圧となる。
ここで、積分回路は、X電極で検出された電流値を積分するので、積分回路の出力電圧は、X電極とY電極との結合容量の容量差に比例することになる。
座標検出回路60は、Lレベルの電圧が供給されたY電極の位置と、各X電極で検出された電流値に応じて、観察者がスタイラスペン500でタッチした、タッチセンサ領域10のタッチ位置座標を検出する。この場合、本実施例では、観察者がタッチした複数のタッチ位置を検出することができる。
このように、本実施例では、X電極とY電極との結合容量の容量差を検出して、観察者がタッチしたタッチセンサ領域10の座標位置を検出するにしたので、X電極とY電極との間の寄生容量をキャンセルすることが可能である。
この結果、本実施例では、製造上生ずる配置上の変動によるX電極とY電極との間の寄生容量や、温度などの外的要因によるX電極とY電極との間の寄生容量の変動の影響を受けずに、観察者がスタイラスペン500でタッチした位置を検出することが可能となる。
一般に、観察者がスタイラスペン500でタッチセンサ領域10をタッチしたときの、X電極とY電極との結合容量は、X電極とY電極の電極数を増加すると減少するが、本実施例では、X電極とY電極との間の寄生容量をキャンセルして、より小さなX電極とY電極との結合容量を検出することができるので、より電極数が多い高分解のタッチパネルを実現することが可能となる。
[実施例2]
図9は、本実施例2の液晶表示装置に使用されるタッチパネルの概略構成を示すブロック図である。
図9において、10はタッチセンサ領域、20は制御回路、70は電流検出回路、80は電極駆動回路である。
前述の実施例では、各Y電極に、時分割で順次Lレベルの電圧を供給し、各X電極に流れる電流を検出して座標位置を検出するようにしたが、本実施例では、制御回路20がスイッチ90を制御し、期間A内に、電極駆動回路80が、各Y電極に時分割で順次Lレベルの電圧を供給するとともに、電流検出回路70が、全X電極に流れる電流を検出し、また、期間B内に、電極駆動回路80が、各X電極に時分割で順次Lレベルの電圧を供給するとともに、電流検出回路70が、全Y電極に流れる電流を検出する。なお、電流検出回路70の後段には、座標検出回路が設けられるが、図9では省略している。
本実施例では、期間A内に、全X電極で検出される電流値は、連続する2つのY電極の一方と全X電極の間の結合容量と、連続する2つのY電極の他方と全X電極の間の結合容量との容量差に比例する。
したがって、期間A内に、観察者がスタイラスペン500でタッチしたタッチセンサ領域10のY電極の位置を検出することができ、同様に、期間B内に、全Y電極で検出された電流値に応じて、観察者がスタイラスペン500でタッチしたタッチセンサ領域10のX電極の位置を検出することができる。
これにより、観察者がタッチしたタッチセンサ領域10のタッチ位置座標を検出することができる。この場合、本実施例では、観察者がタッチした複数のタッチ位置を検出することができる。
図10は、図9に示す電極駆動回路80の一例を示す図である。
図10において、810はシフトレジスタ、822はpMOSトランジスタ、824はnMOSトランジスタである。図10において、太線はバス接続であることを示しており、図10に示す電極駆動回路80の回路構成は、図6に示すY駆動回路30と同じである。
図11は、図9に示す電流検出回路70の一例を示す図である。図11においても、太線はバス接続であることを示している。
図11に示す構成では、電流検出回路70において、オペアンプ452と積分容量458とで構成される積分回路は、全電極(X電極、あるいは、Y電極)に流れる電流を積分する。なお、スイッチング素子456はタイミングパルスTG1によりオンとなり、スイッチング素子456がオンの時に積分容量はリセットされる。なお、図11において、462はサンプルホールド回路、464はA/D変換回路である。
[実施例3]
図12乃至図14は、本発明の実施例3のタッチパネル付き表示装置に係る図であり、
図12は、タッチパネル付き表示装置に組み込まれるタッチパネルの概略構成を示す断面図、
図13は、図12のタッチパネルの電極パターンを示す平面図、
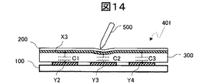
図14は、図12の一部を拡大した断面図である。
本実施例2のタッチパネル付き表示装置は、基本的に前述の実施例1と同様の構成になっており、タッチパネルの構成が異なっている。
前記の実施例1のタッチパネル400は、図3に示すように、第1の基板100側にX電極(X1〜X4)及びY電極(Y1〜Y4)が形成され、第2の基板200側に対向電極201が形成された構成になっている。これに対し、本実施例2のタッチパネル401は、図14に示すように、第1の基板100側にY電極(Y1〜Y4)が形成され、第2の基板200側にX電極(X1〜X4)が形成された構成になっている。以下、本実施例2のタッチパネル401について説明する。
タッチパネル401は、図12に示すように、互いに対向して配置される第1及び第2の基板(100,200)と、第1の基板100と第2の基板200との間に挟持されるゲル状シート300と、第1の基板100の基板対向面(第2の基板200と対向する面)側の一辺側に一端側が固定されるフレキシブル配線基板(FPC)111と、第2の基板200の基板対向面(第1の基板100と対向する面)側の一辺側に一端側が固定されるフレキシブル配線基板(FPC)112とを有している。また、タッチパネル401は、図2に示すタッチパネル領域(タッチセンサ領域)10を有している。
タッチパネル401は、図13に示すように、第1の方向(例えばY方向)に所定の一定幅で延在し、前記第1の方向と交差する第2の方向(例えばX方向)に所定の配列ピッチで並設される複数のX電極(X1〜X4)と、このX電極と交差して前記第2の方向に所定の一定幅で延在し、前記第1の方向に所定の配列ピッチで並設される複数のY電極(Y1〜Y4)とを有している。Y電極(Y1〜Y4)及びX電極(X1〜X4)は、タッチパネル領域10の内外に亘って延在している。
図14に示すように、第1の基板100は、Y電極(Y1〜Y4)を有し、Y電極(Y1〜Y4)は、第1の基板100の第2の基板200と対向する面側に形成されている。第2の基板200は、X電極(X1〜X4)を有し、X電極(X1〜X4)は、第2の基板200の第1の基板100と対向する面側に形成されている。
Y電極(Y1〜Y4)とX電極(X1〜X4)は、これらの間にゲル状シート300を介して積層されており、ゲル状シート300は、少なくともタッチパネル領域内の全てのY電極及びX電極を覆うようにして形成されている。ゲル状シート300は、これに限定されないが、本実施例2においても、例えば第2の基板200側に形成されている。
本実施例のタッチパネル401は、第1及び第2の基板(100,200)の何れにも、実施例1の対向電極201が設けられていない。
X電極(X1〜X4)及びY電極(Y1〜Y4)は、例えばITO(Indium Tin Oxide)等の透明性導電材料で形成されている。
第1の基板100及び第2の基板200としては、透明な絶縁性基板が用いられている。本実施例では、第1及び第2の基板(100,200)としてガラス基板が用いられており、第2の基板200の厚さは第1の基板100の厚さよりも薄くなっている。
ゲル状シート300としては、例えばパラフィン系オイル、シリコーンゴム系の材料からなるものが用いられている。
図14では、X電極(X3)とY電極(X2),(Y3),(Y4)との間にC1,C2,C3の容量が形成されていることを模式的に示している。
図14に示すように、タッチパネル401のタッチ面(第2の基板200のタッチ面)を観察者がスタイラスペン500でタッチすると、第2の基板200が変形し、この変形に追従してゲル状シート300が変位(ゲル状シート300の厚さが変化)して、第1の基板100のY電極と第2の基板200のX電極との間の容量が変化する。図14では、Y3のY電極上及びX3のX電極上をスタイラスペン500でタッチしているため、Y3のY電極とX3のX電極との間の容量が変化する。この容量変化を検出することで、前述の実施例1と同様に、スタイラスペンがタッチした位置を検出できる。
また、前述の容量変化はゲル状シート300の変位で生ずるので、観察者の指、先端が丸い棒状のものなどでもタッチ入力が可能である。
また、タッチの有無は容量の変化で検出するので、抵抗方式のように電極同士の接触がなく、信頼性の高いタッチパネル401を実現できる。
従って、本実施例2においても、指タッチ入力及びスタイラスペン入力が可能な信頼性の高い静電容量結合方式のタッチパネル付き表示装置を提供することができる。
また、ゲル状シート300の屈折率を第1及び第2の基板とほぼ等しくすることで、第1及び第2の基板の各々の電極パターンを見え難くすることができる。
図15は、本実施例3のタッチパネルの概略構成を示すブロック図である。
図15において、10はタッチセンサ領域、210はY電極選択回路、220はX電極選択回路、230は電流検出回路である。Y電極選択回路210と、X電極選択回路220とは同一の回路構成を有するが、図15では、Y電極選択回路210の回路構成のみを図示している。
Y電極選択回路210およびX電極選択回路220は、走査回路211と、走査回路212とを有する。走査回路212は、期間A内に全スイッチング素子SW3をオフ、期間B内に、全スイッチング素子SW3をオンとする。
走査回路211は、期間A内に、時分割で順次、隣接する電極(Y電極、あるいはX電極)に対応するスイッチング素子SW1とスイッチング素子SW2のオン・オフを制御し、期間B内に、全スイッチング素子SW1と全スイッチング素子SW2とをオフとする。例えば、走査回路211は、期間Aの始めの時分割期間に、スイッチング素子SW1−1をオン、スイッチング素子SW2−1をオンとし、さらに、残りのスイッチング素子SW1とスイッチング素子SW2とをオフにする。
また、次の時分割期間に、スイッチング素子SW1−2をオン、スイッチング素子SW2−2をオンとし、さらに、残りのスイッチング素子SW1とスイッチング素子SW2とをオフにする。以下、同様にして、電極(Y電極、あるいはX電極)を選択する。
図16は、図15に示す電流検出回路230の一例を示す図である。
図16において、221はオペアンプ、222は積分容量、223はスイッチ制御回路、224はサンプルホールド回路、225はA/D変換回路である。なお、図16において、T1、T2は、X電極あるいはY電極の隣接する2つの電極を示す。
図17は、図16の電流検出回路230の動作を説明するためのタイムチャートである。
以下、図16のT1、T2に、Y1とY2の電極が接続されているもの(以下、仮定A)として、図16に示す電流検出回路の動作を説明する。
前述した仮定Aの場合に、Y電極選択回路210内のスイッチング素子SW1−1はオン、スイッチング素子SW2−1はオン、残りのスイッチング素子SW1とスイッチング素子SW2とはオフ、かつ、全スイッチ素子SW3はオフとなっている。
また、X電極選択回路220内の全スイッチング素子SW1と全スイッチング素子SW2はオフ、全スイッチング素子SW3はオンとなり、全X電極には基準電圧(GND)が供給される。
図17に示すように、始めに、スイッチ制御回路223の制御下に、スイッチング素子SW_Aがオンとなり、積分容量222がリセットされる。次に、スイッチ制御回路223の制御下に、スイッチング素子SW_Bがオンとなり、Y1の電極に、電圧レベルが基準電圧(GND)よりも高電位(+Vref)の正極性のパルスが、Y2の電極に、電圧レベルが基準電圧(GND)よりも低電位(−Vref)の負極性のパルスを供給される。その後、スイッチ制御回路223の制御下に、スイッチング素子SW_Cがオンとなり、オペアンプ221と積分容量222とから構成される積分回路からVoの電圧が得られる。
ここで、Voは、下記(1)式で表される。
[数1]
Vo=Vref/Co×(Cn+1−Cn) ・・・・・・・・・・・ (1)
但し、Coは、積分容量222の容量値、Cnは、隣接する2つのY電極の中の一方の電極(ここでは、Y1の電極)と全X電極との間の結合容量、Cn+1は、隣接する2つの電極の中の他方の電極(ここでは、Y2の電極)と全X電極との間の結合容量である。なお、図16のT1、T2に、X電極の中の隣接する2つの電極が接続されている場合には、Cnは、隣接する2つのX電極の中の一方の電極と全Y電極との間の結合容量、Cn+1は、隣接する2つのX電極の中の他方の電極と全Y電極との間の結合容量となる。
このように、全X電極で検出される電流値は、連続する2つのY電極の一方と全X電極の間の結合容量と、連続する2つのY電極の他方と全X電極の間の結合容量との容量差に比例する。
したがって、期間A内に、全X電極に基準電圧(GND)を供給するとともに、Y電極を時分割で順次Y電極の中の隣接する2つの電極を選択し、一方の電極に正極性のパルスを、他方の電極に負極性のパルスを供給することにより、観察者がスタイラスペン500でタッチしたタッチセンサ領域10のY電極の位置を検出することが可能となる。
同様に、期間B内に、全Y電極に基準電圧(GND)を供給するとともに、X電極を時分割で順次X電極の中の隣接する2つの電極を選択し、一方の電極に正極性のパルスを、他方の電極に負極性のパルスを供給することにより、観察者がスタイラスペン500でタッチしたタッチセンサ領域10のX電極の位置を検出することが可能となる。
これにより、観察者がタッチしたタッチセンサ領域10のタッチ位置座標を検出することができる。この場合、本実施例では、観察者がタッチした複数のタッチ位置を検出することができる。
なお、本実施例3のタッチパネルの駆動方法として、前述の実施例1の駆動方法を採用してもよく、同様に、本実施例3のタッチパネルの駆動方法として、前述の実施例2の駆動方法を採用してもよい。
また、前述の実施例1及び実施例3では、第1及び第2の基板(100,200)としてガラス基板を用いた例について説明したが、第1及び第2の基板(100,200)として、例えば、絶縁性樹脂からなるプラスチック基板を用いてもよく、或いは第1の基板100として、例えば、ガラス基板、第2基板200としてプラスチック基板を用いてもよい。
また、前述の実施例1及び実施例3では、第2の基板200側にゲル状シート300を設けた例について説明したが、ゲル状シート300は第1の基板100側に設けてもよい。
さらに、前述までの説明では、本発明を液晶表示装置に適用した実施例について説明したが、本発明はこれに限定されるものではなく、例えば、有機EL表示装置などの表示装置全般にも適用可能である。
以上、本発明者によってなされた発明を、前記実施例に基づき具体的に説明したが、本発明は、前記実施例に限定されるものではなく、その要旨を逸脱しない範囲において種々変更可能であることは勿論である。
本発明の実施例1のタッチパネル付き表示装置に組み込まれるタッチパネルの概略構成を示す断面図である。 図1のタッチパネルの電極パターンを示す平面図である。 図1の一部を拡大した断面図である。 図1のタッチパネルの駆動回路を示すブロック図である。 本発明の実施例1のタッチパネル付き表示装置の概略構成を示すブロック図である。 図4に示すY駆動回路を示す図である。 図4に示すX検出回路を示す図である。 図4に示すタッチパネルの動作を説明するためのタイミングチャートである。 本発明の実施例2のタッチパネル付き液晶表示装置に使用されるタッチパネルの概略構成を示すブロック図である。 図9に示す電極駆動回路を示す図である。 図9に示す電流検出回路を示す図である。 本発明の実施例3のタッチパネル付き表示装置に組み込まれるタッチパネルの概略構成を示す断面図である。 図12のタッチパネルの電極パターンを示す平面図である。 図12の一部を拡大した断面図である。 図12のタッチパネルの駆動回路を示すブロック図である。 図11に示す電流検出回路を示す図である。 図13に示す電流検出回路の動作を説明するためのタイムチャートである。
符号の説明
10 タッチパネル領域(タッチセンサ領域)
20 制御回路
30 Y駆動回路
40 X検出回路
50 容量検出回路
60 座標検出回路
70,230 電流検出回路
80 電極駆動回路
90 スイッチ
100 第1の基板
110,111,112 フレキシブル配線基板
120 絶縁膜
121,122 第2の部分
200 第2の基板
201 対向電極
210 Y電極選択回路
220 X電極選択回路
211,212 走査回路
221,412,452 オペアンプ
222,418,458 積分容量
223 スイッチ制御回路
224,422,462 サンプルホールド回路
225,424,464 A/D変換回路
300 ゲル状シート
310,440,810 シフトレジスタ
322,822 pMOSトランジスタ
324,824 nMOSトランジスタ
400,401 タッチパネル
414,416,441〜444,456,SW1〜SW6,SW_A,SW_B,SW_C スイッチング素子
500 スタイラスペン
600 液晶表示パネル
700 バックライト
X1〜X4 X電極
Y1〜Y4 Y電極

Claims (18)

  1. 表示パネルと、
    前記表示パネルの観察者側の面上に配置される静電容量結合方式のタッチパネルとを備えた表示装置であって、
    前記タッチパネルは、互いに対向して配置される第1及び第2の基板を有し、
    前記第1の基板は、前記第2の基板と対向する面側に、第1の方向に延在し、前記第1の方向と交差する第2の方向に並設される複数の第1の電極と、
    前記第1の電極と交差して前記第2の方向に延在し、前記第1の方向に並設される複数の第2の電極とを有し、
    前記第2の基板は、前記第1の基板と対向する面側に、前記複数の第1及び第2の電極を覆う面状の第3の電極を有し、
    前記複数の第1及び第2の電極と前記第3の電極との間には、ゲル状シートが設けられていることを特徴とする表示装置。
  2. 前記ゲル状シートは、硬度が2以上15以下であることを特徴とする請求項1に記載の表示装置。
  3. 前記第1及び第2の基板はガラス基板であり、
    前記第2の基板の厚さは前記第1の基板の厚さよりも薄いことを特徴とする請求項1に記載の表示装置。
  4. 前記第1の基板はガラス基板であり、
    前記第2の基板はプラスチック基板であることを特徴とする請求項1に記載の表示装置。
  5. 前記第1及び第2の基板はプラスチック基板であることを特徴とする請求項1に記載の表示装置。
  6. 駆動回路と、
    検出回路と、
    前記タッチパネルへのタッチ位置を演算する座標位置演算回路とを有し、
    前記駆動回路は、前記複数の第1の電極の中から2つの第1の電極を順次選択し、当該選択された2つの第1の電極の一方に基準電圧よりも高電位の電圧を、他方に基準電圧を供給し、
    前記検出回路は、選択した前記第2の電極と前記高電位の電圧が供給された前記第1の電極との間の容量Aと、前記選択した前記第2の電極と前記基準電圧が供給された前記第1の電極との間の容量Bとの間の容量差(A−B)を検出し、
    前記座標位置演算回路は、前記選択された第1の電極および第2の電極の位置と、前記容量差(A−B)に基づき前記タッチパネルへのタッチ位置を演算することを特徴とする請求項1に記載のタッチパネル付き表示装置。
  7. 駆動回路と、
    検出回路と、
    前記タッチパネルへのタッチ位置を演算する座標位置演算回路とを有し、
    前記駆動回路は、期間Aに前記複数の第1の電極の中から2つの第1の電極を順次選択し、当該選択された2つの第1の電極の一方に基準電圧よりも高電位の電圧を、他方に基準電圧を供給するとともに、期間Bに前記複数の第2の電極の中から2つの第2の電極を順次選択し、当該選択された2つの第2の電極の一方に基準電圧よりも高電位の電圧を、他方に基準電圧を供給し、
    前記検出回路は、前記期間Aに前記各第2の電極と前記高電位の電圧が供給された前記第1の電極との間の容量Aと、前記各第2の電極と前記基準電圧が供給された前記第1の電極との間の容量Bとの間の容量差(A−B)を検出し、前記期間Bに前記各第1の電極と前記高電位の電圧が供給された前記第2の電極との間の容量Cと、前記各第1の電極と前記基準電圧が供給された前記第2の電極との間の容量Dとの間の容量差(C−D)を検出し、
    前記座標位置演算回路は、前記選択された第1の電極および前記容量差(A−B)と、前記選択された第2の電極および前記容量差(C−D)とに基づき前記タッチパネルへのタッチ位置を演算することを特徴とする請求項1に記載のタッチパネル付き表示装置。
  8. 第1電極選択回路と、
    第2電極選択回路と、
    検出回路と、
    前記タッチパネルへのタッチ位置を演算する座標位置演算回路とを有し、
    前記第1電極選択回路は、期間Aに前記複数の第1の電極の中から2つの第1の電極を順次選択し、当該選択された2つの第1の電極の一方に電圧レベルが基準電圧よりも高電位の正極性のパルスを、他方に電圧レベルが基準電圧よりも低電位の負極性のパルスを供給し、
    前記第2電極選択回路は、期間Bに前記複数の第2の電極の中から2つの第2の電極を順次選択し、当該選択された2つの第2の電極の一方に電圧レベルが基準電圧よりも高電位の正極性のパルスを、他方に電圧レベルが基準電圧よりも低電位の負極性のパルスを供給し、
    前記検出回路は、前記期間Aに前記各第2の電極と前記正極性のパルスが供給された前記第1の電極との間の容量Aと、前記各第2の電極と前記負極性のパルスが供給された前記第1の電極との間の容量Bとの間の容量差(A−B)を検出し、前記期間Bに前記各第1の電極と前記正極性のパルスが供給された前記第2の電極との間の容量Cと、前記各第1の電極と前記負極性のパルスが供給された前記第2の電極との間の容量Dとの間の容量差(C−D)を検出し、
    前記座標位置演算回路は、前記選択された第1の電極および前記容量差(A−B)と、前記選択された第2の電極および前記容量差(C−D)とに基づき前記タッチパネルへのタッチ位置を演算することを特徴とする請求項1に記載のタッチパネル付き表示装置。
  9. 前記表示パネルは、IPS方式の液晶表示パネルであることを特徴とする請求項1に記載のタッチパネル付き表示装置。
  10. 表示パネルと、
    前記表示パネルの観察者側の面上に配置される静電容量結合方式のタッチパネルとを備えた表示装置であって、
    前記タッチパネルは、互いに対向して配置される第1及び第2の基板を有し、
    前記第1の基板は、前記第2の基板と対向する面側に、第1の方向に延在し、前記第1の方向と交差する第2の方向に並設される複数の第1の電極を有し、
    前記第2の基板は、前記第1の基板と対向する面側に、前記第1の電極と交差して前記第2の方向に延在し、前記第1の方向に並設される複数の第2の電極を有し、
    前記複数の第1の電極と前記複数の第2の電極との間には、ゲル状シートが設けられていることを特徴とする表示装置。
  11. 前記ゲル状シートは、硬度が2以上15以下であることを特徴とする請求項10に記載の表示装置。
  12. 前記第1及び第2の基板はガラス基板であり、
    前記第2の基板の厚さは前記第1の基板の厚さよりも薄いことを特徴とする請求項10に記載の表示装置。
  13. 前記第1の基板はガラス基板であり、
    前記第2の基板はプラスチック基板であることを特徴とする請求項10に記載の表示装置。
  14. 前記第1及び第2の基板はプラスチック基板であることを特徴とする請求項6に記載の表示装置。
  15. 駆動回路と、
    検出回路と、
    前記タッチパネルへのタッチ位置を演算する座標位置演算回路とを有し、
    前記駆動回路は、前記複数の第1の電極の中から2つの第1の電極を順次選択し、当該選択された2つの第1の電極の一方に基準電圧よりも高電位の電圧を、他方に基準電圧を供給し、
    前記検出回路は、選択した前記第2の電極と前記高電位の電圧が供給された前記第1の電極との間の容量Aと、前記選択した前記第2の電極と前記基準電圧が供給された前記第1の電極との間の容量Bとの間の容量差(A−B)を検出し、
    前記座標位置演算回路は、前記選択された第1の電極および第2の電極の位置と、前記容量差(A−B)に基づき前記タッチパネルへのタッチ位置を演算することを特徴とする請求項10に記載のタッチパネル付き表示装置。
  16. 駆動回路と、
    検出回路と、
    前記タッチパネルへのタッチ位置を演算する座標位置演算回路とを有し、
    前記駆動回路は、期間Aに前記複数の第1の電極の中から2つの第1の電極を順次選択し、当該選択された2つの第1の電極の一方に基準電圧よりも高電位の電圧を、他方に基準電圧を供給するとともに、期間Bに前記複数の第2の電極の中から2つの第2の電極を順次選択し、当該選択された2つの第2の電極の一方に基準電圧よりも高電位の電圧を、他方に基準電圧を供給し、
    前記検出回路は、前記期間Aに前記各第2の電極と前記高電位の電圧が供給された前記第1の電極との間の容量Aと、前記各第2の電極と前記基準電圧が供給された前記第1の電極との間の容量Bとの間の容量差(A−B)を検出し、前記期間Bに前記各第1の電極と前記高電位の電圧が供給された前記第2の電極との間の容量Cと、前記各第1の電極と前記基準電圧が供給された前記第2の電極との間の容量Dとの間の容量差(C−D)を検出し、
    前記座標位置演算回路は、前記選択された第1の電極および前記容量差(A−B)と、前記選択された第2の電極および前記容量差(C−D)とに基づき前記タッチパネルへのタッチ位置を演算することを特徴とする請求項10に記載のタッチパネル付き表示装置。
  17. 第1電極選択回路と、
    第2電極選択回路と、
    検出回路と、
    前記タッチパネルへのタッチ位置を演算する座標位置演算回路とを有し、
    前記第1電極選択回路は、期間Aに前記複数の第1の電極の中から2つの第1の電極を順次選択し、当該選択された2つの第1の電極の一方に電圧レベルが基準電圧よりも高電位の正極性のパルスを、他方に電圧レベルが基準電圧よりも低電位の負極性のパルスを供給し、
    前記第2電極選択回路は、期間Bに前記複数の第2の電極の中から2つの第2の電極を順次選択し、当該選択された2つの第2の電極の一方に電圧レベルが基準電圧よりも高電位の正極性のパルスを、他方に電圧レベルが基準電圧よりも低電位の負極性のパルスを供給し、
    前記検出回路は、前記期間Aに前記各第2の電極と前記正極性のパルスが供給された前記第1の電極との間の容量Aと、前記各第2の電極と前記負極性のパルスが供給された前記第1の電極との間の容量Bとの間の容量差(A−B)を検出し、前記期間Bに前記各第1の電極と前記正極性のパルスが供給された前記第2の電極との間の容量Cと、前記各第1の電極と前記負極性のパルスが供給された前記第2の電極との間の容量Dとの間の容量差(C−D)を検出し、
    前記座標位置演算回路は、前記選択された第1の電極および前記容量差(A−B)と、前記選択された第2の電極および前記容量差(C−D)とに基づき前記タッチパネルへのタッチ位置を演算することを特徴とする請求項10に記載のタッチパネル付き表示装置。
  18. 前記表示パネルは、IPS方式の液晶表示パネルであることを特徴とする請求項10に記載のタッチパネル付き表示装置。
JP2008160272A 2008-06-19 2008-06-19 タッチパネル付き表示装置 Expired - Fee Related JP5133791B2 (ja)

Priority Applications (2)

Application Number Priority Date Filing Date Title
JP2008160272A JP5133791B2 (ja) 2008-06-19 2008-06-19 タッチパネル付き表示装置
US12/486,003 US20090315858A1 (en) 2008-06-19 2009-06-17 Display Device with Touch Panel

Applications Claiming Priority (1)

Application Number Priority Date Filing Date Title
JP2008160272A JP5133791B2 (ja) 2008-06-19 2008-06-19 タッチパネル付き表示装置

Publications (2)

Publication Number Publication Date
JP2010003048A true JP2010003048A (ja) 2010-01-07
JP5133791B2 JP5133791B2 (ja) 2013-01-30

Family

ID=41430731

Family Applications (1)

Application Number Title Priority Date Filing Date
JP2008160272A Expired - Fee Related JP5133791B2 (ja) 2008-06-19 2008-06-19 タッチパネル付き表示装置

Country Status (2)

Country Link
US (1) US20090315858A1 (ja)
JP (1) JP5133791B2 (ja)

Cited By (25)

* Cited by examiner, † Cited by third party
Publication number Priority date Publication date Assignee Title
JP2010113516A (ja) * 2008-11-06 2010-05-20 Hitachi Displays Ltd 静電容量結合方式タッチパネルおよびタッチパネル付き表示装置
JP2011028476A (ja) * 2009-07-24 2011-02-10 Sony Corp 静電容量型入力装置および入力機能付き表示装置
JP2011227740A (ja) * 2010-04-21 2011-11-10 Hitachi Displays Ltd タッチパネル、および表示装置
JP2012234475A (ja) * 2011-05-09 2012-11-29 Renesas Sp Drivers Inc タッチセンサパネルコントローラ及びタッチ検出装置
JP2012234474A (ja) * 2011-05-09 2012-11-29 Renesas Sp Drivers Inc タッチセンサパネルコントローラ及び半導体装置
JP5105499B2 (ja) * 2010-02-17 2012-12-26 日本写真印刷株式会社 透明電極フィルム
WO2012176638A1 (en) * 2011-06-22 2012-12-27 Sharp Kabushiki Kaisha Touch panel system and electronic device
WO2013001888A1 (en) * 2011-06-27 2013-01-03 Sharp Kabushiki Kaisha Capacitance distribution detection method, capacitance distribution detection circuit, touch sensor system, and information input/output device
JP2013508887A (ja) * 2009-10-27 2013-03-07 ペルセプトイベ ピクエル インコーポレイテッド 投影型静電容量式タッチ検出
JP5362126B2 (ja) * 2010-11-22 2013-12-11 三菱電機株式会社 蓄電デバイス用圧力調整装置、及び蓄電デバイス
WO2014084089A1 (ja) * 2012-11-30 2014-06-05 シャープ株式会社 タッチパネルコントローラ、並びにこれを用いた電子機器
JP2014519063A (ja) * 2011-07-12 2014-08-07 シャープ株式会社 タッチパネルシステムおよび電子機器
JP2014519629A (ja) * 2011-06-29 2014-08-14 シャープ株式会社 線形素子値推定方法、静電容量検出方法、集積回路、タッチセンサシステム、電子機器
JP2014179062A (ja) * 2013-02-12 2014-09-25 Sony Corp センサ装置、入力装置及び電子機器
JP2014182471A (ja) * 2013-03-18 2014-09-29 Alps Electric Co Ltd 静電容量式タッチパッド
US8902192B2 (en) 2011-06-22 2014-12-02 Sharp Kabushiki Kaisha Touch panel system and electronic device
KR20150004029A (ko) * 2013-07-02 2015-01-12 엘지디스플레이 주식회사 입력 시스템을 구비한 표시장치 및 그 구동 방법
US8994692B2 (en) 2011-10-25 2015-03-31 Sharp Kabushiki Kaisha Touch panel system and electronic device
JP2015064899A (ja) * 2011-07-12 2015-04-09 シャープ株式会社 タッチパネルシステムおよび電子機器
US9013448B2 (en) 2011-06-22 2015-04-21 Sharp Kabushiki Kaisha Touch panel system and electronic device
JP2015135706A (ja) * 2015-04-30 2015-07-27 シナプティクス・ディスプレイ・デバイス合同会社 半導体装置
JP2015158942A (ja) * 2015-04-30 2015-09-03 シナプティクス・ディスプレイ・デバイス合同会社 タッチセンサパネルコントローラ及び半導体装置
WO2015194241A1 (ja) * 2014-06-20 2015-12-23 ソニー株式会社 センサパネル、入力装置および表示装置
US9465492B2 (en) 2011-06-22 2016-10-11 Sharp Kabushiki Kaisha Touch panel system and electronic device
JP2019106079A (ja) * 2017-12-14 2019-06-27 ファナック株式会社 タッチパネル装置

Families Citing this family (32)

* Cited by examiner, † Cited by third party
Publication number Priority date Publication date Assignee Title
US8381135B2 (en) 2004-07-30 2013-02-19 Apple Inc. Proximity detector in handheld device
JP4945345B2 (ja) * 2007-07-03 2012-06-06 株式会社 日立ディスプレイズ タッチパネル付き表示装置
CN101382651B (zh) * 2007-09-07 2011-12-14 群康科技(深圳)有限公司 触控式电润湿显示装置、触控式电路基板及其制造方法
TWI402738B (zh) * 2009-05-27 2013-07-21 Wintek Corp 觸控裝置以及觸控感測方法
CN102449513B (zh) 2009-05-29 2015-01-21 高通Mems科技公司 照明装置及其制造方法
TWM379118U (en) * 2009-12-11 2010-04-21 Minlad Invest Ltd Projective capacitive touch panel
JP5676645B2 (ja) * 2009-12-29 2015-02-25 クォルコム・メムズ・テクノロジーズ・インコーポレーテッド 補助電極構造を有するコーティングされた光方向転換照明デバイス
JP2011192248A (ja) * 2010-02-19 2011-09-29 Rohm Co Ltd 静電容量式入力装置および静電容量式入力装置における導電体の接近位置の計算方法
CN102193693B (zh) * 2010-03-17 2014-03-19 群康科技(深圳)有限公司 触控面板及其差动辨识方法
CN102236445A (zh) * 2010-04-26 2011-11-09 胜华科技股份有限公司 复合板材结构及用于触控面板的罩盖镜迭层结构
KR101274649B1 (ko) * 2010-05-27 2013-06-12 엘지디스플레이 주식회사 터치 패널 일체형 액정 표시 장치 및 이의 제조 방법
US8274491B2 (en) * 2010-06-21 2012-09-25 Pixart Imaging Inc. Capacitive touchscreen signal acquisition without panel reset
JP5606242B2 (ja) 2010-09-24 2014-10-15 株式会社ジャパンディスプレイ 表示装置
KR20120049019A (ko) * 2010-11-08 2012-05-16 삼성모바일디스플레이주식회사 정전용량형 터치 패널
JP4927216B1 (ja) * 2010-11-12 2012-05-09 シャープ株式会社 線形素子列値推定方法、静電容量検出方法、集積回路、タッチセンサシステム、及び電子機器
US8665231B2 (en) * 2010-11-29 2014-03-04 Chimei Innolux Corporation Sensing methods for touch sensing devices
FR2971066B1 (fr) 2011-01-31 2013-08-23 Nanotec Solution Interface homme-machine tridimensionnelle.
KR101461157B1 (ko) * 2011-04-18 2014-11-13 삼성디스플레이 주식회사 터치 스크린 시스템 및 그 구동방법
JP5350437B2 (ja) 2011-06-27 2013-11-27 シャープ株式会社 タッチセンサシステム
JP2013105327A (ja) * 2011-11-14 2013-05-30 Japan Display East Co Ltd タッチパネル
US9329722B2 (en) * 2012-03-06 2016-05-03 Egalax—Empia Technology Inc. Capacitive touch system and method with auto-calibration
TWI486849B (zh) * 2012-07-24 2015-06-01 Chunghwa Picture Tubes Ltd 電容觸控系統和操作電容觸控系統的方法
TWI472979B (zh) * 2012-10-22 2015-02-11 Superc Touch Coporation 可重組感測點之觸控面板裝置及感測方法
FR3002052B1 (fr) 2013-02-14 2016-12-09 Fogale Nanotech Procede et dispositif pour naviguer dans un ecran d'affichage et appareil comprenant une telle navigation
CN106796467A (zh) * 2014-10-07 2017-05-31 美国亚德诺半导体公司 聚集的电容传感
CN106610749B (zh) 2015-10-21 2019-08-13 敦泰电子股份有限公司 触控显示装置及其驱动方法
TWM523910U (zh) 2015-10-28 2016-06-11 敦泰電子股份有限公司 觸控顯示裝置
JP6704802B2 (ja) * 2016-06-10 2020-06-03 株式会社ジャパンディスプレイ 入力検出装置および電子装置
CN109656426B (zh) * 2017-10-11 2022-05-24 瑞鼎科技股份有限公司 电容式触控感测电路及其电荷补偿方法
CN109871156B (zh) 2017-12-01 2024-04-16 京东方科技集团股份有限公司 触控面板、触控设备和制造触控面板的方法
CN108447889B (zh) * 2018-03-29 2021-01-26 京东方科技集团股份有限公司 触控面板、其制备方法和触控显示装置
US10732764B1 (en) * 2018-09-05 2020-08-04 Amazon Technologies, Inc. Integrated touch control electrode and antenna

Citations (6)

* Cited by examiner, † Cited by third party
Publication number Priority date Publication date Assignee Title
JPS5897788A (ja) * 1981-12-07 1983-06-10 Sony Corp 位置検出装置
JPH10149250A (ja) * 1996-11-15 1998-06-02 Alps Electric Co Ltd 電荷電流検出回路およびこれを利用した座標入力装置
JP2001209491A (ja) * 2000-01-27 2001-08-03 Sharp Corp 入力装置
JP2005339326A (ja) * 2004-05-28 2005-12-08 Kawaguchiko Seimitsu Co Ltd タッチパネル
JP2006527438A (ja) * 2003-06-14 2006-11-30 ビンステッド,ロナルド,ペーター 接触技術の改良
JP2008009750A (ja) * 2006-06-29 2008-01-17 Casio Comput Co Ltd タッチパネル付き液晶表示素子

Family Cites Families (5)

* Cited by examiner, † Cited by third party
Publication number Priority date Publication date Assignee Title
US4639720A (en) * 1981-01-12 1987-01-27 Harris Corporation Electronic sketch pad
US5283556A (en) * 1988-12-19 1994-02-01 Sharp Kabushiki Kaisha Tablet integrated with display
US5565658A (en) * 1992-07-13 1996-10-15 Cirque Corporation Capacitance-based proximity with interference rejection apparatus and methods
WO1997040482A1 (en) * 1996-04-24 1997-10-30 Logitech, Inc. Touch and pressure sensing method and apparatus
TW408277B (en) * 1996-11-15 2000-10-11 Alps Electric Co Ltd Small current detector circuit and locator device using the same

Patent Citations (6)

* Cited by examiner, † Cited by third party
Publication number Priority date Publication date Assignee Title
JPS5897788A (ja) * 1981-12-07 1983-06-10 Sony Corp 位置検出装置
JPH10149250A (ja) * 1996-11-15 1998-06-02 Alps Electric Co Ltd 電荷電流検出回路およびこれを利用した座標入力装置
JP2001209491A (ja) * 2000-01-27 2001-08-03 Sharp Corp 入力装置
JP2006527438A (ja) * 2003-06-14 2006-11-30 ビンステッド,ロナルド,ペーター 接触技術の改良
JP2005339326A (ja) * 2004-05-28 2005-12-08 Kawaguchiko Seimitsu Co Ltd タッチパネル
JP2008009750A (ja) * 2006-06-29 2008-01-17 Casio Comput Co Ltd タッチパネル付き液晶表示素子

Cited By (37)

* Cited by examiner, † Cited by third party
Publication number Priority date Publication date Assignee Title
JP2010113516A (ja) * 2008-11-06 2010-05-20 Hitachi Displays Ltd 静電容量結合方式タッチパネルおよびタッチパネル付き表示装置
JP2011028476A (ja) * 2009-07-24 2011-02-10 Sony Corp 静電容量型入力装置および入力機能付き表示装置
US9274654B2 (en) 2009-10-27 2016-03-01 Perceptive Pixel, Inc. Projected capacitive touch sensing
JP2013508887A (ja) * 2009-10-27 2013-03-07 ペルセプトイベ ピクエル インコーポレイテッド 投影型静電容量式タッチ検出
JP5105499B2 (ja) * 2010-02-17 2012-12-26 日本写真印刷株式会社 透明電極フィルム
JP2011227740A (ja) * 2010-04-21 2011-11-10 Hitachi Displays Ltd タッチパネル、および表示装置
JP5362126B2 (ja) * 2010-11-22 2013-12-11 三菱電機株式会社 蓄電デバイス用圧力調整装置、及び蓄電デバイス
JP2012234475A (ja) * 2011-05-09 2012-11-29 Renesas Sp Drivers Inc タッチセンサパネルコントローラ及びタッチ検出装置
JP2012234474A (ja) * 2011-05-09 2012-11-29 Renesas Sp Drivers Inc タッチセンサパネルコントローラ及び半導体装置
US9465492B2 (en) 2011-06-22 2016-10-11 Sharp Kabushiki Kaisha Touch panel system and electronic device
WO2012176638A1 (en) * 2011-06-22 2012-12-27 Sharp Kabushiki Kaisha Touch panel system and electronic device
US8902192B2 (en) 2011-06-22 2014-12-02 Sharp Kabushiki Kaisha Touch panel system and electronic device
US9013448B2 (en) 2011-06-22 2015-04-21 Sharp Kabushiki Kaisha Touch panel system and electronic device
US8976154B2 (en) 2011-06-22 2015-03-10 Sharp Kabushiki Kaisha Touch panel system and electronic device
JP2013008318A (ja) * 2011-06-27 2013-01-10 Sharp Corp 静電容量値分布検出方法、静電容量値分布検出回路、タッチセンサシステム、及び情報入出力機器
WO2013001954A1 (en) * 2011-06-27 2013-01-03 Sharp Kabushiki Kaisha Linear device value estimating method, capacitance detection method, integrated circuit, touch sensor system, and electronic device
US9898136B2 (en) 2011-06-27 2018-02-20 Sharp Kabushiki Kaisha Method for specifying touched position determined by first coordinate along first signal line and second coordinate along second signal line, and circuit for specifying the touched position
WO2013001888A1 (en) * 2011-06-27 2013-01-03 Sharp Kabushiki Kaisha Capacitance distribution detection method, capacitance distribution detection circuit, touch sensor system, and information input/output device
US9454271B2 (en) 2011-06-27 2016-09-27 Sharp Kabushiki Kaisha Capacitance distribution detection method, capacitance distribution detection circuit, touch sensor system, and information input/output device
TWI465998B (zh) * 2011-06-27 2014-12-21 Sharp Kk 電容量分佈檢測方法、電容量分佈檢測電路、觸碰感測器系統及資訊輸入輸出裝置
CN103635870A (zh) * 2011-06-27 2014-03-12 夏普株式会社 电容分布检测方法、电容分布检测电路、触摸传感器系统以及信息输入/输出设备
US8942937B2 (en) 2011-06-27 2015-01-27 Sharp Kabushiki Kaisha Linear device value estimating method, capacitance detection method, integrated circuit, touch sensor system, and electronic device
JP2014519629A (ja) * 2011-06-29 2014-08-14 シャープ株式会社 線形素子値推定方法、静電容量検出方法、集積回路、タッチセンサシステム、電子機器
JP2015064899A (ja) * 2011-07-12 2015-04-09 シャープ株式会社 タッチパネルシステムおよび電子機器
JP2014519063A (ja) * 2011-07-12 2014-08-07 シャープ株式会社 タッチパネルシステムおよび電子機器
US8994692B2 (en) 2011-10-25 2015-03-31 Sharp Kabushiki Kaisha Touch panel system and electronic device
JP5792399B2 (ja) * 2012-11-30 2015-10-14 シャープ株式会社 タッチパネルコントローラ、並びにこれを用いた電子機器
WO2014084089A1 (ja) * 2012-11-30 2014-06-05 シャープ株式会社 タッチパネルコントローラ、並びにこれを用いた電子機器
JP2014179062A (ja) * 2013-02-12 2014-09-25 Sony Corp センサ装置、入力装置及び電子機器
JP2014182471A (ja) * 2013-03-18 2014-09-29 Alps Electric Co Ltd 静電容量式タッチパッド
KR20150004029A (ko) * 2013-07-02 2015-01-12 엘지디스플레이 주식회사 입력 시스템을 구비한 표시장치 및 그 구동 방법
KR102113736B1 (ko) * 2013-07-02 2020-05-21 엘지디스플레이 주식회사 입력 시스템을 구비한 표시장치 및 그 구동 방법
WO2015194241A1 (ja) * 2014-06-20 2015-12-23 ソニー株式会社 センサパネル、入力装置および表示装置
US10871846B2 (en) 2014-06-20 2020-12-22 Sony Corporation Sensor panel, input unit, and display unit
JP2015158942A (ja) * 2015-04-30 2015-09-03 シナプティクス・ディスプレイ・デバイス合同会社 タッチセンサパネルコントローラ及び半導体装置
JP2015135706A (ja) * 2015-04-30 2015-07-27 シナプティクス・ディスプレイ・デバイス合同会社 半導体装置
JP2019106079A (ja) * 2017-12-14 2019-06-27 ファナック株式会社 タッチパネル装置

Also Published As

Publication number Publication date
JP5133791B2 (ja) 2013-01-30
US20090315858A1 (en) 2009-12-24

Similar Documents

Publication Publication Date Title
JP5133791B2 (ja) タッチパネル付き表示装置
US9703439B2 (en) Touch sensor integrated type display device
JP4945345B2 (ja) タッチパネル付き表示装置
EP2492784B1 (en) Touch sensor integrated display device
JP6549976B2 (ja) タッチ検出装置及びタッチ検出機能付き表示装置
EP3040828B1 (en) Touch panel and display device including the same
JP6700896B2 (ja) 検出装置及びタッチ検出機能付き表示装置
US9684400B2 (en) Capacitive sensing detection method for an active pixel matrix
CN108415630B (zh) 一种结合了电容式触控传感器的装置及其制造方法
CN105830002A (zh) 减少寄生电容影响的触摸输入感测方法及其装置
JP2017091224A (ja) タッチ検出機能付き表示装置
KR20140095279A (ko) 터치 및 휨 감지 기능을 가지는 플렉서블 표시장치
KR20160027342A (ko) 터치 패널 및 이의 구동 장치
CN108415631B (zh) 一种结合了电容式触控传感器的装置及其制造方法
US20210382571A1 (en) Proximity sensor
CN106484172A (zh) 触摸传感器集成型显示装置
CN112799529A (zh) 触摸显示装置及其触摸驱动方法
KR20140087481A (ko) 인셀 타입 터치인식 액정표시장치
KR102161084B1 (ko) 터치 IC(integrated circuit) 및 터치 디스플레이 장치와 이의 구동 방법
US20150077349A1 (en) Mesh Design for Touch Sensors
KR20100074820A (ko) 진동 터치 스크린 패널과 그 제조 방법
US9696576B2 (en) Pen writing on one-dimensional capacitive touch sensor
US10528178B2 (en) Capacitive touch sensing with conductivity type determination
JP2013254360A (ja) タッチパネル
JP2010107990A (ja) タッチパネルを搭載した液晶装置、該液晶装置を具備した電子機器

Legal Events

Date Code Title Description
A711 Notification of change in applicant

Free format text: JAPANESE INTERMEDIATE CODE: A712

Effective date: 20110218

RD03 Notification of appointment of power of attorney

Free format text: JAPANESE INTERMEDIATE CODE: A7423

Effective date: 20110218

A621 Written request for application examination

Free format text: JAPANESE INTERMEDIATE CODE: A621

Effective date: 20110414

A977 Report on retrieval

Free format text: JAPANESE INTERMEDIATE CODE: A971007

Effective date: 20120321

A131 Notification of reasons for refusal

Free format text: JAPANESE INTERMEDIATE CODE: A131

Effective date: 20120403

A521 Request for written amendment filed

Free format text: JAPANESE INTERMEDIATE CODE: A523

Effective date: 20120525

TRDD Decision of grant or rejection written
A01 Written decision to grant a patent or to grant a registration (utility model)

Free format text: JAPANESE INTERMEDIATE CODE: A01

Effective date: 20121030

A01 Written decision to grant a patent or to grant a registration (utility model)

Free format text: JAPANESE INTERMEDIATE CODE: A01

A61 First payment of annual fees (during grant procedure)

Free format text: JAPANESE INTERMEDIATE CODE: A61

Effective date: 20121108

FPAY Renewal fee payment (event date is renewal date of database)

Free format text: PAYMENT UNTIL: 20151116

Year of fee payment: 3

R150 Certificate of patent or registration of utility model

Free format text: JAPANESE INTERMEDIATE CODE: R150

Ref document number: 5133791

Country of ref document: JP

Free format text: JAPANESE INTERMEDIATE CODE: R150

R250 Receipt of annual fees

Free format text: JAPANESE INTERMEDIATE CODE: R250

R250 Receipt of annual fees

Free format text: JAPANESE INTERMEDIATE CODE: R250

R250 Receipt of annual fees

Free format text: JAPANESE INTERMEDIATE CODE: R250

R250 Receipt of annual fees

Free format text: JAPANESE INTERMEDIATE CODE: R250

R250 Receipt of annual fees

Free format text: JAPANESE INTERMEDIATE CODE: R250

R250 Receipt of annual fees

Free format text: JAPANESE INTERMEDIATE CODE: R250

S531 Written request for registration of change of domicile

Free format text: JAPANESE INTERMEDIATE CODE: R313531

S533 Written request for registration of change of name

Free format text: JAPANESE INTERMEDIATE CODE: R313533

R350 Written notification of registration of transfer

Free format text: JAPANESE INTERMEDIATE CODE: R350

R250 Receipt of annual fees

Free format text: JAPANESE INTERMEDIATE CODE: R250

R250 Receipt of annual fees

Free format text: JAPANESE INTERMEDIATE CODE: R250

S111 Request for change of ownership or part of ownership

Free format text: JAPANESE INTERMEDIATE CODE: R313117

R350 Written notification of registration of transfer

Free format text: JAPANESE INTERMEDIATE CODE: R350

R250 Receipt of annual fees

Free format text: JAPANESE INTERMEDIATE CODE: R250

S111 Request for change of ownership or part of ownership

Free format text: JAPANESE INTERMEDIATE CODE: R313113

R350 Written notification of registration of transfer

Free format text: JAPANESE INTERMEDIATE CODE: R350

LAPS Cancellation because of no payment of annual fees